KR20170003138U - 좌변기 커버 - Google Patents

좌변기 커버 Download PDF

Info

Publication number
KR20170003138U
KR20170003138U KR2020160001086U KR20160001086U KR20170003138U KR 20170003138 U KR20170003138 U KR 20170003138U KR 2020160001086 U KR2020160001086 U KR 2020160001086U KR 20160001086 U KR20160001086 U KR 20160001086U KR 20170003138 U KR20170003138 U KR 20170003138U
Authority
KR
South Korea
Prior art keywords
lid
seat
toilet
cover
toilet seat
Prior art date
Legal status (The legal status is an assumption and is not a legal conclusion. Google has not performed a legal analysis and makes no representation as to the accuracy of the status listed.)
Ceased
Application number
KR2020160001086U
Other languages
English (en)
Inventor
강동훈
Original Assignee
강동훈
Priority date (The priority date is an assumption and is not a legal conclusion. Google has not performed a legal analysis and makes no representation as to the accuracy of the date listed.)
Filing date
Publication date
Application filed by 강동훈 filed Critical 강동훈
Priority to KR2020160001086U priority Critical patent/KR20170003138U/ko
Publication of KR20170003138U publication Critical patent/KR20170003138U/ko
Ceased legal-status Critical Current

Links

Images

Classifications

    • EFIXED CONSTRUCTIONS
    • E03WATER SUPPLY; SEWERAGE
    • E03DWATER-CLOSETS OR URINALS WITH FLUSHING DEVICES; FLUSHING VALVES THEREFOR
    • E03D9/00Sanitary or other accessories for lavatories ; Devices for cleaning or disinfecting the toilet room or the toilet bowl; Devices for eliminating smells
    • AHUMAN NECESSITIES
    • A47FURNITURE; DOMESTIC ARTICLES OR APPLIANCES; COFFEE MILLS; SPICE MILLS; SUCTION CLEANERS IN GENERAL
    • A47KSANITARY EQUIPMENT NOT OTHERWISE PROVIDED FOR; TOILET ACCESSORIES
    • A47K13/00Seats or covers for all kinds of closets
    • A47K13/24Parts or details not covered in, or of interest apart from, groups A47K13/02 - A47K13/22, e.g. devices imparting a swinging or vibrating motion to the seats

Landscapes

  • Health & Medical Sciences (AREA)
  • Public Health (AREA)
  • Epidemiology (AREA)
  • Life Sciences & Earth Sciences (AREA)
  • Engineering & Computer Science (AREA)
  • Hydrology & Water Resources (AREA)
  • Water Supply & Treatment (AREA)
  • Toilet Supplies (AREA)

Abstract

본 고안의 목적은 좌변기 커버를 구성하는 덮개의 중앙에 연질로 이루어진 가변부를 구비함으로써 좌변기가 막혔을 때 물내림시 발생하는 역류압에 의해 연질의 가변부가 부풀어 오를 수 있도록 하고, 그 부풀어 오른 부분을 눌러줌으로써 막힌 변기를 간편하게 뚫을 수 있는 좌변기 커버를 제공한다.
이러한 본 고안은 좌변기 커버로서, 좌변기의 상부에 회동 가능하게 설치되어 좌변기의 상단에 안착됨과 아울러 내측에 용변구멍이 형성된 좌대; 및 상기 좌대의 상부에 회동 가능하게 설치되어 상기 좌대의 용변구멍을 덮을 수 있는 덮개;를 포함하고, 상기 덮개는: 좌변기가 막혔을 때 물내림시 발생하는 역류압에 의해 덮개의 중앙부가 부풀어 오를 수 있도록 상기 덮개의 중앙부를 연질로 구성하여 부풀어 오른 부분을 눌러줌으로써 막힌 변기를 뚫을 수 있게 한 가변부;를 포함한다.

Description

좌변기 커버{toilet seat cover}
본 고안은 좌변기 커버에 관한 것으로, 더욱 상세하게는 좌변기 커버를 구성하는 덮개의 중앙에 연질로 이루어진 가변부를 구비함으로써 좌변기가 막혔을 때 물내림시 발생하는 역류압에 의해 연질의 가변부가 부풀어 오를 수 있도록 하고, 그 부풀어 오른 부분을 눌러줌으로써 막힌 변기를 간편하게 뚫을 수 있는 좌변기 커버에 관한 것이다.
화장실 문화의 변화에 따라 대부분의 가정이나 상가, 건물 등에서 수세식 좌변기가 사용되고 있음은 주지된 사실이다.
이러한 좌변기는 용변 후 즉시 물로 세척할 수 있다는 점에서 재래식 화장실에 비해 매우 위생적이다.
이와 같은 좌변기는 앉아서 용변을 볼 수 있는 본체와, 평상시 일정 수위만큼 물이 채워지며, 레버의 개방에 의해 본체로 물을 공급하는 저수부를 포함하여 구성된다.
또한, 본체에는 하수관에서 발생하는 지독한 냄새나 유독 가스 또는 벌레가 배수관을 타고 올라오는 것을 방지하기 위해, 본체에 연결된 배수관의 구조를 'S'자 내지 'Z'자 형태의 트랩(trap)으로 형성되고, 이 트랩과 본체에는 항상 일정량의 물이 고인 상태가 유지된다.
여기서, 용변을 본 후 레버를 개방하여 저수부의 물을 배출하게 되면, 사이펀의 원리에 의해 본체의 물과 배설물이 배수관을 따라 정화조로 배출되고, 이후 기압과 중력이 일치하는 지점에서 물의 흐름이 멈추고 균형을 유지하게 된다.
즉, 본체에 고여 있던 물에 저수부의 물이 더해져 트랩에 고여있는 물의 높이보다 높아지게 되면서 배수관에 작용하는 중력과, 본체 내부로 많은 양이 물이 한꺼번에 유입되면서 배출구와 본체에 일시적으로 가해지는 강한 압력차에 의해 본체의 물과 배설물이 배수구를 따라 정화조로 배출되는 것이다.
그러나 일상생활에서는 용변의 양이 많은 경우 또는 용변을 본 후 사용한 화장지나, 음식 잔여물을 변기 내에 버리는 경우가 자주 발생하게 되고, 이에 따라 변기가 막히는 현상이 발생하게 된다.
이때, 막힌 변기를 뚫기 위해 저수부의 물을 1~2회 정도 더 배출시켜 보지만, 대부분의 경우는 변기의 물이 넘치는 현상으로 이어져 2차적인 문제를 발생시킨다. 즉 물이 변기 외부로 넘쳐 흐르게 되는 문제가 발생된다.
통상, 막힌 변기를 뚫기 위해서 통상 하기의 방법이 이용되고 있다.
첫째는, 플런저와 같이 막대 끝에 달린 반구형의 고무가 변기 배출구에 밀착 되도록하여 수동으로 압력을 가하면서 이물질을 배출시키는 방법이 있지만, 이는 변기 배출구에 고무가 밀착했을 때 수밀효과가 낮아 충분히 압력이 전해지지 못할 뿐만 아니라, 변기 내부의 이물질이 외부로 분출되면서 사용자의 몸이나 화장실의 바닥에 튀는 문제점이 있다.
둘째는, 약품을 사용하는 방법이 있지만, 이는 약품이 반응하기 위한 장시간이 필요하고, 약품의 사용에 따라 환경이 오염되는 등의 문제점이 있다.
셋째는, 막힌 변기를 전문적으로 뚫는 업체를 통해 해결하는 방법이 있지만, 이는 비용 부담이 크게 발생되는 문제점이 있었다.
넷째는, 변기 상부면을 비닐로 씌우고, 이 비닐과 변기의 경계면을 테이프 등으로 밀폐되게 부착한 후, 저수부의 물을 배출시켜 변기 내부의 압력이 증가되면서 부풀어오르는 비닐을 가압함으로써 이물질을 배출시키는 방법이 있지만, 이는 변기의 상부면을 전체적으로 덮을 수 있는 크기의 비닐과 테이프를 항시 구비하여 부착해야 하므로 번거로울 뿐만아니라, 재사용이 어려우며 변기 내에 이물질이 있는 상태에서 테이프를 부착해야 하므로 사용자에게 냄새나 오염물로 인한 불쾌감등의 피해가 발생되는 문제점이 있다.
특히, 종래에는 막힌 변기를 뚫기 위하여 하기의 특허문헌들이 개시되어 있다.
그러나 하기의 특허문헌들 역시 막힌 변기를 뚫기 위해 통상의 방법 중 네번째에 해당되어, 사용상의 번거로움이 있고, 냄새나 오염물로 인한 불쾌감 등이 발생함은 물론 별도로 보관해야 하고, 재사용이 어렵다는 문제점은 상존하게 된다.
국내 특허 공개번호 10-2008-0054668호, 일회용 좌변기 천공포. 국내 특허 공개번호 10-2008-0050384호, 막힘 제거장치를 가지는 변기. 국내 실용신안 공개번호 20-2009-0010643호, 양변기 막힘 제거장치. 국내 실용신안 공개번호 20-2011-0005049호, 변기 막힘 해소용 기구.
본 고안은 상기한 종래 기술의 문제점을 해결하기 위하여 안출된 것으로서, 본 고안의 목적은 좌변기 커버를 구성하는 덮개의 중앙에 연질로 이루어진 가변부를 구비함으로써 좌변기가 막혔을 때 물내림시 발생하는 역류압에 의해 연질의 가변부가 부풀어 오를 수 있도록 하고, 그 부풀어 오른 부분을 눌러줌으로써 막힌 변기를 간편하게 뚫을 수 있는 좌변기 커버를 제공하는데 있다.
상기 목적을 달성하기 위한 본 고안은 좌변기 커버로서, 좌변기의 상부에 회동 가능하게 설치되어 좌변기의 상단에 안착됨과 아울러 내측에 용변구멍이 형성된 좌대; 및 상기 좌대의 상부에 회동 가능하게 설치되어 상기 좌대의 용변구멍을 덮을 수 있는 덮개;를 포함하고, 상기 덮개는: 좌변기가 막혔을 때 물내림시 발생하는 역류압에 의해 덮개의 중앙부가 부풀어 오를 수 있도록 상기 덮개의 중앙부를 연질로 구성하여 부풀어 오른 부분을 눌러줌으로써 막힌 변기를 뚫을 수 있게 한 가변부;를 포함하는 것이 바람직하다.
상기 덮개는: 상기 좌대 상단과의 기밀을 유지할 수 있도록 덮개 하부 둘레면을 따라 제1 밀폐링이 설치되고, 상기 좌대는: 좌변기 상단과의 기밀을 유지할 수 있도록 좌대의 하부 둘레면를 따라 제2 밀폐링이 설치되는 것이 바람직하다.
상기 가변부는: 상기 덮개의 사출시 가변부의 가장자리가 덮개에 매립되도록 일체형으로 사출하여, 연질로 이루어진 가변부가 경질로 이루어지는 덮개의 중앙에 일체형으로 형성되는 것이 바람직하다.
상기 가변부는: 상기 좌대의 용변구멍에 대응하는 크기로 이루어지거나 혹은 상기 용변구멍의 크기보다 작게 형성되는 것이 바람직하다.
상기 가변부는: 고무 재질이나 실리콘 및 연성의 합성수지 중 어느 하나로 이루어지는 것이 바람직하다.
본 고안에 따른 좌변기 커버에 의하면, 덮개의 중앙부에 연질의 가변부를 형성하여 변기가 막혔을 경우 가변부에 의해 손쉽게 막힌 변기를 뚫을 수 있게 함으로써, 막힌 변기를 뚫기 위한 도구를 별도로 준비하지 않아도 됨으로 사용상의 편의성을 갖는 효과가 있다.
도 1은 본 고안에 따른 좌변기 커버가 좌변기에 설치되어 덮여진 상태를 나타낸 사시도이고,
도 2는 본 고안에 따른 좌변기 커버의 덮개가 열린 상태를 나타낸 사시도이고,
도 3은 본 고안에 다른 좌변기 커버의 구조를 나타낸 도면이고,
도 4는 도 3표시의 "A"부 확대도이다.
이하에서는, 첨부된 도면을 참고하여 본 고안에 따른 바람직한 실시예를 보다 상세하게 설명하기로 한다.
본 고안의 설명에 앞서, 이하의 특정한 구조 내지 기능적 설명들은 단지 본 고안의 개념에 따른 실시예를 설명하기 위한 목적으로 예시된 것으로, 본 고안의 개념에 따른 실시예들은 다양한 형태로 실시될 수 있으며, 본 명세서에 설명된 실시예들에 한정되는 것으로 해석되어서는 아니된다.
또한, 본 고안의 개념에 따른 실시예는 다양한 변경을 가할 수 있고 여러 가지 형태를 가질 수 있으므로, 특정 실시예들을 도면에 예시하고 본 명세서에 상세하게 설명하고자 한다. 그러나, 이는 본 고안의 개념에 따른 실시예들을 특정한 개시 형태에 한정하려는 것이 아니며, 본 고안의 사상 및 기술 범위에 포함되는 모든 변경물, 균등물 내지 대체물을 포함하는 것으로 이해되어야 한다.
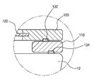
첨부된 도 1은 본 고안에 따른 좌변기 커버가 좌변기에 설치되어 덮여진 상태를 나타낸 사시도이고, 도 2는 본 고안에 따른 좌변기 커버의 덮개가 열린 상태를 나타낸 사시도이고, 도 3은 본 고안에 다른 좌변기 커버의 구조를 나타낸 도면이고, 도 4는 도 3표시의 "A"부 확대도이다.
이들 도면에 도시되어 있는 바와 같이, 본 고안에 따른 좌변기 커버는 좌대(110)와 덮개(120) 및 상기 덮개(120)에 형성된 가변부(122)를 포함하여 구성되는 것이 바람직하다.
상기 좌대(110)는 좌변기(12)의 상부에 회동 가능하게 설치되어 좌변기(12)의 상단에 안착되고, 상기 좌대(110)의 내측에는 용변구멍(112)이 형성된다.
이러한 상기 좌대(110)의 상부에 상기 덮개(120)가 회동 가능하게 설치되어 상기 덮개(120)에 의해 좌대(110)의 용변구멍(112)을 덮을 수 있게 한다.
또한, 상기 가변부(122)는 본 고안의 특징을 이루는 부분으로, 상기 덮개(120)의 중앙부에 형성된다.
이러한 상기 가변부(122)는 연질로 이루어지며, 좌변기가 막혔을 때 물내림시 발생하는 역류압에 의해 덮개(120)의 중앙부가 도 3표시의 가상선으로 도시된 바와 같이 부풀어 오를 수 있도록 상기 덮개의 중앙부가 연질로 형성되어 부풀어 오른 부분을 눌러줌으로써 막힌 변기를 뚫을 수 있게 한다.
이때, 상기 덮개(120)와 좌대(110)의 사이 및 상기 좌대(110)와 좌변기(12)의 상단면 사이를 밀폐시킬 수 있도록 제1 밀폐링(132)과 제2 밀폐링(134)이 설치되는 것이 바람직하다.
상기 제1 밀폐링(132)은 상기 덮개(120)와 좌대(110)의 사이를 밀폐시키도록 상기 덮개(120)의 하부면에 설치된다. 즉, 상기 덮개(120)의 하부면과 상기 좌대(110)의 상부면과의 기밀을 유지할 수 있도록 상기 덮개(120)의 하부 둘레면을 따라 상기 제1 밀폐링(132)이 설치된다.
또한, 상기 제2 밀폐링(134)은 상기 좌대(110)와 좌변기(12)의 사이를 밀폐시키도록 상기 좌대(110)의 하부면에 설치된다. 즉, 상기 좌대(110)의 하부면과 좌변기(12)의 상부과의 기밀을 유지할 수 있도록 상기 좌대(110)의 하부 둘레면를 따라 제2 밀폐링(134)이 설치된다.
이때, 상기 제1 밀폐링(132)과 제2 밀폐링(134)은 실리콘 재질 또는 합성수지 재질로 구성되는 것이 바람직하며, 사용자가 상기 좌대(110)에 앉았을 때 눌러짐이 가능한 연성의 재질로 구성하여 사용자가 용변을 보기 위해 좌대(110)에 앉으면 상기 제2 밀폐링(134)이 눌러짐에 따라 변기의 상단과 좌대(110) 사이를 긴밀하게 밀착시켜 주게 하는 것이 바람직하다.
이는, 사용자가 용변을 볼 때 오염물질이 튀거나 하여 변기의 상단과 좌대 사이로 빠져나가는 것을 방지할 수 있는 효과도 있고, 또 악취는 물론 병원성 세균이 변기의 상단과 좌대 사이로 빠져나가는 것이 미연에 방지할 수 있는 효과가 있다.
특히, 상기 제2 밀폐링(134)에 항균성 물질이나 살균 물질을 더할 수 있음은 물론이다.
이와 같은 상기 제1 밀폐링(132)과 제2 밀폐링(134)에 의해 좌변기 내부가 완전 밀폐되어 기밀이 유지됨으로서, 좌변기가 막혔을 때 물내림시 발생하는 역류압에 의해 덮개(120)의 중앙부에 형성된 연질의 가변부(122)가 부풀어 오르게 되며, 사용자는 그 부풀어 오른 가변부(122)를 눌러줌으로서 좌변기 내부에 압이 발생되어 막힌 변기를 손쉽게 뚫을 수 있다.
한편, 상기 가변부(122)는 덮개(120)의 사출시 일체형으로 구성되게 형성되는 것이 바람직하다. 즉, 상기 가변부(122)의 가장자리가 상기 덮개(120)에 매립되도록 일체형으로 덮개를 사출함으로써, 연질로 이루어진 가변부(122)가 경질로 이루어지는 덮개(120)의 중앙에 일체형으로 형성되게 할 수 있다.
또한, 상기 가변부(122)의 크기는, 상기 좌대(110)에 형성된 용변구멍(112)에 대응하는 크기로 형성되거나, 혹은 상기 용변구멍(112)의 크기보다는 작게 형성되는 것이 바람직한데, 너무 작은 크기로 가변부가 형성되지 않게 한다.
특히, 상기 가변부(122)는 탄성 변형이 가능한 연질이면 되는 것으로, 특별히 그 재질을 한정하는 것은 아니다. 즉, 상기 가변부(122)는 고무 재질이나 실리콘 및 연성의 합성수지 중 어느 하나로 이루질 수 있다.
이와 같이 구성된 본 고안은 좌변기가 막혔을 경우 상기 좌대(110) 및 덮개(120)를 닫은 상태에서 물내림을 하게 되면, 역류가 발생되고, 그 역류압에 의해 상기 덮개(120)의 중앙부에 형성된 가변부(122)가 도 3표시의 가상선으로 도시된 바와 같이 부풀어 오르게 된다. 그러면 사용자는 부풀어 오른 가변부(122)를 눌러주는 것만으로 막힌 변기를 뚫을 수 있다.
이때, 막힌 변기가 한 번에 뚫리지 않게 되면, 상기 가변부(122)를 여러 번 눌러줌으로써, 즉 가변부(122)는 막힌 변기가 뚫리지 않게 되면 다시 부풀어 오르기 때문에 여러번 눌러줄 수 있고, 이에 따라 막힌 변기를 손쉽게 뚫을 수 있다.
따라서, 본 고안은 변기가 막혔을 경우 종래와 같이 별도의 도구를 이용하지 않고 막힌 변기를 간편하게 뚤을 수 있음으로 사용상의 편의성을 갖는다.
이상에서와 같은 기술적 구성에 의해 본 고안의 기술적 과제가 달성되는 것이며, 비록 한정된 실시예와 도면에 의해 설명되었으나 여기에 한정되지 않고 본 고안이 속하는 기술분야에서 통상의 지식을 가진 자에 의해 극히 용이하게 본 고안의 기술사상과 아래에 기재될 실용신안등록청구범위의 균등범위 내에서 다양한 수정 및 변형이 가능한 것임은 물론이다.
110 - 좌대 112 - 용변구멍
120 - 덮개 122 - 가변부
132 - 제1 밀폐링 134 - 제2 밀폐링

Claims (5)

  1. 좌변기 커버에 있어서,
    좌변기(12)의 상부에 회동 가능하게 설치되어 좌변기(12)의 상단에 안착됨과 아울러 내측에 용변구멍(112)이 형성된 좌대(110); 및
    상기 좌대(110)의 상부에 회동 가능하게 설치되어 상기 좌대(110)의 용변구멍(112)을 덮을 수 있는 덮개(120);를 포함하고,
    상기 덮개(120)는:
    좌변기(12)가 막혔을 때 물내림시 발생하는 역류압에 의해 덮개(120)의 중앙부가 부풀어 오를 수 있도록 상기 덮개(120)의 중앙부를 연질로 구성하여 부풀어 오른 부분을 눌러줌으로써 막힌 변기를 뚫을 수 있게 한 가변부(122);를 포함하는 것을 특징으로 하는 좌변기 커버.
  2. 제1항에 있어서,
    상기 덮개(120)는:
    상기 좌대(110) 상단과의 기밀을 유지할 수 있도록 덮개(120) 하부 둘레면을 따라 제1 밀폐링(132)이 설치되고,
    상기 좌대(110)는:
    좌변기(12) 상단과의 기밀을 유지할 수 있도록 좌대(110)의 하부 둘레면를 따라 제2 밀폐링(134)이 설치된 것을 특징으로 하는 좌변기 커버.
  3. 제1항에 있어서,
    상기 가변부(122)는:
    상기 덮개(120)의 사출시 가변부(122)의 가장자리가 덮개(120)에 매립되어 일체형으로 사출되게 하여, 연질로 이루어진 가변부(122)가 경질로 이루어지는 덮개(120)의 중앙에 일체형으로 형성된 것을 특징으로 하는 좌변기 커버.
  4. 제1항에 있어서,
    상기 가변부(122)는:
    상기 좌대(110)의 용변구멍(112)에 대응하는 크기로 이루어지거나 혹은 상기 용변구멍(112)의 크기보다 작게 형성된 것을 특징으로 하는 좌변기 커버.
  5. 제1항에 있어서,
    상기 가변부(122)는:
    고무 재질이나 실리콘 및 연성의 합성수지 중 어느 하나로 이루어진 것을 특징으로 하는 좌변기 커버.
KR2020160001086U 2016-02-29 2016-02-29 좌변기 커버 Ceased KR20170003138U (ko)

Priority Applications (1)

Application Number Priority Date Filing Date Title
KR2020160001086U KR20170003138U (ko) 2016-02-29 2016-02-29 좌변기 커버

Applications Claiming Priority (1)

Application Number Priority Date Filing Date Title
KR2020160001086U KR20170003138U (ko) 2016-02-29 2016-02-29 좌변기 커버

Publications (1)

Publication Number Publication Date
KR20170003138U true KR20170003138U (ko) 2017-09-06

Family

ID=60571124

Family Applications (1)

Application Number Title Priority Date Filing Date
KR2020160001086U Ceased KR20170003138U (ko) 2016-02-29 2016-02-29 좌변기 커버

Country Status (1)

Country Link
KR (1) KR20170003138U (ko)

Cited By (2)

* Cited by examiner, † Cited by third party
Publication number Priority date Publication date Assignee Title
CN109620042A (zh) * 2019-01-30 2019-04-16 林松毅 一种马桶盖
CN115210436A (zh) * 2020-01-14 2022-10-18 安起焕 马桶堵塞清除装置

Citations (4)

* Cited by examiner, † Cited by third party
Publication number Priority date Publication date Assignee Title
KR20080050384A (ko) 2008-05-27 2008-06-05 (주)현대정밀 막힘 제거장치를 가지는 변기
KR20080054668A (ko) 2006-12-13 2008-06-19 서창필 일회용 좌변기 천공포
KR20090010643U (ko) 2008-04-15 2009-10-20 강대원 양변기 막힘 제거장치
KR20110005049U (ko) 2009-11-16 2011-05-24 이태경 변기 막힘 해소용 기구

Patent Citations (4)

* Cited by examiner, † Cited by third party
Publication number Priority date Publication date Assignee Title
KR20080054668A (ko) 2006-12-13 2008-06-19 서창필 일회용 좌변기 천공포
KR20090010643U (ko) 2008-04-15 2009-10-20 강대원 양변기 막힘 제거장치
KR20080050384A (ko) 2008-05-27 2008-06-05 (주)현대정밀 막힘 제거장치를 가지는 변기
KR20110005049U (ko) 2009-11-16 2011-05-24 이태경 변기 막힘 해소용 기구

Cited By (2)

* Cited by examiner, † Cited by third party
Publication number Priority date Publication date Assignee Title
CN109620042A (zh) * 2019-01-30 2019-04-16 林松毅 一种马桶盖
CN115210436A (zh) * 2020-01-14 2022-10-18 安起焕 马桶堵塞清除装置

Similar Documents

Publication Publication Date Title
US9890529B2 (en) Sanitary toilet
KR101382693B1 (ko) 오버플로우관을 이용한 변기 에어커튼 장치
KR101745857B1 (ko) 직수식 변기의 악취제거장치
KR20170003138U (ko) 좌변기 커버
KR20060079761A (ko) 탈취 실내변기
KR101656137B1 (ko) 악취제거 기능을 갖는 비데
KR20130085589A (ko) 위생 변기
US20130097770A1 (en) Toilet ventilation system
KR200492905Y1 (ko) 착탈식 냄새흡입부재가 구성되는 악취 제거 변기
JP4064994B2 (ja) バキューム式トイレ装置
KR102101570B1 (ko) 진공을 이용한 막힘 제거장치
JP4920488B2 (ja) リザーブタンクに装着された収納袋への汚物吸引装置
KR101437764B1 (ko) 변기용 커버장치
US20120278982A1 (en) Toilet Sealing Mechanism
KR100899460B1 (ko) 좌변기용 배출관의 막힘상태 뚫음장치
KR100498243B1 (ko) 무수소변기용 방취장치
KR101478111B1 (ko) 전자식 양변기
KR20100071911A (ko) 양변기의 절수를 위한 소형함체 및 보조장치
GB2589304A (en) Toilet system
KR20150062337A (ko) 막힘 해소용 좌변기 커버
KR20160033487A (ko) 냄새 없는 절수형 소변기
CN107923171B (zh) 便器除臭装置
JP2000096659A (ja) 水洗便器兼用簡易水洗便器
KR102111661B1 (ko) 막힘 제거장치를 갖는 양변기
KR200212186Y1 (ko) 좌변기용 자동분사기

Legal Events

Date Code Title Description
A201 Request for examination
UA0108 Application for utility model registration

Comment text: Application for Utility Model Registration

Patent event code: UA01011R08D

Patent event date: 20160229

UA0201 Request for examination
A302 Request for accelerated examination
UA0301 Request for accelerated examination

Comment text: [Request for Accelerated Examination] Document of Request for Examination(Accelerated Examination)

Patent event date: 20160303

Patent event code: UA03012R01D

Comment text: Application for Utility Model Registration

Patent event date: 20160229

Patent event code: UA03011R01I

E902 Notification of reason for refusal
UE0902 Notice of grounds for rejection

Comment text: Notification of reason for refusal

Patent event code: UE09021S01D

Patent event date: 20160322

AMND Amendment
E601 Decision to refuse application
UE0601 Decision on rejection of utility model registration

Comment text: Decision to Refuse Application

Patent event code: UE06011S01D

Patent event date: 20160727

AMND Amendment
UX0901 Re-examination

Patent event date: 20160727

Comment text: Decision to Refuse Application

Patent event code: UX09011S01I

Patent event date: 20160523

Comment text: Amendment to Specification, etc.

Patent event code: UX09012R01I

UX0601 Decision of rejection after re-examination

Patent event date: 20160923

Comment text: Decision to Refuse Application

Patent event code: UX06014S01D

Patent event date: 20160826

Comment text: Amendment to Specification, etc.

Patent event code: UX06012R01I

Patent event date: 20160727

Comment text: Decision to Refuse Application

Patent event code: UX06011S01I

Patent event date: 20160523

Comment text: Amendment to Specification, etc.

Patent event code: UX06012R01I

Patent event date: 20160322

Comment text: Notification of reason for refusal

Patent event code: UX06013S01I

X601 Decision of rejection after re-examination
J201 Request for trial against refusal decision

Free format text: TRIAL NUMBER: 2016101005997; TRIAL AGAINST DECISION OF REJECTION FOR APPEAL AGAINST DECISION TO DECLINE REFUSAL

UJ0201 Trial against decision of rejection

Patent event code: UJ02012R01D

Comment text: Request for Trial against Decision on Refusal

Patent event date: 20161020

Patent event code: UJ02011S01I

Comment text: Decision to Refuse Application

Patent event date: 20160923

Patent event code: UJ02011S01I

Comment text: Decision to Refuse Application

Patent event date: 20160727

Appeal identifier: 2016101005997

Request date: 20161020

Appeal kind category: Appeal against decision to decline refusal

UG1501 Laying open of application
J301 Trial decision

Free format text: TRIAL NUMBER: 2016101005997; TRIAL DECISION FOR APPEAL AGAINST DECISION TO DECLINE REFUSAL REQUESTED 20161020

Effective date: 20180625

UJ1301 Trial decision

Patent event date: 20180625

Patent event code: UJ13011S01D

Comment text: Trial Decision on Objection to Decision on Refusal

Appeal identifier: 2016101005997

Appeal kind category: Appeal against decision to decline refusal

Decision date: 20180625

Request date: 20161020