KR20160147163A - 기판 처리 장치 및 세정 방법 - Google Patents

기판 처리 장치 및 세정 방법 Download PDF

Info

Publication number
KR20160147163A
KR20160147163A KR1020150083369A KR20150083369A KR20160147163A KR 20160147163 A KR20160147163 A KR 20160147163A KR 1020150083369 A KR1020150083369 A KR 1020150083369A KR 20150083369 A KR20150083369 A KR 20150083369A KR 20160147163 A KR20160147163 A KR 20160147163A
Authority
KR
South Korea
Prior art keywords
spin head
speed
substrate
cup
cleaning liquid
Prior art date
Legal status (The legal status is an assumption and is not a legal conclusion. Google has not performed a legal analysis and makes no representation as to the accuracy of the status listed.)
Ceased
Application number
KR1020150083369A
Other languages
English (en)
Inventor
박정영
이슬
김대민
Original Assignee
세메스 주식회사
Priority date (The priority date is an assumption and is not a legal conclusion. Google has not performed a legal analysis and makes no representation as to the accuracy of the date listed.)
Filing date
Publication date
Application filed by 세메스 주식회사 filed Critical 세메스 주식회사
Priority to KR1020150083369A priority Critical patent/KR20160147163A/ko
Publication of KR20160147163A publication Critical patent/KR20160147163A/ko
Ceased legal-status Critical Current

Links

Images

Classifications

    • HELECTRICITY
    • H01ELECTRIC ELEMENTS
    • H01LSEMICONDUCTOR DEVICES NOT COVERED BY CLASS H10
    • H01L21/00Processes or apparatus adapted for the manufacture or treatment of semiconductor or solid state devices or of parts thereof
    • H01L21/02Manufacture or treatment of semiconductor devices or of parts thereof
    • H01L21/02041Cleaning
    • H01L21/02043Cleaning before device manufacture, i.e. Begin-Of-Line process
    • H01L21/02052Wet cleaning only
    • HELECTRICITY
    • H01ELECTRIC ELEMENTS
    • H01LSEMICONDUCTOR DEVICES NOT COVERED BY CLASS H10
    • H01L21/00Processes or apparatus adapted for the manufacture or treatment of semiconductor or solid state devices or of parts thereof
    • H01L21/67Apparatus specially adapted for handling semiconductor or electric solid state devices during manufacture or treatment thereof; Apparatus specially adapted for handling wafers during manufacture or treatment of semiconductor or electric solid state devices or components ; Apparatus not specifically provided for elsewhere
    • H01L21/67005Apparatus not specifically provided for elsewhere
    • H01L21/67011Apparatus for manufacture or treatment
    • H01L21/67017Apparatus for fluid treatment
    • H01L21/67028Apparatus for fluid treatment for cleaning followed by drying, rinsing, stripping, blasting or the like
    • H01L21/6704Apparatus for fluid treatment for cleaning followed by drying, rinsing, stripping, blasting or the like for wet cleaning or washing
    • HELECTRICITY
    • H01ELECTRIC ELEMENTS
    • H01LSEMICONDUCTOR DEVICES NOT COVERED BY CLASS H10
    • H01L21/00Processes or apparatus adapted for the manufacture or treatment of semiconductor or solid state devices or of parts thereof
    • H01L21/67Apparatus specially adapted for handling semiconductor or electric solid state devices during manufacture or treatment thereof; Apparatus specially adapted for handling wafers during manufacture or treatment of semiconductor or electric solid state devices or components ; Apparatus not specifically provided for elsewhere
    • H01L21/683Apparatus specially adapted for handling semiconductor or electric solid state devices during manufacture or treatment thereof; Apparatus specially adapted for handling wafers during manufacture or treatment of semiconductor or electric solid state devices or components ; Apparatus not specifically provided for elsewhere for supporting or gripping
    • H01L21/6835Apparatus specially adapted for handling semiconductor or electric solid state devices during manufacture or treatment thereof; Apparatus specially adapted for handling wafers during manufacture or treatment of semiconductor or electric solid state devices or components ; Apparatus not specifically provided for elsewhere for supporting or gripping using temporarily an auxiliary support

Landscapes

  • Engineering & Computer Science (AREA)
  • Physics & Mathematics (AREA)
  • Condensed Matter Physics & Semiconductors (AREA)
  • General Physics & Mathematics (AREA)
  • Manufacturing & Machinery (AREA)
  • Computer Hardware Design (AREA)
  • Microelectronics & Electronic Packaging (AREA)
  • Power Engineering (AREA)
  • Cleaning Or Drying Semiconductors (AREA)

Abstract

본 발명은 세정 방법에 관한 것이다. 본 발명에 따른 세정 방법은 상부가 개방된 컵 내에서 기판을 지지하는 스핀 헤드를 가지는 기판 처리 장치를 세정하되,상기 스핀 헤드를 제1 속도로 회전시키는 상태에서 상기 스핀 헤드로 세정액을 공급하고, 이후, 상기 스핀 헤드를 상기 제1 속도보다 빠른 제2 속도로 회전시킨다.

Description

기판 처리 장치 및 세정 방법{Apparatus for Processing Substrate and method for Cleaning}
본 발명은 기판 처리 장치 및 방법에 관한 것으로, 더 상세하게는 기판을 처리하고 컵을 세정하는 장치 및 컵을 세정하는 방법에 관한 것이다.
기판 표면에 잔류하는 파티클(Particle), 유기 오염물, 그리고 금속 오염물 등의 오염 물질은 반도체 소자의 특성과 생산 수율에 많은 영향을 미친다. 이 때문에 기판 표면에 부착된 각종 오염 물질을 제거하는 세정 공정이 반도체 제조 공정에서 매우 중요하며, 반도체를 제조하는 각 단위 공정의 전후 단계에서 기판을 세정 처리하는 공정이 실시되고 있다. 일반적으로 기판의 세정은 케미칼을 이용하여 기판 상에 잔류하는 금속 이물질, 유기 물질, 또는 파티클 등을 제거하는 케미컬 처리 공정, 순수를 이용하여 기판 상에 잔류하는 케미칼을 제거하는 린스 공정, 그리고 건조 가스 등을 이용하여 기판을 건조하는 건조 공정을 포함한다.
세정 공정은 챔버 내에서 기판에 처리 유체가 공급되어 수행된다. 챔버에는 상부가 개방된 컵이 제공되고, 기판은 컵 내에 배치된다. 세정 공정이 수행되면서 처리 유체로 인해 컵이 오염된다. 이는 이후 기판 처리 공정시에 기판을 오염시킨다.
본 발명은 기판을 처리하고, 오염된 컵을 세정할 수 있는 기판 처리 장치 및 세정 방법을 제공하기 위한 것이다.
본 발명은 컵의 영역을 선택적으로 세정할 수 있는 기판 처리 장치 및 세정 방법을 제공하기 위한 것이다.
본 발명의 목적은 여기에 제한되지 않으며, 언급되지 않은 또 다른 목적들은 아래의 기재로부터 당업자에게 명확하게 이해될 수 있을 것이다.
본 발명은 세정 방법을 제공한다.
본 발명의 일 실시예에 따르면, 상부가 개방된 컵 내에서 기판을 지지하는 스핀 헤드를 가지는 기판 처리 장치를 세정하되, 상기 스핀 헤드를 제1 속도로 회전시키는 상태에서 상기 스핀 헤드로 세정액을 공급하고, 이후, 상기 스핀 헤드를 상기 제1 속도보다 빠른 제2 속도로 회전시킨다.
일 실시예에 의하면, 상기 스핀 헤드가 상기 제2 속도로 회전되는 동안 상기 스핀 헤드의 상면으로 상기 세정액의 공급은 중지된다.
일 실시예에 의하면, 상기 스핀 헤드가 상기 제1 속도로 제1 방향으로 회전한 후에, 상기 제1 속도로 상기 제1 방향과 반대 방향인 제2 방향으로 회전한다.
일 실시예에 의하면, 상기 스핀 헤드의 상면에 상기 세정액을 직접 공급한다.
일 실시예에 의하면, 상기 스핀 헤드에 제공되어 상기 기판의 저면을 지지하는 지지핀에 상기 세정액을 직접 공급한다.
일 실시예에 의하면, 상기 스핀 헤드에 제공되어 상기 기판의 측면을 지지하는 척핀에 상기 세정액을 직접 공급한다.
일 실시예에 의하면, 상기 스핀 헤드가 상기 제2 속도로 제1 방향으로 회전한 후에, 상기 제2 속도로 상기 제1 방향과 반대 방향인 제2 방향으로 회전한다.
일 실시예에 의하면, 상기 스핀 헤드를 상기 제1 속도로 회전시킨 이후에, 상기 컵을 상하로 이동시키면서, 상기 스핀 헤드의 상면에 대한 상기 컵의 내벽의 상대적인 높이를 조절한다.
일 실시예에 의하면, 상기 스핀 헤드를 상기 제2 속도로 회전시키는 동안, 상기 컵을 상하로 이동시키면서, 상기 스핀 헤드의 상면에 대한 상기 컵의 내벽의 상대적인 높이를 조절한다.
본 발명은 기판 처리 장치를 제공한다.
본 발명의 일 실시예에 따르면, 기판을 처리하는 처리 공간을 제공하는 컵;상기 처리 공간 내에서 상기 기판을 지지하고, 회전하는 스핀 헤드를 가지는 지지 유닛; 상기 스핀 헤드에 세정액을 분사하는 분사 유닛; 상기 스핀 헤드 및 상기 분사 유닛을 제어하는 제어기를 포함하되, 상기 제어기는, 상기 스핀 헤드가 제1 속도로 회전할 때, 상기 분사 유닛이 상기 스핀 헤드에 상기 세정액을 분사하고, 이후 상기 스핀 헤드가 상기 제1 속도보다 빠른 제2 속도로 회전하도록 상기 스핀 헤드 및 상기 분사 유닛을 제어한다.
일 실시예에 의하면, 상기 제어기는, 상기 스핀 헤드가 상기 제2 속도로 회전하는 동안에는 상기 분사 유닛이 상기 스핀 헤드의 상면으로 상기 세정액을 공급하는 것을 중지하도록 상기 스핀 헤드 및 상기 분사 유닛을 제어한다.
일 실시예에 의하면, 상기 제어기는, 상기 스핀 헤드가 상기 제1 속도로 제1 방향으로 회전한 후에, 상기 제1 속도로 상기 제1 방향과 반대 방향인 제2 방향으로 회전하도록 상기 스핀 헤드를 제어한다.
일 실시예에 의하면, 상기 제어기는, 상기 스핀 헤드의 상면에 상기 세정액을 직접 공급하도록 상기 분사 유닛을 제어한다.
일 실시예에 의하면, 상기 제어기는, 상기 스핀 헤드에 제공되어 상기 기판의 저면을 지지하는 지지핀에 상기 세정액을 직접 공급하도록 상기 분사 유닛을 제어한다.
일 실시예에 의하면, 상기 제어기는, 상기 스핀 헤드에 제공되어 상기 기판의 측면을 지지하는 척핀에 상기 세정액을 직접 공급하도록 상기 분사 유닛을 제어한다.
일 실시예에 의하면, 상기 제어기는, 상기 스핀 헤드가 상기 제2 속도로 제1 방향으로 회전한 후에, 상기 제2 속도록 상기 제1 방향과 반대 방향인 제2 방향으로 회전하도록 상기 스핀 헤드를 제어한다.
일 실시예에 의하면, 상기 컵은 상하 방향으로 적층된 복수의 회수통을 포함하고, 상기 복수의 회수통 중 어느 하나 이상의 회수통을 상하 방향으로 이동시키는 승강 유닛;을 더 포함한다.
일 실시예에 의하면, 상기 제어기는 상기 승강 유닛를 제어하되, 상기 스핀 헤드를 상기 제1 속도로 회전시킨 이후에, 어느 하나 이상의 상기 회수통을 상하로 이동시키도록 상기 승강 유닛를 제어한다.
일 실시예에 의하면, 상기 제어기는 상기 승강 유닛를 제어하되, 상기 스핀 헤드를 상기 제2 속도로 회전시키는 동안, 어느 하나 이상의 상기 회수통을 상하로 이동시키도록 상기 승강 유닛를 제어한다.
본 발명의 일 실시예에 의하면, 기판 처리 공정 이후에 오염된 컵을 세정할 수 있다.
또한, 본 발명의 일 실시예에 의하면, 컵의 영역을 선택적으로 세정할 수 있다.
도 1은 본 발명의 일 실시예에 따른 기판 처리 장치가 제공된 기판 처리 설비를 개략적으로 나타낸 평면도이다.
도 2는 도 1의 기판 처리 장치의 일 실시예를 도시한 단면도이다.
도 3은 본 발명의 실시예에 의한 컵 세정 공정을 나타낸 플로우 차트이다.
도 4 내지 도 7은 본 발명의 제1 실시예에 의한 세정액 공급 및 컵을 세정하는 과정을 보여주는 도면이다.
도 8 내지 도 10은 본 발명의 제2 실시예에 의한 세정액 공급 및 컵을 세정하는 과정을 보여주는 도면이다.
도 11 내지 도 13은 본 발명의 제3 살시예에 의한 세정액 공급 및 컵을 세정하는 과정을 보여주는 도면이다.
도 14 및 도 15는 본 발명의 실시예에 의한 컵이 상하로 승강하면서 컵을 세정하는 과정을 보여주는 도면이다.
이하, 본 발명의 실시 예를 첨부된 도면들을 참조하여 더욱 상세하게 설명한다. 본 발명의 실시 예는 여러 가지 형태로 변형할 수 있으며, 본 발명의 범위가 아래의 실시 예들로 한정되는 것으로 해석되어서는 안 된다. 본 실시 예는 당업계에서 평균적인 지식을 가진 자에게 본 발명을 더욱 완전하게 설명하기 위해 제공되는 것이다. 따라서 도면에서의 요소의 형상은 보다 명확한 설명을 강조하기 위해 과장된 것이다.
이하, 도 1 내지 도 2를 참조하여 본 발명의 일 예를 상세히 설명한다.
도 1은 본 발명의 기판 처리 설비(1)를 개략적으로 나타낸 평면도이다.
도 1을 참조하면, 기판 처리 설비(1)는 인덱스 모듈(100)과 공정 처리 모듈(200)을 포함한다. 인덱스 모듈(100)은 로드포트(120) 및 이송프레임(140)을 포함한다. 로드포트(120), 이송프레임(140), 그리고 공정 처리 모듈(200)은 순차적으로 일렬로 배열된다. 이하, 로드포트(120), 이송프레임(140), 그리고 공정 처리 모듈(200)이 배열된 방향을 제1방향(12)이라 한다. 그리고 상부에서 바라볼 때 제1방향(12)과 수직한 방향을 제2방향(14)이라 하고, 제1방향(12)과 제2방향(14)을 포함한 평면에 수직인 방향을 제3방향(16)이라 한다.
로드포트(120)에는 기판(W)이 수납된 캐리어(130)가 놓인다. 로드포트(120)는 복수 개가 제공되며 이들은 제2방향(14)을 따라 일렬로 배치된다. 도 1에서는 네 개의 로드포트(120)가 제공된 것으로 도시하였다. 그러나 로드포트(120)의 개수는 공정 처리 모듈(200)의 공정효율 및 풋 프린트 등의 조건에 따라 증가하거나 감소할 수도 있다. 캐리어(130)에는 기판(W)의 가장자리를 지지하도록 제공된 슬롯(도시되지 않음)이 형성된다. 슬롯은 제3방향(16)으로 복수 개가 제공된다. 기판(W)은 제3방향(16)을 따라 서로 이격된 상태로 적층되게 캐리어(130)내에 위치된다. 캐리어(130)로는 전면 개방 일체형 포드(Front Opening Unified Pod;FOUP)가 사용될 수 있다.
공정 처리 모듈(200)은 버퍼유닛(220), 이송챔버(240), 그리고 공정챔버(260)를 포함한다. 이송챔버(240)는 그 길이 방향이 제1방향(12)과 평행하게 배치된다. 제2방향(14)를 따라 이송챔버(240)의 일측 및 타측에는 각각 공정챔버들(260)이 배치된다. 이송챔버(240)의 일측에 위치한 공정챔버들(260)과 이송챔버(240)의 타측에 위치한 공정챔버들(260)은 이송챔버(240)를 기준으로 서로 대칭이 되도록 제공된다. 공정챔버(260)들 중 일부는 이송챔버(240)의 길이 방향을 따라 배치된다. 또한, 공정챔버(260)들 중 일부는 서로 적층되게 배치된다. 즉, 이송챔버(240)의 일측에는 공정챔버(260)들이 A X B(A와 B는 각각 1이상의 자연수)의 배열로 배치될 수 있다. 여기서 A는 제1방향(12)을 따라 일렬로 제공된 공정챔버(260)의 수이고, B는 제3방향(16)을 따라 일렬로 제공된 공정챔버(260)의 수이다. 이송챔버(240)의 일측에 공정챔버(260)가 4개 또는 6개 제공되는 경우, 공정챔버(260)들은 2 X 2 또는 3 X 2의 배열로 배치될 수 있다. 공정챔버(260)의 개수는 증가하거나 감소할 수도 있다. 상술한 바와 달리, 공정챔버(260)는 이송챔버(240)의 일측에만 제공될 수 있다. 또한, 상술한 바와 달리, 공정챔버(260)는 이송챔버(240)의 일측 및 양측에 단층으로 제공될 수 있다.
버퍼유닛(220)은 이송프레임(140)과 이송챔버(240) 사이에 배치된다. 버퍼 유닛(220)은 이송챔버(240)와 이송프레임(140) 간에 기판(W)이 반송되기 전에 기판(W)이 머무르는 공간을 제공한다. 버퍼유닛(220)은 그 내부에 기판(W)이 놓이는 슬롯(미도시)이 제공되며, 슬롯(미도시)들은 서로 간에 제3방향(16)을 따라 이격되도록 복수 개 제공된다. 버퍼유닛(220)에서 이송프레임(140)과 마주보는 면과 이송챔버(240)와 마주보는 면 각각이 개방된다.
이송프레임(140)은 로드포트(120)에 안착된 캐리어(130)와 버퍼유닛(220) 간에 기판(W)을 반송한다. 이송프레임(140)에는 인덱스레일(142)과 인덱스로봇(144)이 제공된다. 인덱스레일(142)은 그 길이 방향이 제2방향(14)과 나란하게 제공된다. 인덱스로봇(144)은 인덱스레일(142) 상에 설치되며, 인덱스레일(142)을 따라 제2방향(14)으로 직선 이동된다. 인덱스로봇(144)은 베이스(144a), 바디(144b), 그리고 인덱스암(144c)을 가진다. 베이스(144a)는 인덱스레일(142)을 따라 이동 가능하도록 설치된다. 바디(144b)는 베이스(144a)에 결합된다. 바디(144b)는 베이스(144a) 상에서 제3방향(16)을 따라 이동 가능하도록 제공된다. 또한, 바디(144b)는 베이스(144a) 상에서 회전 가능하도록 제공된다. 인덱스암(144c)은 바디(144b)에 결합되고, 바디(144b)에 대해 전진 및 후진 이동 가능하도록 제공된다. 인덱스암(144c)은 복수 개 제공되어 각각 개별 구동되도록 제공된다. 인덱스암(144c)들은 제3방향(16)을 따라 서로 이격된 상태로 적층되게 배치된다. 인덱스암(144c)들 중 일부는 공정 처리 모듈(200)에서 캐리어(130)로 기판(W)을 반송할 때 사용되고, 다른 일부는 캐리어(130)에서 공정 처리 모듈(200)로 기판(W)을 반송할 때 사용될 수 있다. 이는 인덱스로봇(144)이 기판(W)을 반입 및 반출하는 과정에서 공정 처리 전의 기판(W)으로부터 발생된 파티클이 공정 처리 후의 기판(W)에 부착되는 것을 방지할 수 있다.
이송챔버(240)는 버퍼유닛(220)과 공정챔버(260) 간에, 그리고 공정챔버(260)들 간에 기판(W)을 반송한다. 이송챔버(240)에는 가이드레일(242)과 메인로봇(244)이 제공된다. 가이드레일(242)은 그 길이 방향이 제1방향(12)과 나란하도록 배치된다. 메인로봇(244)은 가이드레일(242) 상에 설치되고, 가이드레일(242) 상에서 제1방향(12)을 따라 직선 이동된다. 메인로봇(244)은 베이스(244a), 바디(244b), 그리고 메인암(244c)을 가진다. 베이스(244a)는 가이드레일(242)을 따라 이동 가능하도록 설치된다. 바디(244b)는 베이스(244a)에 결합된다. 바디(244b)는 베이스(244a) 상에서 제3방향(16)을 따라 이동 가능하도록 제공된다. 또한, 바디(244b)는 베이스(244a) 상에서 회전 가능하도록 제공된다. 메인암(244c)은 바디(244b)에 결합되고, 이는 바디(244b)에 대해 전진 및 후진 이동 가능하도록 제공된다. 메인암(244c)은 복수 개 제공되어 각각 개별 구동되도록 제공된다. 메인암(244c)들은 제3방향(16)을 따라 서로 이격된 상태로 적층되게 배치된다. 버퍼유닛(220)에서 공정챔버(260)로 기판(W)을 반송할 때 사용되는 메인암(244c)과 공정챔버(260)에서 버퍼유닛(220)으로 기판(W)을 반송할 때 사용되는 메인암(244c)은 서로 상이할 수 있다.
공정챔버(260) 내에는 기판(W)에 대해 세정 공정을 수행하는 기판 처리 장치(300)가 제공된다. 각각의 공정챔버(260) 내에 제공된 기판 처리 장치(300)는 수행하는 세정 공정의 종류에 따라 상이한 구조를 가질 수 있다. 선택적으로 각각의 공정챔버(260) 내의 기판 처리 장치(300)는 동일한 구조를 가질 수 있다. 선택적으로 공정챔버(260)들은 복수 개의 그룹으로 구분되어, 동일한 그룹에 속하는 공정챔버(260)에 제공된 기판 처리 장치(300)들은 서로 동일한 구조를 가지고, 상이한 그룹에 속하는 공정챔버(260)에 제공된 기판 처리 장치(300)들은 서로 상이한 구조를 가질 수 있다. 예컨대, 공정챔버(260)가 2개의 그룹으로 나누어지는 경우, 이송챔버(240)의 일측에는 제1그룹의 공정챔버들(260)이 제공되고, 이송챔버(240)의 타측에는 제2그룹의 공정챔버들(260)이 제공될 수 있다. 선택적으로 이송챔버(240)의 일측 및 타측 각각에서 하층에는 제1그룹의 공정챔버(260)들이 제공되고, 상층에는 제2그룹의 공정챔버(260)들이 제공될 수 있다. 제1그룹의 공정챔버(260)와 제2그룹의 공정챔버(260)는 각각 사용되는 케미컬의 종류나, 세정 방식의 종류에 따라 구분될 수 있다.
아래에서는 기판(W)을 처리하는 기판 처리 장치(300)의 일 예를 설명한다. 도 2는 기판 처리 장치(300)의 일 예를 보여주는 도면이다.
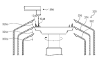
도 2를 참조하면, 기판 처리 장치(300)는 컵(320), 지지 유닛(340), 승강 유닛(360), 분사 유닛(380), 그리고 제어기(1000)를 가진다. 컵(320)은 기판처리공정이 수행되는 공간을 제공하며, 그 상부는 개방된다. 컵(320)은 내부회수통(322), 중간회수통(324), 그리고 외부회수통(326)을 가진다. 각각의 회수통(322,324,326)은 공정에 사용된 처리유체 중 서로 상이한 처리유체를 회수한다. 내부회수통(322)은 지지 유닛(340)을 감싸는 환형의 링 형상으로 제공되고, 중간회수통(324)은 내부회수통(322)을 감싸는 환형의 링 형상으로 제공되고, 외부회수통(326)은 중간회수통(324)을 감싸는 환형의 링 형상으로 제공된다. 내부회수통(322)의 내측공간(322a), 내부회수통(322)과 중간회수통(324)의 사이 공간(324a) 그리고 중간회수통(324)과 외부회수통(326)의 사이 공간(326a)은 각각 내부회수통(322), 중간회수통(324), 그리고 외부회수통(326)으로 처리유체가 유입되는 유입구로서 기능한다. 각각의 회수통(322,324,326)에는 그 저면 아래 방향으로 수직하게 연장되는 회수라인(322b,324b,326b)이 연결된다. 각각의 회수라인(322b,324b,326b)은 각각의 회수통(322,324,326)을 통해 유입된 처리유체를 배출한다. 배출된 처리유체는 외부의 처리유체 재생 시스템(미도시)을 통해 재사용될 수 있다.
지지 유닛(340)은 컵(320)의 처리 공간 내에 배치된다. 지지 유닛(340)은 공정 진행 중 기판을 지지하고 기판을 회전시킨다. 지지 유닛(340)은 스핀 헤드(342), 지지핀(344), 척핀(346), 구동축(348) 그리고 구동부(349)를 가진다. 스핀 헤드(342)는 상부에서 바라볼 때 대체로 원형으로 제공되는 상부면을 가진다. 스핀 헤드(342)의 저면에는 구동부(349)에 의해 회전가능한 구동축(348)이 고정결합된다. 구동축(348)이 회전하면 스핀헤드(342)가 회전된다. 스핀 헤드(342)는 기판을 지지할 수 있도록, 지지핀(344)과 척핀(346)을 포함한다. 지지핀(344)은 복수 개 제공된다. 지지핀(344)은 스핀 헤드(342)의 상부면의 가장자리부에 소정 간격으로 이격되게 배치되고 스핀 헤드(342)에서 상부로 돌출된다. 지지핀들(344)은 서로 간에 조합에 의해 전체적으로 환형의 링 형상을 가지도록 배치된다. 지지핀(344)은 스핀 헤드(342)의 상부면으로부터 기판이 일정거리 이격되도록 기판의 저면 가장자리를 지지한다. 척핀(346)은 복수 개 제공된다. 척핀(346)은 스핀 헤드(342)의 중심에서 지지핀(344)보다 멀리 떨어지게 배치된다. 척핀(346)은 스핀 헤드(342)에서 상부로 돌출되도록 제공된다. 척핀(346)은 지지 유닛(340)이 회전될 때 기판이 정 위치에서 측 방향으로 이탈되지 않도록 기판의 측면을 지지한다. 척핀(346)은 스핀 헤드(342)의 반경 방향을 따라 대기 위치와 지지 위치 간에 직선 이동 가능하도록 제공된다. 대기 위치는 지지 위치에 비해 스핀 헤드(342)의 중심으로부터 멀리 떨어진 위치이다. 기판이 지지 유닛(340)에 로딩 또는 언 로딩시에는 척핀(346)은 대기 위치에 위치되고, 기판에 대해 공정 수행시에는 척핀(346)은 지지 위치에 위치된다. 지지 위치에서 척핀(346)은 기판의 측부와 접촉된다.
승강 유닛(360)은 컵(320)을 상하 방향으로 직선 이동시킨다. 승강 유닛(360)은 컵(320)의 복수의 회수통(322, 324, 326)을 이동시킬 수 있다. 또는 도시하지는 않았으나, 각각의 회수통을 개별적으로 이동시킬 수 있다. 컵(320)이 상하로 이동됨에 따라 지지 유닛(340)에 대한 컵(320)의 상대 높이가 변경된다. 승강 유닛(360)은 브라켓(362), 이동축(364), 그리고 구동기(366)를 가진다. 브라켓(362)은 컵(320)의 외벽에 고정설치되고, 브라켓(362)에는 구동기(366)에 의해 상하 방향으로 이동되는 이동축(364)이 고정결합된다. 기판(W)이 지지 유닛(340)에 놓이거나, 지지 유닛(340)으로부터 들어올려 질 때 지지 유닛(340)이 컵(320)의 상부로 돌출되도록 컵(320)은 하강된다. 또한, 공정이 진행될 시에는 기판(W)에 공급된 처리유체의 종류에 따라 처리유체가 기설정된 회수통(360)으로 유입될 수 있도록 컵(320)의 높이가 조절한다. 예컨대, 제1처리유체로 기판을 처리하고 있는 동안에 기판은 내부회수통(322)의 내측공간(322a)과 대응되는 높이에 위치된다. 또한, 제2처리유체, 그리고 제3처리유체로 기판을 처리하는 동안에 각각 기판은 내부회수통(322)과 중간회수통(324)의 사이 공간(324a), 그리고 중간회수통(324)과 외부회수통(326)의 사이 공간(326a)에 대응되는 높이에 위치될 수 있다. 상술한 바와 달리 승강 유닛(360)은 컵(320) 대신 지지 유닛(340)을 상하 방향으로 이동시킬 수 있다.
분사 유닛(380)은 기판(W)에 처리액을 공급하거나 스핀 헤드(342)의 상면에 세정액을 공급한다. 처리액은 케미칼일 수 있다. 세정액은 초순수일 수 있다. 일 예로, 기판을 처리하는 공정시에는 기판의 상면으로 처리액을 공급한다. 컵(320)을 세정하는 공정시에는 기판이 제거된 상태에서 스핀 헤드(342)의 상면에 세정액을 공급한다. 분사 유닛(380)은 회동이 가능할 수 있다. 분사 유닛(380)은 노즐 지지대(382), 노즐(384), 지지대(386), 그리고 구동부(388)를 가진다. 지지대(386)은 그 길이 방향이 제3방향(16)을 따라 제공되고, 지지대(386)의 하단에는 구동부(388)가 결합된다. 구동부(388)는 지지대(386)를 회전 및 승강 운동한다. 노즐지지대(382)는 구동부(388)와 결합된 지지대(386)의 끝단 반대편과 수직하게 결합된다. 노즐(384)은 노즐지지대(382)의 끝단 저면에 설치된다. 노즐(384)은 구동부(388)에 의해 공정 위치와 대기 위치로 이동된다. 공정 위치는 노즐(384)이 컵(320)의 수직 상부에 배치된 위치이고, 대기 위치는 노즐(384)이 컵(320)의 수직 상부로부터 벗어난 위치이다. 분사 유닛(380)은 하나 또는 복수 개가 제공될 수 있다.
제어기(1000)는 스핀 헤드(342), 분사 유닛(380), 그리고 승강 유닛(360)을 제어한다. 제어기(1000)는 스핀 헤드(342)의 회전속도, 회전방향 및 분사 유닛(380)을 제어한다. 스핀 헤드(342)가 제1 속도로 회전할 때, 분사 유닛(380)이 스핀 헤드(342)에 세정액을 분사하도록 한다. 이때 기판은 스핀 헤드(342)의 상면으로부터 제거된 상태이다. 스핀 헤드(342)가 제1 속도로 회전할 때 회전 방향을 변경할 수 있다. 일 예로, 제1 방향으로 회전하고, 이후 회전방향을 바꾸어 제1 방향과 반대 방향인 제2 방향으로 회전할 수 있다. 제1 방향은 시계방향일 수 있다. 제2 방향은 반시계방향일 수 있다. 또는 회전방향을 바꾸지 않고 제1 방향으로만 회전할 수도 있다.
제어기(1000)는 분사 유닛(380)이 스핀 헤드(342)의 상면에 직접 세정액을 공급할 수 있도록 한다. 또는 스핀 헤드(342)에 제공된 지지핀(344)에 직접 세정액을 공급하도록 한다. 또는 스핀 헤드(342)에 제공된 척핀(346)에 직접 세정액을 공급하도록 한다. 지지핀(344) 또는 척핀(346)이 세정될 수 있다.
제어기(1000)는 스핀 헤드(342)가 제1 속도로 회전하면서 세정액이 공급된 이후에, 스핀 헤드(342)를 제2 속도로 회전시킬 수 있다. 제2 속도는 제1 속도보다 빠르도록 제어할 수 있다. 또한, 제어기(1000)는 스핀 헤드(342)가 제2 속도로 회전하는 동안에는 스핀 헤드(342)에 세정액의 공급이 중단되도록 할 수 있다.
스핀 헤드(342)가 제2 속도로 회전하는 동안에 회전 방향을 변경할 수 있다. 일 예로, 제2 속도로 회전할 때, 제1 방향으로 회전한 후에 회전 방향을 바꾸어 제1 방향과 반대방향인 제2 방향으로 회전하도록 할 수 있다. 또는 회전 방향을 바꾸지 않고 제1 방향으로만 회전할 수도 있다.
제어기(1000)는 승강 유닛(360)을 제어한다. 공정에 따라 컵(320)의 높이를 상하방향으로 조절할 수 있다. 스핀 헤드(342) 상면에 대한 컵(320)의 높이를 조절할 수 있다. 스핀 헤드(342) 상면의 높이와 컵(320)의 높이의 상대적인 위치를 조절할 수 있다. 스핀 헤드(342)의 상면으로부터 비산되는 세정액의 경로를 고려하여 세정하고자 하는 회수통의 높이를 조절한다. 일 예로 스핀 헤드(342)를 제1 속도로 회전시킨 이후에 스핀 헤드(342)를 정지시키고, 제2 속도로 회전시키기 이전에 어느 하나 이상의 회수통을 이동시킬 수 있다. 또는 제1 속도에서 제2 속도로 회전속도를 변경하면서 어느 하나 이상의 회수통을 이동시킬 수 있다. 또는 제2 속도로 회전시키는 동안 어느 하나 이상의 회수통을 상하방향으로 이동시킬 수 있다.
이하. 기판 처리 장치(300)의 컵(320)을 세정하는 방법을 설명한다. 스핀 헤드(342)에서 기판이 제거된 상태에서 컵(320)을 세정하는 공정이 수행된다.
도 3은 본 발명의 실시예에 의한 컵을 세정하는 공정을 나타낸 플로우 차트이고, 도 4 내지 도 11은 본 발명의 실시예에 의한 컵을 세정하는 공정을 보여주는 도면이다.
이하, 도 4 내지 도 7을 참조하여, 본 발명의 제1 실시예에 의한 세정액 공급 및 컵을 세정하는 과정을 설명한다.
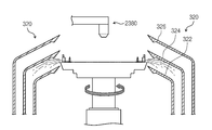
도 4 및 도 5를 참조하면, 스핀 헤드(342)가 제1 속도로 회전하면서 회전 방향을 바꾸면서 스핀 헤드(342)의 상면에 직접 세정액이 공급된다. 제1 속도는 스핀 헤드(342)에 공급된 세정액이 외부로 비산되지 않고, 스핀 헤드(342)의 상면에 머무를 수 있을 정도의 저속이다. 또한, 제1 속도로 회전함에 따라 스핀 헤드(342)의 상면에 세정액이 균일하게 분산된다. 제1 속도로 회전시키는 중에, 회전 방향을 변경할 수 있다. 일 예로, 제1 방향에서 제2 방향으로 회전 방향을 변경할 수 있다. 제2 방향은 제1 방향과 반대방향이다. 제1 방향은 시계 방향, 제2 방향은 반시계방향일 수 있다. 회전방향을 변경하면서 회전시킴으로써, 세정액이 스핀 헤드(342)의 상면에 균일하게 분포되도록 할 수 있다.
도 6 및 도 7을 참조하면, 스핀 헤드(342)를 제2 속도로 회전시키면서 컵을 세정한다. 스핀 헤드(342)를 제1 속도로 회전시킨 후 제2 속도로 회전시킬 수 있다. 일 예로 제1 속도로 회전 후, 회전을 멈추고 다시 제2 속도로 회전할 수 있다. 또는 제1 속도로 회전하면서 제2 속도로 회전속도를 변경할 수 있다. 제2 속도는 제1 속도보다 고속이다. 일 예로, 제2 속도는 스핀 헤드(342)의 상면에 고여있는 세정액이 컵(320)까지 비산되기에 충분할 정도의 고속으로 제공된다. 따라서, 컵(320)의 내벽에까지 세정액이 비산되어, 컵(320)의 내벽이 세정된다. 스핀 헤드(342)가 제2 회전속도로 회전할 때 일부 세정액은 스핀 헤드(342)의 상측을 향해 비산된다. 따라서, 컵(320) 하부를 세정할 수 있다. 제2 속도로 회전하는 동안에는 스핀 헤드(342) 상면으로 세정액의 공급은 중지된다. 스핀 헤드(342)가 제2 속도로 회전하는 동안에, 회전 방향을 변경할 수 있다. 일 예로 제1 방향에서 제1 방향과 반대방향인 제2 방향으로 회전방향을 변경할 수 있다. 일 예로, 제1 방향은 시계방향이다. 제2 방향은 반시계 방향일 수 있다. 이로 인해, 세정액을 컵(320)의 내벽 또는 하부에 균일하게 비산시켜 세정할 수 있다.
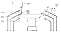
이하, 도 8 내지 도 10을 참조하여 본 발명의 제2 실시예에 의한 세정액 공급 및 컵을 세정하는 과정을 설명한다.
도 8을 참조하면, 스핀 헤드(342)를 제1 속도로 회전시키면서 스핀 헤드(342)에 제공된 지지핀(1344)에 직접 세정액이 공급될 수 있다. 지지핀(1344)이 세정된다. 도시하지는 않았으나, 스핀 헤드(342)의 회전 방향을 제1 방향 및 제2 방향으로 변경할 수 있다. 도 9 및 도 10을 참조하면, 스핀 헤드(342)를 제2 속도로 회전시키면서 컵을 세정한다. 제2 속도는 제1 속도보다 고속이고, 스핀 헤드(342)의 상면에 고여있는 세정액이 컵(320)까지 비산되기에 충분한 고속이다. 세정액이 컵(320)의 내벽에 비산되어, 컵(320)의 내벽이 세정된다. 스핀 헤드(342)를 제2 속도로 회전시키면서, 회전 방향을 제1 방향 및 제2 방향으로 변경할 수 있다.
이하, 도 11 내지 도 13을 참조하여, 본 발명의 제3 살시예에 의한 세정액 공급 및 컵을 세정하는 과정을 설명한다.
도 11을 참조하면 스핀 헤드(342)에 제공된 척핀(2346)에 직접 세정액이 공급될 수 있다. 척핀(2346)이 세정된다. 도시하지는 않았으나, 스핀 헤드(342)의 회전 방향을 제1 방향 및 제2 방향으로 변경할 수 있다. 도 12 및 도 13을 참조하면, 스핀 헤드(342)를 제2 속도로 회전시키면서 컵을 세정한다. 제2 속도는 제1 속도보다 고속이고, 스핀 헤드(342)의 상면에 고여있는 세정액이 컵(320)까지 비산되기에 충분한 고속이다. 세정액이 컵(320)의 내벽에 비산되어, 컵(320)의 내벽이 세정된다. 스핀 헤드(342)를 제2 속도로 회전시키면서, 회전 방향을 제1 방향 및 제2 방향으로 변경할 수 있다.
도 14 및 도 15는 본 발명의 실시예에 의한 컵이 상하로 승강하면서 컵을 세정하는 과정을 보여주는 도면이다. 스핀 헤드(342)를 제2 속도로 회전시키면서 컵(320)의 높이를 상하방향으로 조절할 수 있다. 스핀 헤드(342) 상면에 대한 컵(320)의 높이를 조절할 수 있다. 스핀 헤드(342) 상면의 높이와 컵(320)의 높이의 상대적인 위치를 조절할 수 있다. 컵(320) 중에서 세정하고자 하는 영역을 선택하여 세정할 수 있다. 스핀 헤드(342)의 상면으로부터 비산되는 세정액의 경로를 고려하여 세정하고자 하는 회수통의 높이를 조절한다. 일 예로 스핀 헤드(342)를 제1 속도로 회전시킨 이후에 스핀 헤드(342)를 정지시키고, 제2 속도로 회전시키기 이전에 어느 하나 이상의 회수통을 이동시킬 수 있다. 또는 제1 속도에서 제2 속도로 회전속도를 변경하면서 복수의 회수통 중 어느 하나 이상의 회수통을 이동시킬 수 있다. 또는 제2 속도로 회전시키는 동안 어느 하나 이상의 회수통을 상하방향으로 이동시킬 수 있다. 작업자가 세정하고자 하는 컵(320)의 영역과 세정액이 비산되는 경로를 고려하여, 컵(320)의 높이를 조절할 수 있다. 이때, 주로 세정되는 회수통 외에도 다른 회수통의 내벽 또는 외벽이 부수적으로 함께 세정될 수 있다.
상술한 예에서는 기판을 세정처리하는 장치를 예로 들었으나, 이에 한하는 것은 아니고, 기판을 세정처리하는 장치와 구성이 동일하거나 유사하게 제공되는 기판 처리 장치에서도 적용될 수 있다.
상술한 예에서는 세정액이 스핀 헤드의 상면, 지지핀 및 척핀에 공급되는 것으로 나누어 설명하였으나, 어느 하나는 생략될 수 있다.
상술한 예에서는 컵을 상하방향으로 이동시키는 승강 유닛이 제공되는 것으로 설명하였으나, 승강 유닛은 생략될 수 있다.
상술한 예에서는 컵이 복수의 회수통을 가지는 것으로 설명하였으나, 회수통이 복수가 아니라 1개인 경우에도 적용될 수 있다.
상술한 예에서는 하나의 제어기가 제공되는 것으로 설명하였으나, 복수의 제어기가 제공될 수 있다. 이때 각각의 제어기는 스핀 헤드, 분사 유닛 및 승강 유닛을 각각 제어하고, 복수의 제어기는 서로 연결되도록 제공될 수 있다.
이상의 상세한 설명은 본 발명을 예시하는 것이다. 또한 전술한 내용은 본 발명의 바람직한 실시 형태를 나타내어 설명하는 것이며, 본 발명은 다양한 다른 조합, 변경 및 환경에서 사용할 수 있다. 즉 본 명세서에 개시된 발명의 개념의 범위, 저술한 개시 내용과 균등한 범위 및/또는 당업계의 기술 또는 지식의 범위내에서 변경 또는 수정이 가능하다. 전술한 실시예는 본 발명의 기술적 사상을 구현하기 위한 최선의 상태를 설명하는 것이며, 본 발명의 구체적인 적용 분야 및 용도에서 요구되는 다양한 변경도 가능하다. 따라서 이상의 발명의 상세한 설명은 개시된 실시 상태로 본 발명을 제한하려는 의도가 아니다. 또한 첨부된 청구범위는 다른 실시 상태도 포함하는 것으로 해석되어야 한다.
1 : 기판 처리 설비 10 : 인덱스 모듈
20 : 공정 처리 모듈 120 : 로드 포트
140 : 이송프레임 220 : 버퍼유닛
240 : 이송챔버 260 : 공정챔버
300 : 기판 처리 장치 320 : 컵
340 : 지지 유닛 342: 스핀 헤드
380 : 분사 유닛 1000: 제어기

Claims (19)

  1. 상부가 개방된 컵 내에서 기판을 지지하는 스핀 헤드를 가지는 기판 처리 장치를 세정하되,
    상기 스핀 헤드를 제1 속도로 회전시키는 상태에서 상기 스핀 헤드로 세정액을 공급하고,
    이후, 상기 스핀 헤드를 상기 제1 속도보다 빠른 제2 속도로 회전시키는 세정 방법.
  2. 제1항에 있어서,
    상기 스핀 헤드가 상기 제2 속도로 회전되는 동안 상기 스핀 헤드의 상면으로 상기 세정액의 공급은 중지되는 세정 방법.
  3. 제1항 또는 제2항에 있어서,
    상기 스핀 헤드가 상기 제1 속도로 제1 방향으로 회전한 후에, 상기 제1 속도로 상기 제1 방향과 반대 방향인 제2 방향으로 회전하는 세정 방법.

  4. 제1항 또는 제2항에 있어서,
    상기 스핀 헤드의 상면에 상기 세정액을 직접 공급하는 세정 방법.
  5. 제1항 또는 제2항에 있어서,
    상기 스핀 헤드에 제공되어 상기 기판의 저면을 지지하는 지지핀에 상기 세정액을 직접 공급하는 세정 방법.
  6. 제1항 또는 제2항에 있어서,
    상기 스핀 헤드에 제공되어 상기 기판의 측면을 지지하는 척핀에 상기 세정액을 직접 공급하는 세정 방법.
  7. 제1항 또는 제2항에 있어서,
    상기 스핀 헤드가 상기 제2 속도로 제1 방향으로 회전한 후에, 상기 제2 속도로 상기 제1 방향과 반대 방향인 제2 방향으로 회전하는 세정 방법
  8. 제1항 또는 제2항에 있어서,
    상기 스핀 헤드를 상기 제1 속도로 회전시킨 이후에, 상기 컵을 상하로 이동시키면서, 상기 스핀 헤드의 상면에 대한 상기 컵의 내벽의 상대적인 높이를 조절하는 세정 방법.
  9. 제1항 또는 제2항에 있어서,
    상기 스핀 헤드를 상기 제2 속도로 회전시키는 동안, 상기 컵을 상하로 이동시키면서, 상기 스핀 헤드의 상면에 대한 상기 컵의 내벽의 상대적인 높이를 조절하는 세정 방법.
  10. 기판 처리 장치에 있어서:
    기판을 처리하는 처리 공간을 제공하는 컵;
    상기 처리 공간 내에서 상기 기판을 지지하고, 회전하는 스핀 헤드를 가지는 지지 유닛;
    상기 스핀 헤드에 세정액을 분사하는 분사 유닛;
    상기 스핀 헤드 및 상기 분사 유닛을 제어하는 제어기를 포함하되,
    상기 제어기는,
    상기 스핀 헤드가 제1 속도로 회전할 때, 상기 분사 유닛이 상기 스핀 헤드에 상기 세정액을 분사하고, 이후 상기 스핀 헤드가 상기 제1 속도보다 빠른 제2 속도로 회전하도록 상기 스핀 헤드 및 상기 분사 유닛을 제어하는 기판 처리 장치.
  11. 제10항에 있어서,
    상기 제어기는,
    상기 스핀 헤드가 상기 제2 속도로 회전하는 동안에는 상기 분사 유닛이 상기 스핀 헤드의 상면으로 상기 세정액을 공급하는 것을 중지하도록 상기 스핀 헤드 및 상기 분사 유닛을 제어하는 기판 처리 장치.
  12. 제10항에 있어서,
    상기 제어기는,
    상기 스핀 헤드가 상기 제1 속도로 제1 방향으로 회전한 후에, 상기 제1 속도로 상기 제1 방향과 반대 방향인 제2 방향으로 회전하도록 상기 스핀 헤드를 제어하는 기판 처리 장치.
  13. 제10항 또는 제11항에 있어서,
    상기 제어기는,
    상기 스핀 헤드의 상면에 상기 세정액을 직접 공급하도록 상기 분사 유닛을 제어하는 기판 처리 장치.
  14. 제10항 또는 제11항에 있어서,
    상기 제어기는,
    상기 스핀 헤드에 제공되어 상기 기판의 저면을 지지하는 지지핀에 상기 세정액을 직접 공급하도록 상기 분사 유닛을 제어하는 기판 처리 장치.
  15. 제10항 또는 제11항에 잇어서,
    상기 제어기는,
    상기 스핀 헤드에 제공되어 상기 기판의 측면을 지지하는 척핀에 상기 세정액을 직접 공급하도록 상기 분사 유닛을 제어하는 기판 처리 장치.
  16. 제10항 또는 제11항에 있어서,
    상기 제어기는,
    상기 스핀 헤드가 상기 제2 속도로 제1 방향으로 회전한 후에, 상기 제2 속도록 상기 제1 방향과 반대 방향인 제2 방향으로 회전하도록 상기 스핀 헤드를 제어하는 기판 처리 장치.
  17. 제10항 또는 제11항에 있어서,
    상기 컵은,
    상하 방향으로 적층된 복수의 회수통; 및
    상기 복수의 회수통 중 어느 하나 이상의 회수통을 상하 방향으로 이동시키는 승강 유닛을 포함하는 기판 처리 장치.
  18. 제17항에 있어서,
    상기 제어기는 상기 승강 유닛를 제어하되,
    상기 스핀 헤드를 상기 제1 속도로 회전시킨 이후에, 어느 하나 이상의 상기 회수통을 상하로 이동시키도록 상기 승강 유닛을 제어하는 기판 처리 장치.
  19. 제17항에 있어서,
    상기 제어기는 상기 승강 유닛를 제어하되,
    상기 스핀 헤드를 상기 제2 속도로 회전시키는 동안, 어느 하나 이상의 상기 회수통을 상하로 이동시키도록 상기 승강 유닛을 제어하는 기판 처리 장치.
KR1020150083369A 2015-06-12 2015-06-12 기판 처리 장치 및 세정 방법 Ceased KR20160147163A (ko)

Priority Applications (1)

Application Number Priority Date Filing Date Title
KR1020150083369A KR20160147163A (ko) 2015-06-12 2015-06-12 기판 처리 장치 및 세정 방법

Applications Claiming Priority (1)

Application Number Priority Date Filing Date Title
KR1020150083369A KR20160147163A (ko) 2015-06-12 2015-06-12 기판 처리 장치 및 세정 방법

Publications (1)

Publication Number Publication Date
KR20160147163A true KR20160147163A (ko) 2016-12-22

Family

ID=57723993

Family Applications (1)

Application Number Title Priority Date Filing Date
KR1020150083369A Ceased KR20160147163A (ko) 2015-06-12 2015-06-12 기판 처리 장치 및 세정 방법

Country Status (1)

Country Link
KR (1) KR20160147163A (ko)

Cited By (3)

* Cited by examiner, † Cited by third party
Publication number Priority date Publication date Assignee Title
JP2019169649A (ja) * 2018-03-26 2019-10-03 株式会社Screenホールディングス 基板処理方法および基板処理装置
CN113964054A (zh) * 2020-07-20 2022-01-21 细美事有限公司 基板处理设备和基板处理方法
KR20220094677A (ko) * 2020-12-29 2022-07-06 세메스 주식회사 기판 처리 장치 및 방법

Cited By (7)

* Cited by examiner, † Cited by third party
Publication number Priority date Publication date Assignee Title
JP2019169649A (ja) * 2018-03-26 2019-10-03 株式会社Screenホールディングス 基板処理方法および基板処理装置
CN110364453A (zh) * 2018-03-26 2019-10-22 株式会社斯库林集团 基板处理方法以及基板处理装置
CN110364453B (zh) * 2018-03-26 2023-06-13 株式会社斯库林集团 基板处理方法以及基板处理装置
US11881419B2 (en) 2018-03-26 2024-01-23 SCREEN Holdings Co., Ltd. Substrate processing apparatus
CN113964054A (zh) * 2020-07-20 2022-01-21 细美事有限公司 基板处理设备和基板处理方法
KR20220011264A (ko) * 2020-07-20 2022-01-28 세메스 주식회사 기판 처리 장치, 그리고 기판 처리 방법
KR20220094677A (ko) * 2020-12-29 2022-07-06 세메스 주식회사 기판 처리 장치 및 방법

Similar Documents

Publication Publication Date Title
KR101621482B1 (ko) 기판 처리 장치 및 방법
KR101623412B1 (ko) 기판 처리 장치 및 방법
KR101885107B1 (ko) 기판 처리 방법 및 장치
KR101736853B1 (ko) 기판 처리 장치 및 방법
KR20160147163A (ko) 기판 처리 장치 및 세정 방법
KR101817211B1 (ko) 기판 처리 장치 및 방법
KR101842125B1 (ko) 기판 처리 장치 및 방법
KR101870666B1 (ko) 기판 처리 장치
KR20170134925A (ko) 기판 처리 장치 및 기판 처리 방법
KR102410311B1 (ko) 기판 처리 장치 및 방법
KR101591960B1 (ko) 기판 처리 장치
KR20170137242A (ko) 기판 처리 장치 및 방법
KR20170046490A (ko) 기판 처리 장치 및 방법
KR20150068761A (ko) 기판처리장치
KR101736871B1 (ko) 기판 처리 장치 및 방법
KR102193031B1 (ko) 기판처리장치 및 방법
KR20160065226A (ko) 기판 처리 장치 및 기판 처리 방법
KR102310462B1 (ko) 기판 처리 장치 및 세정 방법
KR102497794B1 (ko) 기판 처리 장치 및 용기 세정 방법
KR102283587B1 (ko) 기판 처리 장치 및 방법
KR101885103B1 (ko) 분사 유닛 및 이를 포함하는 기판 처리 장치
KR101910799B1 (ko) 기판 처리 장치
KR20160133802A (ko) 기판 처리 장치 및 기판 처리 방법
KR102262112B1 (ko) 기판처리장치 및 방법
KR20160015901A (ko) 기판 처리 장치 및 방법

Legal Events

Date Code Title Description
PA0109 Patent application

Patent event code: PA01091R01D

Comment text: Patent Application

Patent event date: 20150612

PG1501 Laying open of application
A201 Request for examination
PA0201 Request for examination

Patent event code: PA02012R01D

Patent event date: 20200512

Comment text: Request for Examination of Application

Patent event code: PA02011R01I

Patent event date: 20150612

Comment text: Patent Application

E902 Notification of reason for refusal
PE0902 Notice of grounds for rejection

Comment text: Notification of reason for refusal

Patent event date: 20210818

Patent event code: PE09021S01D

AMND Amendment
E601 Decision to refuse application
PE0601 Decision on rejection of patent

Patent event date: 20220307

Comment text: Decision to Refuse Application

Patent event code: PE06012S01D

Patent event date: 20210818

Comment text: Notification of reason for refusal

Patent event code: PE06011S01I

AMND Amendment
PX0901 Re-examination

Patent event code: PX09011S01I

Patent event date: 20220307

Comment text: Decision to Refuse Application

Patent event code: PX09012R01I

Patent event date: 20211118

Comment text: Amendment to Specification, etc.

PX0601 Decision of rejection after re-examination

Comment text: Decision to Refuse Application

Patent event code: PX06014S01D

Patent event date: 20220420

Comment text: Amendment to Specification, etc.

Patent event code: PX06012R01I

Patent event date: 20220329

Comment text: Decision to Refuse Application

Patent event code: PX06011S01I

Patent event date: 20220307

Comment text: Amendment to Specification, etc.

Patent event code: PX06012R01I

Patent event date: 20211118

Comment text: Notification of reason for refusal

Patent event code: PX06013S01I

Patent event date: 20210818

X601 Decision of rejection after re-examination