KR20160109838A - High-efficiency led lighting device - Google Patents

High-efficiency led lighting device Download PDF

Info

Publication number
KR20160109838A
KR20160109838A KR1020150034983A KR20150034983A KR20160109838A KR 20160109838 A KR20160109838 A KR 20160109838A KR 1020150034983 A KR1020150034983 A KR 1020150034983A KR 20150034983 A KR20150034983 A KR 20150034983A KR 20160109838 A KR20160109838 A KR 20160109838A
Authority
KR
South Korea
Prior art keywords
unit
mounting
led
heat
substrate
Prior art date
Legal status (The legal status is an assumption and is not a legal conclusion. Google has not performed a legal analysis and makes no representation as to the accuracy of the status listed.)
Ceased
Application number
KR1020150034983A
Other languages
Korean (ko)
Inventor
소병구
Original Assignee
소병구
Priority date (The priority date is an assumption and is not a legal conclusion. Google has not performed a legal analysis and makes no representation as to the accuracy of the date listed.)
Filing date
Publication date
Application filed by 소병구 filed Critical 소병구
Priority to KR1020150034983A priority Critical patent/KR20160109838A/en
Publication of KR20160109838A publication Critical patent/KR20160109838A/en
Ceased legal-status Critical Current

Links

Images

Classifications

    • FMECHANICAL ENGINEERING; LIGHTING; HEATING; WEAPONS; BLASTING
    • F21LIGHTING
    • F21SNON-PORTABLE LIGHTING DEVICES; SYSTEMS THEREOF; VEHICLE LIGHTING DEVICES SPECIALLY ADAPTED FOR VEHICLE EXTERIORS
    • F21S2/00Systems of lighting devices, not provided for in main groups F21S4/00 - F21S10/00 or F21S19/00, e.g. of modular construction
    • F21S2/005Systems of lighting devices, not provided for in main groups F21S4/00 - F21S10/00 or F21S19/00, e.g. of modular construction of modular construction
    • FMECHANICAL ENGINEERING; LIGHTING; HEATING; WEAPONS; BLASTING
    • F21LIGHTING
    • F21VFUNCTIONAL FEATURES OR DETAILS OF LIGHTING DEVICES OR SYSTEMS THEREOF; STRUCTURAL COMBINATIONS OF LIGHTING DEVICES WITH OTHER ARTICLES, NOT OTHERWISE PROVIDED FOR
    • F21V14/00Controlling the distribution of the light emitted by adjustment of elements
    • F21V14/02Controlling the distribution of the light emitted by adjustment of elements by movement of light sources
    • FMECHANICAL ENGINEERING; LIGHTING; HEATING; WEAPONS; BLASTING
    • F21LIGHTING
    • F21VFUNCTIONAL FEATURES OR DETAILS OF LIGHTING DEVICES OR SYSTEMS THEREOF; STRUCTURAL COMBINATIONS OF LIGHTING DEVICES WITH OTHER ARTICLES, NOT OTHERWISE PROVIDED FOR
    • F21V15/00Protecting lighting devices from damage
    • FMECHANICAL ENGINEERING; LIGHTING; HEATING; WEAPONS; BLASTING
    • F21LIGHTING
    • F21VFUNCTIONAL FEATURES OR DETAILS OF LIGHTING DEVICES OR SYSTEMS THEREOF; STRUCTURAL COMBINATIONS OF LIGHTING DEVICES WITH OTHER ARTICLES, NOT OTHERWISE PROVIDED FOR
    • F21V17/00Fastening of component parts of lighting devices, e.g. shades, globes, refractors, reflectors, filters, screens, grids or protective cages
    • F21V17/10Fastening of component parts of lighting devices, e.g. shades, globes, refractors, reflectors, filters, screens, grids or protective cages characterised by specific fastening means or way of fastening
    • FMECHANICAL ENGINEERING; LIGHTING; HEATING; WEAPONS; BLASTING
    • F21LIGHTING
    • F21VFUNCTIONAL FEATURES OR DETAILS OF LIGHTING DEVICES OR SYSTEMS THEREOF; STRUCTURAL COMBINATIONS OF LIGHTING DEVICES WITH OTHER ARTICLES, NOT OTHERWISE PROVIDED FOR
    • F21V29/00Protecting lighting devices from thermal damage; Cooling or heating arrangements specially adapted for lighting devices or systems
    • F21V29/50Cooling arrangements
    • F21V29/70Cooling arrangements characterised by passive heat-dissipating elements, e.g. heat-sinks
    • FMECHANICAL ENGINEERING; LIGHTING; HEATING; WEAPONS; BLASTING
    • F21LIGHTING
    • F21VFUNCTIONAL FEATURES OR DETAILS OF LIGHTING DEVICES OR SYSTEMS THEREOF; STRUCTURAL COMBINATIONS OF LIGHTING DEVICES WITH OTHER ARTICLES, NOT OTHERWISE PROVIDED FOR
    • F21V7/00Reflectors for light sources
    • F21V7/04Optical design
    • FMECHANICAL ENGINEERING; LIGHTING; HEATING; WEAPONS; BLASTING
    • F21LIGHTING
    • F21WINDEXING SCHEME ASSOCIATED WITH SUBCLASSES F21K, F21L, F21S and F21V, RELATING TO USES OR APPLICATIONS OF LIGHTING DEVICES OR SYSTEMS
    • F21W2131/00Use or application of lighting devices or systems not provided for in codes F21W2102/00-F21W2121/00
    • F21W2131/10Outdoor lighting
    • F21W2131/103Outdoor lighting of streets or roads
    • F21Y2101/02
    • FMECHANICAL ENGINEERING; LIGHTING; HEATING; WEAPONS; BLASTING
    • F21LIGHTING
    • F21YINDEXING SCHEME ASSOCIATED WITH SUBCLASSES F21K, F21L, F21S and F21V, RELATING TO THE FORM OR THE KIND OF THE LIGHT SOURCES OR OF THE COLOUR OF THE LIGHT EMITTED
    • F21Y2115/00Light-generating elements of semiconductor light sources
    • F21Y2115/10Light-emitting diodes [LED]
    • Y02B20/34
    • YGENERAL TAGGING OF NEW TECHNOLOGICAL DEVELOPMENTS; GENERAL TAGGING OF CROSS-SECTIONAL TECHNOLOGIES SPANNING OVER SEVERAL SECTIONS OF THE IPC; TECHNICAL SUBJECTS COVERED BY FORMER USPC CROSS-REFERENCE ART COLLECTIONS [XRACs] AND DIGESTS
    • Y10TECHNICAL SUBJECTS COVERED BY FORMER USPC
    • Y10STECHNICAL SUBJECTS COVERED BY FORMER USPC CROSS-REFERENCE ART COLLECTIONS [XRACs] AND DIGESTS
    • Y10S362/00Illumination
    • Y10S362/80Light emitting diode

Landscapes

  • Engineering & Computer Science (AREA)
  • General Engineering & Computer Science (AREA)
  • Arrangement Of Elements, Cooling, Sealing, Or The Like Of Lighting Devices (AREA)
  • Non-Portable Lighting Devices Or Systems Thereof (AREA)

Abstract

고효율 LED 등기구가 제공된다. 본 발명의 일 실시예에 따른 고효율 LED 등기구는, 일면에 형성되는 장착부와, 타면에 형성되는 방열핀부를 구비한 방열판; 및 상기 장착부에 장착되는 방열부와, LED에서 조사되는 빛을 반사하는 팔각 형상의 반사부와, 상기 방열부와 상기 반사부를 연결하는 연결부를 구비한 적어도 하나의 단위 조명 모듈을 포함한다.A high efficiency LED luminaire is provided. A high efficiency LED lamp according to an embodiment of the present invention includes: a heat sink having a mounting portion formed on one surface thereof and a radiating fin portion formed on the other surface; And at least one unit lighting module having a reflecting portion mounted on the mounting portion, a reflecting portion having an octagonal shape reflecting the light emitted from the LED, and a connecting portion connecting the radiating portion and the reflecting portion.

Description

고효율 LED 등기구{HIGH-EFFICIENCY LED LIGHTING DEVICE}[0001] HIGH-EFFICIENCY LED LIGHTING DEVICE [0002]

본 발명은 고효율 LED 등기구에 관한 것으로, 보다 상세하게는 향상된 조명 성능을 제공할 수 있는 고효율 LED 등기구에 관한 것이다.The present invention relates to a high efficiency LED lamp, and more particularly, to a high efficiency LED lamp that can provide improved illumination performance.

가로등은 고속 도로, 시가지의 주요 도로, 공원 등의 장소에 설치되어 교통 안전, 보안 등을 위해서 빛을 조사한다. 가로등이나 각종 등기구의 광원인 할로겐등, 형광등, 수은등과 같은 경우, 전력 소모가 많고, 수명이 짧아 유지 보수 비용이 많이 들고, 폐기 처분에 따른 환경 오염의 원인이 되고 있다. 이에 따라, 에너지 효율이 높고 수명이 길며 오염 물질도 방출하지 않는 LED(Light Emitting Diode)를 광원으로 하여 빛을 조사하는 가로등이나 등기구가 많이 사용되고 있다.Street lights are installed in places such as expressways, main roads of the city area, parks, etc., and illuminate the light for traffic safety and security. Halogen lamps such as halogen lamps, fluorescent lamps, and mercury lamps, which are light sources for street lamps and various lamps, have high power consumption, short life span, and high maintenance costs. Accordingly, a street light or a luminaire for illuminating light using a light emitting diode (LED) which has high energy efficiency, long life and does not emit pollutants is widely used.

일반적으로, LED는 P형과 N형 반도체의 접합(P-N junction)으로 이루어져 있으며, 전압을 가하면 전자와 정공의 결합으로 반도체의 밴드 갭(band gap)에 해당하는 에너지를 빛의 형태로 방출하는 일종의 광전자 소자이다. 통상 LED 칩이 탑재된 패키지의 구조로 제작되며, 흔히 'LED 패키지'라고 칭해지고 있다. 이러한 LED 패키지는 일반적으로 인쇄회로기판(Printed Circuit Board; PCB) 상에 장착되어 그 인쇄회로기판에 형성된 전극으로부터 전류를 인가 받아 동작한다. LED를 광원으로 하는 가로등이나 등기구는 할로겐등, 형광등, 수은등을 광원으로 하는 가로등이나 등기구에 비하여 전력 소모가 매우 적어서 에너지를 절감할 수 있다. Generally, an LED is a junction of a P-type and an N-type semiconductor (PN junction). When a voltage is applied, a kind of a light emitting diode emits energy corresponding to a band gap of a semiconductor Optoelectronic device. It is usually fabricated with a package structure in which an LED chip is mounted, and is often referred to as an "LED package". Such an LED package is generally mounted on a printed circuit board (PCB) and operates by receiving an electric current from an electrode formed on the printed circuit board. Street lamps and luminaire that use LED as a light source can save energy because power consumption is very low compared to street lamps and luminaire which use halogen lamp, fluorescent lamp, mercury lamp as a light source.

그러나, LED는 발광 특성상 빛의 직진성이 강하기 때문에 배광 범위가 한정될 수 있다. 예를 들어, 인도와 차도 사이에 가로등을 설치하면 빛이 조사되는 배광 범위는 인도에 인접한 차선과 인도 일부에만 주로 조사되어 빛이 필요한 위치인 중앙선 부분 및 상기 중앙선에 인접한 차선에는 조사되지 않아 운전자의 시야 확보를 원활하게 할 수 없을 수 있다.However, the LED has a strong directivity of light due to its luminescent characteristics, so that the range of the light distribution can be limited. For example, if a streetlight is installed between India and a driveway, the light distribution range to which the light is irradiated is mainly illuminated only in a lane adjacent to the lane and a part of the lane, and a center line portion where light is required and a lane adjacent to the center line are not illuminated. It may not be possible to smoothly secure the view.

또한, LED 발광시 생성되는 폐열은 그 수명의 측면에서 상당히 부정적인 영향을 미치게 되므로, LED 가로등은 방열판 등을 이용하여 LED의 폐열을 방열시키고 있다. 그런데, LED의 소비 전력이 높아질수록 열분산 면적을 크게 형성한 방열판을 사용하게 될 수 밖에 없으며, 방열판의 크기가 커질수록 LED를 광원으로 한 가로등이나 등기구도 커질 수 밖에 없다.In addition, since the waste heat generated when the LED is emitted has a considerably negative influence on the life span of the LED, the LED street lamp uses a heat sink or the like to dissipate the waste heat of the LED. However, as the power consumption of the LED increases, the heat dissipation plate having a large heat dissipation area is inevitably used. As the size of the heat dissipation plate becomes larger, the streetlight and the luminaire using the LED as the light source can not help.

대한민국 공개특허 2013-0010657호 (2013.01.29. 공개)Korean Patent Laid-Open Publication No. 2013-0010657 (published on Mar. 29, 2013)

본 발명은 상기 문제점을 해결하기 위한 것으로, 동일한 방열판에서 높은 조명 성능을 발휘할 수 있는 고효율 LED 등기구를 제공한다.SUMMARY OF THE INVENTION The present invention provides a high efficiency LED lamp that can exhibit high illumination performance in the same heat sink.

또한, 조사 각도를 조절할 수 있어 조명 영역을 최적화할 수 있고, 사용자가 원하는 배광 특성을 갖도록 최적화할 수 있는 고효율 LED 등기구를 제공한다.Further, the present invention provides a high efficiency LED lamp that can adjust the irradiation angle to optimize the illumination area and optimize the light distribution characteristic desired by the user.

본 발명이 해결하고자 하는 과제들은 이상에서 언급한 과제들로 제한되지 않으며, 언급되지 않은 또 다른 과제들은 아래의 기재로부터 당업자에게 명확하게 이해될 수 있을 것이다.The problems to be solved by the present invention are not limited to the above-mentioned problems, and other matters not mentioned can be clearly understood by those skilled in the art from the following description.

상기 과제를 달성하기 위한 본 발명의 일 실시예에 따른 고효율 LED 등기구는, 일면에 형성되는 장착부와, 타면에 형성되는 방열핀부를 구비한 방열판; 및 상기 장착부에 장착되는 방열부와, LED에서 조사되는 빛을 반사하는 팔각 형상의 반사부와, 상기 방열부와 상기 반사부를 연결하는 연결부를 구비한 적어도 하나의 단위 조명 모듈을 포함한다.According to an aspect of the present invention, there is provided a high efficiency LED lamp comprising: a heat sink having a mounting portion formed on one surface thereof and a heat radiating fin portion formed on the other surface; And at least one unit lighting module having a reflecting portion mounted on the mounting portion, a reflecting portion having an octagonal shape reflecting the light emitted from the LED, and a connecting portion connecting the radiating portion and the reflecting portion.

또한, 상기 장착부는, 상기 방열부가 삽입되는 장착홈과, 상기 반사부의 팔각 형상에 대응되는 팔각 형상으로 형성된 장착 사면을 포함할 수 있다.The mounting portion may include a mounting recess into which the heat-radiating portion is inserted, and a mounting slope formed in an octagonal shape corresponding to an octagonal shape of the reflective portion.

또한, 상기 방열부는, 상기 장착홈 측으로 열을 방출하는 제1 방열 패턴 및 상기 장착 사면 측으로 열을 방출하는 제2 방열 패턴을 포함할 수 있다.The heat dissipation unit may include a first heat dissipation pattern that emits heat toward the mounting groove side and a second heat dissipation pattern that emits heat toward the mounting slope side.

또한, 상기 제1 방열 패턴은 상기 장착홈에 안착되고, 상기 장착 사면이 팔각 형상으로 형성되어 상기 단위 조명 모듈의 장착 각도를 조절함으로써, 상기 LED의 조사 방향을 조절할 수 있다.In addition, the first radiation pattern may be seated in the mounting groove, and the mounting slope may be formed in an octagonal shape to adjust the mounting angle of the unit lighting module, thereby adjusting the irradiation direction of the LED.

또한, 상기 반사부는, 상기 팔각 형상을 통해 빛이 집광되어 조도가 향상될 수 있다.In addition, the reflector can improve the illuminance by condensing light through the octagonal shape.

또한, 상기 연결부는, 상기 장착부를 기준으로 상기 반사부 및 LED가 기울어져 배치되도록 경사면을 가질 수 있다.In addition, the connection portion may have an inclined surface such that the reflection portion and the LED are inclined with respect to the mounting portion.

또한, 상기 단위 조명 모듈은, 복수의 LED가 실장되는 기판부와, 상기 기판부를 지지하는 기판 지지부와, 상기 기판부의 LED를 보호하는 링 형상의 보호부를 더 포함할 수 있다.The unit illumination module may further include a substrate portion on which a plurality of LEDs are mounted, a substrate support portion for supporting the substrate portion, and a ring-shaped protection portion for protecting the LED of the substrate portion.

그리고, 상기 반사부는, 후단에 삽입돌기가 형성되며, 상기 기판부 및 보호부는, 각각 삽입홈이 형성되고, 상기 삽입돌기가 상기 삽입홈에 삽입되어 결합될 수 있다.The reflective portion may have an insertion protrusion formed at a rear end thereof, and the substrate portion and the protector may have insertion grooves, respectively, and the insertion protrusion may be inserted into the insertion groove.

본 발명의 기타 구체적인 사항들은 상세한 설명 및 도면들에 포함되어 있다.Other specific details of the invention are included in the detailed description and drawings.

본 발명에 따르면, 동일한 방열판에서 높은 조명 성능을 발휘할 수 있다.According to the present invention, high illumination performance can be exerted in the same heat sink.

또한, 조명 영역을 최적화할 수 있고, 사용자가 원하는 배광 특성을 제공할 수 있다.Further, the illumination area can be optimized, and the user can provide desired light distribution characteristics.

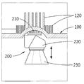
도 1은 본 발명의 일 실시예에 따른 고효율 LED 등기구의 사시도이다.
도 2는 도 1의 고효율 LED 등기구의 분해 사시도이다.
도 3은 도 1의 고효율 LED 등기구를 다른 방향에서 바라 본 사시도이다.
도 4는 본 발명의 일 실시예에 따른 방열판의 사시도이다.
도 5는 본 발명의 일 실시예에 따른 방열판과 단위 조명 모듈의 결합 단면도이다.
도 6은 본 발명의 일 실시예에 따른 단위 조명 모듈의 분해 단면도이다.
도 7은 본 발명의 일 실시예에 따른 단위 조명 모듈의 일 구성요소인 방열부의 사시도이다.
도 8은 도 7의 단위 조명 모듈의 방열부를 다른 방향에서 바라 본 사시도이다.
도 9는 도 7의 단위 조명 모듈의 일 부분의 분해 사시도이다.
도 10은 도 7의 단위 조명 모듈의 다른 부분의 분해 사시도이다.
1 is a perspective view of a high efficiency LED lamp according to an embodiment of the present invention.
2 is an exploded perspective view of the high efficiency LED lamp of FIG.
3 is a perspective view of the high efficiency LED lamp of FIG. 1 viewed from another direction.
4 is a perspective view of a heat sink according to an embodiment of the present invention.
5 is an assembled cross-sectional view of a heat sink and a unit lighting module according to an embodiment of the present invention.
6 is an exploded cross-sectional view of a unit illumination module according to an embodiment of the present invention.
7 is a perspective view of a heat dissipation unit which is one component of a unit lighting module according to an embodiment of the present invention.
FIG. 8 is a perspective view of the heat dissipating unit of the unit lighting module of FIG. 7 viewed from another direction; FIG.
9 is an exploded perspective view of a portion of the unit illumination module of FIG.
10 is an exploded perspective view of another portion of the unit lighting module of FIG.

이하, 첨부된 도면을 참조하여 본 발명의 바람직한 실시예를 상세히 설명한다. 본 발명의 이점 및 특징, 그리고 그것들을 달성하는 방법은 첨부되는 도면과 함께 상세하게 후술되어 있는 실시예들을 참조하면 명확해질 것이다. 그러나 본 발명은 이하에서 개시되는 실시예들에 한정되는 것이 아니라 서로 다른 다양한 형태로 구현될 것이며, 단지 본 실시예들은 본 발명의 개시가 완전하도록 하며, 본 발명이 속하는 기술분야에서 통상의 지식을 가진 자에게 발명의 범주를 완전하게 알려주기 위해 제공되는 것이며, 본 발명은 청구항의 범주에 의해 정의될 뿐이다. 명세서 전체에 걸쳐 동일 참조 부호는 동일 구성 요소를 지칭한다.Hereinafter, preferred embodiments of the present invention will be described in detail with reference to the accompanying drawings. BRIEF DESCRIPTION OF THE DRAWINGS The advantages and features of the present invention, and the manner of achieving them, will be apparent from and elucidated with reference to the embodiments described hereinafter in conjunction with the accompanying drawings. The present invention may, however, be embodied in many different forms and should not be construed as being limited to the embodiments set forth herein. Rather, these embodiments are provided so that this disclosure will be thorough and complete, and will fully convey the scope of the invention to those skilled in the art. Is provided to fully convey the scope of the invention to those skilled in the art, and the invention is only defined by the scope of the claims. Like reference numerals refer to like elements throughout the specification.

비록 제1, 제2 등이 다양한 소자, 구성요소 및/또는 섹션들을 서술하기 위해서 사용되나, 이들 소자, 구성요소 및/또는 섹션들은 이들 용어에 의해 제한되지 않음은 물론이다. 이들 용어들은 단지 하나의 소자, 구성요소 또는 섹션들을 다른 소자, 구성요소 또는 섹션들과 구별하기 위하여 사용하는 것이다. 따라서, 이하에서 언급되는 제1 소자, 제1 구성요소 또는 제1 섹션은 본 발명의 기술적 사상 내에서 제2 소자, 제2 구성요소 또는 제2 섹션일 수도 있음은 물론이다.Although the first, second, etc. are used to describe various elements, components and / or sections, it is needless to say that these elements, components and / or sections are not limited by these terms. These terms are only used to distinguish one element, element or section from another element, element or section. Therefore, it goes without saying that the first element, the first element or the first section mentioned below may be the second element, the second element or the second section within the technical spirit of the present invention.

본 명세서에서 사용된 용어는 실시예들을 설명하기 위한 것이며 본 발명을 제한하고자 하는 것은 아니다. 본 명세서에서, 단수형은 문구에서 특별히 언급하지 않는 한 복수형도 포함한다. 명세서에서 사용되는 "포함한다(comprises)" 및/또는 "이루어지다(made of)"는 언급된 구성요소, 단계, 동작 및/또는 소자는 하나 이상의 다른 구성요소, 단계, 동작 및/또는 소자의 존재 또는 추가를 배제하지 않는다. The terminology used herein is for the purpose of illustrating embodiments and is not intended to be limiting of the present invention. In the present specification, the singular form includes plural forms unless otherwise specified in the specification. As used herein, the terms "comprises" and / or "made of" means that a component, step, operation, and / or element may be embodied in one or more other components, steps, operations, and / And does not exclude the presence or addition thereof.

다른 정의가 없다면, 본 명세서에서 사용되는 모든 용어(기술 및 과학적 용어를 포함)는 본 발명이 속하는 기술분야에서 통상의 지식을 가진 자에게 공통적으로 이해될 수 있는 의미로 사용될 수 있을 것이다. 또 일반적으로 사용되는 사전에 정의되어 있는 용어들은 명백하게 특별히 정의되어 있지 않는 한 이상적으로 또는 과도하게 해석되지 않는다. Unless defined otherwise, all terms (including technical and scientific terms) used herein may be used in a sense commonly understood by one of ordinary skill in the art to which this invention belongs. Also, commonly used predefined terms are not ideally or excessively interpreted unless explicitly defined otherwise.

이하, 본 발명에 대하여 첨부된 도면에 따라 보다 상세히 설명한다.Hereinafter, the present invention will be described in more detail with reference to the accompanying drawings.

도 1은 본 발명의 일 실시예에 따른 고효율 LED 등기구의 사시도이며, 도 2는 도 1의 고효율 LED 등기구의 분해 사시도이고, 도 3은 도 1의 고효율 LED 등기구를 다른 방향에서 바라 본 사시도이다. 또한, 도 4는 본 발명의 일 실시예에 따른 방열판의 사시도이다. 그리고, 도 5는 본 발명의 일 실시예에 따른 방열판과 단위 조명 모듈의 결합 단면도이다.FIG. 1 is a perspective view of a high efficiency LED lamp according to an embodiment of the present invention, FIG. 2 is an exploded perspective view of the high efficiency LED lamp of FIG. 1, and FIG. 3 is a perspective view of the high efficiency LED lamp of FIG. 1 viewed from another direction. 4 is a perspective view of a heat sink according to an embodiment of the present invention. 5 is an assembled cross-sectional view of a heat sink and a unit lighting module according to an embodiment of the present invention.

도 1 내지 도 5를 참조하면, 본 발명의 일 실시예에 따른 고효율 LED 등기구는, 일면에 형성되는 장착부(110)와, 타면에 형성되는 방열핀부(120)를 구비한 방열판(100)과, 상기 장착부(110)에 장착되는 방열부(210)와, LED에서 조사되는 빛을 반사하는 팔각 형상의 반사부(230)와, 상기 방열부(210)와 상기 반사부(230)를 연결하는 연결부(220)를 구비한 적어도 하나의 단위 조명 모듈(200)을 포함한다.1 to 5, a high efficiency LED lamp according to an exemplary embodiment of the present invention includes a heat sink 100 having a mounting portion 110 formed on one surface, a heat radiating fin 120 formed on the other surface, An octagonal reflector 230 that reflects the light emitted from the LEDs and a connection unit 230 that connects the heat dissipation unit 210 and the reflection unit 230. The heat dissipation unit 210 is mounted on the mounting unit 110, And at least one unit illumination module 200 having a light source 220.

방열판(100)은 단위 조명 모듈(200)이 설치되며, LED에서 발생하는 열을 방출한다. 구체적으로, 방열판(100)은 단위 조명 모듈(200)이 설치되는 장착부(110)와, LED에서 발생하는 열을 방출하는 방열핀부(120)를 포함한다.The heat sink 100 is provided with a unit lighting module 200 and emits heat generated from the LED. Specifically, the heat sink 100 includes a mounting portion 110 where the unit lighting module 200 is installed, and a heat radiating fin portion 120 that radiates heat generated from the LED.

여기에서, 장착부(110)는 방열판(100)의 일면에 형성되며, 단위 조명 모듈(200)의 방열부(210)가 삽입되는 장착홈(112)과, 단위 조명 모듈(200)의 반사부(230)의 팔각 형상에 대응되는 팔각 형상으로 형성된 장착 사면(114)을 포함할 수 있다. 구체적으로, 장착부(110)는 중앙 부분에 장착홈(112)이 위치하며, 상기 장착홈(112)을 기준으로 8개의 면으로 이루어진 장착 사면(114)이 위치한다. 특히, 장착 사면(114)이 단위 조명 모듈(200)의 반사부(230)의 팔각 형상에 대응되는 팔각 형상으로 형성됨으로써, 방열부(210)가 장착부(110)에 완전히 안착될 수 있게 된다.The mounting portion 110 is formed on one surface of the heat sink 100 and includes a mounting groove 112 into which the heat emitting portion 210 of the unit lighting module 200 is inserted, 230, and a mounting slope 114 formed in an octagonal shape corresponding to the octagonal shape. Specifically, the mounting portion 110 has a mounting groove 112 at a central portion thereof, and a mounting slope 114 having eight surfaces is positioned with respect to the mounting groove 112. Particularly, since the mounting slope 114 is formed in an octagonal shape corresponding to the octagonal shape of the reflecting portion 230 of the unit lighting module 200, the heat dissipating portion 210 can be completely seated on the mounting portion 110.

또한, 방열핀부(120)는 방열판(100)의 타면에 형성되며, LED에서 발생한 열이 조명 장치의 밖으로 배출될 수 있도록 복수의 방열핀이 균일하게 분포한다. 구체적으로, 방열판(100)의 타면에 방열핀이 다수개 돌출되어 형성된다.The heat dissipation fin 120 is formed on the other surface of the heat dissipation plate 100, and a plurality of heat dissipation fins are uniformly distributed so that heat generated from the LED can be discharged to the outside of the lighting apparatus. Specifically, a plurality of heat dissipation fins are formed on the other surface of the heat dissipation plate 100.

단위 조명 모듈(200)은 LED를 광원으로 하여 빛을 조사하며, 방열판(100)에 적어도 하나 이상 설치된다. 단위 조명 모듈(200)은 장착 각도를 조절하여 방열판(100)에 장착될 수 있으며, 상기 장착 각도를 조절하여 빛의 조사 방향을 원하는 방향으로 조정할 수 있다. 전술한 바와 같이, 단위 조명 모듈(200)은 방열부(210), 팔각 형상의 반사부(230), 상기 방열부(210)와 상기 반사부(230)를 연결하는 연결부(220)를 포함할 수 있으며, 복수의 LED가 실장되는 기판부(250), 상기 기판부(250)를 지지하는 기판 지지부(240)와, 상기 기판부(250)의 LED를 보호하는 보호부(260)를 더 포함할 수 있다.The unit lighting module 200 irradiates light using the LED as a light source, and at least one or more light emitting modules are installed in the heat sink 100. The unit lighting module 200 can be mounted on the heat sink 100 by adjusting the mounting angle, and the light irradiation direction can be adjusted to a desired direction by adjusting the mounting angle. As described above, the unit lighting module 200 includes a heat dissipation unit 210, an octagonal reflection unit 230, and a connection unit 220 connecting the heat dissipation unit 210 and the reflection unit 230 And may further include a substrate portion 250 on which a plurality of LEDs are mounted, a substrate support portion 240 for supporting the substrate portion 250, and a protection portion 260 for protecting the LED of the substrate portion 250 can do.

여기에서, 방열부(210)는 방열판(100)의 장착부(110)에 장착되며, 방열 효율을 높이기 위한 방열 패턴을 포함하고 있다. 구체적으로, 방열부(210)는 서로 다른 방향으로 형성된 방열 패턴을 포함할 수 있다. 이에 대해서는 후술하여 자세히 살펴 보도록 한다.The heat dissipation unit 210 includes a heat dissipation pattern mounted on the mounting portion 110 of the heat dissipation plate 100 to increase heat dissipation efficiency. Specifically, the heat dissipation unit 210 may include a heat dissipation pattern formed in different directions. This will be described in detail later.

또한, 연결부(220)는 방열부(210)와 반사부(230)를 연결하며, LED에서 조사되는 빛이 넓은 배광 패턴을 가지도록 방열부(210)가 설치되는 면과 반사부(230)가 설치되는 면이 기울어져 형성될 수 있다. 구체적으로, 연결부(220)는 장착부(110)를 기준으로 반사부(230)와 LED가 기울어져 배치되도록 경사면을 가질 수 있다. 이를 통해, 장착홈(112)에 안착되어 있는 방열부(210)가 반사부(230)/LED와 소정 각도 기울어져 있고, LED는 지표면에 90도의 각도보다 작은 각도로 빛을 조사할 수 있게 되어 빛이 확산됨으로써, 넓은 배광 패턴을 가질 수 있다. 즉, 광원인 LED에서 조사되는 빛이 측사광이 되어 배광 패턴이 넓게 형성될 수 있고, 연결부(220)의 경사면을 다양한 각도로 형성하여 고객이 원하는 배광 특성을 가지도록 설계할 수 있다.The connection unit 220 connects the heat dissipation unit 210 and the reflection unit 230 so that the surface on which the heat dissipation unit 210 is installed and the reflection unit 230 The surface to be installed can be formed inclined. Specifically, the connection unit 220 may have an inclined surface such that the LED 230 and the LED are inclined with respect to the mounting unit 110. Accordingly, the heat dissipating unit 210, which is seated in the mounting groove 112, is inclined at a predetermined angle with respect to the reflector 230 / LED, and the LED can irradiate light at an angle smaller than an angle of 90 degrees to the ground surface As the light diffuses, it can have a wide light distribution pattern. That is, the light emitted from the LED, which is a light source, becomes a side light to form a wide light distribution pattern, and the inclined plane of the connection part 220 can be formed at various angles to design a light distribution characteristic desired by a customer.

그리고, 반사부(230)는 LED에서 조사되는 빛을 반사하며, 팔각 형상으로 형성된다. 구체적으로, LED에서 조사되는 빛이 반사부(230)의 내주면에서 반사되어 확산된다. 이때, 반사부(230)가 팔각 형상으로 형성됨으로써, 빛의 확산율을 높일 수 있다. 또한, 반사부(230)가 팔각 형상으로 형성됨으로써, 반사부(230)의 소정 부분에서 빛이 집광되어 조도가 향상될 수 있다. 팔각 형상으로 형성된 반사부(230)에 의해 빛을 최대한 확산시킬 수 있고, 집광 효율을 높일 수 있어 최적화된 배광 특성 및 높은 배광 효율을 가질 수 있고, 이에 따라 빛이 조명되지 않는 사각 지대에도 높은 조도로 빛을 조사할 수 있다.The reflector 230 reflects light emitted from the LED, and is formed into an octagonal shape. Specifically, the light emitted from the LED is reflected and diffused by the inner peripheral surface of the reflective portion 230. At this time, since the reflection portion 230 is formed in an octagonal shape, the light diffusion rate can be increased. In addition, since the reflector 230 is formed in an octagonal shape, light can be condensed at a predetermined portion of the reflector 230, and the illuminance can be improved. The light can be diffused to the maximum extent by the octagonal reflecting portion 230 and the light collecting efficiency can be increased and the light distribution characteristic can be optimized and the light distribution efficiency can be improved. Accordingly, even in a blind spot where light is not illuminated, Light can be irradiated.

이하에서는 본 발명의 일 실시예에 따른 단위 조명 모듈(200)에 대해 보다 상세히 살펴 보도록 한다.Hereinafter, the unit illumination module 200 according to an embodiment of the present invention will be described in more detail.

도 6은 본 발명의 일 실시예에 따른 단위 조명 모듈의 분해 단면도이며, 도 7은 본 발명의 일 실시예에 따른 단위 조명 모듈의 일 구성요소인 방열부의 사시도이고, 도 8은 도 7의 단위 조명 모듈의 방열부를 다른 방향에서 바라 본 사시도이고, 도 9는 도 7의 단위 조명 모듈의 일 부분의 분해 사시도이고, 도 10은 도 7의 단위 조명 모듈의 다른 부분의 분해 사시도이다.7 is a perspective view of a heat dissipation unit, which is a component of the unit lighting module according to an embodiment of the present invention, FIG. 8 is a cross- FIG. 9 is an exploded perspective view of a part of the unit lighting module of FIG. 7, and FIG. 10 is an exploded perspective view of another part of the unit lighting module of FIG.

도 6 내지 도 10을 참조하면, 본 발명의 일 실시예에 따른 단위 조명 모듈(200)은 방열판(100)의 장착부(110)에 장착되는 방열부(210)와, LED에서 조사되는 빛을 반사하는 팔각 형상의 반사부(230)와, 상기 방열부(210)와 상기 반사부(230)를 연결하는 연결부(220)와, 복수의 LED가 실장되는 기판부(250)와, 상기 기판부(250)를 지지하는 기판 지지부(240)와, 상기 기판부(250)의 LED를 보호하는 링 형상의 보호부(260)를 포함할 수 있다.6 to 10, a unit lighting module 200 according to an embodiment of the present invention includes a heat dissipation unit 210 mounted on a mounting unit 110 of a heat sink 100, A connection part 220 connecting the heat dissipation part 210 and the reflection part 230, a substrate part 250 on which a plurality of LEDs are mounted, 250, and a ring-shaped protector 260 for protecting the LED of the substrate unit 250. The protector 260 may be formed of a metal or plastic.

방열부(210)는 전술하여 살펴 본 바와 같이, 서로 다른 방향으로 형성된 방열 패턴을 포함할 수 있다. 보다 구체적으로, 방열부(210)는 장착부(110)의 장착홈(112) 측으로 열을 방출하는 제1 방열 패턴(212) 및 장착부(110)의 장착 사면(114) 측으로 열을 방출하는 제2 방열 패턴(214)을 포함할 수 있다. 도 7, 도 8에 도시한 바와 같이, 제1 방열 패턴(212) 및 제2 방열 패턴(214)은 각각 LED의 폐열을 빠르게 방출하기 위한 방열핀(212A, 214A)과 방열홈(212B, 214B)을 구비할 수 있다. 또한, 방열부(210)는 연결홈(216)을 구비하여 상기 연결홈(216)에 의해 연결부(220)에 결합될 수 있다. 이때, 연결홈(216)은 제2 방열 패턴(214)이 형성된 부분에 위치하여 제1 방열 패턴(212)이 형성된 부분이 장착홈(112)에 자유도를 가지고 위치하도록 함으로써, 방열부(210)의 장착 각도를 자유롭게 조절할 수 있다. 예를 들어, 방열부(210)를 장착홈(112)에 수직하게 장착할 수 있을 뿐만 아니라, 비스듬한 각도로 장착할 수도 있다.The heat dissipation unit 210 may include a heat dissipation pattern formed in different directions as described above. More specifically, the heat dissipating unit 210 includes a first heat dissipating pattern 212 that radiates heat to the mounting groove 112 side of the mount 110, and a second heat dissipation pattern 212 that radiates heat to the mount slope 114 side of the mount 110. [ And may include a heat radiation pattern 214. The first heat radiation pattern 212 and the second heat radiation pattern 214 may have heat dissipation fins 212A and 214A and heat dissipation grooves 212B and 214B for rapidly discharging the waste heat of the LED, . The heat dissipation unit 210 may include a connection groove 216 and may be coupled to the connection unit 220 by the connection groove 216. At this time, the connection groove 216 is located at a portion where the second heat dissipation pattern 214 is formed, so that the portion where the first heat dissipation pattern 212 is formed is positioned with a certain degree of freedom in the mounting recess 112, Can be freely adjusted. For example, the heat dissipating unit 210 can be mounted vertically to the mounting groove 112, or at an oblique angle.

도 5에 도시한 바와 같이, 방열부(210)는 장착홈(112)에 안착되는데 제1 방열 패턴(212)이 형성된 부분이 장착홈(112)에 위치하고, 상기 제1 방열 패턴(212)에 수직한 방향으로 형성된 제2 방열 패턴(214)이 장착 사면(114)에 위치하게 된다. 이에 따라, 제1 방열 패턴(212)을 통해 LED의 폐열이 장착홈(112) 측으로 방열되고, 상기 장착홈(112) 측으로 방출된 열은 방열핀부(120)에 의해 더 빠르게 방출될 수 있다. 또한, 제2 방열 패턴(214)을 통해 공기 중으로 LED의 폐열을 방출할 수 있어 방열 효율을 더욱 증대할 수 있다.5, the heat dissipating unit 210 is seated in the mounting groove 112. The portion where the first heat dissipating pattern 212 is formed is located in the mounting recess 112. The first heat dissipating pattern 212 The second radiation pattern 214 formed in a vertical direction is positioned on the mounting slope 114. [ Accordingly, the waste heat of the LED is radiated to the mounting groove 112 side through the first radiation pattern 212, and the heat radiated toward the mounting groove 112 can be emitted more quickly by the radiation fin 120. In addition, the waste heat of the LED can be discharged into the air through the second radiation pattern 214, thereby further increasing the heat radiation efficiency.

이때, 제1 방열 패턴(212)은 장착홈(112)에 안착되고, 장착 사면(114)이 팔각 형상으로 형성되어 있으므로, 각 단위 조명 모듈(200)의 장착 각도를 조절할 수 있고, 이에 따라 LED의 조사 방향이 조절된다. 특히, 장착 사면(114)과 반사부(230)가 각각 팔각 형상으로 형성되어 대응되므로, 방열부(210)를 방열판(100)에서 45도(360/8)씩 회전시켜 간단히 방열판(100)에 단위 조명 모듈(200)을 설치할 수 있다.In this case, since the first heat radiation pattern 212 is seated in the mounting groove 112 and the mounting slope 114 is formed in an octagonal shape, the mounting angle of each unit lighting module 200 can be adjusted, The irradiation direction of the light source is adjusted. Particularly, since the mounting slope 114 and the reflection portion 230 are formed in an octagonal shape and correspond to each other, the heat dissipating portion 210 is rotated by 45 degrees (360/8) from the heat dissipating plate 100, The unit lighting module 200 can be installed.

다시 도 6을 참조하면, 연결부(220)는 방사부(210)와 반사부(230)를 연결하며, 연결부(220)와 반사부(230) 사이에 기판 지지부(240), 기판부(250) 등이 위치할 수 있다.6, the connection unit 220 connects the radiation unit 210 and the reflection unit 230, and the substrate support unit 240, the substrate unit 250, and the substrate support unit 250 are interposed between the connection unit 220 and the reflection unit 230, Etc. may be located.

기판부(250)는 복수의 LED가 실장되며, LED에 전력을 공급하는 회로 패턴(미도시), 전원 단자(미도시) 등이 형성될 수 있다. 또한, 도 9에 도시한 바와 같이, 기판부(250)의 LED가 실장된 영역에는 LED를 보호하기 위한 실란트(255) 등이 도포될 수 있다.A plurality of LEDs are mounted on the substrate unit 250, and a circuit pattern (not shown) and a power source terminal (not shown) for supplying power to the LEDs may be formed. 9, a sealant 255 or the like for protecting the LED may be applied to the region where the LED of the substrate unit 250 is mounted.

기판 지지부(240)는 기판부(250)를 지지하는 역할을 하며, 도 9에 도시한 바와 같이, 기판부(250)를 기판 지지부(240)에 나사 등의 체결부재로 체결하기 위해 상기 기판부(250) 및 기판 지지부(240)는 각각 체결홀(244, 254)을 구비할 수 있다. 예를 들어, 나사 등의 체결부재가 기판부(250) 및 기판 지지부(240)의 각 체결홀(244, 254)에 삽입되어 기판부(250)가 연결부(220)에 장착될 수 있다.9, in order to fasten the substrate portion 250 to the substrate supporting portion 240 with a fastening member such as a screw, the substrate supporting portion 240 serves to support the substrate portion 250, The substrate support 250 and the substrate support 240 may have fastening holes 244 and 254, respectively. For example, a fastening member such as a screw may be inserted into each of the fastening holes 244 and 254 of the substrate portion 250 and the substrate supporting portion 240 so that the substrate portion 250 may be mounted on the connection portion 220.

보호부(260)는 기판부(250)의 LED를 보호하며, 링 형상을 가질 수 있다. 링 형상의 보호부(260)를 통해 기판부(250)의 LED가 실장된 영역에 실란트(255) 등을 용이하게 도포할 수 있다. 이러한 보호부(260)는 LED가 실장된 영역을 모두 둘러쌀 수 있고, 실란트(255)가 넘치지 않도록 소정 높이를 가지는 것이 바람직하다. 보다 구체적으로, 기판부(250)에 LED를 실장한 후, 보호부(260)를 위치시키고, 도포 작업을 수행할 수 있다.The protective portion 260 protects the LED of the substrate portion 250 and may have a ring shape. It is possible to easily apply the sealant 255 or the like to the region where the LED of the substrate unit 250 is mounted through the ring-shaped protective portion 260. It is preferable that the protective portion 260 has a predetermined height so as to surround the entire area where the LED is mounted and not overflow the sealant 255. More specifically, after the LED is mounted on the substrate portion 250, the protective portion 260 can be positioned and a coating operation can be performed.

다시 도 10을 참조하면, 반사부(230)는 후단에 삽입돌기(232)가 형성되며, 보호부(260)는 삽입홈(262)이 형성될 수 있다. 반사부(230)의 삽입돌기(232)가 보호부(260)의 삽입홈(262)에 삽입되어 결합된다. 또한, 도 9에 도시한 바와 같이, 기판부(250)에 삽입홈(262)이 형성될 수 있고, 반사부(230)의 삽입돌기(232)가 보호부(260)의 삽입홈(262)을 통과하여 기판부(250)의 삽입홈(262)에 삽입될 수 있다. 반사부(230)의 삽입돌기(232)에 의해 보호부(260)를 기판부(250)에 간단히 고정할 수 있다. Referring to FIG. 10 again, the reflective portion 230 may be formed with an insertion protrusion 232 at a rear end thereof, and the protection portion 260 may be formed with an insertion groove 262. The insertion protrusion 232 of the reflection part 230 is inserted into the insertion groove 262 of the protection part 260 and is engaged. 9, the insertion groove 262 may be formed in the base 250 and the insertion protrusion 232 of the reflection portion 230 may be inserted into the insertion groove 262 of the protection portion 260. [ And can be inserted into the insertion groove 262 of the substrate unit 250. The protective portion 260 can be easily fixed to the substrate portion 250 by the insertion protrusion 232 of the reflective portion 230. [

또한, 반사부(230)가 기판부(250)에 연결됨으로써, 기판 지지부(240)에 의해 지지되고 연결부(220)에 연결된 기판부(250)를 통해 반사부(230)가 연결부(220)에 간단히 조립될 수 있다. 반사부(230)를 연결부(220)에 간단히 연결할 수 있으므로, 팔각 형상의 반사부(230)를 다른 형상을 가진 반사부(미도시)로 대체할 수 있다. 예를 들어, 반구 형상을 가진 반사부로 팔각 형상의 반사부(230)를 대체함으로써, 배광 패턴을 니즈(needs)에 맞추어 손쉽게 변경할 수 있다. 일례로, 도면에는 도시하지 않았으나, 도 1에 도시된 외곽 6개의 팔각 형상의 반사부(230) 중 몇몇을 반구 형상을 가진 반사부로 적절히 바꿈으로써, 조명 장치를 사용하는 사용자가 원하는 배광 특성을 갖도록 변경할 수 있다. 반사부(230)의 교체가 간단하므로, 본 발명의 일 실시예에 따른 조명 장치를 요구되는 배광 패턴에 맞추어 용이한 변경이 가능하다.The reflective portion 230 is connected to the substrate portion 250 so that the reflective portion 230 is supported by the substrate support portion 240 and connected to the connection portion 220 through the substrate portion 250, It can be easily assembled. The reflection portion 230 can be easily connected to the connection portion 220, so that the octagonal reflection portion 230 can be replaced with a reflection portion (not shown) having a different shape. For example, by replacing the octagonal reflector 230 with the hemispherical reflector, the light distribution pattern can be easily changed to meet the needs. For example, although not shown in the drawing, by appropriately changing some of the six octagonal reflectors 230 shown in FIG. 1 into a hemispherical reflector, the user using the illuminator can have a desired light distribution characteristic Can be changed. Since the replacement of the reflector 230 is simple, the lighting apparatus according to an embodiment of the present invention can be easily changed to match the required light distribution pattern.

이상 첨부된 도면을 참조하여 본 발명의 실시예를 설명하였지만, 본 발명이 속하는 기술분야에서 통상의 지식을 가진 자는 본 발명이 그 기술적 사상이나 필수적인 특징을 변경하지 않고서 다른 구체적인 형태로 실시될 수 있다는 것을 이해할 수 있을 것이다. 그러므로 이상에서 기술한 실시예들은 모든 면에서 예시적인 것이며 한정적이 아닌 것으로 이해해야만 한다.While the present invention has been described in connection with what is presently considered to be practical exemplary embodiments, it is to be understood that the invention is not limited to the disclosed embodiments, but, on the contrary, You will understand. It is therefore to be understood that the above-described embodiments are illustrative in all aspects and not restrictive.

100: 방열판
110: 장착부 112: 장착홈
114: 장착 사면 120: 방열핀부
200: 단위 조명 모듈
210: 방열부 220: 연결부
230: 반사부 240: 기판 지지부
250: 기판부 260: 보호부
100: Heat sink
110: mounting portion 112: mounting groove
114: mounting slope 120: heat sink fin portion
200: Unit lighting module
210: heat radiating part 220:
230: reflective part 240:
250: substrate portion 260: protective portion

Claims (8)

일면에 형성되는 장착부와, 타면에 형성되는 방열핀부를 구비한 방열판; 및
상기 장착부에 장착되는 방열부와, LED에서 조사되는 빛을 반사하는 팔각 형상의 반사부와, 상기 방열부와 상기 반사부를 연결하는 연결부를 구비한 적어도 하나의 단위 조명 모듈을 포함하는, 고효율 LED 등기구.
A heat radiating plate having a mounting portion formed on one surface and a radiating fin portion formed on the other surface; And
And at least one unit illumination module including a heat dissipation unit mounted on the mounting unit, an octagonal reflector reflecting the light emitted from the LED, and a connection unit connecting the heat dissipation unit and the reflection unit, .
제 1항에 있어서,
상기 장착부는, 상기 방열부가 삽입되는 장착홈과, 상기 반사부의 팔각 형상에 대응되는 팔각 형상으로 형성된 장착 사면을 포함하는, 고효율 LED 등기구.
The method according to claim 1,
Wherein the mounting portion includes a mounting groove into which the heat radiating portion is inserted and a mounting slope formed in an octagonal shape corresponding to an octagonal shape of the reflection portion.
제 2항에 있어서,
상기 방열부는, 상기 장착홈 측으로 열을 방출하는 제1 방열 패턴 및 상기 장착 사면 측으로 열을 방출하는 제2 방열 패턴을 포함하는, 고효율 LED 등기구.
3. The method of claim 2,
Wherein the heat dissipating portion includes a first heat dissipating pattern for emitting heat to the mounting groove side and a second heat dissipating pattern for emitting heat toward the mounting sloping side.
제 3항에 있어서,
상기 제1 방열 패턴은 상기 장착홈에 안착되고, 상기 장착 사면이 팔각 형상으로 형성되어 상기 단위 조명 모듈의 장착 각도를 조절함으로써, 상기 LED의 조사 방향을 조절하는, 고효율 LED 등기구.
The method of claim 3,
Wherein the first heat radiation pattern is seated in the mounting groove and the mounting slope is formed in an octagonal shape to adjust a mounting angle of the unit lighting module so as to adjust the irradiation direction of the LED.
제 1항에 있어서,
상기 반사부는, 상기 팔각 형상을 통해 빛이 집광되어 조도가 향상되는, 고효율 LED 등기구.
The method according to claim 1,
Wherein the reflector enhances illuminance by condensing light through the octagonal shape.
제 1항에 있어서,
상기 연결부는, 상기 장착부를 기준으로 상기 반사부 및 LED가 기울어져 배치되도록 경사면을 가지는, 고효율 LED 등기구.
The method according to claim 1,
Wherein the connection portion has an inclined surface such that the reflective portion and the LED are inclined with respect to the mounting portion.
제 1항에 있어서,
상기 단위 조명 모듈은,
복수의 LED가 실장되는 기판부와, 상기 기판부를 지지하는 기판 지지부와, 상기 기판부의 LED를 보호하는 링 형상의 보호부를 더 포함하는, 고효율 LED 등기구.
The method according to claim 1,
The unit illumination module includes:
The LED lighting fixture according to claim 1, further comprising: a substrate portion on which a plurality of LEDs are mounted; a substrate support portion for supporting the substrate portion; and a ring-shaped protection portion for protecting the LED of the substrate portion.
제 7항에 있어서,
상기 반사부는, 후단에 삽입돌기가 형성되며,
상기 기판부 및 보호부는, 각각 삽입홈이 형성되고,
상기 삽입돌기가 상기 삽입홈에 삽입되어 결합되는, 고효율 LED 등기구.
8. The method of claim 7,
Wherein the reflection portion has an insertion protrusion formed at a rear end thereof,
The substrate portion and the protection portion are each formed with an insertion groove,
And the insertion protrusions are inserted into the insertion grooves and engaged with each other.
KR1020150034983A 2015-03-13 2015-03-13 High-efficiency led lighting device Ceased KR20160109838A (en)

Priority Applications (1)

Application Number Priority Date Filing Date Title
KR1020150034983A KR20160109838A (en) 2015-03-13 2015-03-13 High-efficiency led lighting device

Applications Claiming Priority (1)

Application Number Priority Date Filing Date Title
KR1020150034983A KR20160109838A (en) 2015-03-13 2015-03-13 High-efficiency led lighting device

Publications (1)

Publication Number Publication Date
KR20160109838A true KR20160109838A (en) 2016-09-21

Family

ID=57080887

Family Applications (1)

Application Number Title Priority Date Filing Date
KR1020150034983A Ceased KR20160109838A (en) 2015-03-13 2015-03-13 High-efficiency led lighting device

Country Status (1)

Country Link
KR (1) KR20160109838A (en)

Cited By (1)

* Cited by examiner, † Cited by third party
Publication number Priority date Publication date Assignee Title
KR20190003084U (en) * 2018-06-05 2019-12-13 홍원표 Barrisol LED light

Citations (1)

* Cited by examiner, † Cited by third party
Publication number Priority date Publication date Assignee Title
KR20130010657A (en) 2011-07-19 2013-01-29 김영대 A video wall system using network synchronized rendering to display multiple sources

Patent Citations (1)

* Cited by examiner, † Cited by third party
Publication number Priority date Publication date Assignee Title
KR20130010657A (en) 2011-07-19 2013-01-29 김영대 A video wall system using network synchronized rendering to display multiple sources

Cited By (1)

* Cited by examiner, † Cited by third party
Publication number Priority date Publication date Assignee Title
KR20190003084U (en) * 2018-06-05 2019-12-13 홍원표 Barrisol LED light

Similar Documents

Publication Publication Date Title
JP5625203B2 (en) LED lighting device having block assembly structure
US8408737B2 (en) Light emitting diode sign lighter
US9482395B2 (en) LED luminaire
US8206009B2 (en) Light emitting diode lamp source
US8038314B2 (en) Light emitting diode troffer
KR100998247B1 (en) Lighting device using light emitting diode
US20110233568A1 (en) Led street lamp
EP2655957B1 (en) Led light bulb with light scattering optics structure
KR20120070930A (en) Light emitting apparatus
CN102207271A (en) Optical unit and lighting device
KR100990753B1 (en) LED module with adjustable light angle
KR101863233B1 (en) LED Floodlight with Adjustable Angle of Angle
KR101086893B1 (en) LED Street Light
KR102263298B1 (en) LED module improved radiant heat
KR20160109838A (en) High-efficiency led lighting device
CN201739908U (en) LED projection lamp
KR101064760B1 (en) Street lighting equipment
CN209196807U (en) lighting equipment
KR101049834B1 (en) LED lighting device with LED glare and LED lighting device for easy glare prevention and light distribution control
KR101282128B1 (en) LED lamp with reflector
KR102360947B1 (en) light source module for outdoor lamp
KR101308400B1 (en) Led lamp module for streetlight for improving uniformity ratio of illuminance
WO2008153345A2 (en) Floodlighting apparatus
JP2017188449A (en) Radiation reflector for LED lighting fixtures
KR101354475B1 (en) Boundary led light

Legal Events

Date Code Title Description
A201 Request for examination
PA0109 Patent application

Patent event code: PA01091R01D

Comment text: Patent Application

Patent event date: 20150313

PA0201 Request for examination
E902 Notification of reason for refusal
PE0902 Notice of grounds for rejection

Comment text: Notification of reason for refusal

Patent event date: 20160919

Patent event code: PE09021S01D

PG1501 Laying open of application
E601 Decision to refuse application
PE0601 Decision on rejection of patent

Patent event date: 20170123

Comment text: Decision to Refuse Application

Patent event code: PE06012S01D

Patent event date: 20160919

Comment text: Notification of reason for refusal

Patent event code: PE06011S01I