KR20160105709A - 간접흡입방식 휴대용 흡인기 - Google Patents
간접흡입방식 휴대용 흡인기 Download PDFInfo
- Publication number
- KR20160105709A KR20160105709A KR1020150046452A KR20150046452A KR20160105709A KR 20160105709 A KR20160105709 A KR 20160105709A KR 1020150046452 A KR1020150046452 A KR 1020150046452A KR 20150046452 A KR20150046452 A KR 20150046452A KR 20160105709 A KR20160105709 A KR 20160105709A
- Authority
- KR
- South Korea
- Prior art keywords
- vacuum
- pump
- port
- exudates
- vacuum pump
- Prior art date
- Legal status (The legal status is an assumption and is not a legal conclusion. Google has not performed a legal analysis and makes no representation as to the accuracy of the status listed.)
- Withdrawn
Links
Images
Classifications
-
- A—HUMAN NECESSITIES
- A61—MEDICAL OR VETERINARY SCIENCE; HYGIENE
- A61M—DEVICES FOR INTRODUCING MEDIA INTO, OR ONTO, THE BODY; DEVICES FOR TRANSDUCING BODY MEDIA OR FOR TAKING MEDIA FROM THE BODY; DEVICES FOR PRODUCING OR ENDING SLEEP OR STUPOR
- A61M27/00—Drainage appliance for wounds or the like, i.e. wound drains, implanted drains
-
- A61M1/0058—
-
- A61M1/0066—
Landscapes
- Health & Medical Sciences (AREA)
- Otolaryngology (AREA)
- Engineering & Computer Science (AREA)
- Anesthesiology (AREA)
- Biomedical Technology (AREA)
- Heart & Thoracic Surgery (AREA)
- Hematology (AREA)
- Life Sciences & Earth Sciences (AREA)
- Animal Behavior & Ethology (AREA)
- General Health & Medical Sciences (AREA)
- Public Health (AREA)
- Veterinary Medicine (AREA)
- External Artificial Organs (AREA)
Abstract
인체에 부압을 전달하고 그로부터 삼출물 등 체액을 교환하여 수집하는 배액시술에 사용되는 휴대용 흡인기를 개시한다. 개시한 휴대용 흡인기는 배액용기(200)와 진공펌프모듈(300)이 탈착가능하여 휴대가 간편하고, 진공펌프의 진공압을 직접전달하지 않고 별도의 진공작동 체액펌프에서 부압을 발생하고 삼출물 등 체액을 유통시키는 진공작동 체액펌프를 구비하여 간접흡입방식으로써 진공펌프의 오염 문제를 근원적으로 해결함으로써 그 안전성과 경제성을 높인다. 또한 흡인기는 삼출물 등 체액을 공기와 분리 수집하기 위한 위치와 방향을 달리한 복수의 복수의 공기구멍이 있는 배액용기(200)를 구비한다. 이 배액용기(200)는 어느 자세에서나 그 적어도 하나의 공기구멍이 막히지 않음으로써 그 휴대성을 높인다.
Description
이 발명은 대기압보다 낮은 진공압, 즉 부압을 이용하여 상처나 수술 부위에 고이는 삼출물 등 체액을 몸 밖으로 배출시키는 시술에 사용되는 진공배액 시스템의 하나인 휴대용 흡인기에 관한 것으로서, 특히 안전성과 휴대성을 높일 수 있는 새로운 간접흡입방식에 대한 것이다.
상처를 치료하기 위해 혹은 수술 중에나 수술 뒤 빠른 회복을 위해 진공을 이용하여 그 상처나 수술 부위에 고이는 삼출물 등 체액을 몸 밖으로 빼내어 수집하는 진공배액 시술을 위한 시스템이 보인턴 에이 토마스 등의 미국특허 7,004,915(하기 특허문헌 1)등에 의해 잘 알려져 있다. 진공 배액 시술을 위한 시스템에는 대기압보다 낮은 진공압, 즉 부압을 발생하는 진공압발생원, 부압을 환자의 상처나 수술 부위에 전달하고 그로부터 삼출물 등 체액을 교환하여 흡입 전달하는 대체로 가늘고 긴 배액용 도관, 이 도관을 통해 전달되는 삼출물 등 체액을 공기와 분리 수집하는, 흔히 캐니스터(canister)라 불리는 배액용기가 포함된다.
진공압발생원은 수동식과 전동식으로 나뉘는데, 상처나 수술 부위의 조직에 따라 적정 부압을 조절하고 유지할 수 있는 점에서 전동식이 효과적이다. 전동식은 예를 들면 전기 모터로 작동하는 진공펌프일 수 있으며, 병원이나 기타 의료기관에 일반적으로 환자 침상 머리맡에 시설돼 있는 진공포트로 대체될 수 있다. 수동식의 경우는 배액용기를 겸한 형태도 있다.
배액용 도관 시술에는 생체흡수성 패드와 흡입용 포트가 사용된다. 생체흡수성 패드는 상처나 수술 부위를 덮어 삼출물 등 체액을 교환할 수 있는 매니폴드를 형성한다. 흡입용 포트는 생체흡수성 패드 위에 고정되어 그 주위를 밀봉한 상태로 도관과 연결되어, 도관을 통해 전달되는 부압에 따라 생체흡수성 패드로부터 삼출물 등 체액을 교환 전달한다(하기 특허문헌 2, 대한민국 등록특허 10-1144422 참조). 도관은 외상과 달리 환자 몸속에 있는 수술 부위나 고름집 등에 대해서 경피적으로 삽입될 수 있으며, 이 경우 수술 부위 조직이나 그 처치 목적에 따라 다양한 형태로 제공된다(하기 특허문헌 3, 대한민국 등록특허 10-1198563 참조).
상기 배액용기는 상기 도관을 통해 전달되는 삼출물 등 체액을 위생적으로 폐기하거나 분석 보관을 위해 사용된다. 이 배액용기는 진공압발생원 측 부압에 의해 비탄력적으로 수축된 상태에서 도관을 통해 전달되는 삼출물 등 체액으로 채워지면서 점차 부풀어 오르는 주머니 형태로 제공될 수 있다(하기 특허문헌 4, 대한민국 등록특허 10-1309063 참조). 배액용기는 또한 일정 용적을 가진 딱딱한 통 형태로 제공될 수 있는데, 이것은 삼출물 등 체액을 공기와 분리하여 수집하는 형태, 즉 삼출물 등 체액으로 채워지는 만큼 내부 공기가 외부로 빠져나가게 하는 공기구멍이 있는 구조로 된다(하기 특허문헌 5, 대한민국 등록특허 10-1497776 참조).
한편, 진공배액 시술을 위한 장치는 전술한 진공압발생원과 도관 및 배액용기가 결합된 하나의 제품 형태로도 제공되는데, 고정형과 이동형으로 구분할 수 있으며, 이동형은 또한 탁상 거치형과 휴대형으로 나눌 수 있다.
고정형은 주로 병원 등 의료기관 내 침상 머리맡에 고정 설치되어 전술한 진공포트에 연결하는, 흔히 볼 수 있는 전형적인 형태다(하기 특허문헌 6, 대한민국 등록실용신안 20-0456798 참조).
대한민국 공개특허 10-2010-0015999(하기 특허문헌 7)는 탁상 거치형 제품의 한 형태를 개시한다. 이 형태는 배액용기가 펌프장비에 탈착가능하고, 별도의 연결유닛을 포함한다. 연결유닛은 배액용기와 배액용 도관을 분리가능하게 연결한다. 즉, 배액용기만을 들어내어 수집된 삼출물 등 체액을 간편히 수거할 수 있다.
대한민국 등록특허 10-1212650(하기 특허문헌 8)은 탁상 거치형 제품의 다른 형태를 보인다. 이것은 수집된 삼출물 등 체액을 살균하는 자외선램프를 구비한 형태다.
대한민국 등록특허 10-0509075(하기 특허문헌 9)는 크기가 작은 휴대형 제품의 한 형태를 개시한다. 이 형태는 전기 모터로 구동하는 진공펌프가 내장된 펌프장비 밑에 병 모양의 주입구 형상을 가진 배액용기를 탈착시킬 수 있는 구조이다.
대한민국 등록특허 10-0978599(하기 특허문헌 10)는 휴대형 제품의 다른 형태를 개시한다. 이것은 전기 모터로 구동하는 진공펌프가 내장된 펌프장비의 한 쪽 옆면에 배액용기를 탈착시키는 형태로, 폐흉막 내부의 체액과 공기를 빨아들이는데 적합한 구조이다.
현존하는 진공배액 시스템은 진공압발생원과 배액용 도관 및 배액용기가 상호 연통하여 그 진공압발생원의 진공압이 인체에 직접 전달되어 삼출물 등 체액을 교환하는 직접흡입방식이다. 이러한 직접흡입방식에 있어서, 진공압발생원은 배액용 도관을 경유하여 배액용기에 수집되는 삼출물 등 체액이 유입됨으로써 오염될 수 있고, 오염되면 고장날 수 있음은 물론, 더 이상 쓸 수 없다. 상처나 수술 부위 조직에 따라 압력을 조절 및 유지할 수 있는 진공펌프를 구비한 펌프장비는 고가이므로, 경제적 이점을 위해 다른 환자에 대해서도 유효하게 사용될 필요가 있는데, 이를 위해서는 전술한 오염 문제가 해결되어야 한다.
펌프장비의 오염 문제는 펌프장비에 대해 도관이나 배액용기와의 연결 통로에 기액분리(氣液分離) 필터, 예를 들면 잘 알려진 소수성 필터(hydrophobic filter)를 삽입, 공기만 통과시키고 삼출물 등 체액을 차단함으로써 비교적 간단히 해결될 수 있다. 이러한 소수성 필터는 삼출물 등 체액을 공기와 분리 수집하기 위해 공기구멍이 있는 배액용기에도 적용될 수 있다(특허문헌 5 참조). 그러나 이 경우에 소수성 필터가 삼출물 등 체액에 잠기면 제기능을 하지 못하므로 그 수위를 엄격히 제한하여야 하며, 그렇기 때문에 배액용기나 그 제품을 사용할 때 기울지 않도록 주의해야 하는 것이다.
진공 배액 시스템의 여러 제품 형태에 있어서, 수술 후 거동 가능한 환자에 대한 편의와 회복 촉진을 위해 고정형보다는 이동형이, 그리고 이동형 가운데서도 휴대가능한 형태가 바람직할 것이다. 특히 작고 간편한 휴대형 제품은 환자가 일상생활을 할 수 있게 하고, 또 외부에 보이지 않게 휴대함으로써 환자의 자존감도 지켜줄 수 있다.
그러나 휴대형 제품은 환자의 착용상태나 움직임에 따라 크게 기울거나 흔들리므로 전술한 바와 같이 수집되는 삼출물 등 체액에 의해 진공 연결 통로 또는 배액용기의 공기구멍이 막혀 배액 작용이 원활하지 못하거나 펌프장비가 오염되는 등 그 실효성이 떨어지고 현실적으로 제품화될 수 없었다.
한편, 진공배액 시술에 있어서, 인체에 전달되는 부압은 상처나 수술 부위 세포 조직에 따라 적정한 압력으로 조절 및 유지되어야 한다. 부압이 너무 약하면 삼출물 등 체액 교환 및 전달이 원활하지 못하게 되고, 너무 세면 세포 조직이 손상될 수 있기 때문이다. 그런데, 진공압을 조절할 수 있는 진공펌프를 사용한 경우에도, 일시적 이상 작동으로 부압이 약해지거나 세질 수 있으므로, 이를 적시에 조치할 수 있는 수단이 요구되는 것이다.
이 발명의 주된 목적은 현존하는 직접흡입방식을 벗어나, 진공압발생원(진공펌프)과는 분리된 공간에서 삼출물 등 체액과 교환할 수 있는 부압을 발생함으로써 그 오염 문제를 원천적으로 차단할 수 있어 안전하며, 특히 휴대성을 높인 이른바 새로운 간접흡입방식 휴대용 흡인기를 제공하는 것이다.
상기 목적을 달성하는 이 발명에 따른 간접흡입방식 휴대용 흡인기는 인체에 부압을 전달하고 그로부터 삼출물 등 체액을 교환 전달하는 배액용 도관, 삼출물 등 체액을 공기와 분리 수집하기 위한 적어도 하나의 공기구멍이 있는 배액용기, 전기 모터로 작동하여 진공압을 발생하는 진공펌프, 상기 배액용 도관과 배액용기를 연결하고 상기 진공펌프의 진공압으로 작동하여 부압을 발생하면서 그 배액용 도관으로부터 삼출물 등 체액을 흡입하여 그 배액용기로 토출하는 진공작동 체액펌프를 포함하여 휴대할 수 있게 구성된 것을 그 특징으로 한다.
상기 흡인기는 상기 배액용기에 형성되는 상기 공기구멍을 위치와 방향을 달리한 복수로 구비하고, 그 복수의 공기구멍에 공기만 통과시키고 삼출물 등 체액을 차단하는 기액분리필터가 각각 삽입된 구성으로 될 수 있다.
상기 흡인기는 상기 진공작동 체액펌프가 일정 크기의 공간을 형성하는 하우징, 그 공간을 두개의 공간인 진공실과 체액실로 가르며 그중 어느 한쪽을 수축시키면서 다른 쪽을 팽창시키도록 신축가능한 다이어프램을 구비하고, 상기 진공실에는 상기 진공펌프와 연결하기 위한 파일럿포트가 있고, 상기 체액실에는 상기 배액용 도관과 연결하기 위한 흡입구가 있으며, 상기 토출구에는 상기 배액용기와 연결되는 토출구가 있으며, 그 흡입구 토출구에 대하여 삼출물 등 체액의 흐름을 한 방향으로 허용하고 역방향으로 차단하는 체크밸브를 포함하여, 상기 진공펌프의 진공압을 주기적으로 발생하고 소진시켜서 삼출물 등 체액을 유통시키는 구성으로 될 수 있다.
상기 흡인기는 상기 진공작동 체액펌프가 상기 진공실에서 상기 진공펌프의 진공압에 따라 수축하는 다이어프램에 눌려 수축된 후 그 진공압이 소진되면 복원하여 그 다이어프램을 상기 체액실로 밀어붙이는 스프링부재와, 그 다이어프램의 움직임을 감지하여 상기 파일럿포트를 대기압 상태로 개방하는 수단을 더 포함하여, 상기 진공작동 체액펌프가 부압 발생으로 삼출물 등 체액을 흡입한 다음, 상기 스프링부재의 복원력으로 흡입한 삼출물 등 체액을 토출하도록 제어할 수 있는 구성으로 될 수 있다.
상기 흡인기는 상기 진공작동 체액펌프가 상기 배액용기에 내장되고, 상기 진공펌프가 전원을 인가하고 제어할 수 있는 회로와 함께 하나의 케이스에 장착된 모듈로서 구비되며, 그 배액용기와 진공펌프모듈이 상호 탈착가능한 형태로 함께 휴대할 수 있는 구성으로 될 수 있다.
상기 흡인기는 상기 배액용 도관과 상기 진공작동 체액펌프 사이에 분기 접속되어 그 진공작동 체액펌프에서 발생하는 상기 부압을 감지하여 과도한 경우에 일시 대기압 상태로 개방하는 수단을 포함할 수 있다.
상기 흡인기는 상기 파일럿포트가 상기 진공펌프와 접속가능한 형태로 상기 배액용기에 형성돼 있고, 상기 진공작동 체액펌프의 하우징이 상기 배액용기 안에서 그 배액용기의 진공포트 주위를 덮어 상기 공간을 형성하는 구성으로 될 수 있다.
이 발명에 따른 간접흡입방식 휴대용 흡인기는 진공펌프에서 발생하는 진공압이 인체에 직접 전달되지 않고, 그 진공펌프에서 발생하는 진공압으로 작동하는 상기 진공작동 체액펌프에서 발생하는 부압이 인체로 전달되는, 이른바 진공압을 간접으로 전달하는 방식이다.
따라서 이 발명에 따르면, 휴대용 흡인기의 진공펌프 측 진공 통로와 진공작동 체액펌프의 부압 발생 통로를 공간적으로 분리할 수 있고, 그렇게 함으로써 진공펌프의 오염문제를 근원적으로 해결할 수 있다.
이 발명은 또한 상기 진공압발생원과 상기 진공작동 다이어프램을 스프링부재로 지지하고 또 그 다이어프램의 움직임을 감지하고 진공실을 대기압 상태로 제어함으로써 진공작동 체액펌프의 흡입 동작 후 토출작용을 원할하게 함은 물론, 그 토출작동 시간을 단축하고 흡입효율을 높임으로써 전체 배액시술 시간을 단축시키고 또 제품을 소형화하는데 유리한 효과를 제공한다.
이 발명은 또한 상기 배액용 도관과 상기 진공작동 체액펌프 사이에 분기 접속되어 그 진공작동 체액펌프에서 발생하는 상기 부압을 감지하여 과도한 경우에 일시 대기압 상태로 개방하는 수단을 더 포함함으로써, 과도한 부압으로 인해 환자의 상처나 수술 부위 조직이 손상되는 것을 방지하여 그 안전성을 높이는데 유리한 효과를 제공한다.
이 발명은 또한 배액용기의 공기구멍을 위치와 방향을 달리한 2개소 이상에 형성하고 각각에 기액분리필터를 삽입하여, 배액용기가 크게 기울거나 흔들리는 경우에도 삼출물을 공기와 분리하여 수집하는 작용을 원활하게 하여 그 휴대성을 높이는데 유리한 효과를 제공한다.
도 1은 이 발명에 따른 간접흡입방식 휴대용 흡인기의 전체 외관을 보인 사시도이다.
도 2는 이 발명에 따른 간접흡입방식 휴대용 흡인기의 배액용기와 진공펌프 모듈을 분리한 사시도이다.
도 3은 이 발명에 따른 간접흡입방식 휴대용 흡인기의 진공펌프 모듈 내부 배치도이다.
도 4는 이 발명에 따른 간접흡입방식 휴대용 흡인기의 배액용기를 전면부와 후면부로 분리하여 그 내부를 보인 사시도이다.
도 5는 이 발명에 따른 간접흡입방식 휴대용 흡인기의 배액용기를 전면부와 후면부로 분리하고 그 내부에 설치된 진공작동 체액펌프를 분해하여 보인 사시도이다.
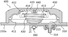
도 6은 이 발명에 따른 간접흡입방식 휴대용 흡인기에 구비된 진공작동 체액펌프의 구조를 보인 단면도이다.
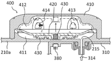
도 7은 도 6에 보인 진공작동 체액펌프의 흡입동작 상태를 보인 단면도이다.
도 8은 도 6에 보인 진공작동 체액펌프의 토출동작 상태를 보인 단면도이다.
도 9는 이 발명에 따른 간접흡입방식 휴대용 흡인기의 제어회로 블록럭도이다.
도 10은 이 발명에 따른 간접흡입방식 휴대용 흡인기의 제어흐름도이다.
도 2는 이 발명에 따른 간접흡입방식 휴대용 흡인기의 배액용기와 진공펌프 모듈을 분리한 사시도이다.
도 3은 이 발명에 따른 간접흡입방식 휴대용 흡인기의 진공펌프 모듈 내부 배치도이다.
도 4는 이 발명에 따른 간접흡입방식 휴대용 흡인기의 배액용기를 전면부와 후면부로 분리하여 그 내부를 보인 사시도이다.
도 5는 이 발명에 따른 간접흡입방식 휴대용 흡인기의 배액용기를 전면부와 후면부로 분리하고 그 내부에 설치된 진공작동 체액펌프를 분해하여 보인 사시도이다.
도 6은 이 발명에 따른 간접흡입방식 휴대용 흡인기에 구비된 진공작동 체액펌프의 구조를 보인 단면도이다.
도 7은 도 6에 보인 진공작동 체액펌프의 흡입동작 상태를 보인 단면도이다.
도 8은 도 6에 보인 진공작동 체액펌프의 토출동작 상태를 보인 단면도이다.
도 9는 이 발명에 따른 간접흡입방식 휴대용 흡인기의 제어회로 블록럭도이다.
도 10은 이 발명에 따른 간접흡입방식 휴대용 흡인기의 제어흐름도이다.
이하, 첨부된 도면을 참조하여 이 발명의 바람직한 실시 형태를 상술한다. 첨부된 도면은 어디까지나 본 발명의 바람직한 실시 형태로서 예시된 것일 뿐, 본 발명을 한정하는 것은 아니다. 또한 도면에 있어서 일부 구성요소가 과장되거나 생략되는 등 실제와는 차이가 있을 수 있다.
도 1에 예시된 이 발명에 따른 휴대용 흡인기는 배액용 도관(100)을 포함하며, 배액용 도관(100)을 튜브커넥터(130)로 연결할 수 있는 연결도관(120)이 배액용기(200)에 인출돼 있고, 배액용기(200)에 진공펌프모듈(300)이 결합된다. 배액용기(200)와 진공펌프모듈(300)은 도 2에 보인 바와 같이 상호 분리가능하게 탈착 결합하고, 진공펌프모듈(300)에 형성된 고리부(311)에 목걸이 줄을 걸어 간편히 휴대할 수 있다. 배액용기(200) 전면부 하단에는 수집된 삼출물 체액을 비우기 위한 배출구(212)와 마개(213)가 있다. 진공펌프모듈(300)의 케이스(310)에는 전원스위치(320)과 설정용 스위치(330) 및 표시창(340)이 설치돼 있다. 전원스위치(320)는 진공펌프모듈(300)의 전원을 켜고 작동 개시와 종료 조작을 위한 것이다. 설정스위치(330)는 작동시간과 진공압 등 작동조건을 선택 설정하는 조작을 위한 것이다. 표시창(340)은 예를 들면 내부에 장착된 LED나 LCD 등 평판표시소자의 화면이 표시되는 창으로 설정 내용과 동작 상태 등을 표시한다.
도 2를 참조하면, 배액용기(200)와 진공펌프모듈(300)의 탈착 결합을 위해, 배액용기(200)의 전면 상반부와 그 상단에 포켓부(214)와 훅(211)이 형성되었다. 포켓부(214)는 진공펌프모듈 케이스(310) 하변부와 좌우변부를 꼭맞게 수용하는 형태다. 훅(211)은 진공펌프모듈 케이스(310) 상단에 형성된 걸림턱(312)을 탄력적으로 걸어 고정한다. 포켓부(214)에는 후술하는 진공작동 체액펌프의 파일럿포트(215)와 부압감지구(216)가 있고, 이에 대응하여 진공펌프모듈 케이스(310) 후면부에 각각의 접속구(314,315)가 있다. 이들은 나중에 다시 설명될 것이다. 도 2에 있어서 부호 218은 전술한 연결도관(120) 인출구이고, 313은 배터리 덮개이다. 한편, 배액용기(200)에는 삼출물 등 체액을 공기와 분리 수집하기 위해 도 5에 나타난 바와 같이 복수의 공기구멍(217a~217c)이 전면부(210a)와 후면부(210b)에 그 위치와 방향을 달리하여 형성돼 있고, 각각에는 기액분리필터(240a~240c)이 삽입돼 있다. 이렇게 위치와 방향을 달리한 복수의 공기구멍(217a~217c)은 배액용기(200)가 크게 기울거나 심하게 흔들리는 경우에도 그 중 적어도 하나가 수집된 삼출물 등 체액에 막히지 않음으로써 삼출물 등 체액 수집작용이 원활하고, 따라서 그 휴대성이 좋아진다.
도 3을 참조하면, 진공펌프 모듈(300)의 케이스(310) 안에는 전기모터로 작동하여 진공압을 발생하는 진공펌프(330)와 함께 공기필터(340), 제1 및 제2솔레노이드밸브(350, 360), 부압감지센서(370), 홀센서(380) 등과 이들을 연결하는 공압용 배관(부호생략)이 장착된다. 진공펌프(330)의 진공압 출력포트(부호생략)는 공기필터(340)를 경유하여 후술하는 진공작동 체액펌프(400)의 파일럿포트(314)와 접속된다. 제1솔레노이드밸브(350)는 부압감지구((315)와 접속되고 전기로 작동하며 작동시 개방되는 상시 폐쇄형이다. 제2솔레노이드밸브는 파일럿포트(314)에 분기 접속되고 전기로 작동하며 작동시 개방되는 상시 폐쇄형이다. 여기서, 부압감지센서(360)는 진공작동 체액펌프(400)로부터 상기 배액용 도관(100)을 통해 인체로 전달되는 부압을 감지하는 압력 센서의 일종으로 제1솔레노이드밸브(350)를 제어하는데 참조된다. 즉, 진공작동 체액펌프(400)로부터 배액용 도관(100)을 통해 인체로 전달되는 부압을 상시 감지하여 그 부압이 과도하게 작용할 때 제1솔레노이드밸브(350)를 개방함으로써 그 과도한 부압을 대기압 상태로 즉시 소진시키는 제어가 가능하며, 이러한 제어를 통해 배액 시술 중 과도한 부압으로 인하여 인체의 상처나 수술 부위 조직이 손상되는 사고를 방지할 수 있다. 제2솔레노이드밸브(360)와 홀센서(380)는 예를 들면 진공작동 체액펌프(400)의 흡입 동작 후 배출 동작 시간을 단축시키기 위한 것으로 이에 대해서는 나중에 다시 설명될 것이다.
도 4를 참조하면, 진공작동 체액펌프(400)는 배액용기(200) 안에 장착된다. 이를 위해 배액용기(200)는 전면부(210a) 후면부(210b)로 사출성형한 후 접합하는 형태로 될 수 있다. 여기서 후면부(210b)는 내부에 수집 저장되는 삼출물 등 체액을 확인할 수 있도록 투명 또는 반투명 재질로 될 수 있다. 배액 용기(200) 안에 장착된 진공작동 체액펌프(400)는 삼출물 등 체액을 유통시킬 수 있는 흡입구(413) 및 토출구(414)를 가지다. 흡입구(413)는 전술한 연결도관(120)을 통해 배액용 도관(100)과 연결되고, 또한 별도의 분기배관(220)을 통해 전술한 부압감지구(216)와 연결된다. 토출구(414)는 배액용기(200) 안에 노출된다. 부압감지구(416)에는 삼출물 등 체액이 유출되는 것을 막기 위해 기액분리필터(230)가 삽입될 수 있다.
도 5를 참조하면, 진공작동 체액펌프(400)는 배액용기(200)의 전면에 형성한 상기 파일럿포트(215) 주위를 밀봉하여 일정크기의 공간을 형성하는 하우징(410), 그 공간을 두개의 공간으로 나누어 신축될 수 있는 다이어프램(420), 다이어프램(420)을 복귀시킬 수 있는 스프링부재(430), 전술한 홀센서(380) 감응용 자석(440), 그리고 흡입구(413) 및 토출구(414)에 삽입되어 삼출물 등 체액의 흐름을 한 방향으로 허용하고 역방향으로 차단하는 체크밸브(450,460)를 포함하는 구성으로 될 수 있다.
도 6 내지 9를 참조하면, 다이어프램(420)은 배액용기(200)의 전면부(210a)와 하우징(410) 사이에 형성된 공간을 두개의 공간, 즉 진공실(411)과 체액실(412)로 가르며, 그중 어느 한쪽을 팽창시키는 동시에 다른 쪽을 수축시키도록 신축될 수 있다. 전술한 파일럿포트(215)는 진공실(411)로 통한다. 그리고 전술한 흡입구(413) 및 토출구(414)는 체액실(412)로 통한다. 진공실(411)에 놓인 스프링부재(430)는 탄력을 보유하며, 구속되지 않으면, 초기 상태인 도 6과 같은 상태, 즉 다이어프램(420)을 체액실(412) 벽면에 밀어붙이도록 팽창하여 그 상태를 유지하며, 진공실(411)이 진공상태로 배기될 때 다이어프램(420)에 억눌려 도 7과 같은 상태로 수축하며, 수축 상태에서 진공실(411)의 진공압이 해제되면 다시 도 6의 초기 상태로 복원하도록 의도된 것이다.
다이어프램(420)에 부착된 자석(440)은 다이어프램(420)이 수축 팽창하는데 따라 전술한 홀센서(380)에 가까와지거나 멀어지는데, 홀센서(380)는 일정거리 이내로 가까워진 자석(440)에 감응하여 홀 효과에 의한 펄스 형태의 전기신호를 출력한다. 홀센서(380)의 출력은 전술한 제2솔레노이드밸브(360) 작동 신호로써 이용된다. 이러한 다이어프램(420)의 움직임 또는 진공작작동 체액펌프(400)의 작동상태를 감지하기 위해 상기 홀센서(380)와 자석(440) 외에도 근접 스위치 등 다양한 비접촉 또는 접촉 스위치나 그같은 다양한 센서가 사용될 수 있을 것이다.
진공작동 체액펌프(400)의 작동을 좀 더 자세히 설명하면, 도 6과 같은 초기 상태에서 진공펌프모듈(300)의 진공펌프(320)가 작동하여 그 진공압으로 파일럿포트(415)를 통해 진공실(411)이 배기되면, 그 진공압에 따라 다이어프램(420)이 움직이면서 진공실(411)이 점차 수축되고, 반대로 체액실(412)이 점차 팽창됨으로써 그 체액실(412)로부터 부압이 발생한다. 부압은 흡입구(413)에 연결된 배액용 도관(100)을 통해 인체로 전달되고, 그 부압에 따라 배액용 도관(100)을 통해 인체로부터 교환 전달되는 삼출물 등 체액이 흡입구(413)를 통해 체액실(412)로 흡입된다. 이렇게 점차 팽창하는 체액실(412)은 삼출물 등 체액으로 채워진다(도 7).
도 7과 같이 진공실(411)이 최소 상태로 수축되고, 체액실(412)이 최대 상태로 팽창하여 삼출물 등 체액으로 채워진 상태에서, 홀센서(380)가 근접하는 자석(420)에 감응하여 신호를 출력하면, 전술한 제2솔레노이드밸브(360)가 작동하여 파일럿포트(215)가 개방된다. 그러면 진공실(411)이 대기압 상태로 되고, 이때 스프링부재(430)의 탄력에 의해 다이어프램(420)이 도 8에 가상선으로 나타낸 바와 같이 초기 위치로 빠르게 복원되면서, 진공실(411)은 점차 팽창하고, 반대로 체액실(412)은 점차 수축된다. 그러면 체액실(412)을 채우고 있던 삼출물 등 체액이 토출구(414)를 통해 토출되어 전술한 배액용기(200)에 수집된다.
이와 같이 부압을 발생하고 삼출물 등 체액이 교환 유통하는 작용은 파일럿포트(215)에 진공압을 전달하고 소진시키는데 따라 주기적으로 반복되며, 따라서 지속적으로 삼출물 등 체액을 흡입 토출하여 수집하는 작용이 이행될 수 있다. 여기서 다이어프램(420)을 스프링부재(430)로 복원시키는 구조와 제2솔레노이드밸브(360)와 홀센서(380)를 이용한 제어는 다이어프램(420)을 빠르게 복원시킴으로써 진공작동 체액펌프(400)의 흡입 후 토출 시간을 단축시키고, 그 흡입효율을 높여주어, 전체 배액 시술 시간을 단축시키는 것은 물론 제품을 소형화하는 데에도 유리한 효과를 제공한다.
도 9는 전술한 진공펌프모듈(300)에 장착되는 제어회로 구성을 보인다. 전원용 배터리(381)는 이동식 제품의 경우 모든 형태의 1차 또는 2차 전지가 사용될 수 있다. 제어부(382)는 마이크로컴퓨터의 처리기구를 이용하여 설정부(384)에서 설정된 조건에 따라 소정의 제어프로그램을 운용하면서, 센서감지부(385) 신호에 기초하여 진공펌프와 솔레노이드 구동을 제어하고 각종 표시정보를 처리한다. 전원부(383)는 배터리(381) 전원으로부터 제어부(382) 등 회로 각부에 필요한 전력을 공급하고 관리하기 위한 것으로, 예컨대 잘 알려진 PMIC(power management IC)를 사용할 수 있다. 설정부(384)는 전술한 설정용 스위치(302)를 통해 작동시간과 부압 설정 등 진공배액시술에 필요한 조건을 직접 설정하거나 미리 정해진 작동모드를 선택하는 입력회로로써 구성될 수 있다. 센서감지부(385)는 전술한 부압감지센서(360)와 홀센서(370)가 출력하는 아날로그 신호를 제어부(382)에 필요한 디지털 데이터로 변환하는 아날로그/디지털 변환회로로써 구성될 수 있다. 진공펌프구동부(386)는 전술한 진공펌(320)의 구동전압을 단속하는 스위칭 회로로써 구성될 수 있다. 솔레노이드구동부(387)는 전술한 제1 및 제2솔레노이드밸브(340,350)의 구동전압을 단속하는 스위칭 회로로써 구성될 수 있다. 표시부(388)는 제어부(382)에서 처리된 표시정보를, 전술한 표시창(303) 안에 설치된 표시소자에 실시간으로 출력하는 출력회로로써 구성될 수 있다. 이와 같은 제어회로 각 부는 통상적인 기술 수준에서 구현될 수 있는 것이므로 더 이상이 구체적인 설명은 편의상 생략한다.
다음, 도 10은 전술한 제어회로에 의한 제어동작을 예시한 흐름도이다. 단계 S1은 작동시간과 진공압 등 동작조건을 설정하는 단계이다. 단계 S2는 진공압발생원인 진공펌프를 구동을 개시하고 그 작동시간을 계수하는 단계이다. 단계 S3 내지 S5는 전술한 부압감지센서(360)로부터 실시간으로 입력되는 신호에 기초하여 설정된 진공압과 비교하여 과도한 경우에 전술한 제1솔노이드밸브(340)를 일정시간 개방시키는 제어 과정이다. 단계 S6 및 S7은 전술한 홀센서(370)의 신호에 기초하여 전술한 제2솔레노이드밸브(350)를 일정시간 개방시키는 제어 과정이다. 단계 S8 및 S9는 전술한 배액용기(200)가 수집되는 삼출물 등 체액으로 채워졌을 때 경보 등으로 알리기 위한 과정이며, 이는 배액용기(200)에 대해 삼출물 등 체액의 수위나 무게를 감지할 수 있는 별도의 센서를 설치함으로써 가능할 것이다. 단계 S10은 누적 계수된 작동시간이 설정된 시간에 도달한 경우에 모든 동작을 마치기 위한 단계이다. 작동시간이 설정시간에 도달될 때까지 상기 단계 S3 이후의 모든 제어과정은 반복된다.
이상의 실시예를 통하여 설명된 바와 같은 이 발명의 가장 주요한 특징은 진공펌프(320)에서 발생하는 진공압을 인체에 직접 전달하지 않고, 전술한 진공작동 체액펌프(400)에서 발생하는 부압을 인체에 전달하는 새로운 간접흡입방식이라는 점이다. 진공작동 체액펌프(400)는 진공펌프(320)에 연결되는 진공실(411)과는 구분된 체액실(412)에서 부압을 발생하고 삼출물 등 체액을 유통시킨다. 따라서 삼출물 등 체액이 진공펌프(320)로 유입되는 문제를 근원적으로 해결하여 제품의 안전성을 높일 수 있는 것이다.
100: 배액용 도관, 200: 배액용기, 215: 파일럿포트, 216: 부압감지구, 217a~217c: 공기구멍, 230;240a~240c: 기액분리필터, 300: 진공펌프모듈, 320: 진공펌프, 340;350: 솔레노이드밸브, 360: 부압감지센서, 370: 홀센서, 400: 진공작동 체액펌프, 410: 하우징, 411: 진공실, 412: 체액실, 413: 흡입구, 414: 토출구, 420: 다이어프램, 430: 스프링부재, 440: 자석, 450;460: 체크밸브
Claims (7)
- 인체에 부압을 전달하고 그로부터 삼출물 등 체액을 교환 전달하는 배액용 도관, 삼출물 등 체액을 공기와 분리 수집하기 위한 적어도 하나의 공기구멍이 있는 배액용기, 전기 모터로 작동하여 진공압을 발생하는 진공펌프, 상기 배액용 도관과 배액용기를 연결하고 상기 진공펌프의 진공압으로 작동하여 부압을 발생하면서 그 배액용 도관으로부터 삼출물 등 체액을 흡입하여 그 배액용기로 토출하는 진공작동 체액펌프를 포함하여 휴대할 수 있게 구성된 것을 특징으로 하는 간접흡입방식 휴대용 흡인기.
- 청구항 1에 있어서, 상기 공기구멍이 위치와 방향을 달리한 2개소 이상에 형성된 복수로 구비되고, 그 복수의 공기구멍에 공기만 통과시키고 삼출물 등 체액을 차단하는 기액분리필터가 각각 삽입된 구성으로 된 것을 특징으로 하는 간접흡입방식 휴대용 흡인기.
- 청구항 1에 있어서, 상기 진공작동 체액펌프가 일정 크기의 공간을 형성하는 하우징, 그 공간을 두개의 공간인 진공실과 체액실로 가르며 그중 어느 한쪽을 수축시키면서 다른 쪽을 팽창시키도록 신축가능한 다이어프램을 구비하고, 상기 진공실에는 상기 진공펌프와 연결하기 위한 파일럿포트가 있고, 상기 체액실에는 상기 배액용 도관과 연결하기 위한 흡입구가 있으며, 상기 토출구에는 상기 배액용기와 연결되는 토출구가 있으며, 그 흡입구 토출구에 대하여 삼출물 등 체액의 흐름을 한 방향으로 허용하고 역방향으로 차단하는 체크밸브를 포함하여, 상기 진공펌프의 진공압을 주기적으로 발생하고 소진시켜서 삼출물 등 체액을 유통시키는 구성으로 된 것을 특징으로 하는 간접흡입방식 휴대용 흡인기.
- 청구항 3에 있어서, 상기 진공작동 체액펌프가 상기 진공실에서 상기 진공펌프의 진공압에 따라 수축하는 다이어프램에 눌려 수축된 후 그 진공압이 소진되면 복원하여 그 다이어프램을 상기 체액실로 밀어붙이는 스프링부재와, 그 다이어프램의 움직임을 감지하여 상기 파일럿포트를 대기압 상태로 개방하는 수단을 포함하여, 상기 진공작동 체액펌프가 부압 발생으로 삼출물 등 체액을 흡입한 다음, 상기 스프링부재의 복원력으로 흡입한 삼출물 등 체액을 토출하도록 제어할 수 있는 구성으로 된 것을 특징으로 하는 간접흡입방식 휴대용 흡인기.
- 청구항 1 또는 3 또는 4에 있어서, 상기 진공작동 체액펌프가 상기 배액용기에 내장되고, 상기 진공펌프가 전원을 인가하고 제어할 수 있는 회로와 함께 하나의 케이스에 장착된 모듈로서 구비되며, 그 배액용기와 진공펌프모듈이 상호 탈착가능한 형태로 함께 휴대할 수 있는 구성으로 된 것을 특징으로 하는 간접흡입방식 휴대용 흡인기.
- 청구항 1 또는 3 또는 4에 있어서, 상기 배액용 도관과 상기 진공작동 체액펌프 사이에 분기 접속되어 그 진공작동 체액펌프에서 발생하는 상기 부압을 감지하여 과도한 경우에 일시 대기압 상태로 개방하는 수단이 포함된 구성을 특징으로 하는 간접흡입방식 휴대용 흡인기.
- 청구항 4에 있어서, 상기 파일럿포트가 상기 진공펌프와 접속가능한 형태로 상기 배액용기에 형성돼 있고, 상기 진공작동 체액펌프의 하우징이 상기 배액용기 안에서 그 배액용기의 진공포트 주위를 덮어 상기 공간을 형성하는 구성으로 된 것을 특징으로 하는 간접흡입방식 휴대용 흡인기.
Applications Claiming Priority (2)
| Application Number | Priority Date | Filing Date | Title |
|---|---|---|---|
| KR1020150028739 | 2015-02-28 | ||
| KR20150028739 | 2015-02-28 |
Publications (1)
| Publication Number | Publication Date |
|---|---|
| KR20160105709A true KR20160105709A (ko) | 2016-09-07 |
Family
ID=56949864
Family Applications (1)
| Application Number | Title | Priority Date | Filing Date |
|---|---|---|---|
| KR1020150046452A Withdrawn KR20160105709A (ko) | 2015-02-28 | 2015-04-01 | 간접흡입방식 휴대용 흡인기 |
Country Status (1)
| Country | Link |
|---|---|
| KR (1) | KR20160105709A (ko) |
Cited By (3)
| Publication number | Priority date | Publication date | Assignee | Title |
|---|---|---|---|---|
| CN106267393A (zh) * | 2016-10-25 | 2017-01-04 | 温州康普特生物科技有限公司 | 伤口处理急救装置 |
| KR101940792B1 (ko) | 2018-04-24 | 2019-01-22 | 서현배 | 멀티 진공작동체액펌프의 제어방법 |
| CN109513053A (zh) * | 2018-11-13 | 2019-03-26 | 郭健 | 一种医用负压吸引器 |
Citations (10)
| Publication number | Priority date | Publication date | Assignee | Title |
|---|---|---|---|---|
| KR100509075B1 (ko) | 2001-09-24 | 2005-08-17 | 이종우 | 전기구동으로 압력조절되는 수술용 분비물 흡인장치 |
| US7004915B2 (en) | 2001-08-24 | 2006-02-28 | Kci Licensing, Inc. | Negative pressure assisted tissue treatment system |
| KR20100015999A (ko) | 2007-05-22 | 2010-02-12 | 메델라 홀딩 아게 | 배액 펌프 유닛 |
| KR100978599B1 (ko) | 2010-03-22 | 2010-08-27 | 주식회사 아이베이지디쓰리 | 휴대용 체액 배출 장치 및 그의 제어방법 |
| KR200456798Y1 (ko) | 2008-12-16 | 2011-11-21 | 메디플랜(주) | 의료용 흡인장치 |
| KR101144422B1 (ko) | 2007-05-10 | 2012-05-10 | 케이씨아이 라이센싱 인코포레이티드 | 원주형 돌출부를 갖는 상처와 접촉하는 표면을 포함하는 감압 상처 드레싱 |
| KR101198563B1 (ko) | 2006-03-14 | 2012-11-06 | 케이씨아이 라이센싱 인코포레이티드 | 유동성 매니폴드를 이용하여 감압 시술을 경피적으로 시행하기 위한 시스템 및 방법 |
| KR101212650B1 (ko) | 2012-05-31 | 2012-12-14 | 양정곤 | 데스크형 의료용 흡인장치 |
| KR101309063B1 (ko) | 2011-08-11 | 2013-09-16 | 재단법인 아산사회복지재단 | 배액주머니 및 그의 제조공정 |
| KR101497776B1 (ko) | 2008-02-29 | 2015-03-05 | 케이씨아이 라이센싱 인코포레이티드 | 삼출물 수집 장치 및 방법 |
-
2015
- 2015-04-01 KR KR1020150046452A patent/KR20160105709A/ko not_active Withdrawn
Patent Citations (10)
| Publication number | Priority date | Publication date | Assignee | Title |
|---|---|---|---|---|
| US7004915B2 (en) | 2001-08-24 | 2006-02-28 | Kci Licensing, Inc. | Negative pressure assisted tissue treatment system |
| KR100509075B1 (ko) | 2001-09-24 | 2005-08-17 | 이종우 | 전기구동으로 압력조절되는 수술용 분비물 흡인장치 |
| KR101198563B1 (ko) | 2006-03-14 | 2012-11-06 | 케이씨아이 라이센싱 인코포레이티드 | 유동성 매니폴드를 이용하여 감압 시술을 경피적으로 시행하기 위한 시스템 및 방법 |
| KR101144422B1 (ko) | 2007-05-10 | 2012-05-10 | 케이씨아이 라이센싱 인코포레이티드 | 원주형 돌출부를 갖는 상처와 접촉하는 표면을 포함하는 감압 상처 드레싱 |
| KR20100015999A (ko) | 2007-05-22 | 2010-02-12 | 메델라 홀딩 아게 | 배액 펌프 유닛 |
| KR101497776B1 (ko) | 2008-02-29 | 2015-03-05 | 케이씨아이 라이센싱 인코포레이티드 | 삼출물 수집 장치 및 방법 |
| KR200456798Y1 (ko) | 2008-12-16 | 2011-11-21 | 메디플랜(주) | 의료용 흡인장치 |
| KR100978599B1 (ko) | 2010-03-22 | 2010-08-27 | 주식회사 아이베이지디쓰리 | 휴대용 체액 배출 장치 및 그의 제어방법 |
| KR101309063B1 (ko) | 2011-08-11 | 2013-09-16 | 재단법인 아산사회복지재단 | 배액주머니 및 그의 제조공정 |
| KR101212650B1 (ko) | 2012-05-31 | 2012-12-14 | 양정곤 | 데스크형 의료용 흡인장치 |
Cited By (3)
| Publication number | Priority date | Publication date | Assignee | Title |
|---|---|---|---|---|
| CN106267393A (zh) * | 2016-10-25 | 2017-01-04 | 温州康普特生物科技有限公司 | 伤口处理急救装置 |
| KR101940792B1 (ko) | 2018-04-24 | 2019-01-22 | 서현배 | 멀티 진공작동체액펌프의 제어방법 |
| CN109513053A (zh) * | 2018-11-13 | 2019-03-26 | 郭健 | 一种医用负压吸引器 |
Similar Documents
| Publication | Publication Date | Title |
|---|---|---|
| ES2683627T3 (es) | Método de recogida y eliminación de residuos líquidos | |
| CN104826178B (zh) | 减压敷料连接垫、系统以及方法 | |
| US10076592B2 (en) | System for aspirating fluids from a body using negative pressure | |
| JP4970445B2 (ja) | 創傷カバー及び排液システム | |
| JP6026470B2 (ja) | 組織部位へ減圧治療を施すための装置および方法 | |
| CN101336117B (zh) | 抽吸系统、方法和套件 | |
| CN101378793A (zh) | 用于处理伤口的泵和系统 | |
| US20090005746A1 (en) | Suction System | |
| US20090036873A1 (en) | Device, Pump and System for Stimulating the Healing of a Wound | |
| US20090012484A1 (en) | Pump and System for Treatment of a Wound | |
| KR100978599B1 (ko) | 휴대용 체액 배출 장치 및 그의 제어방법 | |
| KR20190026858A (ko) | 가요성 부압 시스템 | |
| US20110160683A1 (en) | Device for controlling and monitoring vacuum pressure in systems for the suction of biological secretions | |
| JP2009502301A (ja) | 吸引システム、方法、及びキット | |
| JPH04507057A (ja) | 人間または動物の生体の組織または腔を連続的に灌流および排液するための装置 | |
| KR20160105709A (ko) | 간접흡입방식 휴대용 흡인기 | |
| KR20160115619A (ko) | 간접흡입방식 진공배액장치 | |
| EA038360B1 (ru) | Конструкции и способы предотвращения распространения возбудителей инфекции и улучшения электробезопасности и всасывающих характеристик медицинского аспиратора | |
| CN115006626A (zh) | 一体化低负压腹腔引流装置 | |
| KR20170040661A (ko) | 의료용 흡인기 | |
| JP5629155B2 (ja) | 陰圧治療装置 | |
| CN101227936A (zh) | 伤口封罩及排流系统 | |
| CN112516394A (zh) | 一种医用排便引流器 | |
| RU2322268C1 (ru) | Дренажное устройство и способ удаления жидкости из полости тела | |
| RU2734443C1 (ru) | Устройство для лечения инфицированных и гнойных ран |
Legal Events
| Date | Code | Title | Description |
|---|---|---|---|
| PA0109 | Patent application |
Patent event code: PA01091R01D Comment text: Patent Application Patent event date: 20150401 |
|
| PG1501 | Laying open of application | ||
| PC1203 | Withdrawal of no request for examination |