KR20160089991A - 온수량 조절가능한 무동력 온수 보일러 - Google Patents
온수량 조절가능한 무동력 온수 보일러 Download PDFInfo
- Publication number
- KR20160089991A KR20160089991A KR1020150009704A KR20150009704A KR20160089991A KR 20160089991 A KR20160089991 A KR 20160089991A KR 1020150009704 A KR1020150009704 A KR 1020150009704A KR 20150009704 A KR20150009704 A KR 20150009704A KR 20160089991 A KR20160089991 A KR 20160089991A
- Authority
- KR
- South Korea
- Prior art keywords
- hot water
- water
- heating
- steam
- boiler
- Prior art date
- Legal status (The legal status is an assumption and is not a legal conclusion. Google has not performed a legal analysis and makes no representation as to the accuracy of the status listed.)
- Withdrawn
Links
- XLYOFNOQVPJJNP-UHFFFAOYSA-N water Substances O XLYOFNOQVPJJNP-UHFFFAOYSA-N 0.000 title claims abstract description 136
- 238000010438 heat treatment Methods 0.000 title claims abstract description 57
- 239000013589 supplement Substances 0.000 claims description 11
- 239000002184 metal Substances 0.000 claims description 3
- 238000012423 maintenance Methods 0.000 abstract description 6
- 230000005611 electricity Effects 0.000 abstract description 4
- 230000001276 controlling effect Effects 0.000 description 8
- 239000008236 heating water Substances 0.000 description 8
- 230000000694 effects Effects 0.000 description 4
- 238000007710 freezing Methods 0.000 description 3
- 230000008014 freezing Effects 0.000 description 3
- 230000001105 regulatory effect Effects 0.000 description 3
- 238000010411 cooking Methods 0.000 description 2
- 230000005484 gravity Effects 0.000 description 2
- 239000000463 material Substances 0.000 description 2
- 238000005086 pumping Methods 0.000 description 2
- 208000019901 Anxiety disease Diseases 0.000 description 1
- 206010003497 Asphyxia Diseases 0.000 description 1
- LFQSCWFLJHTTHZ-UHFFFAOYSA-N Ethanol Chemical compound CCO LFQSCWFLJHTTHZ-UHFFFAOYSA-N 0.000 description 1
- 230000036506 anxiety Effects 0.000 description 1
- 238000009835 boiling Methods 0.000 description 1
- 239000003610 charcoal Substances 0.000 description 1
- 239000003245 coal Substances 0.000 description 1
- 230000005494 condensation Effects 0.000 description 1
- 238000009833 condensation Methods 0.000 description 1
- 238000010586 diagram Methods 0.000 description 1
- 238000005265 energy consumption Methods 0.000 description 1
- 239000000446 fuel Substances 0.000 description 1
- 239000007788 liquid Substances 0.000 description 1
- 238000013021 overheating Methods 0.000 description 1
- 230000002265 prevention Effects 0.000 description 1
- 230000002035 prolonged effect Effects 0.000 description 1
- 239000004449 solid propellant Substances 0.000 description 1
- 230000000153 supplemental effect Effects 0.000 description 1
- 230000009469 supplementation Effects 0.000 description 1
- 208000024891 symptom Diseases 0.000 description 1
- 238000010257 thawing Methods 0.000 description 1
- 238000010792 warming Methods 0.000 description 1
- 239000002699 waste material Substances 0.000 description 1
Images
Classifications
-
- F—MECHANICAL ENGINEERING; LIGHTING; HEATING; WEAPONS; BLASTING
- F24—HEATING; RANGES; VENTILATING
- F24H—FLUID HEATERS, e.g. WATER OR AIR HEATERS, HAVING HEAT-GENERATING MEANS, e.g. HEAT PUMPS, IN GENERAL
- F24H1/00—Water heaters, e.g. boilers, continuous-flow heaters or water-storage heaters
- F24H1/06—Portable or mobile, e.g. collapsible
-
- F—MECHANICAL ENGINEERING; LIGHTING; HEATING; WEAPONS; BLASTING
- F24—HEATING; RANGES; VENTILATING
- F24H—FLUID HEATERS, e.g. WATER OR AIR HEATERS, HAVING HEAT-GENERATING MEANS, e.g. HEAT PUMPS, IN GENERAL
- F24H1/00—Water heaters, e.g. boilers, continuous-flow heaters or water-storage heaters
- F24H1/22—Water heaters other than continuous-flow or water-storage heaters, e.g. water heaters for central heating
- F24H1/34—Water heaters other than continuous-flow or water-storage heaters, e.g. water heaters for central heating with water chamber arranged adjacent to the combustion chamber or chambers, e.g. above or at side
-
- A—HUMAN NECESSITIES
- A47—FURNITURE; DOMESTIC ARTICLES OR APPLIANCES; COFFEE MILLS; SPICE MILLS; SUCTION CLEANERS IN GENERAL
- A47C—CHAIRS; SOFAS; BEDS
- A47C21/00—Attachments for beds, e.g. sheet holders or bed-cover holders; Ventilating, cooling or heating means in connection with bedsteads or mattresses
- A47C21/04—Devices for ventilating, cooling or heating
- A47C21/048—Devices for ventilating, cooling or heating for heating
-
- F—MECHANICAL ENGINEERING; LIGHTING; HEATING; WEAPONS; BLASTING
- F24—HEATING; RANGES; VENTILATING
- F24H—FLUID HEATERS, e.g. WATER OR AIR HEATERS, HAVING HEAT-GENERATING MEANS, e.g. HEAT PUMPS, IN GENERAL
- F24H9/00—Details
- F24H9/12—Arrangements for connecting heaters to circulation pipes
- F24H9/13—Arrangements for connecting heaters to circulation pipes for water heaters
-
- F—MECHANICAL ENGINEERING; LIGHTING; HEATING; WEAPONS; BLASTING
- F24—HEATING; RANGES; VENTILATING
- F24H—FLUID HEATERS, e.g. WATER OR AIR HEATERS, HAVING HEAT-GENERATING MEANS, e.g. HEAT PUMPS, IN GENERAL
- F24H9/00—Details
- F24H9/14—Arrangements for connecting different sections, e.g. in water heaters
-
- F—MECHANICAL ENGINEERING; LIGHTING; HEATING; WEAPONS; BLASTING
- F24—HEATING; RANGES; VENTILATING
- F24H—FLUID HEATERS, e.g. WATER OR AIR HEATERS, HAVING HEAT-GENERATING MEANS, e.g. HEAT PUMPS, IN GENERAL
- F24H9/00—Details
- F24H9/20—Arrangement or mounting of control or safety devices
- F24H9/2007—Arrangement or mounting of control or safety devices for water heaters
Landscapes
- Engineering & Computer Science (AREA)
- Physics & Mathematics (AREA)
- Thermal Sciences (AREA)
- Chemical & Material Sciences (AREA)
- Combustion & Propulsion (AREA)
- Mechanical Engineering (AREA)
- General Engineering & Computer Science (AREA)
- Steam Or Hot-Water Central Heating Systems (AREA)
Abstract
본 발명은 소형 온수난방장치에 관한 것으로, 전기를 사용하지 않고 열원에 의해 온수를 지속적으로 공급하기 위한 무동력 온수 보일러 난방장치로 특히, 취침용 온수매트리스에 온수를 지속적으로 공급하기 위한 무동력 온수보일러 장치에 관한 것으로. 가열통과 보충수 물통이 분리되어 있는 형태로 서로 이격 분리 되어있어 가열통의 온도 및 압력상승에 영향을 주지 않도록 구성하며 가열에 소요되는 열원을 최소화 할 수 있는 것이 특징이다, 보충수 물통의 증기제거 모세관을 통해 가열통의 증기를 제거함으로서 매트리스에는 증기 기포를 최대한 제거한 온수를 공급할 수 있는 장치이다. 보일러내에 신축성호스로 배관과 밸브를 연결하여 유지보수 및 관리가 용이한 장점이 있는 무동력 온수보일러로 특히 가변식 수위조절장치를 통해 소형부터 대형에 이르기까지 온수량을 조절할 수 있는 온수량조절이 가능한 무동력 온수보일러이다.
Description
본 발명은 소형 온수난방장치에 관한 것으로, 전기를 사용하지 않고 열원에 의해 온수를 지속적으로 공급하기 위한 무동력 온수 보일러 난방장치로 특히, 취침용 온수매트리스에 온수를 지속적으로 공급하기 위한 무동력 온수보일러 장치에 관한 것이다.
일반적으로 휴대용 온수보일러는 전기를 사용하는 펌프식이 있으며, 전기를 사용하지 않는 보일러는 대류형보일러 방식과, 스팀보일러 방식등 다양한 형태로 제작되어 소형보일러로 제작되고 있다.
현재, 휴일 레저활동으로 캠핑이나 낚시등 야외활동이 늘어나고 있으며, 야외활동에 보온을 하기 위한 수단으로 화재위험이 적고 질식의 위험이 없는 온수매트를 이용한 보일러의 사용이 늘고 있으며, 가정에서도 보조난방 기기로 온수매트의 사용이 나날이 늘어나고 있는 실정이다. 그러나, 기존의 전기방식의 휴대용 온수보일러는 전기가 없이는 온수순환이 안되어 작동이 불가하다는 단점이 있으며. 기존의 무동력 보일러는 공급되는 온수가 가열통에서 온수매트로 직접 연결되어 있어 고온의 온수와 증기가 온수매트로 직접 유입되어 화상발생위험과 매트리스 워터햄머소음발생, 호스내부 공기로 인한 순환저하등 문제점이 발생하게 된다.
등록특허공보 제10-0874279호 5쪽 도면1에 보면, 무동력 온수난방장치의 솥과 솥뚜껑이 일체형으로 밀폐되는 결합형으로 반나사 결합구조로 되어 있으며 가열된 솥의 물이 솥내부의 압력에 의해 온수매트리스로 공급되고, 솥의 물이 모두 빠져 나가 솥 내부압력이 낮아지면 솥뚜껑의 체크밸브가 중력과 압력차에 의해 개방되어 솥뚜껑의 물이 솥으로 유입되도록 장치되어 있다.
그런데, 상기 등록특허공보 제10-0874279호 5쪽 상기 도면1에 보는바와 같이, 무동력 온수난방장치의 솥과 솥뚜껑이 일체형(솥뚜껑바닥으로 직상부에 설치)으로 결합된 형태로 게시되어 있는데, 이는 금속의 열전도에 의해 가열통의 온도가 상승함에 따라 솥뚜껑의 온도를 계속 올리게 되어 솥의 온도상승을 더디게 하며, 솥뚜껑의 온도도 동시에 상승하게되어 물이 끓으면 솥의압력과 솥뚜껑의 압력이 같아지는 현상이 발생되며, 중력으로 물이 공급되는 시스템에서도 가열통 내부의 온도와 유입되는 물의 온도차가 발생해야 진공압에 의해 원활히 물이 유입되게 되는데 가열을 계속하여 일정 시간이 지나면 솥뚜껑의 온도는 솥의 온도와 동일한 물의 끓는점까지 도달함으로 솥에 물이 유입되지 않고 고압증기가 발생하여 순환이 잘 안되는 문제점이 있다. 이는 특히 불필요한 에너지 소모를 가져오는 문제점이 있다. 그리고, 물통의 수압차를 이용 가열통(솥)의 체크밸브를 개방하도록 되어있으나 이 경우 높은 수압을 위해 물통의 크기가 커지며, 이에따른 부피 증가로 소형화 제한, 물의 사용양이 증가하는 등 야외활동에 불편한 문제점을 가지고 있다.
한편, 기존 휴대용 온수보일러는 밀폐형 구조에 부품들이 나사형으로 결속되어 있어 고장발생시 신속한 유지보수가 어려운 문제점이 있다.
또한, 기존 휴대용 온수보일러는 압력통의 압력을 제거하기 위한 안전밸브를 구비하는데 단가상승 및 무게증가의 문제점을 가지고 있다.
또한, 기존 휴대용 보일러는 압력통(솥)에 유입되는 유량을 조절하지 못하여 온수량이 일정하기 때문에 불필요한 열원의 낭비와 과열증상이 발생하게되는 문제점이 있다.
따라서, 본발명은 상기와 같은 문제점을 해결하기 위한 것으로, 각각의 가열부(솥)와 보충수통(솥뚜껑)을 별도로 분리 이격하여 가열통과 보충수통의 온도차이가 발생할 수 있게 하여 효율을 높이도록 하였으며, 보일러 부피감소 및 일정한 온수만 공급하기 위한 보충수통(솥뚜껑) 내부에 압력통의 고압의 증기를 제거하는 증기제거 모세관을 구비하여 온수는 공급되고 스팀은 액화되는 장치를 하였으며, 호스가 막히거나 폐쇄되었을 경우 가열부(솥) 내부 고압의 증기를 보충수통(솥뚜껑)으로 배출하여 안전한 사용을 하도록 하며, 유지보수를 손쉽게 하기 위해 신축호스를 사용하여 부품교체 및 정비를 할 수 있도록 하는데 그 목적이 있다.
또한, 온수량을 조절하기 위한 장치를 구비하여 난방장치의 크기에 맞는 온수량을 조절하는데 그 목적이 있다
상기의 목적을 달성하기 위한 기술적 사상으로서의 본 발명은, 가열통과 보충수통이 서로 분리 이격되어 있으며, 가열통과 보충수통은 배관으로 연결하고 보충수통 내부에 가열통의 스팀을 제거하기 위한 증기제거 모세관장치를 구비하였으며, 보충수통 내부에는 밸브류와 배관을 각각 신축성 호스로연결하였고, 온수량을 조절하기 위한 장치로 가열통에 유입되는 물의 양을 조절할 수 있는 증기제거 모세관의 높이를 조절하는 장치를 구비하여 온수량을 조절할 수 있는 온수량 조절장치를 구비한것을 특징으로 한다.
본 발명에 따른 무동력 온수 보일러는 가열통과 보충수통을 분리 이격 설치하여 가열통의 온수가 빠르게 배출되어 연료절약과 가열시간을 단축시킬 수 있는 효과가 있다.
그리고, 본 발명의 증기제거 모세관은 압력통에서 발생하는 증기를 일부 제거하여 난방장치에 최소한의 증기를 포함한 온수가 공급될 수 있도록 하여 증기 기포로 인한 소음제거 및 효율증대에 효과가 있다.
또한, 본 발명의 온수량 조절장치는 소형온수매트에서 대형온수매트까지 에너지를 효율적으로 사용할 수 있는 효과가 있다.
또한, 본 발명의 보충수통 배관부의 신축성 소재연결호스를 통해 배관의 동결로 인한 배관 및 밸브류 파손을 방지하고, 동결시 해동작업 및 부품 보수교체 등 유지관리가 용이한 효과가 있다.
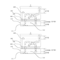
도 1은 본 발명의 온수량 조절이 가능한 무동력온수보일러 구성도.
도 2은 본 발명의 온수량 조절이 가능한 무동력온수보일러의 배관을 표시하는 측면도.
도 3은 본 발명의 온수량 조절이 가능한 무동력온수보일러 온수량 조절장치에 따른 설명도.
도 2은 본 발명의 온수량 조절이 가능한 무동력온수보일러의 배관을 표시하는 측면도.
도 3은 본 발명의 온수량 조절이 가능한 무동력온수보일러 온수량 조절장치에 따른 설명도.
이하, 본 발명에 첨부된 도면을 참조하여 본 발명의 바람직한 일실시예를 상세히 설명하기로 한다.
우선, 도면들 중, 동일한 구성요소 또는 부품들은 가능한 동일한 참조부호로 나타내고 있음에 유의하여야 한다. 본 발명을 설명함에 있어, 관련된 공지기능 혹은 구성에 대한 구체적인 설명은 본 발명의 요지를 모호하지 않기 위해 생략한다.
먼저, 도 1 내지 도 4에서 도시한 바와 같이, 본 발명의 온수보일러는 난방을 위한 온수보관을 하는 온수보일러보충수통(100)과, 열원(140)에 직접 닿아 온수를 가열하는 가열통(110)와 난방을 위한 신축성 배관으로 구성된 온수매트(200)으로 구성된다.
압력통(110)이 비어있을 경우 보충수통(100)에 물을 수위선(104)까지 보충하고 버너(140)를 점화 60초간 열을 가하고 버너(140)을 소화하면 압력통(110)에 공기가 팽창 후 응축하면서 물이 가열통 입수관으로 흘러들어가고 가열통 내부의 가열수조에 가열통수위(112)까지 물이 흘러들어 간다.
그뒤 온수매트(300)을 연결하고 열원(140)에 열을 가하면 가열통(110) 내부에 온도상승에 따라 물이 팽창하면서 가열통 출수부(111)을 거쳐 물이 올라가고 열교환배관(104)의 유로를 통과한 뒤 출수부 체크밸브(102)를 지나 온수매트(300)으로 물이 흘러 들어가게된다
이때 온수매트에 유입되는 물의 양만큼 물을 보충수통(100)에 보충해주면 이후부터는 보충이 필요없이 원활히 물이 순환되게 된다.
여기서, 온수의 반복 순환 토출과 유입의 과정을 살펴보면, 가열통(110)내부에 있던 온수가 모두 가열통 출수부(111)로 빠져나가게 되면 가열통(110) 내부에는 높은 온도의 증기만 남게 되고, 뜨거운 증기를 포함한 온수가 가열통 출수관(111)을 따라 난방장치로 들어가면 난방장치와 연결된 호스가 냉각된다, 이때 호스외부와 호스내부의 온도차가 생기고 이로 인해 호스내부의 증기는 응축한다, 이때 발생하는 응축 진공압력으로 호스내부는 진공이 발생하게 되는데 이때 입수부 체크밸브(103)는 개방되어 물이 빠른 가열통(110)내부로 유입되게된다.
이때, 1차 물이유입되어 가열통(110) 바닥면과 접촉을 하게되면 가열통(110)더 강한 진공압이 발생해 입수부 체크밸브(103)는 완전 개방되고 더 빠른 유속으로 보충수통(100)의 물이 가열통 입수관(114)을 통해 가열통(110)으로 빨려들어가게 된다.
상기 가열통(110)의 내부에 위치한 가열통 입수관 수위(104)까지 물이 차오르게 되면 지속적인 열원에 의해 다시 팽창을 하게되고 가열통 출수관(111)으로 가열된 온수가 압력에 의해 밀어내지며 온수매트로 흘러들어간다. 이때 증기제거 모세관의 현상을 보면 가열통(110)의 압력이 높을때는 가열통(110)의 증기가 증기제거 모세관을 통해 보충수통(100)으로
밀려올라가며, 이때 올라가는 증기는 저압 기포형태로 소량 배출되게 하여 가열통의 증기를 감소시키는 역할을 하게된다, 소량의 증기가 기포형태로 보충수통(100)으로 유입되면 증기는 물에 냉각되어 액체인 물로 상변화가 이루어진다.
한편, 증기제거 모세관(105)은 압력통(110)이 진공상태가 되면 보충수통(100)의 물을 압력통(110)으로 보내주는 유로가 되는데 증기제거 모세관의 높이를 조절하면 압력통의 수위를 조절할 수 있게된다.
더 자세히 살펴보면 도3, 보충수통(100)의 상부에 있는는 공기층과
증기제거 모세관(105)의 말단부 유로 입구의 높낮이에 따라 압력통(110)의 수위량이 조절되게 되는데
압력통(110)이 저압 진공상태가 되어 보충수통(100)의 물이 가열통 입수관(114)과 증기제거 모세관(105)으로 빠르게 유입될때
증기제거 모세관(105)의 높이가 높을 경우 보충수통(100)의 공기층과 증기제거 모세관(105)의 말단부 유로 입구가 접촉하게 되어
압력통(110)으로 공기가 들어가게 되고, 이때 압력통(110)의 압력은 진공이 풀리게 되어 압력통에 들어가야 할 물의 양이 줄어드게 되는 원리이다.
반대로 증기제거 모세관의 높이를 낮추게 되면 압력통의 압력은 저압이 풀릴때까지 물을 빨아들이게 되어 압력통의 내부 물의양은 더 증가하게 된다.
이러한 증기제거 모세관(105)의 높이조절을 통해 압력통의 수위를 조절하므로서 토출되는 물의 양을 조절할 수 있게되어 온수매트의 크기에 따른 조절이 가능하여 열효율 증가의 효과와 보일러 과열방지, 온수매트의 온도를 조절할 수 있게된다.
증기제거 모세관(105)은 금속 또는 호스형태 등 다양한 소재를 사용할 수 있으며, 증기제거 모세관의 고정 지지대는 다양한 형태로 적용할 수 있다.
상기 가열통의 가열에 따라 순환이 원활이 이루어지면 열원(140)의 세기를 최소화력이나 적정화력으로 조절하여 순환의 주기를 조절하여 보일러 화력을 설정한다.
또한, 가열통 출수부 토출관(111)의 배관입구와 가열통(110) 바닥면의 간격은 최대한 바닥에 가깝게 하여 가열된 고온의 온수를 1차 배출하고 온수가 모두 배출된 후 남아있는 증기를 2차 배출하도록하며, 증기제거 모세관을 통한 증기가 배출되고 남은 증기를 가열통 출수부 토출관(111)을 통해 배출되도록 한다.
또한, 보충수통(100)과 가열통(110)의 간격은 이격되어 가열통(110)의 고온의 열이 보충수통(100)의 저온의 열에 직접 간섭을 주지 않게 구성하며 이격 간격없이 서로 밀착될 경우 가열통 내의 온수발생과 증기유출 시간이 길어지고, 반대로 보충수통의 온도가 상승되어 열교환이 이루어지지 않으므로, 가열통의 재급수가 이루어지지 않게 되는 증상이 발생하므로, 이격 간격은 최대한 유지하는 것이 바람직하다.
그리고, 가열통 출수부 토출관(111)에서 출수부 체크밸브(102) 사이에는 신축성 호스(104)로 연결하여 동파방지 및 손쉬운 밸브 유지보수를 할 수 있도록 하며, 입수부체크밸브(103)도 신축성 호스(104)를 양측에 연결하여 동파방지 및 유지보수를 용이하게 할 수 있도록 한다.
본 발명의 온수량 조절이 가능한 무동력 온수보일러는 바닥면이 넓고 평평해 휴대용으로 적합한 다양한 열원을 사용할 수 있는 기능을 제공하여 주변에서 쉽게 얻을 수 있는 열원인 가스 스토브, 고체연료, 알콜, 휘발유, 석유, 화목, 숯, 석탄, 연탄, 전기스토브, 전기난로 등의 다양한 연료를 이용할 수 있다.
이러한 본 발명의 온수량 조절이 가능한 무동력 온수보일러는 전기 동력원 없이 일정한 온도의 온수를 지속적으로 공급하면서, 무엇보다 화상발생 불안과 소음없이 항상 쾌적한 난방기능을 제공하도록 한다.
100 : 온수보일러 보충수 물통
102 : 출수부 체크밸브 103 : 입수부 체크밸브
104 : 보충수 수위 105 : 증기제거 모세관
106 : 출수부 연결관 107 : 입수부 연결관
108 : 수위조절장치
110 : 온수보일러 가열통 111 : 가열통 출수관
112 : 가열통 수위 114 : 가열통 입수관
140 : 온수보일러 열원 300 : 온수매트
200 : 보충수 물통과 가열통의 공간부
102 : 출수부 체크밸브 103 : 입수부 체크밸브
104 : 보충수 수위 105 : 증기제거 모세관
106 : 출수부 연결관 107 : 입수부 연결관
108 : 수위조절장치
110 : 온수보일러 가열통 111 : 가열통 출수관
112 : 가열통 수위 114 : 가열통 입수관
140 : 온수보일러 열원 300 : 온수매트
200 : 보충수 물통과 가열통의 공간부
Claims (2)
- 온수보일러 몸체의 상부에 보충수통(100)을 구비하고 하부에 가열통(110)을 구비하고, 보충수통(100)과 가열통(110)은 서로 닿지않게 분리 이격되는 공간부(200)를 구성하고, 보일러 가열통(110)과 보충수통(100)은 서로 배관으로 연결되며, 보충수통(100) 내부에 금속으로 된 증기제거 모세관(105)을 가열통(110)상부와 관통하여 연결하고,
출수부연결관(106)에는 체크밸브(102)를 구비하고, 입수부 연결관(107)에는 체크밸브(103)를 구비하고, 증기제거모세관(105)의 높이로 수위조절이 가능한 수위조절장치(108)를 포함하는 온수량 조절이 가능한 무동력 온수보일러. - 온수보일러 몸체의 상부에 보충수통(100)을 구비하고 하부에 가열통(110)을 구비하고, 보충수통(100)과 가열통(110)은 서로 닿지않게 분리 이격되는 공간부(200)를 구성하고, 보일러 가열통(110)과 보충수통(100)은 서로 배관으로 연결되며, 보충수통(100) 내부에 신축성 호스로 된 증기제거 모세관(105)을 가열통(110)상부와 관통하여 연결하고,
출수부연결관(106)에는 체크밸브(102)를 구비하고, 입수부 연결관(107)에는 체크밸브(103)를 구비하고, 증기제거모세관(105)의 높이로 수위조절이 가능한 수위조절장치(108)를 포함하는 온수량 조절이 가능한 무동력 온수보일러.
Priority Applications (1)
| Application Number | Priority Date | Filing Date | Title |
|---|---|---|---|
| KR1020150009704A KR20160089991A (ko) | 2015-01-21 | 2015-01-21 | 온수량 조절가능한 무동력 온수 보일러 |
Applications Claiming Priority (1)
| Application Number | Priority Date | Filing Date | Title |
|---|---|---|---|
| KR1020150009704A KR20160089991A (ko) | 2015-01-21 | 2015-01-21 | 온수량 조절가능한 무동력 온수 보일러 |
Publications (1)
| Publication Number | Publication Date |
|---|---|
| KR20160089991A true KR20160089991A (ko) | 2016-07-29 |
Family
ID=56617526
Family Applications (1)
| Application Number | Title | Priority Date | Filing Date |
|---|---|---|---|
| KR1020150009704A Withdrawn KR20160089991A (ko) | 2015-01-21 | 2015-01-21 | 온수량 조절가능한 무동력 온수 보일러 |
Country Status (1)
| Country | Link |
|---|---|
| KR (1) | KR20160089991A (ko) |
Cited By (8)
| Publication number | Priority date | Publication date | Assignee | Title |
|---|---|---|---|---|
| WO2019017701A1 (ko) * | 2017-07-20 | 2019-01-24 | 장백지 | 온수 자연순환 시스템 |
| CN110542272A (zh) * | 2019-08-12 | 2019-12-06 | 深圳市均佳机电设备有限公司 | 制冷系统的热回收装置 |
| CN111427390A (zh) * | 2020-04-30 | 2020-07-17 | 中国科学院地理科学与资源研究所 | 一种分体式可变水位控制装置 |
| KR102378597B1 (ko) | 2021-01-15 | 2022-03-25 | 문제춘 | 무동력 보일러 |
| KR20220048898A (ko) * | 2020-10-13 | 2022-04-20 | 손원일 | 휴대용 온수 보일러 |
| KR20230095221A (ko) | 2021-12-22 | 2023-06-29 | 이미녀 | 휴대용 온수 보일러 및 그의 온수 순환 방법 |
| KR20240009049A (ko) | 2022-07-13 | 2024-01-22 | 경북대학교 산학협력단 | 증기압을 동력원으로 하는 온수 순환장치 |
| KR20240071567A (ko) | 2022-11-16 | 2024-05-23 | 정은혜 | 실외용 온수 매트리스의 난방장치 |
-
2015
- 2015-01-21 KR KR1020150009704A patent/KR20160089991A/ko not_active Withdrawn
Cited By (9)
| Publication number | Priority date | Publication date | Assignee | Title |
|---|---|---|---|---|
| WO2019017701A1 (ko) * | 2017-07-20 | 2019-01-24 | 장백지 | 온수 자연순환 시스템 |
| CN110542272A (zh) * | 2019-08-12 | 2019-12-06 | 深圳市均佳机电设备有限公司 | 制冷系统的热回收装置 |
| CN110542272B (zh) * | 2019-08-12 | 2021-08-06 | 深圳市均佳机电设备有限公司 | 制冷系统的热回收装置 |
| CN111427390A (zh) * | 2020-04-30 | 2020-07-17 | 中国科学院地理科学与资源研究所 | 一种分体式可变水位控制装置 |
| KR20220048898A (ko) * | 2020-10-13 | 2022-04-20 | 손원일 | 휴대용 온수 보일러 |
| KR102378597B1 (ko) | 2021-01-15 | 2022-03-25 | 문제춘 | 무동력 보일러 |
| KR20230095221A (ko) | 2021-12-22 | 2023-06-29 | 이미녀 | 휴대용 온수 보일러 및 그의 온수 순환 방법 |
| KR20240009049A (ko) | 2022-07-13 | 2024-01-22 | 경북대학교 산학협력단 | 증기압을 동력원으로 하는 온수 순환장치 |
| KR20240071567A (ko) | 2022-11-16 | 2024-05-23 | 정은혜 | 실외용 온수 매트리스의 난방장치 |
Similar Documents
| Publication | Publication Date | Title |
|---|---|---|
| KR20160089991A (ko) | 온수량 조절가능한 무동력 온수 보일러 | |
| KR101284544B1 (ko) | 중화렌지 열을 이용한 온수발생장치 | |
| KR20100114151A (ko) | 이동식 라디에이터 | |
| CN102042670B (zh) | 一种家用智能中央热水系统 | |
| KR20140091423A (ko) | 휴대용 온수보일러 | |
| KR101373830B1 (ko) | 진공압 유지와 물 보충 자동형 진공 스팀 보일러 | |
| CN115644681A (zh) | 蒸汽加热装置 | |
| KR200463198Y1 (ko) | 난로용 보일러 | |
| CN210989652U (zh) | 一种蒸箱 | |
| KR20090070462A (ko) | 열 매체유를 이용한 보일러 | |
| KR200446160Y1 (ko) | 연탄보일러의 난방/온수 자동제어시스템 | |
| CN217792587U (zh) | 一种蒸箱管路结构及其电蒸箱和电蒸烤箱 | |
| CN201748491U (zh) | 燃气灶余热热水自动装置 | |
| KR101752395B1 (ko) | 스팀과 온수 복합 보일러 | |
| KR20150134649A (ko) | 보일러겸용 난로 | |
| JP2004184000A (ja) | 温泉暖房器 | |
| KR200364727Y1 (ko) | 스팀가열식 전기보일러 | |
| CN102494406A (zh) | 一种太阳能热水系统及其水温加热方法 | |
| CN201916996U (zh) | 一种家用智能中央热水系统 | |
| CN210204448U (zh) | 一种即热式出水装置及茶吧机 | |
| KR20090098363A (ko) | 온수공급장치용 히터 구조 | |
| JP5317810B2 (ja) | 温水器 | |
| KR20160090019A (ko) | 난방장치용 무전원 무동력 온수보일러 | |
| CN219809960U (zh) | 一种太阳能燃气联动互补的供暖装置 | |
| CN221324691U (zh) | 燃气采暖装置 |
Legal Events
| Date | Code | Title | Description |
|---|---|---|---|
| PA0109 | Patent application |
Patent event code: PA01091R01D Comment text: Patent Application Patent event date: 20150121 |
|
| PG1501 | Laying open of application | ||
| PC1203 | Withdrawal of no request for examination | ||
| WITN | Application deemed withdrawn, e.g. because no request for examination was filed or no examination fee was paid |