KR20160081050A - 플로우트 볼을 갖는 일자형 배수트랩 및 이를 구비한 싱크대 - Google Patents

플로우트 볼을 갖는 일자형 배수트랩 및 이를 구비한 싱크대 Download PDF

Info

Publication number
KR20160081050A
KR20160081050A KR1020140194233A KR20140194233A KR20160081050A KR 20160081050 A KR20160081050 A KR 20160081050A KR 1020140194233 A KR1020140194233 A KR 1020140194233A KR 20140194233 A KR20140194233 A KR 20140194233A KR 20160081050 A KR20160081050 A KR 20160081050A
Authority
KR
South Korea
Prior art keywords
drain
float
sink
water
float ball
Prior art date
Legal status (The legal status is an assumption and is not a legal conclusion. Google has not performed a legal analysis and makes no representation as to the accuracy of the status listed.)
Ceased
Application number
KR1020140194233A
Other languages
English (en)
Inventor
강정호
장상찬
허재용
최인규
Original Assignee
동아대학교 산학협력단
Priority date (The priority date is an assumption and is not a legal conclusion. Google has not performed a legal analysis and makes no representation as to the accuracy of the date listed.)
Filing date
Publication date
Application filed by 동아대학교 산학협력단 filed Critical 동아대학교 산학협력단
Priority to KR1020140194233A priority Critical patent/KR20160081050A/ko
Publication of KR20160081050A publication Critical patent/KR20160081050A/ko
Ceased legal-status Critical Current

Links

Images

Classifications

    • EFIXED CONSTRUCTIONS
    • E03WATER SUPPLY; SEWERAGE
    • E03CDOMESTIC PLUMBING INSTALLATIONS FOR FRESH WATER OR WASTE WATER; SINKS
    • E03C1/00Domestic plumbing installations for fresh water or waste water; Sinks
    • E03C1/12Plumbing installations for waste water; Basins or fountains connected thereto; Sinks
    • E03C1/28Odour seals
    • E03C1/281Odour seals using other sealants than water

Landscapes

  • Engineering & Computer Science (AREA)
  • Environmental & Geological Engineering (AREA)
  • Health & Medical Sciences (AREA)
  • Life Sciences & Earth Sciences (AREA)
  • Hydrology & Water Resources (AREA)
  • Public Health (AREA)
  • Water Supply & Treatment (AREA)
  • Sink And Installation For Waste Water (AREA)

Abstract

본 발명은 플로우트 볼을 갖는 일자형 배수트랩 및 이를 구비한 싱크대에 관한 것으로, 플로우트 볼에 의해 유로를 선택적으로 개폐할 수 있도록 하여 역류하는 악취 및 유해가스는 효과적으로 차단하면서도 간결한 일자형으로 구현되기 때문에 제작 및 설치가 용이한 것이다.
이러한 본 발명은, 싱크대의 배수구에 연결된 배수관 중간에 연결되어 연통하는 연결관 본체와; 상기 연결관 본체의 상단부에 걸쳐진 링 형태로 설치되어 중앙부에 상기 배수구에서 유입된 물이 통과하는 입구를 형성하는 받침대와; 상기 받침대에 자중에 의해 안착된 상태에서 그 입구를 차단하고 있다가 상기 배수구로부터 물이 유입되면 부력에 의해 떠오르면서 상기 받침대의 입구를 개방하여 물의 배출을 허용하는 플로우트 볼을 포함하는 것을 특징으로 한다.

Description

플로우트 볼을 갖는 일자형 배수트랩 및 이를 구비한 싱크대{I TYPE DRAIN TRAP WITH FLOAT BALL AND SINK UNIT WITH THE SAME}
본 발명은 싱크대에 관한 것으로, 특히 플로우트 볼에 의해 유로를 선택적으로 개폐할 수 있도록 하여 역류하는 악취 및 유해가스는 효과적으로 차단하면서도 간결한 일자형으로 구현되기 때문에 제작 및 설치가 용이한 플로우트 볼을 갖는 일자형 배수트랩 및 이를 구비한 싱크대에 관한 것이다.
일반적으로 싱크대는 주방에 설치되는 것으로, 그릇을 세척하거나 과일이나 채소를 세척하는 등의 다용도로 사용된다.
이러한 싱크대는 그릇, 과일 및 채소 등을 세척하기 위해 물이 저장되는 공간을 갖는 일명 개수대라 불리는 세척조가 형성되며, 세척조의 하면에는 세척물을 배수시킬 수 있는 배수 홀이 형성되며, 그 배수 홀에는 배수장치가 연결되고, 상기 세척 조에는 세척 조로부터 물이 넘치는 것을 방지하는 수위조절용 배수 홀이 형성된다. 상기 배수장치는 음식물 찌꺼기를 걸러내고 오물의 배출함과 아울러 악취 역류를 차단하는 등의 역할을 한다.
도 1은 종래기술에 의한 싱크대의 배수트랩을 설명하기 위한 분해사시도이다.
도시된 바와 같이, 종래기술에 의한 싱크대는 물과 식기 등을 수납할 수 있는 수납공간을 갖는 싱크볼부(10), 싱크볼부(10) 저면 일측에 형성된 배수구(11), 배수구(11)를 덮기 위한 배수구 덮개(20), 배수구(11)를 통해 배출되는 음식물 등과 같은 이물질을 거르기 위한 걸름망(30), 배수구(11)의 하단부에 배치된 배수통(40)과, 배수통(40)의 하단부에 배치된 배수트랩(60) 등을 포함하여 구성된다.
여기서 상기 배수트랩(60)은 배수통(40)의 배수홀(41)을 통해 배출되는 물을 유입하기 위한 제 1 홀(51)과, 싱크볼부(10)의 물넘이 방지홀(12)을 통해 배출되는 물을 유입하기 위한 제 2 홀(52)과, 제 1 및 제 2 홀(51, 252)을 통해 유입된 물을 하수관으로 흘려보내기 위한 제 3 홀(53) 등이 형성된다. 배수트랩(50)의 제 1 홀(51)은 배수트랩(50)의 상단부에 형성되어 배수통(40)의 배수홀(41)과 밀착되게 연결된다. 이러한 제 1 홀(51)은 배수통(40)의 배수홀(41)을 통해 배출되는 물을 배수트랩(50) 내부로 유입시킨다. 배수트랩(50)의 제 2 홀(52)은 배수트랩(50)의 상단부에 제 1 홀(51)과 이격되게 형성되어 오버플로우 배관(60)을 통해 싱크볼부(10)의 물넘이 방지홀(12)과 연결된다. 이러한 제 2 홀(52)은 오버플로우 배관(60)을 통해 배출되는 물을 배수트랩(50) 내부로 유입시킨다. 배수트랩(50)의 제 3 홀(53)은 배수트랩(50)의 하단부에 형성되어 하수관과 연결된다. 이러한 제 3 홀(53)은 제 1 및 제 2 홀(51, 52)을 통해 유입된 물을 하수관으로 흘려보낸다.
특히, 배수트랩(50)은 배수되는 물은 흘려보내고 일정량의 물을 수납할 수 있도록 전통적인 형태인 U자 혹은 S자 형태로 구현되어 유해가스 및 악취가 역류되어 침투하는 것을 차단할 수 있었다.
그러나 이처럼 U자 혹은 S자 형태의 배수트랩은 역류하는 약취나 유해가스 등이 침투하는 것을 효과적으로 차단할 수는 있었지만 머리카락 등의 이물질이 자주 끼이므로 청소 등 유지관리가 쉽지 않고, 설치시 배수관과 연결하는 위치를 맞추기가 어려울 뿐만 설치공간의 제약으로 인해 설치 자체가 불가능한 경우도 있었다. 또한, U자 혹은 S자 형태의 배수트랩은 생산할 수 있는 재료의 특성상 부식이 잘되어서 사용기한이 짧다는 문제도 있었다.
한국등록특허공보 제1415336호(2014.06.27)
이에 본 발명은 상기와 같은 종래의 제반 문제점을 해소하기 위해 제안된 것으로, 본 발명의 목적은 플로우트 볼에 의해 유로를 선택적으로 개폐할 수 있도록 하여 역류하는 악취 및 유해가스는 효과적으로 차단하면서도 간결한 일자형으로 구현되기 때문에 제작 및 설치가 용이한 플로우트 볼을 갖는 일자형 배수트랩 및 이를 구비한 싱크대를 제공하는데 있다.
상기와 같은 목적을 달성하기 위하여 본 발명의 기술적 사상에 의한 싱크대용 배수트랩 및 이를 구비한 싱크대는, 싱크대의 배수구에 연결된 배수관 중간에 연결되어 연통하는 연결관 본체와; 상기 연결관 본체의 상단부에 걸쳐진 링 형태로 설치되어 중앙부에 상기 배수구에서 유입된 물이 통과하는 입구를 형성하는 받침대와; 상기 받침대에 자중에 의해 안착된 상태에서 그 입구를 차단하고 있다가 상기 배수구로부터 물이 유입되면 부력에 의해 떠오르면서 상기 받침대의 입구를 개방하여 물의 배출을 허용하는 플로우트 볼을 포함하는 것을 그 기술적 구성상의 특징으로 한다.
한편, 본 발명은 싱크대의 배수구에 연결된 배수관 중간에 연결되어 연통하는 연결관 본체와; 상기 연결관 본체의 내부 중간에 걸쳐진 링 형태로 설치되어 중앙부에 상기 배수구에서 유입된 물이 통과하는 입구를 형성하는 받침대와; 상기 받침대에 자중에 의해 안착된 상태에서 그 입구를 차단하고 있다가 상기 배수구로부터 물이 유입되면 부력에 의해 떠오르면서 상기 받침대의 입구를 개방하여 물의 배출을 허용하는 플로우트 볼을 포함하는 것을 기술적 구성상의 특징으로 할 수도 있다.
여기서, 상기 받침대의 입구 둘레에는 상기 플로우트 볼이 접촉하여 안착되는 안착부가 형성되되, 상기 안착부는 상광하협의 경사면으로 이루어져 상기 플로우트 볼과의 사이로 물이 유입될 수 있도록 한 것을 특징으로 할 수 있다.
또한, 상기 받침대는 상기 연결관 본체의 상단부에 하나, 상기 연결관 본체의 내부 중간에 적어도 하나씩 설치되고, 상기 플로우트 볼이 각각의 받침대에 대응하여 구비되는 것을 특징으로 할 수 있다.
본 발명에 의한 일자형 배수트랩 및 이를 구비한 싱크대는 배수시에는 배수되는 물에 의해 상승하여 배수관을 개방함으로써 배수를 허용하고, 배수되지 않는 평상시에는 자중에 의해 배수관을 폐쇄하여 역류하는 유해가스 및 악취의 침투를 효과적으로 차단하면서 간결한 일자형으로 구현되어 제작 및 설치가 용이하다.
도 1은 종래기술에 의한 싱크대의 배수트랩을 설명하기 위한 분해사시도이다.
도 2는 본 발명의 실시예에 의한 싱크대용 배수트랩의 사용상태도
도 3은 본 발명의 실시예에 의한 싱크대용 배수트랩의 구성을 설명하기 위한 분해사시도
도 4는 본 발명의 실시예에 의한 싱크대용 배수트랩의 구성을 설명하기 위한 종단면도
도 5는 본 발명의 제1변형실시예에 의한 싱크대용 배수트랩의 구성을 설명하기 위한 종단면도
도 6은 본 발명의 제2변형실시예에 의한 싱크대용 배수트랩의 구성을 설명하기 위한 종단면도
첨부한 도면을 참조하여 본 발명의 실시예들에 의한 싱크대용 배수트랩 및 이를 구비한 싱크대에 대하여 상세히 설명한다. 본 발명은 다양한 변경을 가할 수 있고 여러 가지 형태를 가질 수 있는바, 특정 실시예들을 도면에 예시하고 본문에 상세하게 설명하고자 한다. 그러나 이는 본 발명을 특정한 개시 형태에 대해 한정하려는 것이 아니며, 본 발명의 사상 및 기술범위에 포함되는 모든 변경, 균등물 내지 대체물을 포함하는 것으로 이해되어야 한다. 각 도면을 설명하면서 유사한 참조부호를 유사한 구성요소에 대해 사용하였다. 첨부된 도면에 있어서, 구조물들의 치수는 본 발명의 명확성을 기하기 위하여 실제보다 확대하거나, 개략적인 구성을 이해하기 위하여 실제보다 축소하여 도시한 것이다.
또한, 제1 및 제2 등의 용어는 다양한 구성요소들을 설명하는데 사용될 수 있지만, 상기 구성요소들은 상기 용어들에 의해 한정되어서는 안 된다. 상기 용어들은 하나의 구성요소를 다른 구성요소로부터 구별하는 목적으로만 사용된다. 예를 들어, 본 발명의 권리 범위를 벗어나지 않으면서 제1 구성요소는 제2 구성요소로 명명될 수 있고, 유사하게 제2 구성요소도 제1 구성요소로 명명될 수 있다. 한편, 다르게 정의되지 않는 한, 기술적이거나 과학적인 용어를 포함해서 여기서 사용되는 모든 용어들은 본 발명이 속하는 기술분야에서 통상의 지식을 가진 자에 의해 일반적으로 이해되는 것과 동일한 의미를 가지고 있다. 일반적으로 사용되는 사전에 정의되어 있는 것과 같은 용어들은 관련 기술의 문맥 상 가지는 의미와 일치하는 의미를 가지는 것으로 해석되어야 하며, 본 출원에서 명백하게 정의하지 않는 한, 이상적이거나 과도하게 형식적인 의미로 해석되지 않는다.
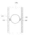
도 2는 본 발명의 실시예에 의한 싱크대용 배수트랩의 사용상태도이다.
도시된 바와 같이, 본 발명의 실시예에 의한 싱크대용 배수트랩(100)은 싱크대(S)의 배수구와 연결된 배수관 중간에 설치되며 플로우트 볼에 의해 역류하는 악취나 오염된 가스를 차단할 수 있도록 하여 U자형이나 S자형의 배관을 사용하지 않고 배수관과 동일선상에 간편히 연결되는 일자형으로 구성된다.
이하, 본 발명의 실시예에 의한 싱크대용 배수트랩에 대해 상세히 설명한다.
도 3은 본 발명의 실시예에 의한 싱크대용 배수트랩의 구성을 설명하기 위한 분해사시도이고, 도 4는 본 발명의 실시예에 의한 싱크대용 배수트랩의 구성을 설명하기 위한 종단면도이다.
도시된 바와 같이, 본 발명의 실시예에 의한 싱크대용 배수트랩은 배수관 중간에 연결되는 연결관 본체(110)와, 플로우트 볼(130)을 받치기 위한 받침대(120), 역류하는 악취 및 유해가스를 차단하는 핵심적인 기능을 하는 플로우트 볼(130)을 포함하여 구성된다.
이같은 플로우트 볼(130)에 의해 배수는 허용하고 평상시에는 역류하는 악취 및 오염된 가스를 효과적으로 차단할 수 있도록 함으로써 U자형이나 S자형의 배관을 사용하지 않으면서 전체적인 형태를 일자형으로 구성하는 것이 가능해진다. 이에 따라 제작이 용이하고 설치공간을 극소화할 수 있으며 배수관에 간단히 연결하는 방식으로 설치할 수 있게 된다.
아래에서는 상기 각 구성요소들을 중심으로 보다 상세히 설명하기로 한다.
상기 연결관 본체(110)는 내부에 길이방향(상하방향)을 따라 유로가 형성된 일자형 중공관으로서 싱크대의 배수구에 연결되어 있는 배수관의 중간에 연결되어 연통된다. 이를 위해 상기 연결관 본체(110)의 상단부와 하단부 외주면을 탭핑(tapping)하여 나선을 형성시킨 후 역시 탭핑하여 대응하는 나선을 형성시킨 배수관과 나사결합시켜준다.
상기 받침대(120)는 상기 연결관 본체(110)의 상단부에 걸쳐진 링 형태로 설치되어 중앙부에 상기 배수구에서 유입된 물이 통과하는 입구(121)를 형성한다. 상기 받침대(120)는 입구(121) 둘레에 상기 플로우트 볼(130)이 접촉하여 안착되는 안착부(121a)가 형성되며, 상기 안착부(121a)는 상광하협의 경사면으로 이루어져 상기 플로우트 볼(130)과의 사이로 물이 유입될 수 있도록 해준다. 도 4를 참조하면 상기 받침대(120)의 안착부(121a) 상단과 안착된 상태의 플로우트 볼(130)과의 사이로 물이 유입될 수 있는 틈새공간이 형성되어 있음을 볼 수 있다. 이같은 구성에 따르면 싱크대의 배수구를 빠져나온 물이 상기 틈새공간을 포함하여 안착된 상태의 플로우트 볼(130)을 완전히 덮어주면 상기 플로우트 볼(130)에 의해 배제된 체적으로 인해 부력이 형성되면서 플로우트 볼(130)이 상승하여 배수가 이루어진다. 반면에 상기 싱크대의 배수구를 빠져나온 물이 상기 플로우트 볼(130)을 완전히 덮지 못할 정도로 수위가 줄어들면 상기 플로우트 볼(130)이 자중에 의해 하강하여 상기 받침대(120)에 안착된 상태로 그 입구(121)를 폐쇄하게 된다.
상기 플로우트 볼(130)은 본 발명의 실시예에서 가장 핵심적인 구성요소라 할 수 있는데, 상기 받침대(120)에 자중에 의해 안착된 상태에서 그 입구(121)를 차단하고 있다가 상기 배수구로부터 물이 유입되어 일정 수위 이상이 되면(물에 의해 완전히 덮일 정도의 수위가 적당) 부력에 의해 떠오르면서 상기 받침대(120)의 입구(121)를 개방하여 물의 배출을 허용하게 된다. 상기 플로우트 볼(130)의 소재는 물보다 비중이 낮은 것으로 하면 충분히 그 기능을 발휘할 수 잇는데, 바람직하게는 상기 플로우트 볼(130)이 상기 안착대에 인입된 부위를 제외한 체적만으로 물에 뜰 수 있는 정도의 소재이면서 너무 가볍지는 않은 것을 마련된다.
도 5는 본 발명의 제1변형실시예에 의한 싱크대용 배수트랩의 구성을 설명하기 위한 종단면도이다.
도시된 바와 같이, 본 발명의 제1변형실시예에 의한 싱크대용 배수트랩은 변형전과 달리 받침대(120)가 연결관 본체(110)의 상단부가 아닌 내부 중간에 걸쳐진 링 형태로 설치된 것을 특징으로 한다. 이를 위해 상기 받침대(120)의 크기가 상기 연결관 본체(110)의 내부로 삽입된 받침대(120) 내부에 형성된 중간턱(111)에 걸쳐질 수 있는 정도로 형성되면 된다.
이같은 제1변형실시예에서도 플로우트 볼(130)이 자중에 의해 상기 받침대(120)에 안착된 상태로 입구(121)를 차단하여 역류하는 악취 및 오염가스를 차단하다가 배수구로부터 물이 유입되면 부력에 의해 떠오르면서 상기 받침대(120)의 입구(121)를 개방하여 물의 배출을 허용하게 된다.
도 6은 본 발명의 제2변형실시예에 의한 싱크대용 배수트랩의 구성을 설명하기 위한 종단면도이다.
도시된 바와 같이, 본 발명의 제2변형실시예에 의한 싱크대용 배수트랩은 받침대(120)가 연결관 본체(110)의 상단부에 하나, 연결관 본체(110)의 내부 중간에 적어도 하나씩 설치되고, 상기 플로우트 볼(130)이 각각의 받침대(120)에 구비되는 것을 특징으로 한다.
이같은 제2변형실시예는 변형 전 실시예에 의한 구성과 제1변형실시예에 의한 구성이 복합된 것으로, 복수의 플로우트 볼(130)이 동작하면서 역류하는 악취 및 오염가스를 보다 효과적으로 차단할 수 있는 장점이 있다.
이상에서 본 발명의 바람직한 실시예를 설명하였으나, 본 발명은 다양한 변화와 변경 및 균등물을 사용할 수 있다. 본 발명은 상기 실시예를 적절히 변형하여 동일하게 응용할 수 있음이 명확하다. 따라서 상기 기재 내용은 하기 특허청구범위의 한계에 의해 정해지는 본 발명의 범위를 한정하는 것이 아니다.
110 : 연결관 본체 111 : 중간턱
120 : 받침대 121 : 입구
121a : 안착부 130 : 플로우트 볼

Claims (5)

  1. 싱크대에 있어서,
    싱크대의 배수구에 연결된 배수관 중간에 연결되어 연통하는 연결관 본체와;
    상기 연결관 본체의 상단부에 걸쳐진 링 형태로 설치되어 중앙부에 상기 배수구에서 유입된 물이 통과하는 입구를 형성하는 받침대와;
    상기 받침대에 자중에 의해 안착된 상태에서 그 입구를 차단하고 있다가 상기 배수구로부터 물이 유입되면 부력에 의해 떠오르면서 상기 받침대의 입구를 개방하여 물의 배출을 허용하는 플로우트 볼을 포함하는 것을 특징으로 하는 싱크대용 배수트랩.
  2. 싱크대에 있어서,
    싱크대의 배수구에 연결된 배수관 중간에 연결되어 연통하는 연결관 본체와;
    상기 연결관 본체의 내부 중간에 걸쳐진 링 형태로 설치되어 중앙부에 상기 배수구에서 유입된 물이 통과하는 입구를 형성하는 받침대와;
    상기 받침대에 자중에 의해 안착된 상태에서 그 입구를 차단하고 있다가 상기 배수구로부터 물이 유입되면 부력에 의해 떠오르면서 상기 받침대의 입구를 개방하여 물의 배출을 허용하는 플로우트 볼을 포함하는 것을 특징으로 하는 싱크대용 배수트랩.
  3. 제1항 또는 제2항에 있어서,
    상기 받침대의 입구 둘레에는 상기 플로우트 볼이 접촉하여 안착되는 안착부가 형성되되, 상기 안착부는 상광하협의 경사면으로 이루어져 상기 플로우트 볼과의 사이로 물이 유입될 수 있도록 한 것을 특징으로 하는 싱크대용 배수트랩.
  4. 제3항에 있어서,
    상기 받침대는 상기 연결관 본체의 상단부에 하나, 상기 연결관 본체의 내부 중간에 적어도 하나씩 설치되고, 상기 플로우트 볼이 각각의 받침대에 대응하여 구비되는 것을 특징으로 하는 싱크대용 배수트랩.
  5. 제1항 또는 제2항의 싱크대용 배수트랩을 구비하는 것을 특징으로 하는 싱크대.
KR1020140194233A 2014-12-30 2014-12-30 플로우트 볼을 갖는 일자형 배수트랩 및 이를 구비한 싱크대 Ceased KR20160081050A (ko)

Priority Applications (1)

Application Number Priority Date Filing Date Title
KR1020140194233A KR20160081050A (ko) 2014-12-30 2014-12-30 플로우트 볼을 갖는 일자형 배수트랩 및 이를 구비한 싱크대

Applications Claiming Priority (1)

Application Number Priority Date Filing Date Title
KR1020140194233A KR20160081050A (ko) 2014-12-30 2014-12-30 플로우트 볼을 갖는 일자형 배수트랩 및 이를 구비한 싱크대

Publications (1)

Publication Number Publication Date
KR20160081050A true KR20160081050A (ko) 2016-07-08

Family

ID=56503348

Family Applications (1)

Application Number Title Priority Date Filing Date
KR1020140194233A Ceased KR20160081050A (ko) 2014-12-30 2014-12-30 플로우트 볼을 갖는 일자형 배수트랩 및 이를 구비한 싱크대

Country Status (1)

Country Link
KR (1) KR20160081050A (ko)

Cited By (3)

* Cited by examiner, † Cited by third party
Publication number Priority date Publication date Assignee Title
CN108755914A (zh) * 2018-07-18 2018-11-06 山西桐鑫宇环保设备有限公司 分体漂浮式大流量防溢排堵地漏
CN110409638A (zh) * 2019-08-15 2019-11-05 深圳华加日幕墙科技有限公司 单向排水结构及建筑构件
CN112524283A (zh) * 2020-11-26 2021-03-19 杭州神林电子有限公司 一种水路切换浮球阀

Citations (1)

* Cited by examiner, † Cited by third party
Publication number Priority date Publication date Assignee Title
KR101415336B1 (ko) 2014-04-02 2014-07-04 서재식 배수트랩

Patent Citations (1)

* Cited by examiner, † Cited by third party
Publication number Priority date Publication date Assignee Title
KR101415336B1 (ko) 2014-04-02 2014-07-04 서재식 배수트랩

Cited By (4)

* Cited by examiner, † Cited by third party
Publication number Priority date Publication date Assignee Title
CN108755914A (zh) * 2018-07-18 2018-11-06 山西桐鑫宇环保设备有限公司 分体漂浮式大流量防溢排堵地漏
CN110409638A (zh) * 2019-08-15 2019-11-05 深圳华加日幕墙科技有限公司 单向排水结构及建筑构件
CN110409638B (zh) * 2019-08-15 2024-02-27 深圳广晟幕墙科技有限公司 单向排水结构及建筑构件
CN112524283A (zh) * 2020-11-26 2021-03-19 杭州神林电子有限公司 一种水路切换浮球阀

Similar Documents

Publication Publication Date Title
JP5597831B2 (ja) 排水機器の排水配管、及び排水トラップ
JP5352782B2 (ja) 排水トラップ
KR101757620B1 (ko) 악취 역류방지용 배수트랩
KR20090036931A (ko) 배수트랩
JP2009114814A (ja) 浴室排水装置
KR20160081050A (ko) 플로우트 볼을 갖는 일자형 배수트랩 및 이를 구비한 싱크대
KR20170064307A (ko) 악취차단 기능을 가지는 실내용 배수트랩
KR101479418B1 (ko) 역류성 악취 차단장치
KR20100005037U (ko) 연결소켓 겸용 배수트랩
KR100756933B1 (ko) 배수구의 냄새 차단 장치
CN102966171A (zh) 一种卫生地漏
JP4797205B2 (ja) 排水トラップ
JP6326578B2 (ja) 排水部材
KR200463865Y1 (ko) 악취방지트랩
KR101101235B1 (ko) 악취역류방지장치
KR200239577Y1 (ko) 하수관용 역류방지구
KR20110007997U (ko) 세면대용 배수트랩
JP4277083B2 (ja) 排水装置
JP4417280B2 (ja) 排水ドレン設備
CN111155606A (zh) 一种带有主副止回阀的新型下水管道
KR101382520B1 (ko) 수세식 변기의 절수장치
KR20140036804A (ko) 부력을 이용한 악취 역류 방지 장치
JP6040354B2 (ja) 排水装置
CN212388688U (zh) 一种防臭防溢水装置
JP2009167591A (ja) 排水トラップ

Legal Events

Date Code Title Description
PA0109 Patent application

Patent event code: PA01091R01D

Comment text: Patent Application

Patent event date: 20141230

A201 Request for examination
PA0201 Request for examination

Patent event code: PA02012R01D

Patent event date: 20150420

Comment text: Request for Examination of Application

Patent event code: PA02011R01I

Patent event date: 20141230

Comment text: Patent Application

E902 Notification of reason for refusal
PE0902 Notice of grounds for rejection

Comment text: Notification of reason for refusal

Patent event date: 20160609

Patent event code: PE09021S01D

PG1501 Laying open of application
E601 Decision to refuse application
PE0601 Decision on rejection of patent

Patent event date: 20161110

Comment text: Decision to Refuse Application

Patent event code: PE06012S01D

Patent event date: 20160609

Comment text: Notification of reason for refusal

Patent event code: PE06011S01I