KR20160076029A - 부시 및 그 제조 방법 - Google Patents

부시 및 그 제조 방법 Download PDF

Info

Publication number
KR20160076029A
KR20160076029A KR1020140185201A KR20140185201A KR20160076029A KR 20160076029 A KR20160076029 A KR 20160076029A KR 1020140185201 A KR1020140185201 A KR 1020140185201A KR 20140185201 A KR20140185201 A KR 20140185201A KR 20160076029 A KR20160076029 A KR 20160076029A
Authority
KR
South Korea
Prior art keywords
insert
pipe
center pipe
inner sheet
lubricant
Prior art date
Legal status (The legal status is an assumption and is not a legal conclusion. Google has not performed a legal analysis and makes no representation as to the accuracy of the status listed.)
Granted
Application number
KR1020140185201A
Other languages
English (en)
Other versions
KR101657133B1 (ko
Inventor
김상환
김성록
김영기
송교문
Original Assignee
주식회사 센트랄
Priority date (The priority date is an assumption and is not a legal conclusion. Google has not performed a legal analysis and makes no representation as to the accuracy of the date listed.)
Filing date
Publication date
Application filed by 주식회사 센트랄 filed Critical 주식회사 센트랄
Priority to KR1020140185201A priority Critical patent/KR101657133B1/ko
Publication of KR20160076029A publication Critical patent/KR20160076029A/ko
Application granted granted Critical
Publication of KR101657133B1 publication Critical patent/KR101657133B1/ko
Active legal-status Critical Current
Anticipated expiration legal-status Critical

Links

Images

Classifications

    • FMECHANICAL ENGINEERING; LIGHTING; HEATING; WEAPONS; BLASTING
    • F16ENGINEERING ELEMENTS AND UNITS; GENERAL MEASURES FOR PRODUCING AND MAINTAINING EFFECTIVE FUNCTIONING OF MACHINES OR INSTALLATIONS; THERMAL INSULATION IN GENERAL
    • F16FSPRINGS; SHOCK-ABSORBERS; MEANS FOR DAMPING VIBRATION
    • F16F1/00Springs
    • F16F1/36Springs made of rubber or other material having high internal friction, e.g. thermoplastic elastomers
    • F16F1/38Springs made of rubber or other material having high internal friction, e.g. thermoplastic elastomers with a sleeve of elastic material between a rigid outer sleeve and a rigid inner sleeve or pin, i.e. bushing-type
    • F16F1/3842Method of assembly, production or treatment; Mounting thereof
    • BPERFORMING OPERATIONS; TRANSPORTING
    • B60VEHICLES IN GENERAL
    • B60GVEHICLE SUSPENSION ARRANGEMENTS
    • B60G7/00Pivoted suspension arms; Accessories thereof
    • B60G7/04Buffer means for limiting movement of arms
    • BPERFORMING OPERATIONS; TRANSPORTING
    • B29WORKING OF PLASTICS; WORKING OF SUBSTANCES IN A PLASTIC STATE IN GENERAL
    • B29CSHAPING OR JOINING OF PLASTICS; SHAPING OF MATERIAL IN A PLASTIC STATE, NOT OTHERWISE PROVIDED FOR; AFTER-TREATMENT OF THE SHAPED PRODUCTS, e.g. REPAIRING
    • B29C45/00Injection moulding, i.e. forcing the required volume of moulding material through a nozzle into a closed mould; Apparatus therefor
    • B29C45/14Injection moulding, i.e. forcing the required volume of moulding material through a nozzle into a closed mould; Apparatus therefor incorporating preformed parts or layers, e.g. injection moulding around inserts or for coating articles
    • FMECHANICAL ENGINEERING; LIGHTING; HEATING; WEAPONS; BLASTING
    • F16ENGINEERING ELEMENTS AND UNITS; GENERAL MEASURES FOR PRODUCING AND MAINTAINING EFFECTIVE FUNCTIONING OF MACHINES OR INSTALLATIONS; THERMAL INSULATION IN GENERAL
    • F16FSPRINGS; SHOCK-ABSORBERS; MEANS FOR DAMPING VIBRATION
    • F16F1/00Springs
    • F16F1/36Springs made of rubber or other material having high internal friction, e.g. thermoplastic elastomers
    • F16F1/38Springs made of rubber or other material having high internal friction, e.g. thermoplastic elastomers with a sleeve of elastic material between a rigid outer sleeve and a rigid inner sleeve or pin, i.e. bushing-type
    • FMECHANICAL ENGINEERING; LIGHTING; HEATING; WEAPONS; BLASTING
    • F16ENGINEERING ELEMENTS AND UNITS; GENERAL MEASURES FOR PRODUCING AND MAINTAINING EFFECTIVE FUNCTIONING OF MACHINES OR INSTALLATIONS; THERMAL INSULATION IN GENERAL
    • F16FSPRINGS; SHOCK-ABSORBERS; MEANS FOR DAMPING VIBRATION
    • F16F13/00Units comprising springs of the non-fluid type as well as vibration-dampers, shock-absorbers, or fluid springs
    • F16F13/04Units comprising springs of the non-fluid type as well as vibration-dampers, shock-absorbers, or fluid springs comprising both a plastics spring and a damper, e.g. a friction damper
    • F16F13/06Units comprising springs of the non-fluid type as well as vibration-dampers, shock-absorbers, or fluid springs comprising both a plastics spring and a damper, e.g. a friction damper the damper being a fluid damper, e.g. the plastics spring not forming a part of the wall of the fluid chamber of the damper
    • F16F13/08Units comprising springs of the non-fluid type as well as vibration-dampers, shock-absorbers, or fluid springs comprising both a plastics spring and a damper, e.g. a friction damper the damper being a fluid damper, e.g. the plastics spring not forming a part of the wall of the fluid chamber of the damper the plastics spring forming at least a part of the wall of the fluid chamber of the damper
    • F16F13/14Units of the bushing type, i.e. loaded predominantly radially
    • FMECHANICAL ENGINEERING; LIGHTING; HEATING; WEAPONS; BLASTING
    • F16ENGINEERING ELEMENTS AND UNITS; GENERAL MEASURES FOR PRODUCING AND MAINTAINING EFFECTIVE FUNCTIONING OF MACHINES OR INSTALLATIONS; THERMAL INSULATION IN GENERAL
    • F16FSPRINGS; SHOCK-ABSORBERS; MEANS FOR DAMPING VIBRATION
    • F16F2230/00Purpose; Design features
    • F16F2230/02Surface features, e.g. notches or protuberances

Landscapes

  • Engineering & Computer Science (AREA)
  • General Engineering & Computer Science (AREA)
  • Mechanical Engineering (AREA)
  • Manufacturing & Machinery (AREA)
  • Injection Moulding Of Plastics Or The Like (AREA)
  • Springs (AREA)

Abstract

본 발명은 부품의 구성과 제조 공정을 단순화함과 아울러 부품의 내구성과 완충 성능을 향상시킨 부시 및 그 제조 방법을 제공함에 그 목적이 있다.
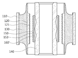
이를 구현하기 위한 본 발명의 부시(100)는, 아우터 파이프(110); 상기 아우터 파이프(110)의 내측에 구비되는 센터 파이프(120); 상기 아우터 파이프(110)의 내측면과 상기 센터 파이프(120)의 외측면 사이에 사출 성형된 완충부재(130); 상기 센터 파이프(120)의 내측에 구비되고, 외측면에는 굴곡부(142)가 형성된 인서트(140); 상기 굴곡부(142)와 대응되는 굴곡된 형상을 포함하고, 상기 굴곡부(142)를 둘러싸며 상기 인서트(140)의 외측면에 구비되는 이너 시트(150); 상기 이너 시트(150)의 내측면과 상기 인서트(140)의 외측면 사이에 윤활제가 충진되어 형성된 윤활막(160); 및 상기 센터 파이프(120)의 내측면과 상기 이너 시트(150)의 외측면 사이에 사출 성형된 플라스틱 사출물(170)을 포함한다.

Description

부시 및 그 제조 방법{Bush and Method for manufacturing the bush}
본 발명은 차체와 현가장치 부품의 연결부에 구비되어 진동 및 충격을 완화하는 부시 및 그 제조 방법에 관한 것으로서, 더욱 상세하게는 부품의 구성과 제조 공정을 단순화하여 제조 원가를 절감하는 동시에 부품의 내구성과 완충 성능을 향상시킨 부시 및 그 제조 방법에 관한 것이다.
일반적으로 부시(Bush)는 자동차의 차체와 현가장치 부품의 연결부에 구비되어, 노면으로부터 전달되는 충격과 진동을 흡수하여 승차감을 향상시키기 위한 용도로 사용된다.
이러한 부시와 관련된 선행기술로, 종래에는 원통형의 아우터 파이프(Outer pipe)와 그 내부에 위치하는 이너 파이프(Inner pipe) 사이에 완충 작용을 수행하는 러버(Rubber, 고무)가 형성된 러버 부시가 사용되었다. 상기 러버는 아우터 파이프와 이너 파이프에 접합되어 있어, 상기 아우터 파이프와 연결되는 부품과 상기 이너 파이프와 연결되는 부품 사이에서 파이프의 길이방향과 가로방향의 진동 및 충격을 감쇄하는 기능을 수행한다.
그러나, 이러한 종래의 러버 부시는 러버 재질의 특성상 지속적인 진동 및 충격에 의해 비틀림이 발생하여 변형이 큰 부위가 파손되어 내구성이 저하되거나 그 파손된 부분에 노이즈가 발생하는 문제점이 있으며, 이러한 문제는 결국 차량의 승차감에 나쁜 영향을 미치게 된다.
이와 같은 러버 부시의 문제점을 해결하기 위하여, 이너 파이프와 아우터 파이프가 그 중심축을 기준으로 하여 상대 회전 가능한 기능을 부가한 필로우 볼 부시(Pillow Ball Bush) 등이 개발되었다. 이러한 필로우 볼 부시의 구성은 등록특허 제10-1322426호 등에 나타나 있다. 그러나, 이는 사출방식이 아니고 여러 부속품들의 조립체로서 그 구조와 제조공정이 복잡하고 제조 비용이 고가인 단점이 있다.
이러한 필로우 볼 부시(Pillow Ball Bush)의 구성이 복잡하고 제조 비용이 고가인 문제점을 해결하기 위한 선행기술로, 도 1은 등록특허 제10-1378149호에 개시된 슬라이드 부시의 구성을 나타낸 단면도이다.
상기 슬라이드 부시(70)는, 하우징(20), 상기 하우징(20)의 내부에 설치되는 이너 바디(30), 상기 이너 바디(30)를 둘러싸면서 인서트 사출 성형에 의해 형성되며, 상기 이너 바디(30)의 길이방향(Q) 또는 가로방향(P) 움직임에 대해 상기 이너 바디(30)와 함께 움직이는 사출성형물(40), 상기 사출성형물(40)과 하우징(20) 사이에 개재되어 상기 하우징(20)에 대하여 상기 이너바디(30)의 길이방향(Q) 또는 가로방향(P) 움직임을 완충하는 완충부재(50), 및 상기 사출성형물(40)과 이너 바디(30) 사이에 개재되어 사출성형물(40)의 인서트 사출성형 시 이너 바디(30)와 사출성형물(40)이 접착되는 것을 방지하며, 사출형성 후에 이너 바디(30)가 사출성형물(40) 내에서 상대 회전하도록 하기 위한 윤활막(60), 상기 사출성형물(40)과 완충부재(50) 사이와, 상기 완충부재(50)와 하우징(20) 사이에 개재되어 상기 완충부재(50)와 사출성형물(40) 및 상기 완충부재(50)와 하우징(20) 간의 접착력을 높이는 접착제층(61)을 포함하여 구성되어 있다.
이와 같은 슬라이드 부시(70)의 구성에 의하면, 이너 바디(30)를 둘러싼 사출성형물(40)을 구비하여 회전방향(R)에 대한 자유도를 부여하여 완충부재(50)의 비틀림 발생을 제거함으로써 장치의 내구성과 승차감을 향상시키고, 회전방향(R)에 대한 자유도를 부여하기 위한 구성으로 윤활막(60)과 사출방식에 의한 사출성형물(40)을 채용하여 종래 필로우 볼 부시와 비교하여 그 구성을 간소화 한 장점이 있다.
그러나, 상기한 슬라이드 부시(70)는, 플라스틱 재질의 사출성형물(40)의 외측면에 고무 재질의 완충부재(50)를 고무 가류 공정에 의해 성형하도록 구성되어 있는데, 일반적으로 상기 고무 가류 공정은 160℃의 고온에서 약 7분 동안 수행되므로, 고무 가류 공정에서 고무 가류 용융물의 높은 온도와 압력에 직접 노출되는 플라스틱 재질로 구성된 사출성형물(40)이 변형 및 파손됨에 따라 윤활막(60)에 충진된 윤활제가 누출되어 부시의 오작동이 유발될 수 있는 문제점이 있다.
또한, 상기 완충부재(50)의 내측면은 플라스틱 재질의 사출성형물(40)에 의해 지지되는 구조이므로, 노면으로부터 큰 진동과 충격이 작용할 경우에는 사출성형물(40)이 완충부재(50)를 견고하게 지지하지 못하고 변형되어 완충부재(50)의 비틀림에 의한 파손이 발생할 수 있는 문제점이 있다.
또한, 사출성형물(40)의 사출 성형 시, 이너 바디(30)와 사출성형물(40)이 접합되는 것을 방지하기 위하여 이너 바디(30)의 외측면에 윤활막(60)을 형성한 후에 사출 성형 공정을 수행하게 되는데, 이 경우 윤활막(60)을 이너 바디(30)의 외측면에 균일한 두께로 형성하기 어렵고, 윤활막(60)이 균일하게 형성되지 않을 경우에는 사출용융물이 이너 바디(30)의 외측면에 접착될 우려가 있으며, 사출성형물(40)의 내측면을 전체적으로 매끄럽게 성형하기가 용이하지 않아 이너 바디(30)와 사출성형물(40) 간의 상대 회전 시 하중을 균일하게 지지하지 못하고 응력이 일부분에 집중될 수 있어 제품의 완충 성능이 저하되는 문제점이 있다.
본 발명은 상기와 같은 문제점을 해결하기 위하여 안출된 것으로서, 부품의 구성과 제조 공정을 단순화함과 아울러 부품의 내구성과 완충 성능을 향상시킨 부시 및 그 제조 방법을 제공함에 그 목적이 있다.
상술한 바와 같은 목적을 구현하기 위한 본 발명의 부시(100)는, 아우터 파이프(110); 상기 아우터 파이프(110)의 내측에 구비되는 센터 파이프(120); 상기 아우터 파이프(110)의 내측면과 상기 센터 파이프(120)의 외측면 사이에 사출 성형된 완충부재(130); 상기 센터 파이프(120)의 내측에 구비되고, 외측면에는 굴곡부(142)가 형성된 인서트(140); 상기 굴곡부(142)와 대응되는 굴곡된 형상을 포함하고, 상기 굴곡부(142)를 둘러싸며 상기 인서트(140)의 외측면에 구비되는 이너 시트(150); 상기 이너 시트(150)의 내측면과 상기 인서트(140)의 외측면 사이에 윤활제가 충진되어 형성된 윤활막(160); 및 상기 센터 파이프(120)의 내측면과 상기 이너 시트(150)의 외측면 사이에 사출 성형된 플라스틱 사출물(170)을 포함한다.
상기 플라스틱 사출물(170)에는 상기 이너 시트(150)의 양단과 상기 인서트(140)의 외측면 사이의 틈새를 밀폐하여 상기 윤활제의 누설을 방지하기 위한 오일씰(180)이 결합될 수 있다.
상기 이너 시트(150)의 외측면에는 요철부(153)가 형성되고, 상기 플라스틱 사출물(170)의 내측면은 상기 요철부(153)와 대응되는 형상으로 사출 성형된 것으로 구성될 수 있다.
상기 센터 파이프(120)의 내측면에는 널링 또는 왕복 나선 형상의 거칠기 부여면(121)이 형성되고, 상기 플라스틱 사출물(170)의 외측면은 상기 거칠기 부여면(121)과 대응되는 형상으로 사출 성형된 것으로 구성될 수 있다.
상기 이너 시트(150)의 내측면에는 윤활제를 수용하기 위한 윤활제 충진홈(152)이 형성될 수 있다.
상기 아우터 파이프(110)와 센터 파이프(120)는 스틸 재질로 이루어지고, 상기 완충부재(130)는 고무 재질로 구성될 수 있다.
본 발명에 따른 부시의 제조 방법은, 아우터 파이프(110)와 그 내측에 구비되는 센터 파이프(120) 사이에 고무 재질의 완충부재(130)를 사출 성형하는 고무 가류 단계; 인서트(140)의 외측면에 형성된 오목부(142a)에 윤활제를 주입하고, 인서트(140)의 외측면 둘레에 이너 시트(150)를 배치하는 단계; 및 상기 인서트(140)와 이너 시트(150)를 상기 센터 파이프(120)의 내측에 배치하고, 상기 센터 파이프(120)의 내측면과 상기 이너 시트(150)의 외측면 사이에 플라스틱 사출물(170)을 사출 성형하는 단계를 포함한다.
상기 플라스틱 사출물(170)을 형성하는 단계에서, 상기 이너 시트(150)는 플라스틱 용융물의 온도와 압력에 의해 인서트(140)의 굴곡부(142) 측으로 압착되어 상기 굴곡부(142)와 사이에 윤활막(160)을 형성하며 상기 굴곡부(142)와 대응되는 형상으로 변형되는 것을 특징으로 한다.
상기 플라스틱 사출물(170)을 형성하는 단계의 전 단계로, 상기 센터 파이프(120)의 내측면에 거칠기를 부여하는 단계를 더 포함할 수 있다.
상기 플라스틱 사출물(170)을 형성하는 단계 후에는, 상기 플라스틱 사출물(130)의 내측 양단과 상기 인서트(140)의 외측면 사이에 상기 윤활제의 누설을 방지하기 위한 오일씰(180)을 결합하는 단계를 더 포함할 수 있다.
본 발명에 따른 부시 및 그 제조 방법에 의하면, 아우터 파이프의 내측면과 센터 파이프의 외측면 사이에 완충부재를 사출 성형하고, 이와는 별도의 공정으로 인서트의 외측면에 윤활제를 충진한 이너 시트를 배치한 후에, 센터 파이프의 내측면과 이너 시트의 외측면 사이에 플라스틱 사출물을 사출 성형함으로써, 종래기술에서 문제점으로 지적된 플라스틱 사출물의 열적 변형에 의한 파손을 방지하여 윤활제의 누설을 방지함으로써 제품의 내구성을 향상시킬 수 있다.
또한 고무 재질로 구성된 완충부재의 외측면과 내측면이 각각 스틸 재질로 구성된 아우터 파이프와 센터 파이프에 결합되어 지지되므로, 진동과 충격이 지속적으로 작용하더라도 완충부재의 파손을 방지할 수 있다.
또한 인서트 외측면에 형성된 오목부에 윤활제를 주입하고, 그 외측면에 이너 시트를 배치한 후에, 센터 파이프와 이너 시트 사이에 플라스틱 사출물을 사출 성형함으로써, 플라스틱 사출물이 인서트의 외측면에 고착되는 문제를 원천적으로 방지할 수 있다.
또한 인서트의 외측면에 요철부를 형성하고, 센터 파이프의 내측면에는 널링 또는 왕복 나선 형상의 거칠기 부여면을 형성함으로써, 센터 파이프와 플라스틱 사출물 간에 회전방향과 길이방향으로의 미끌림을 방지할 수 있고, 플라스틱 사출물이 인서트의 외측면과 센터 파이프의 내측면에 견고하게 결합되므로 내구성을 더욱 향상시킬 수 있다.
또한 이너 시트의 내측면에는 윤활제가 주입되어 수용되는 윤활제 충진홈을 형성함과 아울러 플라스틱 사출물의 내측 양단과 인서트의 외측면 사이에 오일씰을 결합함으로써, 윤활제의 누설을 확실하게 차단시켜 제품의 완충 성능을 향상시킬 수 있다.
도 1은 종래기술에 따른 부시의 구성을 나타낸 단면도,
도 2는 본 발명에 따른 부시의 부분 절개 사시도,
도 3은 본 발명에 따른 부시의 제조 방법을 나타낸 순서도,
도 4는 아우터 파이프의 내측면과 센터 파이프의 외측면 사이에 고무 가류 공정을 수행한 모습을 나타낸 부분 절개 사시도,
도 5는 인서트의 굴곡부 둘레에 이너 시트를 배치한 모습을 나타낸 단면도,
도 6은 도 5에 도시된 이너 시트의 부분 절개 사시도,
도 7은 센터 파이프의 내측에 인서트와 윤활제가 충진된 이너 시트를 배치한 모습을 나타낸 단면도,
도 8은 센터 파이프의 내측면과 이너 시트의 외측면 사이에 플라스틱 사출 공정을 수행한 모습을 나타낸 단면도.
이하 첨부한 도면을 참조하여 본 발명의 바람직한 실시예에 대한 구성 및 작용을 상세히 설명하면 다음과 같다.
먼저, 본 발명에 따른 부시(100)의 구성 및 작용을 설명한다.
도 2를 참조하면, 본 발명에 따른 부시(100)는, 아우터 파이프(110)와, 그 내측으로 이격 배치되는 센터 파이프(120), 상기 아우터 파이프(110)의 내측면과 센터 파이프(120)의 외측면 사이에 개재되어 압착된 완충부재(130), 상기 센터 파이프(120)의 내측에 구비된 인서트(140), 상기 인서트(140)의 외측면에 윤활막(160)을 사이에 두고 구비된 이너 시트(150), 상기 센터 파이프(120)의 내측면과 이너 시트(150)의 외측면 사이에 개재되어 압착된 플라스틱 사출물(170)을 포함하여 구성된다.
상기 아우터 파이프(110)는 부시(100)의 외면을 형성하는 것으로 타 부품과 연결되는 부분이고, 스틸 재질로 구성될 수 있다.
상기 센터 파이프(120)는 완충부재(130)의 내측면과 플라스틱 사출물(170)의 외측면 사이에 개재되어 완충 부재(130)의 내측면을 지지함으로써, 진동과 충격의 작용에 의한 완충부재(130)의 파손을 방지하는 기능을 하는 것으로, 스틸 재질로 구성될 수 있다. 도 4를 참조하면, 일실시예로, 상기 센터 파이프(120)의 내측면은 널링(knurling) 가공에 의해 거칠기가 부여되도록 표면처리된 거칠기 부여면(121)이 형성될 수 있다. 이는 센터 파이프(120)와 플라스틱 사출물(130) 간에 회전방향과 길이방향으로의 미끌림을 방지하는 동시에 센터 파이프(120)와 플라스틱 사출물(130) 간의 결합 강도를 증대시키는 기능을 한다.
상기 널링 가공은 센터 파이프(120)의 내측면을 널링 전용 공구를 이용하여 절삭하거나, 에칭 방식에 의해 수행될 수 있다.
또한, 상기 거칠기 부여면(121)을 형성하는 다른 실시예로, 센터 파이프(120)의 내측면에 왕복 나선 가공을 수행할 수도 있다. 상기 왕복 나선 가공은, 상기 센터 파이프(120)를 고정된 위치에서 회전시킨 상태에서, 상기 센터 파이프(120)의 내측면에 홈을 가공하기 위한 공구를 접촉시켜 상하로 왕복 이송시킴으로써 센터 파이프(120)의 내측면에 두 개의 서로 다른 방향으로 진행되는 나선형의 홈이 상호 교차하는 왕복 나선 형태로 가공할 수 있다.
상기 완충부재(130)는 아우터 파이프(110)와 센터 파이프(120) 사이에 위치하는 것으로, 고무를 사출 성형하여 형성될 수 있다. 상기 완충부재(130)는, 인서트(140)와 이너 시트(150)와 플라스틱 사출물(170) 및 센터 파이프(120)로부터 아우터 파이프(110)로 전달되거나, 아우터 파이프(110)로부터 센터 파이프(120)와 플라스틱 사출물(170)과 이너 시트(150) 및 인서트(140)로 전달되는 길이방향 또는 가로방향의 진동과 충격을 완화하는 기능을 한다.
상기 인서트(140)는 타 부품과 연결되는 부분으로, 스틸 재질로 구성될 수 있으며, 도 2에는 인서트(140)의 형상이 중공의 형태인 경우를 예로 들었으나, 그 형태가 이에 제한되는 것은 아니며, 내부가 막힌 형상으로 구성될 수도 있다. 도 5를 참조하면, 상기 인서트(140)는, 원통부(141)와, 그 원통부(141)의 중간부 외측면에 하나 이상의 오목부(142a)와 볼록부(142b)를 포함하는 굴곡부(142)가 형성된 구조를 갖는다. 이와 같이 인서트(140)의 외측면에 굴곡부(142)를 형성함으로써, 인서트(140)의 외측면에 윤활막(160)을 사이에 두고 연결되는 이너 시트(150)와 플라스틱 사출물(170)의 내측면이 상기 굴곡부(142)와 대응하여 형상적으로 맞물림되도록 형성되므로, 이너 시트(150)와 플라스틱 사출물(170)이 길이방향으로 진동하거나 이동하는 것을 방지하게 된다.
상기 이너 시트(150)는 플라스틱 사출물(170)의 내측면과, 인서트(140)의 외측면에 윤활막(160)을 사이에 두고 구비되는 것으로, 플라스틱 사출물(170)의 사출 성형 시 플라스틱 용융물이 인서트(140)의 외측면에 고착되는 것을 방지함과 아울러 윤활막(160)의 두께가 전체적으로 균일하게 형성되도록 하는 기능을 하는 것으로, 플라스틱 재질로 구성될 수 있다. 도 6을 참조하면, 상기 이너 시트(150)는 원통형의 몸체(151)와, 상기 몸체(151)의 내측면에 형성된 윤활제 충진홈(152)과, 상기 몸체(151)의 외측면에 형성된 요철부(153)를 포함하여 구성된다.
상기 몸체(151)의 내경은 인서트(140)의 외경보다 윤활막(160)이 형성될 두께 만큼 크게 형성된다. 상기 윤활제 충진홈(152)은 몸체(151)의 내측면에서 소정 너비를 가지며 소정 깊이로 함몰된 형태로 구성될 수 있으며, 그 내측으로 주입되는 윤활제(160')가 고인 상태를 유지하도록 하고 윤활제(160')의 수용 용량을 충분히 확보하도록 하는 기능을 한다. 상기 요철부(153)는 그 외측면에 사출 성형되는 플라스틱 사출물(170)과의 결합 강도를 증대시키는 기능을 한다.
도 7에 도시된 바와 같이, 상기 이너 시트(150)의 초기 형상은 원통 형상으로 이루어져 인서트(140)의 굴곡부(142)의 외측면에 덧대어지고, 도 8에 도시된 바와 같이, 플라스틱 사출물(170)의 사출 성형 시 플라스틱 용융물의 온도와 압력에 의해 상기 굴곡부(142) 측으로 압착되어 굴곡부(142)와 서로 맞물리는 형태로 변형된다.
상기 윤활막(160)은 이너 시트(150)의 내측면과 인서트(140)의 외측면 사이에 윤활제(160')가 충진되어 형성되는 것으로, 이너 시트(150)와 인서트(140) 간의 접착을 방지함과 아울러, 인서트(140)와, 이를 둘러싸며 구비되는 이너 시트(150), 플라스틱 사출물(170), 센터 파이프(120), 완충부재(130) 및 아우터 파이프(110) 간의 상대 회전 시 윤활 기능을 한다. 상기 윤활막(160)에 충진되는 윤활제(160')로는 반고체 상태의 그리스(grease)를 사용할 수 있다.
상기 플라스틱 사출물(170)은 센터 파이프(120)의 내측면과 이너 시트(150)의 외측면 사이 공간에 플라스틱 인서트 사출 성형 방법에 의하여 성형될 수 있다. 상기 플라스틱 사출물(170)의 외측면은 센터 파이프(120)의 내측면에 형성된 거칠기 부여면(121)에 압착되고, 플라스틱 사출물(170)의 내측면은 이너 시트(150)의 외측면에 형성된 요철부(153)에 압착된다. 따라서, 인서트(140)의 길이방향 및 가로방향의 이동에 대하여 플라스틱 사출물(170)은 이너 시트(150)와, 센터 파이프(120)와, 그 외측에 결합되는 완충부재(130) 및 아우터 파이트(110)와 함께 이동된다.
상기 오일씰(180)은, 플라스틱 사출물(170)의 내측 양단에 형성되는 오일씰 결합홈(171)에 압입되어, 상기 플라스틱 사출물(170)의 내측 양단과 상기 인서트(140)의 외측면 사이의 틈새를 밀폐함으로써, 상기 윤활막(160)에 충진된 윤활제의 누설을 방지하는 기능을 한다.
상기와 같이 구성된 본 발명의 부시(100)는, 완충부재(130)와 플라스틱 사출물(170) 사이에 스틸 재질의 센터 파이프(120)가 구비되어, 종래기술의 문제점으로 설명한 고무 재질의 완충부재(130)의 사출 성형 과정에서 플라스틱 사출물(170)의 변형 및 파손에 의한 내구성 저하를 방지할 수 있으며, 완충부재(130)에 대한 지지력을 증대시켜 진동 및 충격에 의한 완충부재(130)의 파손을 방지하여 내구성을 향상시킬 수 있다.
이하, 도 3 내지 도 8을 참조하여 본 발명에 따른 부시의 제조 방법을 설명한다. 본 발명에 따른 부시의 제조 방법은, 도 4에 도시된 바와 같이 아우터 파이프(110)와 센터 파이프(120) 사이에 고무 재질의 완충부재(130)를 사출 성형하는 고무 가류 단계(S1)와, 상기 인서트(140)의 외측면에 형성된 오목부(142a)에 윤활제(160')를 주입하고, 그 외측면에 이너 시트를 배치하는 단계(S2), 및 도 7에 도시된 바와 같이 상기 인서트(140)와 이너 시트(150)를 센터 파이프(120)의 내측에 배치하고, 도 8에 도시된 바와 같이 센터 파이프(120)의 내측면과 이너 시트(150)의 외측면 사이에 플라스틱 사출물(170)을 사출 성형하는 단계(S3)를 포함한다.
상기 S1과 S2 단계는 별도의 공정으로 수행되며, S1과 S2 단계의 공정 진행 순서는 S2 단계를 S1 단계에 선행하여 수행하더라도 무방하다.
상기 플라스틱 사출물(170)을 사출 성형하는 단계(S3)에서, 상기 이너 시트(150)는 플라스틱 용융물의 온도와 압력에 의해 인서트(140)의 굴곡부(142) 측으로 압착되어 상기 굴곡부(142)와 사이에 윤활막(160)을 형성하며 상기 굴곡부(142)와 대응되는 형상으로 변형된다. 그리고, 상기 플라스틱 사출 성형 시, 플라스틱 용융물은 이너 시트(150)의 외측면에 형성된 요철부(153)와 센터 파이프(120)의 내측면에 형성된 거칠기 부여면(121)에 압착되므로, 플라스틱 사출물(170)과 이너 시트(150) 및 센터 파이프(120) 간에 길이방향으로의 상대 이동을 억제하여 결합 강도를 증대시킬 수 있다.
그리고, 플라스틱 사출 성형 단계가 완료되면, 플라스틱 사출물(170)의 내측 양단에 형성된 오일씰 결합홈(171)에 오일씰(180)을 결합하여, 이너 시트(150)의 양단과 인서트(140)의 외측면 사이의 틈새를 밀폐함으로써, 윤활막(160)에 충진된 윤활제(160')의 누설을 방지하게 된다.
상기와 같이 본 발명에 따른 부시의 제조 방법에 의하면, 고무 가류 공정을 플라스틱 사출 성형 공정에 선행하여 수행함으로써, 종래 플라스틱 사출 성형 공정 후에 고류 가류 공정을 수행하는 경우에 문제가 되었던 플라스틱 사출물의 열적 변형에 의한 파손의 문제를 방지할 수 있어, 부품의 내구성을 향상시킬 수 있다.
또한, 완충부재(130)와 플라스틱 사출물(170) 사이에 스틸 재질의 센터 파이프(120)가 개재되도록 구성하여 완충부재(130)에 대한 지지력을 보강하고, 인서트(140)에 대한 플라스틱 사출물(170)의 상대 회전이 가능하도록 회전 방향에 대한 자유도를 부여함으로써 차량의 승차감을 향상시키는 동시에 완충부재(130)의 비틀림에 의한 파손을 방지하여 내구성을 향상시킬 수 있다.
이상 설명한 바와 같이, 본 발명은 상술한 실시예에 한정되지 아니하며, 청구범위에서 청구되는 본 발명의 기술적 사상에 벗어남 없이 당해 발명이 속하는 기술분야에서 통상의 지식을 가진 자에 의해 자명한 변형실시가 가능하며, 이러한 변형실시는 본 발명의 범위에 속한다.
20 : 하우징 30 : 이너 바디
40 : 사출성형물 50 : 완충부재
60 : 윤활막 61 : 접착제층
62 : 오일씰 P : 가로방향
Q : 길이방향 R : 회전방향
100 : 부시 110 : 아우터 파이프
120 : 센터 파이프 121 : 거칠기 부여면
130 : 완충부재 140 : 인서트
141 : 원통부 142 : 굴곡부
142a : 오목부 142b : 볼록부
150 : 이너 시트 151 : 몸체
152 : 윤활제 충진홈 153 : 요철부
160 : 윤활막 160' : 윤활제
170 : 플라스틱 사출물 171 : 오일씰 결합홈
180 : 오일씰

Claims (10)

  1. 아우터 파이프(110);
    상기 아우터 파이프(110)의 내측에 구비되는 센터 파이프(120);
    상기 아우터 파이프(110)의 내측면과 상기 센터 파이프(120)의 외측면 사이에 사출 성형된 완충부재(130);
    상기 센터 파이프(120)의 내측에 구비되고, 외측면에는 굴곡부(142)가 형성된 인서트(140);
    상기 굴곡부(142)와 대응되는 굴곡된 형상을 포함하고, 상기 굴곡부(142)를 둘러싸며 상기 인서트(140)의 외측면에 구비되는 이너 시트(150);
    상기 이너 시트(150)의 내측면과 상기 인서트(140)의 외측면 사이에 윤활제가 충진되어 형성된 윤활막(160); 및
    상기 센터 파이프(120)의 내측면과 상기 이너 시트(150)의 외측면 사이에 사출 성형된 플라스틱 사출물(170);을 포함하는 부시.
  2. 제1항에 있어서,
    상기 플라스틱 사출물(170)에는 상기 이너 시트(150)의 양단과 상기 인서트(140)의 외측면 사이의 틈새를 밀폐하여 상기 윤활제의 누설을 방지하기 위한 오일씰(180)이 결합된 것을 특징으로 하는 부시.
  3. 제1항에 있어서,
    상기 이너 시트(150)의 외측면에는 요철부(153)가 형성되고,
    상기 플라스틱 사출물(170)의 내측면은 상기 요철부(153)와 대응되는 형상으로 사출 성형된 것을 특징으로 하는 부시.
  4. 제1항에 있어서,
    상기 센터 파이프(120)의 내측면에는 널링 또는 왕복 나선 형상의 거칠기 부여면(121)이 형성되고,
    상기 플라스틱 사출물(170)의 외측면은 상기 거칠기 부여면(121)과 대응되는 형상으로 사출 성형된 것을 특징으로 하는 부시.
  5. 제1항에 있어서,
    상기 이너 시트(150)의 내측면에는 윤활제를 수용하기 위한 윤활제 충진홈(152)이 형성된 것을 특징으로 하는 부시.
  6. 제1항에 있어서,
    상기 아우터 파이프(110)와 센터 파이프(120)는 스틸 재질로 이루어지고,
    상기 완충부재(130)는 고무 재질로 이루어진 것을 특징으로 하는 부시.
  7. 아우터 파이프(110)와 그 내측에 구비되는 센터 파이프(120) 사이에 고무 재질의 완충부재(130)를 사출 성형하는 고무 가류 단계;
    인서트(140)의 외측면에 형성된 오목부(142a)에 윤활제를 주입하고, 인서트(140)의 외측면 둘레에 이너 시트(150)를 배치하는 단계; 및
    상기 인서트(140)와 이너 시트(150)를 상기 센터 파이프(120)의 내측에 배치하고, 상기 센터 파이프(120)의 내측면과 상기 이너 시트(150)의 외측면 사이에 플라스틱 사출물(170)을 사출 성형하는 단계;를 포함하는 부시의 제조 방법.
  8. 제7항에 있어서,
    상기 플라스틱 사출물(170)을 형성하는 단계에서, 상기 이너 시트(150)는 플라스틱 용융물의 온도와 압력에 의해 인서트(140)의 굴곡부(142) 측으로 압착되어 상기 굴곡부(142)와 사이에 윤활막(160)을 형성하며 상기 굴곡부(142)와 대응되는 형상으로 변형되는 것을 특징으로 하는 부시의 제조 방법.
  9. 제7항에 있어서,
    상기 플라스틱 사출물(170)을 형성하는 단계의 전 단계로, 상기 센터 파이프(120)의 내측면에 거칠기를 부여하는 단계를 더 포함하는 부시의 제조 방법.
  10. 제7항에 있어서,
    상기 플라스틱 사출물(170)을 형성하는 단계 후에는, 상기 플라스틱 사출물(130)의 내측 양단과 상기 인서트(140)의 외측면 사이에 상기 윤활제의 누설을 방지하기 위한 오일씰(180)을 결합하는 단계를 더 포함하는 부시의 제조 방법.
KR1020140185201A 2014-12-22 2014-12-22 부시 및 그 제조 방법 Active KR101657133B1 (ko)

Priority Applications (1)

Application Number Priority Date Filing Date Title
KR1020140185201A KR101657133B1 (ko) 2014-12-22 2014-12-22 부시 및 그 제조 방법

Applications Claiming Priority (1)

Application Number Priority Date Filing Date Title
KR1020140185201A KR101657133B1 (ko) 2014-12-22 2014-12-22 부시 및 그 제조 방법

Publications (2)

Publication Number Publication Date
KR20160076029A true KR20160076029A (ko) 2016-06-30
KR101657133B1 KR101657133B1 (ko) 2016-09-20

Family

ID=56352550

Family Applications (1)

Application Number Title Priority Date Filing Date
KR1020140185201A Active KR101657133B1 (ko) 2014-12-22 2014-12-22 부시 및 그 제조 방법

Country Status (1)

Country Link
KR (1) KR101657133B1 (ko)

Cited By (4)

* Cited by examiner, † Cited by third party
Publication number Priority date Publication date Assignee Title
KR101860828B1 (ko) * 2017-04-20 2018-05-24 주식회사 대흥알앤티 자동차 서브 프레임용 부시
KR20180136714A (ko) * 2017-06-15 2018-12-26 한화에어로스페이스 주식회사 몰드 및 박벽 부품의 고정을 위한 탄성체의 제조 방법
KR20200007129A (ko) 2018-07-12 2020-01-22 한국기술교육대학교 산학협력단 열가소성 엘라스토머를 이용한 기어 커버용 오일씰의 인서트 사출용 금형 및 이를 이용한 인서트 사출방법
CN112879612A (zh) * 2021-03-24 2021-06-01 湖北美标汽车制冷系统有限公司 一种嵌入式阀片单向阀

Citations (3)

* Cited by examiner, † Cited by third party
Publication number Priority date Publication date Assignee Title
JPH0571480U (ja) * 1992-03-02 1993-09-28 東海ゴム工業株式会社 摺動ブッシュ
KR20110136184A (ko) * 2010-06-14 2011-12-21 주식회사 일진 차량용 샤시 부품 연결용 단일축 댐핑 조인트
KR20120009132A (ko) * 2010-07-22 2012-02-01 현대자동차주식회사 자동차용 스테빌라이저 바의 마운트 부시

Patent Citations (3)

* Cited by examiner, † Cited by third party
Publication number Priority date Publication date Assignee Title
JPH0571480U (ja) * 1992-03-02 1993-09-28 東海ゴム工業株式会社 摺動ブッシュ
KR20110136184A (ko) * 2010-06-14 2011-12-21 주식회사 일진 차량용 샤시 부품 연결용 단일축 댐핑 조인트
KR20120009132A (ko) * 2010-07-22 2012-02-01 현대자동차주식회사 자동차용 스테빌라이저 바의 마운트 부시

Cited By (4)

* Cited by examiner, † Cited by third party
Publication number Priority date Publication date Assignee Title
KR101860828B1 (ko) * 2017-04-20 2018-05-24 주식회사 대흥알앤티 자동차 서브 프레임용 부시
KR20180136714A (ko) * 2017-06-15 2018-12-26 한화에어로스페이스 주식회사 몰드 및 박벽 부품의 고정을 위한 탄성체의 제조 방법
KR20200007129A (ko) 2018-07-12 2020-01-22 한국기술교육대학교 산학협력단 열가소성 엘라스토머를 이용한 기어 커버용 오일씰의 인서트 사출용 금형 및 이를 이용한 인서트 사출방법
CN112879612A (zh) * 2021-03-24 2021-06-01 湖北美标汽车制冷系统有限公司 一种嵌入式阀片单向阀

Also Published As

Publication number Publication date
KR101657133B1 (ko) 2016-09-20

Similar Documents

Publication Publication Date Title
JP5386591B2 (ja) 車両用スタビライザブッシュ
US8794605B2 (en) Anti-vibration connecting rod
KR101657133B1 (ko) 부시 및 그 제조 방법
KR20180110119A (ko) 볼 조인트 및 이것을 사용한 스태빌라이저 링크
JP6710140B2 (ja) 防振装置
JP6257389B2 (ja) 筒型防振装置とその製造方法
KR101435129B1 (ko) 볼 조인트 및 그 제작 방법
JP4081114B2 (ja) 防振装置の製造方法
JP6824771B2 (ja) トルクロッド及びその製造方法
KR101322426B1 (ko) 자동차용 필로우 볼 부시
KR20120012205A (ko) 자동차용 스테빌라이저 바의 마운트 부시
JP4658665B2 (ja) 防振装置
JP2011007257A (ja) 防振ブッシュ
JP6872316B2 (ja) プロペラシャフト用ダイナミックダンパ
CN110529545B (zh) 充液式防振装置
JP2010137688A (ja) 防振ブッシュ付きスタビライザバーの製造方法
WO2018070505A1 (ja) 防振装置
JP3932025B2 (ja) 防振ブッシュ
JP2010006337A (ja) 防振ブッシュ付きスタビライザバーの製造方法及び防振ブッシュ付きスタビライザバー
JP5622467B2 (ja) 防振ブッシュ及び防振ブッシュ組付体の製造方法
JP5358323B2 (ja) 防振装置の製造方法
JP4937062B2 (ja) スタビライザブッシュ付きスタビライザバー
JP7125274B2 (ja) 防振装置の製造方法
JP3838126B2 (ja) ストッパ付き防振ブッシュの製造方法
JP7034424B2 (ja) 液封入式防振装置および車両の防振構造

Legal Events

Date Code Title Description
A201 Request for examination
PA0109 Patent application

Patent event code: PA01091R01D

Comment text: Patent Application

Patent event date: 20141222

PA0201 Request for examination
E902 Notification of reason for refusal
PE0902 Notice of grounds for rejection

Comment text: Notification of reason for refusal

Patent event date: 20151130

Patent event code: PE09021S01D

E90F Notification of reason for final refusal
PE0902 Notice of grounds for rejection

Comment text: Final Notice of Reason for Refusal

Patent event date: 20160329

Patent event code: PE09021S02D

PG1501 Laying open of application
E701 Decision to grant or registration of patent right
PE0701 Decision of registration

Patent event code: PE07011S01D

Comment text: Decision to Grant Registration

Patent event date: 20160906

GRNT Written decision to grant
PR0701 Registration of establishment

Comment text: Registration of Establishment

Patent event date: 20160907

Patent event code: PR07011E01D

PR1002 Payment of registration fee

Payment date: 20160907

End annual number: 3

Start annual number: 1

PG1601 Publication of registration
FPAY Annual fee payment

Payment date: 20190903

Year of fee payment: 6

PR1001 Payment of annual fee

Payment date: 20190903

Start annual number: 4

End annual number: 6

PR1001 Payment of annual fee

Payment date: 20220620

Start annual number: 7

End annual number: 9