KR20160070534A - 매립가스의 안정적 균등 포집을 위한 유량 조절 제어실을 구비한 매립가스 포집장치 - Google Patents

매립가스의 안정적 균등 포집을 위한 유량 조절 제어실을 구비한 매립가스 포집장치 Download PDF

Info

Publication number
KR20160070534A
KR20160070534A KR1020140177596A KR20140177596A KR20160070534A KR 20160070534 A KR20160070534 A KR 20160070534A KR 1020140177596 A KR1020140177596 A KR 1020140177596A KR 20140177596 A KR20140177596 A KR 20140177596A KR 20160070534 A KR20160070534 A KR 20160070534A
Authority
KR
South Korea
Prior art keywords
gas
landfill
landfill gas
buried
pipe
Prior art date
Legal status (The legal status is an assumption and is not a legal conclusion. Google has not performed a legal analysis and makes no representation as to the accuracy of the status listed.)
Granted
Application number
KR1020140177596A
Other languages
English (en)
Other versions
KR101685904B1 (ko
Inventor
유병서
Original Assignee
유병서
Priority date (The priority date is an assumption and is not a legal conclusion. Google has not performed a legal analysis and makes no representation as to the accuracy of the date listed.)
Filing date
Publication date
Application filed by 유병서 filed Critical 유병서
Priority to KR1020140177596A priority Critical patent/KR101685904B1/ko
Publication of KR20160070534A publication Critical patent/KR20160070534A/ko
Application granted granted Critical
Publication of KR101685904B1 publication Critical patent/KR101685904B1/ko
Active legal-status Critical Current
Anticipated expiration legal-status Critical

Links

Images

Classifications

    • BPERFORMING OPERATIONS; TRANSPORTING
    • B08CLEANING
    • B08BCLEANING IN GENERAL; PREVENTION OF FOULING IN GENERAL
    • B08B15/00Preventing escape of dirt or fumes from the area where they are produced; Collecting or removing dirt or fumes from that area
    • BPERFORMING OPERATIONS; TRANSPORTING
    • B08CLEANING
    • B08BCLEANING IN GENERAL; PREVENTION OF FOULING IN GENERAL
    • B08B15/00Preventing escape of dirt or fumes from the area where they are produced; Collecting or removing dirt or fumes from that area
    • B08B15/002Preventing escape of dirt or fumes from the area where they are produced; Collecting or removing dirt or fumes from that area using a central suction system, e.g. for collecting exhaust gases in workshops
    • BPERFORMING OPERATIONS; TRANSPORTING
    • B08CLEANING
    • B08BCLEANING IN GENERAL; PREVENTION OF FOULING IN GENERAL
    • B08B15/00Preventing escape of dirt or fumes from the area where they are produced; Collecting or removing dirt or fumes from that area
    • B08B15/002Preventing escape of dirt or fumes from the area where they are produced; Collecting or removing dirt or fumes from that area using a central suction system, e.g. for collecting exhaust gases in workshops
    • B08B15/005Preventing escape of dirt or fumes from the area where they are produced; Collecting or removing dirt or fumes from that area using a central suction system, e.g. for collecting exhaust gases in workshops comprising a stationary main duct with one or more branch units, the branch units being freely movable along a sealed longitudinal slit in the main duct
    • BPERFORMING OPERATIONS; TRANSPORTING
    • B08CLEANING
    • B08BCLEANING IN GENERAL; PREVENTION OF FOULING IN GENERAL
    • B08B15/00Preventing escape of dirt or fumes from the area where they are produced; Collecting or removing dirt or fumes from that area
    • B08B15/007Fume suction nozzles arranged on a closed or semi-closed surface, e.g. on a circular, ring-shaped or rectangular surface adjacent the area where fumes are produced
    • YGENERAL TAGGING OF NEW TECHNOLOGICAL DEVELOPMENTS; GENERAL TAGGING OF CROSS-SECTIONAL TECHNOLOGIES SPANNING OVER SEVERAL SECTIONS OF THE IPC; TECHNICAL SUBJECTS COVERED BY FORMER USPC CROSS-REFERENCE ART COLLECTIONS [XRACs] AND DIGESTS
    • Y02TECHNOLOGIES OR APPLICATIONS FOR MITIGATION OR ADAPTATION AGAINST CLIMATE CHANGE
    • Y02WCLIMATE CHANGE MITIGATION TECHNOLOGIES RELATED TO WASTEWATER TREATMENT OR WASTE MANAGEMENT
    • Y02W30/00Technologies for solid waste management
    • Y02W30/30Landfill technologies aiming to mitigate methane emissions

Landscapes

  • Processing Of Solid Wastes (AREA)

Abstract

다수의 수직 포집관을 이용하여 폐기물 매립장에서 발생되는 매립가스를 포집하되, 각각의 수직 포집관에서 포집되는 매립가스의 압력을 균등하게 유지하여, 매립가스 배출 및 이송 효율을 향상시킨 유량 조절 제어실을 이용한 매립가스 포집장치가 개시된다. 상기 매립가스 포집장치는, 쓰레기 매립층(14)에 수직으로 형성된 다수의 가스 포집정(10)에 각각 설치되어, 쓰레기 매립층(14)에서 발생하는 매립가스를 포집하는 수직 가스포집관(24); 상기 수직 가스포집관(24)에 각각 결합되어, 상기 수직 가스포집관(24)에서 포집된 매립가스를 쓰레기 매립층(14) 외부로 이송하는 매립가스 이송관로(30); 상기 매립가스 이송관로(30)의 말단에 설치되며, 상기 매립가스 이송관로(30) 내부의 압력을 조절하여, 상기 매립가스 이송관로(30)를 통해 이송되는 매립가스의 압력 및 유량을 조절하는 유량 조절 제어실(60); 상기 이송되는 매립가스의 압력 및 유량을 측정하는 매립가스 모니터부(70); 및 상기 매립가스 이송관로(30)를 감압 상태로 만듦으로서, 상기 가스 포집관(24)에서 포집된 매립가스를 폐기물 매립장(14) 외부로 이송하는 블로우어(40)를 포함한다.

Description

매립가스의 안정적 균등 포집을 위한 유량 조절 제어실을 구비한 매립가스 포집장치{Apparatus for collecting landfill gas having manifolder flow control room}
본 발명은 매립가스 포집장치에 관한 것으로서, 더욱 상세하게는, 다수의 수직 포집관을 이용하여 폐기물 매립장에서 발생되는 매립가스를 포집하되, 각각의 수직 포집관에서 포집되는 매립가스의 압력을 균등하게 유지하여, 매립가스 배출 및 이송 효율을 향상시킨, 매립가스의 안정적 균등 포집을 위한 유량 조절 제어실을 구비한 매립가스 포집장치에 관한 것이다.
일반적으로, 폐기물 매립장을 이용한 유기성 폐기물의 처리 방법은, 폐기물을 일정한 높이로 쌓아 적층하고, 적층된 폐기물을 흙 또는 이와 유사한 차폐물(복토층)로 덮는 과정을 반복하여, 수년 내지 수십년 동안 방치함으로서, 유기성 폐기물을 자연 분해시키는 방법이다. 적층된 유기성 폐기물의 자연 분해 과정에서는 인화성을 가진 가스, 즉, 매립가스(LFG: Landfill gas)가 다량 생성되므로, 이를 포집 및 이송하기 위한 가스 포집관을 폐기물 매립장에 설치하여, 폐기물 매립장에서 생성되는 매립가스를 매립장 외부로 배출함으로서, 폐기물 매립장에서의 화재 또는 폭발의 위험성을 줄이고, 매립 가스를 재활용하는 방법이 통상 사용되고 있다.
이와 같은 매립가스 배출 장치의 일 예가, 특허등록 제10-0457230호에 개시되어 있다. 도 1은 상기 특허에 개시된 수직 포집 방식을 이용한 매립가스 배출 장치의 시공 과정을 보여주는 도면이다. 도 1에 도시된 바와 같이, 종래의 매립가스 배출 장치를 시공하기 위해서는, 먼저, 쓰레기 매립층(14)과 중간 복토층(16)이 교대로 적층된 폐기물 매립장에, 직경 약 800 내지 1000 cm의 가스 포집정(10)을 수직으로 천공하고, 상기 가스 포집정(10)에 강관으로 이루어진 가이드월(guide wall, 20)을 삽입한다(도 1의 A). 상기 가이드월(20) 내부에 간격 유지재(22)가 결합된 가스 포집관(24)을 삽입하고, 강자갈(18)를 채워, 가스 포집관(24)을 고정한다(도 1의 B). 다음으로, 상기 가이드월(20)의 상부를 맹플렌지 등을 이용하여 밀폐하고, 매립가스가 이송되는 통로인 매립가스 이송관로(30) 및 응축수 트렌치(34)를 폐기물 매립층(14)에 설치한 다음, 플렉시블 결합 파이프(32)를 이용하여, 밀폐된 가이드월(20)과 매립가스 이송관로(30)를 연결하여, 매립가스의 배출통로를 형성한다(도 1의 C). 이후, 폐기물의 추가 적층되는 경우에는, 상기 가이드월(20)의 상부를 개방하고, 플렉시블 결합 파이프(32)를 분리한 다음, 새로 적층되는 폐기물층의 높이 만큼 가스 포집관(24) 및 매립가스 이송관로(30)를 연장하고, 가이드월(20)을 인발하여, 연장된 상부의 가스 포집관(24)을 보호한다(도 1의 D). 다음으로, 폐기물을 추가 매립하고, 다시 플렉시블 결합 파이프(32)를 이용하여, 가이드월(20)과 매립가스 이송관로(30)를 연결하여, 매립가스의 배출통로를 형성한다(도 1의 E).
도 2는 상술한 매립가스 배출 장치로부터 매립가스를 포집하기 위한 통상의 매립가스 포집 장치의 전체 구성을 보여주는 도면이다. 도 2에 도시된 바와 같이, 각각의 수직 가스 포집관(24)에 연결된 각각의 매립가스 이송관로(30)는 하나의 매립가스 이송관로(30)로 연결되어, 페기물 매립장(14) 외부로 연장되고, 상기 폐기물 매립장(14) 외부의 매립가스 이송관로(30)에는 블로우어(40, blower)가 설치되어, 매립가스 이송관로(30)를 감압(진공 또는 저기압) 상태로 만듦으로서, 가스 포집관(24)에서 포집된 매립가스를 폐기물 매립장(14) 외부의 매립가스 자원화시설(52) 또는 소각시설(54)로 이송시킨다. 이와 같은 수직 가스 포집관(24)을 이용하는 경우, 일정 매립고 이상이면, 매립 중에도 가스 포집이 가능하고, 매립 완료 후에도, 매립가스 배출 장치의 시공이 가능한 장점이 있지만, 매립층(14)의 매립단수, 가스 포집정(10)의 위치, 매립가스 이송관로(30)의 길이 등에 따라, 매립가스의 성상 및 압력이 달라지므로, 매립가스의 배출 효율이 저하되는 단점이 있다. 예를 들면, 강제 흡입 시설인 블로우어(40)로부터 가까운 곳에 위치한 가스 포집관(24a)에는 강한 압력이 걸려, 매립가스가 용이하게 배출되지만, 블로우어(40)로부터 먼 곳에 위치한 가스 포집관(24b)에는 약한 압력이 걸려, 매립가스가 용이하게 배출되지 못한다. 즉, 가스 포집관(24a, 24b)의 위치에 따라, 가스 포집관(24a, 24b)에 걸리는 압력 범위가 900 내지 1,800 ㎜Aq로 다양하므로, 매립가스가 불균일하게 배출되어, 매립가스를 효율적으로 포집할 수 없는 단점이 있었다.
본 발명의 목적은, 매립장 내의 여러 위치에 설치된 각각의 가스 포집정, 즉, 매립가스 배출 장치로부터 균일하게 매립가스를 포집할 수 있는, 매립가스의 안정적 균등 포집을 위한 유량조절제어실을 구비한 매립가스 포집장치를 제공하는 것이다.
본 발명의 다른 목적은, 매립가스의 성상, 압력 및 유량을 제어하여, 양질의 매립가스를 포집하고, 불량한 품질의 매립가스를 소각하는 등의 관리를 수행할 수 있는 매립가스 포집장치를 제공하는 것이다.
본 발명의 또 다른 목적은, 운영을 위한 인력 및 시간을 절감시킬 수 있는 매립가스 포집장치를 제공하는 것이다.
상기 목적을 달성하기 위하여, 본 발명은, 쓰레기 매립층(14)에 수직으로 형성된 다수의 가스 포집정(10)에 각각 설치되어, 쓰레기 매립층(14)에서 발생하는 매립가스를 포집하는 수직 가스포집관(24); 상기 수직 가스포집관(24)에 각각 결합되어, 상기 수직 가스포집관(24)에서 포집된 매립가스를 쓰레기 매립층(14) 외부로 이송하는 매립가스 이송관로(30); 상기 매립가스 이송관로(30)의 말단에 설치되며, 상기 매립가스 이송관로(30) 내부의 압력을 조절하여, 상기 매립가스 이송관로(30)를 통해 이송되는 매립가스의 압력 및 유량을 조절하는 유량 조절 제어실(60); 상기 이송되는 매립가스의 압력 및 유량을 측정하는 매립가스 모니터부(70); 및 상기 매립가스 이송관로(30)를 감압 상태로 만듦으로서, 상기 가스 포집관(24)에서 포집된 매립가스를 폐기물 매립장(14) 외부로 이송하는 블로우어(40)를 포함하는 매립가스 포집장치를 제공한다.
본 발명에 의하면, 가스 포집정 별로 균등한 매립가스 포집 압력을 유지할 수 있으므로, 단위 매립가스 포집 효율이 증가하고, 동시에 양질의 메탄(CH4) 가스포집이 안정적으로 수행될 수 있다.
도 1은 수직 포집 방식을 이용한 통상의 매립가스 배출 장치의 시공 과정을 보여주는 도면.
도 2는 통상의 매립가스 포집 장치의 전체 구성을 보여주는 도면.
도 3은 본 발명의 일 실시예에 따른 유량 조절 제어실을 이용한 매립가스 포집장치의 전체 구성을 보여주는 도면.
도 4a 및 4b는 각각 본 발명의 일 실시예에 따른 매립가스 포집장치에 사용되는 유량 조절 제어실의 구조를 보여주는 정면도(A) 및 측면도(B).
도 5는 본 발명의 다른 실시예에 따른 매립가스 포집장치의 구조를 보여주는 도면.
도 6는 본 발명의 또 다른 실시예에 따른 매립가스 포집장치의 구조를 보여주는 도면.
이하, 첨부된 도면을 참조하여, 본 발명에 따른 유량 조절 제어실을 이용한 매립가스 포집장치를 상세히 설명한다. 첨부된 도면에 있어서, 종래와 동일 또는 유사한 기능을 하는 부재에는 종래와 동일한 도면 부호를 부여하였다.
도 3은 본 발명의 일 실시예에 따른 유량 조절 제어실을 이용한 매립가스 포집장치의 전체 구성을 보여주는 도면이다. 도 3에 도시된 바와 같이, 본 발명에 따른 매립가스 포집장치는 수직 가스포집관(24), 매립가스 이송관로(30), 압력 조절이 가능한 유량 조절 제어실(60, Manifolder flow control room), 매립가스 모니터부(70, Monitoring System), 및 블로우어(40, Blower)를 포함한다. 상기 블로우어(40)에 의해 이송된 매립가스는 폐기물 매립장(14) 외부의 매립가스 자원화시설(52) 또는 소각시설(54)로 이송된다.
상기 수직 가스포집관(24)은 쓰레기 매립층(14)에 수직으로 형성된 다수의 가스 포집정(10)에 각각 설치되어, 쓰레기 매립층(14)에서 발생하는 매립가스를 포집하는 역할을 한다. 쓰레기 매립층(14)은 하나의 커다란 혐기성 반응기이고, 일반적으로 매립가스 포집장치는 쓰레기 매립층(14)에서 발생하는 유해, 폭발성 가스를 포집 및 이송시키는 매립가스 포집 및 이송시설로 구성된다. 본 발명에 사용되는 상기 수직 가스포집관(24)은, 도 1에 도시된 바와 같은 통상의 매립가스 배출 장치로서, 매립가스 포집 효율이 높은 수직 포집 방식이며, 오거(Auger) 시공 방식으로 형성되어, 시공시간 단축 및 유지 관리의 효율성이 우수하고, 탄소 강관 가이드 월(20) 구조로서, 매립 작업 중에도 수직 가스 포집정(10) 및 가스 포집관(24) 설치가 가능한 장점이 있다. 상기 수직 가스포집관(24)에서 포집된 매립가스의 주요 이동 원인은 농도차에 의한 확산(Concentration Gradient)과 압력차에 의한 흐름(Pressure Gradient)이나, 매립지 내의 매립가스 발생 압력이 커지거나, 인위적인 압력차가 생성되는 경우에는 농도차에 의한 확산은 무시될 수 있다.
상기 매립가스 이송관로(30)는 상기 수직 가스포집관(24)에 각각 결합되어, 상기 수직 가스포집관(24)에서 포집된 매립가스를 쓰레기 매립층(14) 외부의 유량 조절 제어실(60)로 이송하는 역할을 한다. 즉, 하나의 수직 가스포집관(24)에 하나의 매립가스 이송관로(30)가 각각 설치된다. 상기 매립가스 이송관로(30)는 폐기물 침하에 대응할 수 있도록, 유연성이 있고, 내화학성이 우수한 HDPE 관으로 이루어질 수 있고, 관로 내 온도저하에 따라 발생하는 응축수를 배제할 수 있는 트렌치(34, 도 1 참조)가 설치되도록 계획하였다.
각각의 수직 가스포집관(24)에서 포집되는 매립가스의 성상은 해당 포집시설의 영향 반경 내에 매립된 폐기물의 성분, 수분함량, 밀도, 매립경과 시간 등에 의해 좌우되어, 각각의 수직 가스포집관(24) 별로 각기 다른 성상의 매립가스가 포집된다. 따라서, 각각의 수직 가스포집관(24)에서 발생되는 매립가스를 그대로 취합하면 그 성상이 불균일하고 활용도가 감소되므로, 매립가스 포집시설을 감시 또는 제어하여 양질의 매립가스를 공급할 수 있는 시스템이 필요하다. 매립가스의 강제흡입시설인 블로우어(40)에 의한 매립가스의 흡입압력은, 블로우어(40)에서 가까운 곳에서부터 가장 먼 곳까지 약 900 내지 1,800 ㎜Aq의 범위로 다양하므로, 흡입 압력을 적절히 조절하지 못할 경우, 각 포집시설에 상이한 압력이 작용하여 매립가스 성상, 양 등의 통제가 불가능하게 된다.
따라서, 본 발명에 있어서, 상기 매립가스 이송관로(30)의 다른 말단에는, 상기 매립가스 이송관로(30) 내부의 압력을 조절하여, 상기 매립가스 이송관로(30)를 통해 이송되는 매립가스의 성상, 압력 및 유량을 조절할 수 있는 유량 조절 제어실(60, Manifolder flow control room)가 설치되어 있다. 도 3에 도시된 바와 같이, 본 발명에 따른 매립가스 포집장치에 있어서, 상기 유량 조절 제어실(60)는 매립가스 이송관로(30)를 소정 개수, 10 내지 30개, 예를 들면 20개 단위로 관리할 수 있도록 다수의 유량 조절 제어부(60a, 60b, 60c)로 이루어지고, 소정 개수, 10 내지 30개, 예를 들면 20개의 매립가스 이송관로(30)가 각각의 유량 조절 제어부(60a, 60b, 60c)에 연결되어 있다.
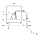
도 4a 및 4b는 각각 본 발명의 일 실시예에 따른 매립가스 포집장치에 사용되는 유량 조절 제어부의 구조를 보여주는 정면도 및 측면도이다. 도 4a 및 4b에 도시된 바와 같이, 각각의 유량 조절 제어부(60a)은 상기 각각의 매립가스 이송관로(30)의 말단에 결합되어, 상기 매립가스 이송관로(30)를 통해 이송되는 매립가스의 압력 및 유량을 제어하는 유량 조절 밸브(62), 상기 각각의 유량 조절 밸브(62)를 통과한 매립가스를 자원용 매립가스와 소각용 매립가스로 분기하는 분기관(64) 및 상기 분기관(64)에 일단에 결합되어 상기 분기관(64)을 통과한 자원용 매립가스를 이송하는 자원용 매립가스 이송관(66a), 및 상기 분기관(64)의 다른 일단에 결합되어 상기 분기관(64)을 통과한 소각용 매립가스를 이송하는 소각용 매립가스 이송관(66b)을 포함한다. 즉, 상기 분기관(64)은 매립가스의 성상에 따라 양질 가스(Good Gas)와 불량 가스(Bad Gas)를 분리하여, 양질 가스는 상기 자원용 매립가스 이송관(66a)을 통해 매립가스 자원화시설로 이송하고, 메탄가스 함량이 낮은 불량 가스는 상기 소각용 매립가스 이송관(66b)을 통해 소각시설로 선택적으로 공급할 수 있는 바이패스 라인(Bypass Line)이다. 이와 같이 Y 구조의 분기관(64)을 이용하여, 양질 가스와 불량 가스를 분리함으로써, 매립가스의 흡입 압력을 단순히 유지하는 것이 아니라, 양질의 매립가스를 적정량 계획적으로 포집하여, 매립가스의 효과적인 관리가 가능하게 된다.
상기 유량 조절 밸브(62)에 의하여, 상기 매립가스 이송관로(30) 내의 매립가스 압력이 예를 들면, -200 내지 -500 ㎜Aq 범위에서 다양하게 제어될 수 있다. 이와 같이 매립가스 이송관로(30) 내의 매립가스 압력을 제어하여, 각각의 수직 가스포집관(24)에 균등 포집압(예를 들면, 매립장 운영 중에는 -150 ㎜Aq, 매립종료 후 최종 복토 완료 후에는 -400 ㎜Aq)이 전달되도록 함으로써, 양질의 매립가스의 안정적인 포집 및 공급이 가능하게 된다. 상기 유량 조절 밸브(62)는, 상기 유량 조절 밸브(62)의 설치 위치를 기준으로, 입구측(매립가스 이송관로(30))과 출구측(분기관(64))에 압력차를 형성하여, 출구측의 진공 또는 저기압으로 매립가스 이송관로(30) 내의 매립가스를 흡입하여, 메인 헤더(Main Header), 즉, 자원용 매립가스 이송관(66a) 또는 소각용 매립가스 이송관(66b)으로 합류 송출한다. 만일, 상기 입구측과 출구측에 목표로 하는 압력차(△P)가 이루어지지 않는(Break) 경우, 상기 유량 조절 밸브(62)가 자동 조절되어, 목표로 하는 압력차(△P)가 달성되도록 할 수 있다. 또한, 각각의 매립가스 이송관로(30)에 유량 조절 밸브(62)를 설치함으로써, 폐기물 매립장에서 발생하는 매립가스의 농도가 낮아질 경우, 문제가 발생한 매립가스 이송관로(30)를 보다 용이하게 파악 및 대응할 수 있다. 한편, 상기 각각의 유량 조절 제어부(60a)는 컨테이너 하우스로 제작될 수 있고, 컨테이너 하부에 높이 조절 시설(68)을 설치하여, 유량 조절 제어부(60a)의 수평도 유지 및 시설물 지지 역할을 수행하도록 할 수 있다.
다시 도 3을 참조하면, 상기 자원용 매립가스 이송관(66a) 및 소각용 매립가스 이송관(66b)은 블로우어(40)에 의해 감압(저기압 또는 진공) 상태에 있으므로, 상기 각각의 유량 조절 밸브(62)를 조절하면, 각각의 매립가스 이송관로(30)에 걸리는 압력을 조절하여, 각각의 매립가스 이송관로(30)로부터 이송되는 매립가스의 포집 압력 및 유량을 개별적으로 조절할 수 있다. 예를 들면, 상기 수직 가스포집관(24b)이 유량 조절 제어부(60a)로부터 먼 곳에 위치하여, 매립가스 이송관로(30)의 길이가 긴 경우에는, 해당 유량 조절 밸브(62)를 열어, 해당 매립가스 이송관로(30)에 강한 압력이 걸리도록 하고, 상기 수직 가스포집관(24a)이 유량 조절 제어부(60a)로부터 가까운 곳에 위치하여, 매립가스 이송관로(30)의 길이가 짧은 경우에는, 해당 유량 조절 밸브(62)를 닫아(좁혀), 해당 매립가스 이송관로(30)에 약한 압력이 걸리도록 함으로서, 먼 곳에 위치한 수직 가스포집관(24a) 및 가까운 곳에 위치한 수직 가스포집관(24b)으로부터 동일한 유량의 매립가스가 이송되도록 할 수 있다.
도 5는 본 발명의 다른 실시예에 따른 유량 조절 제어실을 이용한 매립가스 포집장치의 구조를 보여주는 도면이다. 도 5에 도시된 실시예에 있어서는, 각각의 수직 가스포집관(24a) 및 매립가스 이송관로(30) 마다 각각 유량 조절 밸브(62)가 설치되지 않고, 상기 매립가스 이송관로(30)의 길이에 따라 2 이상의 매립가스 이송관로(30)를 연결하고, 연결된 매립가스 이송관로(30)의 압력을 하나의 유량 조절 밸브(62)로 조절하는 것을 특징으로 한다. 예를 들면, 도 5에 도시된 바와 같이, 상기 수직 가스포집관(24b)이 유량 조절 제어부(60a)로부터 먼 곳에 위치하여, 매립가스 이송관로(30)의 길이가 긴 2개 이상, 바람직하게는 3 내지 5개의 매립가스 이송관로(30a, 30b, 30c)를 연결하여 하나의 매립가스 이송관로(30d)를 형성한 다음, 상기 하나의 매립가스 이송관로(30d)에 하나의 압력 조절 밸브(62a)를 설치하여, 연결된 2개 이상의 매립가스 이송관로(30a, 30b, 30c)의 압력을 하나의 압력 조절 밸브(62a)로 조절한다. 또한, 동일한 방식으로 길이가 짧은 매립가스 이송관로(30a′, 30b′, 30c′)를 하나의 매립가스 이송관로(30d′)에 연결하고, 하나의 압력 조절 밸브(62a′)로 압력을 조절하고, 길이가 중간인 매립가스 이송관로(30a″, 30b″, 30c″)를 하나의 매립가스 이송관로(30d″)에 연결하고, 하나의 압력 조절 밸브(62a″)로 압력을 조절할 수 있다. 이와 같이 상기 매립가스 이송관로(30a, 30b, 30c)가 하나의 압력 조절 밸브(62a)에 연결되는 경우, 상기 매립가스 이송관로(30a, 30b, 30c)의 그룹별 선형을 이용하여, 상기 각각의 매립가스 이송관로(30a, 30b, 30c)는 2 내지 15도, 바람직하게는 3 내지 10도의 각도로 아래로 경사지도록 설치되고, 응축수 트렌치(34, trench, 도 1 참조)에서 결합한 다음, 결합된 하나의 매립가스 이송관로(30d)가 2 내지 15도, 바람직하게는 3 내지 10도의 각도로 상승하도록 시공되는 것이 바람직하다. 상기 트렌치(34)는 매립가스 이송관로(30a, 30b, 30c 30d) 내에 생성되는 응축수를 배제하도록, 매립가스 이송관로(30a, 30b, 30c 30d)의 최저점에 설치되는 통상의 응축수 배제시설이다. 이와 같이, 상기 매립가스 이송관로(30)의 길이에 따라 2 이상의 매립가스 이송관로(30)를 연결하여 압력을 조절하면, 상기 매립가스 이송관로(30)의 설치 거리 및 유량 조절 밸브(62)의 설치 개수를 감소시킬 수 있을 뿐만 아니라, 응축수를 보다 효과적으로 배제할 수 있으므로, 매립가스 포집장치를 보다 효율적으로 설계할 수 있다.
도 6는 본 발명의 또 다른 실시예에 따른 유량 조절 제어실을 이용한 매립가스 포집장치의 구조를 보여주는 도면이다. 도 6에 도시된 실시예에 있어서는, 상기 수직 가스포집관(24) 및 그의 매립가스 이송관로(30)의 위치에 따라, 상대적으로 가까운 곳에 위치하는 2 이상, 바람직하게는 3 내지 5개의 수직 가스포집관(24)의 매립가스 이송관로(30)를 그룹으로 연결하고, 연결된 매립가스 이송관로(30)의 압력을 하나의 유량 조절 밸브(62)로 조절하는 것을 특징으로 한다. 예를 들면, 도 6에 도시된 바와 같이, 이격 거리가 가까운 3 내지 5개의 수직 가스포집관(24)을 그룹화하고, 상기 수직 가스포집관(24)의 매립가스 이송관로(30a, 30b, 30c)를 연결하여 하나의 매립가스 이송관로(30d)를 형성한 다음, 상기 하나의 매립가스 이송관로(30d)에 하나의 압력 조절 밸브(62a)를 설치하여, 연결된 3 내지 5개의 매립가스 이송관로(30a, 30b, 30c)의 압력을 하나의 압력 조절 밸브(62a)로 조절한다. 또한, 동일한 방식으로 다른 영역의 매립가스 이송관로(30a′, 30b′, 30c′)를 하나의 매립가스 이송관로(30d′)에 연결하고, 하나의 압력 조절 밸브(62a′)로 압력을 조절하고, 또 다른 영역의 매립가스 이송관로(30a″, 30b″, 30c″)를 하나의 매립가스 이송관로(30d″)에 연결하고, 하나의 압력 조절 밸브(62a″)로 압력을 조절할 수 있다. 이 경우에도, 상기 각각의 매립가스 이송관로(30a, 30b, 30c)는 2 내지 15도, 바람직하게는 3 내지 10도의 각도로 아래로 경사지도록 설치되고, 응축수 트렌치(34, trench, 도 1 참조)에서 결합한 다음, 결합된 하나의 매립가스 이송관로(30d)가 2 내지 15도, 바람직하게는 3 내지 10도의 각도로 상승하도록 시공되는 것이 바람직하다.
다시 도 3을 참조하면, 상기 유량 조절 제어실(60) 후단에 설치되는 자원용 매립가스 이송관(66a) 및 소각용 매립가스 이송관(66b)에는 이송되는 매립가스의 유량, 성상(CH4, CO2 농도 등), 압력 등을 측정하는 매립가스 모니터부(70, Monitoring System)가 설치되어 있다. 상기 매립가스 모니터부(70)는, 매립가스의 유량, 성상, 압력 등의 변화를 실시간 모니터링할 수 있는 측정 장비로서, 상기 측정값을 유량 조절 제어부(60a, 60b, 60c) 내부의 압력조절밸브(62)와 연동시켜, 매립가스 수직포집시설에서의 다양한 압력 변화를 후단부에 일정하게 유지시키는 모니터링 및 제어 시스템을 구축함으로써, 시시각각으로 변화하는 매립가스의 성상을 인위적, 효율적으로 조절 및 제어할 수 있다. 예를 들면, 상기 유량 조절 밸브(62)의 입구측과 출구측 압력차(△P)가 운전범위 밖에서 운전되면, 모니터링 시스템에 의해 상기 유량 조절 밸브(62)가 자동 조절되어, 상기 압력차(△P)가 운전범위 내로 자동으로 세팅(Setting)된다. 또한, 상기 매립가스 모니터부(70)에서 측정된 매립가스의 유량, 성상, 압력 등의 측정 결과에 의해, 블로우어(40)의 운전 조건을 제어하여, 매립가스의 배출량을 제어할 수도 있고, 상기 매립가스의 상태에 따라, 상기 분기관(64)의 밸브를 제어하여, 양질의 매립가스는 자원용 매립가스 이송관(66a)을 통해 매립가스 자원화시설로 이송하고, 품질이 떨어지는 불량 가스는 소각용 매립가스 이송관(66b)을 통해 폐기할 수 있다.
끝으로, 본 발명에 따른 매립가스 포집장치에 사용되는 블로우어(40)로는 가스를 이송하기 위한 통상의 에어(air) 블로우어를 사용할 수 있고, 상기 자원용 매립가스 이송관(66a) 및 소각용 매립가스 이송관(66b)에 각각 설치될 수 있다. 본 발명은, 각 수직 포집정(10) 별로 개별 제어 및 유지 보수가 가능한 수직가스포집관(24)과 유량 조절 밸브(62)를 구비한 유량 조절 제어부(60a, 60b, 60c)를 이용하여, 양질의 매립가스를 경제적으로 안정하게 포집할 수 있다. 본 발명은, 블로우어(40)의 흡입 압력 변화와 매립가스 이송관로(30)의 길이 차이에 따른 포집 압력 차이에 따라, 유량 조절 제어부(60a, 60b, 60c)의 유량 조절 밸브(62)의 개폐 정도를 조절하여, 매립장 전체의 매립가스 포집 압력을 조정할 수 있는 기술로서, 매립가스 포집 효율을 향상시키고, 각각의 매립가스의 성상, 압력 및 유량을 제어함으로써 인력 및 시간을 효율적으로 절감할 수 있다.
이상, 구체적인 실시예를 참조하여, 본 발명에 따른 매립가스의 안정적 균등 포집을 위한 유량 조절 제어실을 구비한 매립가스 포집장치의 구조 및 동작을 설명하였으나, 본 발명은 상술한 구체적인 실시예에 한정되지 않고, 하기 청구범위에 기재된 범위 내에서 다양한 변형이 가능하다.

Claims (6)

  1. 쓰레기 매립층(14)에 수직으로 형성된 다수의 가스 포집정(10)에 각각 설치되어, 쓰레기 매립층(14)에서 발생하는 매립가스를 포집하는 수직 가스포집관(24);
    상기 수직 가스포집관(24)에 각각 결합되어, 상기 수직 가스포집관(24)에서 포집된 매립가스를 쓰레기 매립층(14) 외부로 이송하는 매립가스 이송관로(30);
    상기 매립가스 이송관로(30)의 말단에 설치되며, 상기 매립가스 이송관로(30) 내부의 압력을 조절하여, 상기 매립가스 이송관로(30)를 통해 이송되는 매립가스의 압력 및 유량을 조절하는 유량 조절 제어실(60);
    상기 이송되는 매립가스의 압력 및 유량을 측정하는 매립가스 모니터부(70); 및
    상기 매립가스 이송관로(30)를 감압 상태로 만듦으로서, 상기 가스 포집관(24)에서 포집된 매립가스를 폐기물 매립장(14) 외부로 이송하는 블로우어(40)를 포함하는 매립가스 포집장치.
  2. 제1항에 있어서, 상기 유량 조절 제어실(60)은 매립가스 이송관로(30)를 소정 개수 단위로 관리할 수 있도록 다수의 유량 조절 제어부(60a, 60b, 60c)로 이루어지고, 각각의 유량 조절 제어부(60a)는 상기 각각의 매립가스 이송관로(30)의 말단에 결합되어, 상기 매립가스 이송관로(30)를 통해 이송되는 매립가스의 압력 및 유량을 제어하는 유량 조절 밸브(62); 상기 각각의 유량 조절 밸브(62)를 통과한 매립가스를 자원용 매립가스와 소각용 매립가스로 분기하는 분기관(64); 상기 분기관(64)의 일단에 결합되어, 상기 분기관(64)을 통과한 자원용 매립가스를 이송하는 자원용 매립가스 이송관(66a); 및 상기 분기관(64)의 다른 일단에 결합되어 상기 분기관(64)을 통과한 소각용 매립가스를 이송하는 소각용 매립가스 이송관(66b)을 포함하는 것인, 매립가스 포집장치.
  3. 제1항에 있어서, 상기 매립가스 이송관로(30)의 길이에 따라 2 이상의 매립가스 이송관로(30a, 30b, 30c)를 하나의 매립가스 이송관로(30d)로 연결하고, 연결된 매립가스 이송관로(30d)의 압력을 하나의 유량 조절 밸브(62)로 조절하는 것인, 매립가스 포집장치.
  4. 제3항에 있어서, 상기 각각의 매립가스 이송관로(30a, 30b, 30c)는 2 내지 15도의 각도로 아래로 경사지도록 설치되고, 응축수 트렌치(34)에서 결합한 다음, 결합된 하나의 매립가스 이송관로(30d)가 2 내지 15도의 각도로 상승하도록 되어 있는 것인, 매립가스 포집장치.
  5. 제1항에 있어서, 상기 수직 가스포집관(24) 및 그의 매립가스 이송관로(30)의 위치에 따라, 상대적으로 가까운 곳에 위치하는 2 이상의 수직 가스포집관(24)의 매립가스 이송관로(30)를 그룹으로 연결하고, 연결된 매립가스 이송관로(30)의 압력을 하나의 유량 조절 밸브(62)로 조절하는 것인, 매립가스 포집장치.
  6. 제1항에 있어서, 상기 매립가스 모니터부(70)의 측정값을 상기 유량 조절 제어실(60)의 내부의 유량 조절 밸브(62)와 연동시켜, 배출되는 매립가스의 성상을 조절 및 제어하며, 상기 매립가스의 상태에 따라, 상기 분기관(64)의 밸브를 제어하여, 양질의 매립가스는 자원용 매립가스 이송관(66a)을 통해 매립가스 자원화시설로 이송하고, 불량 가스는 소각용 매립가스 이송관(66b)을 통해 폐기하는 것인, 매립가스 포집장치.
KR1020140177596A 2014-12-10 2014-12-10 매립가스의 안정적 균등 포집을 위한 유량 조절 제어실을 구비한 매립가스 포집장치 Active KR101685904B1 (ko)

Priority Applications (1)

Application Number Priority Date Filing Date Title
KR1020140177596A KR101685904B1 (ko) 2014-12-10 2014-12-10 매립가스의 안정적 균등 포집을 위한 유량 조절 제어실을 구비한 매립가스 포집장치

Applications Claiming Priority (1)

Application Number Priority Date Filing Date Title
KR1020140177596A KR101685904B1 (ko) 2014-12-10 2014-12-10 매립가스의 안정적 균등 포집을 위한 유량 조절 제어실을 구비한 매립가스 포집장치

Publications (2)

Publication Number Publication Date
KR20160070534A true KR20160070534A (ko) 2016-06-20
KR101685904B1 KR101685904B1 (ko) 2016-12-13

Family

ID=56354357

Family Applications (1)

Application Number Title Priority Date Filing Date
KR1020140177596A Active KR101685904B1 (ko) 2014-12-10 2014-12-10 매립가스의 안정적 균등 포집을 위한 유량 조절 제어실을 구비한 매립가스 포집장치

Country Status (1)

Country Link
KR (1) KR101685904B1 (ko)

Cited By (4)

* Cited by examiner, † Cited by third party
Publication number Priority date Publication date Assignee Title
KR102051468B1 (ko) * 2018-07-24 2019-12-03 엘에프에너지(주) 쓰레기 매립지내 발생가스 포집장치
CN111733068A (zh) * 2020-06-16 2020-10-02 鸿灌环境技术有限公司 一种垃圾填埋场气体检测收集方法
KR20210001392U (ko) * 2019-12-12 2021-06-23 대성환경에너지 주식회사 매립가스 포집 메탄농도 제어시스템
CN117299733A (zh) * 2023-09-06 2023-12-29 北京朝阳环境集团有限公司 一种生活垃圾填埋场防臭处理装置及其处理方法

Families Citing this family (1)

* Cited by examiner, † Cited by third party
Publication number Priority date Publication date Assignee Title
KR102112230B1 (ko) * 2018-08-02 2020-05-18 주식회사 에코윌플러스 폐기물 매립지의 하이브리드 메탄 저감 시스템

Citations (3)

* Cited by examiner, † Cited by third party
Publication number Priority date Publication date Assignee Title
KR20040012325A (ko) * 2002-08-02 2004-02-11 (주) 상원이엔씨 매립가스를 분리포집하는 매니폴드 스테이션
KR100418635B1 (ko) * 2001-12-11 2004-02-14 (주) 상원이엔씨 매립가스의 안정적 포집을 위한 포집장치
KR100526394B1 (ko) * 2005-05-30 2005-11-03 수도권매립지관리공사 응축수 배수장치를 구비한 쓰레기 매립장용 가스배출장치

Patent Citations (3)

* Cited by examiner, † Cited by third party
Publication number Priority date Publication date Assignee Title
KR100418635B1 (ko) * 2001-12-11 2004-02-14 (주) 상원이엔씨 매립가스의 안정적 포집을 위한 포집장치
KR20040012325A (ko) * 2002-08-02 2004-02-11 (주) 상원이엔씨 매립가스를 분리포집하는 매니폴드 스테이션
KR100526394B1 (ko) * 2005-05-30 2005-11-03 수도권매립지관리공사 응축수 배수장치를 구비한 쓰레기 매립장용 가스배출장치

Cited By (4)

* Cited by examiner, † Cited by third party
Publication number Priority date Publication date Assignee Title
KR102051468B1 (ko) * 2018-07-24 2019-12-03 엘에프에너지(주) 쓰레기 매립지내 발생가스 포집장치
KR20210001392U (ko) * 2019-12-12 2021-06-23 대성환경에너지 주식회사 매립가스 포집 메탄농도 제어시스템
CN111733068A (zh) * 2020-06-16 2020-10-02 鸿灌环境技术有限公司 一种垃圾填埋场气体检测收集方法
CN117299733A (zh) * 2023-09-06 2023-12-29 北京朝阳环境集团有限公司 一种生活垃圾填埋场防臭处理装置及其处理方法

Also Published As

Publication number Publication date
KR101685904B1 (ko) 2016-12-13

Similar Documents

Publication Publication Date Title
KR101685904B1 (ko) 매립가스의 안정적 균등 포집을 위한 유량 조절 제어실을 구비한 매립가스 포집장치
CA2929414C (en) Method and apparatus for removal of sand from gas
BRPI0823345B1 (pt) Método e sistema para o transporte de resíduos sólidos de pelo menos uma área de sustentação.
US7249607B2 (en) Landfill conduit servicing systems and methods for servicing landfill conduits
US20230392490A1 (en) Drain Apparatus for a Subsea Pipeline
CN110153159A (zh) 一种含地下水石油污染场地的联合修复系统及其施工方法
US7744756B2 (en) Wastewater flow diverter
FI122107B (fi) Menetelmä ja laitteisto pneumaattisessa materiaalinsiirtojärjestelmässä
CN107420126A (zh) 均压循环矿井瓦斯抽采系统
WO2020251407A1 (ru) Система активной дегазации полигонов твердых бытовых отходов и твердых коммунальных отходов
KR100418635B1 (ko) 매립가스의 안정적 포집을 위한 포집장치
CN101945713B (zh) 气液提取系统和方法
EP3374103B1 (en) System and method to control a biogas collection plant
KR101230111B1 (ko) 응축수 배수장치 및 이를 구비한 쓰레기 매립장용 가스이송장치
RU2258535C2 (ru) Устройство для извлечения биогаза для обезвреживания полигонов хранения твердых бытовых отходов
CN110508602A (zh) 一种双层膜结构热强化与土壤气相抽提耦合系统
KR101907172B1 (ko) 바이오 가스용 제습장치
CN104266079B (zh) 沼气储气柜进出气结构及连接方法
CN108421803A (zh) 一种表面气体收集装置
US7337789B2 (en) Cleaning apparatus for exhaust system and method
CN208500822U (zh) 炭黑生产供油系统
KR102051468B1 (ko) 쓰레기 매립지내 발생가스 포집장치
CN207144997U (zh) 均压循环矿井瓦斯抽采系统
CN206570089U (zh) 一种立式微动力自循环高效污水处理设备
CN105442631B (zh) 湿陷性黄土地区塑料双管与塑料井检漏设施

Legal Events

Date Code Title Description
A201 Request for examination
PA0109 Patent application

St.27 status event code: A-0-1-A10-A12-nap-PA0109

PA0201 Request for examination

St.27 status event code: A-1-2-D10-D11-exm-PA0201

D13-X000 Search requested

St.27 status event code: A-1-2-D10-D13-srh-X000

D14-X000 Search report completed

St.27 status event code: A-1-2-D10-D14-srh-X000

E902 Notification of reason for refusal
PE0902 Notice of grounds for rejection

St.27 status event code: A-1-2-D10-D21-exm-PE0902

AMND Amendment
E13-X000 Pre-grant limitation requested

St.27 status event code: A-2-3-E10-E13-lim-X000

P11-X000 Amendment of application requested

St.27 status event code: A-2-2-P10-P11-nap-X000

P13-X000 Application amended

St.27 status event code: A-2-2-P10-P13-nap-X000

PG1501 Laying open of application

St.27 status event code: A-1-1-Q10-Q12-nap-PG1501

R18-X000 Changes to party contact information recorded

St.27 status event code: A-3-3-R10-R18-oth-X000

E601 Decision to refuse application
PE0601 Decision on rejection of patent

St.27 status event code: N-2-6-B10-B15-exm-PE0601

X091 Application refused [patent]
AMND Amendment
E13-X000 Pre-grant limitation requested

St.27 status event code: A-2-3-E10-E13-lim-X000

P11-X000 Amendment of application requested

St.27 status event code: A-2-2-P10-P11-nap-X000

P13-X000 Application amended

St.27 status event code: A-2-2-P10-P13-nap-X000

PX0901 Re-examination

St.27 status event code: A-2-3-E10-E12-rex-PX0901

PX0701 Decision of registration after re-examination

St.27 status event code: A-3-4-F10-F13-rex-PX0701

X701 Decision to grant (after re-examination)
GRNT Written decision to grant
PR0701 Registration of establishment

St.27 status event code: A-2-4-F10-F11-exm-PR0701

PR1002 Payment of registration fee

St.27 status event code: A-2-2-U10-U11-oth-PR1002

Fee payment year number: 1

PG1601 Publication of registration

St.27 status event code: A-4-4-Q10-Q13-nap-PG1601

R18-X000 Changes to party contact information recorded

St.27 status event code: A-5-5-R10-R18-oth-X000

R18-X000 Changes to party contact information recorded

St.27 status event code: A-5-5-R10-R18-oth-X000

FPAY Annual fee payment

Payment date: 20191125

Year of fee payment: 4

PR1001 Payment of annual fee

St.27 status event code: A-4-4-U10-U11-oth-PR1001

Fee payment year number: 4

P22-X000 Classification modified

St.27 status event code: A-4-4-P10-P22-nap-X000

PR1001 Payment of annual fee

St.27 status event code: A-4-4-U10-U11-oth-PR1001

Fee payment year number: 5

PR1001 Payment of annual fee

St.27 status event code: A-4-4-U10-U11-oth-PR1001

Fee payment year number: 6

PR1001 Payment of annual fee

St.27 status event code: A-4-4-U10-U11-oth-PR1001

Fee payment year number: 7

PR1001 Payment of annual fee

St.27 status event code: A-4-4-U10-U11-oth-PR1001

Fee payment year number: 8

PR1001 Payment of annual fee

St.27 status event code: A-4-4-U10-U11-oth-PR1001

Fee payment year number: 9

R18-X000 Changes to party contact information recorded

St.27 status event code: A-5-5-R10-R18-oth-X000