KR20160057640A - 조명 장치 - Google Patents
조명 장치Info
- Publication number
- KR20160057640A KR20160057640A KR1020140158488A KR20140158488A KR20160057640A KR 20160057640 A KR20160057640 A KR 20160057640A KR 1020140158488 A KR1020140158488 A KR 1020140158488A KR 20140158488 A KR20140158488 A KR 20140158488A KR 20160057640 A KR20160057640 A KR 20160057640A
- Authority
- KR
- South Korea
- Prior art keywords
- light emitting
- substrate
- disposed
- hole
- emitting module
- Prior art date
- Legal status (The legal status is an assumption and is not a legal conclusion. Google has not performed a legal analysis and makes no representation as to the accuracy of the status listed.)
- Withdrawn
Links
- 239000000758 substrate Substances 0.000 claims abstract description 48
- 229920005989 resin Polymers 0.000 claims abstract description 19
- 239000011347 resin Substances 0.000 claims abstract description 19
- 239000004020 conductor Substances 0.000 claims abstract description 4
- 238000007599 discharging Methods 0.000 claims description 22
- 238000000034 method Methods 0.000 claims description 10
- 230000008878 coupling Effects 0.000 claims description 6
- 238000010168 coupling process Methods 0.000 claims description 6
- 238000005859 coupling reaction Methods 0.000 claims description 6
- 239000012777 electrically insulating material Substances 0.000 claims description 3
- 238000005476 soldering Methods 0.000 abstract description 14
- 231100001261 hazardous Toxicity 0.000 abstract 1
- 239000011810 insulating material Substances 0.000 abstract 1
- 239000004065 semiconductor Substances 0.000 description 19
- 239000000463 material Substances 0.000 description 10
- 230000004048 modification Effects 0.000 description 10
- 238000012986 modification Methods 0.000 description 10
- OAICVXFJPJFONN-UHFFFAOYSA-N Phosphorus Chemical compound [P] OAICVXFJPJFONN-UHFFFAOYSA-N 0.000 description 8
- 230000008901 benefit Effects 0.000 description 8
- QTBSBXVTEAMEQO-UHFFFAOYSA-N Acetic acid Chemical compound CC(O)=O QTBSBXVTEAMEQO-UHFFFAOYSA-N 0.000 description 6
- XEEYBQQBJWHFJM-UHFFFAOYSA-N Iron Chemical compound [Fe] XEEYBQQBJWHFJM-UHFFFAOYSA-N 0.000 description 6
- 239000007789 gas Substances 0.000 description 4
- 230000008569 process Effects 0.000 description 4
- BPQQTUXANYXVAA-UHFFFAOYSA-N Orthosilicate Chemical compound [O-][Si]([O-])([O-])[O-] BPQQTUXANYXVAA-UHFFFAOYSA-N 0.000 description 3
- 230000017525 heat dissipation Effects 0.000 description 3
- 229910052742 iron Inorganic materials 0.000 description 3
- 229910052751 metal Inorganic materials 0.000 description 3
- 239000002184 metal Substances 0.000 description 3
- 239000002341 toxic gas Substances 0.000 description 3
- 229910002704 AlGaN Inorganic materials 0.000 description 2
- 229910000980 Aluminium gallium arsenide Inorganic materials 0.000 description 2
- 229910005540 GaP Inorganic materials 0.000 description 2
- 229910001218 Gallium arsenide Inorganic materials 0.000 description 2
- BQCADISMDOOEFD-UHFFFAOYSA-N Silver Chemical compound [Ag] BQCADISMDOOEFD-UHFFFAOYSA-N 0.000 description 2
- 239000002019 doping agent Substances 0.000 description 2
- 239000002223 garnet Substances 0.000 description 2
- 238000005286 illumination Methods 0.000 description 2
- 239000007769 metal material Substances 0.000 description 2
- 150000004767 nitrides Chemical class 0.000 description 2
- 229910052709 silver Inorganic materials 0.000 description 2
- 239000004332 silver Substances 0.000 description 2
- 229910000838 Al alloy Inorganic materials 0.000 description 1
- RYGMFSIKBFXOCR-UHFFFAOYSA-N Copper Chemical compound [Cu] RYGMFSIKBFXOCR-UHFFFAOYSA-N 0.000 description 1
- 229910000881 Cu alloy Inorganic materials 0.000 description 1
- 108010043121 Green Fluorescent Proteins Proteins 0.000 description 1
- 229910052782 aluminium Inorganic materials 0.000 description 1
- XAGFODPZIPBFFR-UHFFFAOYSA-N aluminium Chemical compound [Al] XAGFODPZIPBFFR-UHFFFAOYSA-N 0.000 description 1
- 230000015572 biosynthetic process Effects 0.000 description 1
- 230000000903 blocking effect Effects 0.000 description 1
- 239000000919 ceramic Substances 0.000 description 1
- 229910052802 copper Inorganic materials 0.000 description 1
- 239000010949 copper Substances 0.000 description 1
- 230000007423 decrease Effects 0.000 description 1
- 230000007547 defect Effects 0.000 description 1
- 238000002845 discoloration Methods 0.000 description 1
- 230000005611 electricity Effects 0.000 description 1
- 230000007613 environmental effect Effects 0.000 description 1
- 239000003822 epoxy resin Substances 0.000 description 1
- 239000004519 grease Substances 0.000 description 1
- 238000001746 injection moulding Methods 0.000 description 1
- 239000012212 insulator Substances 0.000 description 1
- 239000004973 liquid crystal related substance Substances 0.000 description 1
- 239000000203 mixture Substances 0.000 description 1
- 230000003647 oxidation Effects 0.000 description 1
- 238000007254 oxidation reaction Methods 0.000 description 1
- 230000001590 oxidative effect Effects 0.000 description 1
- 230000002093 peripheral effect Effects 0.000 description 1
- 229920000647 polyepoxide Polymers 0.000 description 1
- 239000002096 quantum dot Substances 0.000 description 1
- 230000005855 radiation Effects 0.000 description 1
- 238000009877 rendering Methods 0.000 description 1
- 230000004044 response Effects 0.000 description 1
- 229920002050 silicone resin Polymers 0.000 description 1
Images
Classifications
-
- F—MECHANICAL ENGINEERING; LIGHTING; HEATING; WEAPONS; BLASTING
- F21—LIGHTING
- F21K—NON-ELECTRIC LIGHT SOURCES USING LUMINESCENCE; LIGHT SOURCES USING ELECTROCHEMILUMINESCENCE; LIGHT SOURCES USING CHARGES OF COMBUSTIBLE MATERIAL; LIGHT SOURCES USING SEMICONDUCTOR DEVICES AS LIGHT-GENERATING ELEMENTS; LIGHT SOURCES NOT OTHERWISE PROVIDED FOR
- F21K9/00—Light sources using semiconductor devices as light-generating elements, e.g. using light-emitting diodes [LED] or lasers
- F21K9/20—Light sources comprising attachment means
-
- F—MECHANICAL ENGINEERING; LIGHTING; HEATING; WEAPONS; BLASTING
- F21—LIGHTING
- F21V—FUNCTIONAL FEATURES OR DETAILS OF LIGHTING DEVICES OR SYSTEMS THEREOF; STRUCTURAL COMBINATIONS OF LIGHTING DEVICES WITH OTHER ARTICLES, NOT OTHERWISE PROVIDED FOR
- F21V19/00—Fastening of light sources or lamp holders
- F21V19/001—Fastening of light sources or lamp holders the light sources being semiconductors devices, e.g. LEDs
- F21V19/003—Fastening of light source holders, e.g. of circuit boards or substrates holding light sources
- F21V19/0055—Fastening of light source holders, e.g. of circuit boards or substrates holding light sources by screwing
-
- F—MECHANICAL ENGINEERING; LIGHTING; HEATING; WEAPONS; BLASTING
- F21—LIGHTING
- F21Y—INDEXING SCHEME ASSOCIATED WITH SUBCLASSES F21K, F21L, F21S and F21V, RELATING TO THE FORM OR THE KIND OF THE LIGHT SOURCES OR OF THE COLOUR OF THE LIGHT EMITTED
- F21Y2101/00—Point-like light sources
Landscapes
- Engineering & Computer Science (AREA)
- General Engineering & Computer Science (AREA)
- Physics & Mathematics (AREA)
- Microelectronics & Electronic Packaging (AREA)
- Optics & Photonics (AREA)
- Arrangement Of Elements, Cooling, Sealing, Or The Like Of Lighting Devices (AREA)
- Non-Portable Lighting Devices Or Systems Thereof (AREA)
Abstract
실시 형태는 조명 장치에 관한 것이다.
실시 형태에 따른 조명 장치는, 제1 홀을 갖는 방열체; 상기 방열체 상에 배치되고 상기 방열체의 제1 홀 상에 배치된 제2 홀을 갖는 기판, 상기 기판 상에 배치된 발광 소자 및 상기 발광 소자를 덮는 수지부를 포함하는 발광 모듈; 및 상기 발광 모듈을 상기 방열체에 고정시키기 위한 체결 부재;를 포함하고, 상기 기판은, 상기 기판 상에 배치되고 상기 기판의 제2 홀 상에 배치된 제3 홀을 갖는 단자를 포함하고, 상기 체결 부재는, 상기 제1 내지 제3 홀에 결합된 몸체부, 상기 몸체부 상에 배치된 머리부, 및 상기 몸체부와 상기 머리부 내부에 배치되고 상기 단자와 접촉하는 전극부;를 포함하고, 상기 몸체부와 상기 머리부는 전기 절연성 재질이고, 상기 전극부는 전기 전도성 재질이다.
실시 형태에 따른 조명 장치는, 제1 홀을 갖는 방열체; 상기 방열체 상에 배치되고 상기 방열체의 제1 홀 상에 배치된 제2 홀을 갖는 기판, 상기 기판 상에 배치된 발광 소자 및 상기 발광 소자를 덮는 수지부를 포함하는 발광 모듈; 및 상기 발광 모듈을 상기 방열체에 고정시키기 위한 체결 부재;를 포함하고, 상기 기판은, 상기 기판 상에 배치되고 상기 기판의 제2 홀 상에 배치된 제3 홀을 갖는 단자를 포함하고, 상기 체결 부재는, 상기 제1 내지 제3 홀에 결합된 몸체부, 상기 몸체부 상에 배치된 머리부, 및 상기 몸체부와 상기 머리부 내부에 배치되고 상기 단자와 접촉하는 전극부;를 포함하고, 상기 몸체부와 상기 머리부는 전기 절연성 재질이고, 상기 전극부는 전기 전도성 재질이다.
Description
실시 형태는 조명 장치에 관한 것이다.
발광 다이오드(LED)는 전기 에너지를 빛으로 변환하는 반도체 소자의 일종이다. 발광 다이오드는 형광등, 백열등 등 기존의 광원에 비해 저소비전력, 반영구적인 수명, 빠른 응답속도, 안전성, 환경친화성의 장점을 가진다. 이에 기존의 재래식 광원을 발광 다이오드로 대체하기 위한 많은 연구가 진행되고 있으며, 발광 다이오드는 실내외에서 사용되는 각종 램프, 액정표시장치, 전광판, 가로등 등의 발광 장치의 광원으로서 사용이 증가되고 있는 추세이다.
발광 다이오드를 포함하는 LED 패키지는, 주로 기판에 장착된다. 기판은 전원 제공부와 와이어를 통해 연결되어 전원 제공부로부터 전원 신호를 제공받는다. 기판과 와이어는 납땜 공정을 통해 연결된다.
납땜 공정에 의해 기판과 와이어의 연결 부분에는 납땜부가 형성되는데, 이 납땜부에는 금속을 산화시킬 수 있는 아세트산(Acetic Acid) 계열의 물질이 다량으로 포함되어 있다. LED 패키지가 조명 제품 내부의 소정의 밀폐된 공간 내부에 장착될 경우, 아세트산 계열의 물질은 LED 패키지 내부의 은(Ag)으로된 반사면을 변색시키는 유해 가스를 방출할 수 있다. 이로 인해, LED 패키지의 수명이 단축될 수 있다.
조명 제품, 특히 벌브(Bulb) 내부에 LED 패키지를 장착한 후 와이어와 기판을 연결하기 위해 납땜 공정을 수행할 경우, 인두기에 의해 대략 280℃ 이상의 고온이 기판에 가해지기 때문에 LED 패키지에 순간적으로 열에 의한 손상이 발생할 수 있다.
LED 패키지를 조명 제품에 장착한 후, LED 패키지에 소정의 불량이 발생하였을 경우, LED 패키지를 교체하기 위해서는 조명 제품 전체를 교체하거나 납땜부를 인두기로 제거하고 새로운 LED 패키지를 장착해야 하는 번거로움이 있고, 앞서 상술한 바와 같이, 인두기에 의해 LED 패키지가 손상될 수 있는 문제가 있다.
실시 형태는 납땜없이 발광 모듈을 전원 제공부와 전기적으로 연결할 수 있는 조명 장치를 제공한다.
또한, 발광 모듈과 전원 제공부를 전기적으로 연결함과 동시에 발광 모듈을 방열체에 기계적으로 연결할 수 있는 조명 장치를 제공한다.
또한, 전원 제공부에서 방출되는 유해 가스가 방열체를 통과하여 발광 모듈로 유입되는 것을 차단할 수 있는 조명 장치를 제공한다.
또한, 발광 모듈의 교체 및 설치가 용이한 조명 장치를 제공한다.
실시 형태에 따른 조명 장치는, 제1 홀을 갖는 방열체; 상기 방열체 상에 배치되고 상기 방열체의 제1 홀 상에 배치된 제2 홀을 갖는 기판, 상기 기판 상에 배치된 발광 소자 및 상기 발광 소자를 덮는 수지부를 포함하는 발광 모듈; 및 상기 발광 모듈을 상기 방열체에 고정시키기 위한 체결 부재;를 포함하고, 상기 기판은, 상기 기판 상에 배치되고 상기 기판의 제2 홀 상에 배치된 제3 홀을 갖는 단자를 포함하고, 상기 체결 부재는, 상기 제1 내지 제3 홀에 결합된 몸체부, 상기 몸체부 상에 배치된 머리부, 및 상기 몸체부와 상기 머리부 내부에 배치되고 상기 단자와 접촉하는 전극부;를 포함하고, 상기 몸체부와 상기 머리부는 전기 절연성 재질이고, 상기 전극부는 전기 전도성 재질이다.
실시 형태에 따른 조명 장치를 사용하면, 납땜없이 발광 모듈을 전원 제공부와 전기적으로 연결할 수 있는 이점이 있다.
또한, 발광 모듈과 전원 제공부를 전기적으로 연결함과 동시에 발광 모듈을 방열체에 기계적으로 연결할 수 있는 이점이 있다.
또한, 전원 제공부에서 방출되는 유해 가스가 방열체를 통과하여 발광 모듈로 유입되는 것을 차단할 수 있는 이점이 있다.
또한, 발광 모듈의 교체 및 설치가 용이한 이점이 있다.
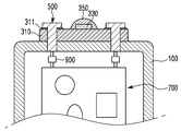
도 1은 본 발명의 실시 형태에 따른 조명 장치의 사시도이다.
도 2는 도 1에 도시된 조명 장치의 분해 사시도이다.
도 3은 도 1에 도시된 조명 장치의 일 예의 단면도이다.
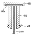
도 4는 도 1 내지 도 3에 도시된 체결 부재(500)를 위에서 바라본 사시도이다.
도 5는 도 4에 도시된 체결 부재를 아래에서 바라본 사시도이다.
도 6은 도 4에 도시된 체결 부재의 단면도이다.
도 7은 도 6에 도시된 체결 부재의 변형 예이다.
도 8은 도 4 내지 도 6에 도시된 체결 부재의 또 다른 변형 예를 아래에서 바라본 사시도이다.
도 9는 도 8에 도시된 체결 부재의 단면도이다.
도 10은 도 4 내지 도 6에 도시된 체결 부재의 또 다른 변형 예를 아래에서 바라본 사시도이다.
도 11은 도 10에 도시된 체결 부재의 단면도이다.
도 12는 도 4 내지 도 6에 도시된 체결 부재의 또 다른 변형 예를 아래에서 바라본 사시도이다.
도 13은 도 12에 도시된 체결 부재의 단면도이다.
도 2는 도 1에 도시된 조명 장치의 분해 사시도이다.
도 3은 도 1에 도시된 조명 장치의 일 예의 단면도이다.
도 4는 도 1 내지 도 3에 도시된 체결 부재(500)를 위에서 바라본 사시도이다.
도 5는 도 4에 도시된 체결 부재를 아래에서 바라본 사시도이다.
도 6은 도 4에 도시된 체결 부재의 단면도이다.
도 7은 도 6에 도시된 체결 부재의 변형 예이다.
도 8은 도 4 내지 도 6에 도시된 체결 부재의 또 다른 변형 예를 아래에서 바라본 사시도이다.
도 9는 도 8에 도시된 체결 부재의 단면도이다.
도 10은 도 4 내지 도 6에 도시된 체결 부재의 또 다른 변형 예를 아래에서 바라본 사시도이다.
도 11은 도 10에 도시된 체결 부재의 단면도이다.
도 12는 도 4 내지 도 6에 도시된 체결 부재의 또 다른 변형 예를 아래에서 바라본 사시도이다.
도 13은 도 12에 도시된 체결 부재의 단면도이다.
도면에서 각층의 두께나 크기는 설명의 편의 및 명확성을 위하여 과장되거나 생략되거나 또는 개략적으로 도시되었다. 또한 각 구성요소의 크기는 실제크기를 전적으로 반영하는 것은 아니다.
본 발명에 따른 실시 형태의 설명에 있어서, 어느 한 element가 다른 element의 " 상(위) 또는 하(아래)(on or under)"에 형성되는 것으로 기재되는 경우에 있어, 상(위) 또는 하(아래)(on or under)는 두 개의 element가 서로 직접(directly)접촉되거나 하나 이상의 다른 element가 상기 두 element사이에 배치되어(indirectly) 형성되는 것을 모두 포함한다. 또한 “상(위) 또는 하(아래)(on or under)”으로 표현되는 경우 하나의 element를 기준으로 위쪽 방향뿐만 아니라 아래쪽 방향의 의미도 포함할 수 있다.
이하 첨부된 도면을 참조하여 본 발명의 실시 형태에 따른 조명 장치를 설명한다.
도 1은 본 발명의 실시 형태에 따른 조명 장치의 사시도이고, 도 2는 도 1에 도시된 조명 장치의 분해 사시도이고, 도 3은 도 1에 도시된 조명 장치의 일 예의 단면도이다.
도 1 내지 도 3을 참조하면, 본 발명의 실시 형태에 따른 조명 장치는, 방열체(100), 발광 모듈(300) 및 체결 부재(500)를 포함할 수 있다.
방열체(100)는, 발광 모듈(300)로부터 열을 전달받아 외부로 방열할 수 있다. 이를 위해, 방열체(100)는 알루미늄, 알루미늄 합금, 구리, 구리 합금 등의 금속 재질일 수 있다. 또한, 방열체(100)는 방열 성능을 갖는 비금속의 수지 재질일 수도 있다.
도 1 내지 도 2에서, 방열체(100)의 형상은 사각형의 판 형태이나 이에 한정하는 것은 아니다. 방열체(100)는 발광 모듈(300)이 배치될 수 있는 것으로서, 발광 모듈(300)로부터 열을 전달받아 외부로 방열할 수 있는 부재이면 어떠한 형태든 무방하다. 일 예로, 도 3에 도시된 바와 같이, 방열체(100)는 내부에 전원 제공부(700)를 수납할 수 있는 형상을 가질 수도 있다. 도 3에 도시된 방열체(100) 상에는 발광 모듈(300)이 배치되고, 방열체(100) 아래에는 전원 제공부(700)가 배치될 수 있다.
방열체(100) 상에는 발광 모듈(300)이 배치될 수 있다. 구체적으로, 방열체(100)의 일 면에 발광 모듈(300)의 기판(310)이 배치될 수 있다. 방열체(100)의 일 면은 발광 모듈(300)의 기판(310)의 하면과 직접 접촉할 수 있다. 여기서, 방열체(100)의 일 면과 발광 모듈(300)의 기판(310)의 하면 사이에는 열 전도율을 향상시키기 위한 방열구리스 또는 방열패드가 배치될 수 있다.
방열체(100)는 체결 부재(500)가 결합되는 홀(150)을 가질 수 있다. 홀(150)은 기판(310)의 홀(미도시) 아래에 형성될 수 있다. 홀(150)에 체결 부재(500)가 결합되어 방열체(100)와 발광 모듈(300)이 서로 기계적으로 단단히 결합될 수 있다.
발광 모듈(300)은, 방열체(100) 상에 배치된다. 발광 모듈(300)은 방열체(100)의 일 면에 배치될 수 있다.
발광 모듈(300)은 기판(310), 발광 소자(330) 및 수지부(350)를 포함할 수 있다.
기판(310)은 사각형의 판 형상일 수 있다. 그러나 이에 한정하는 것은 아니며, 기판(310)은 다각형, 원형 또는 타원형의 판일 수도 있다.
기판(310)은 절연체에 회로 패턴이 인쇄된 것일 수 있으며, 예를 들어, 일반 인쇄회로기판(PCB: Printed Circuit Board), 메탈 코아(Metal Core) PCB, 연성(Flexible) PCB, 세라믹 PCB 등을 포함할 수 있다.
기판(310)의 표면은 빛을 효율적으로 반사하는 재질이거나, 빛이 효율적으로 반사되는 컬러, 예를 들어 백색, 은색 등으로 코팅될 수 있다.
기판(310)은 단자(311)를 포함할 수 있다. 단자(311)는 기판(310)의 상면에 배치될 수 있다. 단자(311)는 기판(310)의 상면에 적어도 둘 이상 배치될 수 있다. 예를 들어, 기판(310)의 상면에 두 개의 단자(311)가 배치될 수 있는데, 하나의 단자(311)는 (+) 단자이고, 나머지 하나의 단자(311)는 (-) 단자일 수 있다.
단자(311)는 금속 재질로서 기판(310)에 인쇄된 회로 패턴과 전기적으로 연결된다. 단자(311)를 통해 외부 전원 신호가 기판(310)으로 인가될 수 있다.
단자(311)는 체결 부재(500)와 기계적 및 전기적으로 결합한다.
단자(311)는 체결 부재(500)가 결합되는 홀(311a)을 가질 수 있다. 홀(311a)은 기판(310)의 홀(미도시) 상에 형성될 수 있다. 홀(311a)에 체결 부재(500)가 결합되면 단자(311)와 체결 부재(500)가 전기적으로 연결됨과 동시에 단자(311)와 체결 부재(500)가 기계적으로도 연결될 수 있다.
기판(310)은 체결 부재(500)가 결합되는 홀(미도시)을 가질 수 있다. 홀(미도시)은 방열체(100)의 홀(150) 상에 형성되고, 단자(311)의 홀(311a) 아래에 형성될 수 있다. 홀(미도시)에 체결 부재(500)가 결합되어 발광 모듈(300)과 방열체(100)가 서로 기계적으로 단단히 결합될 수 있다.
발광 소자(330)는 기판(310)의 상면에 배치된다. 여기서, 발광 소자(330)는 하나 또는 둘 이상, 즉 복수일 수 있다.
발광 소자(330)는 제1 도전형 반도체층, 활성층 및 제2 도전형 반도체층을 포함하는 발광 구조물을 구비할 수 있다. 예를 들어, 발광 구조물은 제1 도전형 반도체층과 제2 도전형 반도체층 사이에 활성층이 배치된 형태로 구비될 수 있다.
제1 도전형 반도체층은 n형 반도체층을 포함할 수 있고 GaN, AlN, AlGaN, InGaN, InN, InAlGaN, AlInN, AlGaAs, GaP, GaAs, GaAsP, AlGaInP 등에서 선택될 수 있으며 Si, Ge, Sn, Se, Te 등의 n형 도펀트가 도핑될 수 있다.
활성층은 상기 제1 도전형 반도체층을 통해서 주입되는 전자(또는 정공)와 제2 도전형 반도체층을 통해서 주입되는 정공(또는 전자)이 서로 만나서, 활성층의 형성 물질에 따른 에너지 밴드(Energy Band)의 밴드갭(Band Gap) 차이에 의해서 빛을 방출하는 층이다. 활성층은 단일 우물 구조, 다중 우물 구조, 양자점 구조 또는 양자선 구조 중 어느 하나로 형성될 수 있으나, 이에 한정되는 것은 아니다.
제2 도전형 반도체층은 p형 반도체층으로 구현될 수 있고 GaN, AlN, AlGaN, InGaN, InN, InAlGaN, AlInN, AlGaAs, GaP, GaAs, GaAsP, AlGaInP 등에서 선택될 수 있으며 Mg, Zn, Ca, Sr, Ba 등의 p형 도펀트가 도핑될 수 있다.
한편 제1 도전형 반도체층이 p형 반도체층을 포함하고 제2 도전형 반도체층이 n형 반도체층을 포함할 수도있다. 또한 제2 도전형 반도체층 아래에는 n형 또는 p형 반도체층을 포함하는 반도체층이 더 형성될 수 있다. 이에 따라, 발광 구조물은 n-p 접합 구조, p-n 접합 구조, n-p-n 접합 구조, 및 p-n-p 접합 구조 중 적어도 하나를 포함할 수 있다.
발광 소자(330)는 가시광선 대역부터 자외선 대역의 범위 중에서 선택적으로 발광할 수 있고, 반도체 재질 고유의 색을 갖는 빛을 방출할 수 있다.
발광 소자(330)는 적색, 녹색, 청색의 광을 방출하는 발광 다이오드(Light Emitting Diode) 칩(chip)이거나 자외선 광(Ultraviolet light)를 방출하는 발광 다이오드 칩일 수 있다. 여기서, 발광 다이오드는 수평형(Lateral Type), 수직형(Vertical Type) 또는 플립칩 형태(Flip-chip Type)일 수 있고, 청색(Blue), 적색(Red), 황색(Yellow) 또는 녹색(Green)광을 발산할 수 있다.
발광 소자(330) 상에는 수지부(350)가 배치될 수 있다. 수지부(350)는 발광 소자(330)를 덮도록 배치된다.
수지부(350)는 발광 소자(330)로부터 방출하는 광의 지향각이나 광의 방향을 조절할 수 있다.
수지부(350)는 실리콘 수지 또는 에폭시 수지와 같은 투광성 수지를 포함할 수 있다. 수지부(350)는 전체적으로 또는 부분적으로 분산된 형광체를 포함할 수 있다.
수지부(350)의 형태는 도 1 내지 도 3에 도시된 바와 같이, 반구 타입일 수 있다. 그러나 이에 한정하지 않으며, 수지부(350)는 육면체 또는 다면체일 수도 있고, 육면체 또는 다면체의 일 부분에 볼록부 또는 오목부가 형성될 수 있다.
발광 소자(330)가 청색 발광 다이오드일 경우, 수지부(350)에 포함된 형광체는 가넷(Garnet)계(YAG, TAG), 실리케이드(Silicate)계, 나이트라이드(Nitride)계 및 옥시나이트라이드(Oxynitride)계 중 적어도 어느 하나 이상을 포함할 수 있다.
수지부(350)에 황색 계열의 형광체만을 포함되도록 하여 자연광(백색광)을 구현할 수 있지만, 연색지수의 향상과 색온도의 저감을 위해 녹색 계열의 형광체나 적색 계열을 형광체를 더 포함할 수 있다.
수지부(350)에 여러 종류의 형광체들이 혼합된 경우, 형광체의 색상에 따른 첨가 비율은 적색 계열의 형광체보다는 녹색 계열의 형광체를, 녹색 계열의 형광체보다는 황색 계열의 형광체를 더 많이 사용할 수 있다. 황색 계열의 형광체로는 가넷계의 YAG, 실리케이트계, 옥시나이트라이드계를 사용하고, 녹색 계열의 형광체로는 실리케이트계, 옥시나이트라이드계를 사용하고, 적색 계열의 형광체는 나이트라이드계를 사용할 수 있다.
수지부(350)에 여러 종류의 형광체들이 혼합된 것 이외에도, 적색 계열의 형광체를 갖는 층, 녹색 계열의 형광체를 갖는 층 및 황색 계열의 형광체를 갖는 층이 각각 별개로 나뉘어 구성될 수 있다.
체결 부재(500)는, 발광 모듈(300)을 방열체(100)에 고정시킨다.
체결 부재(500)는, 방열체(100)와 발광 모듈(300)을 기계적으로 결합시킬 수 있다. 체결 부재(500)는 단자(311)의 홀(311a), 기판(310)의 홀(미도시) 및 방열체(100)의 홀(150)에 삽입됨으로서, 방열체(100)와 발광 모듈(300)을 기계적으로 결합시킬 수 있다.
체결 부재(500)는, 방열체(100)와 발광 모듈(300)을 기계적으로 결합시키는 것과 함께 발광 모듈(300)과 전원 제공부(700)를 전기적으로 연결할 수 있다. 체결 부재(500)는 발광 모듈(300)의 단자(311)와 연결되고, 전원 제공부(700)와 연결됨으로서, 발광 모듈(300)와 전원 제공부(700)를 전기적으로 연결할 수 있다.
체결 부재(500)의 구체적인 구조를 도 4 내지 도 7을 참조하여 설명하도록 한다.
도 4는 도 1 내지 도 3에 도시된 체결 부재(500)를 위에서 바라본 사시도이고, 도 5는 도 4에 도시된 체결 부재를 아래에서 바라본 사시도이고, 도 6은 도 4에 도시된 체결 부재의 단면도이고, 도 7은 도 6에 도시된 체결 부재의 변형 예이다.
도 4 내지 도 6을 참조하면, 체결 부재(500)는 나사 형상일 수 있다. 구체적으로, 체결 부재(500)는 몸체부(510), 머리부(530) 및 전극부(550)을 포함할 수 있다.
몸체부(510)는, 도 1 내지 도 3에 도시된 단자(311)의 홀(311a), 기판(310)의 홀(미도시) 및 방열체(100)의 홀(150)에 삽입된다.
몸체부(510)는, 원통 형상일 수 있다. 그러나 이에 한정하는 것은 아니며, 몸체부(510)는 아래쪽으로 갈수록 그 직경이 감소하는 원뿔 형태일 수도 있다.
몸체부(510)의 측면에는 나사산(511)이 배치될 수 있다. 나사산(511)은 기판(310)의 홀(미도시)에 형성된 나사홈(미도시)에 결합될 수 있다.
몸체부(510)의 내부에는 전극부(550)가 배치될 수 있다. 구체적으로, 몸체부(510)의 내부 중심에 전극부(550)의 하부 전극부(550b)가 배치될 수 있다.
머리부(530)는, 몸체부(510) 상에 배치된다. 구체적으로, 머리부(530)는 몸체부(510)의 상단에 배치될 수 있다. 머리부(530)는 몸체부(510)의 직경보다 더 큰 직경을 갖는다.
머리부(530)의 상면에는 (+)형 드라이버가 끼워질 수 있는 (+)형 홈(531)이 형성될 수 있다.
머리부(530)의 하면에는 상부 전극부(550a)의 일 부분이 배치될 수 있다. 즉, 머리부(530)의 하면에 상부 전극부(550a)의 일 부분이 노출될 수 있다. 상부 전극부(550a)의 일 부분이 도 2 내지 도 3에 도시된 단자(311)와 접촉될 수 있다.
몸체부(510)와 머리부(530)는 일체일 수 있다.
몸체부(510)와 머리부(530)는 전기 절연성 재질일 수 있다. 예를 들어, 몸체부(510)와 머리부(530)는 비금속 재질 또는 수지 재질일 수 있다.
전극부(550)는, 몸체부(510)와 머리부(530) 내부에 배치될 수 있다. 구체적으로, 전극부(550)는 머리부(530) 내부에 배치된 상부 전극부(550a)와 몸체부(510) 내부에 배치된 하부 전극부(550b)를 포함할 수 있다.
상부 전극부(550a)와 하부 전극부(550b)는 서로 연결되거나 일체로 형성된 것일 수 있다.
상부 전극부(550a)는 부채꼴 형상의 판일 수 있다.
상부 전극부(550a)의 일 부분은 머리부(530)의 외면에 노출될 수 있다. 여기서, 상부 전극부(550a)의 일 부분은, 부채꼴 형상의 상부 전극부(550a)에서 호를 포함하는 부분일 수 있다.
상부 전극부(550a)의 일 부분은 머리부(530)의 하면의 일 부분에 배치될 수 있다. 여기서, 상부 전극부(550a)의 일 부분이 배치된 머리부(530)의 하면의 일 부분은 몸체부(510)에 인접한 일 부분일 수 있다.
상부 전극부(550a)의 일 부분은, 도 2 내지 도 3에 도시된 체결 부재(500)가 발광 모듈(300)과 방열체(100)에 결합하였을 때, 도 2 내지 도 3에 도시된 단자(311)와 접촉한다.
여기서, 상부 전극부(550a)의 일 부분은, 도 7에 도시된 바와 같이, 돌기부(550a-1)를 포함할 수 있다. 돌기부(550a-1)는 상부 전극부(550a)의 일 부분에서 몸체부(510)의 길이 방향 또는 아래로 돌출된 것으로서 복수개일 수 있다. 이러한 돌기부(550a-1)에 의해, 상부 전극부(550a)의 일 부분과 단자(311) 간의 접촉력이 향상될 수 있다.
하부 전극부(550b)는 소정의 길이를 갖는 원통 형상일 수 있다. 하부 전극부(550b)의 상단은 상부 전극부(550a)와 연결된다.
하부 전극부(550b)의 일 부분은, 몸체부(510) 밖에 배치된다. 여기서, 하부 전극부(550b)의 일 부분은, 몸체부(510)의 하면 아래로 연장된 것일 수 있다. 이러한 하부 전극부(550b)의 일 부분은, 도 3에 도시된 전원 제공부(700)와 전기적으로 연결될 수 있다.
여기서, 하부 전극부(550b)의 일 부분이 도 3에 도시된 전원 제공부(700)와 전기적으로 연결될 때, 커넥터(900)가 이용될 수 있다. 도 3 및 도 6에 도시된 바와 같이, 커넥터(900)는 하부 전극부(550b)의 일 부분과 연결되고, 전원 제공부(700)에 연결된 와이어와 연결되어 하부 전극부(550b)의 일 부분과 와이어를 전기적으로 연결할 수 있다. 또한, 커넥터(900)는 하부 전극부(550b)의 일 부분과 와이어를 분리시킬 수 있다.
전극부(550)는, 전기를 도통할 수 있는 전기 전도성 재질일 수 있다.
전극부(550), 몸체부(510) 및 머리부(530)는 일체일 수 있다. 전극부(550)를 미리 제조한 후, 전극부(550) 위에 몸체부(510)와 머리부(530)를 사출로 형성하여 전극부(550), 몸체부(510) 및 머리부(530)를 일체로 형성할 수 있다.
도 8은 도 4 내지 도 6에 도시된 체결 부재의 또 다른 변형 예를 아래에서 바라본 사시도이고, 도 9는 도 8에 도시된 체결 부재의 단면도이다.
도 8 내지 도 9에 도시된 체결 부재는, 도 4 내지 도 6에 도시된 체결 부재와 대비하여 상부 전극부(550a’)의 형상이 상이하고 다른 나머지 구성은 동일하다.
상부 전극부(550a’)은 원 형상의 판일 수 있다.
외부에 노출되는 상부 전극부(550a’)의 일 부분은, 머리부(530)의 하면의 일 부분에 배치된다. 여기서, 상부 전극부(550a’)의 일 부분은, 원 형상의 판인 상부 전극부(550a’)에서 원주를 포함하는 부분일 수 있다.
상부 전극부(550a’)의 일 부분은 머리부(530)와 연결된 몸체부(510)의 상단을 둘러싸도록 배치되고, 몸체부(510)의 상단에 접하여 배치된다. 이러한 상부 전극부(550a’)의 일 부분은, 도 4 내지 도 6에 도시된 상부 전극부(550a’)의 일 부분보다 더 넓은 면적을 갖기 때문에, 도 2 내지 도 3에 도시된 단자(311)와의 접촉 면적이 넓어지는 이점이 있다.
도면에 도시되지 않았으나, 도 8 내지 도 9에 도시된 체결 부재에는 도 7에 도시된 돌기부(550a-1)가 적용될 수 있다.
도 10은 도 4 내지 도 6에 도시된 체결 부재의 또 다른 변형 예를 아래에서 바라본 사시도이고, 도 11은 도 10에 도시된 체결 부재의 단면도이다.
도 10 내지 도 11에 도시된 체결 부재는, 도 8 내지 도 9에 도시된 체결 부재와 대비하여 상부 전극부(550a’’)의 형상이 상이하고 다른 나머지 구성은 동일하다.
상부 전극부(550a’’)는 원 형상의 판이고, 상부 전극부(550a’’)의 둘레부가 아래로 구부러진 형상을 갖는다.
외부에 노출되는 상부 전극부(550a’’)의 일 부분은, 머리부(530)의 하면의 일 부분에 배치되는데, 상부 전극부(550a’’)의 일 부분은 머리부(530)와 연결된 몸체부(510)의 상단을 둘러싸도록 배치되고, 몸체부(510)의 상단에서 소정 간격 이격되어 배치된다. 이러한 상부 전극부(550a’’)의 일 부분은, 도 4 내지 도 6에 도시된 상부 전극부(550a’)의 일 부분보다 더 넓은 면적을 갖기 때문에, 도 2 내지 도 3에 도시된 단자(311)와의 접촉 면적이 넓어지는 이점이 있다.
도면에 도시되지 않았으나, 도 10 내지 도 11에 도시된 체결 부재에는 도 7에 도시된 돌기부(550a-1)가 적용될 수 있다.
도 12는 도 4 내지 도 6에 도시된 체결 부재의 또 다른 변형 예를 아래에서 바라본 사시도이고, 도 13은 도 12에 도시된 체결 부재의 단면도이다.
도 12 내지 도 13에 도시된 체결 부재는, 도 8 내지 도 9에 도시된 체결 부재와 대비하여 볼 때, 몸체부(510’)의 형상이 상이하고, 나머지 구성은 동일하다.
몸체부(510’)는 복수로 머리부(530)에 연결된다.
복수의 몸체부(510’)들 각각은 후크(513’)를 포함한다. 후크(513’)는 몸체부(510’)의 하단부에 형성될 수 있다.
복수의 몸체부(510’)들은 하부 전극부(550b)로부터 이격되고, 하부 전극부(550b)를 둘러싸도록 배치된다.
복수의 몸체부(510’)들 중 서로 인접하는 두 몸체부(510’)들은 소정 간격 이격된다.
복수의 몸체부(510’)들의 개수가 도면에서는 4개로 도시되어 있으나, 이에 한정하는 것은 아니며, 몸체부(510’)의 개수는 2개 또는 3개일 수도 있고, 5개 이상일 수도 있다.
이러한 몸체부(510’)를 포함하는 체결 부재가, 도 2 내지 도 3에 도시된 기판(310)과 방열체(100)에 체결되면, 기판(310)과 방열체(100)을 단단하게 결합시킬 수 있는 이점이 있다. 구체적으로, 복수의 몸체부(510’)들을 하부 전극부(550b)측으로 힘을 가해 서로의 간격이 좁아지게 한 후, 복수의 몸체부(510’)들을 도 2 내지 도 3에 도시된 단자(311)의 홀(311a), 기판(310)의 홀(미도시) 및 방열체(100)의 홀(150)에 밀어넣으면, 후크(513’)가 방열체(100)의 하면에 걸리게 되므로, 기판(310)과 방열체(100)는 체결 부재에 의해 서로 단단하게 결합될 수 있다.
이와 같이, 도 4 내지 도 13에 도시된 여러 체결 부재들은, 도 1 내지 도 3에 도시된 발광 모듈(300)과 방열체(100)를 기계적으로 연결함과 동시에 발광 모듈(300)과 전원 제공부(700)를 전기적으로 연결할 수 있다. 따라서, 종래에 발광 모듈(300)과 전원 제공부(700)를 연결하기 위한 납땜 공정이 전혀 필요없기 때문에, 납땜에서 발생되는 유해 가스가 생길 수가 없다.
또한, 도 4 내지 도 11에 도시된 여러 체결 부재들은, 드라이버를 통해 간단하게 조립 및 분해가 가능하고, 도 12 내지 도 13에 도시된 체결 부재는 작업자의 손으로 간단하게 조립 및 분해가 가능하기 때문에, 도 1 내지 도 3에 도시된 발광 모듈(300)을 용이하게 교체할 수 있는 이점이 있다.
또한, 도 4 내지 도 13에 도시된 여러 체결 부재들은, 도 3에 도시된 전원 제공부(700)에서 방출되는 유해 가스가 발광 모듈(300)로 유입되는 것을 막을 수 있다. 구체적으로, 도 3을 참조하면, 체결 부재(500)가 기판(310)과 방열체(100)에 형성된 홀을 틀어막기 때문에, 전원 제공부(700)에서 발생되는 유해 가스가 상기 홀을 통해 발광 모듈(300)로 유입되지 못한다. 따라서, 유해 가스에 의한 발광 모듈(300)의 수지부(350)의 변색이나 산화를 사전에 차단할 수 있는 이점이 있다.
이상에서 실시 형태를 중심으로 설명하였으나 이는 단지 예시일 뿐 본 발명을 한정하는 것이 아니며, 본 발명이 속하는 분야의 통상의 지식을 가진 자라면 본 실시예의 본질적인 특성을 벗어나지 않는 범위에서 이상에 예시되지 않은 여러 가지의 변형과 응용이 가능함을 알 수 있을 것이다. 예를 들어, 실시 형태에 구체적으로 나타난 각 구성 요소는 변형하여 실시할 수 있는 것이다. 그리고 이러한 변형과 응용에 관계된 차이점들은 첨부된 청구 범위에서 규정하는 본 발명의 범위에 포함되는 것으로 해석되어야 할 것이다.
100: 방열체
300: 발광 모듈
500: 체결 부재
300: 발광 모듈
500: 체결 부재
Claims (8)
- 제1 홀을 갖는 방열체;
상기 방열체 상에 배치되고 상기 방열체의 제1 홀 상에 배치된 제2 홀을 갖는 기판, 상기 기판 상에 배치된 발광 소자 및 상기 발광 소자를 덮는 수지부를 포함하는 발광 모듈; 및
상기 발광 모듈을 상기 방열체에 고정시키기 위한 체결 부재;를 포함하고,
상기 기판은, 상기 기판 상에 배치되고 상기 기판의 제2 홀 상에 배치된 제3 홀을 갖는 단자를 포함하고,
상기 체결 부재는, 상기 제1 내지 제3 홀에 결합된 몸체부, 상기 몸체부 상에 배치된 머리부, 및 상기 몸체부와 상기 머리부 내부에 배치되고 상기 단자와 접촉하는 전극부;를 포함하고,
상기 몸체부와 상기 머리부는 전기 절연성 재질이고, 상기 전극부는 전기 전도성 재질인, 조명 장치. - 제 1 항에 있어서, 상기 전극부는,
상기 머리부 내부에 배치된 상부 전극부; 및
상기 몸체부 내부에 배치된 하부 전극부;를 포함하고,
상기 상부 전극부는 상기 머리부의 하면에 배치된 일 부분을 포함하고,
상기 상부 전극부의 일 부분은 상기 단자와 접촉하는, 조명 장치. - 제 2 항에 있어서,
상기 방열체 내부에 배치된 전원 제공부를 더 포함하고,
상기 하부 전극부는, 상기 몸체부의 하면에서 밖으로 연장된 일 부분을 포함하고,
상기 하부 전극부의 일 부분은 상기 전원 제공부와 전기적으로 연결되는, 조명 장치. - 제 3 항에 있어서,
상기 하부 전극부의 일 부분과 상기 전원 제공부 사이에 연결된 커넥터를 더 포함하는 조명 장치. - 제 2 항에 있어서,
상기 상부 전극부의 일 부분은, 상기 몸체부의 상단을 둘러싸고,
상기 몸체부의 상단에 접하는, 조명 장치. - 제 2 항에 있어서,
상기 상부 전극부의 일 부분은, 상기 몸체부의 상단을 둘러싸고,
상기 몸체부의 상단에서 소정 간격 이격된, 조명 장치. - 제 2 항에 있어서,
상기 상부 전극부는 부채꼴 형상 또는 원 형상인, 조명 장치. - 제 2 항에 있어서,
상기 몸체부는 복수이고,
상기 복수의 몸체부는 상기 하부 전극부를 둘러싸고,
상기 복수의 몸체부들 중 서로 인접한 두 몸체부는 소정 간격 이격되고,
상기 복수의 몸체부들 각각은 후크를 포함하는, 조명 장치.
Priority Applications (1)
| Application Number | Priority Date | Filing Date | Title |
|---|---|---|---|
| KR1020140158488A KR20160057640A (ko) | 2014-11-14 | 2014-11-14 | 조명 장치 |
Applications Claiming Priority (1)
| Application Number | Priority Date | Filing Date | Title |
|---|---|---|---|
| KR1020140158488A KR20160057640A (ko) | 2014-11-14 | 2014-11-14 | 조명 장치 |
Publications (1)
| Publication Number | Publication Date |
|---|---|
| KR20160057640A true KR20160057640A (ko) | 2016-05-24 |
Family
ID=56113785
Family Applications (1)
| Application Number | Title | Priority Date | Filing Date |
|---|---|---|---|
| KR1020140158488A Withdrawn KR20160057640A (ko) | 2014-11-14 | 2014-11-14 | 조명 장치 |
Country Status (1)
| Country | Link |
|---|---|
| KR (1) | KR20160057640A (ko) |
Cited By (2)
| Publication number | Priority date | Publication date | Assignee | Title |
|---|---|---|---|---|
| CN113028371A (zh) * | 2021-03-02 | 2021-06-25 | 中国长江电力股份有限公司 | 一种低压交直流回路可组装式led信号指示灯 |
| KR102610359B1 (ko) * | 2023-08-23 | 2023-12-06 | (주)아이딕 | 바 타입 led 연결용 케이블 커넥터 어셈블리 |
-
2014
- 2014-11-14 KR KR1020140158488A patent/KR20160057640A/ko not_active Withdrawn
Cited By (2)
| Publication number | Priority date | Publication date | Assignee | Title |
|---|---|---|---|---|
| CN113028371A (zh) * | 2021-03-02 | 2021-06-25 | 中国长江电力股份有限公司 | 一种低压交直流回路可组装式led信号指示灯 |
| KR102610359B1 (ko) * | 2023-08-23 | 2023-12-06 | (주)아이딕 | 바 타입 led 연결용 케이블 커넥터 어셈블리 |
Similar Documents
| Publication | Publication Date | Title |
|---|---|---|
| CN102332512B (zh) | 发光器件 | |
| US9416948B2 (en) | Light-emitting module and lighting apparatus | |
| KR20160057640A (ko) | 조명 장치 | |
| KR20160086559A (ko) | 발광소자, 이를 포함하는 발광소자 패키지, 및 이를 포함하는 조명시스템 | |
| US20180063931A1 (en) | Light-emitting device and illuminating apparatus | |
| US9660145B2 (en) | Light emitting device, light emitting device package having the same and light system having the same | |
| KR100646638B1 (ko) | 발광 다이오드 조명장치 및 제조방법 | |
| KR101921127B1 (ko) | 조명 장치 | |
| KR102233037B1 (ko) | 조명 장치 | |
| KR20160109331A (ko) | 발광소자, 발광소자 패키지, 및 이를 포함하는 조명시스템 | |
| KR100646642B1 (ko) | 발광 다이오드 조명장치 및 제조방법 | |
| KR101248515B1 (ko) | 발광 다이오드 | |
| KR102261953B1 (ko) | 발광소자, 이를 포함하는 발광소자 패키지, 및 이를 포함하는 조명시스템 | |
| WO2014045522A1 (ja) | 照明用光源及び照明装置 | |
| KR20120019697A (ko) | 발광소자 패키지 및 이를 채용한 멀티칩 조명모듈 | |
| KR102031737B1 (ko) | 조명 장치 | |
| KR100648627B1 (ko) | 발광 다이오드 | |
| KR102229467B1 (ko) | 조명 장치 | |
| KR102229476B1 (ko) | 조명 장치 | |
| KR102189617B1 (ko) | 조명 장치 | |
| KR102208333B1 (ko) | 조명 장치 | |
| KR102031749B1 (ko) | 조명 장치 | |
| KR101374899B1 (ko) | 발광 다이오드 | |
| KR102157066B1 (ko) | 조명 장치 | |
| KR102167882B1 (ko) | 조명 장치 |
Legal Events
| Date | Code | Title | Description |
|---|---|---|---|
| PA0109 | Patent application |
Patent event code: PA01091R01D Comment text: Patent Application Patent event date: 20141114 |
|
| PG1501 | Laying open of application | ||
| PC1203 | Withdrawal of no request for examination | ||
| WITN | Application deemed withdrawn, e.g. because no request for examination was filed or no examination fee was paid |