KR20160046969A - 바닥면 세척수단을 갖는 계곡수 정수용 간이 상수도 장치 - Google Patents

바닥면 세척수단을 갖는 계곡수 정수용 간이 상수도 장치 Download PDF

Info

Publication number
KR20160046969A
KR20160046969A KR1020140141811A KR20140141811A KR20160046969A KR 20160046969 A KR20160046969 A KR 20160046969A KR 1020140141811 A KR1020140141811 A KR 1020140141811A KR 20140141811 A KR20140141811 A KR 20140141811A KR 20160046969 A KR20160046969 A KR 20160046969A
Authority
KR
South Korea
Prior art keywords
raw water
storage tank
water
temporary storage
rotating means
Prior art date
Legal status (The legal status is an assumption and is not a legal conclusion. Google has not performed a legal analysis and makes no representation as to the accuracy of the status listed.)
Ceased
Application number
KR1020140141811A
Other languages
English (en)
Inventor
이진숙
Original Assignee
이진숙
Priority date (The priority date is an assumption and is not a legal conclusion. Google has not performed a legal analysis and makes no representation as to the accuracy of the date listed.)
Filing date
Publication date
Application filed by 이진숙 filed Critical 이진숙
Priority to KR1020140141811A priority Critical patent/KR20160046969A/ko
Publication of KR20160046969A publication Critical patent/KR20160046969A/ko
Ceased legal-status Critical Current

Links

Images

Classifications

    • BPERFORMING OPERATIONS; TRANSPORTING
    • B01PHYSICAL OR CHEMICAL PROCESSES OR APPARATUS IN GENERAL
    • B01DSEPARATION
    • B01D35/00Filtering devices having features not specifically covered by groups B01D24/00 - B01D33/00, or for applications not specifically covered by groups B01D24/00 - B01D33/00; Auxiliary devices for filtration; Filter housing constructions
    • CCHEMISTRY; METALLURGY
    • C02TREATMENT OF WATER, WASTE WATER, SEWAGE, OR SLUDGE
    • C02FTREATMENT OF WATER, WASTE WATER, SEWAGE, OR SLUDGE
    • C02F1/00Treatment of water, waste water, or sewage
    • C02F1/28Treatment of water, waste water, or sewage by sorption

Landscapes

  • Chemical & Material Sciences (AREA)
  • Life Sciences & Earth Sciences (AREA)
  • Hydrology & Water Resources (AREA)
  • Engineering & Computer Science (AREA)
  • Environmental & Geological Engineering (AREA)
  • Water Supply & Treatment (AREA)
  • Organic Chemistry (AREA)
  • Chemical Kinetics & Catalysis (AREA)
  • Filtration Of Liquid (AREA)

Abstract

본 발명은 바닥면 세척수단을 갖는 계곡수 정수용 간이 상수도 장치에 있어서, 특히 낙엽이나 흙이 많이 존재하는 계곡수를 보다 효과적으로 정화하고 아울러 침전물질을 보다 용이하게 제거하여 깨끗한 상등수를 용이하게 추출하여 공급토록 하고, 아울러 간이 저장조의 벽면을 보다 용이하게 세척할 수 있도록 구성한 것을 특징으로 하는 바닥면 세척수단을 갖는 계곡수 정수용 간이 상수도 장치에 관한 것으로,
여과용 잡석(60)과; 상기 여과용 잡석의 하부에 위치하고, 다각형통 또는 원통 형상으로 이루어지며 하우징에는 다수개의 원수 인입홀(41)이 형성되어 있어서 여과용 잡석을 통과한 원수를 집수하는 원수 집수관(40)과; 상기 원수 집수관(40)을 통해 들어온 원수가 임시로 저장되는 장소로서 하부가 폐쇄된 원통 형상으로 이루어지는 원수 임시저장탱크(10)와; 상기 원수 임시 저장탱크(10) 내부에 설치되는 것으로, 원수에 함유된 이물질을 제거하여 상등수만을 외부로 내보내기 위해 설치되는 필터장치(30)와; 상기 원수 임시 저장탱크(10)에 설치되며 원수 임시저장탱크(10)의 하부에 가라않은 이물질을 교반시키는 교반장치(20)와; 상기 원수 임시저장탱크(10)의 필터장치(30)에 결합되어 상등수를 외부로 배출하기 위한 상등수 이송관(13)과; 상기 원수 임시저장탱크(10)의 외측 하단에 설치되며 교반된 이물질이 외부로 배출되도록 유도하는 이물질 토출관(11)과; 상기 원수 임시저장탱크(10)의 상부에 위치하며 임시 저장탱크(10)로 원수가 차 올라 일정이상이 될 경우 외부로 배출하기 위한 바이패스관(12) 및, 상등수가 보관되는 상수 저장부(50)를 포함하여 이루어짐이 특징이다.

Description

바닥면 세척수단을 갖는 계곡수 정수용 간이 상수도 장치{Simple waterworks device for clean water having a wahing means for floor surface}
본 발명은 바닥면 세척수단을 갖는 계곡수 정수용 간이 상수도 장치에 관한 것으로, 특히 낙엽이나 흙이 많이 존재하는 계곡수를 보다 효과적으로 정화하고 아울러 침전물질을 보다 용이하게 제거하여 깨끗한 상등수를 용이하게 추출하여 공급토록 하고, 아울러 간이 저장조의 벽면을 보다 용이하게 세척할 수 있도록 구성한 것을 특징으로 하는 바닥면 세척수단을 갖는 계곡수 정수용 간이 상수도 장치에 관한 것이다.
일반적으로 상수도가 보급되지 않는 도서지역이나 두메산골 등지에서는 자체적으로 간이상수도를 마을이나 지역단위로 운용하고 있으며, 이러한 간이상수도의 대부분은 산의 중턱과 같은 높은 곳에 물탱크를 설치하고, 수맥이 있는 지점에 지하로 파이프를 묻고 모터펌프를 가동하여 지하수를 끌어올려 상기 물탱크에 저수하거나 또는 상기 모터펌프를 사용하지 않고 계곡을 따라 흐르는 자연 계곡수를 물탱크에 저수한 후 가가호호 공급하여 사용하고 있는 실정이다.
그러나 상기 간이상수도 시설은 대부분 산간 오지에 설치되기 때문에 접근이 용이하지 않을 뿐만 아니라 현장 관리자가 비전문가인 마을주민들로 선정됨에 따라 현실적으로 관리가 매우 어려운 것이었다.
간이상수도의 특성상 각종 현탁 부유물질과 유기용존물질이 완전 제거되지 않고 공급되므로써 식수의 질을 떨어뜨리고 있다.
즉 지하수라 하더라도 폐공관리부실, 환경 오염등 여러 요인에 의해 유해 용존물질이 음용수 수질기준을 초과하는 경우가 허다하며 특히 계곡수는 강우량, 대기오염, 낙엽부식질 등 직접요인에 의해 그 위험도가 매우높다.
이에 따라, 계곡수와 같은 간이 상수도는 낙엽부실질이나 흙물을 용이하게 제거해야 하나 이들이 고형화될 경우 제거하기가 매우 어려워지는 문제가 있었다.
즉, 계곡물을 상수도로 활용하기 위해서 물탱크와 같은 간이 저장시설을 설치한다고 하더라도 계곡물에 섞여 있는 부식토나 흙이 물탱크 내부에 쌓일 수 있으며, 이들을 용이하게 제거하기 어려워 상수도로서의 기능이 쉽게 마비되는 현상이 발생하는 것이다.
한편, 이러한 간이상수도의 탁도 및 불순물제거를 위한 종래의 기술로는 대한민국 실용신안등록번호 20-0205193호, 대한민국 실용신안 등록번호 20-0252677호, 대한민국실용신안 등록번호 20-0292207호, 대한민국실용신안 등록번호 20-0261597호 및 대한민국 발명특허출원번호-2004-0008063호에 중수도 및 간이상수도 정수장치가 제안되었으나, 수동으로 세척을 하거나 역세척 및 슬러지를 수동으로 밸브를 열어 청소를 하는등 비교적 복잡한 공정을 수행함으로써 유지관리 및 편리성이 떨어지는 실정이다.
낙엽과 같은 비교적 큰 부유물을 용이하게 걸러서 원수 임시저장탱크로 이송토록하고, 원수 임시저장탱크에는 교반장치를 설치하여 일정시간마다 이물질을 교반하여 이물질이 원수 임시저장탱크의 바닥면에 쌓이지 않고 외부로 배출되도록함으로서 상등수의 물만을 추출하여 이용할 수 있도록 구성하는데 그 목적이 있다.
상기 목적을 달성하기 위한 수단으로,
본 발명은 여과용 잡석(60)과; 상기 여과용 잡석의 하부에 위치하고, 다각형통 또는 원통 형상으로 이루어지며 하우징에는 다수개의 원수 인입홀(41)이 형성되어 있어서 여과용 잡석을 통과한 원수를 집수하는 원수 집수관(40)과; 상기 원수 집수관(40)을 통해 들어온 원수가 임시로 저장되는 장소로서 하부가 폐쇄된 원통 형상으로 이루어지는 원수 임시저장탱크(10)와; 상기 원수 임시 저장탱크(10) 내부에 설치되는 것으로, 원수에 함유된 이물질을 제거하여 상등수만을 외부로 내보내기 위해 설치되는 필터장치(30)와; 상기 원수 임시 저장탱크(10)에 설치되며 원수 임시저장탱크(10)의 하부에 가라않은 이물질을 교반시키는 교반장치(20)와; 상기 원수 임시저장탱크(10)의 필터장치(30)에 결합되어 상등수를 외부로 배출하기 위한 상등수 이송관(13)과; 상기 원수 임시저장탱크(10)의 외측 하단에 설치되며 교반된 이물질이 외부로 배출되도록 유도하는 이물질 토출관(11)과; 상기 원수 임시저장탱크(10)의 상부에 위치하며 임시 저장탱크(10)로 원수가 차 올라 일정이상이 될 경우 외부로 배출하기 위한 바이패스관(12) 및, 상등수가 보관되는 상수 저장부(50)를 포함하여 이루어지고; 상기 교반장치(20)는, 모터(21a) 및 유동봉(21b)을 포함하여 이루어지며 모터(21a)의 구동에 의해서 유동봉(21b)이 좌우로 유동되는 제 1 좌우 회전수단(21)과; 상기 제 1 좌우 회전수단(21)의 맨 하단부에서 일측으로 분기되어 설치되며 별도의 모터(22a)로부터 회전동력을 공급받아 제 1 회전수단(21)의 반대방향으로 회전하는 제 2 좌우 회전수단(22)과; 상기 제 1 회전수단(21)의 맨 하단부에서 타측으로 분기되어 설치되며 별도의 모터(23a)로부터 회전동력을 제공받아 제 1 회전수단(21)과 반대방향으로 회전하는 제 3 회전수단(23)과; 상기 제 1 좌우 회전수단과 제 2 좌우 회전수단 사이 그리고 제 1 좌우 회전수단과 제 3 좌우 회전수단 사이에 설치되며 내부에 좌우 유동모터(24a)를 포함하여 이루어지며, 상기 좌우 유동모터는 지지봉(21c, 21d)과 연결되어 상기 지지봉을 좌우로 펼치거나 접히도록 동작하는 좌우 왕복 유동수단(24)과; 상기 각각 제 2 좌우 회전수단(22)과 제 3 좌우 회전수단(23)의 저면에 부착되어 바닥면을 청소하는 제 1, 2청소용 솔(25)과; 상기 제 2, 3 좌우 회전수단의 저면에 설치되고, 바닥면에 존재하는 먼지를 감지하며, 먼지가 감지되면 제 1, 2, 3 좌우 회전수단(21, 22, 23)을 구동시키도록 유도하는 바닥면 먼지 확인용 센서(26)를 포함하여 구성함이 특징이다.
또한, 상기 원수 임시저장탱크 내부에 수위감지 센서(32a)를 설치하고, 상기 수위감지 센서의 결과에 따라 상수 저장부의 물을 공급하기 위해 물공급용 호스(27)를 설치하며, 상기 물공급용 호스를 통해 원수 임시저장탱크로 물을 공급하기 위한 물공급용 펌프(28)를 더 구비하여 이루어진 것이 특징이다.
또한, 상기 청소용바(25)의 내부 또는 저면에 히팅코일(27c)을 더 설치하여 이루어진 것이 특징이다.
또한, 상기 원수 임시저장탱크의 내측 일단에는 바닥면에 얼음이 얼었는지 판별하기 위한 카메라장치(10a)를 더 설치하여 이루어지는 것이 특징이다.
또한, 상기 필터장치(30)는, 원수 임시저장탱크(10)로 인입된 물에서 이물질을 제거하여 상등수를 배출하기 위한 여과망(31)과; 상기 여과망과 연결되어 있으며 여과망(31)이 상부에 위치하도록 띄우는 역할을 하는 부레(32)와; 상기 여과망(31)의 일단에 연결되며 여과망(31)의 일단에 연결되어 있어서 여과망(31)에 의해서 걸러진 상등수가 외부로 출력되도록 유도하는 주름호스(33)를 포함하여 구성함이 특징이다.
상술한 바와 같이 본 발명은 낙엽과 같은 비교적 큰 부유물을 용이하게 걸러서 원수 임시저장탱크로 이송토록하고, 원수 임시저장탱크에는 교반장치를 설치하여 일정시간마다 이물질을 교반하여 이물질이 원수 임시저장탱크의 바닥면에 쌓이지 않고 외부로 배출되도록함으로서 상등수의 물만을 추출하고, 또한 간이 저장소의 벽면을 보다 용이하게 세척할 수 있는 효과가 있다.
도 1은 본 발명의 전체 구성도.
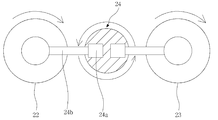
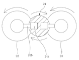
도 2는 본 발명의 좌우 왕복 유동 수단 동작 개념도.
도 3은 본 발명의 센서를 설명하기 위한 저면도.
도 4는 본 발명을 이용하여 좁은 구역을 청소하는 동작도.
도 5는 본 발명을 이용하여 넓은 구역을 청소하는 동작도.
도 6은 본 발명의 회로구성 블록도.
이하 첨부된 도면과 설명을 참조하여 본 발명의 바람직한 실시예에 대한 동작 원리를 상세히 설명한다. 다만, 하기에 도시되는 도면과 후술되는 설명은 본 발명의 특징을 효과적으로 설명하기 위한 여러 가지 방법 중에서 바람직한 실시 방법에 대한 것이며, 본 발명이 하기의 도면과 설명만으로 한정되는 것은 아니다.
또한, 하기에서 본 발명을 설명함에 있어 관련된 공지 기능 또는 구성에 대한 구체적인 설명이 본 발명의 요지를 불필요하게 흐릴 수 있다고 판단되는 경우에는 그 상세한 설명을 생략할 것이다. 그리고 후술되는 용어들은 본 발명에서의 기능을 고려하여 정의된 용어들로서, 이는 사용자, 운용자의 의도 또는 관례 등에 따라 달라질 수 있다. 그러므로 그 정의는 본 발명에서 전반에 걸친 내용을 토대로 내려져야 할 것이다.
또한, 이하 실시되는 본 발명의 바람직한 실시예는 본 발명을 이루는 기술적 구성요소를 효율적으로 설명하기 위해 각각의 시스템 기능구성에 이미 구비되어 있거나, 또는 본 발명이 속하는 기술분야에서 통상적으로 구비되는 시스템 기능구성은 가능한 생략하고, 본 발명을 위해 추가적으로 구비되어야 하는 기능구성을 위주로 설명한다.
만약 본 발명이 속하는 기술분야에서 통상의 지식을 가진 자라면, 하기에 도시하지 않고 생략된 기능구성 중에서 종래에 이미 사용되고 있는 구성요소의 기능을 용이하게 이해할 수 있을 것이며, 또한 상기와 같이 생략된 구성요소와 본 발명을 위해 추가된 구성요소 사이의 관계도 명백하게 이해할 수 있을 것이다.
또한, 이하 실시예는 본 발명의 핵심적인 기술적 특징을 효율적으로 설명하기 위해 본 발명이 속하는 기술분야에서 통상의 지식을 가진 자가 명백하게 이해할 수 있도록 용어를 적절하게 변형하여 사용할 것이나, 이에 의해본 발명이 한정되는 것은 결코 아니다.
결과적으로, 본 발명의 기술적 사상은 청구범위에 의해 결정되며, 이하 실시예는 진보적인 본 발명의 기술적 사상을 본 발명이 속하는 기술분야에서 통상의 지식을 가진 자에게 효율적으로 설명하기 위한 하나의 수단일 뿐이다.
도 1은 본 발명의 전체 구성도.
도 2는 본 발명의 좌우 왕복 유동 수단 동작 개념도.
도 3은 본 발명의 센서를 설명하기 위한 저면도.
도 4는 본 발명을 이용하여 좁은 구역을 청소하는 동작도.
도 5는 본 발명을 이용하여 넓은 구역을 청소하는 동작도.
도 6은 본 발명의 회로구성 블록도로서,
본 발명의 구성요소는 크게 여과용 잡석(60)과, 원수 집수관(40)과, 원수 임시저장탱크(10)와, 필터장치(30)와, 상수 저장부(50)와, 교반장치(20)와, 상등수 이송관(13)과, 이물질 토출관(11)과, 바이패스관(12)으로 이루어진다.
상기 여과용 잡석(60)은 강수등에 의해서 계곡에서 발생되는 물을 최초로 여과하는 것으로, 통상 지하에 매설된다. 매설되는 순서는 아래에서 부터 매우 큰 자갈(61), 큰 자갈(62), 작은 자갈(63) 순서로 배열함이 바람직하다. 이에 따라 계곡에서 발생한 강수는 작은자갈과, 큰 자갈 및 매우 큰 자갈을 순차적으로 통과하게 된다.
상기 원수 집수관(40)은 여과용 잡석의 하부에 위치하며, 더욱 상세하게는 매우 큰 자갈(61)의 하부에 위치하게 된다. 그리고, 원수 집수관은 다각형통 또는 원통 형상으로 이루어지며 하우징에는 다수개의 원수 인입홀(41)이 형성되어 있어서 매우 큰 자갈을 통과한 물이 원수 인입홀을 통해 원수 집수관 내부로 들어오도록 유도한다.
상기 원수 임시저장탱크(10)는 원수 집수관(40)을 통해 들어온 원수가 임시로 저장되는 장소로서 하부가 폐쇄된 원통 형상으로 이루어진다. 상기 원수 임시저장탱크는 상부를 뚜껑등을 이용하여 폐쇄하게 되며, 본 발명의 도면에서는 설명의 편의상 도시를 생략하였다.
상기 필터장치(30)는 원수 임시 저장탱크(10) 내부에 설치되는 것으로, 원수에 함유된 이물질을 제거하여 상등수만을 외부로 내보내기 위해 설치된다. 더욱 상세하게는 여과망(31)과, 부레(32)와, 주름호스(33)로 이루어진다. 상기 여과망(31)은 원수 임시저장탱크(10)로 인입된 물에서 이물질을 제거하여 상등수를 배출하기 위한 망이고, 상기 부레(32)는 물에 뜨는 것으로 여과망과 연결되어 있으며 여과망(31)이 상부에 위치하도록 띄우는 역할을 하는 것이며, 상기 주름호스(33)는 여과망(31)의 일단에 연결되어 있어서 여과망(31)에 의해서 걸러진 상등수가 외부로 출력되도록 유도하며 특히 여과망(31)이 원수 임시저장탱크(10)의 수위에 따라 승하강하기 때문에 주름호스(33)로 형성하여 여과망(31)의 위치에 상관없이 외부로 상등수를 배출할 수 있도록 하였다.
상기 상수 저장부(50)는 필터장치를 통해 이송되는 상등수만을 포집하여 임시저장하는 공간으로서 사용자는 상기 상수 저장부에 저장된 물을 이송받아 취식하게 된다.
상기 교반장치(20)는 제 1 좌우 회전수단(21)과, 제 2 좌우 회전수단(22)과, 제 3 좌우 회전수단(23)과, 좌우 왕복 유동수단(24)과, 제 1, 2 청소용 솔(25)과, 바닥면 먼지확인용 센서(26)와, 물공급용 호스(27)와, 물공급용 펌프(28)와, 제어부(29)로 이루어진다.
상기 제 1 좌우 회전수단(21)은 모터(21a) 및 유동봉(21b)을 포함하여 이루어지며 모터(21a)의 구동에 의해서 유동봉(21b)이 좌우로 유동된다.
상기 제 2 좌우 회전수단(22)은 제 1 좌우 회전수단(21)의 맨 하단부에서 일측으로 지지봉(21c)을 통해 분기되어 설치되며 별도의 모터(22a)로부터 회전동력을 공급받아 제 1 회전수단(21)의 반대방향으로 회전한다.
상기 제 3 회전수단(23)은 제 1 회전수단(21)의 맨 하단부에서 타측으로 지지봉(21d)을 통해 분기되어 설치되며 별도의 모터(23a)로부터 회전동력을 제공받아 제 1 회전수단(21)과 반대방향으로 회전한다.
상기 좌우 왕복 유동수단(24)은 제 1 좌우 회전수단과 제 2 좌우 회전수단 사이 그리고 제 1 좌우 회전수단과 제 3 좌우 회전수단 사이에 설치되며 내부에 좌우 유동모터(24a)를 포함하여 이루어지며, 상기 좌우 유동모터는 지지봉(21c, 21d)과 연결되어 상기 지지봉을 좌우로 펼치거나 접히도록 동작한다.
상기 제 1, 2청소용 솔(25)은 각각 제 2 좌우 회전수단(22)과 제 3 좌우 회전수단(23)의 저면에 부착되어 바닥면을 청소한다. 바닥면 먼지 확인용 센서(26)는 바닥면에 존재하는 먼지를 감지하며, 제어부(29)는 먼지가 감지되면 제 1, 2, 3 좌우 회전수단(21, 22, 23)을 구동시킨다.
또한, 본 발명은 먼지가 굳어 있는 상태에서는 좌우 회전수단(21, 22, 23)에 의해서 원할하게 먼지가 비산되기 어렵기 때문에 물을 공급하여 물을 뿌리면서 좌우 회전수단을 동작시키게 되는바, 이를 위해 본 발명에서는 물공급용 호스(27)와 물공급용 펌프(28)를 더 구비하였다. 즉, 수위감지센서(32a)를 통해 현재 원수 임시저장탱크에 담긴 물의 양을 파악하여 외부로 부터 물을 공급받도록하며, 이때 제어부에서 물공급용 펌프를 구동하여 물을 외부에서 공급받아 바닥면을 청소토록 유도하는 것이다.
그리고, 상기 물공급용 호스(27)는 상수 저장부(50)에 연결되며, 상수 저장부(50)에 담긴 물을 이송하게 된다.
상기 물공급용 펌프(28)는 상기 물공급용 호스(27)에 연결되어 상수 저장부(50)에 저장된 물을 원수 임시저장탱크(10)에 보내어 원수 임시저장탱크(10)의 밑바닥에 깔린 오염물질을 희석시켜 용이하게 제거될 수 있도록 유도한다.
물론, 상수 저장부(50)에 수위센서를 부가하여 수위가 기준이하이면 물공급용 펌프(28)가 동작되지 않토록 제어명령을 하달한다.
또한, 온도가 0도 이하이면 원수저장탱크 내부에 얼음이 얼어 있고, 이러한 얼음에 의해서 바닥면 먼지가 용이하게 제거되지 않기 때문에 본 발명은 ㅈ청소용제 2 좌우 회전수단 및 제 3 좌우 회전수단의 저면에 히팅코일(22b, 23b)을 부가 설치하여 얼음이 얼었을 경우에는 히팅코일을 가동하여 얼음을 녹이면서 바닥면 청소가 이루어질 수 있도록 하였다.
얼음이 있는가를 판단하기 위해서는 원수 임시저장탱크의 내측에 카메라 장치(10a)를 부가하고, 상기 카메라 장치의 촬영결과 얼음이 있는 것으로 판단되면 히팅코일(22b, 23b)을 작동시켜 얼음을 녹이면서 바닥면 먼지를 제거할 수 있다.
이하에서 동작을 살펴보면, 제어부(29)에 의해서 바닥면 먼지 확인용 센서(26)에 의해서 바닥면의 먼지가 감지되면 제 1 좌우 회전수단(21)을 구동하여 시계방향 또는 반시계방향으로 유동봉(21b)을 회전시키고, 이와 동시에 제 2 좌우 회전수단(22) 및 제 3 회전수단(23)을 구동하여 제 1 회전수단(21)의 회전방향과 역방향으로 회전시킨다.
즉, 제 1 회전수단(21)을 시계방향으로 움직이면 제 2, 3회전수단(22, 23)은 반시계방향으로 움직이고, 제 1 회전수단(21)을 반시계방향으로 움직이면 제 2, 3회전수단(22, 23)은 시계방향으로 움직이며, 상기와 같이 제 1 회전수단(21)과 제 2, 3회전수단(22, 23)을 다른 방향으로 움직이면 바닥면을 훨씬 잘 닦을 수 있게 된다.
이때, 좌우 왕복 유동수단(24)을 구동하여 지지봉(21c, 21d)이 펼쳐지거나 접혀지도록하여 바닥면의 먼지를 고르게 닦아낼 수 있도록하며, 특히 상기 좌우 왕복 유동수단은 원수 저장용 탱크의 내측 지름에 맞추어서 조절할 수 있어서 다양한 지름의 원수 저장용 탱크의 내측을 세척할 수 있게 된다.
그리고, 원수에 섞인 이물질은 토출관(11)을 통해 외부로 토출된다.
그리고, 본 발명은 상수 저장부로부터 물을 공급받아 원수 임시저장탱크로 투입되도록하였는바, 회전수단이 회전할때 상기 상수 저장부로부터 공급되는 물을 원수 임시저장탱크 내부로 공급한다.
60: 여과용 잡석
61, 62, 63: 자갈
50: 상수 저장부
40: 원수 집수관
30: 필터장치
20: 교반장치
21: 제 1 회전수단
22: 제 2 회전수단
23: 제 3 회전수단
24: 제 1 청소용 솔
25: 제 2 청소용 솔
26: 바닥면 먼지확인용 센서
27: 물공급용 호스
28: 물공급용 펌프
29: 제어부
10: 원수 저장용 탱크
11: 이물질 토출관
12: 바이패스관
13: 상등수 이송관

Claims (5)

  1. 여과용 잡석(60)과; 상기 여과용 잡석의 하부에 위치하고, 다각형통 또는 원통 형상으로 이루어지며 하우징에는 다수개의 원수 인입홀(41)이 형성되어 있어서 여과용 잡석을 통과한 원수를 집수하는 원수 집수관(40)과; 상기 원수 집수관(40)을 통해 들어온 원수가 임시로 저장되는 장소로서 하부가 폐쇄된 원통 형상으로 이루어지는 원수 임시저장탱크(10)와; 상기 원수 임시 저장탱크(10) 내부에 설치되는 것으로, 원수에 함유된 이물질을 제거하여 상등수만을 외부로 내보내기 위해 설치되는 필터장치(30)와; 상기 원수 임시 저장탱크(10)에 설치되며 원수 임시저장탱크(10)의 하부에 가라않은 이물질을 교반시키는 교반장치(20)와; 상기 원수 임시저장탱크(10)의 필터장치(30)에 결합되어 상등수를 외부로 배출하기 위한 상등수 이송관(13)과; 상기 원수 임시저장탱크(10)의 외측 하단에 설치되며 교반된 이물질이 외부로 배출되도록 유도하는 이물질 토출관(11)과; 상기 원수 임시저장탱크(10)의 상부에 위치하며 임시 저장탱크(10)로 원수가 차 올라 일정이상이 될 경우 외부로 배출하기 위한 바이패스관(12) 및, 상등수가 보관되는 상수 저장부(50)를 포함하여 이루어지고;
    상기 교반장치(20)는,
    모터(21a) 및 유동봉(21b)을 포함하여 이루어지며 모터(21a)의 구동에 의해서 유동봉(21b)이 좌우로 유동되는 제 1 좌우 회전수단(21)과;
    상기 제 1 좌우 회전수단(21)의 맨 하단부에서 일측으로 분기되어 설치되며 별도의 모터(22a)로부터 회전동력을 공급받아 제 1 회전수단(21)의 반대방향으로 회전하는 제 2 좌우 회전수단(22)과;
    상기 제 1 회전수단(21)의 맨 하단부에서 타측으로 분기되어 설치되며 별도의 모터(23a)로부터 회전동력을 제공받아 제 1 회전수단(21)과 반대방향으로 회전하는 제 3 회전수단(23)과;
    상기 제 1 좌우 회전수단과 제 2 좌우 회전수단 사이 그리고 제 1 좌우 회전수단과 제 3 좌우 회전수단 사이에 설치되며 내부에 좌우 유동모터(24a)를 포함하여 이루어지며, 상기 좌우 유동모터는 지지봉(21c, 21d)과 연결되어 상기 지지봉을 좌우로 펼치거나 접히도록 동작하는 좌우 왕복 유동수단(24)과;
    상기 각각 제 2 좌우 회전수단(22)과 제 3 좌우 회전수단(23)의 저면에 부착되어 바닥면을 청소하는 제 1, 2청소용 솔(25)과;
    상기 제 2, 3 좌우 회전수단의 저면에 설치되고, 바닥면에 존재하는 먼지를 감지하며, 먼지가 감지되면 제 1, 2, 3 좌우 회전수단(21, 22, 23)을 구동시키도록 유도하는 바닥면 먼지 확인용 센서(26)를 포함하여 구성함을 특징으로 하는 바닥면 세척수단을 갖는 계곡수 정수용 간이 상수도 장치.
  2. 제 1 항에 있어서,
    상기 원수 임시저장탱크 내부에 수위감지 센서(32a)를 설치하고, 상기 수위감지 센서의 결과에 따라 상수 저장부의 물을 공급하기 위해 물공급용 호스(27)를 설치하며, 상기 물공급용 호스를 통해 원수 임시저장탱크로 물을 공급하기 위한 물공급용 펌프(28)를 더 구비하여 이루어진 것을 특징으로 하는 바닥면 세척수단을 갖는 계곡수 정수용 간이 상수도 장치.
  3. 제 1 항에 있어서,
    상기 청소용바(25)의 내부 또는 저면에 히팅코일(27c)을 더 설치하여 이루어진 것을 특징으로 하는 바닥면 세척수단을 갖는 계곡수 정수용 간이 상수도 장치.
  4. 제 1 항에 있어서,
    상기 원수 임시저장탱크의 내측 일단에는 바닥면에 얼음이 얼었는지 판별하기 위한 카메라장치(10a)를 더 설치하여 이루어지는 것을 특징으로 하는 바닥면 세척수단을 갖는 계곡수 정수용 간이 상수도 장치.
  5. 제 1 항에 있어서,
    상기 필터장치(30)는,
    원수 임시저장탱크(10)로 인입된 물에서 이물질을 제거하여 상등수를 배출하기 위한 여과망(31)과;
    상기 여과망과 연결되어 있으며 여과망(31)이 상부에 위치하도록 띄우는 역할을 하는 부레(32)와;
    상기 여과망(31)의 일단에 연결되며 여과망(31)의 일단에 연결되어 있어서 여과망(31)에 의해서 걸러진 상등수가 외부로 출력되도록 유도하는 주름호스(33)를 포함하여 구성함을 특징으로 하는 바닥면 세척수단을 갖는 계곡수 정수용 간이 상수도 장치.
KR1020140141811A 2014-10-20 2014-10-20 바닥면 세척수단을 갖는 계곡수 정수용 간이 상수도 장치 Ceased KR20160046969A (ko)

Priority Applications (1)

Application Number Priority Date Filing Date Title
KR1020140141811A KR20160046969A (ko) 2014-10-20 2014-10-20 바닥면 세척수단을 갖는 계곡수 정수용 간이 상수도 장치

Applications Claiming Priority (1)

Application Number Priority Date Filing Date Title
KR1020140141811A KR20160046969A (ko) 2014-10-20 2014-10-20 바닥면 세척수단을 갖는 계곡수 정수용 간이 상수도 장치

Publications (1)

Publication Number Publication Date
KR20160046969A true KR20160046969A (ko) 2016-05-02

Family

ID=56021328

Family Applications (1)

Application Number Title Priority Date Filing Date
KR1020140141811A Ceased KR20160046969A (ko) 2014-10-20 2014-10-20 바닥면 세척수단을 갖는 계곡수 정수용 간이 상수도 장치

Country Status (1)

Country Link
KR (1) KR20160046969A (ko)

Cited By (2)

* Cited by examiner, † Cited by third party
Publication number Priority date Publication date Assignee Title
KR20210137925A (ko) * 2020-05-11 2021-11-18 애터미주식회사 정수기 및 정수기 제어 방법
KR102732285B1 (ko) 2024-05-09 2024-11-20 계룡환경주식회사 정수 필터 무동력 자동 세척 시스템

Cited By (2)

* Cited by examiner, † Cited by third party
Publication number Priority date Publication date Assignee Title
KR20210137925A (ko) * 2020-05-11 2021-11-18 애터미주식회사 정수기 및 정수기 제어 방법
KR102732285B1 (ko) 2024-05-09 2024-11-20 계룡환경주식회사 정수 필터 무동력 자동 세척 시스템

Similar Documents

Publication Publication Date Title
KR101243415B1 (ko) 빗물정화장치
KR101702836B1 (ko) 자체 세정기능을 갖는 스크린이 구비된 비점오염정화장치
KR101033859B1 (ko) 초기우수 분리형 저류조
KR100940609B1 (ko) 자동 필터링 및 청소기능을 갖는 물탱크
CN105531233A (zh) 带有电机减速器的吸污嘴刷洗式自动清洁过滤器
KR101556157B1 (ko) 빗물의 여과 및 정화장치
CN106013321B (zh) 一种家庭水处理装置
KR101032421B1 (ko) 빗물 재이용 장치
KR101555447B1 (ko) 빗물 처리 및 이용장치
KR102009847B1 (ko) 비점오염 저감 및 모니터링 시스템
KR101562757B1 (ko) 비점오염저감시설
KR101661997B1 (ko) 역세척이 가능한 여과시설 및 그를 이용한 배수제어시스템
US9422181B1 (en) Vehicle wash water reclaim system
KR20120022028A (ko) 무인 자동 제어가 가능한 초기우수 처리장치
KR101006745B1 (ko) 어장정화, 항로준설 및 다양한 준설사업 중 배출되는 배출수의 부유물질을 제거하는 여과장치 및 방법
KR20160046969A (ko) 바닥면 세척수단을 갖는 계곡수 정수용 간이 상수도 장치
KR20160010952A (ko) 비점오염저감시설
KR20140094436A (ko) 초기우수 처리장치
KR200414264Y1 (ko) 빗물의 오염물질처리장치
KR101283394B1 (ko) 진공탱크를 이용한 탈수 및 침전이 포함된 준설공법
CN102343178B (zh) 用于从液体中去除漂浮物的装置和方法
KR102488107B1 (ko) 비점오염저감시설
KR101560158B1 (ko) 역세척 초기 우수 처리장치
KR101608043B1 (ko) 비점오염 처리 시설
KR102441181B1 (ko) 우수처리설비 및 우수처리방법

Legal Events

Date Code Title Description
PA0109 Patent application

Patent event code: PA01091R01D

Comment text: Patent Application

Patent event date: 20141020

PA0201 Request for examination
PE0902 Notice of grounds for rejection

Comment text: Notification of reason for refusal

Patent event date: 20160223

Patent event code: PE09021S01D

PG1501 Laying open of application
E601 Decision to refuse application
PE0601 Decision on rejection of patent

Patent event date: 20160509

Comment text: Decision to Refuse Application

Patent event code: PE06012S01D

Patent event date: 20160223

Comment text: Notification of reason for refusal

Patent event code: PE06011S01I