KR20160043344A - Slab placing deck panels and construction method - Google Patents

Slab placing deck panels and construction method Download PDF

Info

Publication number
KR20160043344A
KR20160043344A KR1020140137587A KR20140137587A KR20160043344A KR 20160043344 A KR20160043344 A KR 20160043344A KR 1020140137587 A KR1020140137587 A KR 1020140137587A KR 20140137587 A KR20140137587 A KR 20140137587A KR 20160043344 A KR20160043344 A KR 20160043344A
Authority
KR
South Korea
Prior art keywords
deck panel
truss girder
deck
seated
fixing
Prior art date
Legal status (The legal status is an assumption and is not a legal conclusion. Google has not performed a legal analysis and makes no representation as to the accuracy of the status listed.)
Granted
Application number
KR1020140137587A
Other languages
Korean (ko)
Other versions
KR101648071B1 (en
Inventor
김영미
김영
Original Assignee
김영미
김영
Priority date (The priority date is an assumption and is not a legal conclusion. Google has not performed a legal analysis and makes no representation as to the accuracy of the date listed.)
Filing date
Publication date
Application filed by 김영미, 김영 filed Critical 김영미
Priority to KR1020140137587A priority Critical patent/KR101648071B1/en
Publication of KR20160043344A publication Critical patent/KR20160043344A/en
Application granted granted Critical
Publication of KR101648071B1 publication Critical patent/KR101648071B1/en
Expired - Fee Related legal-status Critical Current
Anticipated expiration legal-status Critical

Links

Images

Classifications

    • EFIXED CONSTRUCTIONS
    • E04BUILDING
    • E04BGENERAL BUILDING CONSTRUCTIONS; WALLS, e.g. PARTITIONS; ROOFS; FLOORS; CEILINGS; INSULATION OR OTHER PROTECTION OF BUILDINGS
    • E04B5/00Floors; Floor construction with regard to insulation; Connections specially adapted therefor
    • E04B5/16Load-carrying floor structures wholly or partly cast or similarly formed in situ
    • E04B5/32Floor structures wholly cast in situ with or without form units or reinforcements
    • E04B5/36Floor structures wholly cast in situ with or without form units or reinforcements with form units as part of the floor
    • E04B5/38Floor structures wholly cast in situ with or without form units or reinforcements with form units as part of the floor with slab-shaped form units acting simultaneously as reinforcement; Form slabs with reinforcements extending laterally outside the element
    • E04B5/40Floor structures wholly cast in situ with or without form units or reinforcements with form units as part of the floor with slab-shaped form units acting simultaneously as reinforcement; Form slabs with reinforcements extending laterally outside the element with metal form-slabs
    • EFIXED CONSTRUCTIONS
    • E04BUILDING
    • E04CSTRUCTURAL ELEMENTS; BUILDING MATERIALS
    • E04C5/00Reinforcing elements, e.g. for concrete; Auxiliary elements therefor
    • E04C5/16Auxiliary parts for reinforcements, e.g. connectors, spacers, stirrups
    • EFIXED CONSTRUCTIONS
    • E04BUILDING
    • E04CSTRUCTURAL ELEMENTS; BUILDING MATERIALS
    • E04C5/00Reinforcing elements, e.g. for concrete; Auxiliary elements therefor
    • E04C5/01Reinforcing elements of metal, e.g. with non-structural coatings
    • E04C5/06Reinforcing elements of metal, e.g. with non-structural coatings of high bending resistance, i.e. of essentially three-dimensional extent, e.g. lattice girders
    • E04C5/065Light-weight girders, e.g. with precast parts

Landscapes

  • Engineering & Computer Science (AREA)
  • Architecture (AREA)
  • Civil Engineering (AREA)
  • Structural Engineering (AREA)
  • Physics & Mathematics (AREA)
  • Electromagnetism (AREA)
  • Bridges Or Land Bridges (AREA)

Abstract

본 발명은 슬래브 타설용 휨방지 데크패널에 관한 것으로서, 더욱 상세하게는 슬래브 타설시 데크패널의 처짐 및 휨을 방지하고, 데크패널의 상호 연결이 용이하며, 트러스 거더의 단순 거치로 고정 및 시공이 용이하며, 시공자의 발빠짐을 방지하여 사고 위험을 최소화하고, 데크패널과 상호 연결 고정이 용이하며, 구조적 안전성 및 강도를 높일 수 있고, 누구나 간편하게 시공할 수 있으며, 제작이 용이한 슬래브 타설용 데크패널 및 그 시공방법에 관한 것이다.
이를 위하여 본 발명은 슬래브 타설용 데크패널에 있어서, 보 상부에 양 끝단이 안착 걸림되고, 길이방향으로 중앙이 상부로 돌출되며 양측으로 라운드 되어 슬래브 타설시 데크패널의 처짐 및 휨을 방지하고, 데크패널의 상호 연결이 용이하며, 구조적 안전성 및 강도를 높일 수 있는 데크패널과; 상기 데크패널 상부에 구비되며, 지지철근이 삼각형상으로 연장되게 구비되는 지지부가 구비되며, 물결과 같은 파형을 이루게 연속으로 절곡 연장되어 상기 지지부의 양측에 고정되는 래티스 철근으로 구비되고, 지지부의 양 끝단이 보에 고정되게 절곡되는 트러스 거더;가 구비됨을 특징으로 한다.
또한, 보 양측 상부에 실링부재를 도포 또는 부착하는 실링부재 시공단계와; 보 양측 상부에 시공된 실링부재 상부에 데크패널 양 끝단이 안착되고, 데크패널에 구비된 걸림턱이 보 양측으로 걸림되게 시공하는 데크패널 시공단계와; 상기 데크패널 양 끝단을 고정수단으로 고정하는 고정단계와; 상기 데크패널 상부에 트러스 거더가 안착되는 트러스 거더 시공단계로 이루어짐을 특징으로 한다.
또한, 보 양측 상부에 실링부재를 도포 또는 부착하는 실링부재 시공단계와; 보 양측 상부에 시공된 실링부재 상부에 트러스 거더가 안착되는 트러스 거더 시공단계와; 상기 트러스 거더의 안착면 상부에 데크패널 양 끝단이 안착되고, 데크패널에 구비된 걸림턱이 보 양측으로 및 트러스 거더에 걸림되게 시공하는 데크패널 시공단계와; 상기 데크패널 양 끝단을 고정수단으로 고정하는 고정단계:로 이루어짐을 특징으로 한다.
The present invention relates to a bending prevention deck panel for slab installation, more particularly, to prevent deflection and warping of a deck panel when a slab is paved, to facilitate interconnecting deck panels, and to facilitate fixing and installation by a simple installation of a truss girder A deck panel for easy installation of a slab, which can be easily fixed to a deck panel, can be easily installed by anyone, can be structurally improved in safety and strength, can be easily installed, And a method of constructing the same.
To this end, the present invention relates to a deck panel for piling a slab, which has both ends thereof seated on a beam top, a central portion protruding upward in the longitudinal direction and rounded to both sides to prevent sagging and deflection of the deck panel, A deck panel which is easy to interconnect with and can increase structural safety and strength; And a support portion provided on the deck panel and having a supporting reinforcing bar extending in a triangle shape and being provided with a lattice reinforcing bar which is continuously bent and extended to form a corrugated wave and fixed to both sides of the supporting portion, And a truss girder having an end bent to be fixed to the beam.
A sealing member applying step of applying or attaching a sealing member on the upper side of the beam; A deck panel construction step in which both ends of the deck panel are seated on the upper part of the sealing member installed on the upper side of the beam and the hooking jaw provided on the deck panel is hooked to both sides of the beam; A fixing step of fixing both ends of the deck panel by fixing means; And a truss girder installation step in which a truss girder is seated on an upper part of the deck panel.
A sealing member applying step of applying or attaching a sealing member on the upper side of the beam; A truss girder installation step in which a truss girder is seated on an upper part of a sealing member installed on upper sides of the beam; A deck panel construction step in which both ends of the deck panel are seated on the seating surface of the truss girder, and a hooking jaw provided on the deck panel is hooked to both sides of the beam and the truss girder; And fixing the both ends of the deck panel by fixing means.

Description

슬래브 타설용 데크패널 및 그 시공방법{Slab placing deck panels and construction method}[0001] Slab placing deck panels and construction method [0002]

본 발명은 슬래브 타설용 휨방지 데크패널에 관한 것으로서, 더욱 상세하게는 슬래브 타설시 데크패널의 처짐 및 휨을 방지하고, 데크패널의 상호 연결이 용이하며, 트러스 거더의 단순 거치로 고정 및 시공이 용이하며, 시공자의 발빠짐을 방지하여 사고 위험을 최소화하고, 데크패널과 상호 연결 고정이 용이하며, 구조적 안전성 및 강도를 높일 수 있고, 누구나 간편하게 시공할 수 있으며, 제작이 용이한 슬래브 타설용 데크패널 및 그 시공방법에 관한 것이다.
The present invention relates to a bending prevention deck panel for slab installation, more particularly, to prevent deflection and warping of a deck panel when a slab is paved, to facilitate interconnecting deck panels, and to facilitate fixing and installation by a simple installation of a truss girder A deck panel for easy installation of a slab, which can be easily fixed to a deck panel, can be easily installed by anyone, can be structurally improved in safety and strength, can be easily installed, And a method of constructing the same.

일반적으로, 각종 건축물의 구축에 주로 사용되고 있는 철근 콘크리트(reinforced concrete) 구조물은 압축재인 콘크리트와 인장재인 철근을 함께 사용하여 우수한 내구성, 내진성 등을 얻는 복합 구조물로서, 거푸집 내로 유동성의 콘크리트를 주입하여 양생한 후 거푸집을 탈거시키는 과정을 통해 형성된다.Generally, a reinforced concrete structure, which is mainly used for construction of various buildings, is a composite structure which obtains excellent durability and vibration resistance by using concrete, which is a compression material, and reinforcing bars, which are a tensile material, and injects fluid concrete into a form, And then the mold is removed.

철근 콘크리트를 이용하여 바닥 등을 형성하기 위해 한 장의 판처럼 만들어지는 콘크리트 슬래브(slab)를 축조하는 재래식 공법은 콘크리트의 외면을 형성하기 위해 합판, 각재 등으로 축조되는 거푸집과 이 거푸집을 지지하는 동바리(지주)를 가설한 후, 거푸집 상에 철근을 배근하고, 이어서 거푸집 내부에 콘크리트를 타설하며, 양생 과정을 거쳐 콘크리트가 경화되면, 거푸집과 동바리를 제거하는 과정으로 실시되었다.Conventional methods of constructing concrete slabs, such as a single plate to form the floor using reinforced concrete, include a formwork constructed of plywood, slabs, and the like to form the outer surface of the concrete, The concrete was placed in the formwork, and after the curing process, the concrete was hardened, and the formwork and the hull were removed.

그러나, 이러한 재래식 공법은 거푸집과 동바리의 가설 및 해체에 따른 많은 인력/시간 소요 및 철근 배근 작업과 구조물 표면 불량으로 인한 마감 작업의 별도 필요 등에 의한 인력/시간 소요 등에 따라 상당한 공기가 소요되고, 시공비가 증가되는 문제점이 있었다.However, such a conventional method requires a considerable amount of air due to labor / time required due to a large number of man-hours / time required due to the hypothesis and disassembly of a formwork and a tramp, and a separate need for finishing work due to a reinforcing work and a surface failure of the structure. .

또한, 재래식 공법은 고층 건축 구조물에는 적용이 어려우며, 사용된 거푸집 중 손상된 거푸집은 재사용이 불가능하여 자원 낭비가 초래되고, 폐자재 발생으로 경제성 등이 나쁜 문제점도 있었다.In addition, it is difficult to apply the conventional method to a high-rise building structure. Damaged form of a used form can not be reused, resulting in waste of resources and disadvantage of poor economical efficiency due to generation of waste materials.

따라서, 근래에는 동바리와 거푸집을 이용하지 않고 거푸집 역할을 하는 데크 패널(deck panel)과, 데크 패널상에 결합되며 콘크리트 슬래브의 강도를 보강하기 위한 철근/철선 조립체인 트러스 거더(truss girder)로 이루어지는 거푸집 구조를 많이 이용하고 있다.Therefore, in recent years, there has been proposed a deck panel which serves as a form without using the hill and form, and a truss girder, which is a reinforcing steel / wire assembly for reinforcing the strength of the concrete slab, We are using a lot of formwork.

이러한 트러스 거더 일체형 데크 패널 거푸집 구조는 사전에 공장 등에서 트러스 거더와 데크 패널을 일체화되게 선 조립할 수 있어 거푸집, 배근 및 마감 공정을 일원화하는 것이 가능함으로써, 공기 단축과 공사 비용의 대폭적인 절감이 가능하고, 철선과 같은 자재 소요량도 최대한 줄일 수 있는 장점이 있다.This truss-girder-integrated deck panel formwork structure can pre-assemble the truss girder and deck panel together in the factory so that it can unify form, laying and finishing process, , And the amount of material such as wire can be reduced as much as possible.

현재 구조 안정성과 시공성 측면에서 가장 우수하다고 평가되고 있는 기술로는 특허 등록번호 10-0814379호의 "트러스 거더 일체형 슬래브 거푸집 구조"가 있으며, 해당 기술을 도 1 내지 도 5를 참조로 이하 설명한다.A technology that is evaluated to be the most excellent in terms of structural stability and construction property is the "truss girder integrated slab formwork structure" of Patent Registration No. 10-0814379, which will be described below with reference to FIG. 1 to FIG.

해당 기술에 따른 거푸집 구조는, 데크 패널(10), 트러스 거더(20), 연결구(30)를 포함한다.The formwork structure according to the related art includes a deck panel 10, a truss girder 20, and a connector 30.

데크 패널(10)의 상부에는 폭 방향에 따른 일정 간격마다 길이 방향으로 길이가 긴 트러스 거더(20)가 결합되며, 이때 다수개의 연결구(30)를 통해 트러스 거더(20)와 데크 패널(10)은 서로 상하 방향으로 일정 간격 이격되도록 결합된다.The truss girder 20 and the deck panel 10 are connected to each other through a plurality of connecting holes 30 at the upper portion of the deck panel 10, Are spaced apart from each other by a predetermined distance in the vertical direction.

트러스 거더(20)는 하나의 장봉 형상인 상부 철근(22)을 중심으로 그 양측에 반복되게 연속 절곡된 형태로 형성된 래티스 철선(26)이 용접으로 결합되며, 양측 래티스 철선(26)의 하단 외측에는 각기 하나씩의 장봉 형상인 하부 철근(24)이 용접으로 결합되어 일체화되게 이루어진다.The truss girder 20 is welded with a lattice wire 26 formed by repeatedly and continuously bending both sides of the upper reinforcing bar 22 as one long bar shape and welded to the lower end side of the both side lattice wire 26 And the lower reinforcing bars 24, which are each in the shape of a long bar, are joined together by welding.

즉, 트러스 거더(20)는 하나의 상부 철근(22)과 두개의 하부 철근(24)에 의해 그 수직 단면 형상이 삼각 형상을 갖는다.That is, the truss girder 20 has a triangular shape in its vertical sectional shape by one upper reinforcing bar 22 and two lower reinforcing bars 24.

데크패널(10)은 그 위에 타설되는 콘크리트의 하중 및 기타 여러 시공 하중을 충분히 견딜 수 있도록 적정 두께를 갖는 박판으로 형성되는 것이다.The deck panel 10 is formed of a thin plate having an appropriate thickness to sufficiently withstand loads of concrete and other various installation loads placed thereon.

구체적으로, 데크 패널(10)은 두께 4㎜ 정도, 크기 600×2,400㎜ 정도의 강판 재질의 철판으로 형성된다.Specifically, the deck panel 10 is formed of a steel plate having a thickness of about 4 mm and a size of about 600 x 2,400 mm.

데크 패널(10) 상에는 그에 대해 결합되는 다수개의 트러스 거더(20)의 하부 철근(24)에 대응되는 위치를 따라 다수개의 통공(12)이 형성된다.A plurality of through holes 12 are formed on the deck panel 10 along the positions corresponding to the lower reinforcing bars 24 of the plurality of truss girders 20 coupled thereto.

즉, 하나의 트러스 거더(20)는 두개의 하부 철근(24)을 구비하므로, 해당 두개의 하부 철근(24)에 대응되도록 하나의 트러스 거더(20)에 대해 2열로 통공(12)이 형성된다.That is, since one truss girder 20 has two lower reinforcing bars 24, the through holes 12 are formed in two rows with respect to one truss girder 20 so as to correspond to the two lower reinforcing bars 24 .

이때, 길이 방향에 따른 시작부와 종료부의 양측 단부에 구비되는 통공(12)은 2열의 것이 폭 방향에 따른 동일선상에 위치되도록 밀집되게 형성되며, 그에 따라 그에 대해 각기 하나씩 결합되는 연결구(30)의 개수 증가로 해당 양측 단부에 보다 과다하게 부가되는 하중을 원활히 지탱할 수 있다.At this time, the through holes (12) provided at both ends of the start portion and the end portion along the length direction are formed so as to be densely arranged so that the two rows are aligned on the same line along the width direction, It is possible to smoothly support a load which is excessively added to both end portions of the side walls.

관련하여, 길이 방향에 따른 양측 단부는 단부임에 따라 지탱력이 부족하고 쉽게 변형될 수 있음과 아울러, 시공 작업 시에 작업자들도 빈번하게 올라가는 위치임에 따라 보다 많은 하중이 부가될 수 있는 바, 지탱력의 보강을 위해 통공(12)이 밀집되게 형성되는 것이다.In this regard, both end portions along the longitudinal direction are insufficient in supporting force due to the end portions, and can be easily deformed. In addition, since loads are frequently raised at the time of construction work, more load can be applied , And the through hole (12) is formed to be densely packed to reinforce the supporting force.

그리고, 양측 단부 사이의 중간 부분에 형성되는 2열의 통공(12)은 그 위치가 서로 엇갈리도록 지그재그 형태로 형성되며, 그에 따라 적은 개수만으로도 트러스 거더(20)가 데크 패널(10)에 안정적으로 결합 되도록 함과 아울러, 그 설치 및 해체가 용이하도록 한다.The two rows of through holes 12 formed at the middle portion between the both side ends are formed in a staggered shape so that their positions are staggered with each other. Accordingly, even if only a small number of the through holes 12 are stably coupled to the deck panel 10 And it is easy to install and disassemble it.

연결구(30)는 트러스 거더(20)와 데크 패널(10) 간을 중간에서 결합시키며, 콘크리트의 양생 후 시점에서는 하부 측의 데크 패널(10)이 분리되도록 하는 부재로서, 도 4에 나타낸 바와 같이, 그 몸체 부재(32)에 대해 각기 체결 및 삽입되는 고정 볼트(36)와 고정 핀(34)을 갖는다.The connecting port 30 is a member for connecting the truss girder 20 and the deck panel 10 in the middle and separating the lower deck panel 10 at the time of curing of concrete, A fixing bolt 36 and a fixing pin 34 which are fastened and inserted to the body member 32, respectively.

그 몸체 부재(32)는 상단부 측에 트러스 거더(20)의 하부 철근(24)이 안착되도록 함몰되는 형태인 안착 함몰부(32a)가 형성되며, 그 하단부 측의 중앙에는 고정 볼트(36)가 하부로부터 끼워져 체결될 수 있는 암나사 홈(32b)이 수직 방향으로 형성된다.The body member 32 is formed with a seating depression 32a which is recessed so that the lower reinforcing bar 24 of the truss girder 20 is seated on the upper end side and a fixing bolt 36 is provided at the center of the lower end side And a female screw groove 32b which can be fitted and fastened from below is formed in the vertical direction.

또한, 그 안착 함몰부(32a)의 양측에는 상방으로 돌출되도록 돌출편부(32c)가 형성되며, 이 돌출편부(32c) 상에는 동일 선 상의 수평 방향으로 각기 핀 홀(32d)이 관통되게 형성되고, 이 양측의 핀 홀(32d)에 공통되도록 고정 핀(34)이 삽입된다.A projecting piece portion 32c is formed on both sides of the recessed recess 32a so as to protrude upward. On the projecting piece portion 32c, a pin hole 32d is formed so as to extend in the horizontal direction on the same line, The fixing pin 34 is inserted so as to be common to the pin holes 32d on both sides.

따라서, 그 몸체 부재(32)가 데크 패널(10) 상에 안착된 상태에서 하부로부터 고정 볼트(36)가 데크 패널(10)상의 통공(12)과 몸체 부재(32) 상의 암나사 홈(32b)에 끼워져 체결됨으로써, 연결구(30)가 데크 패널(10)과 결합될 수 있다.When the body member 32 is placed on the deck panel 10, the fixing bolt 36 is inserted from the bottom into the through hole 12 on the deck panel 10 and the female screw groove 32b on the body member 32, So that the connector 30 can be coupled to the deck panel 10.

또한, 그 몸체 부재(32) 상의 안착 함몰부(32a) 내로 트러스 거더(20)의 하부 철근(24)이 삽입되어 안착된 상태에서 양측 돌출편부(32c) 상의 핀 홀(32d)에 대해 고정 핀(34)이 삽입됨으로써, 하부 철근(24)이 구속되어, 해당 연결구(30)가 트러스 거더(20)와 결합될 수 있다.In the state where the lower reinforcing bars 24 of the truss girder 20 are inserted into the recesses 32a on the body member 32 and the pin holes 32d on the both side projecting piece portions 32c are seated, The lower reinforcing bar 24 is restrained by inserting the connecting rod 34 into the truss girder 20 so that the connecting rod 30 can be engaged with the truss girder 20. [

이상과 같은 구성으로, 그것을 이용하는 콘크리트 슬래브의 시공법에 대해 이하 설명한다.The construction method of the concrete slab using the structure as described above will be described below.

먼저, 공장 등에서 상부 철근(22), 래티스 철선(26) 및 하부 철근(24)으로 이루어지는 트러스 거더(20)를 대량생산한다.First, a truss girder 20 including an upper reinforcing bar 22, a lattice wire 26 and a lower reinforcing bar 24 is mass-produced at a factory or the like.

그리고, 데크 패널(10) 상에 형성된 통공(12) 위치 마다에 연결구(20)를 고정 볼트(36)의 체결을 통해 결합시켜 연결구(20)가 결합된 데크 패널(10)을 대량 생산한다.The connection port 20 is coupled to the fixing bolt 36 at each position of the through hole 12 formed on the deck panel 10 to mass-produce the deck panel 10 to which the connecting hole 20 is coupled.

이어서, 데크 패널(10)에 결합되어 있는 다수개의 연결구(20) 상에 트러스 거더(20)의 하부 철근(24)을 위치시키고, 고정 핀(34)을 꽂아 데크 패널(10)과 트러스 거더(20)를 결합시킨다.The lower reinforcing bar 24 of the truss girder 20 is positioned on the plurality of connecting ports 20 coupled to the deck panel 10 and the fixing pin 34 is inserted to connect the deck panel 10 and the truss girder 20).

이어서, 건축 현장에서 해당 조립체를 들어서 양측의 보와 같은 지지체 상에 그 트러스 거더(20)의 양단부가 걸쳐지도록 안착시킨 다음, 그 데크 패널(10) 상에 콘크리트를 타설한다.Subsequently, the assembly is lifted at a building site, and both ends of the truss girder 20 are placed on a supporting member such as a beam on both sides. Then, concrete is placed on the deck panel 10.

그 다음, 콘크리트가 충분히 양생되면, 데크 패널(10)의 하부로 노출된 고정 볼트(36)를 풀어내고 데크 패널(10)을 하부 방향으로 탈형시켜 반출시키며, 이로써 콘크리트 슬래브의 형성 과정이 완료된다.Then, when the concrete is sufficiently cured, the fixing bolt 36 exposed to the lower portion of the deck panel 10 is released, and the deck panel 10 is demolded in the downward direction to carry it out, thereby completing the formation process of the concrete slab .

덧붙여, 데크 패널(10)은 건물의 면적에 따라 다수개가 서로 폭 방향으로 연결되어 사용되며, 구체적으로는, 도 5에 나타낸 바와 같이, 이웃하는 양측의 데크 패널(10)이 단부를 통해 조금 중첩되도록 하는 것에 의해 연결된다.In addition, the deck panel 10 is used by connecting a plurality of deck panels 10 in the width direction depending on the area of the building. More specifically, as shown in Fig. 5, In order to achieve the desired effect.

그러나, 이상과 같은 종래 기술에 따른 거푸집 구조는 철판으로 된 데크 패널(10)은 무게가 매우 무거워 추후 해체 시점에서 해체 작업이 매우 난이한 문제점이 있다.However, the deck panel 10 made of the steel plate according to the conventional art as described above is very heavy and disassembling operation is very difficult at the time of dismantling.

또한, 철판으로 된 데크 패널(10)은 사용 도중에 휨이 쉽게 발생되고, 표면에 녹도 잘 발생되며, 그 결과로서 그 사용 회수가 2회 정도로 제한되므로, 빈번한 제작 교체가 필요 되므로, 번거로움과 비용 소요를 야기하고, 자원 낭비를 초래하는 문제점도 있다.Also, since the deck panel 10 made of the steel plate easily bends during use and rust is easily generated on the surface, the number of times of use thereof is limited to about twice, so frequent replacement of the production is required, There is also a problem of causing waste and waste of resources.

또한, 매우 많은 개수가 사용되는 소모품인 연결구(20)의 경우는 그 몸체 부재(32)의 형상이 매우 복잡함과 아울러, 통체 부재로 이루어지므로, 과다한 비용 소요를 야기하는 문제점이 있다.Further, in the case of the connector 20, which is a consumable item in which a very large number of consumables are used, the shape of the body member 32 is very complicated and a tubular member is used.

또한, 연결구(20)를 이용하여 트러스 거더(20)와 데크 패널(10)을 결합시키는 과정은, 데크 패널(10) 상의 통공(12) 위치에 맞추어 연결구(20)를 안착시키는 제1 과정, 고정 볼트(36)를 체결하여 데크 패널(10)과 연결구(30)를 결합시키는 제2 과정, 연결구(20)의 안착 함몰부(32a) 내에 트러스 거더(20)의 하부 철근(24)을 안착시키는 제3 과정, 연결구(30)의 핀 홀(32d)로 고정 핀(34)을 삽입하여 트러스 거더(20)와 연결구(30)를 결합시키는 제4 과정으로, 모두 4차례 과정으로 이루어지므로, 그 결합 작업이 어렵고, 작업 공수가 많이 소요되는 문제점이 있다.The process of joining the truss girder 20 and the deck panel 10 using the connecting hole 20 is a first process of fitting the connecting hole 20 in accordance with the position of the through hole 12 on the deck panel 10, A second step of fastening the fixing bolt 36 to connect the deck panel 10 and the connecting port 30 and a second step of fitting the lower reinforcing bar 24 of the truss girder 20 into the recessed- And a fourth step of inserting the fixing pin 34 into the pin hole 32d of the connecting hole 30 to connect the truss girder 20 and the connecting hole 30. In this case, There is a problem that the coupling operation is difficult and a lot of work is required.

또한, 매우 많은 개수가 사용되는 소모품인 연결구(30)는 몸체 부재(32), 고정 핀(34), 고정 볼트(36)의 3개 부품으로 이루어지므로, 다소 부품 수가 많음에 따라 과다한 비용 소요를 야기하는 문제점도 있다.Since the connector 30 which is a very large number of consumables is made up of three parts, that is, the body member 32, the fixing pin 34, and the fixing bolt 36, There are also problems.

또한, 건물의 넓은 면적을 커버하기 위해 다수개의 데크 패널(10)이 서로 연결되는 경우, 이웃하는 양측의 데크 패널(10)이 그들 일측 단부가 단순히 조금 서로 상하로 중첩되도록 연결되므로, 콘크리트의 타설에 따라 중첩된 부분을 통해 콘크리트에 함유된 수분과 일부 콘크리트가 쉽게 유출될 수 있음과 아울러, 타설되는 콘크리트의 하중 부가에 따라 중첩된 하부 측의 데크 패널(10) 단부가 쉽게 밀려 처지는 것에 의해 유격이 발생됨으로 쉽게 터지고 붕괴될 수 있으며, 중첩 연결된 부분은 상면이 수평 하지도 않음에 따라, 종국적으로 시공 작업성이 불량하고, 시공 품질도 낮은 문제점이 있다.Further, when the plurality of deck panels 10 are connected to each other to cover a large area of the building, since the deck panels 10 on both sides of the adjacent deck panels 10 are connected so that their one ends are slightly overlapped with each other vertically, The water contained in the concrete and a portion of the concrete can easily flow out through the overlapped portion according to the load of the concrete, and the end portion of the overlapping lower deck panel 10 is easily pushed and squeezed according to the load portion of the concrete to be laid, It is possible to easily collapse and collapse due to the occurrence of the cracks, and since the top surface of the overlapping portion is not horizontal, the construction workability is poor and the construction quality is low.

일곱째, 시공 여건에 따라서는 데크 패널(10)을 중간에서 절단하여 일부만 사용해야 하는 경우가 발생되고, 그 절단에 따라서는 추가로 결합력 및 지탱력의 보강을 위해서 연결구(20)를 추가로 구비시켜야 하는 경우가 빈번히 발생되는데, 현장에서 상술한 바와 같이 4차례의 과정을 통해 연결구(20)를 결합시키는 것은 작업성이 불량하다는 문제점도 있다.Seventh, depending on the construction conditions, the deck panel 10 may be cut in the middle and only a part of the deck panel 10 should be used. Depending on the cutting, the connecting hole 20 may be additionally provided to reinforce the coupling force and the supporting force However, it is problematic that the workability is poor when the connector 20 is coupled through four steps as described above in the field.

즉, 양측 단부 사이에서는 다수개의 연결구(30)가 지그재그 형태로 적은 개수만이 구비되므로, 해당 중간 부분을 절단하면 해당 부분이 단부가 되므로 연결구(20)를 추가로 구비시켜 보강해야 하는데, 그 보강 작업성이 매우 불량한 것이다.That is, since only a small number of connection ports 30 are provided in a zigzag shape between both end portions, when the intermediate portion is cut, the corresponding portion is formed as an end portion so that the connection port 20 is additionally provided and reinforced. Workability is very poor.

또한, 이송, 양 중 및 시공 과정에서 연결구(30)에 꽂아진 고정 핀(34)이 빈번하게 빠져서 이탈됨으로써, 무엇보다도 중요한 안전성이 불량하다는 문제점도 있다.Further, since the fixing pin 34 inserted into the connector 30 is frequently detached from the connector 30 in the course of transferring, positive pressure, and construction, there is a problem that safety is important as above all.

또한, 보와 보 사이의 길이가 길어 그 길이에 상응하는 길이로 트러스 거더 및 데크패널이 구비됨으로 트레스 거더 및 데크패널의 처침이 발생하고, 스래브 타설시 스래브가 처져있는 곳으로 몰려 더욱더 무게가 집중되어 데크패널의 파손 및 더 큰 처짐에 의해 스래브 타설이 용이하지 않은 문제점이 있다.Also, since the truss girder and the deck panel are provided with the length corresponding to the length of the beam and the beam, the truss girder and the deck panel are squeezed, and when the slab is poured, There is a problem that the deck panel is damaged and the deflection of the deck panel is not easy due to the deflection of the deck panel.

또한, 데크패널의 위치가 양측 보에 일정하게 걸림되는 것이 아니라 사용자에 의해 시공됨으로 인해 보의 걸림시 어느 한쪽으로 편중될 수 있어 슬래브 타설시 과도한 무게에 의해 어느 한쪽의 데크패널이 빠짐으로 인해 스래브의 타설이 용이하지 않은 문제점이 있다.In addition, since the position of the deck panel is not constantly stuck to the both side beams but can be biased to one side when the beam is caught by the user, the deck panel is detached due to excessive weight when the slab is placed. There is a problem that the placement of the lav is not easy.

또한, 트러스 거더의 고정이 용이하지 않은 문제점이 있다.Further, there is a problem that fixing of the truss girder is not easy.

또한, 트러스 거더의 시공 및 슬래브 타설시 시공자의 발이 트러스 거더 사이에 빠짐으로 인해 빈번하게 사고가 발생하는 문제점이 있다.
In addition, there is a problem that when the truss girder is installed and the slab is pushed, the foot of the constructor is dropped between the truss girders, thereby frequently causing accidents.

본 발명은 종래의 문제점을 해소하기 위한 것으로서, 슬래브 타설시 데크패널의 처짐 및 휨을 방지하고, 데크패널의 상호 연결이 용이하며, 트러스 거더의 단순 거치로 고정 및 시공이 용이하며, 시공자의 발빠짐을 방지하여 사고 위험을 최소화하고, 데크패널과 상호 연결 고정이 용이하며, 구조적 안전성 및 강도를 높일 수 있고, 누구나 간편하게 시공할 수 있으며, 제작이 용이한 슬래브 타설용 데크패널 및 그 시공방법을 제공함을 목적으로 한다.It is an object of the present invention to solve the problems of the prior art, and it is an object of the present invention to prevent deformation and warpage of a deck panel when a slab is paved, to facilitate mutual connection of deck panels, to fix and construct a truss girder easily, To provide a deck panel for installing a slab and a construction method thereof, which can minimize the risk of accidents by minimizing the risk of accident, facilitate easy fixing of the deck panel and interconnection, increase the structural safety and strength, .

또한, 데크패널이 보와 보 사이에 정확하고 용이하게 안착 고정될 수 있는 슬래브 타설용 데크패널 및 그 시공방법을 제공함을 목적으로 한다.It is another object of the present invention to provide a deck panel for mounting a slab, which can be accurately and easily fixedly secured between a beam and a beam, and a construction method thereof.

또한, 데크패널의 녹 또는 부식을 방지하기 위해 별도의 보양작업이 필요없어 간편하게 시공할 수 있는 슬래브 타설용 데크패널 및 그 시공방법을 제공함을 목적으로 한다.It is another object of the present invention to provide a deck panel for piling a slab and a method of constructing the panel, which can be easily installed because a separate maintenance work is not required to prevent rust or corrosion of the deck panel.

또한, 데크패널과 데크패널의 상호 연결시 무게에 의해 상호 견고하게 밀착되며, 슬래브의 타설시 슬래브의 무게에 의해 더욱더 견고하게 밀착 고정되는 슬래브 타설용 데크패널 및 그 시공방법을 제공함을 목적으로 한다.It is also an object of the present invention to provide a deck panel for slab piling which is tightly adhered to each other by weight when the deck panel and the deck panel are interconnected and is firmly fixed by the weight of the slab when the slab is poured, .

또한, 트러스 거더의 단순 거치로 고정 및 시공이 용이하며, 시공자의 발빠짐을 방지하여 사고 위험을 최소화하고, 데크패널과 상호 연결 고정이 용이하며, 구조적 안전성 및 강도를 높일 수 있고, 누구나 간편하게 시공할 수 있는 스래브 타설용 데크패널 및 그 시공방법을 제공함을 목적으로 한다.
In addition, it is easy to fix and install by simple installation of truss girder, it minimizes accident risk by preventing the builder from falling out, it is easy to fix the deck panel and interconnection, can improve the structural safety and strength, And a method of constructing the deck panel.

본 발명에 따른 슬래브 타설용 데크패널에 있어서, 보 상부에 양 끝단이 안착 걸림되고, 길이방향으로 중앙이 상부로 돌출되며 양측으로 라운드 되어 슬래브 타설시 데크패널의 처짐 및 휨을 방지하고, 데크패널의 상호 연결이 용이하며, 구조적 안전성 및 강도를 높일 수 있는 데크패널과; 상기 데크패널 상부에 구비되며, 지지철근이 삼각형상으로 연장되게 구비되는 지지부가 구비되며, 물결과 같은 파형을 이루게 연속으로 절곡 연장되어 상기 지지부의 양측에 고정되는 래티스 철근으로 구비되고, 지지부의 양 끝단이 보에 고정되게 절곡되는 트러스 거더;가 구비됨을 특징으로 한다.In the deck panel for piling a slab according to the present invention, both ends are seated on a beam top, the center is protruded upward in the longitudinal direction and rounded to both sides to prevent sagging and deflection of the deck panel, A deck panel which is easy to interconnect and can increase structural safety and strength; And a support portion provided on the deck panel and having a supporting reinforcing bar extending in a triangle shape and being provided with a lattice reinforcing bar which is continuously bent and extended to form a corrugated wave and fixed to both sides of the supporting portion, And a truss girder having an end bent to be fixed to the beam.

본 발명에 있어서, 상기 데크패널의 양 끝단 내측으로 걸림턱이 하부로 돌출되게 더 구비됨이 바람직하다.In the present invention, it is preferable that the jaw protrude downward from both ends of the deck panel.

본 발명에 있어서, 상기 데크패널 상부에 적어도 하나 또는 하나 이상의 휨방지턱이 상부로 돌출되어 길이 방향으로 연장됨이 바람직하다.In the present invention, it is preferable that at least one or at least one bending prevention protrusion is protruded upward and extends in the longitudinal direction on the deck panel.

본 발명에 있어서, 상기 데크패널 상부에 길이방향으로 연장된 휨방지 바가 적어도 하나 또는 하나 이상 더 구비됨이 바람직하다.In the present invention, it is preferable that at least one or more than one bending prevention bar extending in the longitudinal direction is further provided on the deck panel.

본 발명에 있어서, 상기 데크패널의 양측에 상.하 중 어느 한 면이 개방된 삼각형을 이루어 길이방향으로 연장되게 절곡된 연결부가 더 구비됨이 바람직하다.In the present invention, it is preferable that the deck panel further includes a connecting portion formed on either side of the deck panel, the connecting portion being formed by a triangle having one of upper and lower sides opened and extending in the longitudinal direction.

본 발명에 있어서, 상기 데크패널 하부에 보양부재가 일체를 이루게 더 구비됨이 바람직하다.In the present invention, it is preferable that the reinforcing member is integrally formed under the deck panel.

본 발명에 있어서, 상기 트러스 거더 지지부의 지지철근 중 적어도 어느 하나 또는 하나 이상 양 끝단이 하부로 절곡되고, 절곡된 지지철근의 양 끝단이 보의 상부에 안착 고정되게 평탄을 이루어 고정공이 구비됨이 바람직하다.In the present invention, at least one or at least one of the supporting reinforcing bars of the truss girder supporting portion is bent downward, and both ends of the bent supporting reinforcing bars are flattened so as to be fixed to the upper portion of the beam, desirable.

본 발명에 있어서, 상기 트러스 거더를 데크패널 상부에 위치되게 보에 고정하는 고정구가 더 구비됨이 바람직하다.In the present invention, it is preferable that a fixture for fixing the truss girder to the beam positioned above the deck panel is further provided.

본 발명에 있어서, 상기 트러스 거더의 래티스 철근의 상.하부가 "ㄷ"자 형상을 이룬 디딤턱이 구비되어 시공자의 발빠짐을 방지하게 구비됨이 바람직하다.In the present invention, the upper and lower portions of the lattice reinforcement of the truss girder are preferably formed in a " C "shape so as to prevent the builder from falling out.

본 발명에 있어서, 상기 트러스 거더를 지지하기 위한 지지철근 중 적어도 어느 하나 또는 하나 이상이 하부로 절곡되어 보 내측 상부에 안착되고, 양 끝단이 보 내측면에 걸림되게 절곡됨이 바람직하다.In the present invention, it is preferable that at least one or more of the supporting reinforcing bars for supporting the truss girder are bent downward and are seated on the inside upper side, and both ends are bent to be hooked on the inside side of the beam.

본 발명에 있어서, 상기 트러스 거더의 고정구는 상부에 지지철근이 삽입결합되며, 하부가 절곡되어 보 내측 상부에 안착되고, 끝단이 보 내측면에 걸림되게 절곡됨이 바람직하다.In the present invention, it is preferable that the fastener of the truss girder is inserted into the upper portion of the supporting steel bar, the lower portion is folded, the upper portion is seated on the upper portion and the end portion is bent on the inner side surface.

본 발명에 따른 슬래브 타설용 데크패널 시공방법에 있어서, 보 양측 상부에 실링부재를 도포 또는 부착하는 실링부재 시공단계와; 보 양측 상부에 시공된 실링부재 상부에 데크패널 양 끝단이 안착되고, 데크패널에 구비된 걸림턱이 보 양측으로 걸림되게 시공하는 데크패널 시공단계와; 상기 데크패널 양 끝단을 고정수단으로 고정하는 고정단계와; 상기 데크패널 상부에 트러스 거더가 안착되는 트러스 거더 시공단계로 이루어짐을 특징으로 한다.A method of constructing a deck panel for piling a slab according to the present invention comprises the steps of: A deck panel construction step in which both ends of the deck panel are seated on the upper part of the sealing member installed on the upper side of the beam and the hooking jaw provided on the deck panel is hooked to both sides of the beam; A fixing step of fixing both ends of the deck panel by fixing means; And a truss girder installation step in which a truss girder is seated on an upper part of the deck panel.

본 발명에 따른 슬래브 타설용 데크패널 시공방법에 있어서, 보 양측 상부에 실링부재를 도포 또는 부착하는 실링부재 시공단계와; 보 양측 상부에 시공된 실링부재 상부에 트러스 거더가 안착되는 트러스 거더 시공단계와; 상기 트러스 거더의 안착면 상부에 데크패널 양 끝단이 안착되고, 데크패널에 구비된 걸림턱이 보 양측으로 및 트러스 거더에 걸림되게 시공하는 데크패널 시공단계와; 상기 데크패널 양 끝단을 고정수단으로 고정하는 고정단계:로 이루어짐을 특징으로 한다.A method of constructing a deck panel for piling a slab according to the present invention comprises the steps of: A truss girder installation step in which a truss girder is seated on an upper part of a sealing member installed on upper sides of the beam; A deck panel construction step in which both ends of the deck panel are seated on the seating surface of the truss girder, and a hooking jaw provided on the deck panel is hooked to both sides of the beam and the truss girder; And fixing the both ends of the deck panel by fixing means.

본 발명에 있어서, 데크패널의 연결부를 상호 연결하여 데크패널을 연속으로 병렬로 연결하는 데크패널 연결단계;가 더 이루어짐이 바람직하다.
In the present invention, it is preferable that a deck panel connecting step of interconnecting the deck panel connecting parts so that the deck panels are connected in parallel in succession.

본 발명에 따른 슬래브 타설용 데크패널 및 그 시공방법은 보의 상부에 걸림되는 걸림턱에 의해 데크패널의 밀림 또는 이탈을 방지할 수 있는 탁월한 효과가 있다.The deck panel for piling slabs according to the present invention and the construction method thereof have an excellent effect of preventing the deck panel from being pushed or released by a retaining jaw which is hooked on the upper portion of the beam.

또한, 데크패널에 길이방향으로 라운드를 이룸으로 라운드에 의한 구조적 강성이 더해져 데크패널의 처짐에 의한 휨을 방지할 수 있는 탁월한 효과가 있다.Further, since the deck panel is rounded in the longitudinal direction, the structural rigidity due to the round is added, and there is an excellent effect that warping due to sagging of the deck panel can be prevented.

또한, 데크패널이 하중에 의한 무게 집중시 데크패널의 라운드가 펴짐으로 인해 더욱더 견고하고 용이하게 데크패널의 휨을 방지할 수 있는 탁월한 효과가 있다.In addition, there is an excellent effect that the deck panel can be more firmly and easily prevented from warping due to the expansion of the deck panel round when the weight is concentrated by the load.

또한, 데크패널의 연결부가 슬래브의 하중 또는 사용자에 의해 눌림 됨으로 데크패널이 상호 용이하고 견고하게 밀폐고정될 수 있는 탁월한 효과가 있다.Further, since the connecting portion of the deck panel is pressed by the load of the slab or by the user, there is an excellent effect that the deck panel can be easily and firmly hermetically fixed to each other.

또한, 보양부재에 의해 데크패널의 부식 및 이물질에 의한 변색을 방지할 수 있으며, 필요에 따라 사용자가 용이하게 탈피할 수 있는 탁월한 효과가 있다.Further, it is possible to prevent the deck panel from being corroded by discoloration and discoloration due to a foreign substance, and there is an excellent effect that the user can easily peel off if necessary.

또한, 데크패널에 휨방지턱이 길이 방향으로 구비됨으로 인해 더욱더 용이하게 데크패널의 처짐 및 휨을 방지할 수 있는 탁월한 효과가 있다.Further, since the deck panel is provided with the bending prevention tabs in the longitudinal direction, it is possible to more easily prevent deflection and warping of the deck panel.

또한, 데크패널 상부에 휨방지 바가 구비되어 더욱더 용이하고 견고하게 데크패널의 휨을 방지할 수 있는 탁월한 효과가 있다.In addition, since a deflection preventing bar is provided on the upper part of the deck panel, it is possible to more easily and firmly prevent warping of the deck panel.

또한, 트러스 거더는 지지철근의 절곡에 의해 보에 용이하게 고정됨으로 데크패널에 집중되는 하중을 줄임과 동시에 트러스 거더가 데크패널과 용이하게 고정되어 슬래브 시공이 더욱더 견고하게 시공될 수 있는 탁월한 효과가 있다.In addition, since the truss girder is easily fixed to the beam by bending the supporting reinforcement, the load concentrated on the deck panel can be reduced, and the truss girder can be easily fixed to the deck panel and the slab installation can be more firmly constructed. have.

또한, 트러스 거더에 고정구가 더 구비됨으로 인해 고정구에 의해 트러스 거더가 보에 더욱더 용이하고 견고하게 고정되며, 데크패널과 상호 용이하게 안정적으로 고정될 수 있는 탁월한 효과가 있다.Further, since the truss girder is further provided with a fixture, the truss girder can be more easily and firmly fixed to the beam by the fixture, and can be stably fixed with respect to the deck panel.

또한, 트러스 거더에 디딤턱이 구비됨으로 시공자가 발빠짐과 같은 사고를 미연에 방지하여 용이하게 시공할 수 있는 탁월한 효과가 있다
In addition, since the truss girder is provided with a step jaw, it is possible to prevent an accident such as a foot drop and to easily construct the truss girder.

도 1은 종래의 트러스 거더 일체형 슬래브 거푸집 구조를 나타내는 사시도.
도 2는 도 1의 사용상태 측면도.
도 3은 도 1의 데크패널을 도시한 사시도.
도 4는 도 1의 연결구를 도시한 사용상태 사시도.
도 5는 도 3의 데크패널이 서로 연결되는 상태를 나타내는 사용상태 단면도.
도 6은 본 발명에 따른 제1 실시 예의 데크패널을 개략적으로 도시한 요부확대 사시도.
도 7은 도 6의 데크패널이 보에 걸림된 상태를 개략적으로 도시한 사용상태 측면도.
도 8은 도 6의 데크패널 양 끝단이 보에 안착된 상태를 개략적으로 도시한 사용상태 정면도.
도 9는 도 6의 데크패널이 시공된 상태를 개략적으로 도시한 요부확대 측면도.
도 10은 도 6의 데크패널이 연결부에 상호 연결된 상태를 도시한 요부확대 정 단면도.
도 11은 본 발명의 데크패널에 구비되는 걸림턱의 다른 실시 예를 도시한 요부확대 사시도.
도 12는 본 발명의 데크패널에 구비되는 걸림턱의 또 다른 실시 예를 도시한 요부확대 사시도.
도 13은 본 발명의 데크패널의 제2 실시 예를 도시한 요부확대 사시도.
도 14는 본 발명의 데크패널의 제3 실시 예를 도시한 요부확대 사시도.
도 15는 본 발명의 데크패널의 제4 실시 예를 도시한 요부확대 사시도.
도 16은 본 발명에 따른 제2 실시 예의 트러스 거더를 개략적으로 도시한 사시도.
도 17은 도 16의 설치사용상태 측면도.
도 18은 도 17에 데크패널이 설치된 상태를 도시한 설치사용상태 측면도.
도 19는 본 발명에 따른 트러스 거더 고정구의 제1 실시 예를 개략적으로 도시한 사용상태 사시도.
도 20은 도 19의 설치상태 측 면도.
도 21은 본 발명의 트러스 거더 고정구의 제2 실시 예를 개략적으로 도시한 사용상 사시도.
도 22는 본 발명에 따른 데크패널의 제1 실시 예의 시공방법을 개략적으로 도시한 순서도.
도 23은 본 발명에 따른 데크패널의 제2 실시 예의 시공방법을 개략적으로 도시한 순서도.
1 is a perspective view showing a conventional truss girder integrated slab formwork structure.
2 is a side view of the state of use of Fig. 1;
3 is a perspective view showing the deck panel of Fig. 1; Fig.
FIG. 4 is a perspective view of the connector in FIG. 1; FIG.
Fig. 5 is a sectional view of the deck panel of Fig. 3 in use; Fig.
FIG. 6 is an enlarged perspective view schematically showing a deck panel according to the first embodiment of the present invention. FIG.
FIG. 7 is a side view of the use state of the deck panel of FIG. 6 schematically showing a state where the deck panel is hooked on the beam;
Fig. 8 is a front view of the use state of the deck panel of Fig. 6 schematically showing the state where both ends of the deck panel are seated on the beam. Fig.
Fig. 9 is an enlarged side view of a main part schematically showing a state in which the deck panel of Fig. 6 is installed. Fig.
10 is an enlarged sectional front view of the main part showing the deck panel of FIG. 6 connected to the connecting portion.
FIG. 11 is an enlarged perspective view showing another embodiment of the latching jaw provided in the deck panel of the present invention; FIG.
FIG. 12 is an enlarged perspective view of a main part showing another embodiment of a latching jaw provided in the deck panel of the present invention; FIG.
FIG. 13 is an enlarged perspective view showing a deck panel according to a second embodiment of the present invention; FIG.
FIG. 14 is an enlarged perspective view of a third embodiment of the deck panel of the present invention. FIG.
Fig. 15 is an enlarged perspective view showing a fourth embodiment of the deck panel according to the present invention; Fig.
16 is a perspective view schematically showing a truss girder of a second embodiment according to the present invention.
17 is a side view of the installation state of Fig. 16;
Fig. 18 is a side view of a state in which the deck panel is installed in Fig. 17; Fig.
19 is a perspective view schematically showing a truss girder fastener according to a first embodiment of the present invention.
Fig. 20 is a side view of the mounting state of Fig. 19; Fig.
21 is a perspective view schematically showing a second embodiment of the truss girder fastener of the present invention.
22 is a flowchart schematically showing a construction method of a first embodiment of a deck panel according to the present invention;
23 is a flowchart schematically showing a construction method of a second embodiment of a deck panel according to the present invention.

이하, 도면을 참조하여 본 발명의 슬래브 타설용 데크패널을 상세히 설명하면 다음과 같다.DETAILED DESCRIPTION OF THE PREFERRED EMBODIMENTS Hereinafter, a deck panel for installing a slab of the present invention will be described in detail with reference to the drawings.

하기에서 본 발명을 설명함에 있어, 관련된 공지 기능 또는 구성에 대한 구체적인 설명이 본 발명의 요지를 불필요하게 흐릴 수 있다고 판단되는 경우에는 그 상세한 설명은 생략한다.In the following description of the present invention, a detailed description of known functions and configurations incorporated herein will be omitted when it may make the subject matter of the present invention rather unclear.

그리고 후술 되는 용어들은 본 발명에서의 기능을 고려하여 설정된 용어들로서 이는 제품을 생산하는 생산자의 의도 또는 관례에 따라 달라질 수 있으므로 그 정의는 본 명세서 전반에 걸친 내용을 토대로 내려져야 한다.
It is to be understood that both the foregoing general description and the following detailed description are exemplary and explanatory and are intended to provide further explanation of the invention as claimed.

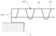
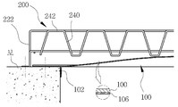
도 6 내지 도 9에 도시된 바와 같이 본 발명에 따른 슬래브 타설용 데크패널의 제1 실시 예는 보에 양 끝단이 걸림되고, 길이방향으로 중앙이 상부로 돌출되며 양측으로 라운드 된 데크패널(100)이 구비된다.6 to 9, the first embodiment of the deck panel for piling slabs according to the present invention includes a deck panel 100 (shown in FIG. 6) having both ends hooked on each other, .

그리고, 상기 데크패널 상부에 구비되며, 지지철근(222)이 삼각형상으로 연장되게 구비되는 지지부(220)가 구비되며, 물결과 같은 파형을 이루게 연속으로 절곡 연장되어 상기 지지부(220)의 양측에 고정되는 래티스 철근(240)으로 구비되고, 지지부(220)의 양 끝단이 보에 고정되게 절곡되는 트러스 거더(200)가 구비된다.
A supporting part 220 provided on the deck panel and having a supporting reinforcing bar 222 extending in a triangular shape is provided and is continuously bent and formed to have a wave-like shape, And a truss girder 200 provided with a fixed lattice bar 240 and having both ends of the support 220 bent to be fixed to the beam.

상기 데크패널(100)은 보에 양 끝단이 안착 걸림되게 소정의 길이를 이룬 긴 판형상을 이루고, 양 끝단이 평평하고 길이 방향으로 중앙 상부가 돌출된 라운드를 이루며, 양측으로 라운드를 이루게 구비됨이 바람직하다.The deck panel 100 has an elongated plate shape having a predetermined length so that both ends of the beam are seated in the beam. The deck panel 100 has a round shape with both ends flat and a central upper portion protruding in the longitudinal direction, .

또한, 상기 데크패널(100)은 얇은 판으로 구비됨이 더욱 바람직하다.It is further preferable that the deck panel 100 is formed of a thin plate.

그러므로, 별도로 데크패널(100)을 해체할 필요없이 데크패널(100)이 시공된 상태를 유지함으로 더욱더 견고하게 슬래브가 시공된다.Therefore, the deck panel 100 is kept in the installed state without the need to disassemble the deck panel 100, so that the slab is constructed more firmly.

그리고, 상기 데크패널(100)은 양 끝단 내측으로 걸림턱(102)이 하부로 돌출되게 더 구비됨이 바람직하다.In addition, it is preferable that the deck panel 100 has a locking protrusion 102 protruding downward toward the inside of both ends.

상기 걸림턱(102)은 데크패널(100)의 양끝단 내측으로 펀칭에 의해 적어도 하나 이상 구비됨이 바람직하다.It is preferable that at least one of the latching jaws 102 is provided by punching the inside of both ends of the deck panel 100.

아울러, 상기 걸림턱(102)은 절곡에 의해 하나의 걸림턱으로 구비될 수 있다.In addition, the latching jaw 102 may be provided as one latching jaw by bending.

아울러, 도 10에 도시된 바와 같이 상기 데크패널(100)의 양측으로 상.하 중 어느 한 면이 개방된 삼각형을 이루어 길이방향으로 연장되게 절곡된 연결부(104)가 구비된다.In addition, as shown in FIG. 10, a connecting portion 104 having a triangular shape with one side opened on both sides of the deck panel 100 and extending in the longitudinal direction is provided.

상기 연결부(104)는 상기 데크패널(100)의 양측 끝단에 길이 방향으로 연속되게 절곡되며 양측이 상호 대향 또는 대칭되게 구비될 수 있다.The connecting portion 104 may be continuously bent at both ends of the deck panel 100 in the longitudinal direction, and both sides of the deck panel 100 may be mutually opposed or symmetrical.

이는, 데크패널(100)이 상호 연결부(104)에 의해 병렬로 연속되게 상호 연결되기 위한 구성이다.This is a configuration in which the deck panels 100 are successively interconnected in parallel by the interconnecting portions 104.

그 한 예로 어느 하나의 데크패널(100)의 연결부(104)의 어느 일 측이 하부가 개방되게 절곡되면 다른 하나의 데크패널(100)의 연결부(104)는 상부가 개방되게 절곡되어 각각의 데크패널(100)이 상기 연결부(104)에 의해 상호 연결고정되어 병렬로 연속되게 결합 된다.For example, when one side of the connecting portion 104 of one of the deck panels 100 is bent so that the lower side thereof is opened, the connecting portion 104 of the other deck panel 100 is bent to open the upper portion, The panel 100 is connected and fixed in parallel by the connection part 104. [

아울러, 상기 연결부(104)에는 다수의 결합턱(105)이 더 구비될 수 있으며, 상기 결합턱(105)은 펀칭등에 의해 구비될 수 있다.The coupling unit 104 may further include a plurality of coupling jaws 105, and the coupling jaws 105 may be formed by punching or the like.

아울러, 상기 연결부(104)에 구비된 다수의 결합턱(105)은 상호 대응되게 구비되어 어느 하나의 연결부(104)의 결합턱(105)이 다른 하나의 연결부(104)의 결합턱(105) 내측과 상호 결합되어 더욱 견고하게 데크패널(100)이 상호 연결됨이 바람직하다.The plurality of coupling protrusions 105 provided on the coupling part 104 are formed to correspond to each other so that the coupling protrusions 105 of one coupling part 104 are coupled to the coupling protrusions 105 of the other coupling part 104, It is preferable that the deck panels 100 are mutually coupled with each other so that the deck panels 100 are mutually connected.

또한, 상기 데크패널(100)의 하부에 보양부재(106)가 더 구비됨이 바람직하다.Further, it is preferable that a hearth member 106 is further provided under the deck panel 100.

상기 보양부재(106)는 비닐로 구비됨이 바람직하나 사용자의 선택에 의해 데크패널(100)의 부식 및 이물질에 의한 변색을 방지할 수 있는 비닐과 같은 공지의 소재로 구비될 수 있으며, 합성수지가 도포 되거나, 고무재질로 구비될 수 있다.The sanitary member 106 is preferably made of vinyl but may be formed of a known material such as vinyl that can prevent discoloration of the deck panel 100 due to corrosion or foreign matter by the user's choice, Or may be provided with a rubber material.

그러므로, 본 발명의 데크패널(100)은 보양부재(106)에 의해 부식 및 변색이 방지되며, 필요에 따라 사용자가 상기 보양부재(106)를 용이하게 탈피할 수 있다.
Therefore, the deck panel 100 of the present invention is prevented from corrosion and discoloration by the healing member 106, and the user can easily evacuate the healing member 106 as needed.

그리고, 상기 데크패널 상부에 구비되는 트러스 거더(200)의 지지부(220)는 지지철근(222) 중 적어도 어느 하나 또는 하나 이상 양 끝단이 하부로 절곡되고, 절곡된 지지철근(222)의 양 끝단이 보의 상부에 안착 고정되게 평탄을 이루어 고정공(124)이 구비되어 외측으로 절곡됨이 바람직하다.The supporting part 220 of the truss girder 200 provided at the upper part of the deck panel includes at least one or at least one of the supporting reinforcing bars 222 bent downward, It is preferable that the fixing hole 124 is provided on the upper portion of the beam so as to be fixed and flat so as to be bent outward.

아울러, 상기 트러스 거더(200)의 래티스 철근(240)의 상.하부가 "ㄷ"자 형상을 이루어 디딤턱(242)이 구비되어 시공자의 발빠짐을 방지하게 구비됨이 더욱 바람직하다.
In addition, it is more preferable that the upper and lower portions of the lattice reinforcement 240 of the truss girder 200 have a "C" shape so that a step 242 is provided to prevent the constructor from falling out.

상기와 같이 구비된 본 발명의 제1 실시 예에 따른 데크패널의 시공방법을 상세히 설명하면 다음과 같다.The construction method of the deck panel according to the first embodiment of the present invention will be described in detail as follows.

우선, 긴 판형의 데크패널(100)의 원자재를 길이방향으로 상부가 돌출되게 라운드 가공한다.First, the raw material of the long plate-shaped deck panel 100 is round-worked so as to protrude upward in the longitudinal direction.

그리고, 상기 데크패널(100)의 양 끝단 내측 하부에 걸림턱(102)이 구비되게 펀칭 또는 절곡하여 걸림턱(102)을 형성한다.The engaging protrusions 102 are formed by bending or punching so that the engaging protrusions 102 are provided on the lower inner side of both ends of the deck panel 100.

물론, 상기 걸림턱(102)은 현장에 설치될 보와 보 사이의 길이에 상응하게 구비된다.Of course, the catching jaw 102 is provided corresponding to the length between the beam and the beam to be installed in the field.

그리고, 사용자의 선택에 의해 현장에서 바로 구비될 수도 있다.And may be provided immediately on the spot by the user's choice.

그리고, 상기 데크패널(100)의 양측으로 연결부(104)가 절곡에 의해 구비된다.A connection portion 104 is provided on both sides of the deck panel 100 by bending.

그리고, 상기 데크패널(100)의 하부에 보양부재(106)가 구비된다.A ventilation member 106 is provided below the deck panel 100.

물론, 상기 데크패널의 상부에 구비되는 트러스 거더(200)의 지지부(220)가 보에 안착 고정되게 절곡 제작된다.
Of course, the supporting part 220 of the truss girder 200 provided at the upper part of the deck panel is bent and formed so as to be fixed to the beam.

상기와 같이 구비된 데크패널은 도 22에 도시된 바와 같은 순서에 의해 시공된다.The deck panel thus constructed is installed in the order as shown in Fig.

물론, 시공순서는 현장사항에 따라 변경될 수 있다.Of course, the order of construction can be changed depending on the site.

데크패널(100)을 시공할 보 상부에 실링부재(120)를 도포 또는 부착하는 실링부재 시공단계(S10)를 이룬다.(S10) of applying a sealing member (120) to the top of the beam to be installed on the deck panel (100).

상기 실링부재(120)는 데크패널(100)의 시공시 데크패널(100)을 고정할때 고정수단에 의해 발생하는 불꽃을 방지하고, 데크패널(100)의 시공 후 빗물이나 슬래브 타설시 틈새로 콘크리트가 누수 되는 것을 방지하기 위한 것이다.The sealing member 120 prevents flames generated by the fixing means when fixing the deck panel 100 when the deck panel 100 is installed and prevents the flame generated when the deck panel 100 is installed, This is to prevent leakage of concrete.

아울러, 상기 실링부재(120)는 합성수지재가 뿜칠과 같은 방법에 의해 도포 되거나 또는 이미 제작된 합성수지재가 부착될 수 있으며, 고무재질의 실링부재가 부착될 수 있다.In addition, the sealing member 120 may be applied by a method such as spraying a synthetic resin material, or may be attached with a synthetic resin material already manufactured, and a sealing member made of rubber may be attached.

그리고, 상기 보 양측 상부에 시공된 실링부재(120) 상부에 데크패널(100) 양 끝단이 안착되고, 데크패널(100)에 구비된 걸림턱(102)이 보 양측으로 걸림되게 시공하는 데크패널 시공단계(S20)를 이룬다.Both ends of the deck panel 100 are seated on the upper part of the sealing member 120 installed on the upper side of the beam and the deck panel 100 is fastened to the deck panel 100, (S20).

즉, 실링부재(120)가 구비된 보 상부에 데크패널(100)의 양 끝단이 안착된다.That is, both ends of the deck panel 100 are seated on a beam top provided with the sealing member 120.

이때, 데크패널(100)의 양끝단 내측에 하부로 돌출된 걸림턱(102)이 시공하고자 하는 보 양측의 내측면에 걸림됨으로 데크패널(100)이 정확하게 보 사이에 안착되고, 밀림이 현상이 발생하지 않아 데크패널(100)이 보와 보 사이에 정확하게 안착된다.At this time, the locking protrusions 102 protruding downward on the inside of both ends of the deck panel 100 are caught by the inner side surfaces of the beams to be installed, so that the deck panel 100 is accurately seated between the beams, So that the deck panel 100 is accurately seated between the beam and the beam.

그리고, 상기 데크패널(100) 양 끝단을 고정수단으로 고정하는 고정단계(S30)를 이룬다.Then, a fixing step (S30) for fixing the both ends of the deck panel 100 with fixing means is performed.

상기 고정수단은 공지의 앙카 또는 볼트와 같은 공지의 고정수단으로 구비되어 보의 상부에 안착된 데크패널(100)의 양끝단을 고정한다.The fixing means is provided with a known fixing means such as a known anchor or bolt to fix both ends of the deck panel 100 seated on the top of the beam.

이때, 고정수단에 의한 데크패널의 고정시 발생할 수 있는 충격에 의한 불꽃은 실링부재(120)에 의해 미연에 방지된다.At this time, the flame caused by the impact which may be generated when fixing the deck panel by the fixing means is prevented by the sealing member 120 in advance.

또한, 실링부재(120)에 의해 데크패널(100)의 시공시 발생할 수 있는 틈새를 방지함으로 슬래브의 시공시 데크패널(100)의 틈새로 누수될 수 있는 콘크리트의 누수를 방지할 수 있다.Also, since the sealing member 120 prevents the deck panel 100 from being formed during the installation, it is possible to prevent the leakage of the concrete, which may leak through the gap of the deck panel 100, when the slab is installed.

아울러, 도 10에 도시된 바와 같이 데크패널(100)의 연결부(106)를 상호 연결하여 데크패널(100)을 연속으로 병렬로 연결하는 데크패널 연결단계(S40)가 더 이루어짐이 바람직하다.10, the deck panel 100 may be connected to the deck panel 100 by connecting the deck panel 100 to the deck panel 100 in parallel.

즉, 데크패널(100)이 연결부(106)에 의해 상호 연결됨으로 인해 용이하게 데크패널(100)이 병렬로 연속으로 연결된다.That is, since the deck panel 100 is interconnected by the connecting portion 106, the deck panel 100 is easily connected in parallel.

아울러, 연결부(106)에 의해 데크패널(100)의 연결 후 슬래브의 시공시 콘크리트의 무게에 의한 눌림에 의해 데크패널(100)의 연결부(106)가 상호 압착됨으로 인해 데크패널(100)이 상호 견고하게 연결된다.The connection portions 106 of the deck panel 100 are pressed against each other due to the weight of the concrete when the slab is installed after the connection of the deck panel 100 by the connection portion 106. As a result, Firmly connected.

그리고, 상기 데크패널 상부에 트러스 거더(200)를 안착하여 고정하는 트러스 거더 시공단계(S50)를 이룬다.Then, a truss girder construction step S50 is performed in which the truss girder 200 is seated and fixed on the deck panel.

상기 트래스 거더(200)는 지지부(220)의 지지철근(222) 양 끝단이 보의 상부에 안착 고정된다.Both ends of the support reinforcement 222 of the support part 220 are seated and fixed to the upper part of the beam.

이때, 지지철근(222)이 하부로 절곡되어 양 끝단에 구비된 고정공(224)에 앙카 또는 볼트 또는 용접과 같은 고정수단에 의해 트래스 거더(200)의 양 끝단이 보 상부에 견고하게 고정된다.At this time, both ends of the truss girder 200 are firmly fixed to the upper portion of the beam by fixing means such as anchor, bolt or welding to the fixing hole 224 provided at both ends of the supporting reinforcing bar 222, do.

바람직하게는 상기 지지철근(222)의 양 끝단은 데크패널(100)의 양 끝단에 최대한 근접하게 시공됨이 바람직하며, 실링부재(120) 상부에 위치되어 트러스 거더(200)의 고정시 발생할 수 있는 불꽃을 미연에 방지하고, 고정시 발생할 수 있는 틈새의 발생은 미연에 방지함이 바림직하다.Preferably, both ends of the support reinforcement 222 are installed as close as possible to both ends of the deck panel 100 and may be located above the ceiling member 120 and may occur when the truss girder 200 is fixed It prevents flames from being generated and prevents the occurrence of crevices that can occur during fixing.

아우러, 상기 트러스 거더(200)는 상기 데크패널(100)의 상부에 래티스 철근(240)의 디딤턱(242) 하부가 안착되게 시공됨이 바람직하다.In addition, the truss girder 200 is preferably installed so that the lower portion of the lid 242 of the lattice reinforcement 240 is seated on the deck panel 100.

그러므로, 데크패널(100)에 의해 트러스 거더(200)의 처짐을 방지할 수 있다.Therefore, the deck panel 100 can prevent the truss girder 200 from sagging.

상기와 같은 데크패널(100)의 시공순서는 현장여건에 따라 변경될 수 있으며, 그 한 예로 데크패널 시공단계 후 데크패널 연결단계를 이루고, 데크패널을 고정하는 고정단계를 이룰 수도 있다.The construction order of the deck panel 100 may be changed according to the site conditions. For example, the deck panel 100 may be connected to the deck panel after the deck panel construction step, and may be fixed to fix the deck panel.

또한, 트러스 거더 시공 후 데크패널 시공을 이룰 수도 있다.Also, deck panel construction can be achieved after truss girder construction.

그러므로, 본 발명의 제1 실시 예에 따른 데크패널은 걸림턱에 의해 보의 상부 내측에 걸림됨으로 데크패널의 밀림이 이나 이탈을 방지할 수 있다.Therefore, the deck panel according to the first embodiment of the present invention is engaged with the inside of the upper portion of the beam by the catching jaw, thereby preventing the deck panel from being pushed or released.

또한, 데크패널이 길이 방향으로 라운드을 이룸으로 인해 데크패널의 처짐이 발생하지 않는다.Further, since the deck panel forms a round in the longitudinal direction, deflection of the deck panel does not occur.

또한, 슬래브 또는 트래스 거더의 무게에 의한 처짐발생시 데크패널이 양측으로 펴짐으로 인해 데크패널이 하부로 처져서 휘는 것을 방지할 수 있다.Also, when the sag due to the weight of the slab or traverse girder occurs, the deck panel can be prevented from sagging downward due to expansion of the deck panel to both sides.

또한, 트러스 거더를 데크패널의 시공 또는 고정과는 상관없이 보 양측 상부에 간편에 안착함으로 고정위치를 간편하게 설정할 수 있으며, 지지부의 양 끝단이 보 상부와 평탄을 이루고 고정공에 의해 누구나 간편하게 고정할 수 있다.In addition, the truss girder can be easily set up on both sides of the beam regardless of the construction or fixing of the deck panel, so that the fixing position can be set easily. Both ends of the support are flat with the top of the beam, .

아울러, 트래스 거더의 래티스 철근은 상.하로 "ㄷ"자 형상으로 이루게 절곡되어 디딤턱을 형상함으로 인해 시공자가 시공을 위해 트래스 거더 상부를 용이하게 이동할 수 있다.In addition, since the lattice reinforcement of the traverse girder is bent in a "C " shape up and down to form a step, the constructor can easily move the upper part of the truss girder for construction.

즉, 시공자가 트레스 거더의 상부에 절곡된 디딤턱에 발바닥이 지지됨으로 인해 발 빠짐과 같은 불편함을 해소하여 더욱더 용이하게 시공작업을 할 수 있다.
In other words, since the footrest is supported on the stepped bend at the upper part of the tread girder by the constructor, discomfort such as falling out can be solved and the construction work can be further facilitated.

도 11은 본 발명의 데크패널에 구비되는 걸림턱의 다른 실시 예를 도시한 요부확대 사시도로서, 그 구성 및 작동관계는 본 발명의 제1 실시 예의 걸림턱과 대동소이함으로 이에 대한 상세한 설명은 생략한다.FIG. 11 is an enlarged perspective view showing another embodiment of the latching jaw provided in the deck panel of the present invention, and its configuration and operation are similar to those of the latching jaw of the first embodiment of the present invention, do.

다만, 도 11에 도시된 바와 같이 데크패널(100)의 양끝단 내측 하부에 걸림턱(102-1) "ㄱ"자 형상을 이루어 공지의 볼트 또는 용접 또는 리벳과 같은 공지의 고정수단에 의해 데크패널(100) 하부에 고정된다.As shown in Fig. 11, the locking jaws 102-1 formed in the inner lower ends of the both ends of the deck panel 100 are formed in a shape of a letter "A ", and are fixed by known fixing means such as welding bolts or rivets. And is fixed to the lower portion of the panel 100.

그러므로, 사용자는 간편하게 데크패널 하부에 걸림턱(102-1)을 형성할 수 있다.Therefore, the user can easily form the latching jaw 102-1 under the deck panel.

아울러, 상기 걸림턱은 "T"자 형상을 이루게 구비될 수 있다.
In addition, the latching jaw may be formed in a "T" shape.

도 12는 본 발명의 데크패널에 구비되는 걸림턱의 또 다른 실시 예를 도시한 요부확대 사시도로서, 그 구성 및 작동관계는 본 발명의 제1 실시 예 및 도 11의 걸림턱의 다른 실시 예 대동소이함으로 이에 대한 상세한 설명은 생략한다.12 is an enlarged perspective view of a main part showing another embodiment of the latching jaw provided in the deck panel according to the present invention, and the configuration and operation thereof are the same as in the first embodiment of the present invention and the other embodiment of the latching jaw A detailed description thereof will be omitted.

다만, 도 12에 도시된 바와 같이 걸림턱(102-2)이 전체적으로 "ㄱ" 형상을 이루며, 상부가 라운드 되게 구비된다.However, as shown in Fig. 12, the latching jaw 102-2 has an overall "a" shape and an upper portion thereof is rounded.

그러므로, 데크패널의 라운드 상태를 더욱더 견고하게 유지할 수 있다.
Therefore, the round state of the deck panel can be more firmly maintained.

도 13은 본 발명의 데크패널의 제2 실시 예를 도시한 요부확대 사시도로서, 그 구성 및 시공방법은 본 발명의 제1 실시 예와 대동소이함으로 이에 대한 상세한 설명은 생략한다.FIG. 13 is an enlarged perspective view showing a second embodiment of the deck panel according to the present invention, and its construction and method of construction are similar to those of the first embodiment of the present invention, and a detailed description thereof will be omitted.

다만, 도 13에 도시된 바와 같이 데크패널(100)의 상부에 적어도 하나 또는 하나 이상의 휨방지턱(108)이 상부로 돌출되어 길이 방향으로 연장되게 구비된다.However, as shown in FIG. 13, at least one or at least one bending stopper 108 protrudes upward and extends in the longitudinal direction on the upper portion of the deck panel 100.

그러므로, 상기 휨방지턱(108)에 의해 더욱더 용이하고 견고하게 데크패널(100)의 휨을 방지할 수 있다.
Therefore, the deformation of the deck panel 100 can be more easily and firmly prevented by the bending prevention tails 108. [

도 14는 본 발명의 데크패널의 제3 실시 예를 도시한 요부확대 사시도로서, 그 구성 및 시공방법은 본 발명의 제1 실시 예와 대동소이함으로 이에 대한 상세한 설명은 생략한다.FIG. 14 is an enlarged perspective view of a third embodiment of the deck panel of the present invention, and its construction and construction method are similar to those of the first embodiment of the present invention, and a detailed description thereof will be omitted.

다만, 도 14에 도시된 바와 같이 데크패널(100) 상부에 길이방향으로 연장된 휨방지 바(110)가 적어도 하나 또는 하나 이상 더 구비된다.However, as shown in FIG. 14, at least one or more than one bending prevention bar 110 extending in the longitudinal direction is further provided on the deck panel 100.

그리고, 상기 휨방지 바(110)는 "ㄷ" 자 또는 "ㄴ"자 앵글로 구비됨이 더욱 바람직하다.Further, it is more preferable that the anti-deflection bar 110 is provided as a " C "or" B "

상기 휨방지 바(110)는 용접과 같은 수단으로 데크패널(100)의 상부에 고정됨이 바람직하다.It is preferable that the deflection preventing bar 110 is fixed to the upper portion of the deck panel 100 by means such as welding.

그리고, 상기 휨방지 바(110)는 개방면이 데크패널(100) 상부를 향하도록 구비됨이 더욱 바람직하나 사용자의 선택에 의해 용이하게 변경될 수 있다.Further, it is more preferable that the deflection prevention bar 110 is disposed so that the open side faces the upper part of the deck panel 100, but it can be easily changed by the user's choice.

그러므로, 상기 휨방지 바에 의해 데크패널은 더욱더 용이하고 견고하게 데크패널의 휨을 방지할 수 있다.
Therefore, the deck panel can more easily and firmly prevent warpage of the deck panel by the warpage preventing bar.

도 15는 본 발명의 데크패널의 제4 실시 예를 도시한 요부확대 사시도로서, 그 구성 및 시공방법는 본 발명의 제1 내지 제3 실시 예와 대동소이함으로 이에 대한 상세한 설명은 생략한다.Fig. 15 is an enlarged perspective view of a fourth embodiment of the deck panel according to the present invention, and its construction and construction method are similar to those of the first to third embodiments of the present invention, and a detailed description thereof will be omitted.

다만, 도 15에 도시된 바와 같이 데크패널(100)이 길이방향으로 라운드 되고, 상기 데크패널(100) 상부에 휨방지턱(108) 및 휨방지 바(110)가 더 구비됨으로 인해 더욱더 견고하고 용이하게 데크패널(100)의 휨을 방지할 수 있다.
15, the deck panel 100 is rounded in the longitudinal direction, and the deck panel 100 is further provided with the bending prevention tails 108 and the bending prevention bar 110, The deck panel 100 can be prevented from being warped.

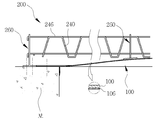
도 16은 본 발명에 따른 제2 실시 예의 트러스 거더를 개략적으로 도시한 사시도이고, 도 17은 도 16의 설치사용상태 측면도이며, 도 18은 도 17에 데크패널이 설치된 상태를 도시한 설치사용상태 측면도로서, 그 구성 및 시공방법이 본 발명의 제1 실시 예와 대동소이함으로 이에 대한 상세한 설명은 생략한다.16 is a perspective view schematically showing a truss girder according to the second embodiment of the present invention, FIG. 17 is a side view of the installation use state of FIG. 16, FIG. 18 is a perspective view of the truss girder of FIG. As a side view, the construction and the construction method of the present invention are similar to those of the first embodiment of the present invention, and a detailed description thereof will be omitted.

다만, 도 16 내지 도 18에 도시된 바와 같이 트러스 거더(200-1)를 지지하기 위한 지지철근(222-1) 중 적어도 어느 하나 또는 하나 이상이 하부로 절곡되어 보 내측 상부에 안착되고, 양 끝단이 보 내측면에 걸림되게 절곡 구비된다.However, as shown in Figs. 16 to 18, at least one or more of the supporting reinforcing bars 222-1 for supporting the truss girder 200-1 is bent downward and seated on the upper side of the beam inner side, And the end is bent to be hooked on the inner side surface of the beam.

즉, 지지부(220-1)의 지지철근(222-1)이 하부로 절곡되고, 지지철근(222-1)이 보의 상부에 안착되게 내측방향으로 절곡되어 보의 상부에 안착지지되며, 지지철근(222-1)의 끝단이 하부로 다시 절곡되어 보의 내측면에 걸림되게 구비된다.That is, the support reinforcement 222-1 of the support portion 220-1 is bent downward, the support reinforcement 222-1 is bent inward to be seated on the upper portion of the beam, And the end of the reinforcing bar 222-1 is bent back to the lower part and hooked on the inner surface of the beam.

그러므로, 사용자는 트러스 거더(200-1)를 단순히 보의 상부에 안착함으로 지지철근(222-1)의 절곡에 의해 보 상부에 용이하게 안착되고, 지지철근(222-1)의 끝단이 하향절곡되어 보의 내측면에 걸림됨으로 트러스 거더(200-1)의 밀림이 발생하지 않는다.Therefore, the user easily seats the truss girder 200-1 by simply bending the support reinforcement 222-1 by seated on the upper portion of the beam, and the end of the support reinforcement 222-1 is bent downward So that the truss girder 200-1 is prevented from being thrown.

그러므로, 누구나 간편하게 트러스 거더를 보 상부에 용이하게 안착하고 별도로 트러스 거더의 고정작업을 할 필요가 없다.Therefore, it is not necessary for anyone to easily mount the truss girder on the top of the beam and to fix the truss girder separately.

물론, 사용자의 선택에 의해 트러스 거더를 별도의 고정수단에 의해 고정할 수 도 있다.
Of course, the truss girder can be fixed by a separate fixing means by the user's choice.

아울러, 상기와 같이 구성된 트러스 거더에 의한 제2 실시 예의 시공방법은 도 23에 도시된 바와 같이 이루어지며, 본 발명의 제1 실시 예에 따른 시공방법과 대동소이함으로 이에 대한 상세한 설명은 생략한다.The construction method of the second embodiment using the truss girder constructed as described above is performed as shown in FIG. 23, and the construction method according to the first embodiment of the present invention and its detailed description will be omitted.

다만, 트러스 거더가 데크패널보다 먼저 시공됨이 바람직하며, 그 시공순서는 다음과 같다.However, it is preferable that the truss girder is installed before the deck panel, and the order of construction is as follows.

보 양측 상부에 실링부재(120)를 도포 또는 부착하는 실링부재 시공단계(S100)가 이루어진다.A sealing member construction step (S100) for applying or adhering the sealing member 120 is carried out on both sides of the beam.

그리고, 보 양측 상부에 시공된 실링부재(120) 상부에 트러스 거더가 안착되는 트러스 거더 시공단계(S200)가 이루어진다.Then, a truss girder construction step (S200) is performed in which a truss girder is seated on the upper part of the sealing member 120 installed on the upper side of the beam.

그리고, 상기 트러스 거더의 지지철근(222-1) 상부에 데크패널(100) 양 끝단이 안착되고, 데크패널(100)에 구비된 걸림턱(102)이 보 양측으로 및 트러스 거더(200)의 지지철근(222-1)에 걸림되게 시공하는 데크패널 시공단계(S300)가 이루어진다.Both ends of the deck panel 100 are seated on the upper portion of the supporting reinforcement 222-1 of the truss girder and the engaging jaws 102 provided on the deck panel 100 are fixed to the both sides of the beam, A deck panel construction step S300 is carried out so as to hang the support reinforcement 222-1.

그리고, 상기 데크패널(100) 양 끝단을 고정수단으로 고정하는 고정단계(S400)로 이루어짐이 바람직하다.And fixing the both ends of the deck panel 100 by fixing means (S400).

아울러, 상기 데크패널(100)의 연결부(106)를 상호 연결하여 데크패널(100)을 연속으로 병렬로 연결하는 데크패널 연결단계(S500)가 더 이루어짐이 바람직하다.
The deck panel 100 may be connected to the deck panel 100 in parallel by connecting the deck panel 100 to the deck panel 100 in step S500.

즉, 보 상부에 실링부재가 먼저 시공되고, 그 후 트러스 거더가 지지철근에 의해 안착 걸림되어 트러스 거더가 시공되며, 상기 트러스 거더의 지지철근의 내측 상부에 데크패널이 안착되는 것이다.That is, the sealing member is first applied to the upper part of the beam, and then the truss girder is seated by the supporting reinforcing bars to construct the truss girder, and the deck panel is seated on the inner upper side of the supporting reinforcing bars of the truss girder.

그러므로, 사용자는 트러스 거더를 먼저 간편하게 안착한 후 안정적으로 고정된 트러스 거더에 데크패널을 간편하게 안착함으로 더욱더 데크패널의 시공이 간편하고 용이하게 이루어진다.Therefore, the user easily and easily seats the truss girder and then easily seats the deck panel on the stabilized truss girder, so that the construction of the deck panel is made simple and easy.

물론, 트러스 거더와 데크패널 사이의 공간은 실링부재에 의해 채워져 상호 실링부재에 의해 틈새발생을 방지할 수 있다.Of course, the space between the truss girder and the deck panel can be filled by the sealing member, thereby preventing the occurrence of the gap by the mutual sealing member.

아울러, 본 발명에 따른 데크패널의 제2 내지 제4 실시 예에 본 발명의 트러스 거더의 제2 실시 예가 동일하게 적용될 수 있음은 물론이다.
It is needless to say that the second embodiment of the truss girder of the present invention can be equally applied to the second to fourth embodiments of the deck panel according to the present invention.

도 19는 본 발명에 따른 트러스 거더 고정구의 제1 실시 예를 개략적으로 도시한 사용상태 사시도이고, 도 20은 도 19의 설치상태 측 면도로서, 그 구성 및 시공방법은 본 발명에 따른 제1 실시 예와 대동소이함으로 이에 대한 상세한 설명은 생략한다.Fig. 19 is a perspective view of a truss-girder fixing device according to a first embodiment of the present invention, and Fig. 20 is a side view of the truss-girder fixing device in Fig. 19, A detailed description thereof will be omitted.

다만, 도 19 및 도 20에 도시된 바와 같이 트러스 거더(200)를 데크패널 상부에 안착고정하는 고정구(260)가 더 구비된다.However, as shown in FIGS. 19 and 20, a fixing hole 260 for fixing the truss girder 200 to the upper part of the deck panel is further provided.

상기 고정구(260)는 트러스 거더(200)의 지지부(220)에 구비되는 지지철근(222)이 삽입되기 위한 삽입공(262)이 적어도 하나 또는 하나 이상 구비되며, 전체적으로 "ㅗ"자 또는 "ㄴ"자 형상을 이루게 구비되고, 상기 삽입공(262)이 구비되는 상부는 지지부(220) 형상에 대응되게 구비됨이 바람직하다.The fixture 260 is provided with at least one or more than one insertion holes 262 for inserting the supporting reinforcing bars 222 provided in the supporting portion 220 of the truss girder 200, And the upper portion in which the insertion hole 262 is provided corresponds to the shape of the support portion 220. [

아울러, 상기 고정구(260)는 보에 고정되기 위한 고정공(264)이 하부에 구비됨이 바람직하다.In addition, the fixture 260 is preferably provided at a lower portion with a fixing hole 264 to be fixed to the beam.

상기와 같이 구비되는 고정구(260)는 지지철근(222)을 절곡할 필요없이 지지철근(222)이 삽입공(262)에 삽입됨으로 인해 트러스 거더(200)가 고정구(260)에 의해 보에 용이하게 고정할 수 있다.Since the support reinforcement 222 is inserted into the insertion hole 262 without the need to bend the support reinforcement 222, the fastener 260 having the above- .

물론, 상기 고정구(260)와 지지철근(222)의 고정은 용접과 같은 방식으로 상호 고정되거나 지지철근의 끝단을 절곡하여 고정할 수 있다.Of course, the fixture 260 and the support reinforcement 222 may be fixed to each other in the same manner as welding or may be fixed by bending the end of the support reinforcement.

아울러, 상기 고정구(260)는 상부에 공지의 고정수단에 의해 고정됨으로 트래스 거더(200)가 더욱더 견고하고 용이하게 고정된다.In addition, since the fixing member 260 is fixed to the upper portion by a known fixing means, the truss girder 200 is more firmly and easily fixed.

더욱 바람직하게는 상기 고정구(260)를 트래스 거더(200)의 중간 중간에 끼워진 상태로 구비할 수 있다.More preferably, the fastener (260) can be fitted in the middle of the traverse girder (200).

그러므로, 상기 고정구(260)에 의해 트러스 거더(200)의 중간부분이 데크패널에 받침됨으로 데크패널 상부에 트러스 거더(200)를 용이하게 안착할 수 있다.Therefore, since the middle portion of the truss girder 200 is supported by the deck panel by the fixture 260, the truss girder 200 can be easily mounted on the deck panel.

아울러, 상기 고정구에 의해 트러스 거더가 보의 상부에 안착 고정되게 트러스 거더 시공단계를 이룬다.
In addition, the truss girder is constructed so that the truss girder is seated and fixed to the upper portion of the beam by the fixture.

도 21은 본 발명의 트러스 거더 고정구의 제2 실시 예를 개략적으로 도시한 사용상대 사시도로서, 본 발명의 제1 실시 예의 트러스 거더 및 본 발명의 고정구의 제1 실시 예와 그 구성 및 시공방법이 대동소이함으로 이에 대한 상세한 설명은 생략한다.21 is a perspective view of a truss girder fastener according to a second embodiment of the present invention, schematically showing a truss girder fastener according to a first embodiment of the present invention and a fastener according to the first embodiment of the present invention, A detailed description thereof will be omitted.

다만, 도 13 및 도 14에 도시된 바와 같이 상기 트러스 거더(100)를 데크패널 상부에 안착고정하는 고정구(260-1)가 상부에 지지철근(222)이 삽입결합되며, 하부가 절곡되어 보 내측 상부에 안착되고, 끝단이 보 내측면에 걸림되게 절곡되게 구비된다.13 and 14, the fixing bracket 260-1 for fixing the truss girder 100 to the upper part of the deck panel is inserted into the upper portion of the supporting reinforcing bar 222, And the end is bent so as to be hooked on the inner side surface of the beam.

즉, 상기 고정구(260-1)는 삽입공(262)이 구비되는 상부는 지지부(220) 형상에 대응되게 구비되며, 하부가 보의 상부에 안착되게 내측방향으로 절곡되어 보의 상부에 안착지지되며, 끝단이 하부로 다시 절곡되어 보의 내측면에 걸림되게 구비된다.That is, the fixture 260-1 is provided with an insertion hole 262 in an upper portion corresponding to the shape of the support portion 220, and is bent inward in such a manner that the lower portion is seated on the upper portion of the beam, And the end is bent back to the lower portion and hooked on the inner surface of the beam.

그러므로, 사용자는 트러스 거더(200)를 고정구(260-1)의 삽입공에 단순히 삽입결합함으로 용이하게 트러스 거더와 결합 및 고정을 이루고, 고정구가 보의 상부에 용이하게 안착되고, 고정구 끝단이 하향절곡되어 보의 내측면에 걸림됨으로 트러스 거더의 밀림이 발생하지 않는다.Therefore, the user can easily engage and fix the truss girder 200 with the truss girder by simply inserting the truss girder 200 into the insertion hole of the fixture 260-1, and the fixture is easily seated on the upper portion of the beam, And the truss girder is prevented from being thrust by being bent and hooked on the inner side of the beam.

그러므로, 누구나 간편하게 트러스 거더를 보 상부에 용이하게 안착하고 별도로 트러스 거더의 고정작업을 할 필요가 없다.Therefore, it is not necessary for anyone to easily mount the truss girder on the top of the beam and to fix the truss girder separately.

물론, 사용자의 선택에 의해 고정구를 별도의 고정수단에 의해 고정할 수도 있다.
Of course, the fixture may be fixed by a separate fixing means by the user's choice.

이상에서 설명한 것은 본 발명에 따른 슬래브 타설용 데크패널 및 그 시공방법을 실시하기 위한 하나의 실시 예에 불과한 것으로서, 본 발명은 상기한 실시 예에 한정되지 않고, 이하 특허청구범위에서 청구하는 본 발명의 요지를 벗어남이 없이 본 발명이 속하는 분야에서 통상의 지식을 가진 자라면 누구든지 다양한 변경 실시가 가능한 범위까지 본 발명의 기술적 정신이 있다고 할 것이다.
The present invention is not limited to the above-described embodiment, but may be applied to a deck panel for placing a slab according to the present invention It will be understood by those of ordinary skill in the art that various changes in form and details may be made therein without departing from the spirit and scope of the present invention.

100: 데크패널 102,102-1,102-2: 걸림턱
104: 연결부 106: 보양부재
108: 휨방지턱 110: 휨방지 바
120: 실링부재
200,200-1: 트러스 거더 220: 지지부
222, 222-1: 지지철근 224: 고정공
240: 래티스 철근 242: 디딤턱
260, 260-1: 고정구 262: 삽입공
264: 고정공
100: Deck panel 102, 102-1, 102-2:
104: connection part 106:
108: bending stopper 110: bending prevention bar
120: sealing member
200, 200-1: Truss girder 220: Support
222, 222-1: Supporting reinforcing bar 224: Fixing ball
240: Lattice reinforcing bar 242:
260, 260-1: fixture 262: insertion hole
264: Fixed ball

Claims (14)

보 상부에 양 끝단이 안착 걸림되고, 길이방향으로 중앙이 상부로 돌출되며 양측으로 라운드 되어 슬래브 타설시 데크패널의 처짐 및 휨을 방지하고, 데크패널의 상호 연결이 용이하며, 구조적 안전성 및 강도를 높일 수 있는 데크패널과;
상기 데크패널 상부에 구비되며, 지지철근이 삼각형상으로 연장되게 구비되는 지지부가 구비되며, 물결과 같은 파형을 이루게 연속으로 절곡 연장되어 상기 지지부의 양측에 고정되는 래티스 철근으로 구비되고, 지지부의 양 끝단이 보에 고정되게 절곡되는 트러스 거더;가 구비됨을 특징으로 하는 슬래브 타설용 데크패널.
Both ends are seated on the top of the beam, the center is protruded in the longitudinal direction and rounded to both sides to prevent sagging and deflection of the deck panel when the slab is paved, the deck panels can be easily interconnected, A deck panel;
And a support portion provided on the deck panel and having a supporting reinforcing bar extending in a triangle shape and being provided with a lattice reinforcing bar which is continuously bent and extended to form a corrugated wave and fixed to both sides of the supporting portion, And a truss girder having an end bent to be fixed to the beam.
제 1 항에 있어서,
상기 데크패널의 양 끝단 내측으로 걸림턱이 하부로 돌출되게 더 구비됨을 특징으로 하는 슬래브 타설용 데크패널.
The method according to claim 1,
And a latching protrusion protruding downward from both ends of the deck panel to the inside of the deck panel.
제 1 항에 있어서,
상기 데크패널 상부에 적어도 하나 또는 하나 이상의 휨방지턱이 상부로 돌출되어 길이 방향으로 연장됨을 특징으로 하는 슬래브 타설용 데크패널.
The method according to claim 1,
Wherein at least one or at least one bending prevention protrusion is protruded upwardly from the top of the deck panel to extend in the longitudinal direction.
제 1 항에 있어서,
상기 데크패널 상부에 길이방향으로 연장된 휨방지 바가 적어도 하나 또는 하나 이상 더 구비됨을 특징으로 하는 슬래브 타설용 데크패널.
The method according to claim 1,
Wherein the deck panel further comprises at least one or more than one bending prevention bars extending in the longitudinal direction on the deck panel.
제 1 항에 있어서,
상기 데크패널의 양측에 상.하 중 어느 한 면이 개방된 삼각형을 이루어 길이방향으로 연장되게 절곡된 연결부가 더 구비됨을 특징으로 하는 슬래브 타설용 데크패널.
The method according to claim 1,
Wherein the deck panel further comprises a connection part formed on one side of the deck panel, the connection part being formed by a triangle having an open top and a bottom open and extending in the longitudinal direction.
제 1 항에 있어서,
상기 데크패널 하부에 보양부재가 일체를 이루게 더 구비됨을 특징으로 하는 슬래브 타설용 데크패널.
The method according to claim 1,
And a reinforcing member is integrally formed at a lower portion of the deck panel.
제 1 항에 있어서,
상기 트러스 거더 지지부의 지지철근 중 적어도 어느 하나 또는 하나 이상 양 끝단이 하부로 절곡되고, 절곡된 지지철근의 양 끝단이 보의 상부에 안착 고정되게 평탄을 이루어 고정공이 구비됨을 특징으로 하는 슬래브 타설용 데크패널.
The method according to claim 1,
Wherein at least one of the supporting bars of the truss girder supporting portion or at least one of both ends of the supporting reinforcing bars of the truss girder supporting portion is bent downward and both ends of the bent supporting reinforcing bars are flattened to be fixed on the upper portion of the beam, Deck panel.
제 1 항에 있어서,
상기 트러스 거더를 데크패널 상부에 위치되게 보에 고정하는 고정구가 더 구비됨을 특징으로 하는 슬래브 타설용 데크패널.
The method according to claim 1,
Further comprising a fixture for fixing the truss girder to the beam so as to be positioned on the upper part of the deck panel.
제 1 항에 있어서,
상기 트러스 거더의 래티스 철근의 상.하부가 "ㄷ"자 형상을 이룬 디딤턱이 구비되어 시공자의 발빠짐을 방지하게 구비됨을 특징으로 하는 슬래브 타설용 데크패널.
The method according to claim 1,
Wherein the truss girder is provided with a stepped upper "C " shaped upper and lower portions of the lattice reinforcement to prevent the footer from falling out.
제 1 항에 있어서,
상기 트러스 거더를 지지하기 위한 지지철근 중 적어도 어느 하나 또는 하나 이상이 하부로 절곡되어 보 내측 상부에 안착되고, 양 끝단이 보 내측면에 걸림되게 절곡됨을 특징으로 하는 슬래브 타설용 데크패널.
The method according to claim 1,
Wherein at least one or more of the supporting beams for supporting the truss girder is folded downward to be seated on the inside upper side and both ends are bent to be hooked on the inside side surface of the beam.
제 1 항 또는 제 8 항 중 어느 한 항에 있어서,
상기 트러스 거더의 고정구는 상부에 지지철근이 삽입결합되며, 하부가 절곡되어 보 내측 상부에 안착되고, 끝단이 보 내측면에 걸림되게 절곡을 특징으로 하는 슬래브 타설용 데크패널.
9. The method according to any one of claims 1 to 8,
Wherein the fastener of the truss girder is inserted into the upper portion of the supporting reinforcing bar, and the lower portion of the deck is folded so that it is seated on the inside upper portion and the end portion is hooked on the inside surface of the beam.
보 양측 상부에 실링부재를 도포 또는 부착하는 실링부재 시공단계와;
보 양측 상부에 시공된 실링부재 상부에 데크패널 양 끝단이 안착되고, 데크패널에 구비된 걸림턱이 보 양측으로 걸림되게 시공하는 데크패널 시공단계와;
상기 데크패널 양 끝단을 고정수단으로 고정하는 고정단계와;
상기 데크패널 상부에 트러스 거더가 안착되는 트러스 거더 시공단계로 이루어짐을 특징으로 하는 슬래브 타설용 데크패널 시공방법.
A sealing member applying step of applying or attaching a sealing member on both sides of the beam;
A deck panel construction step in which both ends of the deck panel are seated on the upper part of the sealing member installed on the upper side of the beam and the hooking jaw provided on the deck panel is hooked to both sides of the beam;
A fixing step of fixing both ends of the deck panel by fixing means;
And a truss girder installation step in which a truss girder is seated on an upper part of the deck panel.
보 양측 상부에 실링부재를 도포 또는 부착하는 실링부재 시공단계와;
보 양측 상부에 시공된 실링부재 상부에 트러스 거더가 안착되는 트러스 거더 시공단계와;
상기 트러스 거더의 지지철근 상부에 데크패널 양 끝단이 안착되고, 데크패널에 구비된 걸림턱이 보 양측으로 및 트러스 거더에 걸림되게 시공하는 데크패널 시공단계와;
상기 데크패널 양 끝단을 고정수단으로 고정하는 고정단계:로 이루어짐을 특징으로 하는 슬래브 타설용 데크패널 시공방법.
A sealing member applying step of applying or attaching a sealing member on both sides of the beam;
A truss girder installation step in which a truss girder is seated on an upper part of a sealing member installed on upper sides of the beam;
A deck panel construction step in which both ends of the deck panel are seated on the upper part of the supporting reinforcing bars of the truss girder, and the engaging jaws provided on the deck panel are engaged with both sides of the beam and the truss girder;
And fixing the both ends of the deck panel by fixing means.
제 12 항 또는 제 13 항 중 어느 한 항에 있어서,
데크패널의 연결부를 상호 연결하여 데크패널을 연속으로 병렬로 연결하는 데크패널 연결단계;가 더 이루어짐을 특징으로 하는 슬래브 타설용 데크패널 시공방법.
14. The method according to any one of claims 12 to 13,
And a deck panel connecting step of interconnecting deck panel connecting parts so as to continuously connect deck panels in parallel.
KR1020140137587A 2014-10-13 2014-10-13 Slab placing deck panels and construction method Expired - Fee Related KR101648071B1 (en)

Priority Applications (1)

Application Number Priority Date Filing Date Title
KR1020140137587A KR101648071B1 (en) 2014-10-13 2014-10-13 Slab placing deck panels and construction method

Applications Claiming Priority (1)

Application Number Priority Date Filing Date Title
KR1020140137587A KR101648071B1 (en) 2014-10-13 2014-10-13 Slab placing deck panels and construction method

Publications (2)

Publication Number Publication Date
KR20160043344A true KR20160043344A (en) 2016-04-21
KR101648071B1 KR101648071B1 (en) 2016-08-12

Family

ID=55917863

Family Applications (1)

Application Number Title Priority Date Filing Date
KR1020140137587A Expired - Fee Related KR101648071B1 (en) 2014-10-13 2014-10-13 Slab placing deck panels and construction method

Country Status (1)

Country Link
KR (1) KR101648071B1 (en)

Cited By (1)

* Cited by examiner, † Cited by third party
Publication number Priority date Publication date Assignee Title
KR101711344B1 (en) * 2016-08-11 2017-03-13 에스와이스틸텍 주식회사 Device for mounting the truss girder

Citations (4)

* Cited by examiner, † Cited by third party
Publication number Priority date Publication date Assignee Title
KR100245268B1 (en) * 1996-12-13 2000-02-15 김무수 A deck plate attached truss and manufacturing method corresponding same
KR200219433Y1 (en) * 2000-10-23 2001-04-02 김영철 Constructional structure of form for constructing concrete dike, L-typed gutter
KR200346435Y1 (en) * 2003-12-15 2004-03-31 주식회사 윈스틸 Truss Girder Attached Deck Plate Equiped with End Fixture
KR200366575Y1 (en) * 2004-08-17 2004-11-06 명화엔지니어링 주식회사 Deck plate

Patent Citations (4)

* Cited by examiner, † Cited by third party
Publication number Priority date Publication date Assignee Title
KR100245268B1 (en) * 1996-12-13 2000-02-15 김무수 A deck plate attached truss and manufacturing method corresponding same
KR200219433Y1 (en) * 2000-10-23 2001-04-02 김영철 Constructional structure of form for constructing concrete dike, L-typed gutter
KR200346435Y1 (en) * 2003-12-15 2004-03-31 주식회사 윈스틸 Truss Girder Attached Deck Plate Equiped with End Fixture
KR200366575Y1 (en) * 2004-08-17 2004-11-06 명화엔지니어링 주식회사 Deck plate

Cited By (1)

* Cited by examiner, † Cited by third party
Publication number Priority date Publication date Assignee Title
KR101711344B1 (en) * 2016-08-11 2017-03-13 에스와이스틸텍 주식회사 Device for mounting the truss girder

Also Published As

Publication number Publication date
KR101648071B1 (en) 2016-08-12

Similar Documents

Publication Publication Date Title
KR101295740B1 (en) Joint of Steel Column
KR101860299B1 (en) Baseplate seperatable deckplate construction method
KR101511504B1 (en) Stripping deck plate with reinforced conncted flexure function
KR101518682B1 (en) Stripping Deck
KR102243984B1 (en) Non-supporting formwork system for retaining wall using self-supporting form and construction method thereof
KR101834006B1 (en) Roll forming steel plates built-up beam and steel frame using the same
KR101908356B1 (en) Aseismatic Reinforcement Double Steel Frame and Aseismatic Reinforcement Method using thereof
KR101165207B1 (en) Closed steel composite girder and how the connection between a closed steel composite girder
KR101609759B1 (en) Stripping Deck
KR20160097888A (en) End Continuing Structure for Truss Decks
KR101845078B1 (en) Aseismatic Reinforcement Steel Frame with Adjusting Connector and Aseismatic Reinforcement Method using thereof
KR20060090406A (en) Steel permanent formwork beams with U-shaped connecting material and steel concrete composite beams using them
KR101176846B1 (en) Structure for reinforcing proof stress of girder
KR102071872B1 (en) the girder form construction method using the deck composite
KR101648071B1 (en) Slab placing deck panels and construction method
KR20170061449A (en) Insulation Integrated Deck Plate
KR20120002152A (en) Die spacing
JP5442365B2 (en) Reinforced beam joint hardware
KR20160043345A (en) Slab placing truss girder
KR101639592B1 (en) Prefabricated lightweight girder and the bridge construction method using the same
KR100882163B1 (en) Truss girder intergrated deck panel form structure for reinforced concrete slab
KR101483909B1 (en) Spacer for truss girder integrated deck without permanent form and the deck
KR20160043346A (en) Slab placing bend prevention deck panels and construction method
JP6037114B2 (en) Formwork
KR101676841B1 (en) Steel Beam of Asymmetric Variable Section for Installation of High Deck Slab

Legal Events

Date Code Title Description
A201 Request for examination
PA0109 Patent application

St.27 status event code: A-0-1-A10-A12-nap-PA0109

PA0201 Request for examination

St.27 status event code: A-1-2-D10-D11-exm-PA0201

D13-X000 Search requested

St.27 status event code: A-1-2-D10-D13-srh-X000

R18-X000 Changes to party contact information recorded

St.27 status event code: A-3-3-R10-R18-oth-X000

D14-X000 Search report completed

St.27 status event code: A-1-2-D10-D14-srh-X000

E902 Notification of reason for refusal
PE0902 Notice of grounds for rejection

St.27 status event code: A-1-2-D10-D21-exm-PE0902

E13-X000 Pre-grant limitation requested

St.27 status event code: A-2-3-E10-E13-lim-X000

P11-X000 Amendment of application requested

St.27 status event code: A-2-2-P10-P11-nap-X000

P13-X000 Application amended

St.27 status event code: A-2-2-P10-P13-nap-X000

E90F Notification of reason for final refusal
PE0902 Notice of grounds for rejection

St.27 status event code: A-1-2-D10-D21-exm-PE0902

E13-X000 Pre-grant limitation requested

St.27 status event code: A-2-3-E10-E13-lim-X000

P11-X000 Amendment of application requested

St.27 status event code: A-2-2-P10-P11-nap-X000

P13-X000 Application amended

St.27 status event code: A-2-2-P10-P13-nap-X000

E701 Decision to grant or registration of patent right
PE0701 Decision of registration

St.27 status event code: A-1-2-D10-D22-exm-PE0701

PG1501 Laying open of application

St.27 status event code: A-1-1-Q10-Q12-nap-PG1501

R17-X000 Change to representative recorded

St.27 status event code: A-3-3-R10-R17-oth-X000

GRNT Written decision to grant
PR0701 Registration of establishment

St.27 status event code: A-2-4-F10-F11-exm-PR0701

PR1002 Payment of registration fee

St.27 status event code: A-2-2-U10-U11-oth-PR1002

Fee payment year number: 1

PG1601 Publication of registration

St.27 status event code: A-4-4-Q10-Q13-nap-PG1601

P22-X000 Classification modified

St.27 status event code: A-4-4-P10-P22-nap-X000

PN2301 Change of applicant

St.27 status event code: A-5-5-R10-R11-asn-PN2301

R18-X000 Changes to party contact information recorded

St.27 status event code: A-5-5-R10-R18-oth-X000

PN2301 Change of applicant

St.27 status event code: A-5-5-R10-R14-asn-PN2301

P14-X000 Amendment of ip right document requested

St.27 status event code: A-5-5-P10-P14-nap-X000

FPAY Annual fee payment

Payment date: 20190708

Year of fee payment: 4

PR1001 Payment of annual fee

St.27 status event code: A-4-4-U10-U11-oth-PR1001

Fee payment year number: 4

PR1001 Payment of annual fee

St.27 status event code: A-4-4-U10-U11-oth-PR1001

Fee payment year number: 5

R18-X000 Changes to party contact information recorded

St.27 status event code: A-5-5-R10-R18-oth-X000

PC1903 Unpaid annual fee

St.27 status event code: A-4-4-U10-U13-oth-PC1903

Not in force date: 20210809

Payment event data comment text: Termination Category : DEFAULT_OF_REGISTRATION_FEE

PC1903 Unpaid annual fee

St.27 status event code: N-4-6-H10-H13-oth-PC1903

Ip right cessation event data comment text: Termination Category : DEFAULT_OF_REGISTRATION_FEE

Not in force date: 20210809