KR20160009151A - Rock bolt sleeve by top-down formula constructing basement - Google Patents

Rock bolt sleeve by top-down formula constructing basement Download PDF

Info

Publication number
KR20160009151A
KR20160009151A KR1020140089038A KR20140089038A KR20160009151A KR 20160009151 A KR20160009151 A KR 20160009151A KR 1020140089038 A KR1020140089038 A KR 1020140089038A KR 20140089038 A KR20140089038 A KR 20140089038A KR 20160009151 A KR20160009151 A KR 20160009151A
Authority
KR
South Korea
Prior art keywords
slab
sleeve
formwork
bolt sleeve
rock bolt
Prior art date
Legal status (The legal status is an assumption and is not a legal conclusion. Google has not performed a legal analysis and makes no representation as to the accuracy of the status listed.)
Ceased
Application number
KR1020140089038A
Other languages
Korean (ko)
Inventor
양내문
양근영
Original Assignee
양내문
양근영
Priority date (The priority date is an assumption and is not a legal conclusion. Google has not performed a legal analysis and makes no representation as to the accuracy of the date listed.)
Filing date
Publication date
Application filed by 양내문, 양근영 filed Critical 양내문
Priority to KR1020140089038A priority Critical patent/KR20160009151A/en
Publication of KR20160009151A publication Critical patent/KR20160009151A/en
Ceased legal-status Critical Current

Links

Images

Classifications

    • EFIXED CONSTRUCTIONS
    • E02HYDRAULIC ENGINEERING; FOUNDATIONS; SOIL SHIFTING
    • E02DFOUNDATIONS; EXCAVATIONS; EMBANKMENTS; UNDERGROUND OR UNDERWATER STRUCTURES
    • E02D29/00Independent underground or underwater structures; Retaining walls
    • E02D29/045Underground structures, e.g. tunnels or galleries, built in the open air or by methods involving disturbance of the ground surface all along the location line; Methods of making them

Landscapes

  • Engineering & Computer Science (AREA)
  • Environmental & Geological Engineering (AREA)
  • Life Sciences & Earth Sciences (AREA)
  • General Life Sciences & Earth Sciences (AREA)
  • Mining & Mineral Resources (AREA)
  • Paleontology (AREA)
  • Civil Engineering (AREA)
  • General Engineering & Computer Science (AREA)
  • Structural Engineering (AREA)
  • Forms Removed On Construction Sites Or Auxiliary Members Thereof (AREA)

Abstract

본 발명은 거푸집틀을 이용한 현수식 무지보 역타설 지하구축용 락볼트 슬리브의 구조를 락볼트 수직삽입부와, 그리고 거푸집틀(P)과의 접면부로 형성하되 접면부의 전(全)접면적이 내부돌출부와 외부돌출부의 합이 되게 넓게 형성함으로써 거푸집틀(P)과 넓게 밀착ㆍ접면되도록 하면서 접면부의 접면구조가 안정되도록 하고, 이와 동시에 밀착된 내부돌출부와 외부돌출부의 전접면적에 의해 락볼트 슬리브의 락볼트 수직삽입부내로 콘크리트 몰탈(C)의 침투가 방지되도록 한 발명이다.
그뿐 아니라 현수식 탑다운 축조방식으로 축조가 완성된 슬래브(F)의 락볼트 슬리브의 하부중공부에 마개를 삽입ㆍ밀폐시킴으로써 락볼트 슬리브의 하부중공부 외관이 마개의 밀폐에 의해 미려하게 되도록 한 유용한 발명이다.
In the present invention, the structure of a rock bolt sleeve for underground construction using a formwork is formed by the vertical insertion portion of the rock bolt and the contact portion between the mold bolt and the formwork (P) The area of the contact surface is made wide so as to be the sum of the inner protrusion and the outer protrusion so that the contact surface structure of the contact surface is stabilized while making the contact with the formwork P wide and by the contact area between the inner protrusion and the outer protrusion And the penetration of the concrete mortar (C) is prevented by the vertical insertion portion of the lock bolt of the lock bolt sleeve.
In addition, by inserting and closing the stopper in the lower part of the rock bolt sleeve of the slab (F), which has been built up in the suspension-type down-molding method, the outer surface of the lower part of the rock bolt sleeve is cleaned It is a useful invention.

Description

거푸집틀을 이용한 현수식 무지보 역타설 지하구축용 락볼트 슬리브{Rock bolt sleeve by top-down formula constructing basement}A rock bolt sleeve for underground construction using top-down formula constructing basement.

본 발명은 거푸집틀을 이용한 현수식 무지보 역타설 지하구축용 락볼트 슬리브에 관한 것으로 이를 좀 더 구체적으로 말하면, 락볼트 슬리브의 구조를 락볼트 수직삽입부와, 그리고 거푸집틀(P)과의 접면부로 형성하되 접면부의 전(全)접면적이 내부돌출부와 외부돌출부의 합이 되게 넓게 형성함으로써 거푸집틀(P)과 넓게 밀착ㆍ접면되도록 하면서 접면부의 접면구조가 안정되도록 하고, 이와 동시에 밀착된 내부돌출부와 외부돌출부의 전접면적에 의해 락볼트 슬리브의 락볼트 수직삽입부내로 콘크리트 몰탈(C)의 침투가 방지되도록 한 발명이다.
[0001] The present invention relates to a rock bolt sleeve for underground construction using a formwork, and more particularly, to a rock bolt sleeve having a structure in which a rock bolt vertical insertion part and a And the contact surface of the contact portion is formed to be wide so as to be the sum of the internal protrusion and the external protrusion so that the contact surface of the contact surface can be stabilized while making the contact with the formwork P wide and wide, The penetration of the concrete mortar (C) into the vertical bolt insertion portion of the lock bolt sleeve is prevented by the contact area of the inner protruding portion and the outer protruding portion closely adhered to each other.

그뿐 아니라 현수식 탑다운 축조방식으로 축조가 완성된 슬래브(F)의 락볼트 슬리브의 하부중공부에 마개를 삽입ㆍ밀폐시킴으로써 락볼트 슬리브의 하부중공부 외관이 마개의 밀폐에 의해 미려하게 되도록 한 것이다.
In addition, by inserting and closing the stopper in the lower part of the rock bolt sleeve of the slab (F), which has been built up in the suspension-type down-molding method, the outer surface of the lower part of the rock bolt sleeve is cleaned will be.

또한 락볼트 슬리브의 하부에서 1/3~1/2위치에 원통관의 외주면을 따라 분리홈을 형성함으로써 분리홈 상부의 락볼트 슬리브가 분리된 상태에서 슬래브(F) 콘크리트 면과 채움 몰탈(C)이 직접 접촉되게 하여 채움 몰탈(C)의 부착강도가 증진되도록 한 유용한 발명이다.
In addition, a separation groove is formed along the outer circumferential surface of the circular tube at the 1/3 to 1/2 position from the bottom of the rock bolt sleeve, so that the slab (F) concrete surface and the fill mortar (C ) Is brought into direct contact with each other to enhance the adhesion strength of the filler mortar (C).

요즘 특히 도심에서의 고층건물의 축조는 일반적으로 역타설 공법[일명 ‘탑다운(Top Down)공법’]으로 축조된다. 탑다운(Top Down)공법은 시공공간이 부족한 건물이 밀집된 도심지역에 적합하기 때문이다.
The construction of high-rise buildings in urban areas in recent years is generally constructed by retrofitting (also called "Top Down"). The Top Down method is suitable for urban areas where there is a lack of construction space.

탑다운(Top Down)공법은 지하굴착공사 이전에 지하외부 벽체와 지하층 기둥을 선시공한 후, 단계별로 지하층 슬래브와 지하굴착공사를 위에서 아래로 수행해가는 지하구조물축조방식이다. 이 방식의 각 층은 다른 층에 대하여 구조적으로 독립적이다. 하부층에서 상부층을 받쳐줄 필요가 없기 때문이다. 그뿐 아니라 공기가 짧아 경제적이다.
The Top Down method is an underground structure construction method in which the subterranean wall and underground pillar are pierced before the underground excavation and the underground slab and underground excavation work are performed from the top down. Each layer in this manner is structurally independent of the other layers. It is not necessary to support the upper layer in the lower layer. In addition, the air is short and economical.

거푸집틀을 이용한 현수식 무지보 역타설[‘탑다운(Top Down)공법’] 지하구축시스템이 등록특허 제10-0236708호에 구체적으로 기재되어있다.
("Top Down Construction Method") using a formwork is described in detail in Korean Patent Registration No. 10-0236708.

즉, 등록특허 제10-0236708호(이하 ‘종래기술’이라 한다)는 동바리를 사용하지 않고서도 거푸집틀을 현수방식으로 안정적으로 지지하는 무지보 현수방식의 역타설 지하구축시스템이다.
That is, the patent application No. 10-0236708 (hereinafter referred to as "prior art") is a backhoe-type underground construction system that supports the formwork in a suspended manner without using a ditch.

종래기술에 의하여 무지보 현수방식에 대하여 살펴보면 다음과 같다.
The following is a description of the unshielded suspension system according to the prior art.

먼저, 무지보 현수방식에 의한 역타설 공정에 대하여 살펴본다. (도1a~d 참조)
First, we will discuss the reverse casting process by the non-pouring method. (See Figures la-d)

[제1공정]
[First Step]

제1공정은 지상건축구조물과 그 지하구조물을 건설할 곳에 주열식 엄지말뚝갱을 천공하여 흙막이 토류벽용 주열식엄지말뚝(a)을 설치하고, 엄지말뚝(a)의 배면부위에는 차수벽(b)을 설치하는 공정이다. f는 버림콘크리트이다. (도1a)
In the first step, the main building type ground pile (a) is installed by drilling a main type thermal pile pile gang to construct the ground building structure and the underground structure, and a water wall (b) is formed on the back part of the thumb pile It is a process to install. f is abandoned concrete. (Fig. 1A)

[제2공정]
[Second Step]

제2공정은 슬래브 거푸집틀(10A)에 콘크리트를 타설하는 공정이다. (도1b)
The second step is a step of pouring concrete into the slab formwork 10A. (Fig. 1B)

역타설 무지보 지하구조물 구축용 슬래브 거푸집틀(10A)은 버림콘크리트(f) 위에 설치될 뿐만 아니라 슬래브 거푸집틀(10A)은 강기둥(d)과 강기둥(d) 사이, 강기둥(d)과 엄지말뚝(a) 사이마다 독립적으로 설치된다. The slab formwork 10A is installed on the abandoned concrete f and the slab formwork 10A is placed between the steel column d and the steel column d and the steel column d, And the thumb pile (a).

슬래브 거푸집틀(10A)위에는 슬래브 철근(g)이 조립되고, 슬리브(H)가 수직으로 설치된다.Above the slab formwork 10A, the slab reinforcement g is assembled and the sleeve H is installed vertically.

슬리브(H)는 도2a에서보는 바와 같이 슬래브(F) 콘크리트 타설 시 현수재(G)가 통과할 수 있는 통과공 K를 형성하기위해 사용되는 부재이다. 이러한 슬리브(H)가 바로 도2b에 설치되어있다.
As shown in FIG. 2A, the sleeve H is a member used to form a through hole K through which the suspension member G can pass when the slab F is poured into concrete. Such a sleeve H is provided directly in FIG. 2B.

[제3공정]
[Third Step]

제3공정은 버림콘크리트(f)위에 타설된 지층 슬래브(j) 콘크리트가 양생되는 동안 지하 1층 구축분에 대한 지하굴착작업을 병행하고, 동 지하 1층의 엄지말뚝(a) 배면부에 토류판(e)을 추가로 설치하는 공정일 뿐 아니라 지하 1층 슬래브(k)구축을 위한 준비공정이다.
In the third step, the underground excavation work for the one-story underground building is performed while the concrete slab (j) placed on the abandoned concrete (f) is cured. e), as well as a preparation process for constructing a slab (k) underground.

지하 1층 슬래브(k)구축을 위한 준비공정을 좀 더 구체적으로 설명하면 다음과 같다.
The preparation process for constructing the slab (k) underground 1 story will be described in more detail as follows.

첫째, 지층 슬래브(j)위의 현수재(G)의 일단은 현수재 정착구(30)(40)(50)에 의하여 지층 슬래브(j)위에 정착되고, 그 타단은 지층 슬래브(j)의 슬리브(H)를 통해 지하 1층 슬래브(k)가 타설될 위치까지 연장된다. 지층 슬래브(j)의 슬리브(H)를 통해 연장된 현수재(G)의 단부에는 지하 1층 슬래브(k) 타설를 위한 슬래브 거푸집틀(10A)이 설치된다. (도1c)
First, one end of the suspension G on the stratum slab j is fixed on the stratum slab j by the suspension re-settlement ports 30, 40 and 50, and the other end is fixed to the sleeve of the stratum slab j. (K) of the underground one-storeyed structure through the openings (H). A slab formwork 10A is installed at the end of the suspension material G extending through the sleeve H of the stratum slab j for laying a slab k on the first floor. (Fig. 1C)

둘째, 슬래브 거푸집틀(10A)에 콘크리트를 타설하여 지하 1층 슬래브(k)를 완성한다. (도1d)
Second, concrete is placed in the slab formwork 10A to complete the underground one-story slab (k). (Figure 1d)

[제4공정]
[Fourth Step]

제2공정→제3공정을 반복하면서 탑다운 방식에 의하여 슬래브와 지하굴착을 병행ㆍ구축한다.
The second step → the third step is repeated, and the slab and underground excavation are concurrently constructed by the tower-down method.

다음으로 현수방식에 따른 현수재(G)의 정착구(30)에 대하여 살펴본다.
Next, the fixing port 30 of the suspending material G according to the suspension system will be described.

현수재(G)의 정착구(40)에 대한 구성이 도2a에 도시되어있다.The configuration of the fixing member 40 of the suspending material G is shown in Fig. 2A.

현수재 정착구(30)는 조오받침(31)과 조오(jaw; 32), 외통(33) 잠금보울트(34)로 구성된다.The suspension re-fixing port 30 is composed of a jaw rest 31, a jaw 32, and an outer cylinder 33 locking bolt 34.

조오받침(31)은 조오(32)를 밑받쳐 옥죄는 것으로, 주벽의 일부는 완전히 개방되게 하여 현수재(G)에 대한 옆출입구(31a)로 삼는다. The jaw rest 31 is supported on the jaws 32 so that the part of the main wall is completely opened to serve as a side door 31a for the suspension G.

조오받침(31)을 내려다보거나 올려다보면 도2b에서 보듯이 C형이다.Looking down or looking up at the jaw rest 31, it is C type as shown in FIG. 2B.

출입구(31a)의 폭은 현수재의 굵기보다도 약간 크게 하여 현수재의 옆에서 끼우거나 현수재로 부터 옆으로 빼낼 수 있게 한다. 조오받침(31)의 상면(31b)은 조오(32)를 밑받쳐 조이게 역테이퍼를 준다. 그리고 조오받침(31)의 주벽 하단부에서 옆출입구(31a)에 가까운 지점에는 외통(33)의 주벽에서 향심방향으로 틀어박는 잠금보울트가 체결될 나사공(31c)을 천공한다.The width of the entrance 31a is made slightly larger than the thickness of the suspension so that it can be fitted next to the suspension or removed laterally from the suspension. The upper surface 31b of the jaw rest 31 gives a reverse taper so as to clamp the jaw 32 under the jaws. At a position near the side door 31a at the lower end of the main wall of the jaw rest 31, a screw hole 31c is formed in the peripheral wall of the outer cylinder 33 to fasten the locking bolt in the direction of the core.

내면에 물림날(32a)이 형성된 조오(32)는 원주를 2 이상 등분한 분할형이며, 외주면(32b)은 테이퍼를 부여하고 저면(32c)은 역테이퍼지게 한다. 여기서, 외주면(32b)은 외통(33)의 테이퍼진 내면(33)에 의하여 향심방향으로 옥죄어지는 부분이고 저면(32c)은 조오받침(31)의 상면(31b)에 의해 옥죄어지는 부분이다.The jaw 32 formed with the engaging boss 32a on the inner surface is a split type in which two or more circumferences are equally divided. The outer circumferential surface 32b is tapered and the bottom surface 32c is reverse tapered. The outer circumferential surface 32b is a portion of the outer tube 33 which is tapered in the direction of the core by the tapered inner surface 33 and the bottom surface 32c is the portion of the upper surface 31b of the jaw rest 31 that is crushed.

외통(33)은 위아래가 완전히 열리고 살이 두터운 단관상이며, 현수재(G)에 대한 옆출입구(33a)이다.
The outer cylinder 33 is a monolithic body which is fully opened up and down and thick in weight, and is a side entrance 33a for the suspension G.

이 외통(33)도 조오받침(31)과 마찬가지로 내려다보거나 올려다보면 도2b에서 보듯이 C형이다. 옆출입구(33a)의 폭은 현수재의 굵기보다도 약간 크게 한다. 그래야만 횡방향으로 현수재(G)에 씌우고 또는 현수재(G)에 씌워진 상태에서 옆으로 수월하게 빼낼 수가 있다.
As shown in FIG. 2B, the outer cylinder 33 is also of the C type, as viewed from above or in the same manner as the throat 31. The width of the side entrance 33a is slightly larger than the thickness of the hanging material. So that it can be pulled sideways (G) in a transverse direction or sideways in a state of being covered by a suspension (G).

그리고 외통(33)의 내면(33b)은 위로 갈수록 점차 좁아지게 테이퍼를 부여한다. 이같은 내면(33b)의 구조는 조오(32)를 옥죄이는데 반드시 필요하다. 그리고 외통(33)에서 옆출입구(33a)의 하단 가까운 곳에는 향심방향으로 보울트공(33c)을 천공하여 조오받침(31)을 고정하기 위한 잠금보울트(34)를 예비적으로 끼워둔다.
The inner surface (33b) of the outer cylinder (33) is tapered so as to become gradually narrower toward the upper side. The structure of such an inner surface (33b) is indispensable for deconstructing Joro (32). A bolt hole 33c is formed in the outer cylinder 33 near the lower end of the side doorway 33a in the direction of the core axis to preliminarily insert the lock bolt 34 for fixing the thrust bearing 31. [

도2c는 상기의 각 부재를 유기적으로 결합한 현수재 정착구(30)의 평면도이다. 2C is a plan view of a suspension re-fixation port 30 in which the aforementioned members are organically coupled.

조오받침(31)의 옆출입구(31a)와 조오(32)의 경계선 및 외통(33)의 옆출입구(33a)가 서로 겹치지 않게 조립하는 것이 결합강도가 크다. 잠금보울트(34)로 외통(33)을 조오받침(31)에 체결하면 옆출입구(33a)의 양쪽이 조오받침(31)의 뒷면에 고정되며, 이렇게 함으로써 현수재와 조오(32) 및 조오받침(31)을 통하여 전달되는 거푸집틀(10A)과 거기에 타설된 엄청난 콘크리트의 하중에도 불구하고 외통(33)의 옆출입구(33a) 쪽이 벌어지지 않는다.
The joining strength is great when the boundary between the side door 31a of the jaw rest 31 and the jaw 32 and the side door 33a of the outer casing 33 do not overlap each other. When the outer cylinder 33 is fastened to the jaw receiving part 31 by the lock bolt 34, both side portions of the side entrance 33a are fixed to the back surface of the jaw receiving part 31. By doing this, both the jaws 32, The side door 33a of the outer cylinder 33 is not opened in spite of the load of the formwork 10A transmitted through the door 31 and the enormous concrete laid thereon.

도2d는 현수재(G)가 정착구(30)에 의하여 위층슬래브(F)위에 정착된 상태를 보이고 있다. 이렇게 위층슬래브(F)위에 단단히 정착된 현수재(G)는 슬리브(H)를 관통하여 아래층슬래브(F)의 거푸집틀(10A)을 현수ㆍ지지하게 된다. 현수재(G)는 일명 ‘록 보울트(rock bolt)’라고도 한다.
FIG. 2D shows a state in which the suspension material G is fixed on the upper-layer slab F by the fixing port 30. FIG. The suspended material G firmly fixed on the upper layer slab F is suspended through the sleeve H to suspend and support the formwork 10A of the lower layer slab F. [ Suspended ashes (G) are also known as rock bolts.

이와 같이 정착구(30)에 의한 현수재(G)의 정착이 조립식으로 이루어지므로 조립의 역순에 의하여 현수재(G)에 대한 정착이 해제된다. 이는 곧 거푸집틀에 대한 설치 및 탈형 작업이 용이함을 의미한다.
Since the fixing of the suspension material G by the fixing port 30 is performed in a prefabricated manner, the fixing of the suspension material G is canceled by the reverse order of assembly. This means that it is easy to install and demolish the formwork.

이제, 무지보 현수방식의 역타설 지하구축시스템에 대한 종래기술의 현장에서의 문제점을 살펴보고자한다.
Now, we will examine the problems in the field of the conventional technology for the retrofitted underground construction system of the mejibo suspension type.

정착구(30)의 출발 층을 슬래브 F1이라 하면, 탑다운 방식으로 슬래브 F2→F3→F4→ㆍㆍㆍ가 순차적으로 축조된다.
If the starting layer of the fixing unit 30 is a slab F1, the slab F2, F3, F4, ... are sequentially formed in a top-down manner.

정착구(30)에 의한 현수재(G)의 상단부 정착은 슬래브 F1에서 이루어지고, 현수재(G)의 하단부에 의한 현수는 슬래브 F2의 거푸집틀(10A)에서 이루어진다.
The fixing of the upper end of the suspension G by the fixing port 30 is performed in the slab F1 and the suspension by the lower end of the suspension G is performed in the formwork 10A of the slab F2.

예컨대, 정착구(30)에 의해 현수재(G)의 상단부는 슬래브F1위에 정착된다. 슬래브F1의 슬리브(H)를 관통한 현수재(G)의 하단부는 슬래브F2 타설를 위한 거푸집틀(10A)을 현수ㆍ지지한다.
For example, the upper end portion of the suspension G is fixed on the slab F1 by the fixing port 30. Fig. The lower end portion of the suspension G passing through the sleeve H of the slab F1 suspends and supports the formwork 10A for the slab F2 installation.

이와 같이 현수된 상태에서 슬래브F2의 거푸집틀(10A)에 콘크리트를 타설ㆍ양생한 후, 슬래브F2의 거푸집틀(10A)을 탈형한다. 이와 함께 슬래브F1의 정착구(30)의 정착도 해제한다. 슬래브F2의 축조가 완료된다.
After the concrete is laid and cured in the formwork 10A of the slab F2 in the suspended state, the formwork 10A of the slab F2 is demoulded. The fixation of the fixing port 30 of the slab F1 is also canceled. The construction of the slab F2 is completed.

다음으로, 축조가 완료된 슬래브F2에서 위와 같은 방식으로 슬래브F3을 축조한다. Next, the slab F3 is constructed in the manner described above in the slab F2 whose construction has been completed.

다만 현수재(G)의 상단부 정착위치가 슬래브F2가 되고, 슬래브F2의 슬리브(H)를 관통한 현수재(G)의 하단부는 슬래브F3 타설를 위한 거푸집틀(10A)을 현수ㆍ지지한다.
The upper end fixing position of the suspension G is the slab F2 and the lower end of the suspension G passing through the sleeve H of the slab F2 suspends and supports the formwork 10A for the slab F3 installation.

위와 마찬가지로 슬래브F3의 거푸집틀(10A)에 콘크리트를 타설ㆍ양생한 후, 슬래브F3의 거푸집틀(10A)을 탈형한다. 이와 함께 슬래브F2의 정착구(30)의 정착도 해제한다. 슬래브F3의 축조가 완료된다.
After the concrete is laid and cured in the formwork 10A of the slab F3, the formwork 10A of the slab F3 is demolded. At the same time, the fixation of the fixing port 30 of the slab F2 is also released. The construction of the slab F3 is completed.

그 다음으로, 현수재(G)가 관통하는 슬리브(H)에 대하여 살펴본다.
Next, the sleeve H through which the suspension member G penetrates will be described.

슬리브(H)는 현수재(G)가 관통하는 통로이다. The sleeve H is a passage through which the suspension material G passes.

거푸집틀(10A)의 탈형과 함께 현수재(G)의 정착도 해제된다. 이때 슬리브(H)내에서 현수재(G)가 잘 빠져나올 수 있도록 보호하는 역할을 한다. 타설 되는 콘크리트 몰탈이 슬리브(H)내로 스며들어가게 되면 슬리브(H)내에 삽입된 현수재(G)와 결합되어 현수재(G)의 제거가 어려워져 축조가 비효율적인 문제점이 있다. 현수재(G)는 거푸집틀(10A)을 현수하는 지지재이므로 슬래브의 축조가 완료된 후에는 반드시 제거해야한다.
The fixture of the standing water G is released along with the demolding of the formwork 10A. At this time, it plays a role of protecting the suspension (G) in the sleeve (H) from coming out well. When the concrete mortar is inserted into the sleeve H, it is combined with the suspension material G inserted into the sleeve H, which makes it difficult to remove the suspension material G, which is a problem in that the construction is inefficient. Suspended material (G) is a supporting material that suspends the formwork (10A) and must be removed after the construction of the slab is completed.

예컨대, 슬래브F2의 거푸집틀(10A)에 미리 슬리브(H)를 설치한 다음, 슬래브F2의 거푸집틀(10A)에 콘크리트 몰탈을 타설한다. 이때 종래기술인 도2d의 슬리브(H)구조는 콘크리트 몰탈 타설 시 슬리브(H)내로 스며드는 것을 막을 수 없는 문제점이 있다.
For example, after the sleeve H is installed in the formwork 10A of the slab F2 in advance, the concrete mortar is poured into the formwork 10A of the slab F2. At this time, the conventional structure of the sleeve (H) of FIG. 2D has a problem that it can not prevent permeation into the sleeve H when the concrete mortar is poured.

탑다운 무지보 현수방식에서 슬리브(H)내로 스며든 몰탈로 인해 현수재(G)의 제거가 어렵게 되면, 순차적으로 축조되는 공기의 지연이 순연되게 된다. 이러한 순연된 공기지연은 탑다운 현수방식의 축조현장에서 가장 큰 문제점이다.
When the suspension G is difficult to remove due to the mortar impregnated into the sleeve H in the top-down unimpeded suspension system, the delay of the air that is built up sequentially becomes complicated. This complicated air delay is the biggest problem in top-down suspension construction.

⒜ 본 발명은 거푸집틀을 이용한 현수식 무지보 역타설 지하구축용 락볼트 슬리브의 구조를 락볼트 수직삽입부와, 그리고 거푸집틀(P)과의 접면부로 형성하되 접면부의 전(全)접면적이 내부돌출부와 외부돌출부의 합이 되게 넓게 형성함으로써 거푸집틀(P)과 넓게 밀착ㆍ접면되도록 하면서 접면부의 접면구조가 안정되도록 하고, 이와 동시에 밀착된 내부돌출부와 외부돌출부의 전접면적에 의해 락볼트 슬리브의 락볼트 수직삽입부내로 콘크리트 몰탈(C)의 침투가 방지되도록 함에 그 목적이 있고,
(A) According to the present invention, a structure of a rock bolt sleeve for underground construction using a formwork is formed by a vertical insertion portion of a rock bolt and a contact portion between a formwork (P) The contact area is formed so as to be the sum of the inner protrusion and the outer protrusion so that the contact surface of the contact surface is stabilized while being in wide contact with the formwork P and the contact area between the inner protrusion and the outer protrusion To prevent the penetration of the concrete mortar (C) into the lock bolt vertical insertion portion of the lock bolt sleeve,

⒝ 현수식 탑다운 축조방식으로 축조가 완성된 슬래브(F)의 락볼트 슬리브의 하부중공부에 마개를 삽입ㆍ밀폐시킴으로써 락볼트 슬리브의 하부중공부 외관이 마개의 밀폐에 의해 미려하게 되도록 함에 다른 목적이 있으며,
(B) By inserting and closing the stopper in the lower part of the rock bolt sleeve of the slab (F) which has been built up by the suspension tower construction method, the lower part of the rock bolt sleeve is made more beautiful by the sealing of the stopper There is a purpose,

⒞ 또한 락볼트 슬리브의 하부에서 1/3~1/2위치에 원통관의 외주면을 따라 분리홈을 형성함으로써 분리홈 상부의 락볼트 슬리브가 분리된 상태에서 슬래브(F) 콘크리트 면과 채움 몰탈(C)이 직접 접촉되게 하여 채움 몰탈(C)의 부착강도가 증진되도록 함에 또 다른 목적이 있다.
In addition, by forming a separation groove along the outer circumferential surface of the circular tube at the 1/3 to 1/2 position from the bottom of the rock bolt sleeve, the slab (F) concrete surface and the fill mortar C are directly brought into contact with each other so as to enhance the adhesion strength of the filler mortar (C).

본 발명 거푸집틀을 이용한 현수식 무지보 역타설 지하구축용 락볼트 슬리브구성을 설명하면 다음과 같다.
The construction of a rock bolt sleeve for underground construction using a formwork of the present invention is as follows.

도3a는 거푸집틀(P)이 락볼트(100)에 의해 현수된 상태를 보인 본 발명의 도면이다. FIG. 3A is a view of the present invention showing a state in which the formwork P is suspended by the lock bolts 100. FIG.

본 발명과 종래기술은 거푸집틀(P)의 현수방식이 동일하다. The present invention and the conventional art have the same suspension system of the formwork (P).

이러한 양발명의 현수방식은 락볼트(100)에 의해 이루어진다.
Such a suspension system of the pair is made by the lock bolt 100.

이와 같이 양발명의 현수방식은 동일하고, 다만 슬리브 구성에 있어서만 서로 다르다.
In this way, the suspension system of both feet is the same, but only in the sleeve configuration.

이를 바꿔 말하면, 본 발명의 락볼트 슬리브(120)는 종래기술의 슬리브(H)와는 달리 거푸집틀(P)위의 미경화 몰탈(C)이 락볼트 슬리브(120)내로 침투되는 것이 방지된 구성이다. 즉, 본 발명의 락볼트 슬리브(120)는 종래기술의 슬리브(H)의 몰탈(C)침입의 문제점을 개량한 구성이다.
In other words, the locking bolt sleeve 120 of the present invention is configured such that unhardened mortar C on the formwork P is prevented from penetrating into the locking bolt sleeve 120, unlike the prior art sleeve H to be. In other words, the lock bolt sleeve 120 of the present invention is an improvement of the problem of the penetration of the mortar (C) of the sleeve H of the prior art.

먼저, 락볼트 슬리브(120)와 관련된 본 발명의 구성은 다음과 같다.
First, the configuration of the present invention related to the lock bolt sleeve 120 is as follows.

축조가 완료된 슬래브(F1)상에서 락볼트의 상단부가 정착구에 의하여 정착되고, 그 하단부가 슬래브(F1)의 슬리브(H)를 관통하면서 축조될 하층슬래브(F2)의 거푸집틀(10A)을 현수ㆍ지지하는 거푸집틀을 이용한 현수식 무지보 역타설 지하구축용 락볼트 슬리브에 있어서
The upper end portion of the rock bolt is fixed by the fixing port on the slab F1 on which the construction is completed and the lower end portion of the rock bolt passes through the sleeve H of the slab F1 to suspend the formwork 10A of the lower slab F2, In a rock bolt sleeve for underground construction,

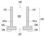
락볼트 슬리브(120)는 원통관(121)이면서 락볼트 수직삽입부(122)와, 그리고 거푸집틀(P)과 접면되는 접면부(124)로 이루어지되 락볼트 수직삽입부(122)의 상부는 원통관(121)에 의해 개방된 상부중공부(123)가 형성되고, 락볼트 수직삽입부(122)의 하부 접면부(124)는 원통관(121)을 기준으로 내부돌출부(126)와 외부돌출부(125)로 이루어지며, 내부돌출부(126)와 외부돌출부(125)는 원통관(121)의 원주를 따라 원통관(121)에 직각되게 평면상으로 형성되고, 내부돌출부(126)에 의해 개방된 하부중공부(127)가 형성됨을 특징으로 하는 거푸집틀을 이용한 현수식 무지보 역타설 지하구축용 락볼트 슬리브이다.
The lock bolt sleeve 120 includes a circular tube 121 and a lock bolt vertical insertion portion 122 and a contact portion 124 which is in contact with the formwork P, And the lower contact portion 124 of the lock bolt vertical insertion portion 122 is formed with an inner protrusion 126 and a lower protrusion 126 with respect to the circular tube 121, The inner protrusion 126 and the outer protrusion 125 are formed in a plane perpendicular to the circular tube 121 along the circumference of the circular tube 121, And a lower bolt hole 127 opened by the lower bolt 127 is formed.

여기에다 원통관(121)의 하부에서 1/3~1/2위치에 원통관(121)의 외주면을 따라 분리홈(121a)을 형성한 구성이다.
And a separation groove 121a is formed along the outer circumferential surface of the circular tube 121 at the 1/3 to 1/2 position from the bottom of the circular tube 121. [

또한 마개(140)의 지지부(142)가 내부돌출부(126)에 얹혀 지지되고, 이와 함께 마개의 밀폐부(144)가 내부돌출부(126)의 하부중공부(127)에 삽입되어 내부돌출부(126)의 하부중공부(127)를 밀폐시킨 구성이다.
The support portion 142 of the cap 140 is supported on the inner projecting portion 126 and the closure portion 144 of the cap is inserted into the lower middle portion 127 of the inner projecting portion 126 to form the inner projecting portion 126 And the lower half of the lower half 127 is sealed.

이제, 거푸집틀(P)의 현수방식과 관련하여 도3a에 의거 거푸집틀(P)의 미경화 몰탈(C)이 본 발명의 락볼트 슬리브(120)내로 침투되지 않는 구조에 대하여 설명하면 다음과 같다.
Now, a description will be made of a structure in which the uncured mortar C of the formwork P according to FIG. 3A is not penetrated into the lock bolt sleeve 120 of the present invention with respect to the suspension system of the formwork P, same.

도3a에는 락볼트 슬리브(120)가 2군데 매설되어있다. 하나의 락볼트 슬리브(120)는 경화된 슬래브(F)에 매설되어있고, 다른 하나의 락볼트 슬리브(120)는 미경화된 몰탈(C)에 설치되어있다. 미경화된 몰탈(C)은 거푸집틀(P)위에 타설된다. 미경화된 몰탈(C)에 의하여 슬래브F1이 축조된다. 이때 락볼트(100)는 경화된 슬래브(F)의 락볼트 슬리브(120)를 관통하여 미경화된 몰탈(C)내의 락볼트 슬리브(120)를 통해 슬래브F1을 타설하기 위한 거푸집틀(P)에 고정되어있다. 미경화된 몰탈(C)내의 락볼트 슬리브(120)는 몰탈 타설 전에 미리 슬래브F1의 거푸집틀(P)에 수직으로 설치된다.
In Fig. 3A, two rock bolt sleeves 120 are embedded. One rock bolt sleeve 120 is embedded in the hardened slab F and the other rock bolt sleeve 120 is installed in the uncured mortar C. [ The unhardened mortar (C) is placed on the formwork (P). And the slab F1 is formed by the uncured mortar (C). The rock bolt 100 is inserted through a rock bolt sleeve 120 of the hardened slab F to form a mold P for laying the slab F1 through the rock bolt sleeve 120 in the uncured mortar C, As shown in FIG. The rock bolt sleeve 120 in the uncured mortar C is installed perpendicularly to the formwork P of the slab F1 before casting the mortar.

락볼트(100)의 일단은 경화된 슬래브(F) 상단 정착구(Q)에 의해 정착되어있다. 또 락볼트(100)의 타단은 미경화된 몰탈(C)을 통과하여 슬래브F1의 거푸집틀(P)에 고정되어있다.
One end of the lock bolt 100 is fixed by the upper fixture Q at the top of the hardened slab (F). The other end of the lock bolt 100 passes through the uncured mortar C and is fixed to the mold P of the slab F1.

이와 같이 슬래브(F) 상단 정착구(Q)에 정착된 락볼트(100)는 몰탈(C)에 의해 축조될 슬래브F1의 거푸집틀(P)을 현수ㆍ지지하고 있다. 미경화된 몰탈(C)내에 설치된 슬래브F1의 락볼트 슬리브(120)내에는 락볼트(100)가 삽입되어있다. 이 상태에서 몰탈(C)이 경화되어 슬래브F1이 완성된다.
The rock bolt 100 fixed to the upper fixture Q of the slab F is suspended and supports the formwork P of the slab F1 to be formed by the mortar C. [ The lock bolt 100 is inserted into the lock bolt sleeve 120 of the slab F1 provided in the uncured mortar C. In this state, the mortar C is hardened to complete the slab F1.

슬래브F1이 완성되면, 슬래브F의 상단 정착구(Q)를 분해하고 그 정착을 해제한다. 이와 함께 슬래브F1의 거푸집틀(P)을 탈형한다. 슬래브F1의 거푸집틀(P)을 탈형 시 락볼트(100)를 슬래브F1의 락볼트 슬리브(120)에서 빼내야한다.
When the slab F1 is completed, the upper fixture Q of the slab F is disassembled and the fixation is released. At the same time, the formwork P of the slab F1 is demolded. The lock bolt 100 must be pulled out from the lock bolt sleeve 120 of the slab F1 when the formwork P of the slab F1 is demolded.

그런데 종래기술의 슬리브(H)구조에는 몰탈(C) 침투를 방지할 구조가 없기 때문에 슬리브(H)내로 몰탈(C)침투가 불가피하다. 이렇게 침투된 몰탈(C)은 슬리브(H)내의 락볼트(100)와 경화되어 락볼트(100)가 빠지지 않는다. 락볼트(100)가 슬리브(H)내에서 빠지지 않음으로써 탑다운 방식의 다음 축조가 이루어지지 않게 된다. 종래기술과 같이 락볼트(100)가 슬리브(H)내에서 제거되지 않는다면, 탑다운 축조방식이 순차적으로 지연되게 되는 문제점이 있다. 실제 이는 탑다운 축조방식의 공기를 지연시키는 주범이다.
However, since there is no structure for preventing penetration of the mortar (C) in the structure of the prior art sleeve (H), it is inevitable that the mortar (C) penetrates into the sleeve (H). The penetrated mortar C is hardened with the lock bolt 100 in the sleeve H, so that the lock bolt 100 does not come off. The lock bolt 100 does not fall within the sleeve H, so that the next top-down construction is not performed. If the lock bolt 100 is not removed in the sleeve H as in the prior art, there is a problem that the top-down construction method is sequentially delayed. In fact, this is the main reason for delaying the top-down construction.

본 발명은 락볼트 슬리브(120)의 내부돌출부(126)가 락볼트(100)에 밀접 되어있으므로 미경화 몰탈(C)이 락볼트 슬리브(120)내로 침투되는 것이 방지된다. The present invention prevents the uncured mortar C from penetrating into the lock bolt sleeve 120 because the inner protrusion 126 of the lock bolt sleeve 120 is in close contact with the lock bolt 100. [

락볼트 슬리브(120)의 재질은 합성수지가 바람직하다. 합성수지의 유연성과 탄성에 의하여 내부돌출부(126)와 락볼트(100)의 밀접이 용이하기 때문이다.
The material of the lock bolt sleeve 120 is preferably a synthetic resin. This is because the inner protrusion 126 and the lock bolt 100 are easily brought into close contact with each other due to the flexibility and elasticity of the synthetic resin.

또한 내부돌출부(126)는 락볼트 슬리브(120)의 외부돌출부(125)와 함께 거푸집틀(P)에 접면되는 접면부(124)로서 기능을 한다. 접면부(124)는 외부돌출부(125)와 내부돌출부(126)의 면적의 합이므로 거푸집틀(P)과의 접면이 안정적이다. The inner protrusion 126 also functions as a contact surface 124 that contacts the formwork P together with the outer protrusion 125 of the lock bolt sleeve 120. Since the contact portion 124 is the sum of the areas of the outer protrusion 125 and the inner protrusion 126, the contact surface with the mold P is stable.

락볼트 슬리브(120)의 내부돌출부(126)는 락볼트 슬리브(120)내로 몰탈(C)의 침투를 방지할 뿐 아니라 마개(140)의 지지부(142)가 지지되는 턱으로서의 기능을 한다.
The inner protrusion 126 of the lock bolt sleeve 120 functions not only to prevent the penetration of the mortar C into the lock bolt sleeve 120 but also as a jaw for supporting the support portion 142 of the stopper 140.

한편, 락볼트 슬리브(120)의 하부중공부(127)를 밀폐시키는 마개(140)에 대하여 설명한다.
The cap 140 for closing the lower half of the lock bolt sleeve 120 will be described.

도3a에서 슬래브F의 락볼트 슬리브(120)에 삽입된 락볼트(100)는, 슬래브F1이 완성되면 슬래브F1의 거푸집틀(P) 탈형과 함께 슬래브F의 락볼트 슬리브(120)에서 제거된다.The locking bolt 100 inserted into the locking bolt sleeve 120 of the slab F is removed from the locking bolt sleeve 120 of the slab F together with the demolding of the mold P of the slab F1 when the slab F1 is completed .

락볼트(100)가 슬래브F의 락볼트 슬리브(120)에서 제거되면 락볼트 슬리브(120)만 남게 된다. 남게 된 락볼트 슬리브(120)는 밑에서 볼 때 뚫려있는 하부중공부(127)로 인하여 외관이 흉하게 보인다.
When the lock bolt 100 is removed from the lock bolt sleeve 120 of the slab F, only the lock bolt sleeve 120 is left. The remained lock bolt sleeve 120 is disfigured due to the lower middle weight 127 which is opened when viewed from below.

미관을 미려하게 하기위하여 락볼트 슬리브(120)의 하부중공부(127)에 마개(140)를 삽입하여 이를 밀폐한다.(도3e 참조) 락볼트 슬리브(120)의 위에서 아래로 마개(140)를 삽입한다.
The stopper 140 is inserted into the lower half of the lock 127 of the lock bolt sleeve 120 to seal the lock bolt sleeve 120 from the top to the bottom of the lock bolt sleeve 120, .

이와 같이 마개(140)를 락볼트 슬리브(120)의 하부중공부(127)에 삽입함으로써 락볼트 슬리브(120)공간을 몰탈로 채우는 작업이 생략되는 이점이 있다.
In this manner, by inserting the plug 140 into the lower middle weight 127 of the lock bolt sleeve 120, there is an advantage that the operation of filling the space of the lock bolt sleeve 120 with the mortar is omitted.

도3e에 의하면 마개(140)의 지지부(142)는 락볼트 슬리브(120)의 내부돌출부(126)에 지지되고, 락볼트 슬리브(120)의 하부중공부(127)는 마개(140)의 밀폐부(114)에 의하여 밀폐된다. 이 상태에서 밀폐부(114)의 하단선이 슬래브(F)의 하부선과 일치되어있다.
3E, the support portion 142 of the stopper 140 is supported by the inner protrusion 126 of the lock bolt sleeve 120, and the lower middle portion 127 of the lock bolt sleeve 120 is closed by closing the stopper 140 (114). In this state, the lower end line of the closed portion 114 coincides with the lower line of the slab F.

또한 락볼트 슬리브(120)의 원통관(121)의 하부에서 1/3~1/2위치에 원통관(121)의 외주면을 따라 분리홈(121a)을 형성하는 것이 바람직하다. (도3c 참조)It is also preferable that the separation groove 121a is formed along the outer circumferential surface of the circular tube 121 at the 1/3 to 1/2 position from the lower part of the circular tube 121 of the lock bolt sleeve 120. (See Fig. 3C)

1/3~1/2위치에서 분리홈(121a)의 상단부분의 제거가 용이하기 때문이다.This is because it is easy to remove the upper portion of the separation groove 121a at 1/3 to 1/2 position.

락볼트 슬리브(120)의 개수가 많아지게 되면 슬래브(F)강도가 약해질 염려가 있기 때문에 락볼트 슬리브(120)가 분리홈(121a)에서 분리된 상태에서 몰탈을 채우게 되면 마개(140)의 밀폐에 의해 몰탈이 누수 되지 않을 뿐 아니라 분리홈(121a) 상단부분은 몰탈과 동일재질의 콘크리트이므로 부착강도가 커지게 되는 이점이 있다.
If the number of the lock bolt sleeves 120 increases, the strength of the slab F may become weak. Therefore, if the lock bolt sleeve 120 is separated from the separation groove 121a and the mortar is filled, Since the mortar is not leaked by sealing and the upper portion of the separation groove 121a is made of the same material as the mortar, there is an advantage that the adhesion strength is increased.

⒜ 본 발명은 거푸집틀을 이용한 현수식 무지보 역타설 지하구축용 락볼트 슬리브의 구조를 락볼트 수직삽입부와, 그리고 거푸집틀(P)과의 접면부로 형성하되 접면부의 전(全)접면적이 내부돌출부와 외부돌출부의 합이 되게 넓게 형성한 구성이므로 거푸집틀(P)과 넓게 밀착ㆍ접면되면서 접면부의 접면구조가 안정되고, 이와 동시에 밀착된 내부돌출부와 외부돌출부의 전접면적에 의해 락볼트 슬리브의 락볼트 수직삽입부내로 콘크리트 몰탈(C)의 침투가 방지되는 효과가 있다.
(A) According to the present invention, a structure of a rock bolt sleeve for underground construction using a formwork is formed by a vertical insertion portion of a rock bolt and a contact portion between a formwork (P) Since the contact area is formed so as to be the sum of the inner protrusion and the outer protrusion, the contact structure of the contact surface is stabilized while being in close contact with the formwork P in a wide range. The contact area between the inner protrusion and the outer protrusion Thereby preventing the penetration of the concrete mortar (C) into the vertical insertion portion of the lock bolt of the lock bolt sleeve.

⒝ 현수식 탑다운 축조방식으로 축조가 완성된 슬래브(F)의 락볼트 슬리브의 하부중공부에 마개를 삽입ㆍ밀폐시키는 구성이므로 락볼트 슬리브의 하부중공부 외관이 마개의 밀폐에 의해 미려하게 되도록 되는 효과가 있다.
(B) Because of the construction that the plug is inserted and sealed in the lower part of the rock bolt sleeve of the slab (F), which has been built up in the tower-down construction method, the lower part of the rock bolt sleeve is made to be beautiful by the sealing of the plug .

⒞ 또한 락볼트 슬리브의 하부에서 1/3~1/2위치에 원통관의 외주면을 따라 분리홈을 형성한 구성이므로 분리홈 상부의 락볼트 슬리브가 분리된 상태에서 슬래브(F) 콘크리트 면과 채움 몰탈(C)이 직접 접촉되어 채움 몰탈(C)의 부착강도가 증진되는 효과를 지닌 유용한 발명이다.
In addition, since the separation groove is formed along the outer circumferential surface of the circular tube at the position of 1/3 to 1/2 of the bottom of the rock bolt sleeve, the slab (F) concrete surface and the filling surface Is a useful invention having the effect that the mortar (C) is directly contacted to enhance the adhesion strength of the filler mortar (C).

[도1a~d] 지하구조물을 통상의 역타설 무지보 구축공법으로 구축하는 공정을 나타낸 개략도
[도2a] 현수재(락볼트)를 정착하는 정착구의 분해 단면 사시도
[도2b] 도2a의 조오받침과 외통의 평면도
[도2c] 도2a의 결합평면도
[도2d] 도2a의 정착구에 의해 현수재(락볼트)를 정착시키는 과정도
[도3a] 본 발명의 슬리브가 완성된 슬래브(F)와 타설될 미완성ㅌ슬래브(F1)에 설치된 상태를 보인 단면사시도
[도3b] 도3a의 ‘A’의 확대도
[도3c] 본 발명의 슬리브 및 마개의 사시도
[도3d] 본 발명의 슬리브의 단면도
[도3e] 본 발명의 슬리브가 완성된 슬래브(F)에 매설되어있으면서 마개를 삽입 조립한 상태를 보인 단면도
[Fig. 1 (a) to (d)] is a schematic view showing a process of constructing an underground structure by a conventional retro-
FIG. 2a is an exploded cross-sectional perspective view of a fixing port for fixing a suspension bolt (locking bolt)
FIG. 2b is a plan view of the jaw rest and the outer tube of FIG.
FIG. 2c is a plan view of the coupling of FIG.
[Fig. 2d] The process of fixing the suspension member (rock bolt) by the fixing port of Fig.
3A is a cross-sectional perspective view showing a state in which a sleeve of the present invention is installed on a finished slab F and an unfinished slab F1 to be laid. Fig.
FIG. 3B is an enlarged view of 'A' in FIG. 3A
Figure 3c is a perspective view of the sleeve and stopper of the present invention.
[Figure 3d] Cross-sectional view of the sleeve of the present invention
FIG. 3E is a sectional view showing a state in which the sleeve of the present invention is embedded in the completed slab F and the plug is inserted and assembled

본 발명 거푸집틀을 이용한 현수식 무지보 역타설 지하구축용 락볼트 슬리브의 구체적인 실시내용을 첨부된 도면과 함께 설명하면 다음과 같다.
A specific embodiment of a rock bolt sleeve for underground concrete construction using a formwork of the present invention will be described with reference to the accompanying drawings.

현수식 탑다운 축조방식은 먼저 완성된 슬래브(F1)가 축조되어있어야 한다. 완성된 슬래브(F1)를 기준으로 락볼트(100)의 일단을 정착시킨 다음, 락볼트(100)의 타단에 의해 그 아래층 슬래브(F2)축조를 위한 슬래브F2의 거푸집틀(P)이 현수ㆍ지지되고, 거푸집틀(P)이 현수ㆍ지지된 상태에서 거푸집틀(P)에 몰탈(C)을 타설함으로써 슬래브F2를 축조하는 방식이다.
In the suspension tower construction method, the completed slab (F1) must first be constructed. The one end of the rock bolt 100 is fixed on the basis of the completed slab F1 and the other end of the rock bolt 100 is used to suspend the formwork P of the slab F2 for the formation of the lower- And the slab F2 is constructed by placing the mortar C in the formwork P in a state in which the formwork P is suspended and supported.

이때 슬래브(F1)의 락볼트(100)의 정착구(Q)에 의한 일단 정착은 도2d의 종래기술과 동일한 정착구(30)에 의해 정착된다. At this time, once the fixing of the rock bolt 100 of the slab F1 by the fixing port Q is fixed by the same fixing port 30 as the prior art of FIG. 2D.

슬래브F1의 락볼트 슬리브(120)와 슬래브F2의 락볼트 슬리브(120)를 락볼트(100)가 관통되어있다.
The locking bolt 100 of the slab F1 and the locking bolt sleeve 120 of the slab F2 are passed through.

슬래브F1의 락볼트 슬리브(120)는 슬래브F1의 축조당시 거푸집틀(P)위에 몰탈(C) 타설 전에 설치된 다음, 몰탈(C)이 타설된 것이다.
The rock bolt sleeve 120 of the slab F1 is installed before the mortar C is laid on the formwork P at the time of constructing the slab F1 and then the mortar C is laid.

슬래브F2의 락볼트 슬리브(120)역시 슬래브F1의 락볼트 슬리브(120)설치와 마찬가지다. The lock bolt sleeve 120 of the slab F2 is also the same as the lock bolt sleeve 120 of the slab F1.

즉 슬래브F2의 거푸집틀(P)위에 슬래브F2의 락볼트 슬리브(120)를 수직으로 설치된 다음, 슬래브F2의 거푸집틀(P)에 몰탈(C)을 타설한다.
That is, the lock bolt sleeve 120 of the slab F2 is vertically installed on the formwork P of the slab F2, and then the mortar C is placed on the formwork P of the slab F2.

슬래브F2→F3→ㆍㆍㆍ의 축조도 위와 같은 축조방식과 동일하다.
The construction of slabs F2? F3? ... is the same as that of the above-described construction method.

이와 같이 현수식 탑다운 축조방식으로 축조가 완성된 슬래브(F)의 락볼트 슬리브(120)에는 마개(140)를 삽입하여 슬리브(120)의 하부중공부(127)를 밀폐시킨다. 하부중공부(127)의 외관이 마개(140)에 밀폐에 의하여 미려하게 된다.
The stopper 140 is inserted into the lock bolt sleeve 120 of the slab F that has been completed by the suspension tower type down method to seal the lower heavy load 127 of the sleeve 120. And the outer surface of the lower half weight 127 is sealed by the cap 140. [

또한 락볼트 수직삽입부(122)에 몰탈(C)을 채울 경우 하부중공부(127)의 마개(140)는 채움 몰탈(C)을 지지하는 역할과 누수를 방지하는 역할을 한다. In addition, when the mortar C is filled in the vertical bolt insertion portion 122, the plug 140 of the lower heavy load 127 serves to support the fill mortar C and to prevent water leakage.

분리홈(121a) 상부가 락볼트 슬리브(120)로부터 분리되게 되면, 분리된 락볼트 슬리브(120)는 슬래브(F) 콘크리트 면이 되기 때문에 채움 몰탈(C)이 직접 콘크리트 면과 접촉되므로 몰탈(C)의 부착강도가 증진되게 된다.
When the upper part of the separation groove 121a is separated from the lock bolt sleeve 120, the separated rock bolt sleeve 120 becomes the slab F concrete surface, so that the filler mortar C directly contacts the concrete surface, C is increased.

락볼트 슬리브(120)에 몰탈(C)을 채우지 않더라도 마개(140)에 의하여 락볼트 슬리브(120) 하부중공부(127)의 외관이 미려하게 되는 이점을 지닌 유용한 발명이다.
It is a useful invention having an advantage that the outer surface of the lower half 127 of the lock bolt sleeve 120 becomes beautiful by the stopper 140 even if the mortar C is not filled in the lock bolt sleeve 120.

100; 락볼트,
120; 락볼트 슬리브, 121; 원통관, 121a; 분리홈, 122; 락볼트 수직삽입부, 123; 상부중공부, 124; 접면부, 125; 외부돌출부, 126; 내부돌출부, 127; 하부중공부,
140; 마개, 142; 지지부, 114; 밀폐부,
P; 거푸집틀(P)
F; 경화된 콘크리트 슬래브
C; 미경화 몰탈상태의 슬래브(C)
Q; 정착구
100; Rock bolts,
120; Rock bolt sleeves, 121; Circular tube, 121a; Separation groove, 122; A lock bolt vertical insertion portion, 123; Upper middle school, 124; A contact portion 125; An outer protrusion 126; Inner protrusion, 127; In addition,
140; Stopper, 142; Support, 114; Closure,
P; Formwork (P)
F; Cured concrete slab
C; The unhardened slab (C)
Q; Anchorage

Claims (3)

축조가 완료된 슬래브(F1)상에서 락볼트의 상단부가 정착구에 의하여 정착되고, 그 하단부가 슬래브(F1)의 슬리브(H)를 관통하면서 축조될 하층슬래브(F2)의 거푸집틀(10A)을 현수ㆍ지지하는 거푸집틀을 이용한 현수식 무지보 역타설 지하구축용 락볼트 슬리브에 있어서

락볼트 슬리브(120)는 원통관(121)이면서 락볼트 수직삽입부(122)와, 그리고 거푸집틀(P)과 접면되는 접면부(124)로 이루어지되 락볼트 수직삽입부(122)의 상부는 원통관(121)에 의해 개방된 상부중공부(123)가 형성되고, 락볼트 수직삽입부(122)의 하부 접면부(124)는 원통관(121)을 기준으로 내부돌출부(126)와 외부돌출부(125)로 이루어지며, 내부돌출부(126)와 외부돌출부(125)는 원통관(121)의 원주를 따라 원통관(121)에 직각되게 평면상으로 형성되고, 내부돌출부(126)에 의해 개방된 하부중공부(127)가 형성됨을 특징으로 하는 거푸집틀을 이용한 현수식 무지보 역타설 지하구축용 락볼트 슬리브
The upper end portion of the rock bolt is fixed by the fixing port on the slab F1 on which the construction is completed and the lower end portion of the rock bolt passes through the sleeve H of the slab F1 to suspend the formwork 10A of the lower slab F2, In a rock bolt sleeve for underground construction,

The lock bolt sleeve 120 includes a circular tube 121 and a lock bolt vertical insertion portion 122 and a contact portion 124 which is in contact with the formwork P, And the lower contact portion 124 of the lock bolt vertical insertion portion 122 is formed with an inner protrusion 126 and a lower protrusion 126 with respect to the circular tube 121, The inner protrusion 126 and the outer protrusion 125 are formed in a plane perpendicular to the circular tube 121 along the circumference of the circular tube 121, And a lower bolt hole (127) which is opened by a bolt is formed.
제1항에 있어서
원통관(121)의 하부에서 1/3~1/2위치에 원통관(121)의 외주면을 따라 분리홈(121a)을 형성함을 특징으로 하는 거푸집틀을 이용한 현수식 무지보 역타설 지하구축용 락볼트 슬리브
The method of claim 1, wherein
And a separation groove (121a) is formed along the outer circumferential surface of the circular tube (121) at a position of 1/3 to 1/2 from the bottom of the circular tube (121). Locking bolt sleeve
제1항 또는 제2항에 있어서
마개(140)의 지지부(142)가 내부돌출부(126)에 얹혀 지지되고, 이와 함께 마개의 밀폐부(144)가 내부돌출부(126)의 하부중공부(127)에 삽입되어 내부돌출부(126)의 하부중공부(127)를 밀폐시킴을 특징으로 하는 거푸집틀을 이용한 현수식 무지보 역타설 지하구축용 락볼트 슬리브
The method according to claim 1 or 2, wherein
The support portion 142 of the cap 140 is supported on the inner protrusion 126 and the cap portion 144 of the cap is inserted into the lower middle portion 127 of the inner protrusion 126 to form the inner protrusion 126, (127) of the rock bolt sleeve for underground construction using a formwork, characterized in that the rock bolt sleeve
KR1020140089038A 2014-07-15 2014-07-15 Rock bolt sleeve by top-down formula constructing basement Ceased KR20160009151A (en)

Priority Applications (1)

Application Number Priority Date Filing Date Title
KR1020140089038A KR20160009151A (en) 2014-07-15 2014-07-15 Rock bolt sleeve by top-down formula constructing basement

Applications Claiming Priority (1)

Application Number Priority Date Filing Date Title
KR1020140089038A KR20160009151A (en) 2014-07-15 2014-07-15 Rock bolt sleeve by top-down formula constructing basement

Publications (1)

Publication Number Publication Date
KR20160009151A true KR20160009151A (en) 2016-01-26

Family

ID=55307183

Family Applications (1)

Application Number Title Priority Date Filing Date
KR1020140089038A Ceased KR20160009151A (en) 2014-07-15 2014-07-15 Rock bolt sleeve by top-down formula constructing basement

Country Status (1)

Country Link
KR (1) KR20160009151A (en)

Cited By (2)

* Cited by examiner, † Cited by third party
Publication number Priority date Publication date Assignee Title
CN115094936A (en) * 2022-07-13 2022-09-23 中建一局集团第一建筑有限公司 Anti-floating reinforcing device for elevator shaft and water collecting shaft hoisting die and construction method
KR20250045426A (en) * 2023-09-25 2025-04-01 김지상 Form support structure for reverse drilling method equipped with multiple modules and construction method of underground structure using the same

Cited By (2)

* Cited by examiner, † Cited by third party
Publication number Priority date Publication date Assignee Title
CN115094936A (en) * 2022-07-13 2022-09-23 中建一局集团第一建筑有限公司 Anti-floating reinforcing device for elevator shaft and water collecting shaft hoisting die and construction method
KR20250045426A (en) * 2023-09-25 2025-04-01 김지상 Form support structure for reverse drilling method equipped with multiple modules and construction method of underground structure using the same

Similar Documents

Publication Publication Date Title
CN107023121B (en) A steel bar grout sleeve for assembled concrete structure ductility is connected
CN107165185A (en) A prefabricated concrete column foot node with outsourcing steel plate and its construction method
CN110042862A (en) The prefabricated rail in subway station against the wind road, with prefabricated middle plate connecting node and construction method
CN207176717U (en) A prefabricated concrete column foot node with steel plate
KR20080065571A (en) PSC pier assembled from precast concrete segment with steel duct and steel pipe and construction method thereof
CN108252431A (en) A kind of assembled wall and its construction method
CN105756191A (en) Beam-column joint connection structure of prefabricated concrete special-shaped column frame
KR101021110B1 (en) Unit panel assembly retaining wall structure and construction method
CN207582659U (en) A kind of assembled caisson of toilet, caisson soil stack pore structure and caisson placing structure
CN105863103A (en) Outer wallboard mounting node
KR101634561B1 (en) Precast concrete waterproof hummock, and construction method for the same
CN101356318A (en) Precast concrete block with connection structure using steel pipes and connection structure thereof
CN206873767U (en) A kind of reinforcing bar grout sleeve for the connection of prefabricated concrete structure ductility
KR102392167B1 (en) Precast concrete system with wall and rahmen type
KR20160103939A (en) Eco-friendly precast concrete box structure
CN113290673B (en) Structure and method for blocking grout by laterally extending reinforcing steel bars of wallboard mold
KR20140115150A (en) Waterproofing method for an undergroung parking lot
CN105888077B (en) Fabricated shear wall attachment device and its construction method
KR20190069910A (en) Installation structure and method of precast concrete culvert
CN108265888B (en) Connecting structure of assembled concrete vertical member and construction method
KR20160009151A (en) Rock bolt sleeve by top-down formula constructing basement
KR101022009B1 (en) Sloped Reinforced Earth Retaining Wall Construction Method and Pressurized Soil Retaining Wall Block
CN205530229U (en) Super hot -metal carburized steel muscle of drilling bored concrete pile, sounding pipe isolating device
CN109610875A (en) A kind of additional elevator assembled floor doorframe of existing building and construction method
CN108018967B (en) A new building partition wall assembly connection structure and its construction method

Legal Events

Date Code Title Description
A201 Request for examination
PA0109 Patent application

Patent event code: PA01091R01D

Comment text: Patent Application

Patent event date: 20140715

PA0201 Request for examination
PG1501 Laying open of application
E902 Notification of reason for refusal
PE0902 Notice of grounds for rejection

Comment text: Notification of reason for refusal

Patent event date: 20160304

Patent event code: PE09021S01D

E601 Decision to refuse application
PE0601 Decision on rejection of patent

Patent event date: 20160518

Comment text: Decision to Refuse Application

Patent event code: PE06012S01D

Patent event date: 20160304

Comment text: Notification of reason for refusal

Patent event code: PE06011S01I