KR20160001124A - 도어 잠금 해제장치 - Google Patents

도어 잠금 해제장치 Download PDF

Info

Publication number
KR20160001124A
KR20160001124A KR1020140078969A KR20140078969A KR20160001124A KR 20160001124 A KR20160001124 A KR 20160001124A KR 1020140078969 A KR1020140078969 A KR 1020140078969A KR 20140078969 A KR20140078969 A KR 20140078969A KR 20160001124 A KR20160001124 A KR 20160001124A
Authority
KR
South Korea
Prior art keywords
door
locking
wire
button
lever
Prior art date
Legal status (The legal status is an assumption and is not a legal conclusion. Google has not performed a legal analysis and makes no representation as to the accuracy of the status listed.)
Granted
Application number
KR1020140078969A
Other languages
English (en)
Other versions
KR101588125B1 (ko
Inventor
이종서
Original Assignee
(주)쓰리에스엔지니어링
Priority date (The priority date is an assumption and is not a legal conclusion. Google has not performed a legal analysis and makes no representation as to the accuracy of the date listed.)
Filing date
Publication date
Application filed by (주)쓰리에스엔지니어링 filed Critical (주)쓰리에스엔지니어링
Priority to KR1020140078969A priority Critical patent/KR101588125B1/ko
Publication of KR20160001124A publication Critical patent/KR20160001124A/ko
Application granted granted Critical
Publication of KR101588125B1 publication Critical patent/KR101588125B1/ko
Expired - Fee Related legal-status Critical Current
Anticipated expiration legal-status Critical

Links

Images

Classifications

    • EFIXED CONSTRUCTIONS
    • E05LOCKS; KEYS; WINDOW OR DOOR FITTINGS; SAFES
    • E05BLOCKS; ACCESSORIES THEREFOR; HANDCUFFS
    • E05B61/00Other locks with provision for latching
    • EFIXED CONSTRUCTIONS
    • E05LOCKS; KEYS; WINDOW OR DOOR FITTINGS; SAFES
    • E05BLOCKS; ACCESSORIES THEREFOR; HANDCUFFS
    • E05B63/00Locks or fastenings with special structural characteristics
    • EFIXED CONSTRUCTIONS
    • E05LOCKS; KEYS; WINDOW OR DOOR FITTINGS; SAFES
    • E05BLOCKS; ACCESSORIES THEREFOR; HANDCUFFS
    • E05B65/00Locks or fastenings for special use
    • EFIXED CONSTRUCTIONS
    • E05LOCKS; KEYS; WINDOW OR DOOR FITTINGS; SAFES
    • E05BLOCKS; ACCESSORIES THEREFOR; HANDCUFFS
    • E05B65/00Locks or fastenings for special use
    • E05B65/10Locks or fastenings for special use for panic or emergency doors

Landscapes

  • Engineering & Computer Science (AREA)
  • Structural Engineering (AREA)
  • Business, Economics & Management (AREA)
  • Emergency Management (AREA)
  • Special Wing (AREA)

Abstract

본 발명은 비상시 도어의 잠금을 해제하는 도어 잠금 해제장치에 관한 것으로서, 더욱 상세하게는 현관문, 방화문 또는 각종 도어의 기존 잠금장치에 설치하여 별도로 도어의 잠금을 용이하게 해제할 수 있는 해제기능을 통해 비상시 또는 어린이나 장애인과 같은 취약계층이 간편하게 도어의 잠금 상태를 해제할 수 있는 도어 잠금 해제장치에 관한 것이다.
본 발명에 따른 도어 잠금 해제장치는, 사용자가 출입하도록 개폐되는 도어와; 상기 도어의 외측에 위치한 레버홈에 삽입 및 이탈되어 기존의 잠금 및 해제 장치와는 별도로 상기 도어의 잠금을 해제할 수 있도록 상기 도어의 내부에 일부가 수납되는 레버부;상기 레버부에 고정되는 와이어; 상기 레버부를 당기거나 놓아주도록 상기 와어어와 연결되고 상기 도어의 내부에 위치하는 당김수단; 및 상기 당김수단을 구동하기 위해 상기 도어의 외부에 위치하는 버튼부;를 포함하는 것을 특징으로 한다.

Description

도어 잠금 해제장치{Unlocking Device}
본 발명은 비상시 도어의 잠금을 해제하는 도어 잠금 해제장치에 관한 것으로서, 더욱 상세하게는 현관문, 방화문 또는 각종 도어의 기존 잠금장치에 설치하여 별도로 도어의 잠금을 용이하게 해제할 수 있는 해제기능을 통해 비상시 또는 어린이나 장애인과 같은 취약계층이 간편하게 도어의 잠금 상태를 해제할 수 있는 도어 잠금 해제장치에 관한 것이다.
일반적으로 도어는 건축물 외벽에 출입을 목적으로 설치되며, 특히나 사용자가 생활을 이루는 실내와 외부를 차단하여 사용자의 사생활 보호 및 안전을 도모하기 위해 주로 사용된다.
또한, 아파트와 같은 경우 실내와 복도를 구별하는 현관문과 복도와 계단을 구분하는 도어 내지 방화문으로 구비되어 각각의 도어가 별도로 개폐되게 구비된다.
그리고, 상기와 같은 도어는 사용자가 수시로 사용할 수 있게 구비되며 실내의 내측에는 잠금장치가 구비되고, 외측에는 잠금장치를 해제할 수 있는 도어락 등이 구비되어 사용된다.
즉, 실내를 구분하는 도어의 경우 도어를 개폐하기 위해서는 내측에서 보편적으로 도어의 핸들을 구동하거나 별도의 잠금장치를 이용하여 도어의 잠금 및 해제를 이루고, 외부에서는 열쇠를 이용한 도어의 잠금 또는 해제를 이루거나, 비밀번호를 입력하는 도어락에 의해 도어의 잠금 및 해제를 이룬다.
그러나, 상기와 같은 종래의 도어는 화재와 같은 비상시 어린이나 장애인과 같은 취약계층이 간편하게 도어의 잠금을 해제할 수 없으므로 화재와 같은 비상시 취약계층의 피난이 용이하지 않은 문제점이 있다.
아울러, 도어락의 밧데리 방전 또는 고장과 같은 경우가 발생하면 더더욱 도어의 잠금 상태를 해제하기 용이하지 않으므로 취약계층의 피난이 더욱 용이하지 않은 문제점이 있다.
본 발명은 종래의 문제점을 해소하기 위한 것으로서, 그 목적은 현관문, 방화문 또는 각종 도어의 기존 잠금장치에 설치되어 별도로 도어의 잠금을 용이하게 해제할 수 있는 해제기능을 통해 비상시 또는 어린이나 장애인과 같은 취약계층이 간편하게 도어의 잠금 상태를 해제할 수 있는 도어 잠금 해제장치를 제공하는 데 있다.
본 발명의 다른 목적은, 사용자의 키 높이 및 취약 계층의 사항에 맞게 도어 잠금 해제장치의 버튼수단 위치를 자유로이 변경하여 설치할 수 있으며, 다수로 버튼수단을 구비할 수 있는 도어 잠금 해제장치를 제공하는 데 있다.
본 발명의 또 다른 목적은, 도어의 안쪽에서 도어 잠금 해제장치의 버튼수단을 누르면 자동으로 잠금이 해제되어 도어가 열리고, 버튼수단을 다시 한 번 누르면 자동으로 잠금되어 도어의 잠금 및 잠금해제가 용이한 도어 잠금 해제장치를 제공하는 데 있다.
그러나 본 발명의 목적은 상기에 언급된 목적으로 제한되지 않으며, 언급되지 않은 다른 목적들은 아래의 기재로부터 당업자에게 명확하게 이해될 수 있을 것이다.
본 발명에 따른 도어 잠금 해제장치는, 사용자가 출입하도록 개폐되는 도어와; 상기 도어의 외측에 위치한 레버홈에 삽입 및 이탈되어 기존의 잠금 및 해제 장치와는 별도로 상기 도어의 잠금을 해제할 수 있도록 상기 도어의 내부에 일부가 수납되는 레버부;상기 레버부에 고정되는 와이어; 상기 레버부를 당기거나 놓아주도록 상기 와어어와 연결되고 상기 도어의 내부에 위치하는 당김수단; 및 상기 당김수단을 구동하기 위해 상기 도어의 외부에 위치하는 버튼부;를 포함하는 것을 특징으로 한다.
본 발명에 있어서, 상기 레버부는, 상기 레버홈에 삽입되는 모서리가 라운드 되게 형성되는 레버; 및 상기 레버홈의 면과 접촉되어 생기는 마찰을 줄일 수 있도록 곡면의 레일돌기;를 포함하는 것을 특징으로 한다.
본 발명에 있어서, 상기 와이어는, 상기 레버부와 상기 레버부와 근접되는 상기 도어의 내부벽 사이에 당겨진 상기 레버부가 원상복귀되게 하는 스프링;을 포함하는 것을 특징으로 한다.
본 발명에 있어서, 상기 와이어는, 상기 버튼부의 위치를 전환하는 롤러;를 포함하는 것을 특징으로 한다.
본 발명에 있어서, 상기 와이어는, 상기 도어의 내부벽과 근접하는 위치에 상기 스프링에 의해 원상복귀되는 상기 레버부의 충격이 완화되도록 하는 실린더부재;를 포함하는 것을 특징으로 한다.
본 발명에 있어서, 상기 당김수단은, 이동방향의 양측으로 형성되는 걸림홈과, 이동에 따라 상기 와이어가 당겨지도록 형성되는 관통공을 포함하는 블럭; 및상기 블럭의 이동을 제한하는 수직벽과, 상기 수직벽의 일측에 상기 블럭의 걸림홈에 고정되도록 걸림돌기가 형성되는 평판을 포함하는 가이드;를 포함하는 것을 특징으로 한다.
본 발명에 있어서, 상기 당김수단은, 이동된 상기 블럭이 원상복귀되도록 상기 블럭과 상기 가이드의 수직벽 사이에 구비되는 스프링;을 포함하는 것을 특징으로 한다.
본 발명에 있어서, 상기 블럭은, 양측으로 상기 와이어의 일단이 고정되는 벽; 및 상기 와이어가 당기거나 놓아질 수 있도록 관통되는 벽;을 더 포함하는 것을 특징으로 한다.
본 발명에 있어서, 상기 버튼부는, 상기 당김수단을 구동하기 위해 상기 도어의 외측에 위치하며 가압되는 버튼수단; 및 상기 버튼수단과 상기 당김수단을 연결되는 버튼바;를 포함하는 것을 특징으로 한다.
본 발명에 있어서, 상기 버튼부는, 원상복되도록 상기 버튼수단과 상기 도어의 외벽 사이에 구비되는 스프링;을 더 포함하는 것을 특징으로 한다.
본 발명은 종래의 문제점을 해소하기 위한 것으로서, 현관문, 방화문 또는 각종 도어의 기존 잠금장치에 설치되어 별도로 도어의 잠금을 용이하게 해제할 수 있는 해제기능을 통해 비상시 또는 어린이나 장애인과 같은 취약계층이 간편하게 도어의 잠금 상태를 해제할 수 있는 효과가 있다.
또한 사용자의 키 높이 및 취약 계층의 사항에 맞게 도어 잠금 해제장치의 버튼수단 위치를 자유로이 변경하여 설치할 수 있으며, 다수의 버튼수단을 용이하게 구비할 수 있는 효과가 있다.
또한 도어의 안쪽에서 도어 잠금 해제장치의 버튼수단을 누르면 자동으로 잠금이 해제되어 도어가 열리고, 버튼수단을 다시 한 번 누르면 자동으로 잠금되어 도어의 잠금 및 해제가 용이한 효과가 있다.
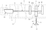
도 1은 본 발명에 따른 도어 잠금 해제장치의 사용상태도.
도 2는 본 발명에 따른 도어 잠금 해제장치의 사용상태 사시도.
도 3은 본 발명에 따른 도어 잠금 해제장치의 잠금상태 단면도.
도 4는 본 발명에 따른 도어 잠금 해제장치의 잠금해제 상태 단면도.
도 5는 본 발명에 따른 실린더부재가 구성된 도어 잠금 해제장치의 사용상태도.
도 6 및 도 7은 본 발명에 따른 롤러를 활용한 도어 잠금 해제장치의 사용상태도.
이하, 도면을 참조하여 본 발명에 따른 도어 잠금 해제장치를 상세히 설명하면 다음과 같다.
하기에서 본 발명을 설명함에 있어, 관련된 공지 기능 또는 구성에 대한 구체적인 설명이 본 발명의 요지를 불필요하게 흐릴 수 있다고 판단되는 경우에는 그 상세한 설명은 생략한다.
그리고 후술 되는 용어들은 본 발명에서의 기능을 고려하여 설정된 용어들로서 이는 제품을 생산하는 생산자의 의도 또는 관례에 따라 달라질 수 있으므로 그 정의는 본 명세서 전반에 걸친 내용을 토대로 내려져야 한다.
본 발명에 따른 도어 잠금 해제장치는 도 1 및 도 4에 도시된 바와 같이, 사용자의 출입을 위해 개폐되는 도어(D)와, 상기 도어(D)의 내부에 일부가 수납되는 레버부(10)와, 상기 레버부(10)에 고정되는 와이어(20)와, 상기 와이어(20)를 당기거나 놓아주는 당김수단(30)과, 상기 당김수단(30)을 구동하기 위한 버튼부(40)로 구성된다.
상기 레버부(10)는 상기 도어(D)의 외측에 위치한 레버홈(1)에 삽입 및 이탈되어 기존의 잠금 및 해제 장치와는 별도로 상기 도어(D)의 잠금이 해제되거나 잠금되게 한다.
또한 상기 레버부(10)는 기존의 도어락에 설치된 레버가 될 수도 있다.
상기 레버부(10)는 상기 레버홈(1)에 삽입되는 모서리가 라운드 되게 형성되는 레버(11)와 상기 레버홈(1)의 면과 접촉되어 생기는 마찰을 줄일 수 있도록 다수의 곡면으로 이루어진 길이방향의 레일돌기(13)로 구성된다.
상기 와이어(20)는 상기 레버부(10)와 상기 레버부(10)와 근접되는 상기 도어(D)의 내부벽(D1)사이에 당겨진 상기 레버부(10)가 원상복귀되게 하는 스프링(S)을 포함한다.
또한 상기 와이어(20)는 상기 버튼부(40)의 위치를 전환하는 롤러(21)를 포함한다.
상기 와이어(20)는 도 5에 도시된 바와 같이, 상기 도어(D)의 내부벽(D1)과 근접하는 위치에 상기 스프링(S)에 의해 원상복귀되는 상기 레버부(10)의 충격이 완화되도록 실린더부재(22)를 포함할 수 있다.
또한 상기 와이어(20)는 도 6 내지 도 7에 도시된 바와 같이 상기 버튼부(40)의 위치를 전환하는 롤러(21)를 포함한다.
상기 롤러(21)는 상기 버튼부(40)를 어린이 또는 취약계층의 신체적 조건에 맞게 다른 높이고 위치시킬 수 있다.
도 7에 도시된 바와 같이, 상기 롤러(21)는 한 쌍의 상기 레버부(10)에 연결된 상기 와이어(20)가 한곳에 위치한 상기 버튼부(40)로 방향을 전환할 수 있도록 한다.
상기 당김수단(30)은 상기 와이어(20)가 관통되는 블럭(33)과 상기 블럭(33)을 안내하는 가이드(35)로 구성된다.
상기 블럭(33)은 이동방향의 양측으로 형성되는 걸림홈(32)과, 이동에 따라 상기 와이어(20)가 당겨지도록 형성되는 관통공(31)을 포함한다.
상기 가이드(35)는 상기 블럭(33)의 이동을 제한하는 수직벽과, 상기 수직벽의 일측에 상기 블럭(33)의 걸림홈(32)에 고정되도록 걸림돌기(37)가 형성되는 평판을 포함한다.
상기 걸림홈(32)은 상기 걸림돌기(37)가 쉽게 고정되거나 이탈될 수 있도록 "V" 자형으로 경사지게 형성되는 것이 바람직하다.
상기 당김수단(30)은 이동된 상기 블럭(33)이 원상복귀되도록 상기 블럭(33)과 상기 가이드(35)의 수직벽 사이에 구비되는 스프링(S)을 포함한다.
상기 블럭(33)은 상기 스프링(S)이 삽입되어 고정되도록 하는 홈이 형성될 수 있다.
또한 상기 블럭(33)은 일직선상의 상기 와이어(20)가 상기 당김수단(30)에 의해 V자 형태로 꺾일 수 있도록 양측으로 상기 와이어(20)의 일단이 고정되는 벽(W)과 상기 와이어(20)가 당기거나 놓아질 수 있도록 관통되는 벽(W)을 포함한다.
상기 버튼부(40)는 상기 당김수단(30)을 구동하기 위해 상기 도어(D)의 외측에 위치하며 가압되는 버튼수단(41) 및 상기 버튼수단(41)과 상기 당김수단(30)을 연결하는 버튼바(42)를 포함한다.
또한 상기 버튼부(40)는 구동된 상기 당김수단(30)이 원상복되도록 상기 버튼수단(41)과 상기 도어(D)의 외벽 사이에 구비되는 스프링(S)이 상기 버튼바(42)에 끼워진다.
상기 버튼수단(41)은 손바닥으로 밀 수 있도록 원판형으로 이루어지는 것이 바람직하다.
이와 같이 결합된 도어 잠금 해제장치의 작동관계는 도 3 및 도 4에 도시된 바와 같다.
먼저 비상시 또는 화재시 내측에서 도어의 잠금을 해제할 경우, 기존의 도어락과 연결된 레버부(10)가 레버홈(1)에 삽입되어 도어가 잠긴 상태에서 가이드(35)의 걸림돌기(37)가 블럭(33)의 걸림홈(32)에 걸릴때까지 버튼부(40)의 버튼수단(41)을 가압한다.
그러면 와이어(22)가 당겨지면서 상기 레버부(10)의 레버(11)는 상기 레버홈(1)에서 이탈되어 도어(D)의 잠금이 해제된다.
한편, 상기 버튼부(40)의 버튼수단(41)을 다시 한번 가압하면 상기 가이드(35)의 걸림돌기(37)가 상기 블럭(33)의 걸림홈(32)에서 이탈되고 상기 도어(D)의 잠금되는 위치의 걸림홈(32)에 걸리도록 한다.
그러면 상기 블럭(33)은 스프링(S)에 의해 원상복귀 되면서 도어(D)의 잠금상태가 유지된다.
이와 같은 도어 잠금 해제장치는 기존의 도어락 장치와는 별도로 사용할 수 있도록 하여 기존의 잠금 및 해제 장치가 작동이 되지 않거나 파손되는 경우의 비상시에 간편하게 도어의 잠금 상태를 해제할 수 있다.
또한 상기 버튼수단은 어린이 또는 취약계층의 신체조건에 맞게 다수개가 자유로이 위치되어 편리하게 사용할 수 있다.
이상에서 설명한 것은 본 발명에 따른 도어 잠금 해제장치는를 실시하기 위한 하나의 실시 예에 불과한 것으로서, 본 발명은 상기한 실시 예에 한정되지 않고, 이하 특허청구범위에서 청구하는 본 발명의 요지를 벗어남이 없이 본 발명이 속하는 분야에서 통상의 지식을 가진 자라면 누구든지 다양한 변경 실시가 가능한 범위까지 본 발명의 기술적 정신이 있다고 할 것이다.
D : 도어 W : 격벽
10 : 레버부 20 : 와이어
21 : 롤러 22 : 실린더부재
30 : 당김수단 35 : 가이드
40 : 버튼부

Claims (10)

  1. 사용자가 출입하도록 개폐되는 도어(D)와;
    상기 도어(D)의 외측에 위치한 레버홈(1)에 삽입 및 이탈되어 기존의 잠금 및 해제 장치와는 별도로 상기 도어(D)의 잠금을 해제할 수 있도록 상기 도어(D)의 내부에 일부가 수납되는 레버부(10);
    상기 레버부(10)에 고정되는 와이어(20);
    상기 레버부(10)를 당기거나 놓아주도록 상기 와어어(20)와 연결되고 상기 도어(D)의 내부에 위치하는 당김수단(30); 및
    상기 당김수단(30)을 구동하기 위해 상기 도어(D)의 외부에 위치하는 버튼부(40);
    를 포함하는 것을 특징으로 하는 도어 잠금 해제장치.
  2. 제 1 항에 있어서, 상기 레버부(10)는,
    상기 레버홈(1)에 삽입되는 모서리가 라운드 되게 형성되는 레버(11); 및
    상기 레버홈(1)의 면과 접촉되어 생기는 마찰을 줄일 수 있도록 곡면의 레일돌기(13);
    를 포함하는 것을 특징으로 하는 도어 잠금 해제장치.
  3. 제 1 항에 있어서, 상기 와이어(20)는
    상기 레버부(10)와 상기 레버부(10)와 근접되는 상기 도어(D)의 내부벽(D1)사이에 당겨진 상기 레버부(10)가 원상복귀되게 하는 스프링(S);
    을 더 포함하는 특징으로 하는 도어 잠금 해제장치.
  4. 제 1 항에 있어서, 상기 와이어(20)는,
    상기 버튼부(40)의 위치를 전환하는 롤러(21);
    를 더 포함하는 것을 특징으로 하는 도어 잠금 해제장치.
  5. 제 1 항에 있어서, 상기 와이어(20)는,
    상기 도어(D)의 내부벽(D1)과 근접하는 위치에 상기 스프링(S)에 의해 원상복귀되는 상기 레버부(10)의 충격이 완화되도록 실린더부재(22);
    를 더 포함하는 것을 특징으로 하는 도어 잠금 해제장치.
  6. 제 1항에 있어서, 상기 당김수단(30)은,
    이동방향의 양측으로 형성되는 걸림홈(32)과, 이동에 따라 상기 와이어(20)가 당겨지도록 형성되는 관통공(31)을 포함하는 블럭(33); 및
    상기 블럭(33)의 일측에 위치되어 이동을 제한하는 수직벽과, 상기 수직벽의 일측에 상기 블럭(33)의 걸림홈(32)에 고정되도록 걸림돌기(37)가 형성되는 평판을 포함하는 가이드(35);
    를 더 포함하는 것을 특징으로 하는 도어 잠금 해제장치.

  7. 제 6 항에 있어서, 상기 당김수단(30)은,
    이동된 상기 블럭(33)이 원상복귀되도록 상기 블럭(33)과 상기 가이드(35)의 수직벽 사이에 구비되는 스프링(S);
    을 더 포함하는 것을 특징으로 하는 도어 잠금 해제장치.
  8. 제 6 항 또는 7항에 있어서, 상기 블럭(33)은,
    양측으로 상기 와이어(20)의 일단이 고정되는 벽(W); 및
    상기 와이어(20)가 당기거나 놓아질 수 있도록 관통되는 벽(W);
    을 더 포함하는 것을 특징으로 하는 도어 잠금 해제장치.
  9. 제 1 항에 있어서, 상기 버튼부(40)는,
    상기 당김수단(30)을 구동하기 위해 상기 도어(D)의 외측에 위치하며 가압되는 버튼수단(41); 및
    상기 버튼수단(41)과 상기 당김수단(30)을 연결하는 버튼바(42);
    를 더 포함하는 것을 특징으로 하는 도어 잠금 해제장치.
  10. 제 9 항에 있어서, 상기 버튼부(40)는,
    구동된 상기 당김수단(30)이 원상복되도록 상기 버튼수단(41)과 상기 도어(D)의 외벽 사이에 구비되는 스프링(S);
    을 더 포함하는 것을 특징으로 하는 도어 잠금 해제장치.








KR1020140078969A 2014-06-26 2014-06-26 도어 잠금 해제장치 Expired - Fee Related KR101588125B1 (ko)

Priority Applications (1)

Application Number Priority Date Filing Date Title
KR1020140078969A KR101588125B1 (ko) 2014-06-26 2014-06-26 도어 잠금 해제장치

Applications Claiming Priority (1)

Application Number Priority Date Filing Date Title
KR1020140078969A KR101588125B1 (ko) 2014-06-26 2014-06-26 도어 잠금 해제장치

Publications (2)

Publication Number Publication Date
KR20160001124A true KR20160001124A (ko) 2016-01-06
KR101588125B1 KR101588125B1 (ko) 2016-02-02

Family

ID=55165053

Family Applications (1)

Application Number Title Priority Date Filing Date
KR1020140078969A Expired - Fee Related KR101588125B1 (ko) 2014-06-26 2014-06-26 도어 잠금 해제장치

Country Status (1)

Country Link
KR (1) KR101588125B1 (ko)

Cited By (1)

* Cited by examiner, † Cited by third party
Publication number Priority date Publication date Assignee Title
WO2024204930A1 (ko) * 2023-03-27 2024-10-03 최중열 도어 잠금 해제 장치

Families Citing this family (1)

* Cited by examiner, † Cited by third party
Publication number Priority date Publication date Assignee Title
KR102661398B1 (ko) 2023-01-13 2024-04-29 동의과학대학교 산학협력단 갇힘 방지용 도어록

Family Cites Families (3)

* Cited by examiner, † Cited by third party
Publication number Priority date Publication date Assignee Title
KR100865185B1 (ko) * 2007-03-23 2008-10-23 이상용 도어록장치
IT1394322B1 (it) * 2009-05-25 2012-06-06 Rigo Dispositivo di bloccaggio in assetto di chiusura per seconde ante
KR101224925B1 (ko) * 2011-06-14 2013-01-22 삼성중공업 주식회사 선박용 도어 잠금 장치

Cited By (1)

* Cited by examiner, † Cited by third party
Publication number Priority date Publication date Assignee Title
WO2024204930A1 (ko) * 2023-03-27 2024-10-03 최중열 도어 잠금 해제 장치

Also Published As

Publication number Publication date
KR101588125B1 (ko) 2016-02-02

Similar Documents

Publication Publication Date Title
US10415301B2 (en) Automatic released foldable door having two-way door structure
KR101292418B1 (ko) 수평밀착형 창호의 오동작 방지 핸들
KR101024520B1 (ko) 건축물의 방범용 창문 위치 고정 구조
KR101588125B1 (ko) 도어 잠금 해제장치
KR100759713B1 (ko) 방화문 자동폐쇄장치와 그 시스템.
JP5351822B2 (ja) 電気錠付き引戸装置
US9091103B2 (en) Sliding glass door safety latch
KR101245186B1 (ko) 미닫이창문의 자동잠금장치
KR101146493B1 (ko) 안전 도어록
KR20160146416A (ko) 창문의 잠금장치
KR20130130903A (ko) 도난방지 및 외풍 유입방지 기능을 갖는 실버 안전 도어
KR20150112458A (ko) 도어 안전장치
JP4022171B2 (ja) 車両用シャッター装置
KR101172417B1 (ko) 창문용 록킹장치
KR101035949B1 (ko) 미닫이창문의 개폐제어용 고정장치
KR102267619B1 (ko) 미닫이창호용 개폐표시 및 자동열림잠금장치
KR102669388B1 (ko) 미닫이식 창호의 잠금장치
KR101312234B1 (ko) 현관용 출입구 개폐장치
KR102286550B1 (ko) 안전용 출입문장치
IT201900015524A1 (it) Serratura
KR101024221B1 (ko) 해정수단을 갖는 비상문
JP6265728B2 (ja) 錠装置および建具
KR20150118685A (ko) 도어 개폐 핸들 잠금 장치
KR101237777B1 (ko) 비상문의 잠금장치
IT202000021712A1 (it) Serratura

Legal Events

Date Code Title Description
PA0109 Patent application

St.27 status event code: A-0-1-A10-A12-nap-PA0109

PA0201 Request for examination

St.27 status event code: A-1-2-D10-D11-exm-PA0201

D13-X000 Search requested

St.27 status event code: A-1-2-D10-D13-srh-X000

D14-X000 Search report completed

St.27 status event code: A-1-2-D10-D14-srh-X000

PE0902 Notice of grounds for rejection

St.27 status event code: A-1-2-D10-D21-exm-PE0902

E13-X000 Pre-grant limitation requested

St.27 status event code: A-2-3-E10-E13-lim-X000

P11-X000 Amendment of application requested

St.27 status event code: A-2-2-P10-P11-nap-X000

P13-X000 Application amended

St.27 status event code: A-2-2-P10-P13-nap-X000

PG1501 Laying open of application

St.27 status event code: A-1-1-Q10-Q12-nap-PG1501

E701 Decision to grant or registration of patent right
PE0701 Decision of registration

St.27 status event code: A-1-2-D10-D22-exm-PE0701

GRNT Written decision to grant
PR0701 Registration of establishment

St.27 status event code: A-2-4-F10-F11-exm-PR0701

PR1002 Payment of registration fee

St.27 status event code: A-2-2-U10-U11-oth-PR1002

Fee payment year number: 1

PG1601 Publication of registration

St.27 status event code: A-4-4-Q10-Q13-nap-PG1601

LAPS Lapse due to unpaid annual fee
PC1903 Unpaid annual fee

St.27 status event code: A-4-4-U10-U13-oth-PC1903

Not in force date: 20190119

Payment event data comment text: Termination Category : DEFAULT_OF_REGISTRATION_FEE

PC1903 Unpaid annual fee

St.27 status event code: N-4-6-H10-H13-oth-PC1903

Ip right cessation event data comment text: Termination Category : DEFAULT_OF_REGISTRATION_FEE

Not in force date: 20190119