KR20150139712A - 음식물쓰레기 분쇄기 - Google Patents

음식물쓰레기 분쇄기 Download PDF

Info

Publication number
KR20150139712A
KR20150139712A KR1020140067809A KR20140067809A KR20150139712A KR 20150139712 A KR20150139712 A KR 20150139712A KR 1020140067809 A KR1020140067809 A KR 1020140067809A KR 20140067809 A KR20140067809 A KR 20140067809A KR 20150139712 A KR20150139712 A KR 20150139712A
Authority
KR
South Korea
Prior art keywords
rotary plate
guide ring
crushing
edge
food
Prior art date
Legal status (The legal status is an assumption and is not a legal conclusion. Google has not performed a legal analysis and makes no representation as to the accuracy of the status listed.)
Granted
Application number
KR1020140067809A
Other languages
English (en)
Other versions
KR101674175B1 (ko
Inventor
신홍섭
김민삼
Original Assignee
주식회사 허머
Priority date (The priority date is an assumption and is not a legal conclusion. Google has not performed a legal analysis and makes no representation as to the accuracy of the date listed.)
Filing date
Publication date
Application filed by 주식회사 허머 filed Critical 주식회사 허머
Priority to KR1020140067809A priority Critical patent/KR101674175B1/ko
Publication of KR20150139712A publication Critical patent/KR20150139712A/ko
Application granted granted Critical
Publication of KR101674175B1 publication Critical patent/KR101674175B1/ko
Active legal-status Critical Current
Anticipated expiration legal-status Critical

Links

Images

Classifications

    • BPERFORMING OPERATIONS; TRANSPORTING
    • B02CRUSHING, PULVERISING, OR DISINTEGRATING; PREPARATORY TREATMENT OF GRAIN FOR MILLING
    • B02CCRUSHING, PULVERISING, OR DISINTEGRATING IN GENERAL; MILLING GRAIN
    • B02C18/00Disintegrating by knives or other cutting or tearing members which chop material into fragments
    • B02C18/06Disintegrating by knives or other cutting or tearing members which chop material into fragments with rotating knives
    • B02C18/062Disintegrating by knives or other cutting or tearing members which chop material into fragments with rotating knives with rotor elements extending axially in close radial proximity of a concentrically arranged slotted or perforated ring
    • BPERFORMING OPERATIONS; TRANSPORTING
    • B09DISPOSAL OF SOLID WASTE; RECLAMATION OF CONTAMINATED SOIL
    • B09BDISPOSAL OF SOLID WASTE NOT OTHERWISE PROVIDED FOR
    • B09B3/00Destroying solid waste or transforming solid waste into something useful or harmless

Landscapes

  • Engineering & Computer Science (AREA)
  • Food Science & Technology (AREA)
  • Environmental & Geological Engineering (AREA)
  • Crushing And Pulverization Processes (AREA)

Abstract

본 발명은 음식물 분쇄기용 회전판에 관한 것으로, 더욱 상세하게는 세절칼날에 의해 음식물쓰레기가 효과적으로 세절된 후 배출되도록 한 음식물 분쇄기용 회전판에 관한 것이다
본 발명의 구성은, 싱크대의 배수구에 연결되고 일측에 배출관(12)이 설치된 분쇄기 몸체(10)와, 그 분쇄기 몸체(10)의 내부에 설치되고 상면에 음식물쓰레기의 분쇄를 위해 회전식 해머(21)와 고정식 절단날(23)이 각각 형성되며 표면에는 다수의 배출공(24)이 형성된 회전판(20)과, 상기 분쇄기 몸체(10)의 내주면에 상기 회전판(20)의 가장자리에 구비되도록 설치되는 분쇄안내링(30)을 포함하여 이루어진 음식물쓰레기 분쇄기에 있어서, 상기 회전판(20)의 상면 가장자리 부위에는 상기 해머(21) 및 절단날(23)에 의해 1차 분쇄되어 이동된 음식물을 세절하도록 하나 이상의 세절칼날(40)이 더 형성된 것을 특징으로 한다.

Description

음식물쓰레기 분쇄기{Food Waste Disposal equipment}
본 발명은 음식물 분쇄기에 관한 것으로, 더욱 상세하게는 세절칼날에 의해 1차 분쇄된 음식물쓰레기가 효과적으로 세절된 후 배출되도록 한 음식물쓰레기 분쇄기에 관한 것이다
일반적으로 가정이나 음식점에서 주방의 싱크대 하부에 설치되는 음식물 쓰레기 처리장치 또는 음식물 분쇄기는 필요한 경우 작동시켜 음식물 쓰레기를 미세하게 분쇄한 다음 배출관을 통해 외부로 배출되도록 구성되어 있다.
이와 같은 음식물 쓰레기 처리장치 또는 음식물 분쇄기는 싱크대의 배수구 하부에 설치되고, 전동모터에 의해 회전되는 회전판을 이용하여 음식물 쓰레기를 분쇄한 후 배출관을 통해 외부로 배출되도록 하는 구성으로, 음식물쓰레기를 편리하게 처리하도록 하고 있다.
또한, 음식물 분쇄시 미생물을 투입하여 음식물쓰레기의 처리효과를 높이고자 하는 기술이 제안되어 음식물쓰레기의 분해도를 높이고 냄새와 하수도의 막힘 현상을 완화시키도록 한 음식물 처리장치가 제조되고 있는 실정이다.
본 출원인은 특허등록 제1005190호와 같이, 회전판의 주연부에 분쇄홈을 형성하고, 그 분쇄홈의 일측은 분쇄턱으로 형성하고, 타측은 굴곡면으로 형성하여 음식물쓰레기가 효과적으로 분쇄되어 지도록 한 기술을 출원하여 등록받은 바 있다.
상기 기술은 회전판 상부로 인입된 음식물쓰레기가 분쇄칼날(해머)에 일정 크기로 분쇄되고, 서로 다른 회전반경을 갖도록 형성된 제1고정칼날 및 제2고정칼날(회전판의 일부분을 절개하여 그 절개부분을 상방으로 세워 날을 형성한 것)에 의해 1차적으로 분쇄된 후 회전판의 가장자리로 이동되며, 회전판과 분쇄기몸체 사이의 공간을 통해 빠져나가는 음식물쓰레기가 분쇄턱에 의해 2차 분쇄되어 더욱 작은 크기로 세절되어 배출되도록 이루어져 있다.
그러나 많은 량의 음식물이 인입된 경우에는 회전판의 가장자리로 이동된 1차 분쇄된 음식물이 쌓이게 됨으로써 2차 분쇄되어 배출되는데 까지 걸리는 전체 분쇄시간이 길어지게 되고, 분쇄턱에 의해 2차 분쇄가 제대로 이루어지지 않은 채 배출되는 경우가 발생하여 하수구가 막히는 등의 문제점이 발생하였다.
또한, 공개특허공보 제2010-0070454호에는 분쇄판의 원주부근에 제1분쇄날을 설치하고, 분쇄판의 중심에서 제1분쇄날보다 가까운 지점에 제2분쇄날을 설치하며, 제1분쇄날이 형성되지 않은 부분의 원주 부근에 진정구(해머)를 설치한 음식물 쓰레기 분쇄기가 게시되어 있다.
그러나 상기 기술도 위 특허등록 제1005190호와 같이, 서로 다른 회전반경을 갖도록 형성되어 있는 제1분쇄날과 제2분쇄날이 진정구와 함께 인입된 음식물을 1차적으로 분쇄한 후 분쇄판의 가장자리로 이동되게 하고 있으나, 가장자리로 이동된 음식물이 분쇄턱에 의해 2차로 분쇄되어 더욱 작게 세절되는데 걸리는 시간은 여전히 길어 많은 량의 음식물이 인입된 경우에는 전제적인 분쇄시간이 길어짐은 물론, 효과적으로 분쇄하지 못한 채 배출되어 하수구가 막히는 문제를 여전히 안고 있다.
등록특허공보 제1005190호(2010.12.23, 음식물쓰레기 처리장치) 공개특허공보 제2010-0070454호(2010.6.28, 음식물쓰레기 분쇄기)
본 발명은 상기한 문제점을 해결하기 위하여 창안된 것으로, 본 발명의 목적은 1차 분쇄되어 회전판의 가장자리로 이동된 음식물이 분쇄턱에 의해 2차 분쇄되는 과정에서 회전판의 가장자리 부위에 형성된 세절칼날에 의한 세절작업과 분쇄턱에 의한 분쇄작업이 함께 이루어짐으로써 회전판의 가장자리로 이동된 1차 분쇄된 음식물을 단시간내에 세절하여 배출시킬 수 있는 음식물쓰레기 분쇄기를 제공하는 데 있다.
상기의 목적을 달성하기 위한 본 발명의 구성은, 싱크대의 배수구에 연결되고 일측에 배출관이 설치된 분쇄기 몸체와, 그 분쇄기 몸체의 내부에 설치되고 상면에 음식물쓰레기의 분쇄를 위해 회전식 해머와 고정식 절단날이 각각 형성되며 표면에는 다수의 배출공이 형성된 회전판과, 상기 분쇄기 몸체의 내주면에 상기 회전판의 가장자리에 구비되도록 설치되는 분쇄안내링을 포함하여 이루어진 음식물쓰레기 분쇄기에 있어서, 상기 회전판의 상면 가장자리 부위에는 상기 해머 및 절단날에 의해 1차 분쇄되어 이동된 음식물을 세절하도록 하나 이상의 세절칼날이 더 형성된 것을 특징으로 한다.
상기 회전판의 상면에는 상기 세절칼날의 안쪽 전방에 위치되게 보호편이 형성된 것을 특징으로 한다.
상기 회전판의 하면 가장자리 부위에는 회전판의 회전 시 바람을 발생시키도록 형성되어 상기 분쇄기 몸체와 회전판의 사이 공간 및 상기 배출공을 통해 회전판의 하방으로 이동된 음식물의 배출을 유도하는 송풍편이 구비된 것을 특징으로 한다.
상기 회전판의 외경은 상기 분쇄안내링의 내경보다 작게 형성되어 상기 분쇄안내링이 상기 회전판의 가장자리를 둘러싸도록 설치되고, 상기 회전판이 회전동작하는 경우에 상기 세절칼날이 분쇄안내링의 내측에서 회전되면서 분쇄안내링과의 상호작용으로 음식물쓰레기를 분쇄하며, 상기 회전판의 가장자리에는 한 군데 이상 함몰되어 분쇄홈이 형성되고, 그 분쇄홈의 형성으로 인해 일측에 분쇄턱이 형성된 것을 특징으로 한다.
상기 회전판의 외경은 상기 분쇄안내링의 외경보다 크게 형성되어 상기 분쇄안내링이 상기 회전판의 가장자리 상측에 위치되도록 설치되고, 상기 회전판이 회전동작하는 경우에 상기 세절칼날이 상기 분쇄안내링의 외측에서 회전되면서 상기 분쇄안내링과의 상호작용으로 음식물쓰레기를 분쇄하며, 상기 회전판의 가장자리에는 한 군데 이상 돌출되어 분쇄돌기가 형성된 것을 특징으로 한다.
상기 회전판의 상면 가장자리 부위에는 상기 분쇄안내링의 내측에 위치되게 제2세절칼날이 형성된 것을 특징으로 한다.
상기 분쇄기 몸체의 바닥면은 상기 배출관이 연결된 배출구멍으로 갈수록 경사지게 형성된 것을 특징으로 한다.
상기 분쇄기 몸체의 바닥면 가장자리 부위에는 상기 회전판을 통과한 음식물쓰레기가 일정량 걸리도록 걸림돌기가 하나 이상 형성된 것을 특징으로 한다.
상기 회전판의 하면에는 상기 걸림돌기의 안쪽에 위치하도록 보조분쇄칼날이 형성된 것을 특징으로 한다.
상기 회전판의 하면 가장자리 부근에는 상기 걸림돌기의 상측에 이격되게 위치하도록 수평절단날이 형성된 것을 특징으로 한다.
상기의 구성으로 이루어진 음식물쓰레기 분쇄기에 따르면, 1차 분쇄되어 회전판의 가장자리로 이동된 음식물이 세절칼날에 의해 미세하게 세절되어 지도록 함으로써 단시간내에 음식물이 분쇄되어 배출되는 효과가 있다.
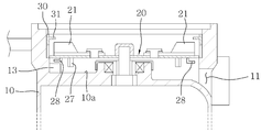
도 1은 본 발명에 따른 음식물쓰레기 분쇄기의 단면상태도,
도 2는 본 발명에 따른 음식물쓰레기 분쇄기에서 회전판을 보인 사시도,
도 3은 도 2의 회전판에 보호편이 형성된 상태도,
도 4는 본 발명에 따른 음식물쓰레기 분쇄기에서 회전판의 저면사시도,
도 5는 본 발명에 따른 회전판에 형성된 세절칼날이 분쇄안내링의 내측에 위치한 상태도,
도 6은 본 발명에 따른 회전판에 형성된 세절칼날이 분쇄안내링의 외측에 위치한 상태도,
도 7은 도 6의 회전판에 제2세절칼날에 형성된 상태도,
도 8은 본 발명에 따른 음식물쓰레기 분쇄기에서 분쇄기 몸체의 바닥면을 보인 상태도,
도 9는 도 8의 분쇄기 몸체의 바닥면에 걸림돌기가 형성된 상태도,
도 10은 본 발명에 따른 보조분쇄칼날 및 수평절단날이 형성된 회전판의 저면사시도,
도 11는 도 10의 회전판을 분쇄기 몸체에 설치한 상태의 단면도.
이하, 첨부된 도면을 참조하여 본 발명의 바람직한 실시예에 따른 음식물쓰레기 분쇄기를 상세히 설명하기로 한다.
도 1 및 도 2에 도시된 바와 같이, 본 발명에 따른 음식물쓰레기 분쇄기는 싱크대의 배수구에 연결되고 일측에 배출관(12)이 설치된 분쇄기 몸체(10)와, 그 분쇄기 몸체(10)의 내부에 설치되어 모터에 의해 회전되는 회전판(20)과, 상기 분쇄기 몸체(10)의 내주면에 상기 회전판(20)의 가장자리에 구비되도록 설치되는 분쇄안내링(30)을 포함하여 이루어진다.
상기 분쇄기 몸체(10)의 상부는 음식물쓰레기를 내부로 인입시키기 위해 개구되어 있고, 그 개구된 부위에는 분쇄기 몸체(10)의 개구된 상부를 개폐함과 아울러 싱크대의 배수구를 개폐하도록 뚜껑(15)이 구비되며, 내부 하측에는 상기 회전판(20)의 회전을 위해 구동력을 발생시키는 모터(16)가 설치된다.
그리고, 상기 분쇄기 몸체(10)의 일측에는 분쇄기 몸체(10)의 내부로 연결되어 음식물쓰레기의 분쇄시 미생물을 분사하도록 미생물통(17)이 연결되어 있다.
상기 회전판(20)은 원판형으로 형성되고, 상면에는 음식물쓰레기의 분쇄를 위해 한 쌍의 회전식 해머(21)가 서로 180°간격으로 마주보게 형성되어 회전되게 설치되어 있고, 상기 해머(21)가 형성되지 않은 부위 즉, 해머(21)의 사이에는 고정식 절단날(23)이 형성되어 있다.
상기 해머(21)는 회전판(20)의 회전에 의해 자유롭게 회전되면서 음식물쓰레기를 타격하여 일정 크기로 분쇄하는 역할을 하는 것이고, 상기 고정식 절단날(23)은 해머(21)와 함께 분쇄기 몸체(10) 내부로 인입된 음식물쓰레기를 1차적으로 분쇄하는 역할을 하게 된다.
상기 해머(21)는 회전판(20)에 일측이 리벳팅되어 회전되게 설치되는 것이고, 회전판(20)의 상면에는 멈춤돌기부(22)가 형성되어 있어 그 멈춤돌기부(22) 내에서 해머(21)의 회전이 이루어지게 된다.
상기 고정식 절단날(23)은 회전판(20)의 일부분을 절개한 후 상측방향으로 절곡하여 세워서 형성한 것으로 단부가 뭉뚝하게 형성되어 지나 회전판(20)의 회전력으로 음식물쓰레기를 절단시키게 되는 것이다. 이러한 절단날(23)은 하나 이상 형성할 수 있으며, 분쇄효율을 높이기 위해 서로 다른 회전반경을 가지도록 형성할 수도 있다.
그리고 상기 회전판(20)의 표면에는 분쇄된 음식물쓰레기가 회전판(20)을 통과하여 배출관(12)으로 배출되도록 다수의 배출공(24)이 형성되어 있다.
한편, 상기 해머(21)와 절단날(23)에 의해 분쇄된 음식물쓰레기는 회전판(20)의 회전에 의해 가장자리로 이동하게 되는데, 이렇게 가장자리로 이동된 1차 분쇄된 음식물쓰레기가 더 작은 크기로 세절되어 회전판(20)과 분쇄기 몸체(10)의 사이 공간을 통해 빠져나가도록 세절칼날(40)이 형성된다.
상기 세절칼날(40)은 상기 회전판(20)의 상면 가장자리 부위에 하나 이상 형성되는 것으로, 단부가 날카롭게 칼날로 형성되어 있으며, 1차 분쇄되어 회전판(20)의 가장자리로 이동된 음식물을 미세하게 세절하게 되는 구성이다. 세절을 위해 구비됨에 따라 단부가 필수적으로 칼날로 형성되어 하는 것이며, 절단날(23)과 같이 뭉뚝하게 형성되어서는 세절할 수가 없다.
상기 세절칼날(40)은 상기 분쇄안내링(30)과 상호 협력작용에 의해 음식물쓰레기를 잘게 세절할 수 있는 것이다. 따라서 많은 량의 음식물이 유입되더라도 단 시간내에 분쇄하여 배출시킬 수 있는 것이다.
상기 세절칼날(40)은 회전판(20)에 수직으로 형성되는 것이고, 회전판(20)의 가장자리나 가장자리에서 10㎜ 이내의 거리에 형성될 수 있다.
이때, 상기 회전판(20)의 외경은 상기 분쇄안내링(30)의 내경보다 작게 형성되어 그 내측에 구비되도록 이루어지거나 상기 분쇄안내링(30)의 외경보다 크게 형성될 수 있다.
먼저, 도 5에 도시된 바와 같이, 상기 회전판(20)의 외경이 상기 분쇄안내링(30)의 내경보다 작게 형성되는 경우에는 상기 분쇄안내링(30)이 회전판(20)의 가장자리를 둘러싸도록 설치되어 상기 회전판(20)이 회전동작하는 경우에 상기 세절칼날(40)이 분쇄안내링(30)의 내측에서 회전되면서 상기 분쇄안내링(30)과의 상호작용으로 음식물을 잘게 세절시키게 된다.
여기서, 상기 회전판(20)의 외경이 상기 분쇄안내링(30)의 내경보다 작게 형성되는 경우, 상기 회전판(20)의 가장자리에는 한 군데 이상 함몰되어 분쇄홈(25)이 형성되고, 그 분쇄홈(25)의 형성으로 인해 일측에 분쇄턱(25a)이 형성된다.
상기 분쇄홈(25)과 분쇄턱(25a)은 세절칼날(40)에 의해 세절된 음식물쓰레기 및 회전판(20)의 가장자리로 이동된 1차 분쇄된 음식물쓰레기의 일부가 인입되면서 한번 더 분쇄된 후 배출되도록 하기 위해 형성된 것이다.
다음으로, 도 6에 도시된 바와 같이, 상기 회전판(20)의 외경이 상기 분쇄안내링(30)의 외경보다 크게 형성되는 경우에는 상기 분쇄안내링(30)이 상기 회전판(20)의 가장자리 상측에 위치되도록 설치되어 상기 회전판(20)이 회전동작하는 경우에 상기 세절칼날(40)이 상기 분쇄안내링(30)의 외측에서 회전되면서 분쇄안내링(30)을 통과하여 외측으로 이동되는 음식물쓰레기를 상기 분쇄안내링(30)과의 상호작용으로 잘게 세절시키게 된다.
여기서, 상기 회전판(20)의 외경이 상기 분쇄안내링(30)의 외경보다 크게 형성되는 경우, 상기 회전판(20)의 가장자리에는 상기 회전판(20)의 가장자리에는 한 군데 이상 돌출되어 분쇄돌기(26)가 형성된다.
상기 분쇄돌기(26)는 세절칼날(40)에 의해 세절된 음식물쓰레기가 인입되면서 한번 더 분쇄된 후 회전판(20)의 하방으로 배출되도록 하기 위해 형성된 것이다.
이때, 도 7에 도시된 바와 같이 상기 회전판(20)의 상면 가장자리 부위에는 상기 분쇄안내링(30)의 내측에 위치되게 제2세절칼날(41)이 형성될 수 있다.
상기 제2세절칼날(41)이 형성된 경우에는 세절칼날(40)과 함께 분쇄안내링(30)의 내측과 외측에서 각각 음식물쓰레기의 세절작업이 이루어지게 됨으로써 더욱 작은 크기로 음식물쓰레기를 세절하여 배출시킬 수 있게 되고, 세절시간도 더 줄일 수 있는 장점이 있다.
여기서, 도 3에 도시된 바와 같이 본 발명의 상기 회전판(20)의 상면에는 상기 세절칼날(40)의 안쪽에 위치됨은 물론, 그 세절칼날(40)보다 회전방향의 전방에 위치되게 보호편(45)이 형성된다.
상기 보호편(45)을 형성한 이유는, 첫째 음식물쓰레기 내에 조개껍질이나 과일씨, 뼈 등의 단단한 물질이 포함하되어 있는 경우 세절칼날(40)에 앞서 보호편(45)에 의해 1차적으로 절단되거나 상방으로 튕겨지게 하여 세절칼날(40)의 칼날파손을 방지하기 위함이고, 둘째 사용자가 손을 분쇄기 내부로 인입시키는 경우 상기 세절칼날(40)에 손가락이 베이는 등 안전사고의 발생을 방지하기 위함이며, 셋째 세절칼날(40)에 의한 음식물쓰레기의 세절작업 과정에서 상기 보호편(45)에 의해서도 음식물쓰레기의 절단이 이루어지도록 하여 세절시간을 더욱 단축시키기 위함이다.
이때, 상기 보호편(45)의 회전반경은 상기 절단날(23)의 회전반경과 다르게 형성되어야 할 것이다.
상기 세절칼날(40)에 의해 세절되어 회전판(20) 하방으로 이동된 음식물쓰레기는 물에 의해 배출구멍(11)으로 이동되어 지나, 배출구멍(11)으로의 이동이 원활히 이루어지지는 않는다.
이를 위해, 도 4에 도시된 바와 같이, 상기 회전판(20)의 하면 가장자리 부위에는 회전판의 회전 시 바람을 발생시켜 음식물의 배출을 유도하도록 송풍편(50)이 형성된다. 상기 송풍편(50)의 형성으로 인해, 상기 분쇄기 몸체(10)와 회전판(20)의 사이 공간 및 상기 배출공(24)을 통해 회전판(20)의 하방으로 이동된 음식물은 송풍되는 바람으로 배출구멍(11)으로 원활히 이동될 수 있는 것이다.
또한, 도 8에 도시된 바와 같이 상기 회전판(20)을 통과한 음식물이 원활히 배출구멍(11)으로 배출될 수 있도록 상기 분쇄기 몸체(10)의 바닥면(10a)은 상기 배출구멍(11)으로 갈수록 경사지게 형성된 것이 바람직하다.
상기 분쇄기 몸체(10)의 바닥면(10a)은 배출구멍(11)이 형성된 일측과 반대방향인 타측에서 경사지게 하여 형성할 수도 있으나, 중앙부에 상기 회전판(20)과 결합되는 회전축이 형성됨은 물론 음식물이 원심력에 의해 가장자리로 밀려 배출됨에 따라 중앙부를 중심으로 회오리형태로 경사지게 형성하도록 한다.
이때, 도 9에 도시된 바와 같이, 상기 분쇄기 몸체(10)의 바닥면(10a) 가장자리 부위에는 걸림돌기(13)가 하나 이상 형성될 수 있다.
상기 걸림돌기(13)는 상기 회전판(20)을 통과한 음식물쓰레기가 일정량 걸리도록 함으로써 많은 량의 음식물쓰레기가 일시에 배출구멍(11)으로 인입되는 것을 방지하여 배출구멍(11)의 막힘 현상을 미연에 차단할 수 있게 된다.
여기서, 도 10 및 도 11에 도시된 바와 같이 상기 회전판(20)의 하면에는 상기 걸림돌기(13)의 안쪽에 위치하도록 보조분쇄칼날(27)이 형성될 수 있다.
상기 보조분쇄칼날(27)의 형성으로 인해, 회전판(20)의 하부로 이동된 음식물의 배출과정에서 한번 더 분쇄작업을 수행할 수 있어 더욱 잘게 세절할 수 있음은 물론, 뭉침현상을 방지할 수 있어 배출구멍(11) 또는 배출관(12)의 막힘현상을 차단할 수 있게 된다.
또한, 상기 회전판(20)의 하면에는 상기 보조분쇄칼날(27)의 외측방향으로 수평하게 구비된 수평절단날(28)이 형성될 수 있다. 상기 수평절단날(28)은 상기 걸림돌기(13)의 상측에 일정 거리 이격되게 위치되도록 형성되어 진다.
따라서, 상기 걸림돌기(13)에 걸린 음식물쓰레기는 상기 보조분쇄칼날(27)과 수평절단날(28)에 의해 음식물쓰레기의 내측과 상측 부분이 절단되면서 음식물쓰레기를 한번 더 분쇄함은 물론, 분쇄된 음식물쓰레기의 뭉침 현상 없이 원활한 배출이 이루어지도록 안내하게 되는 것이다.
상기 분쇄안내링(30)은 분쇄기 몸체(10)의 내주면에 밀착 결합되도록 고리형상으로 형성되는 것으로, 용이한 설치를 위해 절반씩 나누어져 반 원호형태로 형성된다.
이러한 분쇄안내링(30)은 공지된 바와 같이, 내주면에 다수 개의 분쇄안내돌기(31)가 형성되어 있고, 하측 부분에는 일정 높이로 절개된 절개홈(32)이 일정 간격으로 다수 형성되어 있으며, 그 절개홈(32)에 의해 그 사이로 분쇄안내편(33)이 형성되어 진다.
상기 회전판(20)이 회전동작하는 경우 상기 세절칼날(40)이 상기 분쇄안내편(33)과의 상호작용으로 음식물을 세절하게 되는 것이다.
상기와 같이 구성된 본 발명에 따르면, 분쇄기 몸체(10)의 내부로 인입된 음식물쓰레기는 해머(21)에 의해 일정 크기로 분쇄됨과 아울러 절단날(23)에 의해 1차적으로 분쇄된다.
분쇄된 음식물은 원심력에 의해 회전판(20)의 가장자리로 밀려 이동하게 되고, 이동된 음식물은 세절칼날(40)에 의해 더욱 미세하게 세절된 후 회전판(20)과 분쇄기 몸체(10)의 사이 공간을 통과하면서 분쇄턱(25a)에 의해 재차 분쇄되어져 회전판(20)의 하부로 배출된다.
회전판(20)의 하부로 배출된 음식물은 물과 함께 분쇄기 몸체(10)의 경사진 바닥면(10a)을 따라 배출구멍(11)으로 이동하여 배출관(12)으로 배출된다.
본 발명에서는 세절칼날(40)의 형성으로, 회전판(20)의 가장자리로 밀려 이동된 음식물을 미세하게 세절할 수 있어 분쇄기 몸체(10)의 내부로 인입된 음식물을 단시간내에 분쇄하여 배출시킬 수 있는 것이다.
한편, 송풍편(50)이 형성된 경우에는 그 송풍압력에 의해 회전판(20)의 하부로 이동된 음식물이 더욱 원활히 배출구멍으로 이동될 수 있는 것이고, 보조분쇄칼날(27)과 수평절단날(28)이 형성된 경우에는 한번 더 음식물의 분쇄가 이루어짐은 물론 음식물이 뭉쳐있지 않은 채 배출시킬 수 있어 배출관(12)이나 하수구가 막히는 것을 방지할 수 있는 효과가 있다.
10: 분쇄기 몸체 11: 배출구멍
12: 배출관 13: 걸림돌기
15: 뚜껑 16: 모터
17: 미생물통 20: 회전판
21: 해머 22: 멈춤돌기부
23: 절단날 24: 배출공
25: 분쇄홈 25a: 분쇄턱
26: 분쇄돌기 27: 보조분쇄칼날
28: 수평절단날 30: 분쇄안내링
31: 분쇄안내돌기 32: 절개홈
33: 분쇄안내편 40: 세절칼날
41: 제2세절칼날 45: 보호편
50: 송풍편

Claims (10)

  1. 싱크대의 배수구에 연결되고 일측에 배출관(12)이 설치된 분쇄기 몸체(10)와, 그 분쇄기 몸체(10)의 내부에 설치되고 상면에 음식물쓰레기의 분쇄를 위해 회전식 해머(21)와 고정식 절단날(23)이 각각 형성되며 표면에는 다수의 배출공(24)이 형성된 회전판(20)과, 상기 분쇄기 몸체(10)의 내주면에 상기 회전판(20)의 가장자리에 구비되도록 설치되는 분쇄안내링(30)을 포함하여 이루어진 음식물쓰레기 분쇄기에 있어서,
    상기 회전판(20)의 상면 가장자리 부위에는 상기 해머(21) 및 절단날(23)에 의해 1차 분쇄되어 이동된 음식물을 세절하도록 하나 이상의 세절칼날(40)이 더 형성된 것을 특징으로 하는 음식물쓰레기 분쇄기.
  2. 제1항에 있어서,
    상기 회전판(20)의 상면에는 상기 세절칼날(40)의 안쪽 전방에 위치되게 보호편(45)이 형성된 것을 특징으로 하는 음식물쓰레기 분쇄기.
  3. 제1항 또는 제2항에 있어서,
    상기 회전판(20)의 하면 가장자리 부위에는 회전판의 회전 시 바람을 발생시키도록 형성되어 상기 분쇄기 몸체(10)와 회전판(20)의 사이 공간 및 상기 배출공(24)을 통해 회전판(20)의 하방으로 이동된 음식물의 배출을 유도하는 송풍편(50)이 구비된 것을 특징으로 하는 음식물쓰레기 분쇄기.
  4. 제1항 또는 제2항에 있어서,
    상기 회전판(20)의 외경은 상기 분쇄안내링(30)의 내경보다 작게 형성되어 상기 분쇄안내링(30)이 상기 회전판(20)의 가장자리를 둘러싸도록 설치되고,
    상기 회전판(20)이 회전동작하는 경우에 상기 세절칼날(40)이 분쇄안내링(30)의 내측에서 회전되면서 분쇄안내링(30)과의 상호작용으로 음식물쓰레기를 분쇄하며,
    상기 회전판(20)의 가장자리에는 한 군데 이상 함몰되어 분쇄홈(25)이 형성되고, 그 분쇄홈(25)의 형성으로 인해 일측에 분쇄턱(25a)이 형성된 것을 특징으로 하는 음식물쓰레기 분쇄기.
  5. 제1항에 있어서,
    상기 회전판(20)의 외경은 상기 분쇄안내링(30)의 외경보다 크게 형성되어 상기 분쇄안내링(30)이 상기 회전판(20)의 가장자리 상측에 위치되도록 설치되고,
    상기 회전판(20)이 회전동작하는 경우에 상기 세절칼날(40)이 상기 분쇄안내링(30)의 외측에서 회전되면서 상기 분쇄안내링(30)과의 상호작용으로 음식물쓰레기를 분쇄하며,
    상기 회전판(20)의 가장자리에는 한 군데 이상 돌출되어 분쇄돌기(26)가 형성된 것을 특징으로 하는 음식물쓰레기 분쇄기.
  6. 제5항에 있어서,
    상기 회전판(20)의 상면 가장자리 부위에는 상기 분쇄안내링(30)의 내측에 위치되게 제2세절칼날(41)이 형성된 것을 특징으로 하는 음식물쓰레기 분쇄기.
  7. 제1항 또는 제2항에 있어서,
    상기 분쇄기 몸체(10)의 바닥면(10a)은 상기 배출관(12)이 연결된 배출구멍(11)으로 갈수록 경사지게 형성된 것을 특징으로 하는 음식물쓰레기 분쇄기.
  8. 제7항에 있어서,
    상기 분쇄기 몸체(10)의 바닥면(10a) 가장자리 부위에는 상기 회전판(20)을 통과한 음식물쓰레기가 일정량 걸리도록 걸림돌기(13)가 하나 이상 형성된 것을 특징으로 하는 음식물쓰레기 분쇄기.
  9. 제8항에 있어서,
    상기 회전판(20)의 하면에는 상기 걸림돌기(13)의 안쪽에 위치하도록 보조분쇄칼날(27)이 형성된 것을 특징으로 하는 음식물쓰레기 분쇄기.
  10. 제8항에 있어서,
    상기 회전판(20)의 하면 가장자리 부근에는 상기 걸림돌기(13)의 상측에 이격되게 위치하도록 수평절단날(28)이 형성된 것을 특징으로 하는 음식물쓰레기 분쇄기.
KR1020140067809A 2014-06-03 2014-06-03 음식물쓰레기 분쇄기 Active KR101674175B1 (ko)

Priority Applications (1)

Application Number Priority Date Filing Date Title
KR1020140067809A KR101674175B1 (ko) 2014-06-03 2014-06-03 음식물쓰레기 분쇄기

Applications Claiming Priority (1)

Application Number Priority Date Filing Date Title
KR1020140067809A KR101674175B1 (ko) 2014-06-03 2014-06-03 음식물쓰레기 분쇄기

Publications (2)

Publication Number Publication Date
KR20150139712A true KR20150139712A (ko) 2015-12-14
KR101674175B1 KR101674175B1 (ko) 2016-11-09

Family

ID=55020879

Family Applications (1)

Application Number Title Priority Date Filing Date
KR1020140067809A Active KR101674175B1 (ko) 2014-06-03 2014-06-03 음식물쓰레기 분쇄기

Country Status (1)

Country Link
KR (1) KR101674175B1 (ko)

Cited By (11)

* Cited by examiner, † Cited by third party
Publication number Priority date Publication date Assignee Title
CN106881177A (zh) * 2017-04-27 2017-06-23 严凤河 一种厨房用高性能剁碎设备
CN107159405A (zh) * 2017-07-19 2017-09-15 东莞市杰美电器有限公司 垃圾处理器
CN109868871A (zh) * 2018-08-27 2019-06-11 冯卓林 一种厨房剩余垃圾粉碎机
KR20190131961A (ko) * 2018-05-18 2019-11-27 전병우 야채 쓰레기 분쇄장치
CN110508366A (zh) * 2019-08-13 2019-11-29 赵兴鑫 一种固体兽药粉碎装置
CN110886355A (zh) * 2019-11-11 2020-03-17 宁波东大空调设备有限公司 一种粉碎磨盘式厨余垃圾处理机及其处理方法
KR102298696B1 (ko) * 2020-11-24 2021-09-13 주식회사 뉴경지 디스포저
CN113502886A (zh) * 2021-07-28 2021-10-15 宁波翔龙金属制品有限公司 一种厨余垃圾粉碎机
US11286654B2 (en) 2018-10-17 2022-03-29 Squall E.M.T Ltd. Waste disposer with embedded sprinkler assembly
KR102446244B1 (ko) * 2021-03-29 2022-09-23 이도경 음식물 쓰레기 분쇄기
KR20230076226A (ko) * 2021-11-24 2023-05-31 김현숙 음식물 처리기의 분쇄 장치

Families Citing this family (1)

* Cited by examiner, † Cited by third party
Publication number Priority date Publication date Assignee Title
KR102281730B1 (ko) 2020-04-17 2021-07-27 이도경 음식물 쓰레기 분쇄기

Citations (5)

* Cited by examiner, † Cited by third party
Publication number Priority date Publication date Assignee Title
JPH0318917A (ja) * 1989-06-16 1991-01-28 Canon Inc 座標入力装置
JP2001179116A (ja) * 1999-12-27 2001-07-03 Shin Meiwa Ind Co Ltd 厨芥処理装置
KR20100070454A (ko) 2008-12-18 2010-06-28 정복연 음식물 쓰레기 분쇄기
KR101005190B1 (ko) 2010-08-28 2011-01-04 주식회사 허머 음식물쓰레기 처리장치
JP2011508669A (ja) * 2008-01-04 2011-03-17 エマーソン エレクトリック カンパニー 窓付き粉砕リングを備えた粉砕機構を有する生ごみ処理機

Patent Citations (5)

* Cited by examiner, † Cited by third party
Publication number Priority date Publication date Assignee Title
JPH0318917A (ja) * 1989-06-16 1991-01-28 Canon Inc 座標入力装置
JP2001179116A (ja) * 1999-12-27 2001-07-03 Shin Meiwa Ind Co Ltd 厨芥処理装置
JP2011508669A (ja) * 2008-01-04 2011-03-17 エマーソン エレクトリック カンパニー 窓付き粉砕リングを備えた粉砕機構を有する生ごみ処理機
KR20100070454A (ko) 2008-12-18 2010-06-28 정복연 음식물 쓰레기 분쇄기
KR101005190B1 (ko) 2010-08-28 2011-01-04 주식회사 허머 음식물쓰레기 처리장치

Cited By (14)

* Cited by examiner, † Cited by third party
Publication number Priority date Publication date Assignee Title
CN106881177A (zh) * 2017-04-27 2017-06-23 严凤河 一种厨房用高性能剁碎设备
CN106881177B (zh) * 2017-04-27 2018-10-23 泉州台商投资区万鼎机械科技有限公司 一种厨房用高性能剁碎设备
CN107159405A (zh) * 2017-07-19 2017-09-15 东莞市杰美电器有限公司 垃圾处理器
KR20190131961A (ko) * 2018-05-18 2019-11-27 전병우 야채 쓰레기 분쇄장치
CN109868871A (zh) * 2018-08-27 2019-06-11 冯卓林 一种厨房剩余垃圾粉碎机
CN109868871B (zh) * 2018-08-27 2024-02-13 余姚市日沥太阳能机电有限公司 一种厨房剩余垃圾粉碎机
US11286654B2 (en) 2018-10-17 2022-03-29 Squall E.M.T Ltd. Waste disposer with embedded sprinkler assembly
CN110508366B (zh) * 2019-08-13 2021-12-03 江西省科达动物药业有限公司 一种固体兽药粉碎装置
CN110508366A (zh) * 2019-08-13 2019-11-29 赵兴鑫 一种固体兽药粉碎装置
CN110886355A (zh) * 2019-11-11 2020-03-17 宁波东大空调设备有限公司 一种粉碎磨盘式厨余垃圾处理机及其处理方法
KR102298696B1 (ko) * 2020-11-24 2021-09-13 주식회사 뉴경지 디스포저
KR102446244B1 (ko) * 2021-03-29 2022-09-23 이도경 음식물 쓰레기 분쇄기
CN113502886A (zh) * 2021-07-28 2021-10-15 宁波翔龙金属制品有限公司 一种厨余垃圾粉碎机
KR20230076226A (ko) * 2021-11-24 2023-05-31 김현숙 음식물 처리기의 분쇄 장치

Also Published As

Publication number Publication date
KR101674175B1 (ko) 2016-11-09

Similar Documents

Publication Publication Date Title
KR101674175B1 (ko) 음식물쓰레기 분쇄기
KR20110029860A (ko) 멀티 고정 분쇄 칼날이 구비된 디스포저
KR101005190B1 (ko) 음식물쓰레기 처리장치
CN205591304U (zh) 食物处理器的粉碎研磨装置
KR101362968B1 (ko) 싱크대용 음식물쓰레기 처리장치
CN104895160A (zh) 对高韧性高硬度厨余垃圾粉碎效率高的处理机
CN204040135U (zh) 食物垃圾处理器
CN103938681B (zh) 家庭用食物垃圾处理器
KR101747946B1 (ko) 디스포저용 분쇄장치
KR20160036024A (ko) 폐합성수지의 더블 절삭 파쇄 장치
KR101691867B1 (ko) 음식물 쓰레기 분쇄 장치
CN209243837U (zh) 一种高效厨房食物垃圾处理器
CN204564253U (zh) 一种垃圾破碎处理器
KR100973074B1 (ko) 음식물류 폐기물 순간분쇄기
CN204570850U (zh) 高性能厨余垃圾处理机
KR20130106040A (ko) 분쇄장치
KR101555946B1 (ko) 음식물쓰레기 처리기용 분쇄기 및 이를 구비한 음식물쓰레기 처리기
KR20220103302A (ko) 음식물 처리장치 분쇄링과 그에 결부된 분쇄판
KR20110116096A (ko) 음식물찌꺼기 분쇄기용 분쇄날
CN208599894U (zh) 一种大件垃圾收集粉碎机构
CN204590183U (zh) 厨余垃圾处理机
KR101447828B1 (ko) 디스포저
CN215586721U (zh) 垃圾处理机
KR102458328B1 (ko) 저소음 회전날부를 이용한 디스포저
CN103938682A (zh) 食物垃圾处理器

Legal Events

Date Code Title Description
A201 Request for examination
PA0109 Patent application

Patent event code: PA01091R01D

Comment text: Patent Application

Patent event date: 20140603

PA0201 Request for examination
E902 Notification of reason for refusal
PE0902 Notice of grounds for rejection

Comment text: Notification of reason for refusal

Patent event date: 20150819

Patent event code: PE09021S01D

PG1501 Laying open of application
E90F Notification of reason for final refusal
PE0902 Notice of grounds for rejection

Comment text: Final Notice of Reason for Refusal

Patent event date: 20160211

Patent event code: PE09021S02D

E701 Decision to grant or registration of patent right
PE0701 Decision of registration

Patent event code: PE07011S01D

Comment text: Decision to Grant Registration

Patent event date: 20160825

GRNT Written decision to grant
PR0701 Registration of establishment

Comment text: Registration of Establishment

Patent event date: 20161102

Patent event code: PR07011E01D

PR1002 Payment of registration fee

Payment date: 20161102

End annual number: 3

Start annual number: 1

PG1601 Publication of registration
FPAY Annual fee payment

Payment date: 20191104

Year of fee payment: 4

PR1001 Payment of annual fee

Payment date: 20191104

Start annual number: 4

End annual number: 4

PR1001 Payment of annual fee

Payment date: 20201102

Start annual number: 5

End annual number: 5

PR1001 Payment of annual fee

Payment date: 20211102

Start annual number: 6

End annual number: 6

PR1001 Payment of annual fee

Payment date: 20221102

Start annual number: 7

End annual number: 7

PR1001 Payment of annual fee

Payment date: 20231102

Start annual number: 8

End annual number: 8

PR1001 Payment of annual fee

Payment date: 20241104

Start annual number: 9

End annual number: 9