KR20150130957A - precast concrete structures construction methods for girder synthesis - Google Patents

precast concrete structures construction methods for girder synthesis Download PDF

Info

Publication number
KR20150130957A
KR20150130957A KR1020150156689A KR20150156689A KR20150130957A KR 20150130957 A KR20150130957 A KR 20150130957A KR 1020150156689 A KR1020150156689 A KR 1020150156689A KR 20150156689 A KR20150156689 A KR 20150156689A KR 20150130957 A KR20150130957 A KR 20150130957A
Authority
KR
South Korea
Prior art keywords
concrete structure
girder
precast
upper flange
precast concrete
Prior art date
Legal status (The legal status is an assumption and is not a legal conclusion. Google has not performed a legal analysis and makes no representation as to the accuracy of the status listed.)
Ceased
Application number
KR1020150156689A
Other languages
Korean (ko)
Inventor
노우현
노경범
Original Assignee
우경기술주식회사
Priority date (The priority date is an assumption and is not a legal conclusion. Google has not performed a legal analysis and makes no representation as to the accuracy of the date listed.)
Filing date
Publication date
Application filed by 우경기술주식회사 filed Critical 우경기술주식회사
Priority to KR1020150156689A priority Critical patent/KR20150130957A/en
Publication of KR20150130957A publication Critical patent/KR20150130957A/en
Ceased legal-status Critical Current

Links

Images

Classifications

    • EFIXED CONSTRUCTIONS
    • E01CONSTRUCTION OF ROADS, RAILWAYS, OR BRIDGES
    • E01DCONSTRUCTION OF BRIDGES, ELEVATED ROADWAYS OR VIADUCTS; ASSEMBLY OF BRIDGES
    • E01D21/00Methods or apparatus specially adapted for erecting or assembling bridges
    • EFIXED CONSTRUCTIONS
    • E01CONSTRUCTION OF ROADS, RAILWAYS, OR BRIDGES
    • E01DCONSTRUCTION OF BRIDGES, ELEVATED ROADWAYS OR VIADUCTS; ASSEMBLY OF BRIDGES
    • E01D19/00Structural or constructional details of bridges
    • E01D19/12Grating or flooring for bridges; Fastening railway sleepers or tracks to bridges
    • EFIXED CONSTRUCTIONS
    • E01CONSTRUCTION OF ROADS, RAILWAYS, OR BRIDGES
    • E01DCONSTRUCTION OF BRIDGES, ELEVATED ROADWAYS OR VIADUCTS; ASSEMBLY OF BRIDGES
    • E01D2/00Bridges characterised by the cross-section of their bearing spanning structure
    • EFIXED CONSTRUCTIONS
    • E01CONSTRUCTION OF ROADS, RAILWAYS, OR BRIDGES
    • E01DCONSTRUCTION OF BRIDGES, ELEVATED ROADWAYS OR VIADUCTS; ASSEMBLY OF BRIDGES
    • E01D2101/00Material constitution of bridges
    • E01D2101/20Concrete, stone or stone-like material
    • E01D2101/24Concrete
    • E01D2101/26Concrete reinforced
    • E01D2101/268Composite concrete-metal

Landscapes

  • Engineering & Computer Science (AREA)
  • Architecture (AREA)
  • Civil Engineering (AREA)
  • Structural Engineering (AREA)
  • Rod-Shaped Construction Members (AREA)
  • Bridges Or Land Bridges (AREA)

Abstract

본 발명은 거더의 상부플랜지의 압축저항력을 증대시키는 강성 증대용 콘크리트 케이션 또는 바닥판용 프리캐스트 슬래브는 프리캐스트 콘크리트구조물로서, 그 합성이 간단하고, 시공이 용이하며, 공사비가 저렴하며, 내구성이 뛰어나 누구나 보편적으로 쉽게 적용할 수 있도록 한 거더합성용 프리캐스트 콘크리트구조물 시공방법을 제공하는데 그 목적이 있다.
상기한 목적을 달성하기 위한 본 발명에 따른 거더합성용 프리캐스트 콘크리트구조물 시공방법은 I형 강재거더 또는 U형 강재거더로 이루어진 강재거더(SG)를 제작하는 단계(S Ⅰ); 상광하협의 단면형상으로 이루어짐과 동시에 좌우대칭 또는 비대칭으로 형성되며, 상부플랜지 보강전용 콘크리트 케이션 또는 데크플레이트 겸용 상부플랜지 보강용 콘크리트 케이션 또는 프리캐스트 슬래브로 형성된 콘크리트구조물(10)과; 상기 콘크리트구조물(10)의 하부에 길이방향으로 오목한 사각형 형상으로 형성되는 오목홈(20)과; 상기 콘크리트구조물(10)의 오목홈(20) 내에 일정간격으로 노출된 상태로 가로로 배치되는 수평전단연결재(50)와; 상기 콘크리트구조물(10)의 상면에 일정간격으로 배치됨과 동시에 외측으로 절곡 형성된 수직전단연결재(30)와; 상기 콘크리트구조물(10)의 길이방향을 따라 일정한 간격으로 천공 형성되는 모르타르주입구(40)로 구성된 프리캐스트 콘크리트구조물(PC)을 제작하는 단계(S Ⅱ); 상기 강재거더(SG)의 상부플랜지(F)에 프리캐스트 콘크리트구조물(PC)을 거치하는 단계(S Ⅲ); 상기 프리캐스트 콘크리트구조물(PC)에 무수축 모르타르를 주입하여 강재거더(SG)와 프리캐스트 콘크리트구조물(PC)을 합성하는 단계(S Ⅳ)로 이루어짐을 특징으로 한다.
또한, 상기한 목적을 달성하기 위한 본 발명에 따른 거더합성용 프리캐스트 콘크리트구조물 시공방법은 강재거더(SG) 또는 콘크리트거더(CG)를 제작하는 단계(S Ⅰ); 상광하협의 단면형상으로 이루어짐과 동시에 좌우대칭 또는 비대칭으로 형성되는 상부플랜지 보강전용 콘크리트 케이션 또는 데크플레이트 겸용 상부플랜지 보강용 콘크리트 케이션 또는 프리캐스트 슬래브로 형성된 콘크리트구조물(10)과; 상기 콘크리트구조물(10)의 하부에 길이방향으로 오목한 사각형 형상으로 형성되는 오목홈(20)과; 상기 콘크리트구조물(10)의 오목홈(20) 내에 일정간격으로 노출된 상태로 가로로 배치되는 수평전단연결재(50)와; 상기 콘크리트구조물(10)의 상면에 일정간격으로 배치됨과 동시에 외측으로 절곡 형성된 수직전단연결재(30)와; 상기 콘크리트구조물(10)의 길이방향을 따라 일정한 간격으로 천공 형성되는 모르타르주입구(40)로 구성된 프리캐스트 콘크리트구조물(PC)을 제작하는 단계(S Ⅱ); 상기 강재거더(SG) 또는 콘크리트거더(CG)의 상부플랜지(F)에 프리캐스트 콘크리트구조물(PC)을 거치하는 단계(S Ⅲ); 상기 프리캐스트 콘크리트구조물(PC)에 무수축 모르타르를 주입하여 강재거더(SG) 또는 콘크리트거더(CG)와 프리캐스트 콘크리트구조물(PC)을 합성하는 단계(S Ⅳ)로 이루어짐을 특징으로 한다.
The present invention is a precast concrete structure for increasing rigidity or increasing the compressive resistance of an upper flange of a girder, which is a precast concrete structure, which is simple in composition, easy to construct, low in construction cost, and excellent in durability The present invention provides a method for constructing a precast concrete structure for a girder composite, which can be universally easily applied.
According to another aspect of the present invention, there is provided a method of constructing a precast concrete structure for composing a girder, the method comprising: fabricating a steel girder (SG) comprising an I-shaped steel girder or a U-shaped steel girder; A concrete structure 10 formed of a cross-sectional shape having an upper light-tight cross-section and being formed symmetrically or asymmetrically, an upper flange reinforcing concrete or a precast slab serving also as an upper flange reinforcing concrete or deck plate; A concave groove 20 formed at a lower portion of the concrete structure 10 in a rectangular shape in a longitudinal direction; A horizontal shear connector 50 laterally disposed in the concave groove 20 of the concrete structure 10 while being exposed at regular intervals; A vertical shear connector 30 disposed on the upper surface of the concrete structure 10 at predetermined intervals and bent outward; (S II) of a precast concrete structure (PC) composed of a mortar injection port (40) formed at predetermined intervals along the longitudinal direction of the concrete structure (10); (S III) of mounting a precast concrete structure (PC) on the upper flange (F) of the steel girder (SG); (SIV) of injecting non-shrinkage mortar into the precast concrete structure PC to synthesize a steel girder SG and a precast concrete structure PC.
According to another aspect of the present invention, there is provided a method of constructing a pre-cast concrete structure for composing a girder, comprising: fabricating a steel girder (SG) or a concrete girder (CG); A concrete structure 10 formed of a top flange reinforcing concrete structure or a precast slab, which has a cross section of upper and lower beams and is formed symmetrically or asymmetrically with an upper flange reinforcing concrete deck or deck plate; A concave groove 20 formed at a lower portion of the concrete structure 10 in a rectangular shape in a longitudinal direction; A horizontal shear connector 50 laterally disposed in the concave groove 20 of the concrete structure 10 while being exposed at regular intervals; A vertical shear connector 30 disposed on the upper surface of the concrete structure 10 at predetermined intervals and bent outward; (S II) of a precast concrete structure (PC) composed of a mortar injection port (40) formed at predetermined intervals along the longitudinal direction of the concrete structure (10); (S III) of mounting a precast concrete structure (PC) on the upper flange (F) of the steel girder (SG) or the concrete girder (CG); (SIV) of injecting non-shrinkage mortar into the precast concrete structure PC to synthesize a steel girder SG or a concrete girder CG with a precast concrete structure PC.

Description

거더합성용 프리캐스트 콘크리트구조물 시공방법{precast concrete structures construction methods for girder synthesis}BACKGROUND OF THE INVENTION 1. Field of the Invention [0001] The present invention relates to a precast concrete structure for girder synthesis,

본 발명은 거더합성용 프리캐스트 콘크리트구조물 시공방법에 관한 것이다.The present invention relates to a method of constructing a precast concrete structure for girder synthesis.

일반적으로 거더에 바닥판 슬래브 시공시 상부플랜지의 압축저항력을 증대시키는 방법은 상부플랜지의 강재 또는 콘크리트 소요량을 증대시키거나, 콘크리트 케이션을 적절하게 추가로 현장타설, 합성하여 상부플랜지의 압축저항력을 증대시키곤 하였다.Generally, the method of increasing the compressive resistance of the upper flange when installing the bottom plate slab on the girder is to increase the amount of steel or concrete of the upper flange, or to increase the compressive resistance of the upper flange by appropriately putting concrete into the site. .

여기서, 전자인 강재 또는 콘크리트 소요량을 증대시키는 방법은 강재인 경우는 경제성이 불리하고 콘크리트인 경우는 중량의 추가증가로 주로 사용되지 못하고, 후자인 콘크리트 케이션을 거더 상부플랜지에 현장타설, 합성하여 시공하는 방법은 콘크리트의 시공 특성상 그 현장타설 시공방법이 어려워 보편적으로 적용되지 못하고 있는 실정이다. Here, the method of increasing the required amount of steel or concrete is not economical in the case of steel, and is not mainly used in the case of concrete, because the weight is increased, and the latter concrete is placed on the upper flange of the girder The method is not universally applied due to the difficulty in construction method of concrete due to the construction characteristics of concrete.

또한, 등록특허 제10-0869568호 개구제형 강합성 콘크리트 강재거더 및 이의 제작방법도 상부플랜지에 콘크리트 케이션을 합성하여 강재거더의 상부플랜지의 강성을 증대시키는 방법을 적시하고 있으나, 이는 콘크리트 상부케이션을 거더가 거치된 후 현장 타설로 시공하여야 하는 관계로 실제로 그 적용성에 있어서 시공이 복잡하고 어려워 경제성이 우수함에도 불구하고 보편적으로 적용하는 데는 한계가 있다. In addition, Patent No. 10-0869568 also discloses a method of increasing the stiffness of the upper flange of a steel girder by synthesizing a concrete concrete with an upper flange, but also a concrete upper casing Since the girder has to be installed after installation, it is difficult to apply it universally even though the construction is complicated and difficult because of its applicability.

또한, 시공기간 단축 또는 시공품질 향상을 위해 교량의 슬래브를 현장 타설로 시공하지 않고 프리캐스트 슬래브로 시공하는 경우에도 프리캐스트 슬래브를 거더의 상부플랜지와 합성시 프리캐스트 바닥판에 일정간격으로 블럭아웃(Block out)한 커다란 합성 홀을 형성하여 그곳에서 거더의 전단연결재와 일정간격으로 합성을 하므로 상부플랜지의 전 구간에 걸쳐서 완전히 합성되는 구조가 아니라서 합성효율이 완벽하지 못하며 거더의 상부플랜지에 설치되는 전단연결재 또한 프리캐스트 슬래브의 합성 홀에 맞추어 전단연결재를 블록단위로 형성하여야 하는 관계로 제작 시공상의 복잡성이 있다.In addition, when the slab of a bridge is installed as a precast slab without construction of a slab for the purpose of shortening the construction period or improving the quality of construction, the precast slab is prevented from being blocked out It is not completely synthesized over the whole length of the upper flange, so that the synthesis efficiency is not perfect and it is installed in the upper flange of the girder. Shear joints also have complicated construction due to the fact that shear joints must be formed in block units in accordance with the composite holes of precast slabs.

등록특허 제10-0869568호Registration No. 10-0869568

이에, 본 발명은 상기한 바와 같은 제문제점을 해결하기 위해 안출된 것으로, 거더의 상부플랜지의 압축저항력을 증대시키는 강성 증대용 콘크리트 케이션 또는 바닥판용 프리캐스트 슬래브는 프리캐스트 콘크리트구조물로서, 그 합성이 간단하고, 시공이 용이하며, 공사비가 저렴하며, 내구성이 뛰어나 누구나 보편적으로 쉽게 적용할 수 있도록 한 거더합성용 프리캐스트 콘크리트구조물 시공방법을 제공하는데 그 목적이 있다.SUMMARY OF THE INVENTION Accordingly, it is an object of the present invention to provide a precast concrete structure for increasing rigidity or a precast concrete slab for a bottom plate that increases compression resistance of an upper flange of a girder, It is an object of the present invention to provide a method of constructing a precast concrete structure for a girder composite which is simple, easy to construct, low in construction cost, and excellent in durability so that it can be universally easily applied.

상기한 목적을 달성하기 위한 본 발명에 따른 거더합성용 프리캐스트 콘크리트구조물 시공방법은 I형 강재거더 또는 U형 강재거더로 이루어진 강재거더(SG)를 제작하는 단계(S Ⅰ); 상광하협의 단면형상으로 이루어짐과 동시에 좌우대칭 또는 비대칭으로 형성되며, 상부플랜지 보강전용 콘크리트 케이션 또는 데크플레이트 겸용 상부플랜지 보강용 콘크리트 케이션 또는 프리캐스트 슬래브로 형성된 콘크리트구조물(10)과; 상기 콘크리트구조물(10)의 하부에 길이방향으로 오목한 사각형 형상으로 형성되는 오목홈(20)과; 상기 콘크리트구조물(10)의 오목홈(20) 내에 일정간격으로 노출된 상태로 가로로 배치되는 수평전단연결재(50)와; 상기 콘크리트구조물(10)의 상면에 일정간격으로 배치됨과 동시에 외측으로 절곡 형성된 수직전단연결재(30)와; 상기 콘크리트구조물(10)의 길이방향을 따라 일정한 간격으로 천공 형성되는 모르타르주입구(40)로 구성된 프리캐스트 콘크리트구조물(PC)을 제작하는 단계(S Ⅱ); 상기 강재거더(SG)의 상부플랜지(F)에 프리캐스트 콘크리트구조물(PC)을 거치하는 단계(S Ⅲ); 상기 프리캐스트 콘크리트구조물(PC)에 무수축 모르타르를 주입하여 강재거더(SG)와 프리캐스트 콘크리트구조물(PC)을 합성하는 단계(S Ⅳ)로 이루어짐을 특징으로 한다.According to another aspect of the present invention, there is provided a method of constructing a precast concrete structure for composing a girder, the method comprising: fabricating a steel girder (SG) comprising an I-shaped steel girder or a U-shaped steel girder; A concrete structure 10 formed of a cross-sectional shape having an upper light-tight cross-section and being formed symmetrically or asymmetrically, an upper flange reinforcing concrete or a precast slab serving also as an upper flange reinforcing concrete or deck plate; A concave groove 20 formed at a lower portion of the concrete structure 10 in a rectangular shape in a longitudinal direction; A horizontal shear connector 50 laterally disposed in the concave groove 20 of the concrete structure 10 while being exposed at regular intervals; A vertical shear connector 30 disposed on the upper surface of the concrete structure 10 at predetermined intervals and bent outward; (S II) of a precast concrete structure (PC) composed of a mortar injection port (40) formed at predetermined intervals along the longitudinal direction of the concrete structure (10); (S III) of mounting a precast concrete structure (PC) on the upper flange (F) of the steel girder (SG); (SIV) of injecting non-shrinkage mortar into the precast concrete structure PC to synthesize a steel girder SG and a precast concrete structure PC.

또한, 상기한 목적을 달성하기 위한 본 발명에 따른 거더합성용 프리캐스트 콘크리트구조물 시공방법은 강재거더(SG) 또는 콘크리트거더(CG)를 제작하는 단계(S Ⅰ); 상광하협의 단면형상으로 이루어짐과 동시에 좌우대칭 또는 비대칭으로 형성되는 상부플랜지 보강전용 콘크리트 케이션 또는 데크플레이트 겸용 상부플랜지 보강용 콘크리트 케이션 또는 프리캐스트 슬래브로 형성된 콘크리트구조물(10)과; 상기 콘크리트구조물(10)의 하부에 길이방향으로 오목한 사각형 형상으로 형성되는 오목홈(20)과; 상기 콘크리트구조물(10)의 오목홈(20) 내에 일정간격으로 노출된 상태로 가로로 배치되는 수평전단연결재(50)와; 상기 콘크리트구조물(10)의 상면에 일정간격으로 배치됨과 동시에 외측으로 절곡 형성된 수직전단연결재(30)와; 상기 콘크리트구조물(10)의 길이방향을 따라 일정한 간격으로 천공 형성되는 모르타르주입구(40)로 구성된 프리캐스트 콘크리트구조물(PC)을 제작하는 단계(S Ⅱ); 상기 강재거더(SG) 또는 콘크리트거더(CG)의 상부플랜지(F)에 프리캐스트 콘크리트구조물(PC)을 거치하는 단계(S Ⅲ); 상기 프리캐스트 콘크리트구조물(PC)에 무수축 모르타르를 주입하여 강재거더(SG) 또는 콘크리트거더(CG)와 프리캐스트 콘크리트구조물(PC)을 합성하는 단계(S Ⅳ)로 이루어짐을 특징으로 한다.According to another aspect of the present invention, there is provided a method of constructing a pre-cast concrete structure for composing a girder, comprising: fabricating a steel girder (SG) or a concrete girder (CG); A concrete structure 10 formed of a top flange reinforcing concrete structure or a precast slab, which has a cross section of upper and lower beams and is formed symmetrically or asymmetrically with an upper flange reinforcing concrete deck or deck plate; A concave groove 20 formed at a lower portion of the concrete structure 10 in a rectangular shape in a longitudinal direction; A horizontal shear connector 50 laterally disposed in the concave groove 20 of the concrete structure 10 while being exposed at regular intervals; A vertical shear connector 30 disposed on the upper surface of the concrete structure 10 at predetermined intervals and bent outward; (S II) of a precast concrete structure (PC) composed of a mortar injection port (40) formed at predetermined intervals along the longitudinal direction of the concrete structure (10); (S III) of mounting a precast concrete structure (PC) on the upper flange (F) of the steel girder (SG) or the concrete girder (CG); (SIV) of injecting non-shrinkage mortar into the precast concrete structure PC to synthesize a steel girder SG or a concrete girder CG with a precast concrete structure PC.

이상에서 설명한 바와 같이, 본 발명에 따른 거더합성용 프리캐스트 콘크리트구조물 시공방법은 다음과 같은 효과가 있다.As described above, the method for constructing a precast concrete structure for girder composite according to the present invention has the following effects.

첫째, 본 발명은 거더의 상부플랜지에 프리캐스트 콘크리트구조물을 복잡한 시공과정 없이 가장 경제적이고 효율적으로 시공할 수 있다.First, the present invention can economically and efficiently construct a precast concrete structure on an upper flange of a girder without complicated construction process.

둘째, 본 발명은 거더의 상부플랜지에 프리캐스트 콘크리트구조물의 합성 시공과정이 단순하여 보편적으로 적용할 수 있다.Second, the present invention can be universally applied to a composite structure of a precast concrete structure on the upper flange of a girder.

도 1은 본 발명에 따른 거더합성용 프리캐스트 콘크리트구조물의 상부플랜지 보강전용 콘크리트 케이션을 도시한 정면 사시도 1,
도 2는 본 발명에 따른 거더합성용 프리캐스트 콘크리트구조물의 상부플랜지 보강전용 콘크리트 케이션을 도시한 배면 사시도 1,
도 3은 본 발명에 따른 거더합성용 프리캐스트 콘크리트구조물의 상부플랜지 보강전용 콘크리트 케이션을 도시한 단면도 1,
도 4는 본 발명에 따른 거더합성용 프리캐스트 콘크리트구조물의 상부플랜지 보강전용 콘크리트 케이션이 U형 강재거더에 적용된 상태를 도시한 사시도 1,
도 5는 본 발명에 따른 거더합성용 프리캐스트 콘크리트구조물의 상부플랜지 보강전용 콘크리트 케이션이 U형 강재거더에 적용된 상태를 도시한 단면도 1,
도 6은 본 발명에 따른 거더합성용 프리캐스트 콘크리트구조물의 데크플레이트 겸용 상부플랜지 보강용 콘크리트 케이션을 도시한 정면 사시도 1,
도 7은 본 발명에 따른 거더합성용 프리캐스트 콘크리트구조물의 데크플레이트 겸용 상부플랜지 보강용 콘크리트 케이션을 도시한 배면 사시도 1,
도 8은 본 발명에 따른 거더합성용 프리캐스트 콘크리트구조물의 데크플레이트 겸용 상부플랜지 보강용 콘크리트 케이션을 도시한 단면도 1,
도 9는 본 발명에 따른 거더합성용 프리캐스트 콘크리트구조물의 데크플레이트 겸용 상부플랜지 보강용 콘크리트 케이션이 U형 강재거더에 적용된 상태를 도시한 사시도 1,
도 10은 본 발명에 따른 거더합성용 프리캐스트 콘크리트구조물의 데크플레이트 겸용 상부플랜지 보강용 콘크리트 케이션이 U형 강재거더에 적용된 상태를 도시한 단면도 1,
도 11은 본 발명에 따른 거더합성용 프리캐스트 콘크리트구조물의 상부플랜지 보강전용 콘크리트 케이션을 도시한 정면 사시도 2,
도 12는 본 발명에 따른 거더합성용 프리캐스트 콘크리트구조물의 상부플랜지 보강전용 콘크리트 케이션을 도시한 배면 사시도 2,
도 13은 본 발명에 따른 거더합성용 프리캐스트 콘크리트구조물의 상부플랜지 보강전용 콘크리트 케이션을 도시한 단면도 2,
도 14는 본 발명에 따른 거더합성용 프리캐스트 콘크리트구조물의 상부플랜지 보강전용 콘크리트 케이션이 U형 강재거더에 적용된 상태를 도시한 사시도 2,
도 15는 본 발명에 따른 거더합성용 프리캐스트 콘크리트구조물의 상부플랜지 보강전용 콘크리트 케이션이 U형 강재거더에 적용된 상태를 도시한 단면도 2,
도 16은 본 발명에 따른 거더합성용 프리캐스트 콘크리트구조물의 데크플레이트 겸용 상부플랜지 보강용 콘크리트 케이션을 도시한 정면 사시도 2,
도 17은 본 발명에 따른 거더합성용 프리캐스트 콘크리트구조물의 데크플레이트 겸용 상부플랜지 보강용 콘크리트 케이션을 도시한 배면 사시도 2,
도 18은 본 발명에 따른 거더합성용 프리캐스트 콘크리트구조물의 데크플레이트 겸용 상부플랜지 보강용 콘크리트 케이션을 도시한 단면도 2,
도 19는 본 발명에 따른 거더합성용 프리캐스트 콘크리트구조물의 데크플레이트 겸용 상부플랜지 보강용 콘크리트 케이션이 U형 강재거더에 적용된 상태를 도시한 사시도 2,
도 20은 본 발명에 따른 거더합성용 프리캐스트 콘크리트구조물의 데크플레이트 겸용 상부플랜지 보강용 콘크리트 케이션이 U형 강재거더에 적용된 상태를 도시한 단면도 2,
도 21은 본 발명에 따른 거더합성용 프리캐스트 콘크리트구조물의 프리캐스트 슬래브를 도시한 정면 사시도,
도 22는 본 발명에 따른 거더합성용 프리캐스트 콘크리트구조물의 프리캐스트 슬래브를 도시한 배면 사시도,
도 23은 본 발명에 따른 거더합성용 프리캐스트 콘크리트구조물의 프리캐스트 슬래브를 도시한 단면도,
도 24는 본 발명에 따른 거더합성용 프리캐스트 콘크리트구조물의 프리캐스트 슬래브가 U형 강재거더에 적용된 상태를 도시한 사시도,
도 25는 본 발명에 따른 거더합성용 프리캐스트 콘크리트구조물의 프리캐스트 슬래브가 U형 강재거더에 적용된 상태를 도시한 단면도,
도 26은 본 발명에 따른 거더합성용 프리캐스트 콘크리트구조물의 상부플랜지 보강전용 콘크리트 케이션이 I형 강재거더에 적용된 상태를 도시한 사시도 1,
도 27은 본 발명에 따른 거더합성용 프리캐스트 콘크리트구조물의 상부플랜지 보강전용 콘크리트 케이션이 I형 강재거더에 적용된 상태를 도시한 단면도 1,
도 28은 본 발명에 따른 거더합성용 프리캐스트 콘크리트구조물의 데크플레이트 겸용 상부플랜지 보강용 콘크리트 케이션이 I형 강재거더에 적용된 상태를 도시한 사시도 1,
도 29는 본 발명에 따른 거더합성용 프리캐스트 콘크리트구조물의 데크플레이트 겸용 상부플랜지 보강용 콘크리트 케이션이 I형 강재거더에 적용된 상태를 도시한 단면도 1,
도 30은 본 발명에 따른 거더합성용 프리캐스트 콘크리트구조물의 상부플랜지 보강전용 콘크리트 케이션이 I형 강재거더에 적용된 상태를 도시한 사시도 2,
도 31은 본 발명에 따른 거더합성용 프리캐스트 콘크리트구조물의 상부플랜지 보강전용 콘크리트 케이션이 I형 강재거더에 적용된 상태를 도시한 단면도 2,
도 32는 본 발명에 따른 거더합성용 프리캐스트 콘크리트구조물의 데크플레이트 겸용 상부플랜지 보강용 콘크리트 케이션이 I형 강재거더에 적용된 상태를 도시한 사시도 2,
도 33은 본 발명에 따른 거더합성용 프리캐스트 콘크리트구조물의 데크플레이트 겸용 상부플랜지 보강용 콘크리트 케이션이 I형 강재거더에 적용된 상태를 도시한 단면도 2,
도 34는 본 발명에 따른 거더합성용 프리캐스트 콘크리트구조물의 프리캐스트 슬래브가 I형 강재거더에 적용된 상태를 도시한 사시도,
도 35는 본 발명에 따른 거더합성용 프리캐스트 콘크리트구조물의 프리캐스트 슬래브가 I형 강재거더에 적용된 상태를 도시한 단면도,
도 36은 본 발명에 따른 거더합성용 프리캐스트 콘크리트구조물의 데크플레이트 겸용 상부플랜지 보강용 콘크리트 케이션을 도시한 정면 사시도 3,
도 37은 본 발명에 따른 거더합성용 프리캐스트 콘크리트구조물의 데크플레이트 겸용 상부플랜지 보강용 콘크리트 케이션을 도시한 배면 사시도 3,
도 38은 본 발명에 따른 거더합성용 프리캐스트 콘크리트구조물의 데크플레이트 겸용 상부플랜지 보강용 콘크리트 케이션을 도시한 단면도 3,
도 39는 본 발명에 따른 거더합성용 프리캐스트 콘크리트구조물의 데크플레이트 겸용 상부플랜지 보강용 콘크리트 케이션이 U형 콘크리트거더에 적용된 상태를 도시한 사시도 1,
도 40은 본 발명에 따른 거더합성용 프리캐스트 콘크리트구조물의 데크플레이트 겸용 상부플랜지 보강용 콘크리트 케이션이 U형 콘크리트거더에 적용된 상태를 도시한 단면도 1,
도 41은 본 발명에 따른 거더합성용 프리캐스트 콘크리트구조물의 데크플레이트 겸용 상부플랜지 보강용 콘크리트 케이션을 도시한 정면 사시도 4,
도 42는 본 발명에 따른 거더합성용 프리캐스트 콘크리트구조물의 데크플레이트 겸용 상부플랜지 보강용 콘크리트 케이션을 도시한 배면 사시도 4,
도 43은 본 발명에 따른 거더합성용 프리캐스트 콘크리트구조물의 데크플레이트 겸용 상부플랜지 보강용 콘크리트 케이션을 도시한 단면도 4,
도 44는 본 발명에 따른 거더합성용 프리캐스트 콘크리트구조물의 데크플레이트 겸용 상부플랜지 보강용 콘크리트 케이션이 U형 콘크리트거더에 적용된 상태를 도시한 사시도 2,
도 45는 본 발명에 따른 거더합성용 프리캐스트 콘크리트구조물의 데크플레이트 겸용 상부플랜지 보강용 콘크리트 케이션이 U형 콘크리트거더에 적용된 상태를 도시한 단면도 2,
도 46은 본 발명에 따른 거더합성용 프리캐스트 콘크리트구조물의 프리캐스트 슬래브를 도시한 정면 사시도 2,
도 47은 본 발명에 따른 거더합성용 프리캐스트 콘크리트구조물의 프리캐스트 슬래브를 도시한 배면 사시도 2,
도 48은 본 발명에 따른 거더합성용 프리캐스트 콘크리트구조물의 프리캐스트 슬래브를 도시한 단면도 2,
도 49는 본 발명에 따른 거더합성용 프리캐스트 콘크리트구조물의 프리캐스트 슬래브가 U형 콘크리트거더에 적용된 상태를 도시한 사시도,
도 50은 본 발명에 따른 거더합성용 프리캐스트 콘크리트구조물의 프리캐스트 슬래브가 U형 콘크리트거더에 적용된 상태를 도시한 단면도.
BRIEF DESCRIPTION OF THE DRAWINGS FIG. 1 is a front perspective view 1 showing an upper flange reinforcing concrete structure of a precast concrete structure for girder composite according to the present invention,
2 is a rear perspective view 1 showing a concrete concrete for an upper flange reinforcement of a precast concrete structure for girder composite according to the present invention,
3 is a cross-sectional view of an upper flange reinforcing concrete structure of a precast concrete structure for girder composite according to the present invention,
FIG. 4 is a perspective view of a U-shaped steel girder according to an embodiment of the present invention. FIG. 4 is a perspective view showing a concrete structure for a pre-
FIG. 5 is a cross-sectional view showing a state where the upper flange reinforcing concrete structure of the precast concrete structure for girder composite according to the present invention is applied to a U-shaped steel girder,
6 is a front perspective view 1 showing a concrete structure for reinforcing an upper flange serving as a deck plate of a precast concrete structure for girder composite according to the present invention,
7 is a rear perspective view 1 showing a concrete flange for reinforcing an upper flange serving as a deck plate of a precast concrete structure for girder composite according to the present invention,
FIG. 8 is a cross-sectional view of a concrete structure for reinforcing an upper flange serving as a deck plate of a pre-cast concrete structure for girder composing according to the present invention,
FIG. 9 is a perspective view of a U-shaped steel girder in which a concrete frame for reinforcing an upper flange serving as a deck plate of a pre-cast concrete structure for girder composing according to the present invention is applied to a U-
10 is a cross-sectional view of a U-shaped steel girder in which a concrete flange for reinforcing an upper flange serving as a deck plate of a pre-cast concrete structure for girder composite according to the present invention is applied,
11 is a front perspective view 2 showing a concrete concrete for reinforcing the upper flange of the precast concrete structure for girder composite according to the present invention,
FIG. 12 is a rear perspective view 2 showing a concrete concrete for an upper flange reinforcement of a precast concrete structure for girder composite according to the present invention,
13 is a cross-sectional view of a concrete concrete structure for an upper flange reinforcement of a pre-cast concrete structure for girder composite according to the present invention,
FIG. 14 is a perspective view of a concrete structure for an upper flange reinforcement of a pre-cast concrete structure for girder composite according to the present invention applied to a U-shaped steel girder,
15 is a cross-sectional view of a concrete structure for the upper flange reinforcement of a pre-cast concrete structure for girder composite according to the present invention applied to a U-shaped steel girder,
16 is a front perspective view 2 showing the concrete flange for reinforcing the upper flange serving as a deck plate of the precast concrete structure for girder composite according to the present invention,
17 is a rear perspective view 2 of a concrete structure for reinforcing an upper flange serving as a deck plate of a precast concrete structure for girder composite according to the present invention,
18 is a cross-sectional view of a concrete structure for reinforcing an upper flange serving as a deck plate of a pre-cast concrete structure for girder composite according to the present invention,
Fig. 19 is a perspective view of a U-shaped steel girder in which a concrete frame for reinforcing an upper flange serving as a deck plate of a pre-cast concrete structure for girder composing according to the present invention is applied to a U-
20 is a cross-sectional view of a U-shaped steel girder in which a concrete frame for reinforcing an upper flange serving as a deck plate for a girder composing precast concrete structure according to the present invention is applied to a girder,
21 is a front perspective view showing a precast slab of a precast concrete structure for girder composite according to the present invention,
22 is a rear perspective view showing a precast slab of a precast concrete structure for girder composite according to the present invention,
23 is a sectional view showing a precast slab of a precast concrete structure for girder composing according to the present invention,
24 is a perspective view showing a state in which a precast slab of a pre-cast concrete structure for girder composite according to the present invention is applied to a U-shaped steel girder,
25 is a sectional view showing a state where a precast slab of a pre-cast concrete structure for girder composing according to the present invention is applied to a U-shaped steel girder,
FIG. 26 is a perspective view showing a state where the upper flange reinforcing concrete structure of the pre-cast concrete structure for girder composite according to the present invention is applied to an I-shaped steel girder,
Fig. 27 is a sectional view 1 showing the concrete structure for the upper flange reinforcement of the pre-cast concrete structure for girder composite according to the present invention applied to the I-shaped steel girder,
FIG. 28 is a perspective view of a girder composing precast concrete structure according to the present invention, in which an upper flange reinforcing concrete deck plate combined with an I-shaped steel girder is shown in a perspective view 1,
FIG. 29 is a cross-sectional view showing a state where a concrete flange for reinforcing an upper flange serving as a deck plate of a pre-cast concrete structure for girder composite according to the present invention is applied to an I-
FIG. 30 is a perspective view of a concrete structure for an upper flange reinforcement of a pre-cast concrete structure for girder composite according to the present invention applied to an I-shaped steel girder,
31 is a cross-sectional view of a concrete structure for an upper flange reinforcement of a precast concrete structure for girder composing according to the present invention applied to an I-shaped steel girder,
FIG. 32 is a perspective view of a girder composing precast concrete structure according to the present invention, in which an upper flange reinforcing concrete deck plate combined with concrete is applied to an I-beam steel girder,
33 is a cross-sectional view showing a state where a concrete flange for reinforcing an upper flange serving as a deck plate of a pre-cast concrete structure for girder composite according to the present invention is applied to an I-
34 is a perspective view showing a state in which a precast slab of a pre-cast concrete structure for girder composite according to the present invention is applied to an I-shaped steel girder,
FIG. 35 is a sectional view showing a state in which a pre-cast slab of a pre-cast concrete structure for girder composite according to the present invention is applied to an I-shaped steel girder,
FIG. 36 is a front perspective view 3 showing an upper flange reinforcing concrete structure serving as a deck plate of a pre-cast concrete structure for girder composite according to the present invention,
FIG. 37 is a rear perspective view 3 showing a concrete structure for reinforcing an upper flange serving as a deck plate of a pre-cast concrete structure for girder composite according to the present invention,
38 is a cross-sectional view of a concrete structure for reinforcing an upper flange serving as a deck plate of a pre-cast concrete structure for girder composite according to the present invention,
FIG. 39 is a perspective view of a U-shaped concrete girder in which a concrete frame for reinforcing an upper flange serving as a deck plate of a pre-cast concrete structure for girder composite according to the present invention is applied to a U-
40 is a cross-sectional view of a U-shaped concrete girder in which a concrete frame for reinforcing an upper flange serving as a deck plate of a pre-cast concrete structure for girder composite according to the present invention is applied to a U-
41 is a front perspective view 4 showing the concrete flange for reinforcing the upper flange serving as the deck plate of the precast concrete structure for girder composite according to the present invention,
42 is a rear perspective view 4 showing the concrete flange for reinforcing the upper flange serving as a deck plate of the pre-cast concrete structure for girder composite according to the present invention,
43 is a cross-sectional view of a concrete flange for reinforcing an upper flange serving as a deck plate of a pre-cast concrete structure for girder composite according to the present invention,
44 is a perspective view showing a state where a concrete flange for reinforcing an upper flange serving as a deck plate of a pre-cast concrete structure for girder composite according to the present invention is applied to a U-shaped concrete girder;
45 is a cross-sectional view showing a state where a concrete flange for reinforcing an upper flange serving as a deck plate of a precast concrete structure for girder composite according to the present invention is applied to a U-
46 is a front perspective view 2 showing a precast slab of a precast concrete structure for girder composite according to the present invention,
47 is a rear perspective view 2 showing a precast slab of a precast concrete structure for girder composite according to the present invention,
48 is a cross-sectional view 2 of a precast slab of a precast concrete structure for girder composite according to the present invention,
FIG. 49 is a perspective view showing a state where a precast slab of a pre-cast concrete structure for girder composite according to the present invention is applied to a U-
50 is a cross-sectional view showing a state in which a precast slab of a precast concrete structure for girder composite according to the present invention is applied to a U-shaped concrete girder.

이하, 본 발명을 첨부한 예시도면을 참조하여 상세히 설명한다.Hereinafter, the present invention will be described in detail with reference to the accompanying drawings.

[실시예 1][Example 1]

- 상부플랜지 보강전용 콘크리트 케이션 1- Concrete case for upper flange reinforcement 1

도 1은 본 발명에 따른 거더합성용 프리캐스트 콘크리트구조물의 상부플랜지 보강전용 콘크리트 케이션을 도시한 정면 사시도 1이고, 도 2는 본 발명에 따른 거더합성용 프리캐스트 콘크리트구조물의 상부플랜지 보강전용 콘크리트 케이션을 도시한 배면 사시도 1이며, 도 3은 본 발명에 따른 거더합성용 프리캐스트 콘크리트구조물의 상부플랜지 보강전용 콘크리트 케이션을 도시한 단면도 1이다.FIG. 1 is a front perspective view 1 showing a concrete concrete for an upper flange reinforcement of a girder composing precast concrete structure according to the present invention, FIG. 2 is a perspective view of a concrete structure for an upper flange reinforcement of a girder composing precast concrete structure according to the present invention, And FIG. 3 is a cross-sectional view 1 showing a concrete concrete for an upper flange reinforcement of a precast concrete structure for girder composite according to the present invention.

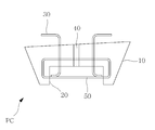
이들 도면에 도시된 바와 같이, 본 발명에 따른 거더합성용 프리캐스트 콘크리트구조물(PC)은 소정의 형상으로 이루어진 콘크리트구조물(10)과; 상기 콘크리트구조물(10)의 하부에 길이방향으로 오목한 사각형 형상으로 형성되는 오목홈(20)과; 상기 콘크리트구조물(10)의 오목홈(20) 내에 일정간격으로 가로로 배치되는 수평전단연결재(50)와; 상기 콘크리트구조물(10)의 상면에 일정간격으로 배치되는 수직전단연결재(30)와; 상기 콘크리트구조물(10)의 길이방향을 따라 일정한 간격으로 천공 형성되는 모르타르주입구(40)로 구성된다.As shown in these figures, the pre-cast concrete structure PC for girder composite according to the present invention comprises a concrete structure 10 having a predetermined shape; A concave groove 20 formed at a lower portion of the concrete structure 10 in a rectangular shape in a longitudinal direction; A horizontal shear connector 50 disposed laterally at regular intervals in the concave groove 20 of the concrete structure 10; A vertical shear connector 30 disposed at regular intervals on the upper surface of the concrete structure 10; And a mortar injection port 40 formed at predetermined intervals along the longitudinal direction of the concrete structure 10.

즉, 본 발명에 따른 거더합성용 프리캐스트 콘크리트구조물(PC)은 콘크리트구조물(10), 오목홈(20), 수직전단연결재(30), 모르타르주입구(40) 및 수평전단연결재(50)가 유기적으로 결합되어 이루어진 상부플랜지 보강전용 콘크리트 케이션이다.That is, the concrete precast concrete structure PC for girder composite according to the present invention is characterized in that the concrete structure 10, the concave groove 20, the vertical shear connector 30, the mortar injection port 40 and the horizontal shear connector 50 are organic Which is an upper flange-reinforced concrete structure.

여기서, 상기 콘크리트구조물(10)은 소정의 형상으로 이루어진 구조물로서, 상기 콘크리트구조물(10)의 폭은 상부는 넓고, 하부는 좁은 상광하협의 형상으로 형성된다.Here, the concrete structure 10 has a predetermined shape, and the width of the concrete structure 10 is wide in the upper part and narrow in the lower part.

또한, 상기 콘크리트구조물(10)은 좌우 대칭으로 구성된다.Also, the concrete structure 10 is configured to be symmetrical.

그리고 상기 오목홈(20)은 콘크리트구조물(10)의 하부에 길이방향으로 전 구간에 걸쳐서 오목한 사각형 형상으로 블록아웃된 부분이다.The concave groove 20 is a portion of the concrete structure 10 which is recessed in a rectangular shape over the entire length in the longitudinal direction.

또한, 상기 콘크리트구조물(10)의 오목홈(20) 내에 일정 간격으로 가로로 배치되는 수평전단연결재(50)와; 상기 콘크리트구조물(10)의 상면에서 일정간격으로 배치되는 수직전단연결재(30)는 노출된 상태로 가로방향으로 배치된다.A horizontal shear connector 50 disposed laterally at regular intervals in the concave groove 20 of the concrete structure 10; The vertical shear connectors 30 arranged at regular intervals on the upper surface of the concrete structure 10 are arranged in the lateral direction in an exposed state.

특히, 상기 수직전단연결재(30)는 모르타르주입구(40)를 기준으로 좌우 대칭으로 형성된다.In particular, the vertical shear connectors 30 are symmetrically formed with respect to the mortar injection port 40.

또한, 상기 모르타르주입구(40)는 콘크리트구조물(10)의 길이방향을 따라 일정한 간격으로 천공 형성된다.The mortar injection ports 40 are formed at regular intervals along the longitudinal direction of the concrete structure 10.

즉, 본 발명에 따른 거더합성용 프리캐스트 콘크리트구조물(PC)은 강재거더(SG)의 상부플랜지 보강전용 콘크리트 케이션으로, 강재거더(SG)의 상부플랜지(F)와 합성되는 프리캐스트 콘크리트구조물(PC)이 합성되는 하단부가 길이방향으로 전 구간에 걸쳐서 오목하게 블록아웃된 오목홈(20)이 형성되고, 상기 프리캐스트 콘크리트구조물(PC)에 수직전단연결재(30)가 설치되며, 상기 프리캐스트 콘크리트구조물(PC)의 상, 하면으로 일정간격으로 모르타르주입구(40)가 관통 형성된 구조이다.That is, the pre-cast concrete structure PC for girder composing according to the present invention is a concrete concrete reinforcing concrete for reinforcing the upper flange of the steel girder SG and is a precast concrete structure which is synthesized with the upper flange F of the steel girder SG (PC) is formed by concave grooves 20 in which the concave grooves 20 are concaved out over the entire length in the longitudinal direction, a vertical shear connector 30 is installed in the precast concrete structure PC, And a mortar injection port 40 is formed at a predetermined interval on the upper and lower surfaces of the concrete structure PC.

상기한 바와 같은 구성으로 이루어진 본 발명에 따른 거더합성용 프리캐스트 콘크리트구조물(PC)은 강재거더(SG)의 상부플랜지(F)의 수직전단연결재(30)를 종래의 일반적인 방법과 같이 구성할 수 있으며, 상부플랜지(F) 상면에 프리캐스트 콘크리트구조물(PC)을 거치한 후에, 상기 프리캐스트 콘크리트구조물(PC)의 상면에 길이방향으로 일정간격으로 천공 형성된 모르타르주입구(40)에 무수축 모르타르를 주입하여 양생하면 강재거더(SG)와 프리캐스트 콘크리트구조물(PC)의 합성이 완료되므로 시공이 매우 간편한 구조이다.The pre-cast concrete structure PC for composing a girder according to the present invention having the above-described structure can be constructed in the same manner as a conventional general method by using the vertical shear connector 30 of the upper flange F of the steel girder SG And a non-shrinkage mortar is attached to a mortar injection port 40 formed at a predetermined interval in the longitudinal direction on the upper surface of the precast concrete structure PC after the precast concrete structure PC is mounted on the upper surface of the upper flange F It is very easy to construct because the synthesis of steel girder (SG) and precast concrete structure (PC) is completed when curing by injection.

또한, 강재거더(SG)의 상부플랜지(F)에 합성되는 프리캐스트 콘크리트구조물(PC)의 합성부분은 좌우대칭으로 구성할 수도 있음을 밝혀둔다.It is also noted that the composite portion of the precast concrete structure PC to be combined with the upper flange F of the steel girder SG may be configured to be bilaterally symmetrical.

- 상부플랜지 보강전용 콘크리트 케이션 1 U형 강재거더 적용- Upper flange reinforced concrete structure 1 U-shaped steel girder application

도 4는 본 발명에 따른 거더합성용 프리캐스트 콘크리트구조물의 상부플랜지 보강전용 콘크리트 케이션이 U형 강재거더에 적용된 상태를 도시한 사시도 1이고, 도 5는 본 발명에 따른 거더합성용 프리캐스트 콘크리트구조물의 상부플랜지 보강전용 콘크리트 케이션이 U형 강재거더에 적용된 상태를 도시한 단면도 1이다.FIG. 4 is a perspective view 1 showing a state in which a concrete concrete frame for reinforcing an upper flange of a pre-cast concrete structure for girder composing according to the present invention is applied to a U-shaped steel girder, FIG. 5 is a perspective view of a pre-cast concrete structure for girder composite according to the present invention Sectional view of the U-shaped steel girder in which the upper flange reinforcing concrete casing is applied to the U-shaped steel girder.

이들 도면에 도시된 바와 같이, 본 발명에 따른 거더합성용 프리캐스트 콘크리트구조물 시공방법은 U형 강재거더(SG)를 제작하는 단계(S Ⅰ); 소정의 형상으로 이루어진 콘크리트구조물(10)과; 상기 콘크리트구조물(10)의 하부에 길이방향으로 오목한 사각형 형상으로 형성되는 오목홈(20)과; 상기 콘크리트구조물(10)의 오목홈(20) 내에 일정간격으로 가로로 배치되는 수평전단연결재(50)와; 상기 콘크리트구조물(10)의 상면에 일정간격으로 배치되는 수직전단연결재(30)와; 상기 콘크리트구조물(10)의 길이방향을 따라 일정한 간격으로 천공 형성되는 모르타르주입구(40)로 구성된 프리캐스트 콘크리트구조물(PC)을 제작하는 단계(S Ⅱ); 상기 U형 강재거더(SG)의 상부플랜지(F)에 프리캐스트 콘크리트구조물(PC)을 거치하는 단계(S Ⅲ); 상기 프리캐스트 콘크리트구조물(PC)에 무수축 모르타르를 주입하여 U형 강재거더(SG)와 프리캐스트 콘크리트구조물(PC)을 합성하는 단계(S Ⅳ)로 이루어진다.As shown in these figures, the method for constructing a precast concrete structure for girder composite according to the present invention comprises the steps of: (S I) preparing a U-shaped steel girder SG; A concrete structure 10 having a predetermined shape; A concave groove 20 formed at a lower portion of the concrete structure 10 in a rectangular shape in a longitudinal direction; A horizontal shear connector 50 disposed laterally at regular intervals in the concave groove 20 of the concrete structure 10; A vertical shear connector 30 disposed at regular intervals on the upper surface of the concrete structure 10; (S II) of a precast concrete structure (PC) composed of a mortar injection port (40) formed at predetermined intervals along the longitudinal direction of the concrete structure (10); (SIII) of placing a precast concrete structure (PC) on the upper flange (F) of the U-shaped steel girder (SG); (SIV) of injecting non-shrinkage mortar into the precast concrete structure PC to synthesize the U-shaped steel girder SG and the precast concrete structure PC.

즉, 본 발명에 따른 거더합성용 프리캐스트 콘크리트구조물 시공방법은 U형 강재거더(SG)를 제작하고, 상기 U형 강재거더(SG)의 상부플랜지 보강전용 콘크리트 케이션인 프리캐스트 콘크리트구조물(PC)을 제작한 후, 상기 U형 강재거더(SG)의 상부플랜지(F)에 프리캐스트 콘크리트구조물(PC)을 거치한 후, 상기 프리캐스트 콘크리트구조물(PC)에 형성된 모르타르주입구(40)에 무수축 모르타르를 주입하여 U형 강재거더(SG)와 프리캐스트 콘크리트구조물(PC)을 합성하는 것이다. That is, the method for constructing a pre-cast concrete structure for girder composite according to the present invention comprises the steps of: fabricating a U-shaped steel girder SG and forming a precast concrete structure PC as an upper flange reinforcing concrete of the U- A precast concrete structure PC is mounted on the upper flange F of the U-shaped steel girder SG and then a shrinkage-free concrete is poured into the mortar injection port 40 formed on the precast concrete structure PC. Mortar is injected to synthesize a U-shaped steel girder (SG) and a precast concrete structure (PC).

- 데크플레이트 겸용 상부플랜지 보강용 콘크리트 케이션 1- Deck plate combined upper flange reinforcement concrete 1

도 6은 본 발명에 따른 거더합성용 프리캐스트 콘크리트구조물의 데크플레이트 겸용 상부플랜지 보강용 콘크리트 케이션을 도시한 정면 사시도 1이고, 도 7은 본 발명에 따른 거더합성용 프리캐스트 콘크리트구조물의 데크플레이트 겸용 상부플랜지 보강용 콘크리트 케이션을 도시한 배면 사시도 1이며, 도 8은 본 발명에 따른 거더합성용 프리캐스트 콘크리트구조물의 데크플레이트 겸용 상부플랜지 보강용 콘크리트 케이션을 도시한 단면도 1이다.6 is a front perspective view 1 showing an upper flange reinforcing concrete structure serving as a deck plate of a pre-cast concrete structure for girder composing according to the present invention, FIG. 7 is a front elevation view showing the combination of a deck plate for a girder composing precast concrete structure according to the present invention FIG. 8 is a cross-sectional view 1 showing a concrete frame for reinforcing an upper flange serving as a deck plate of a pre-cast concrete structure for girder composite according to the present invention.

이들 도면에 도시된 바와 같이, 본 발명에 따른 거더합성용 프리캐스트 콘크리트구조물(PC)은 소정의 형상으로 이루어진 콘크리트구조물(10)과; 상기 콘크리트구조물(10)의 하부에 길이방향으로 오목한 사각형 형상으로 형성되는 오목홈(20)과; 상기 콘크리트구조물(10)의 오목홈(20) 내에 일정간격으로 가로로 배치되는 수평전단연결재(50)와; 상기 콘크리트구조물(10)의 상면에 일정간격으로 배치되는 수직전단연결재(30)와; 상기 콘크리트구조물(10)의 길이방향을 따라 일정한 간격으로 천공 형성되는 모르타르주입구(40)로 구성된다.As shown in these figures, the pre-cast concrete structure PC for girder composite according to the present invention comprises a concrete structure 10 having a predetermined shape; A concave groove 20 formed at a lower portion of the concrete structure 10 in a rectangular shape in a longitudinal direction; A horizontal shear connector 50 disposed laterally at regular intervals in the concave groove 20 of the concrete structure 10; A vertical shear connector 30 disposed at regular intervals on the upper surface of the concrete structure 10; And a mortar injection port 40 formed at predetermined intervals along the longitudinal direction of the concrete structure 10.

즉, 본 발명에 따른 거더합성용 프리캐스트 콘크리트구조물(PC)은 콘크리트구조물(10), 오목홈(20), 수직전단연결재(30), 모르타르주입구(40) 및 수평전단연결재(50)가 유기적으로 결합되어 이루어진 데크플레이트 겸용 상부플랜지 보강용 콘크리트 케이션이다.That is, the concrete precast concrete structure PC for girder composite according to the present invention is characterized in that the concrete structure 10, the concave groove 20, the vertical shear connector 30, the mortar injection port 40 and the horizontal shear connector 50 are organic And is an upper flange reinforcing concrete structure serving as a deck plate.

특히, 상기 데크플레이트 겸용 상부플랜지 보강용 콘크리트 케이션은 복수의 상부플랜지 보강전용 콘크리트케이션에 데크플레이트를 형성한 것이다.Especially, the upper flange reinforcing concrete deck plate combined with the deck plate is formed with a plurality of deck plates on the upper concrete flange reinforcing concrete.

여기서, 상기 콘크리트구조물(10)은 소정의 형상으로 이루어진 구조물로서, 상기 콘크리트구조물(10)의 폭은 상부는 넓고, 하부는 좁은 상광하협의 형상으로 형성된다.Here, the concrete structure 10 has a predetermined shape, and the width of the concrete structure 10 is wide in the upper part and narrow in the lower part.

또한, 상기 콘크리트구조물(10)은 좌우 대칭으로 구성된다.Also, the concrete structure 10 is configured to be symmetrical.

그리고 상기 오목홈(20)은 콘크리트구조물(10)의 하부에 길이방향으로 전 구간에 걸쳐서 오목한 사각형 형상으로 블록아웃된 부분이다.The concave groove 20 is a portion of the concrete structure 10 which is recessed in a rectangular shape over the entire length in the longitudinal direction.

또한, 상기 콘크리트구조물(10)의 오목홈(20) 내에 일정간격으로 가로로 배치되는 수평전단연결재(50)와; 상기 콘크리트구조물(10)의 상면에서 일정간격으로 배치되는 수직전단연결재(30)는 노출된 상태로 가로방향으로 배치된다.A horizontal shear connector 50 disposed laterally at regular intervals in the concave groove 20 of the concrete structure 10; The vertical shear connectors 30 arranged at regular intervals on the upper surface of the concrete structure 10 are arranged in the lateral direction in an exposed state.

특히, 상기 수직전단연결재(30)는 모르타르주입구(40)를 기준으로 좌우 대칭으로 형성된다.In particular, the vertical shear connectors 30 are symmetrically formed with respect to the mortar injection port 40.

또한, 상기 모르타르주입구(40)는 콘크리트구조물(10)의 길이방향을 따라 일정한 간격으로 천공 형성된다.The mortar injection ports 40 are formed at regular intervals along the longitudinal direction of the concrete structure 10.

즉, 본 발명에 따른 거더합성용 프리캐스트 콘크리트구조물(PC)은 강재거더(SG)의 상부플랜지(F)에 설치되는 데크플레이트와 콘크리트 케이션 부분이 일체로 구성된 프리캐스트 데크플레이트 겸용 상부플랜지 보강용 콘크리트 케이션으로, 강재거더(SG) 합성용 프리캐스트 콘크리트구조물(PC)이 합성되는 하단부가 길이방향으로 전 구간에 걸쳐서 오목하게 블록아웃된 오목홈(20)이 형성되고, 상기 프리캐스트 콘크리트구조물(PC)에 수직전단연결재(30)가 설치되며, 상기 프리캐스트 콘크리트구조물(PC)의 상, 하면으로 일정간격으로 모르타르주입구(40)가 관통 형성된 구조이다.That is, the pre-cast concrete structure PC for girder composite according to the present invention is used for reinforcing the upper flange which also serves as a pre-cast deck plate in which the deck plate and the concrete part provided on the upper flange F of the steel girder SG are integrally formed. A concave groove 20 is formed in which a lower end portion of the concrete pre-cast concrete structure PC for synthesizing a steel girder SG is synthesized, the concave groove 20 is concavedly formed in the longitudinal direction over the entire section, and the precast concrete structure PC is provided with a vertical shear connection member 30 and a mortar injection port 40 is formed at the upper and lower surfaces of the precast concrete structure PC at regular intervals.

상기한 바와 같은 구성으로 이루어진 본 발명에 따른 거더합성용 프리캐스트 콘크리트구조물(PC)은 강재거더(SG)의 상부플랜지(F)의 수직전단연결재(30)를 종래의 일반적인 방법과 같이 구성할 수 있으며, 상부플랜지(F) 상면에 거더합성용 프리캐스트 콘크리트구조물(PC)을 거치한 후에, 상기 프리캐스트 콘크리트구조물(PC)의 상면에 길이방향으로 일정간격으로 천공 형성된 모르타르주입구(40)에 모르타르를 주입하여 양생하면 강재거더(SG)와 프리캐스트 콘크리트구조물(PC)의 합성이 완료되므로 시공이 매우 간편한 구조이다.The pre-cast concrete structure PC for composing a girder according to the present invention having the above-described structure can be constructed in the same manner as a conventional general method by using the vertical shear connector 30 of the upper flange F of the steel girder SG And a mortar injection port 40 is formed in the upper surface of the precast concrete structure PC by drilling mortar at a predetermined interval in the longitudinal direction after the girder forming precast concrete structure PC is mounted on the upper surface of the upper flange F, (SG) and precast concrete structure (PC) are completed, it is very easy to construct.

또한, 강재거더(SG)의 상부플랜지(F)에 합성되는 프리캐스트 콘크리트구조물(PC)의 합성부분은 좌우대칭으로 구성할 수도 있음을 밝혀둔다.It is also noted that the composite portion of the precast concrete structure PC to be combined with the upper flange F of the steel girder SG may be configured to be bilaterally symmetrical.

- 데크플레이트 겸용 상부플랜지 보강용 콘크리트 케이션 1 U형 강재거더 적용- Deck plate combined upper flange reinforcing concrete 1 U-shaped steel girder

도 9는 본 발명에 따른 거더합성용 프리캐스트 콘크리트구조물의 데크플레이트 겸용 상부플랜지 보강용 콘크리트 케이션이 U형 강재거더에 적용된 상태를 도시한 사시도 1이고, 도 10은 본 발명에 따른 거더합성용 프리캐스트 콘크리트구조물의 데크플레이트 겸용 상부플랜지 보강용 콘크리트 케이션이 U형 강재거더에 적용된 상태를 도시한 단면도 1이다.FIG. 9 is a perspective view 1 showing a state where a concrete flange for reinforcing an upper flange serving as a deck plate of a precast concrete structure for girder composite according to the present invention is applied to a U-shaped steel girder, FIG. 10 is a perspective view 1 is a cross-sectional view showing a state in which a concrete flange for reinforcing an upper flange serving as a deck plate of a cast concrete structure is applied to a U-shaped steel girder.

이들 도면에 도시된 바와 같이, 본 발명에 따른 거더합성용 프리캐스트 콘크리트구조물 시공방법은 U형 강재거더(SG)를 제작하는 단계(S Ⅰ); 소정의 형상으로 이루어진 콘크리트구조물(10)과; 상기 콘크리트구조물(10)의 하부에 길이방향으로 오목한 사각형 형상으로 형성되는 오목홈(20)과; 상기 콘크리트구조물(10)의 오목홈(20) 내에 일정간격으로 가로로 배치되는 수평전단연결재(50)와; 상기 콘크리트구조물(10)의 상면에 일정간격으로 배치되는 수직전단연결재(30)와; 상기 콘크리트구조물(10)의 길이방향을 따라 일정한 간격으로 천공 형성되는 모르타르주입구(40)로 구성된 프리캐스트 콘크리트구조물(PC)을 제작하는 단계(S Ⅱ); 상기 U형 강재거더(SG)의 상부플랜지(F)에 프리캐스트 콘크리트구조물(PC)을 거치하는 단계(S Ⅲ); 상기 프리캐스트 콘크리트구조물(PC)에 무수축 모르타르를 주입하여 U형 강재거더(SG)와 프리캐스트 콘크리트구조물(PC)을 합성하는 단계(S Ⅳ)로 이루어진다.As shown in these figures, the method for constructing a precast concrete structure for girder composite according to the present invention comprises the steps of: (S I) preparing a U-shaped steel girder SG; A concrete structure 10 having a predetermined shape; A concave groove 20 formed at a lower portion of the concrete structure 10 in a rectangular shape in a longitudinal direction; A horizontal shear connector 50 disposed laterally at regular intervals in the concave groove 20 of the concrete structure 10; A vertical shear connector 30 disposed at regular intervals on the upper surface of the concrete structure 10; (S II) of a precast concrete structure (PC) composed of a mortar injection port (40) formed at predetermined intervals along the longitudinal direction of the concrete structure (10); (SIII) of placing a precast concrete structure (PC) on the upper flange (F) of the U-shaped steel girder (SG); (SIV) of injecting non-shrinkage mortar into the precast concrete structure PC to synthesize the U-shaped steel girder SG and the precast concrete structure PC.

즉, 본 발명에 따른 거더합성용 프리캐스트 콘크리트구조물 시공방법은 U형 강재거더(SG)를 제작하고, 상기 U형 강재거더(SG)의 데크플레이트 겸용 상부플랜지 보강용 콘크리트 케이션인 거더합성용 프리캐스트 콘크리트구조물(PC)을 제작한 후, 상기 U형 강재거더(SG)의 상부플랜지(F)에 거더합성용 프리캐스트 콘크리트구조물(PC)을 거치한 후, 상기 거더합성용 프리캐스트 콘크리트구조물(PC)에 형성된 모르타르주입구(40)에 무수축 모르타르를 주입하여 U형 강재거더(SG)와 거더합성용 프리캐스트 콘크리트구조물(PC)을 합성하는 것이다. That is, the method for constructing a pre-cast concrete structure for girder composite according to the present invention includes the steps of fabricating a U-shaped steel girder (SG), and forming a girder composite for a deck plate of the U-shaped steel girder (SG) After the cast concrete structure PC is manufactured, a pre-cast concrete structure PC for girder synthesis is mounted on the upper flange F of the U-shaped steel girder SG and then the precast concrete structure for girder composition PC), a non-shrinkage mortar is injected into the mortar injection port 40 to synthesize a U-shaped steel girder SG and a precast concrete structure PC for girder synthesis.

- 상부플랜지 보강전용 콘크리트 케이션 2- Concrete Case 2 for upper flange reinforcement only

도 11은 본 발명에 따른 거더합성용 프리캐스트 콘크리트구조물의 상부플랜지 보강전용 콘크리트 케이션을 도시한 정면 사시도 2이고, 도 12는 본 발명에 따른 거더합성용 프리캐스트 콘크리트구조물의 상부플랜지 보강전용 콘크리트 케이션을 도시한 배면 사시도 2이며, 도 13은 본 발명에 따른 거더합성용 프리캐스트 콘크리트구조물의 상부플랜지 보강전용 콘크리트 케이션을 도시한 단면도 2이다.FIG. 11 is a front perspective view 2 showing a concrete concrete for an upper flange reinforcement of a girder composing precast concrete structure according to the present invention, and FIG. 12 is a front perspective view showing a concrete structure for an upper flange reinforcement of a girder composing concrete according to the present invention. And Fig. 13 is a cross-sectional view 2 showing a concrete concrete for an upper flange reinforcement of a precast concrete structure for girder composite according to the present invention.

이들 도면에 도시된 바와 같이, 본 발명에 따른 거더합성용 프리캐스트 콘크리트구조물(PC)은 소정의 형상으로 이루어진 콘크리트구조물(10)과; 상기 콘크리트구조물(10)의 하부에 길이방향으로 오목한 사각형 형상으로 형성되는 오목홈(20)과; 상기 콘크리트구조물(10)의 오목홈(20) 내에 일정간격으로 가로로 배치되는 수평전단연결재(50)와; 상기 콘크리트구조물(10)의 상면에 일정간격으로 배치되는 수직전단연결재(30)와; 상기 콘크리트구조물(10)의 길이방향을 따라 일정한 간격으로 천공 형성되는 모르타르주입구(40)로 구성된다.As shown in these figures, the pre-cast concrete structure PC for girder composite according to the present invention comprises a concrete structure 10 having a predetermined shape; A concave groove 20 formed at a lower portion of the concrete structure 10 in a rectangular shape in a longitudinal direction; A horizontal shear connector 50 disposed laterally at regular intervals in the concave groove 20 of the concrete structure 10; A vertical shear connector 30 disposed at regular intervals on the upper surface of the concrete structure 10; And a mortar injection port 40 formed at predetermined intervals along the longitudinal direction of the concrete structure 10.

즉, 본 발명에 따른 거더합성용 프리캐스트 콘크리트구조물(PC)은 콘크리트구조물(10), 오목홈(20), 수직전단연결재(30), 모르타르주입구(40) 및 수평전단연결재(50)가 유기적으로 결합되어 이루어진 강재거더의 상부플랜지 보강전용 콘크리트 케이션이다.That is, the concrete precast concrete structure PC for girder composite according to the present invention is characterized in that the concrete structure 10, the concave groove 20, the vertical shear connector 30, the mortar injection port 40 and the horizontal shear connector 50 are organic Which is an upper flange reinforcement concrete specimen of a steel girder.

여기서, 상기 콘크리트구조물(10)은 소정의 형상으로 이루어진 구조물로서, 상기 콘크리트구조물(10)의 폭은 상부는 넓고, 하부는 좁은 상광하협의 형상으로 형성된다.Here, the concrete structure 10 has a predetermined shape, and the width of the concrete structure 10 is wide in the upper part and narrow in the lower part.

또한, 상기 콘크리트구조물(10)은 좌우 비대칭으로 구성된다.Also, the concrete structure 10 is configured asymmetrically.

그리고 상기 오목홈(20)은 콘크리트구조물(10)의 하부에 길이방향으로 전 구간에 걸쳐서 오목한 사각형 형상으로 블록아웃된 부분이다.The concave groove 20 is a portion of the concrete structure 10 which is recessed in a rectangular shape over the entire length in the longitudinal direction.

또한, 상기 콘크리트구조물(10)의 오목홈(20) 내에 일정 간격으로 가로로 배치되는 수평전단연결재(50)와; 상기 콘크리트구조물(10)의 상면에서 일정간격으로 배치되는 수직전단연결재(30)는 노출된 상태로 가로방향으로 배치된다.A horizontal shear connector 50 disposed laterally at regular intervals in the concave groove 20 of the concrete structure 10; The vertical shear connectors 30 arranged at regular intervals on the upper surface of the concrete structure 10 are arranged in the lateral direction in an exposed state.

특히, 상기 수직전단연결재(30)는 모르타르주입구(40)를 기준으로 좌우 대칭으로 형성된다.In particular, the vertical shear connectors 30 are symmetrically formed with respect to the mortar injection port 40.

또한, 상기 모르타르주입구(40)는 콘크리트구조물(10)의 길이방향을 따라 일정한 간격으로 천공 형성된다.The mortar injection ports 40 are formed at regular intervals along the longitudinal direction of the concrete structure 10.

즉, 본 발명에 따른 거더합성용 프리캐스트 콘크리트구조물(PC)은 강재거더의 상부플랜지 보강전용 콘크리트 케이션으로, 강재거더(SG)의 상부플랜지(F)와 합성되는 거더합성용 프리캐스트 콘크리트구조물(PC)이 합성되는 하단부가 길이방향으로 전 구간에 걸쳐서 오목하게 블록아웃된 오목홈(20)이 형성되고, 상기 거더합성용 프리캐스트 콘크리트구조물(PC)에 수직전단연결재(30)가 설치되며, 상기 거더합성용 프리캐스트 콘크리트구조물(PC)의 상, 하면으로 일정간격으로 모르타르주입구(40)가 관통 형성된 구조이다.That is, the pre-cast concrete structure PC for girder composite according to the present invention is a concrete structure for reinforcing the upper flange of the steel girder, and is a pre-cast concrete structure for girder synthesis PC) is formed in a concave groove 20 in which the concave grooves 20 are concaved out in the longitudinal direction over the entire section, and a vertical shear connector 30 is installed in the precast concrete structure PC for forming a girder, And a mortar injection port 40 is formed at the upper and lower surfaces of the pre-cast concrete structure PC for girder synthesis at regular intervals.

상기한 바와 같은 구성으로 이루어진 본 발명에 따른 거더합성용 프리캐스트 콘크리트구조물(PC)은 강재거더(SG)의 상부플랜지(F)의 수직전단연결재(30)를 종래의 일반적인 방법과 같이 구성할 수 있으며, 상부플랜지(F) 상면에 거더합성용 프리캐스트 콘크리트구조물(PC)을 거치한 후에, 상기 거더합성용 프리캐스트 콘크리트구조물(PC)의 상면에 길이방향으로 일정간격으로 천공 형성된 모르타르주입구(40)에 모르타르를 주입하여 양생하면 강재거더(SG)와 거더합성용 프리캐스트 콘크리트구조물(PC)의 합성이 완료되므로 시공이 매우 간편한 구조이다.The pre-cast concrete structure PC for composing a girder according to the present invention having the above-described structure can be constructed in the same manner as a conventional general method by using the vertical shear connector 30 of the upper flange F of the steel girder SG And a mortar injection port 40 (hereinafter referred to as " 40 ") is formed on the upper surface of the girder-forming precast concrete structure PC at predetermined intervals in the longitudinal direction after the precast concrete structure PC for girder- ) Is cured by injecting mortar into concrete, construction of steel girder (SG) and pre-cast concrete structure (PC) for girder synthesis is completed and construction is very easy.

또한, 강재거더(SG)의 상부플랜지(F)에 합성되는 거더합성용 프리캐스트 콘크리트구조물(PC)의 합성부분은 좌우 비대칭으로 구성할 수도 있음을 밝혀둔다.It is also noted that the composite portion of the pre-cast concrete structure PC for composing the girder composing the upper flange F of the steel girder SG can be configured asymmetrically.

- 상부플랜지 보강전용 콘크리트 케이션 2 U형 강재거더 적용- Concrete frame for upper flange reinforcement 2 U-shaped steel girder

도 14는 본 발명에 따른 거더합성용 프리캐스트 콘크리트구조물의 상부플랜지 보강전용 콘크리트 케이션이 U형 강재거더에 적용된 상태를 도시한 사시도 2이고, 도 15는 본 발명에 따른 거더합성용 프리캐스트 콘크리트구조물의 상부플랜지 보강전용 콘크리트 케이션이 U형 강재거더에 적용된 상태를 도시한 단면도 2이다.FIG. 14 is a perspective view 2 showing a state in which a concrete structure for only upper flange reinforcement of a pre-cast concrete structure for girder composing according to the present invention is applied to a U-shaped steel girder, FIG. 15 is a perspective view of a pre- Sectional view showing a state in which the upper flange-reinforced concrete casing of the U-shaped steel girder is applied to the U-shaped steel girder.

이들 도면에 도시된 바와 같이, 본 발명에 따른 거더합성용 프리캐스트 콘크리트구조물 시공방법은 U형 강재거더(SG)를 제작하는 단계(S Ⅰ); 소정의 형상으로 이루어진 콘크리트구조물(10)과; 상기 콘크리트구조물(10)의 하부에 길이방향으로 오목한 사각형 형상으로 형성되는 오목홈(20)과; 상기 콘크리트구조물(10)의 오목홈(20) 내에 일정간격으로 가로로 배치되는 수평전단연결재(50)와; 상기 콘크리트구조물(10)의 상면에 일정간격으로 배치되는 수직전단연결재(30)와; 상기 콘크리트구조물(10)의 길이방향을 따라 일정한 간격으로 천공 형성되는 모르타르주입구(40)로 구성된 프리캐스트 콘크리트구조물(PC)을 제작하는 단계(S Ⅱ); 상기 U형 강재거더(SG)의 상부플랜지(F)에 프리캐스트 콘크리트구조물(PC)을 거치하는 단계(S Ⅲ); 상기 프리캐스트 콘크리트구조물(PC)에 무수축 모르타르를 주입하여 U형 강재거더(SG)와 프리캐스트 콘크리트구조물(PC)을 합성하는 단계(S Ⅳ)로 이루어진다.As shown in these figures, the method for constructing a precast concrete structure for girder composite according to the present invention comprises the steps of: (S I) preparing a U-shaped steel girder SG; A concrete structure 10 having a predetermined shape; A concave groove 20 formed at a lower portion of the concrete structure 10 in a rectangular shape in a longitudinal direction; A horizontal shear connector 50 disposed laterally at regular intervals in the concave groove 20 of the concrete structure 10; A vertical shear connector 30 disposed at regular intervals on the upper surface of the concrete structure 10; (S II) of a precast concrete structure (PC) composed of a mortar injection port (40) formed at predetermined intervals along the longitudinal direction of the concrete structure (10); (SIII) of placing a precast concrete structure (PC) on the upper flange (F) of the U-shaped steel girder (SG); (SIV) of injecting non-shrinkage mortar into the precast concrete structure PC to synthesize the U-shaped steel girder SG and the precast concrete structure PC.

즉, 본 발명에 따른 거더합성용 프리캐스트 콘크리트구조물 시공방법은 U형 강재거더(SG)를 제작하고, 상기 U형 강재거더(SG)의 상부플랜지 보강전용 콘크리트 케이션인 거더합성용 프리캐스트 콘크리트구조물(PC)을 제작한 후, 상기 U형 강재거더(SG)의 상부플랜지(F)에 거더합성용 프리캐스트 콘크리트구조물(PC)을 거치한 후, 상기 거더합성용 프리캐스트 콘크리트구조물(PC)에 형성된 모르타르주입구(40)에 무수축 모르타르를 주입하여 U형 강재거더(SG)와 거더합성용 프리캐스트 콘크리트구조물(PC)을 합성하는 것이다. That is, the method for constructing a pre-cast concrete structure for girder composite according to the present invention comprises the steps of fabricating a U-shaped steel girder (SG), and forming a pre-cast concrete structure for girder synthesis (PC), a pre-cast concrete structure (PC) for girder synthesis is mounted on the upper flange F of the U-shaped steel girder SG, and then the pre-cast concrete structure PC Shrinkage mortar is injected into the formed mortar injection port 40 to synthesize a U-shaped steel girder SG and a precast concrete structure PC for girder synthesis.

- 데크플레이트 겸용 상부플랜지 보강용 콘크리트 케이션 2- Deck plate combined upper flange reinforcement concrete 2

도 16은 본 발명에 따른 거더합성용 프리캐스트 콘크리트구조물의 데크플레이트 겸용 상부플랜지 보강용 콘크리트 케이션을 도시한 정면 사시도 2이고, 도 17은 본 발명에 따른 거더합성용 프리캐스트 콘크리트구조물의 데크플레이트 겸용 상부플랜지 보강용 콘크리트 케이션을 도시한 배면 사시도 2이며, 도 18은 본 발명에 따른 거더합성용 프리캐스트 콘크리트구조물의 데크플레이트 겸용 상부플랜지 보강용 콘크리트 케이션을 도시한 단면도 2이다.FIG. 16 is a front perspective view 2 showing an upper flange reinforcing concrete structure serving as a deck plate for a girder composite pre-cast concrete structure according to the present invention, FIG. 17 is a front elevational view of a deck plate for a girder composite pre- FIG. 18 is a cross-sectional view 2 showing a concrete flange for reinforcing an upper flange serving as a deck plate for a girder composite pre-cast concrete structure according to the present invention.

이들 도면에 도시된 바와 같이, 본 발명에 따른 거더합성용 프리캐스트 콘크리트구조물(PC)은 소정의 형상으로 이루어진 콘크리트구조물(10)과; 상기 콘크리트구조물(10)의 하부에 길이방향으로 오목한 사각형 형상으로 형성되는 오목홈(20)과; 상기 콘크리트구조물(10)의 오목홈(20) 내에 일정간격으로 가로로 배치되는 수평전단연결재(50)와; 상기 콘크리트구조물(10)의 상면에 일정간격으로 배치되는 수직전단연결재(30)와; 상기 콘크리트구조물(10)의 길이방향을 따라 일정한 간격으로 천공 형성되는 모르타르주입구(40)로 구성된다.As shown in these figures, the pre-cast concrete structure PC for girder composite according to the present invention comprises a concrete structure 10 having a predetermined shape; A concave groove 20 formed at a lower portion of the concrete structure 10 in a rectangular shape in a longitudinal direction; A horizontal shear connector 50 disposed laterally at regular intervals in the concave groove 20 of the concrete structure 10; A vertical shear connector 30 disposed at regular intervals on the upper surface of the concrete structure 10; And a mortar injection port 40 formed at predetermined intervals along the longitudinal direction of the concrete structure 10.

즉, 본 발명에 따른 거더합성용 프리캐스트 콘크리트구조물(PC)은 콘크리트구조물(10), 오목홈(20), 수직전단연결재(30), 모르타르주입구(40) 및 수평전단연결재(50)가 유기적으로 결합되어 이루어진 데크플레이트 겸용 상부플랜지 보강용 콘크리트 케이션이다.That is, the concrete precast concrete structure PC for girder composite according to the present invention is characterized in that the concrete structure 10, the concave groove 20, the vertical shear connector 30, the mortar injection port 40 and the horizontal shear connector 50 are organic And is an upper flange reinforcing concrete structure serving as a deck plate.

특히, 상기 데크플레이트 겸용 상부플랜지 보강용 콘크리트 케이션은 복수의 상부플랜지 보강전용 콘크리트케이션에 데크플레이트를 형성한 것이다.Especially, the upper flange reinforcing concrete deck plate combined with the deck plate is formed with a plurality of deck plates on the upper concrete flange reinforcing concrete.

여기서, 상기 콘크리트구조물(10)은 소정의 형상으로 이루어진 구조물로서, 상기 콘크리트구조물(10)의 폭은 상부는 넓고, 하부는 좁은 상광하협의 형상 또는 사각형 형상으로 형성된다.Here, the concrete structure 10 has a predetermined shape, and the width of the concrete structure 10 is wide in the upper portion and narrow in the lower portion of the light-tight narrowing shape or rectangular shape.

또한, 상기 콘크리트구조물(10)은 좌우 비대칭으로 구성된다.Also, the concrete structure 10 is configured asymmetrically.

그리고 상기 오목홈(20)은 콘크리트구조물(10)의 하부에 길이방향으로 전 구간에 걸쳐서 오목한 사각형 형상으로 블록아웃된 부분이다.The concave groove 20 is a portion of the concrete structure 10 which is recessed in a rectangular shape over the entire length in the longitudinal direction.

또한, 상기 콘크리트구조물(10)의 오목홈(20) 내에 일정간격으로 가로로 배치되는 수평전단연결재(50)와; 상기 콘크리트구조물(10)의 상면에서 일정간격으로 배치되는 수직전단연결재(30)는 노출된 상태로 가로방향으로 배치된다.A horizontal shear connector 50 disposed laterally at regular intervals in the concave groove 20 of the concrete structure 10; The vertical shear connectors 30 arranged at regular intervals on the upper surface of the concrete structure 10 are arranged in the lateral direction in an exposed state.

특히, 상기 수직전단연결재(30)는 모르타르주입구(40)를 기준으로 좌우 대칭으로 형성된다.In particular, the vertical shear connectors 30 are symmetrically formed with respect to the mortar injection port 40.

또한, 상기 모르타르주입구(40)는 콘크리트구조물(10)의 길이방향을 따라 일정한 간격으로 천공 형성된다.The mortar injection ports 40 are formed at regular intervals along the longitudinal direction of the concrete structure 10.

즉, 본 발명에 따른 거더합성용 프리캐스트 콘크리트구조물(PC)은 강재거더(SG)의 상부플랜지(F)에 설치되는 데크플레이트와 콘크리트 케이션 부분이 일체로 구성된 프리캐스트 데크플레이트 겸용 상부플랜지 보강용 콘크리트 케이션으로, 강재거더(SG)의 상부플랜지(F)와 합성되는 거더합성용 프리캐스트 콘크리트구조물(PC)이 합성되는 하단부가 길이방향으로 전 구간에 걸쳐서 오목하게 블록아웃된 오목홈(20)이 형성되고, 상기 거더합성용 프리캐스트 콘크리트구조물(PC)에 수직전단연결재(30)가 설치되며, 상기 거더합성용 프리캐스트 콘크리트구조물(PC)의 상, 하면으로 일정간격으로 모르타르주입구(40)가 관통 형성된 구조이다.That is, the pre-cast concrete structure PC for girder composite according to the present invention is used for reinforcing the upper flange which also serves as a pre-cast deck plate in which the deck plate and the concrete part provided on the upper flange F of the steel girder SG are integrally formed. The lower end portion of the concrete composite structure for synthesizing the girder-composing precast concrete structure (PC) synthesized with the upper flange F of the steel girder SG is divided into concave grooves 20, A vertical shear connector 30 is installed on the girder composing precast concrete structure PC and a mortar injection port 40 is formed at the upper and lower surfaces of the girder composing precast concrete structure PC, .

상기한 바와 같은 구성으로 이루어진 본 발명에 따른 거더합성용 프리캐스트 콘크리트구조물(PC)은 강재거더(SG)의 상부플랜지(F)의 수직전단연결재(30)를 종래의 일반적인 방법과 같이 구성할 수 있으며, 상부플랜지(F) 상면에 거더합성용 프리캐스트 콘크리트구조물(PC)을 거치한 후에, 상기 거더합성용 프리캐스트 콘크리트구조물(PC)의 상면에 길이방향으로 일정간격으로 천공 형성된 모르타르주입구(40)에 모르타르를 주입하여 양생하면 강재거더(SG)와 거더합성용 프리캐스트 콘크리트구조물(PC)의 합성이 완료되므로 시공이 매우 간편한 구조이다.The pre-cast concrete structure PC for composing a girder according to the present invention having the above-described structure can be constructed in the same manner as a conventional general method by using the vertical shear connector 30 of the upper flange F of the steel girder SG And a mortar injection port 40 (hereinafter referred to as " 40 ") is formed on the upper surface of the girder-forming precast concrete structure PC at predetermined intervals in the longitudinal direction after the precast concrete structure PC for girder- ) Is cured by injecting mortar into concrete, construction of steel girder (SG) and pre-cast concrete structure (PC) for girder synthesis is completed and construction is very easy.

또한, 강재거더(SG)의 상부플랜지(F)에 합성되는 거더합성용 프리캐스트 콘크리트구조물(PC)의 합성부분은 좌우 비대칭으로 구성할 수도 있음을 밝혀둔다.It is also noted that the composite portion of the pre-cast concrete structure PC for composing the girder composing the upper flange F of the steel girder SG can be configured asymmetrically.

- 데크플레이트 겸용 상부플랜지 보강용 콘크리트 케이션 2 U형 강재거더 적용- Deck plate combined with upper flange reinforcement concrete 2 U-shaped steel girder

도 19는 본 발명에 따른 거더합성용 프리캐스트 콘크리트구조물의 데크플레이트 겸용 상부플랜지 보강용 콘크리트 케이션이 U형 강재거더에 적용된 상태를 도시한 사시도 2이고, 도 20은 본 발명에 따른 거더합성용 프리캐스트 콘크리트구조물의 데크플레이트 겸용 상부플랜지 보강용 콘크리트 케이션이 U형 강재거더에 적용된 상태를 도시한 단면도 2이다.Fig. 19 is a perspective view 2 showing a state where a concrete flange for reinforcing upper flange serving as a deck plate of a precast concrete structure for girder composing according to the present invention is applied to a U-shaped steel girder, Fig. 20 is a perspective view 2 is a cross-sectional view showing a state in which a concrete flange for reinforcing an upper flange serving as a deck plate of a cast concrete structure is applied to a U-shaped steel girder.

이들 도면에 도시된 바와 같이, 본 발명에 따른 거더합성용 프리캐스트 콘크리트구조물 시공방법은 U형 강재거더(SG)를 제작하는 단계(S Ⅰ); 소정의 형상으로 이루어진 콘크리트구조물(10)과; 상기 콘크리트구조물(10)의 하부에 길이방향으로 오목한 사각형 형상으로 형성되는 오목홈(20)과; 상기 콘크리트구조물(10)의 오목홈(20) 내에 일정간격으로 가로로 배치되는 수평전단연결재(50)와; 상기 콘크리트구조물(10)의 상면에 일정간격으로 배치되는 수직전단연결재(30)와; 상기 콘크리트구조물(10)의 길이방향을 따라 일정한 간격으로 천공 형성되는 모르타르주입구(40)로 구성된 프리캐스트 콘크리트구조물(PC)을 제작하는 단계(S Ⅱ); 상기 U형 강재거더(SG)의 상부플랜지(F)에 프리캐스트 콘크리트구조물(PC)을 거치하는 단계(S Ⅲ); 상기 프리캐스트 콘크리트구조물(PC)에 무수축 모르타르를 주입하여 U형 강재거더(SG)와 프리캐스트 콘크리트구조물(PC)을 합성하는 단계(S Ⅳ)로 이루어진다.As shown in these figures, the method for constructing a precast concrete structure for girder composite according to the present invention comprises the steps of: (S I) preparing a U-shaped steel girder SG; A concrete structure 10 having a predetermined shape; A concave groove 20 formed at a lower portion of the concrete structure 10 in a rectangular shape in a longitudinal direction; A horizontal shear connector 50 disposed laterally at regular intervals in the concave groove 20 of the concrete structure 10; A vertical shear connector 30 disposed at regular intervals on the upper surface of the concrete structure 10; (S II) of a precast concrete structure (PC) composed of a mortar injection port (40) formed at predetermined intervals along the longitudinal direction of the concrete structure (10); (SIII) of placing a precast concrete structure (PC) on the upper flange (F) of the U-shaped steel girder (SG); (SIV) of injecting non-shrinkage mortar into the precast concrete structure PC to synthesize the U-shaped steel girder SG and the precast concrete structure PC.

즉, 본 발명에 따른 거더합성용 프리캐스트 콘크리트구조물 시공방법은 U형 강재거더(SG)를 제작하고, 상기 U형 강재거더(SG)의 데크플레이트 겸용 상부플랜지 보강용 콘크리트 케이션인 거더합성용 프리캐스트 콘크리트구조물(PC)을 제작한 후, 상기 U형 강재거더(SG)의 상부플랜지(F)에 거더합성용 프리캐스트 콘크리트구조물(PC)을 거치한 후, 상기 거더합성용 프리캐스트 콘크리트구조물(PC)에 형성된 모르타르주입구(40)에 무수축 모르타르를 주입하여 U형 강재거더(SG)와 거더합성용 프리캐스트 콘크리트구조물(PC)을 합성하는 것이다. That is, the method for constructing a pre-cast concrete structure for girder composite according to the present invention includes the steps of fabricating a U-shaped steel girder (SG), and forming a girder composite for a deck plate of the U-shaped steel girder (SG) After the cast concrete structure PC is manufactured, a pre-cast concrete structure PC for girder synthesis is mounted on the upper flange F of the U-shaped steel girder SG and then the precast concrete structure for girder composition PC), a non-shrinkage mortar is injected into the mortar injection port 40 to synthesize a U-shaped steel girder SG and a precast concrete structure PC for girder synthesis.

- 프리캐스트 슬래브- precast slab

도 21은 본 발명에 따른 거더합성용 프리캐스트 콘크리트구조물의 프리캐스트 슬래브를 도시한 정면 사시도이고, 도 22는 본 발명에 따른 거더합성용 프리캐스트 콘크리트구조물의 프리캐스트 슬래브를 도시한 배면 사시도이며, 도 23은 본 발명에 따른 거더합성용 프리캐스트 콘크리트구조물의 프리캐스트 슬래브를 도시한 단면도이다.FIG. 21 is a front perspective view showing a precast slab of a pre-cast concrete structure for girder composing according to the present invention, FIG. 22 is a rear perspective view showing a pre-cast slab of a pre-cast concrete structure for girder composite according to the present invention, 23 is a cross-sectional view showing a precast slab of a precast concrete structure for girder composite according to the present invention.

이들 도면에 도시된 바와 같이, 본 발명에 따른 거더합성용 프리캐스트 콘크리트구조물(PC)은 소정의 형상으로 이루어진 콘크리트구조물(10)과; 상기 콘크리트구조물(10)의 하부에 길이방향으로 오목한 사각형 형상으로 형성되는 오목홈(20)과; 상기 콘크리트구조물(10)의 오목홈(20) 내에 일정간격으로 가로로 배치되는 수평전단연결재(50)와; 상기 콘크리트구조물(10)의 상면에 일정간격으로 배치되는 수직전단연결재(30)와; 상기 콘크리트구조물(10)의 길이방향을 따라 일정한 간격으로 천공 형성되는 모르타르주입구(40)로 구성된다.As shown in these figures, the pre-cast concrete structure PC for girder composite according to the present invention comprises a concrete structure 10 having a predetermined shape; A concave groove 20 formed at a lower portion of the concrete structure 10 in a rectangular shape in a longitudinal direction; A horizontal shear connector 50 disposed laterally at regular intervals in the concave groove 20 of the concrete structure 10; A vertical shear connector 30 disposed at regular intervals on the upper surface of the concrete structure 10; And a mortar injection port 40 formed at predetermined intervals along the longitudinal direction of the concrete structure 10.

즉, 본 발명에 따른 거더합성용 프리캐스트 콘크리트구조물(PC)은 콘크리트구조물(10), 오목홈(20), 수직전단연결재(30), 모르타르주입구(40) 및 수평전단연결재(50)가 유기적으로 결합되어 이루어진 프리캐스트 슬래브이다.That is, the concrete precast concrete structure PC for girder composite according to the present invention is characterized in that the concrete structure 10, the concave groove 20, the vertical shear connector 30, the mortar injection port 40 and the horizontal shear connector 50 are organic And the pre-cast slab is combined with the pre-cast slab.

여기서, 상기 콘크리트구조물(10)은 소정의 형상으로 이루어진 구조물로서, 상기 콘크리트구조물(10)의 폭은 상부와 하부가 동일한 형상이다.Here, the concrete structure 10 has a predetermined shape, and the width of the concrete structure 10 has the same shape in the upper part and the lower part.

또한, 상기 콘크리트구조물(10)은 좌우 대칭으로 구성된다.Also, the concrete structure 10 is configured to be symmetrical.

그리고 상기 오목홈(20)은 콘크리트구조물(10)의 하부에 길이방향으로 전 구간에 걸쳐서 오목한 사각형 형상으로 블록아웃된 부분이다.The concave groove 20 is a portion of the concrete structure 10 which is recessed in a rectangular shape over the entire length in the longitudinal direction.

또한, 상기 콘크리트구조물(10)의 오목홈(20) 내에 일정간격으로 가로로 배치되는 수평전단연결재(50)와; 상기 콘크리트구조물(10)의 상면에서 일정간격으로 배치되는 수직전단연결재(30)는 노출된 상태로 가로방향으로 배치된다.A horizontal shear connector 50 disposed laterally at regular intervals in the concave groove 20 of the concrete structure 10; The vertical shear connectors 30 arranged at regular intervals on the upper surface of the concrete structure 10 are arranged in the lateral direction in an exposed state.

특히, 상기 수직전단연결재(30)는 모르타르주입구(40)를 기준으로 좌우 대칭으로 형성된다.In particular, the vertical shear connectors 30 are symmetrically formed with respect to the mortar injection port 40.

또한, 상기 모르타르주입구(40)는 콘크리트구조물(10)의 길이방향을 따라 일정한 간격으로 천공 형성된다.The mortar injection ports 40 are formed at regular intervals along the longitudinal direction of the concrete structure 10.

즉, 본 발명에 따른 거더합성용 프리캐스트 콘크리트구조물(PC)은 프리캐스트 슬래브로 강재거더(SG)의 상부플랜지(F)와 합성되는 거더합성용 프리캐스트 콘크리트구조물(PC)이 합성되는 하단부가 길이방향으로 전 구간에 걸쳐서 오목하게 블록아웃된 오목홈(20)이 형성되고, 상기 거더합성용 프리캐스트 콘크리트구조물(PC)에 수직전단연결재(30)가 설치되며, 상기 거더합성용 프리캐스트 콘크리트구조물(PC)의 상, 하면으로 일정간격으로 모르타르주입구(40)가 관통 형성된 구조이다.That is, the precast concrete structure PC for girder composing according to the present invention is a precast concrete slab for synthesizing a girder according to the present invention, in which a lower end portion where a pre-cast concrete structure (PC) for composing a girder synthesized with an upper flange F of a steel girder A vertical shear connector 30 is installed on the girder-forming precast concrete structure PC, and the girder-forming precast concrete 30 is installed in the girder-forming precast concrete structure PC, And a mortar injection port 40 is formed through the upper and lower surfaces of the structure PC at regular intervals.

상기한 바와 같은 구성으로 이루어진 본 발명에 따른 거더합성용 프리캐스트 콘크리트구조물(PC)은 강재거더(SG)의 상부플랜지(F)의 수직전단연결재(30)를 종래의 일반적인 방법과 같이 구성할 수 있으며, 상부플랜지(F) 상면에 거더합성용 프리캐스트 콘크리트구조물(PC)을 거치한 후에, 상기 거더합성용 프리캐스트 콘크리트구조물(PC)의 상면에 길이방향으로 일정간격으로 천공 형성된 모르타르주입구(40)에 모르타르를 주입하여 양생하면 강재거더(SG)와 거더합성용 프리캐스트 콘크리트구조물(PC)의 합성이 완료되므로 시공이 매우 간편한 구조이다.The pre-cast concrete structure PC for composing a girder according to the present invention having the above-described structure can be constructed in the same manner as a conventional general method by using the vertical shear connector 30 of the upper flange F of the steel girder SG And a mortar injection port 40 (hereinafter referred to as " 40 ") is formed on the upper surface of the girder-forming precast concrete structure PC at predetermined intervals in the longitudinal direction after the precast concrete structure PC for girder- ) Is cured by injecting mortar into concrete, construction of steel girder (SG) and pre-cast concrete structure (PC) for girder synthesis is completed and construction is very easy.

또한, 강재거더(SG)의 상부플랜지(F)에 합성되는 거더합성용 프리캐스트 콘크리트구조물(PC)의 합성부분은 좌우대칭으로 구성할 수도 있음을 밝혀둔다.It is also noted that the composite part of the pre-cast concrete structure PC for composing the girder synthesized in the upper flange F of the steel girder SG can be configured symmetrically.

- 프리캐스트 슬래브 U형 강재거더 적용- Application of precast slab U-shaped steel girder

도 24는 본 발명에 따른 거더합성용 프리캐스트 콘크리트구조물의 프리캐스트 슬래브가 U형 강재거더에 적용된 상태를 도시한 사시도이고, 도 25는 본 발명에 따른 거더합성용 프리캐스트 콘크리트구조물의 프리캐스트 슬래브가 U형 강재거더에 적용된 상태를 도시한 단면도이다.FIG. 24 is a perspective view showing a state where a precast concrete slab of a pre-cast concrete structure for girder composing according to the present invention is applied to a U-shaped steel girder, FIG. 25 is a perspective view showing a precast concrete slab Is a sectional view showing a state in which the U-shaped steel girder is applied.

이들 도면에 도시된 바와 같이, 본 발명에 따른 거더합성용 프리캐스트 콘크리트구조물 시공방법은 U형 강재거더(SG)를 제작하는 단계(S Ⅰ); 소정의 형상으로 이루어진 콘크리트구조물(10)과; 상기 콘크리트구조물(10)의 하부에 길이방향으로 오목한 사각형 형상으로 형성되는 오목홈(20)과; 상기 콘크리트구조물(10)의 오목홈(20) 내에 일정간격으로 가로로 배치되는 수평전단연결재(50)와; 상기 콘크리트구조물(10)의 상면에 일정간격으로 배치되는 수직전단연결재(30)와; 상기 콘크리트구조물(10)의 길이방향을 따라 일정한 간격으로 천공 형성되는 모르타르주입구(40)로 구성된 프리캐스트 콘크리트구조물(PC)을 제작하는 단계(S Ⅱ); 상기 U형 강재거더(SG)의 상부플랜지(F)에 프리캐스트 콘크리트구조물(PC)을 거치하는 단계(S Ⅲ); 상기 프리캐스트 콘크리트구조물(PC)에 무수축 모르타르를 주입하여 U형 강재거더(SG)와 프리캐스트 콘크리트구조물(PC)을 합성하는 단계(S Ⅳ)로 이루어진다.As shown in these figures, the method for constructing a precast concrete structure for girder composite according to the present invention comprises the steps of: (S I) preparing a U-shaped steel girder SG; A concrete structure 10 having a predetermined shape; A concave groove 20 formed at a lower portion of the concrete structure 10 in a rectangular shape in a longitudinal direction; A horizontal shear connector 50 disposed laterally at regular intervals in the concave groove 20 of the concrete structure 10; A vertical shear connector 30 disposed at regular intervals on the upper surface of the concrete structure 10; (S II) of a precast concrete structure (PC) composed of a mortar injection port (40) formed at predetermined intervals along the longitudinal direction of the concrete structure (10); (SIII) of placing a precast concrete structure (PC) on the upper flange (F) of the U-shaped steel girder (SG); (SIV) of injecting non-shrinkage mortar into the precast concrete structure PC to synthesize the U-shaped steel girder SG and the precast concrete structure PC.

즉, 본 발명에 따른 거더합성용 프리캐스트 콘크리트구조물 시공방법은 U형 강재거더(SG)를 제작하고, 상기 U형 강재거더(SG)의 상부플랜지(F)에 프리캐스트 슬래브인 거더합성용 프리캐스트 콘크리트구조물(PC)을 제작한 후, 상기 U형 강재거더(SG)의 상부플랜지(F)에 거더합성용 프리캐스트 콘크리트구조물(PC)을 거치한 후, 상기 거더합성용 프리캐스트 콘크리트구조물(PC)에 형성된 모르타르주입구(40)에 무수축 모르타르를 주입하여 U형 강재거더(SG)와 거더합성용 프리캐스트 콘크리트구조물(PC)을 합성하는 것이다. That is, the method for constructing a pre-cast concrete structure for girder composite according to the present invention comprises the steps of fabricating a U-shaped steel girder (SG), attaching a pre-cast slab to the upper flange (F) of the U- After the cast concrete structure PC is manufactured, a pre-cast concrete structure PC for girder synthesis is mounted on the upper flange F of the U-shaped steel girder SG and then the precast concrete structure for girder composition PC), a non-shrinkage mortar is injected into the mortar injection port 40 to synthesize a U-shaped steel girder SG and a precast concrete structure PC for girder synthesis.

[실시예 2][Example 2]

- 상부플랜지 보강전용 콘크리트 케이션 1 I형 강재거더 적용- Concrete frame for upper flange reinforcement 1 Application of I type steel girder

도 26은 본 발명에 따른 거더합성용 프리캐스트 콘크리트구조물의 상부플랜지 보강전용 콘크리트 케이션이 I형 강재거더에 적용된 상태를 도시한 사시도 1이고, 도 27은 본 발명에 따른 거더합성용 프리캐스트 콘크리트구조물의 상부플랜지 보강전용 콘크리트 케이션이 I형 강재거더에 적용된 상태를 도시한 단면도 1이다.FIG. 26 is a perspective view 1 showing a state in which an upper flange-reinforced concrete structure of a pre-cast concrete structure for girder composing according to the present invention is applied to an I-shaped steel girder, FIG. 27 is a perspective view of a pre-cast concrete structure for girder composite according to the present invention 1 is a cross-sectional view showing a state in which an upper flange reinforcing concrete casing is applied to an I-shaped steel girder.

이들 도면에 도시된 바와 같이, 본 발명에 따른 거더합성용 프리캐스트 콘크리트구조물 시공방법은 강재거더(SG)를 제작하는 단계(S Ⅰ); 소정의 형상으로 이루어진 콘크리트구조물(10)과; 상기 콘크리트구조물(10)의 하부에 길이방향으로 오목한 사각형 형상으로 형성되는 오목홈(20)과; 상기 콘크리트구조물(10)의 오목홈(20) 내에 일정간격으로 가로로 배치되는 수평전단연결재(50)와; 상기 콘크리트구조물(10)의 상면에 일정간격으로 배치되는 수직전단연결재(30)와; 상기 콘크리트구조물(10)의 길이방향을 따라 일정한 간격으로 천공 형성되는 모르타르주입구(40)로 구성된 프리캐스트 콘크리트구조물(PC)을 제작하는 단계(S Ⅱ); 상기 강재거더(SG)의 상부플랜지(F)에 프리캐스트 콘크리트구조물(PC)을 거치하는 단계(S Ⅲ); 상기 프리캐스트 콘크리트구조물(PC)에 무수축 모르타르를 주입하여 강재거더(SG)와 프리캐스트 콘크리트구조물(PC)을 합성하는 단계(S Ⅳ)로 이루어진다.As shown in these drawings, the method for constructing a precast concrete structure for girder composite according to the present invention comprises the steps of: (S I) preparing a steel girder SG; A concrete structure 10 having a predetermined shape; A concave groove 20 formed at a lower portion of the concrete structure 10 in a rectangular shape in a longitudinal direction; A horizontal shear connector 50 disposed laterally at regular intervals in the concave groove 20 of the concrete structure 10; A vertical shear connector 30 disposed at regular intervals on the upper surface of the concrete structure 10; (S II) of a precast concrete structure (PC) composed of a mortar injection port (40) formed at predetermined intervals along the longitudinal direction of the concrete structure (10); (S III) of mounting a precast concrete structure (PC) on the upper flange (F) of the steel girder (SG); Shrinkage mortar is injected into the precast concrete structure PC to synthesize a steel girder SG and a precast concrete structure PC.

즉, 본 발명에 따른 거더합성용 프리캐스트 콘크리트구조물 시공방법은 I형 강재거더(SG)를 제작하고, 상기 I형 강재거더(SG)의 상부플랜지 보강전용 콘크리트 케이션인 거더합성용 프리캐스트 콘크리트구조물(PC)을 제작한 후, 상기 강재거더(SG)의 상부플랜지(F)에 거더합성용 프리캐스트 콘크리트구조물(PC)을 거치한 후, 상기 거더합성용 프리캐스트 콘크리트구조물(PC)에 형성된 모르타르주입구(40)에 무수축 모르타르를 주입하여 강재거더(SG)와 거더합성용 프리캐스트 콘크리트구조물(PC)을 합성하는 것이다. That is, in the method of constructing a precast concrete structure for girder composite according to the present invention, an I-shaped steel girder (SG) is manufactured, and a precast concrete structure for girder synthesis, which is an upper flange- (PC) and then a girder-forming precast concrete structure (PC) is placed on the upper flange F of the steel girder SG, and then the mortar-forming precast concrete structure PC Shrinkage mortar is injected into the injection port 40 to synthesize a steel girder SG and a precast concrete structure PC for girder synthesis.

- 데크플레이트 겸용 상부플랜지 보강용 콘크리트 케이션 1 I형 강재거더 적용- Deck plate combined upper flange reinforcing concrete 1 I type steel girder

도 28은 본 발명에 따른 거더합성용 프리캐스트 콘크리트구조물의 데크플레이트 겸용 상부플랜지 보강용 콘크리트 케이션이 I형 강재거더에 적용된 상태를 도시한 사시도 1이고, 도 29는 본 발명에 따른 거더합성용 프리캐스트 콘크리트구조물의 데크플레이트 겸용 상부플랜지 보강용 콘크리트 케이션이 I형 강재거더에 적용된 상태를 도시한 단면도 1이다.Fig. 28 is a perspective view 1 showing a state in which an upper flange reinforcing concrete deck plate combined with a precast concrete structure for girder composing according to the present invention is applied to an I-shaped steel girder, Fig. 29 is a perspective view showing a girder- 1 is a cross-sectional view showing a state in which an upper flange reinforcing concrete deck plate for a cast concrete structure is applied to an I-shaped steel girder.

이들 도면에 도시된 바와 같이, 본 발명에 따른 거더합성용 프리캐스트 콘크리트구조물 시공방법은 I형 강재거더(SG)를 제작하는 단계(S Ⅰ); 소정의 형상으로 이루어진 콘크리트구조물(10)과; 상기 콘크리트구조물(10)의 하부에 길이방향으로 오목한 사각형 형상으로 형성되는 오목홈(20)과; 상기 콘크리트구조물(10)의 오목홈(20) 내에 일정간격으로 가로로 배치되는 수평전단연결재(50)와; 상기 콘크리트구조물(10)의 상면에 일정간격으로 배치되는 수직전단연결재(30)와; 상기 콘크리트구조물(10)의 길이방향을 따라 일정한 간격으로 천공 형성되는 모르타르주입구(40)로 구성된 프리캐스트 콘크리트구조물(PC)을 제작하는 단계(S Ⅱ); 상기 I형 강재거더(SG)의 상부플랜지(F)에 프리캐스트 콘크리트구조물(PC)을 거치하는 단계(S Ⅲ); 상기 프리캐스트 콘크리트구조물(PC)에 무수축 모르타르를 주입하여 I형 강재거더(SG)와 프리캐스트 콘크리트구조물(PC)을 합성하는 단계(S Ⅳ)로 이루어진다.As shown in these drawings, a method of constructing a precast concrete structure for girder composite according to the present invention comprises the steps of: (I) forming an I-shaped steel girder SG; A concrete structure 10 having a predetermined shape; A concave groove 20 formed at a lower portion of the concrete structure 10 in a rectangular shape in a longitudinal direction; A horizontal shear connector 50 disposed laterally at regular intervals in the concave groove 20 of the concrete structure 10; A vertical shear connector 30 disposed at regular intervals on the upper surface of the concrete structure 10; (S II) of a precast concrete structure (PC) composed of a mortar injection port (40) formed at predetermined intervals along the longitudinal direction of the concrete structure (10); (S III) of mounting a precast concrete structure (PC) on the upper flange (F) of the I-beam steel girder (SG); (S IV) of injecting non-shrinkage mortar into the precast concrete structure PC to synthesize an I-shaped steel girder SG and a precast concrete structure PC.

즉, 본 발명에 따른 거더합성용 프리캐스트 콘크리트구조물 시공방법은 I형 강재거더(SG)를 제작하고, 상기 I형 강재거더(SG)의 데크플레이트 겸용 상부플랜지 보강용 콘크리트 케이션인 거더합성용 프리캐스트 콘크리트구조물(PC)을 제작한 후, 상기 I형 강재거더(SG)의 상부플랜지(F)에 거더합성용 프리캐스트 콘크리트구조물(PC)을 거치한 후, 상기 거더합성용 프리캐스트 콘크리트구조물(PC)에 형성된 모르타르주입구(40)에 무수축 모르타르를 주입하여 I형 강재거더(SG)와 거더합성용 프리캐스트 콘크리트구조물(PC)을 합성하는 것이다. That is, in the method of constructing a precast concrete structure for girder composite according to the present invention, an I-shaped steel girder (SG) is fabricated, and a girder composite for a deck plate of the I-shaped steel girder (SG) After the cast concrete structure PC is manufactured, a pre-cast concrete structure PC for girder synthesis is placed on the upper flange F of the I-shaped steel girder SG and then the precast concrete structure for girder synthesis Shrinkage mortar is injected into the mortar injection port 40 formed in the PC to form an I-shaped steel girder SG and a precast concrete structure PC for girder synthesis.

- 상부플랜지 보강전용 콘크리트 케이션 2 I형 강재거더 적용- Concrete frame for upper flange reinforcement 2 Application of I type steel girder

도 30은 본 발명에 따른 거더합성용 프리캐스트 콘크리트구조물의 상부플랜지 보강전용 콘크리트 케이션이 I형 강재거더에 적용된 상태를 도시한 사시도 2이고, 도 31은 본 발명에 따른 거더합성용 프리캐스트 콘크리트구조물의 상부플랜지 보강전용 콘크리트 케이션이 I형 강재거더에 적용된 상태를 도시한 단면도 2이다.FIG. 30 is a perspective view 2 showing a state in which a concrete structure for an upper flange reinforcement of a pre-cast concrete structure for girder composing according to the present invention is applied to an I-shaped steel girder, FIG. 31 is a perspective view of a pre- Sectional view showing a state in which the upper flange reinforcing concrete casing of the present invention is applied to the I-shaped steel girder.

이들 도면에 도시된 바와 같이, 본 발명에 따른 거더합성용 프리캐스트 콘크리트구조물 시공방법은 I형 강재거더(SG)를 제작하는 단계(S Ⅰ); 소정의 형상으로 이루어진 콘크리트구조물(10)과; 상기 콘크리트구조물(10)의 하부에 길이방향으로 오목한 사각형 형상으로 형성되는 오목홈(20)과; 상기 콘크리트구조물(10)의 오목홈(20) 내에 일정간격으로 가로로 배치되는 수평전단연결재(50)와; 상기 콘크리트구조물(10)의 상면에 일정간격으로 배치되는 수직전단연결재(30)와; 상기 콘크리트구조물(10)의 길이방향을 따라 일정한 간격으로 천공 형성되는 모르타르주입구(40)로 구성된 프리캐스트 콘크리트구조물(PC)을 제작하는 단계(S Ⅱ); 상기 I형 강재거더(SG)의 상부플랜지(F)에 프리캐스트 콘크리트구조물(PC)을 거치하는 단계(S Ⅲ); 상기 프리캐스트 콘크리트구조물(PC)에 무수축 모르타르를 주입하여 I형 강재거더(SG)와 프리캐스트 콘크리트구조물(PC)을 합성하는 단계(S Ⅳ)로 이루어진다.As shown in these drawings, a method of constructing a precast concrete structure for girder composite according to the present invention comprises the steps of: (I) forming an I-shaped steel girder SG; A concrete structure 10 having a predetermined shape; A concave groove 20 formed at a lower portion of the concrete structure 10 in a rectangular shape in a longitudinal direction; A horizontal shear connector 50 disposed laterally at regular intervals in the concave groove 20 of the concrete structure 10; A vertical shear connector 30 disposed at regular intervals on the upper surface of the concrete structure 10; (S II) of a precast concrete structure (PC) composed of a mortar injection port (40) formed at predetermined intervals along the longitudinal direction of the concrete structure (10); (S III) of mounting a precast concrete structure (PC) on the upper flange (F) of the I-beam steel girder (SG); (S IV) of injecting non-shrinkage mortar into the precast concrete structure PC to synthesize an I-shaped steel girder SG and a precast concrete structure PC.

즉, 본 발명에 따른 거더합성용 프리캐스트 콘크리트구조물 시공방법은 I형 강재거더(SG)를 제작하고, 상기 I형 강재거더(SG)의 상부플랜지 보강전용 콘크리트 케이션인 거더합성용 프리캐스트 콘크리트구조물(PC)을 제작한 후, 상기 I형 강재거더(SG)의 상부플랜지(F)에 거더합성용 프리캐스트 콘크리트구조물(PC)을 거치한 후, 상기 거더합성용 프리캐스트 콘크리트구조물(PC)에 형성된 모르타르주입구(40)에 무수축 모르타르를 주입하여 I형 강재거더(SG)와 거더합성용 프리캐스트 콘크리트구조물(PC)을 합성하는 것이다. That is, in the method of constructing a precast concrete structure for girder composite according to the present invention, an I-shaped steel girder (SG) is manufactured, and a precast concrete structure for girder synthesis, which is an upper flange- (PC), a pre-cast concrete structure (PC) for girder synthesis is placed on the upper flange (F) of the I-shaped steel girder (SG), and then the precast concrete structure Shrinkage mortar is injected into the formed mortar injection port 40 to synthesize an I-shaped steel girder SG and a precast concrete structure PC for girder synthesis.

- 데크플레이트 겸용 상부플랜지 보강용 콘크리트 케이션 2 I형 강재거더 적용- Deck plate combined upper flange reinforcing concrete 2 I type steel girder

도 32는 본 발명에 따른 거더합성용 프리캐스트 콘크리트구조물의 데크플레이트 겸용 상부플랜지 보강용 콘크리트 케이션이 I형 강재거더에 적용된 상태를 도시한 사시도 2이고, 도 33은 본 발명에 따른 거더합성용 프리캐스트 콘크리트구조물의 데크플레이트 겸용 상부플랜지 보강용 콘크리트 케이션이 I형 강재거더에 적용된 상태를 도시한 단면도 2이다.FIG. 32 is a perspective view 2 showing a state where a concrete flange for reinforcing upper flange serving as a deck plate of a precast concrete structure for girder composite according to the present invention is applied to an I-shaped steel girder, FIG. 33 is a perspective view 2 is a cross-sectional view showing a state in which a concrete flange for reinforcing an upper flange serving as a deck plate of a cast concrete structure is applied to an I-shaped steel girder.

이들 도면에 도시된 바와 같이, 본 발명에 따른 거더합성용 프리캐스트 콘크리트구조물 시공방법은 I형 강재거더(SG)를 제작하는 단계(S Ⅰ); 소정의 형상으로 이루어진 콘크리트구조물(10)과; 상기 콘크리트구조물(10)의 하부에 길이방향으로 오목한 사각형 형상으로 형성되는 오목홈(20)과; 상기 콘크리트구조물(10)의 오목홈(20) 내에 일정간격으로 가로로 배치되는 수평전단연결재(50)와; 상기 콘크리트구조물(10)의 상면에 일정간격으로 배치되는 수직전단연결재(30)와; 상기 콘크리트구조물(10)의 길이방향을 따라 일정한 간격으로 천공 형성되는 모르타르주입구(40)로 구성된 프리캐스트 콘크리트구조물(PC)을 제작하는 단계(S Ⅱ); 상기 I형 강재거더(SG)의 상부플랜지(F)에 프리캐스트 콘크리트구조물(PC)을 거치하는 단계(S Ⅲ); 상기 프리캐스트 콘크리트구조물(PC)에 무수축 모르타르를 주입하여 I형 강재거더(SG)와 프리캐스트 콘크리트구조물(PC)을 합성하는 단계(S Ⅳ)로 이루어진다.As shown in these drawings, a method of constructing a precast concrete structure for girder composite according to the present invention comprises the steps of: (I) forming an I-shaped steel girder SG; A concrete structure 10 having a predetermined shape; A concave groove 20 formed at a lower portion of the concrete structure 10 in a rectangular shape in a longitudinal direction; A horizontal shear connector 50 disposed laterally at regular intervals in the concave groove 20 of the concrete structure 10; A vertical shear connector 30 disposed at regular intervals on the upper surface of the concrete structure 10; (S II) of a precast concrete structure (PC) composed of a mortar injection port (40) formed at predetermined intervals along the longitudinal direction of the concrete structure (10); (S III) of mounting a precast concrete structure (PC) on the upper flange (F) of the I-beam steel girder (SG); (S IV) of injecting non-shrinkage mortar into the precast concrete structure PC to synthesize an I-shaped steel girder SG and a precast concrete structure PC.

즉, 본 발명에 따른 거더합성용 프리캐스트 콘크리트구조물 시공방법은 I형 강재거더(SG)를 제작하고, 상기 I형 강재거더(SG)의 데크플레이트 겸용 상부플랜지 보강용 콘크리트 케이션인 거더합성용 프리캐스트 콘크리트구조물(PC)을 제작한 후, 상기 I형 강재거더(SG)의 상부플랜지(F)에 거더합성용 프리캐스트 콘크리트구조물(PC)을 거치한 후, 상기 거더합성용 프리캐스트 콘크리트구조물(PC)에 형성된 모르타르주입구(40)에 무수축 모르타르를 주입하여 I형 강재거더(SG)와 거더합성용 프리캐스트 콘크리트구조물(PC)을 합성하는 것이다. That is, in the method of constructing a precast concrete structure for girder composite according to the present invention, an I-shaped steel girder (SG) is fabricated, and a girder composite for a deck plate of the I-shaped steel girder (SG) After the cast concrete structure PC is manufactured, a pre-cast concrete structure PC for girder synthesis is placed on the upper flange F of the I-shaped steel girder SG and then the precast concrete structure for girder synthesis Shrinkage mortar is injected into the mortar injection port 40 formed in the PC to form an I-shaped steel girder SG and a precast concrete structure PC for girder synthesis.

- 프리캐스트 슬래브 U형 강재거더 적용- Application of precast slab U-shaped steel girder

도 34는 본 발명에 따른 거더합성용 프리캐스트 콘크리트구조물의 프리캐스트 슬래브가 I형 강재거더에 적용된 상태를 도시한 사시도이고, 도 35는 본 발명에 따른 거더합성용 프리캐스트 콘크리트구조물의 프리캐스트 슬래브가 I형 강재거더에 적용된 상태를 도시한 단면도이다. Fig. 34 is a perspective view showing a state where a precast slab of a pre-cast concrete structure for girder composite according to the present invention is applied to an I-shaped steel girder, Fig. 35 is a perspective view showing a precast slab Sectional view showing a state where the present invention is applied to an I-shaped steel girder.

이들 도면에 도시된 바와 같이, 본 발명에 따른 거더합성용 프리캐스트 콘크리트구조물 시공방법은 I형 강재거더(SG)를 제작하는 단계(S Ⅰ); 소정의 형상으로 이루어진 콘크리트구조물(10)과; 상기 콘크리트구조물(10)의 하부에 길이방향으로 오목한 사각형 형상으로 형성되는 오목홈(20)과; 상기 콘크리트구조물(10)의 오목홈(20) 내에 일정간격으로 가로로 배치되는 수평전단연결재(50)와; 상기 콘크리트구조물(10)의 상면에 일정간격으로 배치되는 수직전단연결재(30)와; 상기 콘크리트구조물(10)의 길이방향을 따라 일정한 간격으로 천공 형성되는 모르타르주입구(40)로 구성된 프리캐스트 콘크리트구조물(PC)을 제작하는 단계(S Ⅱ); 상기 I형 강재거더(SG)의 상부플랜지(F)에 프리캐스트 콘크리트구조물(PC)을 거치하는 단계(S Ⅲ); 상기 프리캐스트 콘크리트구조물(PC)에 무수축 모르타르를 주입하여 I형 강재거더(SG)와 프리캐스트 콘크리트구조물(PC)을 합성하는 단계(S Ⅳ)로 이루어진다.As shown in these drawings, a method of constructing a precast concrete structure for girder composite according to the present invention comprises the steps of: (I) forming an I-shaped steel girder SG; A concrete structure 10 having a predetermined shape; A concave groove 20 formed at a lower portion of the concrete structure 10 in a rectangular shape in a longitudinal direction; A horizontal shear connector 50 disposed laterally at regular intervals in the concave groove 20 of the concrete structure 10; A vertical shear connector 30 disposed at regular intervals on the upper surface of the concrete structure 10; (S II) of a precast concrete structure (PC) composed of a mortar injection port (40) formed at predetermined intervals along the longitudinal direction of the concrete structure (10); (S III) of mounting a precast concrete structure (PC) on the upper flange (F) of the I-beam steel girder (SG); (S IV) of injecting non-shrinkage mortar into the precast concrete structure PC to synthesize an I-shaped steel girder SG and a precast concrete structure PC.

즉, 본 발명에 따른 거더합성용 프리캐스트 콘크리트구조물 시공방법은 I형 강재거더(SG)를 제작하고, 상기 I형 강재거더(SG)의 상부플랜지(F)에 프리캐스트 슬래브인 거더합성용 프리캐스트 콘크리트구조물(PC)을 제작한 후, 상기 I형 강재거더(SG)의 상부플랜지(F)에 거더합성용 프리캐스트 콘크리트구조물(PC)을 거치한 후, 상기 거더합성용 프리캐스트 콘크리트구조물(PC)에 형성된 모르타르주입구(40)에 무수축 모르타르를 주입하여 I형 강재거더(SG)와 거더합성용 프리캐스트 콘크리트구조물(PC)을 합성하는 것이다. That is, in the method of constructing a precast concrete structure for girder composite according to the present invention, an I-shaped steel girder (SG) is manufactured, and a pre-cast slab After the cast concrete structure PC is manufactured, a pre-cast concrete structure PC for girder synthesis is placed on the upper flange F of the I-shaped steel girder SG and then the precast concrete structure for girder synthesis Shrinkage mortar is injected into the mortar injection port 40 formed in the PC to form an I-shaped steel girder SG and a precast concrete structure PC for girder synthesis.

[실시예 3][Example 3]

- 데크플레이트 겸용 상부플랜지 보강용 콘크리트 케이션 - Deck plate combined upper flange reinforcing concrete

도 36은 본 발명에 따른 거더합성용 프리캐스트 콘크리트구조물의 데크플레이트 겸용 상부플랜지 보강용 콘크리트 케이션을 도시한 정면 사시도 3이고, 도 37은 본 발명에 따른 거더합성용 프리캐스트 콘크리트구조물의 데크플레이트 겸용 상부플랜지 보강용 콘크리트 케이션을 도시한 배면 사시도 3이며, 도 38은 본 발명에 따른 거더합성용 프리캐스트 콘크리트구조물의 데크플레이트 겸용 상부플랜지 보강용 콘크리트 케이션을 도시한 단면도 3이다,FIG. 36 is a front perspective view 3 showing an upper flange reinforcing concrete structure serving as a deck plate for a girder composing pre-cast concrete structure according to the present invention, FIG. 37 is a front elevational view of a deck plate for a girder composing precast concrete structure according to the present invention FIG. 38 is a sectional view 3 showing a concrete structure for reinforcing an upper flange serving as a deck plate for a girder composing precast concrete structure according to the present invention, and FIG.

이들 도면에 도시된 바와 같이, 본 발명에 따른 거더합성용 프리캐스트 콘크리트구조물(PC)은 소정의 형상으로 이루어진 콘크리트구조물(10)과; 상기 콘크리트구조물(10)의 하부에 길이방향으로 오목한 사각형 형상으로 형성되는 오목홈(20)과; 상기 콘크리트구조물(10)의 오목홈(20) 내에 일정간격으로 가로로 배치되는 수평전단연결재(50)와; 상기 콘크리트구조물(10)의 상면에 일정간격으로 배치되는 수직전단연결재(30)와; 상기 콘크리트구조물(10)의 길이방향을 따라 일정한 간격으로 천공 형성되는 모르타르주입구(40)로 구성된다.As shown in these figures, the pre-cast concrete structure PC for girder composite according to the present invention comprises a concrete structure 10 having a predetermined shape; A concave groove 20 formed at a lower portion of the concrete structure 10 in a rectangular shape in a longitudinal direction; A horizontal shear connector 50 disposed laterally at regular intervals in the concave groove 20 of the concrete structure 10; A vertical shear connector 30 disposed at regular intervals on the upper surface of the concrete structure 10; And a mortar injection port 40 formed at predetermined intervals along the longitudinal direction of the concrete structure 10.

즉, 본 발명에 따른 거더합성용 프리캐스트 콘크리트구조물(PC)은 콘크리트구조물(10), 오목홈(20), 수직전단연결재(30), 모르타르주입구(40) 및 수평전단연결재(50)가 유기적으로 결합되어 이루어진 데크플레이트 겸용 상부플랜지 보강용 콘크리트 케이션이다.That is, the concrete precast concrete structure PC for girder composite according to the present invention is characterized in that the concrete structure 10, the concave groove 20, the vertical shear connector 30, the mortar injection port 40 and the horizontal shear connector 50 are organic And is an upper flange reinforcing concrete structure serving as a deck plate.

특히, 상기 데크플레이트 겸용 상부플랜지 보강용 콘크리트 케이션은 복수의 상부플랜지 보강전용 콘크리트케이션에 데크플레이트를 형성한 것이다.Especially, the upper flange reinforcing concrete deck plate combined with the deck plate is formed with a plurality of deck plates on the upper concrete flange reinforcing concrete.

여기서, 상기 콘크리트구조물(10)은 소정의 형상으로 이루어진 구조물로서, 상기 콘크리트구조물(10)의 폭은 상부는 넓고, 하부는 좁은 상광하협의 형상으로 형성된다.Here, the concrete structure 10 has a predetermined shape, and the width of the concrete structure 10 is wide in the upper part and narrow in the lower part.

또한, 상기 콘크리트구조물(10)은 좌우 대칭으로 구성된다.Also, the concrete structure 10 is configured to be symmetrical.

그리고, 상기 오목홈(20)은 콘크리트구조물(10)의 하부에 길이방향으로 전구간에 걸쳐서 오목한 사각형 형상으로 블록아웃된 부분이다.The concave groove 20 is a portion of the concrete structure 10 which is recessed in a rectangular shape over the entire length in a longitudinal direction.

또한, 상기 콘크리트구조물(10)의 오목홈(20) 내에 일정간격으로 가로로 배치되는 수평전단연결재(50)와; 상기 콘크리트구조물(10)의 상면에서 일정간격으로 배치되는 수직전단연결재(30)는 노출된 상태로 가로방향으로 배치된다.A horizontal shear connector 50 disposed laterally at regular intervals in the concave groove 20 of the concrete structure 10; The vertical shear connectors 30 arranged at regular intervals on the upper surface of the concrete structure 10 are arranged in the lateral direction in an exposed state.

특히, 상기 수직전단연결재(30)는 모르타르주입구(40)를 기준으로 좌우 대칭으로 형성된다.In particular, the vertical shear connectors 30 are symmetrically formed with respect to the mortar injection port 40.

또한, 상기 모르타르주입구(40)는 콘크리트구조물(10)의 길이방향을 따라 일정한 간격으로 천공 형성된다.The mortar injection ports 40 are formed at regular intervals along the longitudinal direction of the concrete structure 10.

즉, 본 발명에 따른 거더합성용 프리캐스트 콘크리트구조물(PC)은 콘크리트거더(CG)의 상부플랜지(F)에 설치되는 데크플레이트와 콘크리트 케이션 부분이 일체로 구성된 프리캐스트 데크플레이트 겸용 상부플랜지 보강용 콘크리트 케이션으로, 콘크리트거더(CG) 합성용 프리캐스트 콘크리트구조물(PC)이 합성되는 하단부가 길이방향으로 전구간에 걸쳐서 오목하게 블록아웃된 오목홈(20)이 형성되고, 상기 프리캐스트 콘크리트구조물(PC)에 수직전단연결재(30)가 설치되며, 상기 프리캐스트 콘크리트구조물(PC)의 상,하면으로 일정간격으로 모르타르주입구(40)가 관통 형성된 구조이다.That is, the pre-cast concrete structure PC for girder composite according to the present invention can be used for reinforcing the upper flange which also serves as a pre-cast deck plate in which the deck plate and the concrete part are provided integrally with the upper flange F of the concrete girder A concave groove 20 is formed in which a lower end portion of a concrete concrete girder (CG) synthesizing precast concrete structure PC to be synthesized is concavedly blocked out in a longitudinal direction over a whole area, and the precast concrete structure PC And a mortar injection port 40 is formed at a predetermined interval on the upper and lower surfaces of the precast concrete structure PC.

상기한 바와 같은 구성으로 이루어진 본 발명에 따른 거더합성용 프리캐스트 콘크리트구조물(PC)은 콘크리트거더(CG)의 상부플랜지(F)의 수직전단연결재(30)를 종래의 일반적인 방법과 같이 구성할 수 있으며, 상부플랜지(F) 상면에 거더합성용 프리캐스트 콘크리트구조물(PC)을 거치한 후에, 상기 프리캐스트 콘크리트구조물(PC)의 상면에 길이방향으로 일정간격으로 천공 형성된 모르타르주입구(40)에 모르타르를 주입하여 양생하면 콘크리트거더(CG)와 프리캐스트 콘크리트구조물(PC)의 합성이 완료되므로 시공이 매우 간편한 구조이다.The pre-cast concrete structure PC for composing a girder according to the present invention having the above-described structure can be constructed in the same manner as a conventional general method in that the vertical shear connector 30 of the upper flange F of the concrete girder CG And a mortar injection port 40 is formed in the upper surface of the precast concrete structure PC by drilling mortar at a predetermined interval in the longitudinal direction after the girder forming precast concrete structure PC is mounted on the upper surface of the upper flange F, (CG) and precast concrete structure (PC) are completed, it is very easy to construct.

또한, 콘크리트거더(CG)의 상부플랜지(F)에 합성되는 프리캐스트 콘크리트구조물(PC)의 합성부분은 좌우대칭으로 구성할 수도 있음을 밝혀둔다.It is also noted that the composite portion of the precast concrete structure (PC) composing the upper flange (F) of the concrete girder (CG) can be configured symmetrically.

- 데크플레이트 겸용 상부플랜지 보강용 콘크리트 케이션 1 U형 콘크리트거더 적용- Deck plate combined upper flange reinforcement concrete 1 U type concrete girder application

도 39는 본 발명에 따른 거더합성용 프리캐스트 콘크리트구조물의 데크플레이트 겸용 상부플랜지 보강용 콘크리트 케이션이 U형 콘크리트거더에 적용된 상태를 도시한 사시도이고, 도 40은 본 발명에 따른 거더합성용 프리캐스트 콘크리트구조물의 데크플레이트 겸용 상부플랜지 보강용 콘크리트 케이션이 U형 콘크리트거더에 적용된 상태를 도시한 단면도이다.Fig. 39 is a perspective view showing a state where a concrete flange for upper flange combined with a deck plate of a precast concrete structure for girder composing according to the present invention is applied to a U-shaped concrete girder, Fig. 40 is a perspective view showing a girder- Sectional view showing a state in which a concrete flange for reinforcing upper flange combined with a deck plate of a concrete structure is applied to a U-shaped concrete girder.

이들 도면에 도시된 바와 같이, 본 발명에 따른 거더합성용 프리캐스트 콘크리트구조물 시공방법은 U형 콘크리트거더(CG)를 제작하는 단계(S Ⅰ); 소정의 형상으로 이루어진 콘크리트구조물(10)과; 상기 콘크리트구조물(10)의 하부에 길이방향으로 오목한 사각형 형상으로 형성되는 오목홈(20)과; 상기 콘크리트구조물(10)의 오목홈(20) 내에 일정간격으로 가로로 배치되는 수평전단연결재(50)와; 상기 콘크리트구조물(10)의 상면에 일정간격으로 배치되는 수직전단연결재(30)와; 상기 콘크리트구조물(10)의 길이방향을 따라 일정한 간격으로 천공 형성되는 모르타르주입구(40)로 구성된 프리캐스트 콘크리트구조물(PC)을 제작하는 단계(S Ⅱ); 상기 U형 콘크리트거더(CG)의 상부플랜지(F)에 프리캐스트 콘크리트구조물(PC)을 거치하는 단계(S Ⅲ); 상기 프리캐스트 콘크리트구조물(PC)에 무수축 모르타르를 주입하여 U형 콘크리트거더(CG)와 프리캐스트 콘크리트구조물(PC)을 합성하는 단계(S Ⅳ)로 이루어진다.As shown in these drawings, a method of constructing a precast concrete structure for girder synthesis according to the present invention includes the steps of: (S) preparing a U-shaped concrete girder (CG); A concrete structure 10 having a predetermined shape; A concave groove 20 formed at a lower portion of the concrete structure 10 in a rectangular shape in a longitudinal direction; A horizontal shear connector 50 disposed laterally at regular intervals in the concave groove 20 of the concrete structure 10; A vertical shear connector 30 disposed at regular intervals on the upper surface of the concrete structure 10; (S II) of a precast concrete structure (PC) composed of a mortar injection port (40) formed at predetermined intervals along the longitudinal direction of the concrete structure (10); (S III) of mounting a precast concrete structure (PC) on the upper flange (F) of the U-shaped concrete girder (CG); (SIV) of injecting non-shrinkage mortar into the precast concrete structure (PC) to synthesize the U-shaped concrete girder (CG) and the precast concrete structure (PC).

즉, 본 발명에 따른 거더합성용 프리캐스트 콘크리트구조물 시공방법은 U형 콘크리트거더(CG)를 제작하고, 상기 U형 콘크리트거더(CG)의 데크플레이트 겸용 상부플랜지 보강용 콘크리트 케이션인 거더합성용 프리캐스트 콘크리트구조물(PC)을 제작한 후, 상기 U형 콘크리트거더(CG)의 상부플랜지(F)에 거더합성용 프리캐스트 콘크리트구조물(PC)을 거치한 후, 상기 거더합성용 프리캐스트 콘크리트구조물(PC)에 형성된 모르타르주입구(40)에 무수축 모르타르를 주입하여 U형 콘크리트거더(CG)와 거더합성용 프리캐스트 콘크리트구조물(PC)을 합성하는 것이다. That is, the method for constructing a precast concrete structure for girder composite according to the present invention comprises the steps of: fabricating a U-shaped concrete girder (CG), and forming a girder composite for a U-shaped concrete girder After the cast concrete structure PC is manufactured, a pre-cast concrete structure PC for girder synthesis is placed on the upper flange F of the U-shaped concrete girder CG and then the precast concrete structure for girder composition (CG) and a pre-cast concrete structure (PC) for girder synthesis by injecting non-shrinkage mortar into a mortar injection port (40) formed in a PC.

- 데크플레이트 겸용 상부플랜지 보강용 콘크리트 케이션 2- Deck plate combined upper flange reinforcement concrete 2

도 41은 본 발명에 따른 거더합성용 프리캐스트 콘크리트구조물의 데크플레이트 겸용 상부플랜지 보강용 콘크리트 케이션을 도시한 정면 사시도 4이고, 도 42는 본 발명에 따른 거더합성용 프리캐스트 콘크리트구조물의 데크플레이트 겸용 상부플랜지 보강용 콘크리트 케이션을 도시한 배면 사시도 4이며, 도 43은 본 발명에 따른 거더합성용 프리캐스트 콘크리트구조물의 데크플레이트 겸용 상부플랜지 보강용 콘크리트 케이션을 도시한 단면도 4이다.FIG. 41 is a front perspective view 4 showing an upper flange reinforcing concrete structure serving as a deck plate for a girder composite pre-cast concrete structure according to the present invention, FIG. 42 is a view FIG. 43 is a cross-sectional view 4 showing the concrete flange for reinforcing the upper flange serving as a deck plate for the girder composite pre-cast concrete structure according to the present invention.

이들 도면에 도시된 바와 같이, 본 발명에 따른 거더합성용 프리캐스트 콘크리트구조물(PC)은 소정의 형상으로 이루어진 콘크리트구조물(10)과; 상기 콘크리트구조물(10)의 하부에 길이방향으로 오목한 사각형 형상으로 형성되는 오목홈(20)과; 상기 콘크리트구조물(10)의 오목홈(20) 내에 일정간격으로 가로로 배치되는 수평전단연결재(50)와; 상기 콘크리트구조물(10)의 상면에 일정간격으로 배치되는 수직전단연결재(30)와; 상기 콘크리트구조물(10)의 길이방향을 따라 일정한 간격으로 천공 형성되는 모르타르주입구(40)로 구성된다.As shown in these figures, the pre-cast concrete structure PC for girder composite according to the present invention comprises a concrete structure 10 having a predetermined shape; A concave groove 20 formed at a lower portion of the concrete structure 10 in a rectangular shape in a longitudinal direction; A horizontal shear connector 50 disposed laterally at regular intervals in the concave groove 20 of the concrete structure 10; A vertical shear connector 30 disposed at regular intervals on the upper surface of the concrete structure 10; And a mortar injection port 40 formed at predetermined intervals along the longitudinal direction of the concrete structure 10.

즉, 본 발명에 따른 거더합성용 프리캐스트 콘크리트구조물(PC)은 콘크리트구조물(10), 오목홈(20), 수직전단연결재(30), 모르타르주입구(40) 및 수평전단연결재(50)가 유기적으로 결합되어 이루어진 데크플레이트 겸용 상부플랜지 보강용 콘크리트 케이션이다.That is, the concrete precast concrete structure PC for girder composite according to the present invention is characterized in that the concrete structure 10, the concave groove 20, the vertical shear connector 30, the mortar injection port 40 and the horizontal shear connector 50 are organic And is an upper flange reinforcing concrete structure serving as a deck plate.

특히, 상기 데크플레이트 겸용 상부플랜지 보강용 콘크리트 케이션은 복수의 상부플랜지 보강전용 콘크리트케이션에 데크플레이트를 형성한 것이다.Especially, the upper flange reinforcing concrete deck plate combined with the deck plate is formed with a plurality of deck plates on the upper concrete flange reinforcing concrete.

여기서, 상기 콘크리트구조물(10)은 소정의 형상으로 이루어진 구조물로서, 상기 콘크리트구조물(10)의 폭은 상부는 넓고, 하부는 좁은 상광하협의 형상으로 형성된다.Here, the concrete structure 10 has a predetermined shape, and the width of the concrete structure 10 is wide in the upper part and narrow in the lower part.

또한, 상기 콘크리트구조물(10)은 좌우 비대칭으로 구성된다.Also, the concrete structure 10 is configured asymmetrically.

그리고, 상기 오목홈(20)은 콘크리트구조물(10)의 하부에 길이방향으로 전구간에 걸쳐서 오목한 사각형 형상으로 블록아웃된 부분이다.The concave groove 20 is a portion of the concrete structure 10 which is recessed in a rectangular shape over the entire length in a longitudinal direction.

또한, 상기 콘크리트구조물(10)의 오목홈(20) 내에 일정간격으로 가로로 배치되는 수평전단연결재(50)와; 상기 콘크리트구조물(10)의 상면에서 일정간격으로 배치되는 수직전단연결재(30)는 노출된 상태로 가로방향으로 배치된다.A horizontal shear connector 50 disposed laterally at regular intervals in the concave groove 20 of the concrete structure 10; The vertical shear connectors 30 arranged at regular intervals on the upper surface of the concrete structure 10 are arranged in the lateral direction in an exposed state.

특히, 상기 수직전단연결재(30)는 모르타르주입구(40)를 기준으로 좌우 대칭으로 형성된다.In particular, the vertical shear connectors 30 are symmetrically formed with respect to the mortar injection port 40.

또한, 상기 모르타르주입구(40)는 콘크리트구조물(10)의 길이방향을 따라 일정한 간격으로 천공 형성된다.The mortar injection ports 40 are formed at regular intervals along the longitudinal direction of the concrete structure 10.

즉, 본 발명에 따른 거더합성용 프리캐스트 콘크리트구조물(PC)은 콘크리트거더(CG)의 상부플랜지(F)에 설치되는 데크플레이트와 콘크리트 케이션 부분이 일체로 구성된 프리캐스트 데크플레이트 겸용 상부플랜지 보강용 콘크리트 케이션으로, 콘크리트거더(CG)의 상부플랜지(F)와 합성되는 거더합성용 프리캐스트 콘크리트구조물(PC)이 합성되는 하단부가 길이방향으로 전구간에 걸쳐서 오목하게 블록아웃된 오목홈(20)이 형성되고, 상기 거더합성용 프리캐스트 콘크리트구조물(PC)에 수직전단연결재(30)가 설치되며, 상기 거더합성용 프리캐스트 콘크리트구조물(PC)의 상,하면으로 일정간격으로 모르타르주입구(40)가 관통 형성된 구조이다.That is, the pre-cast concrete structure PC for girder composite according to the present invention can be used for reinforcing the upper flange which also serves as a pre-cast deck plate in which the deck plate and the concrete part are provided integrally with the upper flange F of the concrete girder A concave groove 20 in which a lower end portion where a girder composing precast concrete structure PC to be combined with the upper flange F of the concrete girder CG is synthesized is concavely blocked out over the entire length in the longitudinal direction, A vertical shear connector 30 is installed on the girder-forming precast concrete structure PC, and a mortar injection port 40 is formed at the upper and lower surfaces of the girder-forming precast concrete structure PC Is a through-formed structure.

상기한 바와 같은 구성으로 이루어진 본 발명에 따른 거더합성용 프리캐스트 콘크리트구조물(PC)은 콘크리트거더(CG)의 상부플랜지(F)의 수직전단연결재(30)를 종래의 일반적인 방법과 같이 구성할 수 있으며, 상부플랜지(F) 상면에 거더합성용 프리캐스트 콘크리트구조물(PC)을 거치한 후에, 상기 거더합성용 프리캐스트 콘크리트구조물(PC)의 상면에 길이방향으로 일정간격으로 천공 형성된 모르타르주입구(40)에 모르타르를 주입하여 양생하면 콘크리트거더(CG)와 거더합성용 프리캐스트 콘크리트구조물(PC)의 합성이 완료되므로 시공이 매우 간편한 구조이다.The pre-cast concrete structure PC for composing a girder according to the present invention having the above-described structure can be constructed in the same manner as a conventional general method in that the vertical shear connector 30 of the upper flange F of the concrete girder CG And a mortar injection port 40 (hereinafter referred to as " 40 ") is formed on the upper surface of the girder-forming precast concrete structure PC at predetermined intervals in the longitudinal direction after the precast concrete structure PC for girder- ) Is cured by injecting mortar into concrete, it is very easy to construct because the synthesis of concrete girder (CG) and precast concrete structure (PC) for girder synthesis is completed.

또한, 콘크리트거더(CG)의 상부플랜지(F)에 합성되는 거더합성용 프리캐스트 콘크리트구조물(PC)의 합성부분은 좌우 비대칭으로 구성할 수도 있음을 밝혀둔다.It is also noted that the composite portion of the pre-cast concrete structure PC for composing the girders synthesized in the upper flange F of the concrete girder CG can be configured asymmetrically.

- 데크플레이트 겸용 상부플랜지 보강용 콘크리트 케이션 2 U형 강재거더 적용- Deck plate combined with upper flange reinforcement concrete 2 U-shaped steel girder

도 44는 본 발명에 따른 거더합성용 프리캐스트 콘크리트구조물의 데크플레이트 겸용 상부플랜지 보강용 콘크리트 케이션이 U형 콘크리트거더에 적용된 상태를 도시한 사시도 2이고, 도 45는 본 발명에 따른 거더합성용 프리캐스트 콘크리트구조물의 데크플레이트 겸용 상부플랜지 보강용 콘크리트 케이션이 U형 콘크리트거더에 적용된 상태를 도시한 단면도 2이다.FIG. 44 is a perspective view 2 showing a state where a concrete flange for upper flange combined with a deck plate of a precast concrete structure for girder composite according to the present invention is applied to a U-shaped concrete girder, FIG. 45 is a perspective view 2 is a cross-sectional view showing a state in which a concrete flange for reinforcing the upper flange serving as a deck plate of a cast concrete structure is applied to a U-shaped concrete girder.

이들 도면에 도시된 바와 같이, 본 발명에 따른 거더합성용 프리캐스트 콘크리트구조물 시공방법은 U형 콘크리트거더(CG)를 제작하는 단계(S Ⅰ); 소정의 형상으로 이루어진 콘크리트구조물(10)과; 상기 콘크리트구조물(10)의 하부에 길이방향으로 오목한 사각형 형상으로 형성되는 오목홈(20)과; 상기 콘크리트구조물(10)의 오목홈(20) 내에 일정간격으로 가로로 배치되는 수평전단연결재(50)와; 상기 콘크리트구조물(10)의 상면에 일정간격으로 배치되는 수직전단연결재(30)와; 상기 콘크리트구조물(10)의 길이방향을 따라 일정한 간격으로 천공 형성되는 모르타르주입구(40)로 구성된 프리캐스트 콘크리트구조물(PC)을 제작하는 단계(S Ⅱ); 상기 U형 콘크리트거더(CG)의 상부플랜지(F)에 프리캐스트 콘크리트구조물(PC)을 거치하는 단계(S Ⅲ); 상기 프리캐스트 콘크리트구조물(PC)에 무수축 모르타르를 주입하여 U형 콘크리트거더(CG)와 프리캐스트 콘크리트구조물(PC)을 합성하는 단계(S Ⅳ)로 이루어진다.As shown in these drawings, a method of constructing a precast concrete structure for girder synthesis according to the present invention includes the steps of: (S) preparing a U-shaped concrete girder (CG); A concrete structure 10 having a predetermined shape; A concave groove 20 formed at a lower portion of the concrete structure 10 in a rectangular shape in a longitudinal direction; A horizontal shear connector 50 disposed laterally at regular intervals in the concave groove 20 of the concrete structure 10; A vertical shear connector 30 disposed at regular intervals on the upper surface of the concrete structure 10; (S II) of a precast concrete structure (PC) composed of a mortar injection port (40) formed at predetermined intervals along the longitudinal direction of the concrete structure (10); (S III) of mounting a precast concrete structure (PC) on the upper flange (F) of the U-shaped concrete girder (CG); (SIV) of injecting non-shrinkage mortar into the precast concrete structure (PC) to synthesize the U-shaped concrete girder (CG) and the precast concrete structure (PC).

즉, 본 발명에 따른 거더합성용 프리캐스트 콘크리트구조물 시공방법은 U형 콘크리트거더(CG)를 제작하고, 상기 U형 콘크리트거더(CG)의 데크플레이트 겸용 상부플랜지 보강용 콘크리트 케이션인 거더합성용 프리캐스트 콘크리트구조물(PC)을 제작한 후, 상기 U형 콘크리트거더(CG)의 상부플랜지(F)에 거더합성용 프리캐스트 콘크리트구조물(PC)을 거치한 후, 상기 거더합성용 프리캐스트 콘크리트구조물(PC)에 형성된 모르타르주입구(40)에 무수축 모르타르를 주입하여 U형 콘크리트거더(CG)와 거더합성용 프리캐스트 콘크리트구조물(PC)을 합성하는 것이다. That is, the method for constructing a precast concrete structure for girder composite according to the present invention comprises the steps of: fabricating a U-shaped concrete girder (CG), and forming a girder composite for a U-shaped concrete girder After the cast concrete structure PC is manufactured, a pre-cast concrete structure PC for girder synthesis is placed on the upper flange F of the U-shaped concrete girder CG and then the precast concrete structure for girder composition (CG) and a pre-cast concrete structure (PC) for girder synthesis by injecting non-shrinkage mortar into a mortar injection port (40) formed in a PC.

- 프리캐스트 슬래브- precast slab

도 46은 본 발명에 따른 거더합성용 프리캐스트 콘크리트구조물의 프리캐스트 슬래브를 도시한 정면 사시도 2이고, 도 47은 본 발명에 따른 거더합성용 프리캐스트 콘크리트구조물의 프리캐스트 슬래브를 도시한 배면 사시도 2이며, 도 48은 본 발명에 따른 거더합성용 프리캐스트 콘크리트구조물의 프리캐스트 슬래브를 도시한 단면도 2이다.FIG. 46 is a front perspective view 2 showing a precast slab of a pre-cast concrete structure for girder composing according to the present invention, FIG. 47 is a rear perspective view of a precast concrete slab of a girder- And FIG. 48 is a sectional view 2 showing a precast slab of a precast concrete structure for girder composite according to the present invention.

이들 도면에 도시된 바와 같이, 본 발명에 따른 거더합성용 프리캐스트 콘크리트구조물(PC)은 소정의 형상으로 이루어진 콘크리트구조물(10)과; 상기 콘크리트구조물(10)의 하부에 길이방향으로 오목한 사각형 형상으로 형성되는 오목홈(20)과; 상기 콘크리트구조물(10)의 오목홈(20) 내에 일정간격으로 가로로 배치되는 수평전단연결재(50)와; 상기 콘크리트구조물(10)의 상면에 일정간격으로 배치되는 수직전단연결재(30)와; 상기 콘크리트구조물(10)의 길이방향을 따라 일정한 간격으로 천공 형성되는 모르타르주입구(40)로 구성된다.As shown in these figures, the pre-cast concrete structure PC for girder composite according to the present invention comprises a concrete structure 10 having a predetermined shape; A concave groove 20 formed at a lower portion of the concrete structure 10 in a rectangular shape in a longitudinal direction; A horizontal shear connector 50 disposed laterally at regular intervals in the concave groove 20 of the concrete structure 10; A vertical shear connector 30 disposed at regular intervals on the upper surface of the concrete structure 10; And a mortar injection port 40 formed at predetermined intervals along the longitudinal direction of the concrete structure 10.

즉, 본 발명에 따른 거더합성용 프리캐스트 콘크리트구조물(PC)은 콘크리트구조물(10), 오목홈(20), 수직전단연결재(30), 모르타르주입구(40) 및 수평전단연결재(50)가 유기적으로 결합되어 이루어진 프리캐스트 슬래브이다.That is, the concrete precast concrete structure PC for girder composite according to the present invention is characterized in that the concrete structure 10, the concave groove 20, the vertical shear connector 30, the mortar injection port 40 and the horizontal shear connector 50 are organic And the pre-cast slab is combined with the pre-cast slab.

여기서, 상기 콘크리트구조물(10)은 소정의 형상으로 이루어진 구조물로서, 상기 콘크리트구조물(10)의 폭은 상부와 하부가 동일한 형상이다.Here, the concrete structure 10 has a predetermined shape, and the width of the concrete structure 10 has the same shape in the upper part and the lower part.

또한, 상기 콘크리트구조물(10)은 좌우 대칭으로 구성된다.Also, the concrete structure 10 is configured to be symmetrical.

그리고, 상기 오목홈(20)은 콘크리트구조물(10)의 하부에 길이방향으로 전구간에 걸쳐서 오목한 사각형 형상으로 블록아웃된 부분이다.The concave groove 20 is a portion of the concrete structure 10 which is recessed in a rectangular shape over the entire length in a longitudinal direction.

또한, 상기 콘크리트구조물(10)의 오목홈(20) 내에 일정간격으로 가로로 배치되는 수평전단연결재(50)와; 상기 콘크리트구조물(10)의 상면에서 일정간격으로 배치되는 수직전단연결재(30)는 노출된 상태로 가로방향으로 배치된다.A horizontal shear connector 50 disposed laterally at regular intervals in the concave groove 20 of the concrete structure 10; The vertical shear connectors 30 arranged at regular intervals on the upper surface of the concrete structure 10 are arranged in the lateral direction in an exposed state.

특히, 상기 수직전단연결재(30)는 모르타르주입구(40)를 기준으로 좌우 대칭으로 형성된다.In particular, the vertical shear connectors 30 are symmetrically formed with respect to the mortar injection port 40.

또한, 상기 모르타르주입구(40)는 콘크리트구조물(10)의 길이방향을 따라 일정한 간격으로 천공 형성된다.The mortar injection ports 40 are formed at regular intervals along the longitudinal direction of the concrete structure 10.

즉, 본 발명에 따른 거더합성용 프리캐스트 콘크리트구조물(PC)은 프리캐스트 슬래브로, 콘크리트거더(CG)의 상부플랜지(F)와 합성되는 거더합성용 프리캐스트 콘크리트구조물(PC)이 합성되는 하단부가 길이방향으로 전구간에 걸쳐서 오목하게 블록아웃된 오목홈(20)이 형성되고, 상기 거더합성용 프리캐스트 콘크리트구조물(PC)에 수직전단연결재(30)가 설치되며, 상기 거더합성용 프리캐스트 콘크리트구조물(PC)의 상,하면으로 일정간격으로 모르타르주입구(40)가 관통 형성된 구조이다.That is, the pre-cast concrete structure PC for girder composite according to the present invention is a precast concrete slab, which is composed of a lower end portion where a girder compositing precast concrete structure PC to be combined with an upper flange F of a concrete girder CG is synthesized And a vertical shear connection member (30) is installed on the girder composition precast concrete structure (PC), and the girder composition precast concrete (30) And a mortar injection port 40 is formed through the upper and lower surfaces of the structure PC at regular intervals.

상기한 바와 같은 구성으로 이루어진 본 발명에 따른 거더합성용 프리캐스트 콘크리트구조물(PC)은 콘크리트거더(CG)의 상부플랜지(F)의 수직전단연결재(30)를 종래의 일반적인 방법과 같이 구성할 수 있으며, 상부플랜지(F) 상면에 거더합성용 프리캐스트 콘크리트구조물(PC)을 거치한 후에, 상기 거더합성용 프리캐스트 콘크리트구조물(PC)의 상면에 길이방향으로 일정간격으로 천공 형성된 모르타르주입구(40)에 모르타르를 주입하여 양생하면 콘크리트거더(CG)와 거더합성용 프리캐스트 콘크리트구조물(PC)의 합성이 완료되므로 시공이 매우 간편한 구조이다.The pre-cast concrete structure PC for composing a girder according to the present invention having the above-described structure can be constructed in the same manner as a conventional general method in that the vertical shear connector 30 of the upper flange F of the concrete girder CG And a mortar injection port 40 (hereinafter referred to as " 40 ") is formed on the upper surface of the girder-forming precast concrete structure PC at predetermined intervals in the longitudinal direction after the precast concrete structure PC for girder- ) Is cured by injecting mortar into concrete, it is very easy to construct because the synthesis of concrete girder (CG) and precast concrete structure (PC) for girder synthesis is completed.

또한, 콘크리트거더(CG)의 상부플랜지(F)에 합성되는 거더합성용 프리캐스트 콘크리트구조물(PC)의 합성부분은 좌우대칭으로 구성할 수도 있음을 밝혀둔다.It is also noted that the composite portion of the pre-cast concrete structure PC for composing the girder synthesized in the upper flange F of the concrete girder CG can be configured symmetrically.

- 프리캐스트 슬래브 U형 콘크리트거더 적용- Application of precast slab U type concrete girder

도 49는 본 발명에 따른 거더합성용 프리캐스트 콘크리트구조물의 프리캐스트 슬래브가 U형 콘크리트거더에 적용된 상태를 도시한 사시도이고, 도 50은 본 발명에 따른 거더합성용 프리캐스트 콘크리트구조물의 프리캐스트 슬래브가 U형 콘크리트거더에 적용된 상태를 도시한 단면도이다.FIG. 49 is a perspective view showing a state where a precast slab of a precast concrete structure for girder composing according to the present invention is applied to a U-shaped concrete girder, FIG. 50 is a perspective view showing a precast slab of a girder composite pre- Is a sectional view showing a state in which the present invention is applied to a U-shaped concrete girder.

이들 도면에 도시된 바와 같이, 본 발명에 따른 거더합성용 프리캐스트 콘크리트구조물 시공방법은 U형 콘크리트거더(CG)를 제작하는 단계(S Ⅰ); 소정의 형상으로 이루어진 콘크리트구조물(10)과; 상기 콘크리트구조물(10)의 하부에 길이방향으로 오목한 사각형 형상으로 형성되는 오목홈(20)과; 상기 콘크리트구조물(10)의 오목홈(20) 내에 일정간격으로 가로로 배치되는 수평전단연결재(50)와; 상기 콘크리트구조물(10)의 상면에 일정간격으로 배치되는 수직전단연결재(30)와; 상기 콘크리트구조물(10)의 길이방향을 따라 일정한 간격으로 천공 형성되는 모르타르주입구(40)로 구성된 프리캐스트 콘크리트구조물(PC)을 제작하는 단계(S Ⅱ); 상기 U형 콘크리트거더(CG)의 상부플랜지(F)에 프리캐스트 콘크리트구조물(PC)을 거치하는 단계(S Ⅲ); 상기 프리캐스트 콘크리트구조물(PC)에 무수축 모르타르를 주입하여 U형 콘크리트거더(CG)와 프리캐스트 콘크리트구조물(PC)을 합성하는 단계(S Ⅳ)로 이루어진다.As shown in these drawings, a method of constructing a precast concrete structure for girder synthesis according to the present invention includes the steps of: (S) preparing a U-shaped concrete girder (CG); A concrete structure 10 having a predetermined shape; A concave groove 20 formed at a lower portion of the concrete structure 10 in a rectangular shape in a longitudinal direction; A horizontal shear connector 50 disposed laterally at regular intervals in the concave groove 20 of the concrete structure 10; A vertical shear connector 30 disposed at regular intervals on the upper surface of the concrete structure 10; (S II) of a precast concrete structure (PC) composed of a mortar injection port (40) formed at predetermined intervals along the longitudinal direction of the concrete structure (10); (S III) of mounting a precast concrete structure (PC) on the upper flange (F) of the U-shaped concrete girder (CG); (SIV) of injecting non-shrinkage mortar into the precast concrete structure (PC) to synthesize the U-shaped concrete girder (CG) and the precast concrete structure (PC).

즉, 본 발명에 따른 거더합성용 프리캐스트 콘크리트구조물 시공방법은 U형 콘크리트거더(CG)를 제작하고, 상기 U형 콘크리트거더(CG)의 상부플랜지(F)에 프리캐스트 슬래브인 거더합성용 프리캐스트 콘크리트구조물(PC)을 제작한 후, 상기 U형 콘크리트거더(CG)의 상부플랜지(F)에 거더합성용 프리캐스트 콘크리트구조물(PC)을 거치한 후, 상기 거더합성용 프리캐스트 콘크리트구조물(PC)에 형성된 모르타르주입구(40)에 무수축 모르타르를 주입하여 U형 콘크리트거더(CG)와 거더합성용 프리캐스트 콘크리트구조물(PC)을 합성하는 것이다. That is, the method for constructing a precast concrete structure for girder composite according to the present invention comprises the steps of: fabricating a U-shaped concrete girder (CG), and forming a pre-cast slab After the cast concrete structure PC is manufactured, a pre-cast concrete structure PC for girder synthesis is placed on the upper flange F of the U-shaped concrete girder CG and then the precast concrete structure for girder composition (CG) and a pre-cast concrete structure (PC) for girder synthesis by injecting non-shrinkage mortar into a mortar injection port (40) formed in a PC.

10: 콘크리트구조물 20: 오목홈
30: 수직전단연결재 40: 모르타르주입구
50: 수평전단연결재 F: 상부플랜지
CG: 콘크리트거더 SG: 강재거더
PC: 거더합성용 프리캐스트 콘크리트구조물
10: concrete structure 20: concave groove
30: vertical shear connector 40: mortar inlet
50: Horizontal shear connection F: Upper flange
CG: Concrete girder SG: Steel girder
PC: Pre-cast concrete structure for girder composite

Claims (2)

I형 강재거더 또는 U형 강재거더로 이루어진 강재거더(SG)를 제작하는 단계(S Ⅰ);
상광하협의 단면형상으로 이루어짐과 동시에 좌우대칭 또는 비대칭으로 형성되며, 상부플랜지 보강전용 콘크리트 케이션 또는 데크플레이트 겸용 상부플랜지 보강용 콘크리트 케이션 또는 프리캐스트 슬래브로 형성된 콘크리트구조물(10)과; 상기 콘크리트구조물(10)의 하부에 길이방향으로 오목한 사각형 형상으로 형성되는 오목홈(20)과; 상기 콘크리트구조물(10)의 오목홈(20) 내에 일정간격으로 노출된 상태로 가로로 배치되는 수평전단연결재(50)와; 상기 콘크리트구조물(10)의 상면에 일정간격으로 배치됨과 동시에 외측으로 절곡 형성된 수직전단연결재(30)와; 상기 콘크리트구조물(10)의 길이방향을 따라 일정한 간격으로 천공 형성되는 모르타르주입구(40)로 구성된 프리캐스트 콘크리트구조물(PC)을 제작하는 단계(S Ⅱ);
상기 강재거더(SG)의 상부플랜지(F)에 프리캐스트 콘크리트구조물(PC)을 거치하는 단계(S Ⅲ);
상기 프리캐스트 콘크리트구조물(PC)에 무수축 모르타르를 주입하여 강재거더(SG)와 프리캐스트 콘크리트구조물(PC)을 합성하는 단계(S Ⅳ)로 이루어짐을 특징으로 하는 거더합성용 프리캐스트 콘크리트구조물 시공방법.
(S I) of making a steel girder (SG) composed of an I-shaped steel girder or a U-shaped steel girder;
A concrete structure 10 formed of a cross-sectional shape having an upper light-tight cross-section and being formed symmetrically or asymmetrically, an upper flange reinforcing concrete or a precast slab serving also as an upper flange reinforcing concrete or deck plate; A concave groove 20 formed at a lower portion of the concrete structure 10 in a rectangular shape in a longitudinal direction; A horizontal shear connector 50 laterally disposed in the concave groove 20 of the concrete structure 10 while being exposed at regular intervals; A vertical shear connector 30 disposed on the upper surface of the concrete structure 10 at predetermined intervals and bent outward; (S II) of a precast concrete structure (PC) composed of a mortar injection port (40) formed at predetermined intervals along the longitudinal direction of the concrete structure (10);
(S III) of mounting a precast concrete structure (PC) on the upper flange (F) of the steel girder (SG);
And a step (SIV) of injecting shrinkage mortar into the precast concrete structure PC to synthesize a steel girder SG and a precast concrete structure PC. Way.
강재거더(SG) 또는 콘크리트거더(CG)를 제작하는 단계(S Ⅰ);
상광하협의 단면형상으로 이루어짐과 동시에 좌우대칭 또는 비대칭으로 형성되는 상부플랜지 보강전용 콘크리트 케이션 또는 데크플레이트 겸용 상부플랜지 보강용 콘크리트 케이션 또는 프리캐스트 슬래브로 형성된 콘크리트구조물(10)과; 상기 콘크리트구조물(10)의 하부에 길이방향으로 오목한 사각형 형상으로 형성되는 오목홈(20)과; 상기 콘크리트구조물(10)의 오목홈(20) 내에 일정간격으로 노출된 상태로 가로로 배치되는 수평전단연결재(50)와; 상기 콘크리트구조물(10)의 상면에 일정간격으로 배치됨과 동시에 외측으로 절곡 형성된 수직전단연결재(30)와; 상기 콘크리트구조물(10)의 길이방향을 따라 일정한 간격으로 천공 형성되는 모르타르주입구(40)로 구성된 프리캐스트 콘크리트구조물(PC)을 제작하는 단계(S Ⅱ);
상기 강재거더(SG) 또는 콘크리트거더(CG)의 상부플랜지(F)에 프리캐스트 콘크리트구조물(PC)을 거치하는 단계(S Ⅲ);
상기 프리캐스트 콘크리트구조물(PC)에 무수축 모르타르를 주입하여 강재거더(SG) 또는 콘크리트거더(CG)와 프리캐스트 콘크리트구조물(PC)을 합성하는 단계(S Ⅳ)로 이루어짐을 특징으로 하는 거더합성용 프리캐스트 콘크리트구조물 시공방법.
Fabricating a steel girder (SG) or a concrete girder (CG) (SII);
A concrete structure 10 formed of a top flange reinforcing concrete structure or a precast slab, which has a cross section of upper and lower beams and is formed symmetrically or asymmetrically with an upper flange reinforcing concrete deck or deck plate; A concave groove 20 formed at a lower portion of the concrete structure 10 in a rectangular shape in a longitudinal direction; A horizontal shear connector 50 laterally disposed in the concave groove 20 of the concrete structure 10 while being exposed at regular intervals; A vertical shear connector 30 disposed on the upper surface of the concrete structure 10 at predetermined intervals and bent outward; (S II) of a precast concrete structure (PC) composed of a mortar injection port (40) formed at predetermined intervals along the longitudinal direction of the concrete structure (10);
(S III) of mounting a precast concrete structure (PC) on the upper flange (F) of the steel girder (SG) or the concrete girder (CG);
(SIV) of injecting non-shrinking mortar into the precast concrete structure (PC) to synthesize a steel girder (SG) or a concrete girder (CG) and a precast concrete structure (PC) CONSTRUCTION METHOD OF PRECAST CONCRETE STRUCTURE FOR.
KR1020150156689A 2015-11-09 2015-11-09 precast concrete structures construction methods for girder synthesis Ceased KR20150130957A (en)

Priority Applications (1)

Application Number Priority Date Filing Date Title
KR1020150156689A KR20150130957A (en) 2015-11-09 2015-11-09 precast concrete structures construction methods for girder synthesis

Applications Claiming Priority (1)

Application Number Priority Date Filing Date Title
KR1020150156689A KR20150130957A (en) 2015-11-09 2015-11-09 precast concrete structures construction methods for girder synthesis

Related Parent Applications (1)

Application Number Title Priority Date Filing Date
KR20130108524A Division KR20150029387A (en) 2013-09-10 2013-09-10 precast concrete structures and their construction methods for girder synthesis

Publications (1)

Publication Number Publication Date
KR20150130957A true KR20150130957A (en) 2015-11-24

Family

ID=54845128

Family Applications (1)

Application Number Title Priority Date Filing Date
KR1020150156689A Ceased KR20150130957A (en) 2015-11-09 2015-11-09 precast concrete structures construction methods for girder synthesis

Country Status (1)

Country Link
KR (1) KR20150130957A (en)

Cited By (3)

* Cited by examiner, † Cited by third party
Publication number Priority date Publication date Assignee Title
CN106049258A (en) * 2016-08-04 2016-10-26 河北省交通规划设计院 Hinge joint reinforcing-steel-bar connecting piece structure for concrete beam bridge and arrangement method
CN110067198A (en) * 2018-08-01 2019-07-30 内蒙古大学 A kind of steel reinforced concrete composite beam bridge and its construction method
KR102396444B1 (en) * 2021-08-30 2022-05-10 한밭대학교 산학협력단 Composite structure of bridge deck and open box girder

Cited By (4)

* Cited by examiner, † Cited by third party
Publication number Priority date Publication date Assignee Title
CN106049258A (en) * 2016-08-04 2016-10-26 河北省交通规划设计院 Hinge joint reinforcing-steel-bar connecting piece structure for concrete beam bridge and arrangement method
CN110067198A (en) * 2018-08-01 2019-07-30 内蒙古大学 A kind of steel reinforced concrete composite beam bridge and its construction method
CN110067198B (en) * 2018-08-01 2024-05-28 内蒙古大学 Steel-concrete composite girder bridge and construction method thereof
KR102396444B1 (en) * 2021-08-30 2022-05-10 한밭대학교 산학협력단 Composite structure of bridge deck and open box girder

Similar Documents

Publication Publication Date Title
KR101545936B1 (en) Precast wall structure construction
KR101833373B1 (en) Precast modular bridge and its construction method
KR102396444B1 (en) Composite structure of bridge deck and open box girder
KR101638093B1 (en) Rahmen using hinge type pc wall and method for constructing the same
KR100836079B1 (en) Half precast slab unit girder structure and upper bridge construction method using the same
KR20020011706A (en) Fabricated pier and Fabricated pier construction method
KR20100071413A (en) Pier with precast coping and construction method of the same
KR101229263B1 (en) Slab-type box girder with a vertical connecting structure made by precast concrete and method constructing the bridge thereof
KR101640933B1 (en) Prefabricated rahmen bridge and construction method thereof
KR101705002B1 (en) Prefabricated double composite plate girder bridge and its construction method
KR20150130957A (en) precast concrete structures construction methods for girder synthesis
KR20130141275A (en) Incremental launching apparatus for constructing shearing pocket-type concrete slab of composite bridge
KR101251118B1 (en) A manufacturing method of a composite steel box girder using prestressed concrete for a positive moment area of a bridge
KR102000534B1 (en) Construction method using textile reinforcing panel of high durability for combined usage of permanent form
KR101186053B1 (en) Method of Constructing Insitu Concrete Beam Using Preinstalled Precast Concrete Slab
KR101768056B1 (en) Manufacturing method of prestressed concrete girder for bridge and constructing method of bridge using same
KR101967425B1 (en) Retaining wall with buttress and construction method thereof
KR101606439B1 (en) Spacer for fixing between truss girder and deck plate combine
KR102503181B1 (en) Concrete box girder and bridge using the same
KR101482523B1 (en) Nodular Box Girder, and Nodular Box Girder Bridge and Constructing Method thereof
KR20200004087A (en) Method constructing the reinforcing materials to the minus moment of continuous girder
KR20130090453A (en) Reinforcement member and girder using the same
KR20040004265A (en) Precast segment slab arch bridge
KR101704291B1 (en) Aassembled precast girder for bridge
KR101920681B1 (en) Bridge structure using Precast concrete girder bridge with pretension and PC wall

Legal Events

Date Code Title Description
A107 Divisional application of patent
A201 Request for examination
PA0107 Divisional application

St.27 status event code: A-0-1-A10-A18-div-PA0107

St.27 status event code: A-0-1-A10-A16-div-PA0107

PA0201 Request for examination

St.27 status event code: A-1-2-D10-D11-exm-PA0201

PG1501 Laying open of application

St.27 status event code: A-1-1-Q10-Q12-nap-PG1501

E902 Notification of reason for refusal
PE0902 Notice of grounds for rejection

St.27 status event code: A-1-2-D10-D21-exm-PE0902

T11-X000 Administrative time limit extension requested

St.27 status event code: U-3-3-T10-T11-oth-X000

T11-X000 Administrative time limit extension requested

St.27 status event code: U-3-3-T10-T11-oth-X000

P11-X000 Amendment of application requested

St.27 status event code: A-2-2-P10-P11-nap-X000

P13-X000 Application amended

St.27 status event code: A-2-2-P10-P13-nap-X000

E601 Decision to refuse application
PE0601 Decision on rejection of patent

St.27 status event code: N-2-6-B10-B15-exm-PE0601

PN2301 Change of applicant

St.27 status event code: A-3-3-R10-R13-asn-PN2301

St.27 status event code: A-3-3-R10-R11-asn-PN2301

P22-X000 Classification modified

St.27 status event code: A-2-2-P10-P22-nap-X000

R18-X000 Changes to party contact information recorded

St.27 status event code: A-3-3-R10-R18-oth-X000

R18-X000 Changes to party contact information recorded

St.27 status event code: A-3-3-R10-R18-oth-X000

PN2301 Change of applicant

St.27 status event code: A-3-3-R10-R13-asn-PN2301

St.27 status event code: A-3-3-R10-R11-asn-PN2301

R18-X000 Changes to party contact information recorded

St.27 status event code: A-3-3-R10-R18-oth-X000

R18-X000 Changes to party contact information recorded

St.27 status event code: A-3-3-R10-R18-oth-X000

R18 Changes to party contact information recorded

Free format text: ST27 STATUS EVENT CODE: A-3-3-R10-R18-OTH-X000 (AS PROVIDED BY THE NATIONAL OFFICE)

R18-X000 Changes to party contact information recorded

St.27 status event code: A-3-3-R10-R18-oth-X000