KR20150123014A - 조명 장치 - Google Patents

조명 장치 Download PDF

Info

Publication number
KR20150123014A
KR20150123014A KR1020140049296A KR20140049296A KR20150123014A KR 20150123014 A KR20150123014 A KR 20150123014A KR 1020140049296 A KR1020140049296 A KR 1020140049296A KR 20140049296 A KR20140049296 A KR 20140049296A KR 20150123014 A KR20150123014 A KR 20150123014A
Authority
KR
South Korea
Prior art keywords
disposed
substrate
cover
light source
wall
Prior art date
Legal status (The legal status is an assumption and is not a legal conclusion. Google has not performed a legal analysis and makes no representation as to the accuracy of the status listed.)
Granted
Application number
KR1020140049296A
Other languages
English (en)
Other versions
KR102157066B1 (ko
Inventor
임창혁
전지환
홍상준
Original Assignee
엘지이노텍 주식회사
Priority date (The priority date is an assumption and is not a legal conclusion. Google has not performed a legal analysis and makes no representation as to the accuracy of the date listed.)
Filing date
Publication date
Application filed by 엘지이노텍 주식회사 filed Critical 엘지이노텍 주식회사
Priority to KR1020140049296A priority Critical patent/KR102157066B1/ko
Priority to PCT/KR2014/012053 priority patent/WO2015163556A1/ko
Priority to US15/306,023 priority patent/US10234090B2/en
Priority to EP14890133.3A priority patent/EP3135984B1/en
Publication of KR20150123014A publication Critical patent/KR20150123014A/ko
Application granted granted Critical
Publication of KR102157066B1 publication Critical patent/KR102157066B1/ko
Expired - Fee Related legal-status Critical Current
Anticipated expiration legal-status Critical

Links

Images

Classifications

    • FMECHANICAL ENGINEERING; LIGHTING; HEATING; WEAPONS; BLASTING
    • F21LIGHTING
    • F21KNON-ELECTRIC LIGHT SOURCES USING LUMINESCENCE; LIGHT SOURCES USING ELECTROCHEMILUMINESCENCE; LIGHT SOURCES USING CHARGES OF COMBUSTIBLE MATERIAL; LIGHT SOURCES USING SEMICONDUCTOR DEVICES AS LIGHT-GENERATING ELEMENTS; LIGHT SOURCES NOT OTHERWISE PROVIDED FOR
    • F21K9/00Light sources using semiconductor devices as light-generating elements, e.g. using light-emitting diodes [LED] or lasers
    • F21K9/60Optical arrangements integrated in the light source, e.g. for improving the colour rendering index or the light extraction
    • FMECHANICAL ENGINEERING; LIGHTING; HEATING; WEAPONS; BLASTING
    • F21LIGHTING
    • F21KNON-ELECTRIC LIGHT SOURCES USING LUMINESCENCE; LIGHT SOURCES USING ELECTROCHEMILUMINESCENCE; LIGHT SOURCES USING CHARGES OF COMBUSTIBLE MATERIAL; LIGHT SOURCES USING SEMICONDUCTOR DEVICES AS LIGHT-GENERATING ELEMENTS; LIGHT SOURCES NOT OTHERWISE PROVIDED FOR
    • F21K9/00Light sources using semiconductor devices as light-generating elements, e.g. using light-emitting diodes [LED] or lasers
    • F21K9/60Optical arrangements integrated in the light source, e.g. for improving the colour rendering index or the light extraction
    • F21K9/66Details of globes or covers forming part of the light source
    • FMECHANICAL ENGINEERING; LIGHTING; HEATING; WEAPONS; BLASTING
    • F21LIGHTING
    • F21KNON-ELECTRIC LIGHT SOURCES USING LUMINESCENCE; LIGHT SOURCES USING ELECTROCHEMILUMINESCENCE; LIGHT SOURCES USING CHARGES OF COMBUSTIBLE MATERIAL; LIGHT SOURCES USING SEMICONDUCTOR DEVICES AS LIGHT-GENERATING ELEMENTS; LIGHT SOURCES NOT OTHERWISE PROVIDED FOR
    • F21K9/00Light sources using semiconductor devices as light-generating elements, e.g. using light-emitting diodes [LED] or lasers
    • F21K9/60Optical arrangements integrated in the light source, e.g. for improving the colour rendering index or the light extraction
    • F21K9/68Details of reflectors forming part of the light source
    • FMECHANICAL ENGINEERING; LIGHTING; HEATING; WEAPONS; BLASTING
    • F21LIGHTING
    • F21YINDEXING SCHEME ASSOCIATED WITH SUBCLASSES F21K, F21L, F21S and F21V, RELATING TO THE FORM OR THE KIND OF THE LIGHT SOURCES OR OF THE COLOUR OF THE LIGHT EMITTED
    • F21Y2101/00Point-like light sources

Landscapes

  • Engineering & Computer Science (AREA)
  • Physics & Mathematics (AREA)
  • Microelectronics & Electronic Packaging (AREA)
  • Optics & Photonics (AREA)
  • General Engineering & Computer Science (AREA)
  • Non-Portable Lighting Devices Or Systems Thereof (AREA)
  • Arrangement Of Elements, Cooling, Sealing, Or The Like Of Lighting Devices (AREA)

Abstract

실시 형태는 조명 장치에 관한 것이다.
실시 형태에 따른 조명 장치는, 상면과 하면을 포함하는 기판과 상기 기판의 하면의 중심부에 배치된 복수의 발광 소자, 및 상기 기판의 하면의 가장자리부에 배치되고 와이어와 연결된 입출력부를 포함하는 광원부; 및 상기 광원부의 기판과 결합하고, 상기 광원부의 복수의 발광 소자로부터의 광을 방출시키는 개구를 포함하는, 바디;를 포함하고, 상기 바디는, 상기 개구를 정의하는 내측면을 포함하고, 상기 바디는, 상기 바디의 내측면에 배치되고, 상기 광원부의 입출력부와 상기 와이어를 덮는 덮개부를 포함한다.

Description

조명 장치{LIGHTING DEVICE}
실시 형태는 조명 장치에 관한 것이다.
발광 다이오드(LED)는 전기 에너지를 빛으로 변환하는 반도체 소자의 일종이다. 발광 다이오드는 형광등, 백열등 등 기존의 광원에 비해 저소비전력, 반영구적인 수명, 빠른 응답속도, 안전성, 환경친화성의 장점을 가진다. 이에 기존의 재래식 광원을 발광 다이오드로 대체하기 위한 많은 연구가 진행되고 있으며, 발광 다이오드는 실내외에서 사용되는 각종 램프, 액정표시장치, 전광판, 가로등 등의 조명 장치의 광원으로서 사용이 증가되고 있는 추세이다.
실시 형태는, 광원부와 연결된 와이어에 의한 음영 발생을 방지할 수 있는 조명 장치를 제공한다.
실시 형태는 방열 효율을 향상시킬 수 있는 조명 장치를 제공한다.
실시 형태는, 무게가 가벼운 조명 장치를 제공한다.
실시 형태는, 제조 비용이 절감할 수 있는 조명 장치를 제공한다.
실시 형태는, 내구성과 신뢰성을 확보할 수 있는 조명 장치를 제공한다.
실시 형태는, 광원부에서 방출되는 광이 플라스틱 재질의 바디를 투과하기 어려운 조명 장치를 제공한다.
실시 형태는, 외부 충격에 강한 조명 장치를 제공한다.
실시 형태는, 광원부와 연결된 와이어의 움직임을 방지할 수 있는 조명 장치를 제공한다.
실시 형태는, 광 효율을 향상시킬 수 있는 조명 장치를 제공한다.
실시 형태는, 고전압에 잘 견딜 수 있는 조명 장치를 제공한다.
실시 형태는, 광원부의 기판의 움직임과 회전을 막을 수 있는 조명 장치를 제공한다.
실시 형태는, 다양한 사이즈를 갖는 여러 기판들과 호환될 수 있는 조명 장치를 제공한다.
실시 형태는, 바디가 커버부와 결합할 때, 커버부의 결합 위치를 용이하게 식별할 수 있는 조명 장치를 제공한다.
실시 형태는, 커버부가 바디에 결합되었을 때, 커버부의 움직임과 회전을 막을 수 있는 조명 장치를 제공한다.
실시 형태는, 교류를 직류로 변환하기 위한 컨버터가 필요하지 않는 조명 장치를 제공한다.
실시 형태는, 탄성 부재의 설치 위치가 틀어지거나 변경되지 않는 조명 장치를 제공한다.
실시 형태는, 탄성 부재의 인장력이 보강될 수 있는 조명 장치를 제공한다.
실시 형태는, 커버부와 바디가 분리되더라도, 탄성 부재가 커버부에서 이탈되지 않는 조명 장치를 제공한다.
실시 형태에 따른 조명 장치는, 상면과 하면을 포함하는 기판과 상기 기판의 하면의 중심부에 배치된 복수의 발광 소자, 및 상기 기판의 하면의 가장자리부에 배치되고 와이어와 연결된 입출력부를 포함하는 광원부; 및 상기 광원부의 기판과 결합하고, 상기 광원부의 복수의 발광 소자로부터의 광이 통과하는 개구를 포함하는, 바디;를 포함하고, 상기 바디는, 상기 개구를 정의하는 내측면을 포함하고, 상기 바디는, 상기 바디의 내측면에 배치되고, 상기 광원부의 입출력부와 상기 와이어를 덮는 덮개부를 포함한다.
실시 형태에 따른 조명 장치를 사용하면, 광원부와 연결된 와이어에 의한 음영 발생을 방지할 수 있는 이점이 있다.
또한, 방열 효율을 향상시킬 수 있는 이점이 있다.
또한, 무게가 가벼운 이점이 있다.
또한, 제조 비용이 절감할 수 있는 이점이 있다.
또한, 내구성과 신뢰성을 확보할 수 있는 이점이 있다.
또한, 광원부에서 방출되는 광이 플라스틱 재질의 바디를 투과하기 어려운 이점이 있다.
또한, 외부 충격에 강한 이점이 있다.
또한, 광원부와 연결된 와이어의 움직임을 방지할 수 있는 이점이 있다.
또한, 광 효율을 향상시킬 수 있는 이점이 있다.
또한, 고전압에 잘 견딜 수 있는 이점이 있다.
또한, 광원부의 기판의 움직임과 회전을 막을 수 있는 이점이 있다.
또한, 다양한 사이즈를 갖는 여러 기판들과 호환될 수 있는 이점이 있다.
또한, 바디가 커버부와 결합할 때, 커버부의 결합 위치를 용이하게 식별할 수 있는 이점이 있다.
또한, 커버부가 바디에 결합되었을 때, 커버부의 움직임과 회전을 막을 수 있는 이점이 있다.
또한, 교류를 직류로 변환하기 위한 컨버터가 필요하지 않는 이점이 있다.
또한, 탄성 부재의 설치 위치가 틀어지거나 변경되지 않는 이점이 있다.
또한, 탄성 부재의 인장력이 보강될 수 있는 이점이 있다.
또한, 커버부와 바디가 분리되더라도, 탄성 부재가 커버부에서 이탈되지 않는 이점이 있다.
도 1은 제1 실시 형태에 따른 조명 장치를 위에서 바라본 사시도.
도 2는 도 1에 도시된 조명 장치를 아래에서 바라본 사시도.
도 3은 도 1에 도시된 조명 장치의 분해 사시도.
도 4는 도 2에 도시된 조명 장치의 분해 사시도.
도 5는 도 1에 도시된 조명 장치의 단면도.
도 6은 도 1에 도시된 조명 장치의 단면 사시도.
도 7은 도 4에 도시된 광원부(300)의 사시도.
도 8은 도 7에 도시된 광원부(300)보다 작은 사이즈를 갖는 광원부(300’)의 사시도.
도 9는 도 8에 도시된 광원부(300’)의 회로 패턴도.
도 10은 도 1 내지 도 6에 도시된 열전도 부재(200)와 광원부(300)의 기판(310)을 형성하는 하나의 방법을 설명하기 위한 도면.
도 11은 도 3에 도시된 제1 바디(410)를 위에서 바라본 사시도.
도 12는 도 11에 도시된 제1 바디(410)를 아래에서 바라본 사시도.
도 13은 도 4에 도시된 광원부(300)와 바디(400)를 결합시켰을 때의 사시도.
도 14는 제3 가이드 홈(411b-5)이 복수인 경우를 설명하기 위한 사시도.
도 15는 도 8에 도시된 기판(310’)이 제1 돌기(414-1)와 결합된 것을 보여주는 사시도.
도 16은 도 7에 도시된 기판(310)이 제2 돌기(414-3)와 결합된 것을 보여주는 사시도.
도 17은 반사부(500)가 지지부(415) 상에 배치된 모습을 보여주는 도면.
도 18은 도 11에 도시된 가이드부(414)의 변형 예를 설명하기 위한 도면.
도 19는 도 3에 도시된 커버부(100)와 탄성 부재(700)의 분해 사시도.
도 20은 도 1에 도시된 조명 장치의 측면도.
도 21은 도 20에 도시된 조명 장치의 커버부를 바디에서 분리시켰을 때의 측면도.
도 22는 제2 실시 형태에 따른 조명 장치를 위에서 바라본 사시도.
도 23은 도 22에 도시된 조명 장치를 아래에서 바라본 사시도.
도 24는 도 22에 도시된 조명 장치의 분해 사시도.
도 25는 도 23에 도시된 조명 장치의 분해 사시도.
도면에서 각층의 두께나 크기는 설명의 편의 및 명확성을 위하여 과장되거나 생략되거나 또는 개략적으로 도시되었다. 또한 각 구성요소의 크기는 실제크기를 전적으로 반영하는 것은 아니다.
본 발명에 따른 실시 형태의 설명에 있어서, 어느 한 element가 다른 element의 " 상(위) 또는 하(아래)(on or under)"에 형성되는 것으로 기재되는 경우에 있어, 상(위) 또는 하(아래)(on or under)는 두 개의 element가 서로 직접(directly)접촉되거나 하나 이상의 다른 element가 상기 두 element사이에 배치되어(indirectly) 형성되는 것을 모두 포함한다. 또한 “상(위) 또는 하(아래)(on or under)”으로 표현되는 경우 하나의 element를 기준으로 위쪽 방향뿐만 아니라 아래쪽 방향의 의미도 포함할 수 있다.
이하 첨부된 도면을 참조하여 본 발명의 실시 형태에 따른 조명 장치를 설명한다.
도 1은 제1 실시 형태에 따른 조명 장치를 위에서 바라본 사시도이고, 도 2는 도 1에 도시된 조명 장치를 아래에서 바라본 사시도이고, 도 3은 도 1에 도시된 조명 장치의 분해 사시도이고, 도 4는 도 2에 도시된 조명 장치의 분해 사시도이고, 도 5는 도 1에 도시된 조명 장치의 단면도이고, 도 6은 도 1에 도시된 조명 장치의 단면 사시도이다.
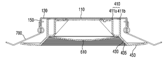
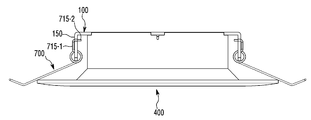
도 1 내지 도 6을 참조하면, 제1 실시 형태에 따른 조명 장치는, 커버부(100), 열전도 부재(200), 광원부(300), 바디(400), 반사부(500), 광학부(600) 및 탄성 부재(700)를 포함할 수 있다.
커버부(100)는 바디(400)와 결합한다. 커버부(100)와 바디(400)의 결합에 의해 제1 실시 형태에 따른 조명 장치의 외관이 형성될 수 있다.
커버부(100) 아래에는 광원부(300)가 배치될 수 있다. 커버부(100)는 광원부(300)로부터 열을 전달받아 외부로 방출하기 용이한 방열 재질로 구성될 수 있다. 예를 들어, 커버부(100)는 알루미늄, 알루미늄 합금, 마그네슘, 마그네슘 합금 등과 같은 금속성의 물질일 수 있다.
커버부(100)는 커버(110), 연장부(130) 및 결합부(150)를 포함할 수 있다. 커버(110), 연장부(130) 및 결합부(150)는 일체일 수도 있고, 별도로 제작되어 서로 연결된 것일 수 있다.
커버(110)는, 광원부(300) 상에 배치되고, 바디(400)와 결합할 수 있다.
커버(110)는 상면, 하면 및 상면과 하면 사이에 연결된 외주면을 갖는 판 형상일 수 있다. 커버(110)의 상면은 외부에 노출되고, 하면은 광원부(300)와 직접 또는 간접적으로 접촉할 수 있다.
커버(110)는 돌출부(111)를 포함할 수 있다. 돌출부(111)는 커버(110)의 외주면에서 바깥으로 돌출된 것일 수 있다. 돌출부(111)는 커버(110)의 외주면에 하나 또는 복수로 배치될 수 있다. 돌출부(111)의 형상은 제1 바디(410)의 제1 가이드 홈(411b-1)의 형상과 대응되는 형상을 가질 수 있다. 돌출부(111)는 제1 가이드 홈(411b-1)에 배치될 수 있다. 돌출부(111)가 제1 가이드 홈(411b-1)에 배치되면, 커버부(100)가 바디(400)에 결합되었을 때, 커버부(100)의 움직임과 회전을 막을 수 있다.
커버(110)의 하면은 열전도 부재(200)가 배치되는 배치부(113)를 포함할 수 있다. 배치부(113)는 열전도 부재(200)를 수납할 수 있는 캐비티일 수 있다.
커버(110)는 리벳 또는 나사와 같은 체결 수단(S)이 관통하는 홀(115)을 가질 수 있다. 홀(115)은 커버(110)의 상면과 하면을 관통할 수 있다. 체결 수단(S)이 홀(115)에 삽입된 후 바디(400’)의 체결부(413)에 결합됨으로써, 커버부(100)와 바디(400)는 서로 결합될 수 있다.
커버(110)의 형상은, 도면에 도시된 바와 같이, 원형일 수 있으나, 이에 한정하는 것은 아니며, 타원형 또는 다각형일 수도 있다.
연장부(130)는, 커버(110)에서 제1 방향으로 연장된 것일 수 있다. 예를 들어, 연장부(130)는, 커버(110)의 외주면에서 바깥으로 연장된 것일 수 있다. 연장부(130)에 의해 커버부(100)의 면적이 넓어지기 때문에, 방열 효율이 더 향상될 수 있다. 제1 방향은 커버(110)의 상면 또는 하면과 평행한 방향일 수 있다.
연장부(130)는 제1 바디(410)의 제2 가이드 홈(411b-3)에 배치될 수 있다. 연장부(130)가 제2 가이드 홈(411b-3)에 배치되면, 커버부(100)가 바디(400)에 결합되었을 때, 커버부(100)의 움직임과 회전을 막을 수 있다.
결합부(150)는 연장부(130)에서 제2 방향으로 연장된 것일 수 있다. 예를 들어, 결합부(150)는, 연장부(130)의 끝단에서 연장부(130)의 연장 방향과 다른 방향으로 연장되고, 탄성 부재(700)와 결합할 수 있다. 결합부(150)는 연장부(130)의 끝단에서 커버(110) 또는 연장부(130)에 수직한 방향으로 연장된 것일 수 있다. 따라서, 제2 방향은 제1 방향과 수직할 수 있으며 이에 한정하지 않는다.
결합부(150)에 의해 커버부(100)의 면적이 넓어지기 때문에, 방열 효율이 더 향상될 수 있다. 또한, 탄성 부재(700)가 플라스틱 재질의 바디(400)가 아닌 강도가 더 강한 금속 재질의 커버부(100)에 결합되므로, 제1 실시 형태에 따른 조명 장치는 내구성과 신뢰성을 확보할 수 있다.
광원부(300)는, 커버부(100) 아래에 배치되고, 바디(400) 상에 배치될 수 있다. 즉, 광원부(300)는 커버부(100)와 바디(400) 사이에 배치될 수 있다.
광원부(300)는 커버부(100)와 바디(400)의 결합에 의해, 제1 실시 형태에 따른 조명 장치 내부에 고정될 수 있다.
광원부(300)는 기판(310) 및 발광 소자(330)를 포함할 수 있다.
기판(310)은 절연체에 회로 패턴이 인쇄된 것일 수 있으며, 예를 들어, 일반 인쇄회로기판(PCB: Printed Circuit Board), 메탈 코아(Metal Core) PCB, 연성(Flexible) PCB, 세라믹 PCB 등을 포함할 수 있다.
기판(310)의 일 면(상면)은 커버부(100)의 커버(110)의 하면에 접촉될 수도 있고, 간접적으로 커버(110)의 하면과 접촉할 수 있다. 기판(310)의 상면이 커버(110)의 하면과 간접적으로 접촉하는 경우는, 기판(310)과 커버(110) 사이에 열전도 부재(200)가 배치되는 경우일 수 있다.
발광 소자(330)이 배치된 기판(310)의 다른 일 면(하면)은 광을 반사할 수 있다. 예를 들어, 기판(310)의 하면은 백색 또는 은색 등으로 코팅될 수 있다.
기판(310)의 하면에는 발광 소자(330)가 하나 또는 복수로 배치될 수 있다.
발광 소자(330)는 적색, 녹색, 청색의 광을 방출하는 발광 다이오드(Lighting Emitting Diode) 칩(chip)이거나 자외선 광(Ultraviolet light)를 방출하는 발광 다이오드 칩일 수 있다. 여기서, 발광 다이오드는 수평형(Lateral Type), 수직형(Vertical Type) 또는 플립칩형(Flip chip Type)일 수 있고, 청색(Blue), 적색(Red), 황색(Yellow) 또는 녹색(Green)의 광을 발산할 수 있다.
발광 소자(330)는 제1 도전형 반도체층, 활성층 및 제2 도전형 반도체층을 포함하는 발광 구조물을 구비할 수 있다. 예를 들어, 발광 구조물은 제1 도전형 반도체층과 제2 도전형 반도체층 사이에 활성층이 배치된 형태로 구비될 수 있다.
제1 도전형 반도체층은 n형 반도체층을 포함할 수 있고 GaN, AlN, AlGaN, InGaN, InN, InAlGaN, AlInN, AlGaAs, GaP, GaAs, GaAsP, AlGaInP 등에서 선택될 수 있으며 Si, Ge, Sn, Se, Te 등의 n형 도펀트가 도핑될 수 있다.
활성층은 상기 제1 도전형 반도체층을 통해서 주입되는 전자(또는 정공)와 제2 도전형 반도체층을 통해서 주입되는 정공(또는 전자)이 서로 만나서, 활성층의 형성 물질에 따른 에너지 밴드(Energy Band)의 밴드갭(Band Gap) 차이에 의해서 빛을 방출하는 층이다. 활성층은 단일 우물 구조, 다중 우물 구조, 양자점 구조 또는 양자선 구조 중 어느 하나로 형성될 수 있으나, 이에 한정되는 것은 아니다.
제2 도전형 반도체층은 p형 반도체층으로 구현될 수 있고 GaN, AlN, AlGaN, InGaN, InN, InAlGaN, AlInN, AlGaAs, GaP, GaAs, GaAsP, AlGaInP 등에서 선택될 수 있으며 Mg, Zn, Ca, Sr, Ba 등의 p형 도펀트가 도핑될 수 있다.
한편 제1 도전형 반도체층이 p형 반도체층을 포함하고 제2 도전형 반도체층이 n형 반도체층을 포함할 수도있다. 또한 제2 도전형 반도체층 아래에는 n형 또는 p형 반도체층을 포함하는 반도체층이 더 형성될 수 있다. 이에 따라, 발광 구조물은 n-p 접합 구조, p-n 접합 구조, n-p-n 접합 구조, 및 p-n-p 접합 구조 중 적어도 하나를 포함할 수 있다. 발광 소자(330)은 가시광선 대역부터 자외선 대역의 범위 중에서 선택적으로 발광할 수 있고, 반도체 재질 고유의 색을 갖는 빛을 방출할 수 있다.
발광 소자(330) 상에는 렌즈가 배치될 수 있다. 렌즈는 발광 소자(330)를 덮도록 배치된다. 이러한 렌즈는 발광 소자(330)로부터 방출하는 광의 지향각이나 광의 방향을 조절할 수 있다. 렌즈는 실리콘 수지 또는 에폭시 수지와 같은 투광성 수지를 포함하여 형성될 수 있다. 투광성 수지는 전체적으로 또는 부분적으로 분산된 형광체를 포함할 수도 있다. 렌즈의 형태는 예를 들어 단면이 반구 타입이거나 가운데가 오목부가 형성된 타입 등이 될 수 있으며, 이에 한정하지 않는다.
발광 소자(330)가 청색 발광 다이오드일 경우, 투광성 수지에 포함된 형광체는 가넷(Garnet)계(YAG, TAG), 실리케이드(Silicate)계, 나이트라이드(Nitride)계 및 옥시나이트라이드(Oxynitride)계 중 적어도 어느 하나 이상을 포함할 수 있다.
투광성 수지에 황색 계열의 형광체만을 포함되도록 하여 자연광(백색광)을 구현할 수 있지만, 연색지수의 향상과 색온도의 저감을 위해 녹색 계열의 형광체나 적색 계열을 형광체를 더 포함할 수 있다.
투광성 수지에 여러 종류의 형광체들이 혼합된 경우, 형광체의 색상에 따른 첨가 비율은 적색 계열의 형광체보다는 녹색 계열의 형광체를, 녹색 계열의 형광체보다는 황색 계열의 형광체를 더 많이 사용할 수 있다. 황색 계열의 형광체로는 가넷계의 YAG, 실리케이트계, 옥시나이트라이드계를 사용하고, 녹색 계열의 형광체로는 실리케이트계, 옥시나이트라이드계를 사용하고, 적색 계열의 형광체는 나이트라이드계를 사용할 수 있다. 투광성 수지에 여러 종류의 형광체들이 혼합된 것 이외에도, 적색 계열의 형광체를 갖는 층, 녹색 계열의 형광체를 갖는 층 및 황색 계열의 형광체를 갖는 층이 각각 별개로 나뉘어 구성될 수 있다.
광원부(300)는 교류에 의해 구동될 수 있는 AC 모듈(Alternating current module)일 수 있다. 광원부(300)가 AC 모듈이면, 교류를 직류로 변환하기 위한 컨버터가 제1 실시 형태에 따른 조명 장치 내부에 필요하지 않는 이점이 있다.
도 7 내지 도 9를 참조하여 AC 모듈인 광원부(300)를 좀 더 구체적으로 설명하도록 한다.
도 7은 도 4에 도시된 광원부(300)의 사시도이고, 도 8은 도 7에 도시된 광원부(300)보다 작은 사이즈를 갖는 광원부(300’)의 사시도이고, 도 9는 도 8에 도시된 광원부(300’)의 회로 패턴도이다.
도 7에 도시된 광원부(300)의 기판(310)은, 도 8에 도시된 광원부(300’)의 기판(310’)보다 사이즈가 더 크다. 즉, 직경이 더 크다. 또한, 도 7에 도시된 광원부(300)의 발광 소자(330)의 개수는 도 8에 도시된 광원부(300’)의 발광 소자(330)의 개수보다 많다. 따라서, 도 7에 도시된 광원부(300)에서 방출되는 광량은, 도 8에 도시된 광원부(300’)에서 방출되는 광량보다 더 크다.
도 7 및 도 8을 참조하면, 기판(310, 310’)은 중심부(311, 311’)와 가장자리부(313, 313’)을 포함한다. 기판(310, 310’)의 중심부(311, 311’)에는 복수의 발광 소자(330)들이 배치되고, 기판(310, 310’)의 가장자리부(313, 313’)에는 입출력부(350)가 배치될 수 있다. 입출력부(350)는 와이어(w)와 전기적으로 연결될 수 있다. 입출력부(350)가 기판(310, 310’)의 가장자리부(313, 313’)에 배치되면, 입출력부(350)가 기판(310, 310’)의 중심부(311, 311’)에 배치되는 경우보다 와이어(w)에 의한 음영 발생을 줄일 수 있다. 입출력부(350)가 기판(310, 310’)의 중심부(311, 311’)에 배치되면, 와이어(w)가 인접한 두 개의 발광 소자(330) 사이에 배치되어야 하는데, 이 경우 인접한 두 개의 발광 소자(330)에서 방출되는 광 중 일부가 와이어(w)에 가려져 음영이 발생될 수 있다. 하지만, 제1 실시 형태에 따른 조명 장치는, 입출력부(350)가 기판(310, 310’)의 가장자리부에 배치되기 때문에, 와이어(w)에 의한 음영의 발생을 줄일 수 있는 이점이 있다.
기판(310, 310’)의 가장자리부(313, 313’)에는 퓨즈(Fuse), 바리스터(Varistor), 브릿지 다이오드(Bridge Diode), IC 및 복수의 저항과 커패시터들이 배치될 수 있다.
기판(310, 310’)의 중심부(311, 311’)에 발광 소자(330)들이 배치되고, 가장자리부(313, 313’)에 기타 다른 전자 소자들이 배치되면, 발광 소자(330)들에서 방출되는 열이 빠르게 기판(310, 310’)의 가장자리부(313, 313’)로 확산될 수 있고, 상기 전자 소자들로부터 발생되는 열을 빠르게 밖으로 방출할 수 있어, 제1 실시 형태에 따른 조명 장치의 방열 효율이 향상되는 이점이 있다.
기판(310, 310’)은 적어도 하나 이상의 홈(315)를 가질 수 있다. 홈(315)은 기판(310, 310’)의 가장자리부(313, 313’)에 배치될 수 있다. 홈(315)은 기판(310, 310’)의 외주면에서 기판(310, 310’)의 중심부(311, 311’) 방향으로 소정 깊이를 갖는 것일 수 있다.
다시, 도 1 내지 도 6을 참조하면, 열전도 부재(200)는, 커버부(100)와 광원부(300) 사이에 배치될 수 있다. 구체적으로, 열전도 부재(200)는 커버부(100)의 커버(110)의 하면과 광원부(300)의 기판(310)의 일 면 사이에 배치될 수 있다. 열전도 부재(200)에 의해 기판(310)과 커버(110)는 간접적으로 접촉할 수 있다. 열전도 부재(200)는 광원부(300)로부터의 열을 커버부(100)로 빠르게 전달할 수 있다. 따라서, 제1 실시 형태에 따른 조명 장치는 방열 효율이 향상될 수 있다.
한편, 열전도 부재(200)는 임의적 구성 요소로서 이것이 없어도 무방하다. 이 경우, 커버(110)와 기판(310)은 직접 접촉할 수 있다.
도 10은 도 1 내지 도 6에 도시된 열전도 부재(200)와 광원부(300)의 기판(310)을 형성하는 하나의 방법을 설명하기 위한 도면이다.
도 10을 참조하면, 기판(310)은 FR-4 층(317), 동박층(318) 및 접착층(319)를 포함할 수 있다. 기판(310)이 FR-4 층(317)을 포함하면, 절연 성능이 기판(310)이 메탈 PCB인 경우보다 더 향상되는 이점이 있다.
FR-4 층(317)은 에폭시 수지와 유리 섬유를 포함하는 층일 수 있다. FR-4 층(317)의 상면에 동박층(318)이 배치되고, 하면에 접착층(319)이 배치될 수 있다.
동박층(318)은 FR-4 층(317) 상에 배치되며, 기판(310)의 회로 패턴층일 수 있다.
동박층(318)의 상면에 도 4에 도시된 발광 소자(330)가 배치될 수 있다.
접착층(319)은 커버(110)와 FR-4 층(317)을 접착시키기 위한 층이다. 접착층(319)의 상면은 FR-4 층(317)의 하면과 접촉하고, 하면은 커버(110)의 상면과 접촉할 수 있다.
접착층(319)의 재질은 아크릴 수지일 수 있다.
접착층(319)의 두께는 40um 이상 60um 이하일 수 있다. 접착층(319)의 두께가 60um보다 크면, 접착층(319)의 두께가 너무 두꺼워 방열 성능이 떨어지는 문제가 있고, 접착층(319)의 두께가 40um보다 작으면, 접착층(319)의 두께가 너무 얇아 커버(110)와 FR-4층(317) 사이의 접착력이 줄어 커버(110)와 FR-4층(317)이 떨어지기 쉬운 문제가 있다. 여기서, 접착층(319)의 두께는 50um인 것이 바람직하다.
접착층(319)은 커버(110)와 FR-4 층(317) 사이에 배치된 후 열 접착 공정을 통해 더욱 견고하게 커버(110)와 FR-4 층(317)에 접착될 수 있다. 접착층(319)이 열 접착 공정을 거치면, 커버(110)와 접착층(319) 및 FR-4 층(317)과 접착층(319)이 더욱 견고하게 접촉되므로, 제1 실시 형태에 따른 조명 장치의 방열 성능이 더욱 향상될 수 있다. 또한, 열 접착에 의해 접착층(319)이 형성되면, 열 접착을 하지 않을 경우보다 FR-4 층(317)의 두께를 더 줄일 수 있는 이점이 있다. 따라서, FR-4 층(317)을 구성하는 FR-4의 재료의 양을 줄일 수 있어 제조 비용이 절감되는 이점이 있다.
한편, 커버(110)는 복수의 핀(119)들을 포함할 수 있다. 복수의 핀(119)들은 커버(110)의 외면에서 밖으로 돌출된 것일 수 있다. 복수의 핀(119)들은 커버(110)의 표면적을 넓혀 제1 실시 형태에 따른 조명 장치의 방열 효율을 향상시킬 수 있다. 복수의 핀(119)들은 일정한 길이로 형성되거나 도시된 바와 같이, 가운데로 갈수록 길이가 더 커지게 형성될 수 있으며, 이에 한정하지 않는다.
다시, 도 1 내지 도 6을 참조하면, 바디(400)는, 커버부(100), 광원부(300) 및 광학부(600)와 결합하고, 내부에 광원부(300)와 반사부(500)를 수납할 수 있다.
바디(400)는 금속 재질의 커버부(100)와 달리, 플라스틱 재질일 수 있다. 예를 들어, 바디(400)는 폴리카보네이트(PC)일 수 있다. 바디(400)가 플라스틱 재질이면, 바디(400)가 금속 재질인 경우보다 무게가 더 가볍고, 제조 비용을 줄일 수 있다.
바디(400)는, 제1 바디(410), 제2 바디(430) 및 제3 바디(450)를 포함할 수 있다. 여기서, 제1 바디(410), 제2 바디(430) 및 제3 바디(450)는 일체로 형성된 것일 수도 있지만, 이에 한정하는 것은 아니며, 제1 바디(410), 제2 바디(430) 및 제3 바디(450)는 각각 별개로 제작되어 서로 결합된 것일 수도 있다.
제1 바디(410)는, 광원부(300) 아래에 배치되고, 커버부(100) 및 광원부(300)와 결합할 수 있다.
제1 바디(410)는, 광원부(300)의 기판(310) 아래에 배치되고, 광원부(300)의 복수의 발광 소자(330)들을 둘러싸도록 배치될 수 있다.
제1 바디(410)는, 도 6에 도시된 바와 같이, 커버부(100)의 커버(110)와 리벳 또는 나사와 같은 체결 수단(S)에 의해 서로 결합될 수 있다. 체결 수단(S)이 도 3에 도시된 커버(110)의 홀(115)을 관통하여 제1 바디(410)의 체결부(413)에 삽입됨으로써, 제1 바디(410)와 커버(110)는 결합될 수 있다. 제1 바디(410)와 커버(110)의 결합 방법은 이에 한정하지 않으며, 후크 구조 등 다른 구조에 의해서 결합할 수도 있다.
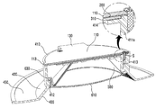
도 11 내지 도 13을 참조하여 제1 바디(410)를 구체적으로 설명하도록 한다.
도 11은 도 3에 도시된 제1 바디(410)를 위에서 바라본 사시도이고, 도 12는 도 11에 도시된 제1 바디(410)를 아래에서 바라본 사시도이고, 도 13은 도 4에 도시된 광원부(300)와 바디(400)를 결합시켰을 때의 사시도이다.
도 11 내지 도 13을 참조하면, 제1 바디(410)는 원통 형상일 수 있다. 그러나 이에 한정하는 것은 아니며, 제1 바디(410)는 타원통 또는 다각통 형상일 수도 있다.
제1 바디(410)는, 도 5에도 도시된 바와 같이, 다중벽 구조일 수 있다. 구체적으로, 제1 바디(410)는 내벽(411a)과 외벽(411b)를 포함할 수 있다.
내벽(411a)은 복수의 발광 소자(330)로부터의 광이 통과하는 개구(400h)을 정의하고, 외벽(411b)은 내벽(411a)을 둘러싸도록 배치되고, 내벽(411a)과 외벽(411b)은 소정 간격 서로 이격되도록 배치된다. 외벽(411b)와 내벽(411a) 사이에는 소정의 공간(411c)이 형성될 수 있다. 플라스틱 재질의 제1 바디(410)가 내벽(411a)과 외벽(411b)을 포함하면, 광원부(300)에서 방출되는 광이 제1 바디(410)를 투과하기 어려운 이점이 있다. 또한, 제1 바디(410)가 단일벽 구조일 때보다, 제1 바디(410)의 무게를 더 줄일 수 있어 재료비를 절감할 수 있는 이점이 있다.
내벽(411a)은 외벽(411b)의 내측면과 마주보는 외측면과 개구(400h)를 정의하는 내측면을 포함하고, 외벽(411b)은 내벽(411a)를 마주보는 내측면과 외부에 노출되는 외측면을 포함할 수 있다.
내벽(411a)과 외벽(411b)의 두께는 각각 1 내지 2 T(mm)일 수 있다. 내벽(411a)과 외벽(411b)의 두께가 1 T 보다 작으면, 광원부(300)에서 방출된 광이 내벽(411a)과 외벽(411b)을 쉽게 투과할 수 있고 가공이 어려운 문제가 있으며, 내벽(411a)과 외벽(411b)의 두께가 2 T 보다 크면 내벽(411a)과 외벽(411b) 사이에 공간 확보가 어려운 문제가 있다. 내벽(411a)과 외벽(411b)의 두께 각각은 1.5 T인 것이 바람직하다.
내벽(411a)과 외벽(411b) 사이의 간격은, 8 내지 12 T(mm)일 수 있다. 내벽(411a)과 외벽(411b) 사이의 간격이 8 T 보다 작으면, 광원부(300)에서 방출된 광이 외벽(411b)을 투과할 수 있는 문제가 있고, 12 T 보다 크면 제1 바디(410)의 강도가 약해지는 문제가 있다. 예를 들어, 내벽(411a)과 외벽(411b) 사이의 간격은 10 T로 형성될 수 있다.
내벽(411a)과 외벽(411b)은 서로 연결될 수 있다. 도 12에 도시된 제1 바디(410)의 하벽(411d)이 내벽(411a)과 외벽(411b)을 서로 연결할 수 있다. 제1 바디(410)의 하벽(411d)은 내벽(411a)과 외벽(411b)을 서로 연결하여 내벽(411a)과 외벽(411b)을 안정적으로 고정 또는 지지할 수 있다. 여기서, 내벽(411a), 외벽(411b) 및 하벽(411d)이 상기 소정의 공간(411c)를 정의할 수 있다.
하벽(411d)은 광학부(600)의 연결부(630)가 배치되는 체결홀(411d-1)을 가질 수 있다. 체결홀(411d-1)로 연결부(630)가 삽입되어, 바디(400)와 광학부(600)가 서로 결합할 수 있다.
외벽(411b)은 걸림턱(412)을 포함할 수 있다. 걸림턱(412)은 외벽(411b)의 내측면에 배치될 수 있다. 걸림턱(412)은 광학부(600)의 연결부(630)와 결합할 수 있다. 연결부(630)의 상단부에 형성된 후크가 걸림턱(412)에 걸려 고정될 수 있다. 여기서, 도면에 도시되어 있지 않지만, 걸림턱(412)은 내벽(411a)의 외측면에 배치될 수도 있다.
내벽(411a)과 외벽(411b) 사이에는 보조벽(411e)이 배치될 수 있다. 보조벽(411e)의 일단은 내벽(411a)에 타단은 외벽(411b)에 연결될 수 있다. 보조벽(411e)은 내벽(411a)와 외벽(411b) 사이의 간격을 일정하게 유지할 수 있고, 외부 충격으로부터 제1 바디(410)를 보호할 수 있다.
내벽(411a)과 외벽(411b) 사이에는 체결부(413)가 배치될 수 있다. 체결부(413)는 체결 수단(S)과 결합되는 홈을 가지며, 일단은 내벽(411a)에 타단은 외벽(411b)과 연결될 수 있다. 체결부(413)는 내벽(411a)와 외벽(411b) 사이의 간격을 일정하게 유지할 수 있고, 외부 충격으로부터 제1 바디(410)를 보호할 수 있다.
내벽(411a)은 개구(400h)를 정의할 수 있다. 예를 들어, 내벽(411a)의 내측면이 개구(400h)를 정의할 수 있다. 개구(400h)를 통해, 광원부(300)에서 방출된 광이 제1 실시 형태에 따른 조명 장치의 밖으로 방출될 수 있다.
외벽(411b)는, 도 3에 도시된 바와 같이, 제1 가이드 홈(411b-1)과 제2 가이드 홈(411b-3)을 가질 수 있다. 제1 가이드 홈(411b-1)과 제2 가이드 홈(411b-3)은 서로 다른 형상을 가질 있다. 제1 가이드 홈(411b-1)은 돌출부(111)에 대응되는 형상을 갖고, 제2 가이드 홈(411b-3)은 연장부(130)에 대응되는 형상을 가질 수 있다. 제1 가이드 홈(411b-1)과 제2 가이드 홈(411b-3)는, 제1 바디(410)가 커버부(100)와 결합할 때, 커버부(100)의 결합 위치를 용이하게 식별할 수 있어, 제조 공정 상에 편리함을 제공할 수 있다.
외벽(411b)은, 도 3에 도시된 바와 같이, 제3 가이드 홈(411b-5)을 가질 수 있다. 제3 가이드 홈(411b-5)은 제1 가이드 홈(411b-1)을 정의하는 외벽(411b)의 일 면에서 소정 깊이로 형성된 것일 수 있다.
제3 가이드 홈(411b-5)에는 도 7 내지 도 8에 도시된 와이어(w)가 배치될 수 있다. 제3 가이드 홈(411b-5)의 폭은 와이어(w)의 두께보다 작게 형성될 수 있다. 제3 가이드 홈(411b-5)의 폭이 와이어(w)의 두께보다 작으면, 와이어(w)가 제3 가이드 홈(411b-5)에 끼워져 고정될 수 있어, 와이어(w)의 움직임을 방지할 수 있다. 예를 들어, 와이어(w)가 도체선과 상기 도체선을 둘러싸는 피복부를 포함하는 경우에, 제3 가이드 홈(411b-5)의 폭은 와이어(w)의 두께보다는 작고, 와이어(w)의 도체선의 두께보다는 클 수 있다. 이 경우, 와이어(w)의 피복부가 제3 가이드 홈(411b-5)에 끼워지므로, 와이어(w)의 움직임이 제한될 수 있다.
제3 가이드 홈(411b-5) 위에 제1 가이드 홈(411b-1)이 배치되기 때문에, 와이어(w)가 제3 가이드 홈(411b-5)에 끼워진 후, 제1 가이드 홈(411b-1)에 배치된 커버(110)의 돌출부(111)가 제3 가이드 홈(411b-5)을 막기 때문에, 와이어(w)는 제3 가이드 홈(411b-5)에 안정적으로 고정될 수 있다.
제3 가이드 홈(411b-5)은 와이어(w)의 개수에 대응될 수 있다. 즉, 와이어(w)가 복수이면, 제3 가이드 홈(411b-5)도 복수일 수 있다. 도 14를 참조하여 설명하도록 한다.
도 14는 제3 가이드 홈(411b-5)이 복수인 경우를 설명하기 위한 사시도이다.
도 14를 참조하면, 제1 및 제2 와이어(w1, w2) 각각에 대응하는 두 개의 제3 가이드 홈(411b-5)이 외벽(411b)에 배치될 수 있다. 여기서, 제3 가이드 홈(411b-5)의 폭은 와이어(w1, w2)의 두께보다 작게 형성될 수 있다. 제3 가이드 홈(411b-5)의 폭이 와이어(w1, w2)의 두께보다 작게 형성되면, 와이어(w1, w2)의 움직임을 방지할 수 있다.
다시, 도 11 내지 도 13을 참조하면, 제1 바디(410)는 가이드부(414)를 포함할 수 있다. 가이드부(414)는 내벽(411a)의 내측면에서 개구(400h)로 연장된 것일 수 있다. 여기서, 가이드부(414)는 이중벽으로 구성된 제1 바디(410)뿐만 아니라 단일벽으로 구성된 제1 바디의 내측면에 배치될 수 있다.
가이드부(414)는 도 7에 도시된 기판(310)의 가장자리부(313) 아래에 배치되어, 도 6 및 도 13에 도시된 바와 같이, 기판(310)이 개구(400h)를 통해 빠지지 않도록 기판(310)을 지지할 수 있다.
가이드부(414)는 상면과 하면을 포함할 수 있다. 여기서, 가이드부(414)의 상면은, 기판(310)의 하면과 접촉할 수 있다.
도 6에 도시된 바와 같이, 가이드부(414)가 기판(310)을 지지하고, 체결 수단(S)이 도 3에 도시된 커버(110)의 홀(115)을 관통하여 체결부(413)에 체결되기 때문에, 제1 실시 형태에 따른 조명 장치는 고전압에 잘 견딜 수 있는 이점이 있다. 구체적으로, 종래의 조명 장치에서는 광원부의 기판이 나사 등과 같은 체결 수단에 의해 방열체에 직접 결합되었다. 이와 같이, 기판이 나사에 의해 방열체에 직접 결합되면, 종래의 조명 장치에 고전압이 인가될 때 쇼트 현상이 발생되어 광원부가 손상되는 문제가 있었다. 하지만, 제1 실시 형태에 따른 조명 장치는, 가이드부(414)가 기판(310)을 지지하고, 내벽(411a)의 내측면이 기판(310)의 측면을 보호하기 때문에, 기판(310)을 커버(110)에 고정시키기 위한 별도의 체결 수단이 필요없다. 따라서, 제1 실시 형태에 따른 조명 장치는 고전압에도 쇼트 현상이 발생되지 않는 이점이 있다. 구체적으로, 기판(310)이 메탈 PCB인 경우에 4KV 이상의 고전압에서도 쇼트 현상이 발생되지 않을 수 있다.
제1 바디(410)의 가이드부(414)는 돌기(414-1, 414-3)를 포함할 수 있다. 돌기(414-1, 414-3)는 가이드부(414)의 상면에 배치된 것일 수 있다. 돌기(414-1, 414-3)는 가이드부(414)의 상면에서 위로 돌출된 것일 수 있다. 돌기(414-1, 414-3)는 도 7 내지 도 8에 도시된 기판(310, 310’)의 홈(315)과 결합될 수 있다. 돌기(414-1, 414-3)는 기판(310, 310’)의 홈(315)에 결합되어 기판(310, 310’)의 움직임과 회전을 막을 수 있다.
돌기(414-1, 414-3)는 복수로서, 제1 돌기(414-1)와 제2 돌기(414-3)을 포함할 수 있다. 제1 돌기(414-1)은 제2 돌기(414-3)보다 내벽(411a)에서 더 멀게 배치될 수 있다. 또한, 제2 돌기(414-3)은 제1 돌기(414-1)와 내벽(411a) 사이에 배치될 수 있다.
제1 돌기(414-1)와 제2 돌기(414-3)에 의해, 제1 실시 형태에 따른 조명 장치는 다양한 사이즈를 갖는 여러 기판들과 호환될 수 있다. 구체적으로, 도 15 내지 도 16을 참조하여 설명하도록 한다.
도 15는 도 8에 도시된 기판(310’)이 제1 돌기(414-1)와 결합된 것을 보여주는 사시도이고, 도 16은 도 7에 도시된 기판(310)이 제2 돌기(414-3)와 결합된 것을 보여주는 사시도이다.
도 15를 참조하면, 도 8에 도시된 기판(310’)의 홈(315)에 제1 돌기(414-1)이 배치되고, 도 16을 참조하면, 도 7에 도시된 기판(310)의 홈(315)에 제2 돌기(414-3)가 배치될 수 있다.
여기서, 가이드부(414)의 상면을 기준으로 한 제2 돌기(414-3)의 높이는 제1 돌기(414-1)의 높이보다 더 높게 형성될 수 있다. 제2 돌기(414-3)의 높이가 제1 돌기(414-1)의 높이보다 더 높으면, 도 7에 도시된 기판(310)의 가장자리부가 제1 돌기(414-1) 위에 배치될 수 있고, 기판(310)의 홈(315)이 제2 돌기(414-3)와 결합할 수 있다.
한편, 제2 돌기(414-3)와 제1 돌기(414-1)의 높이는 서로 동일할 수 있다. 이 경우, 도 7에 도시된 제1 기판(310)의 홈(315)은 제1 돌기(414-1)와 제2 돌기(414-3)를 함께 수용할 수 있는 형상을 가질 수 있다.
제1 돌기(414-1)와 제2 돌기(414-3)를 포함하는 제1 실시 형태에 따른 조명 장치는, 사이즈가 서로 다른 도 7에 도시된 기판(310)과 도 8에 도시된 기판(310’)을 선택적으로 사용할 수 있다. 따라서, 제1 실시 형태에 따른 조명 장치는, 광원부(300)의 광량 별 또는 기판 별로 각각에 대응하는 바디(400)를 제작할 필요가 없는 이점이 있다.
한편, 제1 바디(410)의 가이드부(414)는 제1 돌기(414-1)와 제2 돌기(414-3)를 갖지 않고, 사이즈가 서로 다른 도 7에 도시된 기판(310)과 도 8에 도시된 기판(310’)을 선택적으로 사용할 수 있다. 도 18을 참조하여, 구체적으로 설명하도록 한다.
도 18은 도 11에 도시된 가이드부(414)의 변형 예를 설명하기 위한 도면이다.
도 18을 참조하면, 내벽(411a)의 내측면에서 돌출된 가이드부(414’)는 도 7에 도시된 기판(310)과 도 8에 도시된 기판(310’)을 선택적으로 가이드할 수 있다. 여기서, 도 7에 도시된 기판(310)의 두께가 도 8에 도시된 기판(310’)의 두께보다 더 얇은 것으로 가정하여 설명하지만, 기판(310, 310’)의 두께는 이에 한정하지 않는다.
가이드부(414’)의 상면은, 도 8에 도시된 기판(310’)을 지지하는 제1 면(414’-1)과 도 7에 도시된 기판(310)을 지지하는 제2 면(414’-2)을 포함할 수 있다. 제1 면(414’-1)과 제2 면(414’-2)은 동일 평면 상에 배치되지 않고, 서로 다른 평면 상에 배치될 수 있다. 예를 들어, 제2 면(414’-2)이 제1 면(414’-1)보다 더 높은 위치에 배치될 수 있다. 따라서, 제1 면(414’-1)과 제2 면(414’-2) 사이에는 소정의 단차면(414’-3)이 배치될 수 있다.
도 8에 도시된 기판(310’)이 가이드부(414’)에 배치될 때, 기판(310’)의 가장자리부는 제1 면(414’-1) 상에 배치되고, 단차면(414’-3)이 기판(310’)을 가이드하기 때문에, 기판(310’)이 제1 바디(410)에 안정적으로 고정될 수 있다.
한편, 도 7에 도시된 기판(310)이 가이드부(414’)에 배치될 때, 기판(310)의 가장자리부는 제2 면(414’-2) 상에 배치되고, 내벽(411a)의 내측면이 기판(310)을 가이드하기 때문에, 기판(310)이 제1 바디(410)에 안정적으로 고정될 수 있다.
도 18에 도시된 바와 같이, 제1 면(414’-1)과 제2 면(414’-2) 및 단차면(414’-3)을 가이드부(414’)는 사이즈가 서로 다른 도 7에 도시된 기판(310)과 도 8에 도시된 기판(310’)을 선택적으로 사용할 수 있다.
도 18에서, 기판(310)의 측면과 기판(310’)의 측면이 내벽(411a)의 내측면과 소정 간격 이격되어 있는데, 이는 실시 형태에 따른 조명 장치가 실제로 제작된 경우에 나타날 수 있는 설계상의 오차이다. 상기 설계상의 오차는 없을 수도 있다. 즉, 기판(310)의 측면과 기판(310’)의 측면이 내벽(411a)의 내측면과 접촉할 수 있다.
다시, 도 11 내지 도 13을 참조하면, 제1 바디(410)는 지지부(415)를 포함할 수 있다. 지지부(415)는 내벽(411a)의 내측면에서 개구(400h)로 돌출된 것일 수 있다. 지지부(415)는 기판(310)의 가장자리부 상에 배치될 수 있다.
지지부(415) 상에는 도 3 내지 도 4에 도시된 반사부(500)가 배치될 수 있다. 반사부(500)가 지지부(415) 상에 배치된 모습은 도 17과 같다.
도 17에 도시된 바와 같이, 지지부(415)는 반사부(500)를 광원부(300) 상에 지지할 수 있다. 이를 위해, 지지부(415)는 도 11 내지 도 13에 도시된 바와 같이, 반사부(500)를 지지하는 지지면을 포함할 수 있다. 지지면은 기판(310)의 상면과 소정 각도를 갖는 경사면일 수 있다. 여기서, 지지면과 기판(310)의 상면 사이의 각도는 둔각일 수 있다. 지지면의 경사각은 반사부(500)의 경사각과 대응될 수 있다.
다시, 도 11 내지 도 13을 참조하면, 제1 바디(410)는 덮개부(416)를 포함할 수 있다. 덮개부(416)는 내벽(411a)의 내측면에서 개구(400h)로 돌출된 것일 수 있다. 여기서, 도면에서, 덮개부(416)는 이중벽으로 구성된 제1 바디(410)의 내벽(411a)의 내측면에 배치된 것으로 도시되어 있으나, 덮개부(416)는 단일벽으로 구성된 제1 바디의 내측면에 배치될 수도 있다. 즉, 제1 바디(410)가 내측면과 외측면을 포함하는 단일벽 구조일 경우에 덮개부(416)는 제1 바디(410)의 내측면에 배치될 수 있음에 유의해야 한다.
여기서, 덮개부(416)는 내벽(411a)의 내측면과 일체일 수 있다. 즉, 덮개부(416)는 내벽(411a)의 내측면의 일 부분일 수 있다. 이 경우, 덮개부(416)와 외벽(411b) 사이의 간격은 일정하지 않고, 덮개부(416)의 하단부에서 덮개부(416)의 상단부로 갈수록 그 간격은 넓어질 수 있다.
덮개부(416)는, 도 7 내지 도 8에 도시된 광원부(300, 300’)의 가장자리부(313, 313’) 상에 배치될 수 있다.
덮개부(416)는, 도 13에 도시된 바와 같이, 도 7 내지 도 8에 도시된 광원부(300, 300’)의 입출력부(350) 상에 배치되어 입출력부(350)와 와이어(w)를 덮는다. 이러한 덮개부(416)는 광원부(300)의 발광 소자(330)에서 광이 방출될 때, 입출력부(350)에 연결된 와이어(w)에 의한 음영의 발생을 막을 수 있다. 즉, 덮개부(416)가 없으면, 광학부(600)의 확산판(610)에 와이어(w)에 의한 음영이 나타날 수 있는데, 덮개부(416)가 있기 때문에 음영의 발생을 사전에 차단할 수 있는 것이다. 따라서, 덮개부(416)를 포함하는 제1 실시 형태에 따른 조명 장치는, 와이어에 의한 음영의 발생을 막을 수 있고, 광 효율도 향상될 수 있는 이점이 있다.
덮개부(416)는, 지지부(415)와 함께 반사부(500)를 지지할 수 있다. 이를 위해, 덮개부(416)는 반사부(500)를 지지하는 지지면을 포함할 수 있다.
지지면은 반사부(500)와 대응되는 형상을 가질 수 있다. 예를 들어, 반사부(500)의 외측면이 평평한 경우, 지지면은 그에 대응하여 평평할 수 있다. 또한, 반사부(500)의 외측면이 굴곡진 경우, 지지면은 그에 대응하여 굴곡질 수 있다.
지지면은 기판(310)의 상면과 소정 각도를 갖는 경사면일 수 있다. 덮개부(416)의 지지면은 지지부(415)의 지지면과 상기 기판(310)의 하면을 기준으로 동일한 경사각을 가질 수 있다. 덮개부(416)의 지지면이 지지부(415)의 지지면과 상기 기판(310)의 하면을 기준으로 동일한 경사각을 가지면, 반사부(500)를 더 안정적으로 지지할 수 있다. 특히, 반사부(500)가 종이 재질로 만들어진 경우, 외부 충격에 의해 반사부(500)가 외형이 손상되는 것을 막을 수 있다.
다시, 도 1 내지 도 6을 참조하면, 제2 바디(430)는, 제1 바디(410) 아래에 배치되고, 도 12에 도시된 제1 바디(410)의 하벽(411d)에서 연장된 것일 수 있다.
제2 바디(430)는, 원통 형상을 가질 수 있다.
제2 바디(430)는, 도 5에 도시된 바와 같이, 제1 바디(410)의 하벽(411d)에서 그 직경이 증가하는 방향으로 연장된 것일 수 있다.
제2 바디(430)는 외측면과 내측면을 포함할 수 있다. 외측면은 외부에 노출되고, 내측면은 광학부(600)의 확산판(610)에서 방출되는 광을 확산 또는 산란시키기 위한 요철(435)를 포함할 수 있다.
제3 바디(450)는, 제2 바디(430) 아래에 배치되고, 제2 바디(430)의 끝단에서 연장된 것일 수 있다.
제3 바디(450)는 제1 실시 형태에 따른 조명 장치가 설치되는 천장 아래에 배치될 수 있다.
반사부(500)는, 광원부(300) 아래에 배치된다.
반사부(500)는, 바디(400) 내부에 배치될 수 있다. 예를 들어, 반사부(500)는, 바디(400)의 개구(400h)에 배치될 수 있다.
반사부(500)는, 제1 바디(410)의 지지부(415)와 덮개부(416)에 의해 지지되고, 광학부(600)와 바디(400)의 결합에 의해, 바디(400) 내부에 고정될 수 있다.
반사부(500)는 복수의 발광 소자(330)로부터의 광을 반사하는 내측면과, 덮개부(416)와 지지부(415) 상에 배치된 외측면을 포함할 수 있다.
반사부(500)는 발광 소자(330)에서 방출되는 광을 확산판(610)으로 반사할 수 있으며, 확산판(610)에서 되돌아오는 광을 다시 확산판(610)으로 반사할 수 있다.
반사부(500)의 상단부는 광원부(300)의 기판(310)의 상면에 배치되고, 하단부는 광학부(600)의 확산판(610)에 배치될 수 있다.
반사부(500)는 원통 형상으로서, 상단부의 개구의 직경은 하단부의 개구의 직경보다 더 작은 원통 형상일 수 있다. 예를 들어, 반사부(500)는 원뿔대 형상일 수 있다.
반사부(500)는 광 반사가 가능한 금속 재질로 구성될 수도 있고, 흰색의 종이 시트일 수도 있다.
광학부(600)는, 바디(400)와 결합하고, 반사부(500) 아래에 배치될 수 있다.
광학부(600)는, 광원부(300)와 반사부(500)에서 입사되는 광을 확산하기 위한 확산판(610)과, 바디(400)와의 결합을 위한 연결부(630)를 포함할 수 있다.
확산판(610)은, 입사되는 광을 확산하기 위해 내부에 확산제를 포함할 수 있다. 확산판(610)은, 입사되는 광의 확산에 용이하기 위해 아래로 볼록한 형상을 가질 수 있다.
연결부(630)는, 확산판(610)의 가장자리부에서 위로 돌출된 것일 수 있다. 연결부(630)는 바디(400)의 체결홀(411d-1)과 결합될 수 있다. 연결부(630)가 체결홀(411d-1)로 삽입될 수 있다.
연결부(630)는 상단부에 후크를 가질 수 있다. 연결부(630)의 후크는 바디(400)의 체결홀(411d-1)을 통과한 후, 바디(400)의 걸림턱(412)와 결합할 수 있다. 연결부(630)의 후크가 걸림턱(412)의 상면에 걸림으로써, 광학부(600)와 바디(400)는 서로 단단히 결합할 수 있다.
연결부(630)는 하나 또는 복수일 수 있으며, 연결부(630)의 개수는 바디(400)의 체결홀(411d-1)의 개수와 대응될 수 있다.
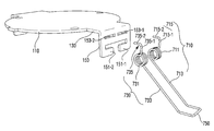
탄성 부재(700)는, 커버부(100)와 결합한다. 탄성 부재(700)는 커버부(100)의 결합부(150)와 결합할 수 있다.
탄성 부재(700)는, 제1 실시 형태에 따른 조명 장치가 설치되는 천청의 상면을 누른다. 즉, 천장이 탄성 부재(700)와 바디(400)의 제3 바디(450) 사이에 배치된다. 탄성 부재(700)는 제3 바디(450) 측으로 탄성력이 작용되기 때문에, 제1 실시 형태에 따른 조명 장치가 천장에 단단히 고정될 수 있다.
도 19를 참조하여, 탄성 부재(700)를 구체적으로 살펴보도록 한다.
도 19는 도 3에 도시된 커버부(100)와 탄성 부재(700)의 분해 사시도이다.
도 19를 참조하면, 탄성 부재(700)는, 제1 토션 스프링(710), 제2 토션 스프링(730) 및 고정부(750)을 포함할 수 있다.
제1 토션 스프링(710)은 제1 나선부(711)와 상기 제1 나선부(711)의 일단부(713)와 타단부(715)를 포함할 수 있다.
제1 나선부(711)는 하나의 철사가 나선방향으로 말려진 것일 수 있다. 제1 나선부(711)는 커버부(100)의 결합부(150)의 제1 축부(151-1)에 끼워질 수 있다.
일단부(713)는 고정부(750)와 연결될 수 있다. 여기서, 일단부(713)와 고정부(750)은 일체일 수 있다.
타단부(715)는 제1 나선부(711)과 연결되고 결합부(150)의 외면 상에 배치되는 제1 파트(715-1)와, 제1 파트(715-1)의 끝단에서 제1 파트(715-1)의 길이 방향과 다른 방향으로 연장되고 결합부(150)의 제1 홀(153-1)과 결합되는 제2 파트(715-2)를 포함할 수 있다. 제2 파트(715-2)의 길이는 결합부(150)의 두께보다 더 크고, 제2 파트(715-2)의 끝단은 제1 홀(153-1)을 관통하여 바디(400)에 인접하게 배치될 수 있다. 여기서, 제2 파트(715-2)의 길이 방향은 제1 파트(715-1)의 길이 방향과 수직할 수 있으며 이에 한정하지 않는다.
제2 토션 스프링(730)은 제2 나선부(731)와 상기 제2 나선부(731)의 일단부(733)와 타단부(735)를 포함할 수 있다.
제2 나선부(731)는 하나의 철사가 나선방향으로 말려진 것일 수 있다. 제2 나선부(731)는 커버부(100)의 결합부(150)의 제2 축부(151-2)에 끼워질 수 있다.
일단부(733)는 고정부(750)와 연결될 수 있다. 여기서, 일단부(733)와 고정부(750)은 일체일 수 있다.
타단부(735)는 제2 나선부(731)과 연결되고 결합부(150)의 외면 상에 배치되는 제1 파트(735-1)와, 제1 파트(735-1)의 끝단에서 제1 파트(735-1)의 길이 방향과 다른 방향으로 연장되고 결합부(150)의 제2 홀(153-2)과 결합되는 제2 파트(735-2)를 포함할 수 있다. 제2 파트(735-2)는 결합부(150)의 두께보다 더 두꺼운 길이를 가지며, 제2 파트(735-2)의 끝단은 제2 홀(153-2)을 관통하여 바디(400)에 인접하게 배치될 수 있다. 여기서, 제2 파트(735-2)의 길이 방향은 제1 파트(735-1)의 길이 방향과 수직할 수 있으며 이에 한정하지 않는다.
고정부(750)는 제1 토션 스프링(710)과 제2 토션 스프링(730) 사이에 배치된다. 구체적으로, 고정부(750)는 일단이 제1 토션 스프링(710)의 일단부(713)와 연결되고, 타단이 제2 토션 스프링(730)의 일단부(733)와 연결될 수 있다.
고정부(750)는 제1 실시 형태에 따른 조명 장치가 설치되는 천장의 상면을 눌러, 제1 실시 형태에 따른 조명 장치를 천장에 고정시킬 수 있다.
고정부(750)는 ‘U’ 형상을 가질 수 있다. 그러나 이에 한정하는 것은 아니며, 천장을 누를 수 있는 어떠한 형상도 포함한다.
한편, 결합부(150)는 제1 및 제2 축부(151-1, 151-2)와 제1 및 제2 홀(153-1, 153-2)를 포함할 수 있다.
제1 및 제2 홀(153-1, 153-2)은 제1 및 제2 축부(151-1, 151-2) 상에 배치될 수 있다.
제1 축부(151-1)는 결합부(150)의 하단에 배치되고, 제1 토션 스프링(710)의 제1 나선부(711)와 결합한다. 제1 축부(151-1)에 의해, 제1 나선부(711)는 결합부(150)에 결합될 수 있고, 제1 축부(151-1)을 회전축으로 하여 회전할 수 있다.
제2 축부(151-2)는 결합부(150)의 하단에 배치되고, 제2 토션 스프링(730)의 제2 나선부(731)와 결합한다. 제2 축부(151-2)에 의해, 제2 나선부(731)는 결합부(150)에 결합될 수 있고, 제2 축부(151-2)을 회전축으로 하여 회전할 수 있다.
제1 축부(151-1)의 끝단과 제2 축부(151-2)의 끝단은 서로 마주보도록 배치될 수 있다. 제1 축부(151-1)의 끝단과 제2 축부(151-2)의 끝단이 서로 마주보도록 배치되면, 제1 토션 스프링(710)과 제2 토션 스프링(730)이 제1 축부(151-1)와 제2 축부(151-2)에 결합된 후, 빠지기 어려운 이점이 있다.
제1 홀(153-1)은 제1 축부(151-1) 상에 배치되고, 제2 홀(153-2)는 제2 축부(151-2) 상에 배치될 수 있다. 제1 홀(153-1)로는 제1 토션 스프링(710)의 타단부(715)가 삽입되고, 제2 홀(153-2)로는 제2 토션 스프링(730)의 타단부(735)가 삽입될 수 있다.
도 20과 도 21을 참조하여, 도 19에 도시된 커버부와 탄성 부재의 효과를 설명하도록 한다.
도 20은 도 1에 도시된 조명 장치의 측면도이고, 도 21은 도 20에 도시된 조명 장치의 커버부를 바디에서 분리시켰을 때의 측면도이다.
도 19 및 도 20을 참조하면, 탄성 부재(700)의 타단부(715)의 제1 파트(715-1)가 커버부(100)의 결합부(150)의 외면에 지지되고, 제2 파트(715-2)가 커버부(100)의 결합부(150)의 제1 홀(153-1)에 삽입되기 때문에, 탄성 부재(700)의 인장력이 보강될 수 있는 이점이 있고, 탄성 부재(700)에 매우 강한 인장력이 작용되더라도 탄성 부재(700)의 제2 파트(715-2)가 결합부(150)의 제1 홀(153-1)에서 빠지기 어렵기 때문에 탄성 부재(700)의 설치 위치가 틀어지거나 변경되지 않는 이점이 있다.
도 19 및 도 21을 참조하면, 커버부(100)를 바디(400)에서 분리시키면, 탄성 부재(700)의 제1 나선부(711)가 연결부(150)의 제1 축부(151-1)를 축으로 회전하게 되지만, 탄성 부재(700)의 타단부(715)가 커버부(100)의 결합부(150)의 제1 홀(153-1)에 걸리기 때문에, 탄성 부재(700)의 타단부(715)가 커버부(100)의 결합부(150)의 제1 홀(153-1)에서 빠지지 않는 이점이 있다.
도 22는 제2 실시 형태에 따른 조명 장치를 위에서 바라본 사시도이고, 도 23은 도 22에 도시된 조명 장치를 아래에서 바라본 사시도이며, 도 24는 도 22에 도시된 조명 장치의 분해 사시도이고, 도 25는 도 23에 도시된 조명 장치의 분해 사시도이다.
도 22 내지 도 25를 참조하면, 제2 실시 형태에 따른 조명 장치는, 커버부(100’), 열전도 부재(200), 광원부(300), 바디(400’), 반사부(500), 광학부(600) 및 탄성 부재(700’)를 포함할 수 있다. 여기서, 열전도 부재(200), 광원부(300), 반사부(500) 및 광학부(600)은 도 1 내지 도 21에 도시된 제1 실시 형태에 따른 조명 장치의 열전도 부재(200), 광원부(300), 반사부(500) 및 광학부(600)와 동일하므로, 이에 대한 설명은 생략하기로 한다.
커버부(100’)는 광원부(300)를 내부에 수납하고, 바디(400’)와 결합할 수 있다.
커버부(100’)는 커버(110’), 연장부(130’) 및 결합부(150’)를 포함할 수 있다.
커버부(100’)의 재질은 도 1 내지 도 6에 도시된 커버부(100)의 재질과 동일하다.
커버(110’), 연장부(130’) 및 결합부(150’)는 일체로 형성된 것일 수 있다.
커버(110’)는 상면, 하면 및 상면과 하면 사이에 연결된 외주면을 포함하는 판 형상일 수 있다. 커버(110’)의 상면은 외부에 노출되고, 하면은 광원부(300)와 직접 또는 간접적으로 접촉할 수 있다.
커버(110’)는 리벳 또는 나사와 같은 체결 수단(S)이 관통하는 홀(115)을 가질 수 있다. 홀(115)은 커버(110’)의 상면과 하면을 관통할 수 있다. 체결 수단(S)이 홀(115)에 삽입된 후 바디(400’)의 체결부(413’)에 결합됨으로써, 커버부(100’)와 바디(400’)는 서로 결합될 수 있다.
커버(110’)를 위에서 본 형상은, 도면에 도시된 바와 같이, 원형일 수 있으나, 이에 한정하는 것은 아니며, 타원형 또는 다각형일 수도 있다.
연장부(130’)는, 커버(110’)의 외주면에서 연장된 것일 수 있다. 연장부(130’)에 의해 커버부(100’)의 면적이 넓어지기 때문에, 방열 효율이 더 향상될 수 있다. 연장부(130’)의 연장 방향은 커버(110’)의 상면 또는 하면과 수직한 방향일 수 있으며 이에 한정하지 않는다.
연장부(130’)의 형상은 원통 형상일 수 있다. 따라서, 연장부(130’)는 커버(110’)와 결합하여 내부에 광원부(300)와 바디(400’)의 일부를 수납할 수 있는 공간(170’)을 가질 수 있다.
연장부(130’)는 개구(135’)를 가질 수 있다. 개구(135’)에는 결합부(150’)와 탄성 부재(700’)가 배치될 수 있다. 개구(135’)는 탄성 부재(700’)의 개수에 대응되며, 적어도 둘 이상일 수 있다.
결합부(150’)는 탄성 부재(700’)와 결합하여 탄성 부재(700’)를 커버부(100’)에 안정적으로 고정시킬 수 있다.
결합부(150’)는 연장부(130’)의 개구(135’)를 정의하는 복수의 면들 중에서 적어도 어느 일 면에서 개구(135’)로 돌출된 것일 수 있다.
결합부(150’)는 하나일 수도 있고, 도면에 도시된 바와 같이, 개구(135’)를 정의하는 복수의 면들 중에서 서로 마주보는 두 개의 면에 각각 연장되고, 서로 마주보도록 배치될 수 있다.
결합부(150’)에 의해 커버부(100’)의 면적이 넓어지기 때문에, 방열 효율이 더 향상될 수 있다. 또한, 탄성 부재(700’)가 플라스틱 재질의 바디(400’)가 아닌 금속 재질의 커버부(100’)에 결합되므로, 제2 실시 형태에 따른 조명 장치는 내구성과 신뢰성을 확보할 수 있다.
바디(400’)는 커버부(100’), 광원부(300) 및 광학부(600)와 결합하고, 내부에 반사부(500)를 수납할 수 있다.
바디(400’)는 금속 재질의 커버부(100’)와 달리, 플라스틱 재질일 수 있다. 예를 들어, 바디(400’)는 폴리카보네이트(PC)일 수 있다. 바디(400’)가 플라스틱 재질이면, 바디(400’)가 금속 재질인 경우보다 무게가 더 가볍고, 제조 비용이 줄일 수 있다.
바디(400’)는 제1 바디(410’), 제2 바디(430’) 및 제3 바디(450’)을 포함할 수 있다. 여기서, 제1 바디(410’), 제2 바디(430’) 및 제3 바디(450’)는 일체로 형성된 것일 수도 있지만, 이에 한정하는 것은 아니며, 제1 바디(410’), 제2 바디(430’) 및 제3 바디(450’)는 각각 별개로 제작되어 서로 결합된 것일 수도 있다.
제1 바디(410’)는 광원부(300) 아래에 배치되고, 커버부(100’) 및 광원부(300)와 결합할 수 있다.
제1 바디(410’)는, 커버부(100’)의 커버(110’)와 리벳 또는 나사와 같은 체결 수단(S)에 의해 서로 결합될 수 있다. 체결 수단(S)이 커버(110’)의 홀(115)을 관통하여 제1 바디(410’)의 체결부(413’)에 삽입됨으로써, 제1 바디(410’)와 커버(110’)는 결합될 수 있다.
제1 바디(410’)는 원통 형상을 가지며, 단일벽 구조일 수 있다.
제1 바디(410’)는 커버부(100’) 내부의 공간(170’) 내부에 배치될 수 있다.
제1 바디(410’)는 광원부(300)의 기판(310)을 지지할 수 있다. 예를 들어, 제1 바디(410’)의 상단부가 기판(310)의 가장자리부를 지지할 수 있다.
제1 바디(410’)는 체결부(413’)를 포함할 수 있다. 체결부(413’)는 제1 바디(410’)의 외면 상에 배치될 수 있다.
체결부(413’)는 기판(310)의 홈(315)과 결합할 수 있다. 체결부(413’)는 기판(310)의 홈(315)의 개수에 대응하여 복수일 수 있다.
체결부(413’)에 의해 기판(310)과 제1 바디(410’)의 결합 위치를 용이하게 확인할 수 있다.
제1 바디(410’)가 기판(310)을 지지하고, 체결 수단(S)이 커버(110’)의 홀(115)을 관통하여 체결부(413’)에 체결되기 때문에, 제2 실시 형태에 따른 조명 장치는 고전압에 잘 견딜 수 있는 이점이 있다. 구체적으로, 종래의 조명 장치에서는 광원부의 기판이 나사 등과 같은 체결 수단에 의해 방열체에 직접 결합되었다. 이와 같이, 기판이 나사에 의해 방열체에 직접 결합되면, 종래의 조명 장치에 고전압이 인가될 때 쇼트 현상이 발생되어 광원부가 손상되는 문제가 있었다. 하지만, 제2 실시 형태에 따른 조명 장치는, 제1 바디(410’)가 기판(310)을 지지하고, 커버부(100’)와 제1 바디(410’)의 결합에 의해 기판(310)이 고정되기 때문에, 기판(310)을 커버(110)에 고정시키기 위한 별도의 체결 수단이 필요없다. 따라서, 제2 실시 형태에 따른 조명 장치는 고전압에도 쇼트 현상이 발생되지 않는 이점이 있다.
제1 바디(410’)는 체결홀(411d-1’)을 포함할 수 있다. 체결홀(411d-1’)은 광학부(600)의 연결부(630)와 결합할 수 있다.
제2 바디(430’)는 제1 바디(410’) 아래에 배치되고, 제1 바디(410’)에서 연장된 것일 수 있다. 제2 바디(430’)는 광학부(600)에서 방출되는 광을 확산 또는 산란할 수 있다.
제3 바디(450’)는 제2 바디(430’) 아래에 배치되고, 제2 바디(430’)에서 연장된 것일 수 있다.
탄성 부재(700’)는, 커버부(100’)와 결합한다. . 탄성 부재(700’)는 커버부(100’)의 결합부(150’)와 결합할 수 있다.
탄성 부재(700’)는 제2 실시 형태에 따른 조명 장치가 설치되는 천청의 상면을 누른다. 즉, 천장이 탄성 부재(700’)와 바디(400’)의 제3 바디(450’) 사이에 배치된다. 탄성 부재(700’)는 제3 바디(450’) 측으로 탄성력이 작용되기 때문에, 제2 실시 형태에 따른 조명 장치가 천장에 단단히 고정될 수 있다.
탄성 부재(700’)는 나선부(710’)와 고정부(750’)를 포함할 수 있다.
나선부(710’)는 하나의 철사가 나선방향으로 말려진 것일 수 있다.
나선부(710’)는 커버부(100’)의 결합부(150’)에 끼워져 결합될 수 있다. 나선부(710’)는 커버부(100’)의 결합부(150’)를 축으로 하여 회전할 수 있다.
고정부(750’)는 나선부(710’)의 양 끝단이 연장되어 서로 연결된 것일 수 있다.
고정부(750’)는 제2 실시 형태에 따른 조명 장치가 설치되는 천장의 상면을 눌러, 제2 실시 형태에 따른 조명 장치를 천장에 고정시킬 수 있다.
고정부(750’)는 ‘U’ 형상을 가질 수 있다. 그러나 이에 한정하는 것은 아니며, 천장을 누를 수 있는 어떠한 형상도 포함한다.
이상에서 실시 형태를 중심으로 설명하였으나 이는 단지 예시일 뿐 본 발명을 한정하는 것이 아니며, 본 발명이 속하는 분야의 통상의 지식을 가진 자라면 본 실시예의 본질적인 특성을 벗어나지 않는 범위에서 이상에 예시되지 않은 여러 가지의 변형과 응용이 가능함을 알 수 있을 것이다. 예를 들어, 실시 형태에 구체적으로 나타난 각 구성 요소는 변형하여 실시할 수 있는 것이다. 그리고 이러한 변형과 응용에 관계된 차이점들은 첨부된 청구 범위에서 규정하는 본 발명의 범위에 포함되는 것으로 해석되어야 할 것이다.
100: 커버부
200: 열전도 부재
300: 광원부
400: 바디
500: 반사부
600: 광학부
700: 탄성 부재

Claims (8)

  1. 상면과 하면을 포함하는 기판과 상기 기판의 하면의 중심부에 배치된 복수의 발광 소자, 및 상기 기판의 하면의 가장자리부에 배치되고 와이어와 연결된 입출력부를 포함하는 광원부; 및
    상기 광원부의 기판과 결합하고, 상기 광원부의 복수의 발광 소자로부터의 광이 통과하는 개구를 포함하는, 바디;를 포함하고,
    상기 바디는, 상기 개구를 정의하는 내측면을 포함하고,
    상기 바디는, 상기 바디의 내측면에 배치되고, 상기 광원부의 입출력부와 상기 와이어를 덮는 덮개부를 포함하는, 조명 장치.
  2. 제 1 항에 있어서,
    상기 조명 장치는, 상기 광원부의 기판 아래에 배치되고, 상기 바디의 개구에 배치된 반사부를 더 포함하고,
    상기 덮개부는 상기 반사부를 지지하는 지지면을 포함하는, 조명 장치.
  3. 제 2 항에 있어서,
    상기 덮개부의 지지면은 상기 반사부의 형상과 대응되는 형상을 갖는, 조명 장치.
  4. 제 3 항에 있어서,
    상기 반사부는 상기 복수의 발광 소자로부터의 광을 반사하는 내측면과 상기 덮개부 상에 배치된 외측면을 포함하고,
    상기 반사부의 외측면은 굴곡지고,
    상기 덮개부의 지지면은 굴곡진, 조명 장치.
  5. 제 2 항에 있어서,
    상기 바디는, 상기 바디의 내측면에 배치되고, 상기 기판의 가장자리부 상에 배치되고, 상기 반사부를 지지하는 지지부를 더 포함하고,
    상기 지지부는 지지면을 포함하고,
    상기 지지부의 지지면은 상기 덮개부의 지지면과 상기 기판의 하면에 대하여 동일한 경사각을 갖는, 조명 장치.
  6. 제 1 항에 있어서,
    상기 바디는, 상기 덮개부를 포함하는 내벽과 상기 내벽을 둘러싸는 외벽을 포함하는, 조명 장치.
  7. 제 6 항에 있어서,
    상기 바디의 외벽은 상기 와이어가 배치되는 가이드 홈을 갖는, 조명 장치.
  8. 제 7 항에 있어서,
    상기 가이드 홈의 폭은, 상기 와이어의 두께보다 작은, 조명 장치.
KR1020140049296A 2014-04-24 2014-04-24 조명 장치 Expired - Fee Related KR102157066B1 (ko)

Priority Applications (4)

Application Number Priority Date Filing Date Title
KR1020140049296A KR102157066B1 (ko) 2014-04-24 2014-04-24 조명 장치
PCT/KR2014/012053 WO2015163556A1 (ko) 2014-04-24 2014-12-09 조명 장치
US15/306,023 US10234090B2 (en) 2014-04-24 2014-12-09 Lighting device
EP14890133.3A EP3135984B1 (en) 2014-04-24 2014-12-09 Lighting device

Applications Claiming Priority (1)

Application Number Priority Date Filing Date Title
KR1020140049296A KR102157066B1 (ko) 2014-04-24 2014-04-24 조명 장치

Publications (2)

Publication Number Publication Date
KR20150123014A true KR20150123014A (ko) 2015-11-03
KR102157066B1 KR102157066B1 (ko) 2020-09-17

Family

ID=54599144

Family Applications (1)

Application Number Title Priority Date Filing Date
KR1020140049296A Expired - Fee Related KR102157066B1 (ko) 2014-04-24 2014-04-24 조명 장치

Country Status (1)

Country Link
KR (1) KR102157066B1 (ko)

Citations (4)

* Cited by examiner, † Cited by third party
Publication number Priority date Publication date Assignee Title
KR200424112Y1 (ko) * 2006-04-28 2006-08-16 주식회사 유진엘이디 발광다이오드 조명장치
KR100821206B1 (ko) * 2007-01-08 2008-04-11 태원전기산업 주식회사 라이트 이미팅 다이오드를 이용한 센서등
KR20090093490A (ko) * 2008-02-29 2009-09-02 주식회사 대진디엠피 센서매입등 및 그의 제어방법
KR20120061657A (ko) * 2010-12-03 2012-06-13 삼성엘이디 주식회사 조명용 광원 및 그 제조방법

Patent Citations (4)

* Cited by examiner, † Cited by third party
Publication number Priority date Publication date Assignee Title
KR200424112Y1 (ko) * 2006-04-28 2006-08-16 주식회사 유진엘이디 발광다이오드 조명장치
KR100821206B1 (ko) * 2007-01-08 2008-04-11 태원전기산업 주식회사 라이트 이미팅 다이오드를 이용한 센서등
KR20090093490A (ko) * 2008-02-29 2009-09-02 주식회사 대진디엠피 센서매입등 및 그의 제어방법
KR20120061657A (ko) * 2010-12-03 2012-06-13 삼성엘이디 주식회사 조명용 광원 및 그 제조방법

Also Published As

Publication number Publication date
KR102157066B1 (ko) 2020-09-17

Similar Documents

Publication Publication Date Title
EP3135984B1 (en) Lighting device
KR102024291B1 (ko) 램프 유닛 및 그를 이용한 차량 램프 장치
CN102713430B (zh) 照明装置
KR101871374B1 (ko) 발광 램프
KR101908656B1 (ko) 발광 소자 패키지
EP2315283B1 (en) Light emitting device package, lighting module and lighting unit
KR20150001268A (ko) 발광 소자 패키지
US8791482B2 (en) Light emitting device package
KR101929258B1 (ko) 조명 장치
KR102229476B1 (ko) 조명 장치
KR102189617B1 (ko) 조명 장치
KR102208333B1 (ko) 조명 장치
KR102229467B1 (ko) 조명 장치
KR102157066B1 (ko) 조명 장치
KR20160057640A (ko) 조명 장치
KR102050057B1 (ko) 발광 소자 패키지
KR20140112758A (ko) 발광소자 패키지
KR101847042B1 (ko) 조명 장치
WO2014045522A1 (ja) 照明用光源及び照明装置
KR101868441B1 (ko) 조명 장치
KR20190035648A (ko) 발광 소자 패키지
KR20190121945A (ko) 조명 장치
KR20120096718A (ko) 조명 장치
KR101929251B1 (ko) 조명 장치
KR102031749B1 (ko) 조명 장치

Legal Events

Date Code Title Description
PA0109 Patent application

St.27 status event code: A-0-1-A10-A12-nap-PA0109

PN2301 Change of applicant

St.27 status event code: A-3-3-R10-R13-asn-PN2301

St.27 status event code: A-3-3-R10-R11-asn-PN2301

PG1501 Laying open of application

St.27 status event code: A-1-1-Q10-Q12-nap-PG1501

R18-X000 Changes to party contact information recorded

St.27 status event code: A-3-3-R10-R18-oth-X000

R18-X000 Changes to party contact information recorded

St.27 status event code: A-3-3-R10-R18-oth-X000

P11-X000 Amendment of application requested

St.27 status event code: A-2-2-P10-P11-nap-X000

P13-X000 Application amended

St.27 status event code: A-2-2-P10-P13-nap-X000

PA0201 Request for examination

St.27 status event code: A-1-2-D10-D11-exm-PA0201

P22-X000 Classification modified

St.27 status event code: A-2-2-P10-P22-nap-X000

R18-X000 Changes to party contact information recorded

St.27 status event code: A-3-3-R10-R18-oth-X000

E701 Decision to grant or registration of patent right
PE0701 Decision of registration

St.27 status event code: A-1-2-D10-D22-exm-PE0701

PR0701 Registration of establishment

St.27 status event code: A-2-4-F10-F11-exm-PR0701

PR1002 Payment of registration fee

St.27 status event code: A-2-2-U10-U11-oth-PR1002

Fee payment year number: 1

PG1601 Publication of registration

St.27 status event code: A-4-4-Q10-Q13-nap-PG1601

PN2301 Change of applicant

St.27 status event code: A-5-5-R10-R13-asn-PN2301

St.27 status event code: A-5-5-R10-R11-asn-PN2301

PN2301 Change of applicant

St.27 status event code: A-5-5-R10-R11-asn-PN2301

PN2301 Change of applicant

St.27 status event code: A-5-5-R10-R14-asn-PN2301

PC1903 Unpaid annual fee

St.27 status event code: A-4-4-U10-U13-oth-PC1903

Not in force date: 20230912

Payment event data comment text: Termination Category : DEFAULT_OF_REGISTRATION_FEE

PC1903 Unpaid annual fee

St.27 status event code: N-4-6-H10-H13-oth-PC1903

Ip right cessation event data comment text: Termination Category : DEFAULT_OF_REGISTRATION_FEE

Not in force date: 20230912