KR20150116261A - Lamp device to improve connecting structure between plug and connector - Google Patents

Lamp device to improve connecting structure between plug and connector Download PDF

Info

Publication number
KR20150116261A
KR20150116261A KR1020140041260A KR20140041260A KR20150116261A KR 20150116261 A KR20150116261 A KR 20150116261A KR 1020140041260 A KR1020140041260 A KR 1020140041260A KR 20140041260 A KR20140041260 A KR 20140041260A KR 20150116261 A KR20150116261 A KR 20150116261A
Authority
KR
South Korea
Prior art keywords
connector
plug
pin
housing
coupled
Prior art date
Legal status (The legal status is an assumption and is not a legal conclusion. Google has not performed a legal analysis and makes no representation as to the accuracy of the status listed.)
Ceased
Application number
KR1020140041260A
Other languages
Korean (ko)
Inventor
문상희
Original Assignee
문상희
Priority date (The priority date is an assumption and is not a legal conclusion. Google has not performed a legal analysis and makes no representation as to the accuracy of the date listed.)
Filing date
Publication date
Application filed by 문상희 filed Critical 문상희
Priority to KR1020140041260A priority Critical patent/KR20150116261A/en
Publication of KR20150116261A publication Critical patent/KR20150116261A/en
Ceased legal-status Critical Current

Links

Images

Classifications

    • FMECHANICAL ENGINEERING; LIGHTING; HEATING; WEAPONS; BLASTING
    • F21LIGHTING
    • F21KNON-ELECTRIC LIGHT SOURCES USING LUMINESCENCE; LIGHT SOURCES USING ELECTROCHEMILUMINESCENCE; LIGHT SOURCES USING CHARGES OF COMBUSTIBLE MATERIAL; LIGHT SOURCES USING SEMICONDUCTOR DEVICES AS LIGHT-GENERATING ELEMENTS; LIGHT SOURCES NOT OTHERWISE PROVIDED FOR
    • F21K9/00Light sources using semiconductor devices as light-generating elements, e.g. using light-emitting diodes [LED] or lasers
    • F21K9/20Light sources comprising attachment means
    • F21K9/27Retrofit light sources for lighting devices with two fittings for each light source, e.g. for substitution of fluorescent tubes
    • F21K9/275Details of bases or housings, i.e. the parts between the light-generating element and the end caps; Arrangement of components within bases or housings
    • FMECHANICAL ENGINEERING; LIGHTING; HEATING; WEAPONS; BLASTING
    • F21LIGHTING
    • F21KNON-ELECTRIC LIGHT SOURCES USING LUMINESCENCE; LIGHT SOURCES USING ELECTROCHEMILUMINESCENCE; LIGHT SOURCES USING CHARGES OF COMBUSTIBLE MATERIAL; LIGHT SOURCES USING SEMICONDUCTOR DEVICES AS LIGHT-GENERATING ELEMENTS; LIGHT SOURCES NOT OTHERWISE PROVIDED FOR
    • F21K9/00Light sources using semiconductor devices as light-generating elements, e.g. using light-emitting diodes [LED] or lasers
    • F21K9/20Light sources comprising attachment means
    • F21K9/27Retrofit light sources for lighting devices with two fittings for each light source, e.g. for substitution of fluorescent tubes
    • F21K9/278Arrangement or mounting of circuit elements integrated in the light source
    • FMECHANICAL ENGINEERING; LIGHTING; HEATING; WEAPONS; BLASTING
    • F21LIGHTING
    • F21YINDEXING SCHEME ASSOCIATED WITH SUBCLASSES F21K, F21L, F21S and F21V, RELATING TO THE FORM OR THE KIND OF THE LIGHT SOURCES OR OF THE COLOUR OF THE LIGHT EMITTED
    • F21Y2103/00Elongate light sources, e.g. fluorescent tubes
    • F21Y2103/10Elongate light sources, e.g. fluorescent tubes comprising a linear array of point-like light-generating elements

Landscapes

  • Engineering & Computer Science (AREA)
  • Physics & Mathematics (AREA)
  • Microelectronics & Electronic Packaging (AREA)
  • Optics & Photonics (AREA)
  • General Engineering & Computer Science (AREA)
  • Non-Portable Lighting Devices Or Systems Thereof (AREA)
  • Arrangement Of Elements, Cooling, Sealing, Or The Like Of Lighting Devices (AREA)

Abstract

본 발명은 등기구에 관한 것으로서, 발광소자와, 상기 발광소자와 전기적으로 연결된 커넥터가 구비된 본체와; 상기 커넥터에 착탈가능하게 결합되며, 상기 본체로 전원을 공급하는 플러그부를 포함하며, 상기 본체는 상기 발광소자를 지지하는 기판과; 상기 기판의 하부를 지지하는 프레임과; 상기 기판을 감싸도록 형성되는 확산커버와; 상기 확산커버의 양측에 결합되며 상기 커넥터가 결합되는 측면커버를 포함하며, 상기 커넥터는, 상기 측면커버로부터 내부로 일정 깊이 삽입되는 커넥터하우징과; 통전부재로 형성되는 통전슬리브와; 상기 통전슬리브를 감싸며 상기 커넥터하우징으로부터 하우징수용공간만큼 내측에 이격 배치되는 절연관을 포함하며, 상기 절연관은 상기 측면커버의 외측면으로부터 제1거리만큼 내부에 위치되고, 상기 통전슬리브는 상기 절연관으로부터 은폐거리만큼 내부에 위치되어, 상기 통전슬리브의 외부노출이 차단된다. The present invention relates to a luminaire comprising: a body having a light emitting element and a connector electrically connected to the light emitting element; And a plug portion detachably coupled to the connector and supplying power to the body, wherein the body includes: a substrate supporting the light emitting element; A frame supporting a lower portion of the substrate; A diffusion cover formed to surround the substrate; And a side cover coupled to both sides of the diffusion cover and to which the connector is coupled, the connector including: a connector housing inserted from the side cover to a certain depth; An energizing sleeve formed of an energizing member; And an insulation which surrounds the energizing sleeve and is spaced inwardly from the connector housing by a housing accommodating space, the insulation being positioned a first distance from an outer surface of the side cover, Is located within the shielding distance from the connection, and the external exposure of the energizing sleeve is blocked.

Description

플러그와 커넥터의 결합구조가 개선된 등기구{LAMP DEVICE TO IMPROVE CONNECTING STRUCTURE BETWEEN PLUG AND CONNECTOR}BACKGROUND OF THE INVENTION 1. Field of the Invention [0001] The present invention relates to a luminaire having an improved plug-

본 발명은 등기구에 관한 것으로, 보다 자세히는 커넥터와 플러그의 결합구조가 보다 안전하게 개선된 등기구에 관한 것이다.BACKGROUND OF THE INVENTION 1. Field of the Invention The present invention relates to a luminaire, and more particularly to a luminaire in which a coupling structure of a connector and a plug is more securely improved.

주변에 빛을 밝히기 위한 조명장치로 다양한 형태의 등기구가 사용되고 있다. 등기구는 광원으로 백열등, 형광등을 비록해 최근에는 LED가 사용되고 있다. Various types of luminaire are used as lighting devices to illuminate the surroundings. Luminaires include incandescent lamps and fluorescent lamps as light sources, and LEDs are used in recent years.

등기구는 내부에 광원으로 전원을 공급하기 위해 커넥터와 핀의 결합구조가 사용된다. 커넥터와 핀의 결합구조의 일례가 등록특허 제10-1012406호 "형광등 대체 엘이디 조명 시스템"에 개시된 바 있다. The luminaire uses a connector and pin combination structure to supply power to the light source inside. An example of a coupling structure of a connector and a pin is disclosed in Japanese Patent Application No. 10-1012406 entitled " Fluorescent Light Replacement LED Lighting System ".

종래 등기구는 광원이 구비되는 본체 측에 핀이 외부로 돌출되게 형성되고, 커넥터가 핀의 형상에 대응되게 구비된다. 이에 따라 종래 등기구는 핀과 커넥터가 외부로 노출되어 있어서, 전원이 연결된 상태에서 등기구 설치 및 체결시에 감전의 위험이 있었다.
Conventionally, a lamp is formed on a main body side where a light source is provided so that a pin protrudes to the outside, and a connector is provided corresponding to the shape of the pin. Accordingly, in the conventional lamp, since the pins and the connector are exposed to the outside, there is a risk of electric shock when the power source is connected and the luminaire is installed and fastened.

본 발명의 목적은 상술한 문제를 해결하기 위한 것으로, 핀과 커넥터가 외부로 노출되지 않도록 구비된 등기구를 제공하는 것이다. SUMMARY OF THE INVENTION An object of the present invention is to solve the above-mentioned problems, and to provide a luminaire in which a pin and a connector are not exposed to the outside.

본 발명의 다른 목적은 사용자 또는 관리자가 만지더라도 감전이 되지 않도록 안전하게 사용할 수 있는 등기구를 제공하는 것이다. Another object of the present invention is to provide a luminaire that can be safely used so that a user or an administrator can touch the luminaire even if he or she touches it.

본 발명의 상기 목적과 여러 가지 장점은 이 기술분야에 숙련된 사람들에 의해 본 발명의 바람직한 실시예로부터 더욱 명확하게 될 것이다.
The above objects and various advantages of the present invention will become more apparent from the preferred embodiments of the present invention by those skilled in the art.

본 발명의 목적은 등기구에 의해 달성될 수 있다. 본 발명의 등기구는, 발광소자와, 상기 발광소자와 전기적으로 연결된 커넥터가 구비된 본체와; 상기 커넥터에 착탈가능하게 결합되며, 상기 본체로 전원을 공급하는 플러그부를 포함하며, 상기 본체는 상기 발광소자를 지지하는 기판과; 상기 기판의 하부를 지지하는 프레임과; 상기 기판을 감싸도록 형성되는 확산커버와; 상기 확산커버의 양측에 결합되며 상기 커넥터가 결합되는 측면커버를 포함하며, 상기 커넥터는, 상기 측면커버로부터 내부로 일정 깊이 삽입되는 커넥터하우징과; 통전부재로 형성되는 통전슬리브와; 상기 통전슬리브를 감싸며 상기 커넥터하우징으로부터 하우징수용공간만큼 내측에 이격 배치되는 절연관을 포함하며, 상기 절연관은 상기 측면커버의 외측면으로부터 제1거리만큼 내부에 위치되고, 상기 통전슬리브는 상기 절연관으로부터 은폐거리만큼 내부에 위치되어, 상기 통전슬리브의 외부노출이 차단된다. The object of the invention can be achieved by a luminaire. The lighting fixture of the present invention includes a main body having a light emitting element and a connector electrically connected to the light emitting element; And a plug portion detachably coupled to the connector and supplying power to the body, wherein the body includes: a substrate supporting the light emitting element; A frame supporting a lower portion of the substrate; A diffusion cover formed to surround the substrate; And a side cover coupled to both sides of the diffusion cover and to which the connector is coupled, the connector including: a connector housing inserted from the side cover to a certain depth; An energizing sleeve formed of an energizing member; And an insulation which surrounds the energizing sleeve and is spaced inwardly from the connector housing by a housing accommodating space, the insulation being positioned a first distance from an outer surface of the side cover, Is located within the shielding distance from the connection, and the external exposure of the energizing sleeve is blocked.

일 실시예에 따르면, 상기 플러그부는, 전원공급라인과 연결되는 플러그본체와; 상기 플러그본체의 선단부로부터 일정 길이 돌출되어 상기 통전슬리브에 전기적으로 결합되는 핀과; 상기 핀을 내부에 수용하도록 상기 플러그본체로부터 돌출형성되는 플러그하우징을 포함하며, 상기 플러그하우징은 상기 핀 보다 제2거리만큼 길게 형성되어 상기 핀이 외부로 노출되는 것이 차단된다.
According to one embodiment, the plug portion includes a plug main body connected to a power supply line; A pin protruding from the tip end of the plug body by a predetermined length and electrically coupled to the energizing sleeve; And a plug housing protruding from the plug body to receive the pin therein, wherein the plug housing is formed to be longer than the pin by a second distance, thereby preventing the pin from being exposed to the outside.

본 발명의 등기구는 돌출되는 핀이 플러그부 측에 위치하고, 커넥터가 본체의 내부로 삽입되게 위치된다. 또한, 플러부의 핀은 플러그하우징 내부에 은폐되게 구비되고, 통전슬리브도 절연관 내부에 은폐길이 만큼 내측에 위치되므로 사용자의 손과 접촉되는 것이 미연에 차단된다. The luminaire of the present invention is positioned such that the projecting pin is located on the side of the plug portion and the connector is inserted into the interior of the main body. Further, the pin of the plug portion is provided so as to be concealed inside the plug housing, and the energizing sleeve is also located inside by the concealment length, so that contact with the user's hand is blocked in advance.

따라서, 감전의 위험없이 안전하게 설치공사가 마무리될 수 있다.
Therefore, installation work can be completed safely without risk of electric shock.

도 1은 본 발명에 따른 등기구의 구성을 도시한 사시도,
도 2는 본 발명에 따른 등기구의 본체의 구성을 도시한 단면도와 측면도,
도 3은 본 발명에 따른 등기구의 플러그부의 구성을 도시한 단면도와 측면도이다.
1 is a perspective view showing a configuration of a lamp according to the present invention,
2 is a cross-sectional view and a side view showing the configuration of a main body of a luminaire according to the present invention,
3 is a cross-sectional view and a side view showing the configuration of a plug portion of a lamp according to the present invention.

본 발명을 충분히 이해하기 위해서 본 발명의 바람직한 실시예를 첨부 도면을 참조하여 설명한다. 본 발명의 실시예는 여러 가지 형태로 변형될 수 있으며, 본 발명의 범위가 아래에서 상세히 설명하는 실시예로 한정되는 것으로 해석되어서는 안 된다. 본 실시예는 당업계에서 평균적인 지식을 가진 자에게 본 발명을 보다 완전하게 설명하기 위해서 제공되어지는 것이다. 따라서 도면에서의 요소의 형상 등은 보다 명확한 설명을 강조하기 위해서 과장되어 표현될 수 있다. 각 도면에서 동일한 부재는 동일한 참조부호로 도시한 경우가 있음을 유의하여야 한다. 본 발명의 요지를 불필요하게 흐릴 수 있다고 판단되는 공지 기능 및 구성에 대한 상세한 기술은 생략된다.
For a better understanding of the present invention, a preferred embodiment of the present invention will be described with reference to the accompanying drawings. The embodiments of the present invention may be modified into various forms, and the scope of the present invention should not be construed as being limited to the embodiments described in detail below. The present embodiments are provided to enable those skilled in the art to more fully understand the present invention. Therefore, the shapes and the like of the elements in the drawings can be exaggeratedly expressed to emphasize a clearer description. It should be noted that in the drawings, the same members are denoted by the same reference numerals. Detailed descriptions of well-known functions and constructions which may be unnecessarily obscured by the gist of the present invention are omitted.

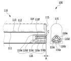
도 1은 본 발명에 따른 등기구(100)의 구성을 도시한 사시도이고, 도 2는 등기구(100)의 본체(110)의 구성을 도시한 도면이고, 도 3은 플러그부(120)의 구성을 도시한 도면이다. FIG. 1 is a perspective view showing the configuration of a lamp 100 according to the present invention. FIG. 2 is a view showing a configuration of a main body 110 of a lamp 100. FIG. Fig.

도시된 바와 같이 본 발명에 따른 등기구(100)는 LED(113)가 구비되어 광을 발생하는 본체(110)와, 본체(110)와 착탈가능하게 결합되며 전원을 공급하는 플러그부(120)를 포함한다. As shown in the drawing, the lamp 100 according to the present invention includes a main body 110 for generating light with an LED 113, a plug 120 detachably coupled to the main body 110 and supplying power, .

도 2의 단면도에 도시된 바와 같이 본체(110)는 프레임(111)과, 프레임(111)의 상부에 결합된 기판(112)과, 기판(112)에 결합된 복수개의 LED(113)와, LED(113)에서 발생된 광을 반사시켜 확산시키는 확산커버(114)과, 확산커버(114)의 양측을 커버하는 측면커버(115)와, 측면커버(115)에 결합되어 기판(112)으로 전원을 공급하는 커넥터(116)를 포함한다. 2, the body 110 includes a frame 111, a substrate 112 coupled to the top of the frame 111, a plurality of LEDs 113 coupled to the substrate 112, A diffusion cover 114 for reflecting and diffusing the light generated by the LED 113, a side cover 115 covering both sides of the diffusion cover 114, And a connector 116 for supplying power.

프레임(111)은 기판(112)을 지지한다. 프레임(111)은 등기구(100)가 일정 형상을 갖도록 내부에서 지지한다. 프레임(111)은 등기구(100)의 외관 형상에 따라 다양하게 설계될 수 있다. The frame 111 supports the substrate 112. The frame 111 supports the lamp 100 so that it has a predetermined shape. The frame 111 can be designed variously according to the external shape of the lamp 100.

기판(112)은 프레임(111) 상에 결합되며, 복수개의 LED(113)가 실장된다. LED(113)는 전원을 공급받아 발광한다. 본 발명에서는 기판(112)이 프레임(111) 상면에 결합되었으나, 경우에 따라 프레임(111)의 하면에 결합될 수도 있으며, 측면커버(115) 측에서 수직하게 결합될 수 있다. The substrate 112 is coupled onto the frame 111, and a plurality of LEDs 113 are mounted. The LED 113 emits light when supplied with power. In the present invention, the substrate 112 is coupled to the upper surface of the frame 111, but may be coupled to the lower surface of the frame 111, or may be vertically coupled to the side surface 115.

확산커버(114)는 프레임(111)을 감싸도록 형성되어 LED(113)에서 발생된 광이 외부로 확산되도록 한다. 확산커버(114)의 형상도 등기구(100)의 외관디자인에 따라 다양하게 변형될 수 있다. The diffusion cover 114 is formed to surround the frame 111 so that the light generated from the LED 113 is diffused outward. The shape of the diffusion cover 114 may be variously modified according to the appearance design of the lamp 100. [

측면커버(115)는 확산커버(114)의 좌우를 커버하며, 커넥터(116)를 지지한다. 측면커버(115)에는 커넥터(116)가 결합되는 결합공(미도시)이 커넥터(116)의 크기와 형상에 대응되게 구비된다.
The side cover 115 covers the left and right sides of the diffusion cover 114 and supports the connector 116. The side cover 115 is provided with a coupling hole (not shown) to which the connector 116 is coupled, corresponding to the size and shape of the connector 116.

커넥터(116)는 측면커버(115)에 결합되어 플러그부(120)와 전기적으로 착탈가능하게 결합된다. 커넥터(116)는 측면커버(115)와 별도로 형성되거나, 일체로 형성될 수 있다. The connector 116 is coupled to the side cover 115 and is electrically detachably coupled to the plug portion 120. The connector 116 may be formed separately from the side cover 115, or may be integrally formed.

발명에 따른 커넥터(116)는 본체(110) 측에 함몰되게 형성된다. 커넥터(116)는 절연소재로 감싸여지게 형성되고, 핀(121b)이 결합되는 통전소재의 통전슬리브(116a)가 내부로 은폐되도록 형성된다. 따라서, 사용자가 불시에 커넥터(116)의 외면을 접촉하더라도 모두 절연소재로 되어 있으므로 감전의 위험을 차단할 수 있다.  The connector 116 according to the invention is formed to be recessed on the main body 110 side. The connector 116 is formed so as to be wrapped with an insulating material and is formed so that an energizing sleeve 116a of the energizing material to which the pin 121b is coupled is concealed therein. Therefore, even if the user touches the outer surface of the connector 116 unintentionally, since they are all made of insulating material, the risk of electric shock can be prevented.

커넥터(116)는 측면커버(115)를 통해 본체(110) 내부로 수용되는 커넥터하우징(116e)과, 핀(121b)이 수용되는 핀수용공간(116c)을 형성하는 통전소재의 통전슬리브(116a)와, 통전슬리브(116a)를 감싸는 절연관(116b)을 포함한다. 이 때, 커넥터하우징(116e)과 절연관(116b) 사이에는 일정거리의 이격공간이 형성되고, 이격공간으로 플러그하우징(121a)이 삽입되는 하우징수용공간(116d)이 형성된다. The connector 116 includes a connector housing 116e accommodated in the main body 110 through a side cover 115 and a conductive sleeve 116a of a conductive material forming a pin receiving space 116c in which the pin 121b is received. And an insulating pipe 116b surrounding the energizing sleeve 116a. At this time, a space for a certain distance is formed between the connector housing 116e and the insulating connection 116b, and a housing accommodating space 116d into which the plug housing 121a is inserted is formed.

여기서, 커넥터하우징(116e)에 대해 복수개의 절연관(116b)은 연결리브(116f)에 의해 이격되게 결합된다. 이 때, 절연관(116b)은 도 2에 도시된 바와 같이 커넥터하우징(116e)의 외부판면으로부터 제1길이(A) 만큼 내부로 함몰되게 위치한다. 그리고, 절연관(116b) 내부에서 통전슬리브(116a)도 외측단부로부터 은폐길이(C) 만큼 내부에 위치한다.Here, the plurality of insulation 116b is connected to the connector housing 116e by the connection rib 116f. At this time, the insulation connection 116b is located inwardly recessed by the first length A from the outer plate surface of the connector housing 116e as shown in FIG. Also, the energizing sleeve 116a is located inside the insulating interconnection 116b by the concealed length C from the outer end.

따라서, 사용자가 측면커버(115)를 통해 커넥터(116)를 손으로 만지더라도 제1길이(A)와 은폐길이(C)가 더해진 만큼 통전슬리브(116a)가 본체(110) 내측으로 은폐되어 위치되므로 손이 통전슬리브(116a)와 직접 접촉하는 것이 차단된다. 이에 본체(110)에 전기가 공급되는 상태이더라도 사용자가 감전되는 것을 방지할 수 있다. Therefore, even if the user touches the connector 116 through the side cover 115 by hand, the energizing sleeve 116a is concealed inside the main body 110 as the first length A and the concealment length C are added, So that the hand is prevented from coming into direct contact with the energizing sleeve 116a. Thus, even if the main body 110 is supplied with electricity, the user can be prevented from being electrically charged.

이 때, 제1길이(A)와 은폐길이(C)는 각각 0.5mm~3mm 범위로 설계될 수 있다. 제1길이(A)와 은폐길이(C)는 사용자가 커넥터하우징(116e)에 손을 접촉했을 때 손가락 표면의 살이 내부로 삽입되는 깊이를 고려하여 적절하게 설정될 수 있다. 제1길이(A)와 은폐길이(C)가 과도하게 길게 형성될 경우 핀(121b)의 길이가 지나치게 길어지므로 적절하게 설계되는 것이 바람직하다.
In this case, the first length A and the concealment length C can be designed in the range of 0.5 mm to 3 mm, respectively. The first length A and the concealment length C can be appropriately set in consideration of the depth at which the fingers of the finger surface are inserted into the inside when the user touches the connector housing 116e. If the first length A and the concealment length C are excessively long, the length of the pin 121b is excessively long.

도 3은 플러그부(120)의 구성을 도시한 단면도와 측면도이다. 도시된 바와 같이 플러그부(120)는 플러그본체(121)와, 플러그본체(121)에 전원을 공급하는 전원공급라인(123)을 포함한다. 플러그본체(121)는 단부로부터 돌출되어 통전슬리브(116a)로 삽입되는 핀(121b)과, 핀(121b)의 외부를 감싸는 플러그하우징(121a)을 포함한다. 3 is a cross-sectional view and a side view showing the configuration of the plug portion 120. As shown in Fig. As shown in the figure, the plug unit 120 includes a plug main body 121 and a power supply line 123 for supplying power to the plug main body 121. The plug main body 121 includes a pin 121b projecting from the end and inserted into the energizing sleeve 116a and a plug housing 121a surrounding the outside of the pin 121b.

핀(121b)은 통전슬리브(116a)에 삽입되는 길이로 형성된다. 플러그하우징(121a)은 핀(121b)에 비해 제2길이(B)만큼 길게 형성된다. 따라서, 도 3에 도시된 바와 같이 핀(121b)이 외부로 노출되지 않고 플러그하우징(121a) 내부에 제2길이(B)만큼 안쪽으로 은폐되어 위치하게 된다. 이에 사용자가 플러그하우징(121a)의 선단을 손으로 만지더라도 핀(121b)이 손과 접촉되는 것이 방지되어 감전되는 것을 예방할 수 있다.
The pin 121b is formed to have a length to be inserted into the energizing sleeve 116a. The plug housing 121a is formed to be longer than the pin 121b by the second length B. [ Accordingly, as shown in FIG. 3, the pin 121b is hidden inside the plug housing 121a by the second length B without being exposed to the outside. Accordingly, even if the user touches the tip of the plug housing 121a by hand, the pin 121b is prevented from coming into contact with the hand, thereby preventing electric shock.

이러한 구성을 갖는 본 발명에 따른 등기구(100)의 사용과정을 도 1 내지 도 3을 참조하여 설명한다. 등기구(100)는 사용목적에 따라 건물의 천정 등에 설치한다. 그리고, 플러그부(120)를 본체(110)의 커넥터(116)에 결합시킨다. The use of the lighting fixture 100 according to the present invention having such a configuration will be described with reference to Figs. 1 to 3. Fig. The lamp 100 is installed on the ceiling of the building according to the purpose of use. Then, the plug portion 120 is coupled to the connector 116 of the main body 110.

도 1에 도시된 바와 같이 본체(110)에 플러그부(120)를 결합시킬 때 사용자가 커넥터(116)와 플러그부(120)의 선단을 손으로 파지하게 된다. 이 때, 커넥터(116)의 통전슬리브(116a)가 커넥터하우징(116e)으로부터 제1길이(A) 및 은폐길이(C) 만큼 내부로 은폐되어 위치하므로 사용자의 손이 직접 통전슬리브(116a)와 접촉되는 것이 차단된다. The user grips the distal end of the connector 116 and the plug 120 by hand when the plug 120 is coupled to the main body 110 as shown in FIG. At this time, because the energizing sleeve 116a of the connector 116 is concealed from the connector housing 116e by the first length A and the concealing length C internally, the user's hand can directly contact the energizing sleeve 116a The contact is blocked.

또한, 플러그부(120)의 핀(121b)도 플러그하우징(121a) 내부에 수용되므로 사용자의 손과 접촉되는 것이 차단된다. 더욱이 핀(121b)이 플러그하우징(121a)의 선단으로부터 제2길이(B) 만큼 내측으로 위치되므로 손과 접촉되는 것이 차단된다. In addition, the pin 121b of the plug 120 is also housed inside the plug housing 121a, so that contact with the user's hand is blocked. Furthermore, since the pin 121b is positioned inward by the second length B from the tip of the plug housing 121a, contact with the hand is blocked.

이 상태에서 플러그하우징(121a)을 하우징수용공간(116d)으로 가압하여 삽입하고, 동시에 핀(121b)을 핀수용공간(116c)으로 삽입한다. 핀(121b)과 통전슬리브(116a)가 전기적으로 접속되며 전원이 본체(110)로 공급된다. In this state, the plug housing 121a is pressed into the housing accommodating space 116d and inserted, and at the same time, the pin 121b is inserted into the pin accommodating space 116c. The pin 121b and the energizing sleeve 116a are electrically connected to each other and power is supplied to the main body 110. [

따라서, 설치 작업 중에 본체(110)와 플러그부(120)에 전원이 공급되는 중에라도 사용자의 손이 커넥터(116)와 플러그부(120)를 잡아도 감전되는 것을 예방할 수 있다. 이에 안전하게 설치공사가 완료될 수 있다.
Therefore, even when power is supplied to the main body 110 and the plug portion 120 during the installation operation, it is possible to prevent the user's hand from being electrically charged even if the user holds the connector 116 and the plug portion 120. Therefore, installation work can be completed safely.

이상에서 살펴본 바와 같이 본 발명의 등기구는 돌출되는 핀이 플러그부 측에 위치하고, 커넥터가 본체의 내부로 삽입되게 위치된다. 또한, 플러부의 핀은 플러그하우징 내부에 은폐되게 구비되고, 통전슬리브도 절연관 내부에 은폐길이 만큼 내측에 위치되므로 사용자의 손과 접촉되는 것이 미연에 차단된다. As described above, the luminaire of the present invention is positioned so that the projecting pin is located on the plug portion side and the connector is inserted into the inside of the main body. Further, the pin of the plug portion is provided so as to be concealed inside the plug housing, and the energizing sleeve is also located inside by the concealment length, so that contact with the user's hand is blocked in advance.

따라서, 감전의 위험없이 안전하게 설치공사가 마무리될 수 있다.
Therefore, installation work can be completed safely without risk of electric shock.

이상에서 설명된 본 발명의 등기구의 실시예는 예시적인 것에 불과하며, 본 발명이 속한 기술분야의 통상의 지식을 가진 자라면 이로부터 다양한 변형 및 균등한 타 실시예가 가능하다는 점을 잘 알 수 있을 것이다. 그러므로 본 발명은 상기의 상세한 설명에서 언급되는 형태로만 한정되는 것은 아님을 잘 이해할 수 있을 것이다. 따라서 본 발명의 진정한 기술적 보호 범위는 첨부된 특허청구범위의 기술적 사상에 의해 정해져야 할 것이다. 또한, 본 발명은 첨부된 청구범위에 의해 정의되는 본 발명의 정신과 그 범위 내에 있는 모든 변형물과 균등물 및 대체물을 포함하는 것으로 이해되어야 한다.
The embodiments of the luminaires of the present invention described above are merely illustrative and those skilled in the art will recognize that various modifications and equivalent embodiments are possible without departing from the scope of the present invention. will be. Therefore, it is to be understood that the present invention is not limited to the above-described embodiments. Accordingly, the true scope of the present invention should be determined by the technical idea of the appended claims. It is also to be understood that the invention includes all modifications, equivalents, and alternatives falling within the spirit and scope of the invention as defined by the appended claims.

100 : 등기구 110 : 본체
111 : 프레임 112 : 기판
113 : LED 114 : 확산커버
115 : 측면커버 116 : 커넥터
116a : 통전슬리브 116b : 절연관
116c : 핀수용공간 116d : 하우징수용공간
116e : 커넥터하우징 116f : 연결리브
120 : 플러그부 121 : 플러그본체
121a : 플러그하우징 121b : 핀
123 : 전원공급라인
100: luminaire 110:
111: frame 112: substrate
113: LED 114: diffusion cover
115: side cover 116: connector
116a: Energizing sleeve 116b:
116c: pin accommodating space 116d: housing accommodating space
116e: connector housing 116f: connecting rib
120: plug portion 121: plug body
121a: Plug housing 121b: Pin
123: Power supply line

Claims (2)

발광소자와, 상기 발광소자와 전기적으로 연결된 커넥터가 구비된 본체와;
상기 커넥터에 착탈가능하게 결합되며, 상기 본체로 전원을 공급하는 플러그부를 포함하며,
상기 본체는,
상기 발광소자를 지지하는 기판과;
상기 기판의 하부를 지지하는 프레임과;
상기 기판을 감싸도록 형성되는 확산커버와;
상기 확산커버의 양측에 결합되며 상기 커넥터가 결합되는 측면커버를 포함하며,
상기 커넥터는,
상기 측면커버로부터 내부로 일정 깊이 삽입되는 커넥터하우징과;
통전부재로 형성되는 통전슬리브와;
상기 통전슬리브를 감싸며 상기 커넥터하우징으로부터 하우징수용공간만큼 내측에 이격 배치되는 절연관을 포함하며,
상기 절연관은 상기 측면커버의 외측면으로부터 제1거리만큼 내부에 위치되고, 상기 통전슬리브는 상기 절연관으로부터 은폐거리만큼 내부에 위치되어, 상기 통전슬리브의 외부노출이 차단되는 것을 특징으로 하는 등기구.
A main body having a light emitting element and a connector electrically connected to the light emitting element;
And a plug portion detachably coupled to the connector and supplying power to the body,
The main body includes:
A substrate supporting the light emitting element;
A frame supporting a lower portion of the substrate;
A diffusion cover formed to surround the substrate;
And a side cover coupled to both sides of the diffusion cover and to which the connector is coupled,
Wherein the connector comprises:
A connector housing inserted into the side cover at a predetermined depth;
An energizing sleeve formed of an energizing member;
And an insulation that surrounds the energizing sleeve and is spaced inwardly from the connector housing by a housing accommodating space,
Wherein the insulation is positioned a first distance from an outer surface of the side cover and the energizing sleeve is located within a concealment distance from the insulation to externally expose the energizing sleeve. .
제1항에 있어서,
상기 플러그부는,
전원공급라인과 연결되는 플러그본체와;
상기 플러그본체의 선단부로부터 일정 길이 돌출되어 상기 통전슬리브에 전기적으로 결합되는 핀과;
상기 핀을 내부에 수용하도록 상기 플러그본체로부터 돌출형성되는 플러그하우징을 포함하며,
상기 플러그하우징은 상기 핀 보다 제2거리만큼 길게 형성되어 상기 핀이 외부로 노출되는 것을 차단하는 것을 특징으로 하는 등기구.
The method according to claim 1,
The plug unit includes:
A plug main body connected to a power supply line;
A pin protruding from the tip end of the plug body by a predetermined length and electrically coupled to the energizing sleeve;
And a plug housing protruded from the plug body to receive the pin therein,
Wherein the plug housing is formed to be longer than the pin by a second distance to prevent the pin from being exposed to the outside.
KR1020140041260A 2014-04-07 2014-04-07 Lamp device to improve connecting structure between plug and connector Ceased KR20150116261A (en)

Priority Applications (1)

Application Number Priority Date Filing Date Title
KR1020140041260A KR20150116261A (en) 2014-04-07 2014-04-07 Lamp device to improve connecting structure between plug and connector

Applications Claiming Priority (1)

Application Number Priority Date Filing Date Title
KR1020140041260A KR20150116261A (en) 2014-04-07 2014-04-07 Lamp device to improve connecting structure between plug and connector

Publications (1)

Publication Number Publication Date
KR20150116261A true KR20150116261A (en) 2015-10-15

Family

ID=54356884

Family Applications (1)

Application Number Title Priority Date Filing Date
KR1020140041260A Ceased KR20150116261A (en) 2014-04-07 2014-04-07 Lamp device to improve connecting structure between plug and connector

Country Status (1)

Country Link
KR (1) KR20150116261A (en)

Cited By (2)

* Cited by examiner, † Cited by third party
Publication number Priority date Publication date Assignee Title
KR20180135136A (en) * 2017-06-09 2018-12-20 주식회사 디케이 Connector teminal for led lamp
CN112688128A (en) * 2020-12-27 2021-04-20 赛尔富电子有限公司 DC plug and lamp with same

Cited By (2)

* Cited by examiner, † Cited by third party
Publication number Priority date Publication date Assignee Title
KR20180135136A (en) * 2017-06-09 2018-12-20 주식회사 디케이 Connector teminal for led lamp
CN112688128A (en) * 2020-12-27 2021-04-20 赛尔富电子有限公司 DC plug and lamp with same

Similar Documents

Publication Publication Date Title
US20060039168A1 (en) Modular luminaire system
JP5662065B2 (en) Straight tube lamp and lighting device
JP4630255B2 (en) lighting equipment
EP2503218A1 (en) Light source device
KR101764056B1 (en) Illumination system
KR20150116261A (en) Lamp device to improve connecting structure between plug and connector
CN204345456U (en) Lighting device
JP5455951B2 (en) Lamp and lighting device using the lamp
JP5705350B2 (en) LED lighting device
JP5701423B2 (en) LED lighting device
JP6279333B2 (en) Lighting unit
JP5686909B2 (en) Lamp and lighting device using the lamp
JP5701422B2 (en) LED lighting device
JP5538607B2 (en) LED lighting device
JP5538605B2 (en) LED lighting device
JP5736500B2 (en) Straight tube lamp and lighting device
CN206530922U (en) Shade lamp module
US20130208470A1 (en) Illumination apparatus and light emitting device thereof
JP2014216215A (en) Lighting fixture
CN201531780U (en) Lamp with wire arrangement structure
JP4950683B2 (en) lighting equipment
JP5996888B2 (en) Sockets and lighting fixtures
JP5701424B2 (en) LED lighting device
JP2017050260A (en) Lighting fixture
JP2023009466A (en) Lighting fixture and luminaire

Legal Events

Date Code Title Description
A201 Request for examination
PA0109 Patent application

Patent event code: PA01091R01D

Comment text: Patent Application

Patent event date: 20140407

PA0201 Request for examination
E902 Notification of reason for refusal
PE0902 Notice of grounds for rejection

Comment text: Notification of reason for refusal

Patent event date: 20150713

Patent event code: PE09021S01D

E601 Decision to refuse application
PE0601 Decision on rejection of patent

Patent event date: 20151002

Comment text: Decision to Refuse Application

Patent event code: PE06012S01D

Patent event date: 20150713

Comment text: Notification of reason for refusal

Patent event code: PE06011S01I

PG1501 Laying open of application