KR20150075338A - There is traction therapy apparatus in heated belt - Google Patents

There is traction therapy apparatus in heated belt Download PDF

Info

Publication number
KR20150075338A
KR20150075338A KR1020130163398A KR20130163398A KR20150075338A KR 20150075338 A KR20150075338 A KR 20150075338A KR 1020130163398 A KR1020130163398 A KR 1020130163398A KR 20130163398 A KR20130163398 A KR 20130163398A KR 20150075338 A KR20150075338 A KR 20150075338A
Authority
KR
South Korea
Prior art keywords
bed
belt
panel
waist
warming belt
Prior art date
Legal status (The legal status is an assumption and is not a legal conclusion. Google has not performed a legal analysis and makes no representation as to the accuracy of the status listed.)
Ceased
Application number
KR1020130163398A
Other languages
Korean (ko)
Inventor
황인철
Original Assignee
황인철
Priority date (The priority date is an assumption and is not a legal conclusion. Google has not performed a legal analysis and makes no representation as to the accuracy of the date listed.)
Filing date
Publication date
Application filed by 황인철 filed Critical 황인철
Priority to KR1020130163398A priority Critical patent/KR20150075338A/en
Publication of KR20150075338A publication Critical patent/KR20150075338A/en
Ceased legal-status Critical Current

Links

Images

Classifications

    • AHUMAN NECESSITIES
    • A61MEDICAL OR VETERINARY SCIENCE; HYGIENE
    • A61HPHYSICAL THERAPY APPARATUS, e.g. DEVICES FOR LOCATING OR STIMULATING REFLEX POINTS IN THE BODY; ARTIFICIAL RESPIRATION; MASSAGE; BATHING DEVICES FOR SPECIAL THERAPEUTIC OR HYGIENIC PURPOSES OR SPECIFIC PARTS OF THE BODY
    • A61H1/00Apparatus for passive exercising; Vibrating apparatus; Chiropractic devices, e.g. body impacting devices, external devices for briefly extending or aligning unbroken bones
    • A61H1/02Stretching or bending or torsioning apparatus for exercising
    • A61H1/0218Drawing-out devices
    • A61H1/0222Traction tables
    • AHUMAN NECESSITIES
    • A61MEDICAL OR VETERINARY SCIENCE; HYGIENE
    • A61HPHYSICAL THERAPY APPARATUS, e.g. DEVICES FOR LOCATING OR STIMULATING REFLEX POINTS IN THE BODY; ARTIFICIAL RESPIRATION; MASSAGE; BATHING DEVICES FOR SPECIAL THERAPEUTIC OR HYGIENIC PURPOSES OR SPECIFIC PARTS OF THE BODY
    • A61H39/00Devices for locating or stimulating specific reflex points of the body for physical therapy, e.g. acupuncture
    • A61H39/06Devices for heating or cooling such points within cell-life limits
    • AHUMAN NECESSITIES
    • A61MEDICAL OR VETERINARY SCIENCE; HYGIENE
    • A61HPHYSICAL THERAPY APPARATUS, e.g. DEVICES FOR LOCATING OR STIMULATING REFLEX POINTS IN THE BODY; ARTIFICIAL RESPIRATION; MASSAGE; BATHING DEVICES FOR SPECIAL THERAPEUTIC OR HYGIENIC PURPOSES OR SPECIFIC PARTS OF THE BODY
    • A61H2201/00Characteristics of apparatus not provided for in the preceding codes
    • A61H2201/01Constructive details
    • A61H2201/0119Support for the device
    • A61H2201/0138Support for the device incorporated in furniture
    • A61H2201/0142Beds
    • AHUMAN NECESSITIES
    • A61MEDICAL OR VETERINARY SCIENCE; HYGIENE
    • A61HPHYSICAL THERAPY APPARATUS, e.g. DEVICES FOR LOCATING OR STIMULATING REFLEX POINTS IN THE BODY; ARTIFICIAL RESPIRATION; MASSAGE; BATHING DEVICES FOR SPECIAL THERAPEUTIC OR HYGIENIC PURPOSES OR SPECIFIC PARTS OF THE BODY
    • A61H2201/00Characteristics of apparatus not provided for in the preceding codes
    • A61H2201/02Characteristics of apparatus not provided for in the preceding codes heated or cooled
    • A61H2201/0207Characteristics of apparatus not provided for in the preceding codes heated or cooled heated
    • AHUMAN NECESSITIES
    • A61MEDICAL OR VETERINARY SCIENCE; HYGIENE
    • A61HPHYSICAL THERAPY APPARATUS, e.g. DEVICES FOR LOCATING OR STIMULATING REFLEX POINTS IN THE BODY; ARTIFICIAL RESPIRATION; MASSAGE; BATHING DEVICES FOR SPECIAL THERAPEUTIC OR HYGIENIC PURPOSES OR SPECIFIC PARTS OF THE BODY
    • A61H2201/00Characteristics of apparatus not provided for in the preceding codes
    • A61H2201/02Characteristics of apparatus not provided for in the preceding codes heated or cooled
    • A61H2201/0221Mechanism for heating or cooling
    • A61H2201/0228Mechanism for heating or cooling heated by an electric resistance element
    • AHUMAN NECESSITIES
    • A61MEDICAL OR VETERINARY SCIENCE; HYGIENE
    • A61HPHYSICAL THERAPY APPARATUS, e.g. DEVICES FOR LOCATING OR STIMULATING REFLEX POINTS IN THE BODY; ARTIFICIAL RESPIRATION; MASSAGE; BATHING DEVICES FOR SPECIAL THERAPEUTIC OR HYGIENIC PURPOSES OR SPECIFIC PARTS OF THE BODY
    • A61H2201/00Characteristics of apparatus not provided for in the preceding codes
    • A61H2201/12Driving means
    • A61H2201/1207Driving means with electric or magnetic drive
    • AHUMAN NECESSITIES
    • A61MEDICAL OR VETERINARY SCIENCE; HYGIENE
    • A61HPHYSICAL THERAPY APPARATUS, e.g. DEVICES FOR LOCATING OR STIMULATING REFLEX POINTS IN THE BODY; ARTIFICIAL RESPIRATION; MASSAGE; BATHING DEVICES FOR SPECIAL THERAPEUTIC OR HYGIENIC PURPOSES OR SPECIFIC PARTS OF THE BODY
    • A61H2201/00Characteristics of apparatus not provided for in the preceding codes
    • A61H2201/50Control means thereof
    • A61H2201/5058Sensors or detectors
    • A61H2201/5082Temperature sensors

Landscapes

  • Health & Medical Sciences (AREA)
  • Rehabilitation Therapy (AREA)
  • Epidemiology (AREA)
  • Pain & Pain Management (AREA)
  • Physical Education & Sports Medicine (AREA)
  • Life Sciences & Earth Sciences (AREA)
  • Animal Behavior & Ethology (AREA)
  • General Health & Medical Sciences (AREA)
  • Public Health (AREA)
  • Veterinary Medicine (AREA)
  • Orthopedics, Nursing, And Contraception (AREA)

Abstract

The present invention relates to a traction therapeutic device having a heating belt. A heating belt is mounted on the knee, waist, or neck of a user needing exercise or treatment by using an inversion table, so that his/her body can be positioned in reverse while his/her joint is warmed. The foot is hung on a hanger, and the waist is shaken while the user′s body is positioned in reverse. Accordingly, the joint is relaxed, and fatigue of the user′s whole body can be relieved.

Description

온열벨트가 있는 견인치료기{THERE IS TRACTION THERAPY APPARATUS IN HEATED BELT}BACKGROUND OF THE INVENTION 1. Field of the Invention [0001] The present invention relates to a traction therapy apparatus,

본 발명은 무릎, 허리, 목 관절에 유익한 꺼꾸리로서, 더욱 상세하게는 꺼꾸리를 사용하는 치료자에게 무릎과 허리, 목 등에 온열벨트를 장착시켜 관절을 따뜻하게 한 상태에서 꺼꾸리 운동을 하게함으로서, 혈액순환이 잘되게 하여 관절건강에 도움 되게 하는 온열벨트가 있는 견인치료기에 관한 것이다.    The present invention relates to a louver, a waist and a neck joint, and more particularly, to a healer who wears a lunge, a waist, a neck, and the like to a warm belt so that the joint is warmed, And to provide a traction therapy device with a warming belt that helps to improve joint health.

사람을 꺼꾸로 매다는 것은 과거에도 동서양을 막론하고 질병치료를 위해 행하여져왔고, 또 꺼꾸로 매다는 다양한 방법 등이 문헌에 보여지고 있다.     Tethering people backwards has been done in the past to treat diseases, both east and west, and various ways of hanging down are shown in the literature.

사람을 꺼꾸로 매달 때 인체에 유익이 되는 장점이 현대 의학에도 많이 검증이 되면서, 몸을 꺼꾸로 매다는 다양한 기구가 인기리에 판매되고 있는데, 방 출입문의 문틀 상단에 가로대를 지지하고 그 지지대에 발걸이를 고정하는 소형기구는 물론 누워있으면 자동으로 베드를 올리고 내려주는 자동기구까지 있다.     The advantage of being beneficial to the human body when hanging upside down has been proven in modern medicine, and a variety of instruments hanging on the body are popularly sold. The armrest is supported at the top of the door frame of the door, There are also small appliances as well as automatic appliances that automatically raise and lower the bed when it is lying down.

꺼꾸리 운동의 목적이 거꾸로 매달아 골격을 비롯한 전신을 이완시켜 주어, 혈액순환이 잘되게 하는 등 건강증진에 도움 되게 하기 위함인데, 하지만 사람을 갑작스럽게 꺼꾸로 매달면 경직되어 있던 척추나 무릎, 목 관절부가 순간적으로 이완되면서, 관절부를 지지하고 있던 인대와 근육이 파열될 수 있으며, 디스크 탈출 등의 위험을 초래 할 수도 있다.     The purpose of the lunge movement is to hang upside down to relax the whole body including the skeleton, blood circulation to be good to help promote health, but suddenly hanging back to the person who is rigid spine, knee, neck joints momentarily , Ligaments and muscles that support the joints may rupture, and may lead to the risk of disk escape.

또한 다리에 모여 있던 피가 순간적으로 머리부로 몰려들므로 인해 심장에 부담을 주기도 하며, 뇌출혈 등의 위험도 있으므로 결코 바람직한 운동방법은 아니다 할 것이다.    In addition, the blood gathered on the legs instantly head to the head because of the burden on the heart, and the risk of cerebral hemorrhage is not a good way to exercise is not desirable.

본 발명의 목적은 위의 내용과 같이 꺼꾸리 사용자가 몸을 거꾸로   The object of the present invention is to provide a lounger

하는 상태가 되어도 관절을 비롯하여 인대나 근육에 나쁜 영향을 미치지 않도록 하기 위해, 운동자가 온열벨트로 주요 관절부위를 충분히 따뜻하게 하여 꺼꾸리를 하도록 하며, 꺼꾸리 상태에서 허리를 비롯하여 전신을 흔들어주어 관절부위는 물론 전신의 건강증진에 도움 되는 온열벨트가 있는 견인치료기를 제공하는 데 목적이 있다.To prevent the ligaments and muscles from adversely affecting the joints, the exerciser should warm the main joints with a warmer belt to allow them to lie down, and wiggle the entire body, including the waist, It is an object of the present invention to provide a traction therapy device with a warm belt that promotes the health of the whole body.

상기한 목적을 달성하기 위해 본 발명은 받침대와 받침대 위쪽 일정 높이에 베드가 구비되며, 베드는 받침대와 힌지작용 가능하게 축으로 체결되며, 베드의 일측 단부가 전동모터에 의해 올려지거나 내려지도록 한다.    In order to achieve the above object, the present invention provides a bed at a predetermined height above a pedestal and a pedestal, the bed being coupled to the pedestal by a shaft so as to be hinged, and one end of the bed being raised or lowered by an electric motor.

베드는 중앙부에서 좌우로 수평 상태로 분리되어 있으며, 상면 일측 단부에는 발걸이부가 구비되는데, 이 발걸이의 하부에는 가장자리에서 중앙부로 이동하면서 고정할 수 있는 장치를 한다.    The bed is horizontally separated from the central portion and horizontally separated from the central portion, and an upper portion of the upper surface is provided with an ankle portion.

베드에 있어서 좌우로 갈라진 중앙부에는 일정폭의 패널이 왕복운동하게 하는 작동부가 들어가며, 베드에 치료자가 누웠을 때 사람이 닿게 되는 부분에 열선을 내장하여, 운동자의 전신에 따뜻한 열을 가해 근육이나 관절의 이완 작용에 도움이 되게 하며, 무릎과 허리,목이 닿은 부분에는 각각의 관절보용벨트를 장착하여 꺼꾸리 운동을 하기 전에 운동자가 각 관절에 벨트를 착용하여 각 관절을 충분이 유연하게 한 다음 꺼꾸리 운동을 하게 함으로서 운동이나 치료의 효과를 높이도록 한다.
In the central part of the bed divided into left and right parts, a working part for reciprocating a panel of a certain width is inserted, and when a therapist lies down on the bed, a heat ray is embedded in a part where the person touches and the warmth is applied to the body of the exerciser, The knee, waist, and throat are attached to each joint gait belt. Before exercising the lug, the athlete wears a belt on each joint to make each joint sufficiently flexible. So that the effect of exercise or therapy is enhanced.

본 발명에 따른 온열벨트가 있는 견인치료기는 허리 어깨 무릎의 관절에 충분히 온열을 가한 후, 몸을 역방향으로 세우기에 각 관절에 무리가 가지 않으며, 이 상태에서 전신을 흔들어주므로 전신의 미세 근육에까지 운동의 영향이 미치므로 혈액순환 증대는 물로 피로 회복에도 많은 도움이 되는 등 현대인들의 건강증진과 관리에 좋은 영향을 줄 것이며, 특별히 운동량이 부족한 노약자나 장애인 그리고 늘 앉아 있는 사무직장인들의 건장증진 많은 도움이 될 것이다.   The traction therapy device with a thermal belt according to the present invention has sufficient heat to the joints of the lower back and shoulder knee and then sets the body in the opposite direction so that the joints do not go anywhere and in this state the whole body is shaken, The increase in blood circulation will help to improve the health promotion and management of the modern people including the help of water and fatigue recovery, and the improvement of the health of the elderly people with disabilities, Will be.

도 1은 본 발명인 온열베트가 있는 견인 치료기의 정단면도
도 2는 본 발명에 의한 베드의 상면의 구성도
도 3은 본 발명에 의한 장치의 패널작동부 구성도
도 4는 본 발명에 의한 발걸이 장치의 요부구성도
도 5는 본 발명에 의한 베드받침대 구성도
도 6은 본 발명에 있어 무릎온열벨트를 나타낸 예시도
도 7은 본 발명에 있어 허리온열벨트를 나타낸 예시도
도 8은 본 발명에 있어 무릎온열벨트를 나타낸 예시도
BRIEF DESCRIPTION OF THE DRAWINGS FIG. 1 is a front section view of a traction sheeter with a heated bet,
Fig. 2 is a schematic view of the upper surface of the bed according to the present invention
Fig. 3 is a block diagram of a panel operation part of the apparatus according to the present invention
Fig. 4 is a block diagram of a footing device according to the present invention
5 is a view showing the structure of a bed base according to the present invention
Fig. 6 is an exemplary view showing a knee warming belt in the present invention
Fig. 7 is an exemplary view showing a waist warming belt in the present invention
8 is an exemplary view showing a knee warming belt in the present invention

이에 본 발명을 첨부된 도면을 참조하여 상세히 설명하면 다음과 같다.     Hereinafter, the present invention will be described in detail with reference to the accompanying drawings.

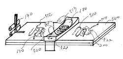
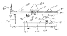
본 발명의 실시예에 따른 온열벨트가 있는 견인치료기는 바닥면에서 기구를 지지하는 받침대(100)와 중앙에 왕복운동하는 패널(350)이 있으며, 일측 단부에는 발을 거는 발걸이(130)와 무릎온열벨트(150), 허리온열벨트(180), 목온열벨트(200) 등이 있는 베드부, 베드 기울기 조절부 등으로 구성된다.
The traction therapy device with a thermal belt according to an embodiment of the present invention includes a pedestal 100 for supporting a device on a floor surface and a panel 350 reciprocating in the center, A bed portion having a heating belt 150, a waist warming belt 180, a neck warming belt 200 and the like, a bed tilt adjusting portion, and the like.

제 1도는 본 발명인 온열벨트가 있는 견인 치료기의 정단면도이며, 도2는 본 발명에 있어 베드 상면의 구성도이며, 도3은 본 발명에 의한 장치의 패널작동부 구성도 이며, 도4는 본 발명에 의한 발걸이 장치의 요부구성도이며, 도5는 본 발명에 의한 베드받침대 구성도이며, 도6~8까지는 무릎온열벨트, 허리온열벨트, 목온열벨트를 나탄 낸 예시도이다.
1 is a front sectional view of a traction therapy apparatus having a heating belt according to the present invention, FIG. 2 is a top view of a bed in the present invention, FIG. 3 is a view of a panel operation unit of the apparatus according to the present invention, FIG. 5 is a view illustrating a configuration of a bed base according to the present invention, and FIGS. 6 to 8 show examples of a knee warming belt, a waist warming belt, and a neck warming belt.

도1에서 보는 바와 같이 받침대(100) 상부의 일측에는 베드 받침대(112)가 도5와 같이 수직으로 형성되어 상부는 연결되어져 있는데, 베드의 일측 단부가 더 이상 내려가지 않고 수평이 유지 되도록 받쳐주는 역할을 한다.    As shown in FIG. 1, a bed base 112 is vertically formed on one side of the top of the pedestal 100, and the upper side is connected to the pedestal 100, It plays a role.

베드(500)의 기울기를 조절 하는 기능은 받침대에 있는 전동모터(104)의 작동으로 시작된다.    The function of adjusting the inclination of the bed 500 is started by the operation of the electric motor 104 in the pedestal.

모터(104)가 작동을 하면, 모터의 회전축과 직선으로 연결되어 있으면서 일측 단부가 회전봉 지지대(108)에 지지되고 있는 회전봉(106)이 회전을 하게 되고, 나사부가 외면에 형성되어 있는 회전봉(106)과 나사부가 내부에 형성되어 있으면서 회전봉과 맞물려있는 이동체(116)가 회전봉의 정 역회전에 따라 전후로 이동을 하게 되면서, 이동체와 베드 날개부(502)의 저면에 있는 보조대(120)에 양 단부가 힌지 작용토록 장착되어있는 지지바(118)에 의해 베드(500)의 일측 단부가 상하로 움직이면서 베드 기울기가 형성된다.    When the motor 104 is operated, the rotation bar 106, which is linearly connected to the rotation shaft of the motor and has one end supported by the rotation bar supporter 108, is rotated, and the rotation bar 106 The moving body 116 engaged with the rotating rod moves forward and backward in accordance with the forward rotation of the rotating bar while the moving body and the bed wing portion 502 are moved in the forward and backward directions, A bed inclination is formed as one end of the bed 500 is moved up and down by the supporting bar 118 mounted in the hinge operation.

이때 회전봉 지지대(108)에 있는 센스(110)에 이동체(116)가 닿게 되면 모터가 작동을 중지하면서 베드의 상승도 멈추게 되며, 베드가 내려오면서 날개부(140)의 저면이 베드받침대(112)의 상면에 있는 센스(114)에 닿게 되면 모터의 작동이 중지되면서, 베드가 더 이상 내려가지 않고 베드받침대(112)에 의해 수평 유지되는 것이다.
At this time, when the moving body 116 comes into contact with the sense 110 on the swing bar support base 108, the motor stops operating and stops the elevation of the bed. When the bed is lowered, The operation of the motor is stopped and the bed is held by the bed base 112 without any further descent.

베드(500)는 날개부(502)에 의해 지지되면서 좌우로 분리되어 있으며, 분리된 중앙부에는 상면 패널을 좌우로 왕복운동케 하는 패널작동부(300)가 있다.    The bed 500 is separated from the left and right while being supported by the wing portion 502. The separated central portion has a panel operation portion 300 for reciprocating the upper panel.

또한 베드 상면 일측 단부에는 발걸이부(130)가 구비되는데, 이 발걸이부는 통상 꺼꾸리의 발걸이부와 같이 탄력 재질의 봉(131)사이로 발목을 넣은 후, 상단부발걸이(132)를 내려 발목에 닿게 한 후 고정핀(133)으로 고정한다.     In addition, a footrest 130 is provided at one end of the upper surface of the bed, and the footrest part usually includes an ankle between elastic rods 131 like a footrest part of a lunge, and then an upper part footrest 132 is lowered to touch an ankle And fixed with a fixing pin 133.

본 발명의 온열벨트가 있는 견인치료기에 있어서의 발걸이는 베드 가장자리에서 베드 중앙쪽으로 베드와 이격된 슬라이드가이드(136)를 형성하며, 그 상단에는 슬라이드 가이드 방향을 따라 중앙부에서 일직선으로 적당간격으로 암사나부가 형성되어 있는 체결공(137)과 발걸이(130)의 하단부에 도 4와 같은 슬라이드부(134)를 형성하여 베드에 형성된 슬라이드가이드(136)에 샵입하여, 가장자리에서 가운데 방향으로 이동하면서 고정레버(135)로 고정할 수 있도록 되어 있는데, 이는 치료자의 허리 요추부가 베드 중앙부의 패널(350)에 올려져야 하므로 치료자의 다리 길이에 따라 발걸이(130)의 위치를 조절해야 하기 때문이다.    In the traction therapy device with a thermal belt of the present invention, a foot guide is formed at the upper end of the foot guide from the bed at the center of the bed, 4 is formed at a lower end of the fastening hole 137 and the footrest 130. The slide member 134 is inserted into the slide guide 136 formed on the bed and moves in the center direction from the edge, Since the waist lumbar part of the therapist must be placed on the panel 350 at the center of the bed, the position of the footwear 130 must be adjusted according to the leg length of the therapist.

또한 좌우베드와 작동패널(350)에는 치료자가 베드에 누웠을 때 닿게되는 부분에 열선(510)을 내장하여, 치료자가 누웠을 때 열선의 열로 인해 몸을 따뜻하게 하여 이완이 쉽게 되도록 하며, 베드 상면에 있어서 무릎온열벨트(150), 허리온열벨트(180), 목온열벨트(200)가 장착되는 부분에는 벨크로 테입(513 520 522)을 형성하여 각 벨트를 베드와 떼고 붙일 수 있도록 하며, 각 벨트가 장착되는 지점의 측면 바깥쪽에 각 벨트에 전원을 연결하기위한 전원단자접속구(512 513 521)를 형성한다.    In the left and right bed and the operation panel 350, a heat ray 510 is embedded in a portion where the therapist touches the bed when the therapist lies on the bed, so that the body is warmed by the heat of the heat ray when the therapist is lying down, Velcro tapes 513 520 522 are formed on the portions where the knee warming belt 150, the waist warming belt 180 and the neck warming belt 200 are mounted so that each of the belts can be separated from and attached to the bed, (512 513 521) for connecting a power source to each belt is formed outside the side surface of the branching point.

상기 무릎온열벨트(150)는 도 6에 나타낸 바와 같이, 체결부(152)와 발열부(151)를 포함하여 구성되며,    6, the knee warming belt 150 includes a fastening part 152 and a heat generating part 151,

이때, 상기 체결부(152)의 양단에는 벨트착용을 위한 벨크로테이프가 형성된다.    At this time, a Velcro tape for wearing a belt is formed at both ends of the fastening part 152.

상기 발열부는 내부로부터 내피(153),면상발열체(154),단열판(155) 외피(156) 순으로 접철하여 가장자리를 봉제함에 의해 마감 처리된다 할 것이다.
The heat generating portion will be finished by sewing the edges in the order of the inner surface 153, the surface heating element 154 and the outer surface 156 of the heat insulating plate 155 in order.

상기 발열부(151)의 상하 가장자리는 고무재질인 탄성부재(157)로 형성함이 바람직한데, 이는 무릎온열벨트(150)의 조임력을 강화함은 물론 무릎온열벨트의 상하 가장자리가 피부와 밀착하게 되므로 면상발열체(154)에서 발생한 열이 밖으로 새어나가는 것을 방지하기 위함이다.    The upper and lower edges of the heating portion 151 are preferably formed of an elastic member 157 made of a rubber material. This not only strengthens the tightening force of the knee warming belt 150 but also brings the upper and lower edges of the knee warming belt into close contact with the skin The heat generated in the surface heat emission element 154 is prevented from leaking out.

상기 발열부(151)의 면상발열체(154)에는 온도감지센서(미 도시됨)를 장착하여 적정온도 이상으로 온도가 높아질 경우 자동으로 전원을 차단할 수 있도록 하며, 무릎온열벨트(150)를 보다 안전하게 사용할 수 있도록 한다.    A temperature sensor (not shown) is mounted on the surface heater 154 of the heating unit 151 to automatically shut off the power supply when the temperature rises above the predetermined temperature, and the knee heating belt 150 can be more safely So that it can be used.

상기 발열부(151)에는 스프링형태의 전선(158)이 연결되어 있으며 그 일측 단부에는 전원접속단자(159)가 연결 구비된다.    A spring-shaped electric wire 158 is connected to the heating part 151, and a power connection terminal 159 is connected to one end of the spring 158.

상기 전원접속단자(159)는 베드의 상면에 장착한 전원단자접속구(512)에 끼워서 전원을 연결하기 위함이며, 무릎온열벨트(150)의 면상발열판(154)을 발열시키는 전원이 된다.    The power connection terminal 159 is connected to the power terminal connection port 512 mounted on the upper surface of the bed to connect the power source and becomes a power source for heating the surface heating plate 154 of the knee heating belt 150.

이때, 상기 발열부(151) 상에는 그 외면에 위치하도록 온오프전원스위치(160)를 구비함으로써 면상발열체(154)로 공급되는 전원을 ON/OFF 제어할 수 있도록 구성하며, 운동자가 착용했을 때 베드의 상면과 접촉되는 벨트의 외면에 벨크로테이프(161)를 형성하여 벨트(150)를 베드에 형성된 벨크로테이프(520)와 붙이거나 분리할 수 있도록 한다.
The on-off power switch 160 is disposed on the heating unit 151 so that the power supplied to the surface heating unit 154 can be controlled to be turned on and off. The velcro tape 161 is formed on the outer surface of the belt in contact with the upper surface of the belt 150 so that the belt 150 can be attached to or separated from the velcro tape 520 formed on the bed.

상기 허리온열벨트(180)는 도 7에 나타낸 바와 같이, 체결부(182)와 발열부(181)를 포함하여 구성되는데, 체결부(182)의 양단에는 허리 측에 착용하기 위한 벨크로테이프가 형성된다.    7, the waist warming belt 180 includes a fastening portion 182 and a heat generating portion 181. Velcro tapes for wearing the waist side are formed at both ends of the fastening portion 182 do.

상기 발열부(181)는 복부와 옆구리 및 등 부분까지 감쌀 수 있을 정도로 가로방향으로 길게 형성함이 바람직하며, 내부로부터 내피(183),면상발열체(184),단열판(185) 외피(186) 순으로 접철하여 가장자리를 봉제함에 의해 마감 처리된다 할 것이다.    The heat generating part 181 is preferably formed to be long in the lateral direction so as to cover the abdomen part, the side part and the back part. The inner part 183, the planar heat generating part 184, the heat insulating plate 185 outer part 186 And the edges are sewn to finish.

이때, 상기 발열부(181)에도 상하 가장자리를 고무재질의 탄성부재(188)로 형성함이 바람직한데, 이는 허리온열벨트(180)의 상하 가장자리부를 피부와 밀착시킬 수 있게 되므로 면상발열체(184)로부터 발생한 열이 밖으로 새어나가지 않도록 하기 위함이다.    The upper and lower edges of the waist warming belt 180 may be in close contact with the skin of the waist warming belt 180. The surface heating body 184 may be made of a rubber elastic material, So that the heat generated from the heat source does not leak out.

상기 발열부(181)의 면상발열체(184)에는 온도감지센서(미 도시됨)를 장착하여 적정온도 이상으로 온도가 높아질 경우 자동으로 전원을 차단할 수 있도록 하며, 허리온열벨트(180)를 보다 안전하게 사용할 수 있도록 한다.    A temperature sensor (not shown) is mounted on the surface heating element 184 of the heating portion 181 to automatically shut off the power when the temperature rises above the proper temperature, and the waist warming belt 180 can be more safely So that it can be used.

또한, 상기 발열부(181)의 외면에는 스프링형태의 전선(189)이 연결되고 그 전선의 일측 단부에는 전원접속단자(190)가 연결 구비되며, 이 전원접속단자(190)를 패널 상면에 장착한 전원단자접속구(521)에 끼워서 전원을 연결하기 위함이며, 허리온열벨트(180)의 면상발열판(184)을 발열시키는 전원이 된다.    A spring-shaped electric wire 189 is connected to the outer surface of the heat generating unit 181 and a power connection terminal 190 is connected to one end of the electric wire. The power connection terminal 190 is mounted on the upper surface of the panel And is connected to a power terminal connection port 521 to connect the power source and becomes a power source for generating heat on the surface heating plate 184 of the waist warming belt 180.

이때, 상기 발열부(181) 상에는 그 외면에 위치하도록 온오프전원스위치(187)를 구비함으로써 면상발열체(184)로 공급되는 전원을 ON/OFF 제어할 수 있도록 구성하며, 운동자가 착용했을 때 패널(350)의 상면과 접촉되는 벨트의 외면에 벨크로테이프(191)를 형성하여 벨트(180)를 베드에 형성된 벨크로테이프(513)와 붙이거나 분리할 수 있도록 한다.
The on-off power switch 187 is provided on the heating unit 181 so that the power supplied to the surface heating unit 184 can be controlled to be turned on and off. A velcro tape 191 is formed on the outer surface of the belt in contact with the upper surface of the belt 350 so that the belt 180 can be attached to or separated from the velcro tape 513 formed on the bed.

상기 목온열벨트(200)는 도 8에 나타낸 바와 같이, 체결부(202)와 발열부(201)를 포함하여 구성되는데, 체결부(202)의 양단에는 허리 측에 착용하기 위한 벨크로테이프가 형성된다.    8, the neck warming belt 200 includes a fastening part 202 and a heat generating part 201. Velcro tape for wearing on the waist side is formed at both ends of the fastening part 202 do.

상기 발열부(201)는 내부로부터 내피(203),면상발열체(204),단열판(205) 외피(206) 순으로 접철하여 가장자리를 봉제함에 의해 마감 처리된다 할 것이다.    The heating unit 201 may be finished by sewing the edges of the inner sheet 203, the surface heating element 204 and the outer sheet 206 of the heat insulating sheet 205 in this order.

이때, 상기 발열부(201)에서 목을 감싸는 부분의 상하 가장자리를 고무재질의 탄성부재(209)로 형성함이 바람직한데, 이는 목온열벨트(200)로 목을 감쌀 때 상하 가장자리부를 피부와 밀착시킬 수 있게 되므로 면상발열체(204)로부터 발생한 열이 밖으로 새어나가지 않도록 하기 위함이다.    At this time, it is preferable that the upper and lower edges of the part surrounding the neck of the heat generating part 201 are formed as elastic members 209 made of rubber. When the neck is wrapped with the neck warming belt 200, So that heat generated from the surface heat emission element 204 does not leak out.

상기 발열부(201)의 면상발열체(204)에는 온도감지센서(미 도시됨)를 장착하여 적정온도 이상으로 온도가 높아질 경우 자동으로 전원을 차단할 수 있도록 하며, 목온열벨트(200)를 보다 안전하게 사용할 수 있도록 한다.    A temperature sensor (not shown) may be mounted on the surface heating element 204 of the heating unit 201 to automatically shut off the power when the temperature rises above a predetermined temperature, So that it can be used.

또한, 상기 발열부(201)의 외면에는 스프링형태의 전선(207)이 연결되고 그 전선의 일측 단부에는 전원접속단자(208)가 연결 구비되며, 이 전원접속단자(208)를 패널 상면에 창착한 전원단자접속구(514)에 끼워서 전원을 연결하기 위함.    A spring-shaped electric wire 207 is connected to the outer surface of the heat generating unit 201 and a power connecting terminal 208 is connected to one end of the electric wire. The power connecting terminal 208 is installed on the upper surface of the panel To connect power source by inserting it into one power terminal connection port (514).

이때, 상기 발열부(201) 상에는 그 외면에 위치하도록 온오프전원스위치(210)를 구비함으로써 면상발열체(204)로 공급되는 전원을 ON/OFF 제어할 수 있도록 구성하며, 운동자가 착용했을 때 베드의 상면과 접촉되는 벨트의 외면에 벨크로테이프(211)를 형성하여 벨트(200)를 베드에 형성된 벨크로테이프(522)와 붙이거나 분리할 수 있도록 한다.
The on-off power switch 210 is disposed on the heating unit 201 so that the power supplied to the surface heating unit 204 can be controlled to be turned on and off. The velcro tape 211 is formed on the outer surface of the belt in contact with the upper surface of the belt 200 so that the belt 200 can be attached to or separated from the velcro tape 522 formed on the bed.

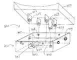
상기 패널 작동부(300)는 상면이 트인 직육면체형의 박스(310)와 박스의 위쪽에서 박스와 분리되어 왕복운동을 하는 패널(350)로 구성되는데, 박스 내면에 있어서 마주보는 양면의 상단부에 두 개의 슬라이드가이드(315)를 고정와샤(317)로 각각 고정 장착하되, 두 개의 슬라이드 가이드(315)가 수평과 평행이 되도록 한다.    The panel operation unit 300 includes a box 310 of a rectangular parallelepiped shape having a top surface and a panel 350 which reciprocates away from the box at the top of the box. A plurality of slide guides 315 are fixedly attached to the fixed washer 317 so that the two slide guides 315 are parallel to the horizontal.

박스 내면 하단에는 전동모터(330)가 장착되며, 모터 회전축에는 편심공이 형성된 회전판(331)이 장착되고, 편심공(332)에는 일정 길이의 커넥딩로드(336)가 회전 가능하도록 체결된다.     An electric motor 330 is mounted on the lower inner surface of the box and a rotary plate 331 having an eccentric hole is mounted on the motor rotary shaft. The eccentric hole 332 is coupled with a coupling rod 336 having a predetermined length.

패널(350)의 저면에는 패널(350)의 왕복운동을 이루기 위해 패널지지판(353) 4개가 수직 방향으로 형성되며, 각 판(353)의 하단부에 슬라이드가이드(315)에 샵입될 정도의 슬라이드공(355)이 형성된다.     Four panel support plates 353 are vertically formed on the bottom surface of the panel 350 for reciprocating motion of the panel 350 and a slide guide 315 (355) are formed.

또한 패널의 저면에는 두 개의 슬라이드가이드 사이에 위치하면서 패널지지판(353) 보다 긴 보조대(358)가 수직으로 부착되며, 보조대 하단 단부에는 체결공(359)이 형성되는데, 이 체결공(359)과 커텍팅로드(336)에 있어 회전판에 체결된 단부의 타측 단부와 회전 가능하도록 체결한다.     Further, at the bottom surface of the panel, a support rod 358, which is longer than the panel support plate 353, is vertically installed between the two slide guides, and a fastening hole 359 is formed at the lower end of the support rod. And is rotatably coupled to the other end of the end portion of the connecting rod 336 fastened to the rotating plate.

이하 작동방법을 설명하면 전동모터(330) 작동에 의해 회전판이 회전하게 되면 이 회전판에 편심의 위치에서 체결된 커텍팅로드(336)가 왕복 운동을 하게되고, 이 운동이 보조대(358)에 전달되면서, 슬라이드가이드를 타고 패널(350) 왕복운동을 하게 되는 것이다.    When the rotating plate is rotated by the operation of the electric motor 330, the connecting rod 336 fastened at the eccentric position of the rotating plate reciprocates, and this movement is transmitted to the auxiliary table 358 The panel 350 is reciprocated by the slide guide.

박스(310)에 있어서 가이드슬라이드가 고정되어 있지 않은 양면의 상단부에 체결공(338)을 형성하여, 베드에 있어서 중앙의 분리된 날개부(502)의 양 단부와 박스(310)를 볼트 등으로 체결 고정하여 움직이지 않도록 한다.     A fastening hole 338 is formed at the upper end of both sides of the box 310 on which the guide slides are not fixed so that both ends of the central divided wing portion 502 and the box 310 are bolted or the like Do not move by fastening.

위와 같이 본 발명인 온열벨트가 있는 견인치료기는 치료자가 전신을 반대로 하는 꺼꾸리 운동을 하기 전에 베드(500)에 누워서 무릎과 허리, 목을 각각의 온열벨트로 충분히 따뜻하게 하여 관절부위에 혈액순환이 잘되도록 한 다음, 치료자의 건강 상태에 맞게 베드를 기울이도록 하며, 발을 머리보다 높인 상태에서 패널을 작동하여 허리를 흔들어 주면 전신이 자연스럽게 흔들리게 된다.    As described above, the traction therapy apparatus with a thermal belt according to the present invention is configured such that the therapist lie on the bed 500 before performing the lecturing operation to reverse the whole body, so that the knee, waist, and neck are sufficiently warmed by the respective thermal belts, Then, tilt the bed to fit the health condition of the therapist, and operate the panel with the feet raised above the head, shaking the waist and the whole body will naturally shake.

이는 각 관절은 물론 척추가 이완된 상태에서 흔들어 주는 것이 되므로 인대와 근육, 그리고 디스크에까지 운동 영향을 미치게 되어 변형된 체형을 바르게 하는데 도움되며, 특히 우리 몸의 전신의 근육까지 흔들어 줌으로써 피로 회복에도 많은 도움이 될 것이다 This helps to correct the deformed body shape as it affects the ligaments, muscles, and discs, as it will shake the joints as well as the spine in relaxed state. Especially, it will help to restore fatigue by shaking the whole body muscles of our body. It will help

100: 받침대 102: 지지부
103: 지지대 104: 모터
106: 회전봉 108: 회전봉지지대
110: 센스 112: 베드 받침대
114: 센스 116: 이동체
118: 지지바 120: 보조대
130: 발걸이 131: 봉
134: 슬라이드 135: 고정레버
136: 슬라이드 가이드 137: 고정레버 체결공
150: 무릎온열벨트 151: 온열부
159: 전원접속단자 160: 스위치
180: 허리온열벨트 181: 온열부
182:체결부 187: 스위치
200: 목온열벨트 201: 발열부
202: 체결부 208: 전원접속단자
209: 탄성부재 210:스위치
300: 패널작동 310: 박스
315: 슬라이드가이드 317: 슬라이드고정와샤
330: 모터 331: 회전판
332: 편심공 336:커넥팅로드
338: 박스와 날개부체결공 350: 패널
353: 패널지지판 355: 슬라이드공
359: 커넥팅로드체결공 500: 베드
502: 날개부 510: 열선
512 514 521: 전원단자접속구 513 520 522: 베드상의 벨크로 테잎
100: pedestal 102:
103: support 104: motor
106: rotation rod 108: rotation rod support
110: Sense 112: Bed base
114: sense 116: mobile object
118: support bar 120:
130: Footstool 131: Rod
134: slide 135: securing lever
136: Slide guide 137: Fixing lever fastener
150: knee warming belt 151:
159: Power connection terminal 160: Switch
180: waist warm belt 181:
182: fastening portion 187: switch
200: neck warm belt 201:
202: fastening part 208: power connection terminal
209: elastic member 210: switch
300: Panel operation 310: Box
315: Slide guide 317: Slide fixing washer
330: motor 331: spindle
332: eccentric hole 336: connecting rod
338: box and wing part fastening hole 350: panel
353: panel support plate 355: slide ball
359: connecting rod fastening ball 500: bed
502: wing portion 510: hot wire
512 514 521: Power terminal connection port 513 520 522: Velcro tape on the bed

Claims (5)

받침대(100) 일정 높이에 받침대의 지지부(102)와 힌지 결합된 지지대(103)의 날개부(502)에 의해 지지되면서 일정거리 이격된 채로 양측으로 분할되어 동일직선상 수평배치를 이루며 열선(510)이 내장된 좌우 베드부, 상기 좌우 베드에 있어서 일측 가장자리에는 발걸이(130)가 형성되며, 베드가 좌우로 분할된 공간사이에 위치하되 베드의 폭 방향으로 일정거리 왕복 운동하는 패널(350)를 갖는 작동부(300), 베드 하단의 전동모터(330) 작동에 의해 베드의 기울기를 조절할 수 있는 온열벨트가 있는 견인치료기에 있어서;

발걸이부가 있는 베드의 상면 중앙부에는 무릎온열벨트(150)가, 왕복 운동하는 패널의 상면에는 허리온열벨트(180)가, 발걸이가 있는 베드의 타측 베드 상면에는 목 온열벨트(200)가 장착 된 것을 특징으로 하는 온열벨트가 있는 견인치료기
The pedestal 100 is supported at a predetermined height by a wing portion 502 of a support 103 hinged to the support portion 102 of the pedestal, The left and right bed portions are provided with a footrest 130 at one side edge of the left and right bed and a panel 350 which is positioned between the left and right divided spaces of the bed and reciprocates a predetermined distance in the width direction of the bed And a heating belt for adjusting the inclination of the bed by the operation of the electric motor (330) at the bottom of the bed, the traction therapy device comprising:

A knee warming belt 150 is mounted on the upper part of the upper surface of the bed having the footrest part, a waist warming belt 180 is mounted on the upper surface of the reciprocating panel, and a neck warming belt 200 is mounted on the upper surface of the other bed Traction therapy with a thermal belt featuring
상면이 오픈된 박스(310) 내면 하단부에 전동모터(330)가 장착되며, 박스의 상단부에 두 줄로 형성된 슬라이드가이드를 타고 왕복운동을 할 수 있는 패널(350)과; 모터의 회전을 직선왕복운동으로 바꾸는 회전판(331)과 크넥팅로드(336)의 편심공체결, 크넥팅로드(336)의 타측 단부를 패널(350)의 저면에 부착된 보조대(358)의 하단부 체결공(359)에 체결하여, 모터의 작동으로 패널이 왕복운동을 할 수 있도록 한 패널동작부(300)가 베드(500)의 중앙부에 장착된 것을 특징으로 하는 온열벨트가 있는 견인치료기
A panel 350 on which an electric motor 330 is mounted at a lower end of an inner surface of the box 310 with an upper surface opened and a reciprocating motion can be performed on a slide guide formed in two rows at an upper end of the box; The other end of the connecting rod 336 is connected to the lower end of the auxiliary frame 358 attached to the bottom surface of the panel 350. The other end of the connecting rod 336 is connected to the eccentric hole of the rotating plate 331 and the connecting rod 336, And a panel operating part 300 which is fastened to the fastening hole 359 and is capable of reciprocating motion of the panel by the operation of the motor is mounted on the central part of the bed 500. [
청구항 1에 있어서
무릎온열벨트(150), 허리온열벨트(180), 목 온열벨트(200)를 베드(500)와 떼고 붙일 수 있도록, 무릎온열벨트, 허리온열벨트, 목 온열벨트 의 외면의 일정 부분(161 191 211 )과 베드의 상면에 벨크로테이프(513 520 522)를 형성하는 것을 특징으로 하는 온열벨트가 있는 견인치료기
Claim 1
A knee warming belt 150, a waist warming belt 180, and a neck warming belt 200 are attached to a knee warming belt, a waist warming belt, 211) and a velcro tape (513 520 522) on the top surface of the bed.
청구항 1에 있어서 왕복운동 하는 패널에 열선을 내장하는 것을 특징으로 한 온열벨트가 있는 견인치료기. The traction sheeter according to claim 1, wherein a heat ray is embedded in the reciprocating panel. 청구항 1에 있어서 발걸이를 중앙쪽이나 가장자리로 이동하여 고정할 수 있는 것을 특징으로 하는 온열벨트가 있는 견인치료기. The traction therapy machine according to claim 1, wherein the footrest can be fixed by being moved to the center or the edge.
KR1020130163398A 2013-12-25 2013-12-25 There is traction therapy apparatus in heated belt Ceased KR20150075338A (en)

Priority Applications (1)

Application Number Priority Date Filing Date Title
KR1020130163398A KR20150075338A (en) 2013-12-25 2013-12-25 There is traction therapy apparatus in heated belt

Applications Claiming Priority (1)

Application Number Priority Date Filing Date Title
KR1020130163398A KR20150075338A (en) 2013-12-25 2013-12-25 There is traction therapy apparatus in heated belt

Publications (1)

Publication Number Publication Date
KR20150075338A true KR20150075338A (en) 2015-07-03

Family

ID=53788377

Family Applications (1)

Application Number Title Priority Date Filing Date
KR1020130163398A Ceased KR20150075338A (en) 2013-12-25 2013-12-25 There is traction therapy apparatus in heated belt

Country Status (1)

Country Link
KR (1) KR20150075338A (en)

Cited By (7)

* Cited by examiner, † Cited by third party
Publication number Priority date Publication date Assignee Title
CN105748261A (en) * 2016-05-13 2016-07-13 安阳市翔宇医疗设备有限责任公司 Inclined stepping training system
CN105948195A (en) * 2016-05-04 2016-09-21 余乾 An outdoor water intake device
CN106038257A (en) * 2016-07-06 2016-10-26 广州明志福生物科技有限公司 Multi-purpose massage belt
CN106510923A (en) * 2016-10-18 2017-03-22 刘洪波 Fracture correcting device for bone surgery
CN108836781A (en) * 2018-06-27 2018-11-20 合肥米弘智能科技有限公司 A kind of medical treatment knee endoprosthesis scorching physiotherapy equipment and its rehabilitation physical therapy method automatically
CN110840643A (en) * 2019-12-16 2020-02-28 费璟昊 Many machines of well-being of synchronous application of force
CN117159930A (en) * 2023-09-13 2023-12-05 浙江大学 Constant temperature hot compress therapeutic instrument for medical care

Cited By (11)

* Cited by examiner, † Cited by third party
Publication number Priority date Publication date Assignee Title
CN105948195A (en) * 2016-05-04 2016-09-21 余乾 An outdoor water intake device
CN105748261A (en) * 2016-05-13 2016-07-13 安阳市翔宇医疗设备有限责任公司 Inclined stepping training system
CN106038257A (en) * 2016-07-06 2016-10-26 广州明志福生物科技有限公司 Multi-purpose massage belt
CN106038257B (en) * 2016-07-06 2019-03-01 广州花蕾科技有限公司 A kind of multi-purpose massage belt
CN106510923A (en) * 2016-10-18 2017-03-22 刘洪波 Fracture correcting device for bone surgery
CN108836781A (en) * 2018-06-27 2018-11-20 合肥米弘智能科技有限公司 A kind of medical treatment knee endoprosthesis scorching physiotherapy equipment and its rehabilitation physical therapy method automatically
CN110840643A (en) * 2019-12-16 2020-02-28 费璟昊 Many machines of well-being of synchronous application of force
WO2021120482A1 (en) * 2019-12-16 2021-06-24 费璟昊 Knee rehabilitation machine capable of synchronously applying force at multiple positions
US11654072B2 (en) 2019-12-16 2023-05-23 Jinghao FEI Knee rehabilitation machine with multi-position synchronous force application
CN117159930A (en) * 2023-09-13 2023-12-05 浙江大学 Constant temperature hot compress therapeutic instrument for medical care
CN117159930B (en) * 2023-09-13 2024-04-16 浙江大学 Constant temperature hot compress therapeutic instrument for medical care

Similar Documents

Publication Publication Date Title
KR20150075338A (en) There is traction therapy apparatus in heated belt
KR101561005B1 (en) Apparatus for air-press massage
KR101275228B1 (en) Medical devices for strengthening sphincter and chair including the same
KR101329233B1 (en) The stretching and exercise device
US9949885B2 (en) System and method for knee rehabilitation
KR101415105B1 (en) Machine for exercising and medical treating for whole body by bending body right and left
CN110623833A (en) Intelligent exercise massage chair
CN208910832U (en) A kind of physiotherapy bed
TW201806573A (en) Abdominal massager characterized by massaging the abdomen in a state that user's internal organs droop to one side of the abdomen when the user is in the prone position
KR20130115590A (en) Stretching equipment for fatigue recovery
US20240016694A1 (en) A massager with single rod eccentric drive mechanism to provide synchronize wave oscillation treatment
CN209678819U (en) An abdominal heating massager
KR101774732B1 (en) Fitness equipment with foot and seat function
KR101649983B1 (en) Complex beds combine massage
CN209611661U (en) Foot function trainer for bedridden patients
KR101649347B1 (en) Apparatus for adjusting exercise and prevention of disease
KR101682360B1 (en) Tip fitness equipment
CN210055351U (en) a massage mattress
KR20170036998A (en) Massage chair for easily attachment and separation of remote control
KR101595865B1 (en) Device for relaxation of neck muscle
CN215021883U (en) Full-automatic limb kneading device for cerebroma patient
KR100632993B1 (en) Stretching exercise mat
KR100380816B1 (en) A bed for sturdy-build remedy
WO2012002828A1 (en) Training garment
KR102546755B1 (en) L-type Exercise Equipment For Stretching Legs

Legal Events

Date Code Title Description
PA0109 Patent application

Patent event code: PA01091R01D

Comment text: Patent Application

Patent event date: 20131225

PG1501 Laying open of application
PA0201 Request for examination

Patent event code: PA02012R01D

Patent event date: 20181226

Comment text: Request for Examination of Application

Patent event code: PA02011R01I

Patent event date: 20131225

Comment text: Patent Application

E902 Notification of reason for refusal
PE0902 Notice of grounds for rejection

Comment text: Notification of reason for refusal

Patent event date: 20200303

Patent event code: PE09021S01D

E601 Decision to refuse application
PE0601 Decision on rejection of patent

Patent event date: 20200629

Comment text: Decision to Refuse Application

Patent event code: PE06012S01D

Patent event date: 20200303

Comment text: Notification of reason for refusal

Patent event code: PE06011S01I