KR20150070110A - 연도 가스 정화장치 - Google Patents

연도 가스 정화장치 Download PDF

Info

Publication number
KR20150070110A
KR20150070110A KR1020157007490A KR20157007490A KR20150070110A KR 20150070110 A KR20150070110 A KR 20150070110A KR 1020157007490 A KR1020157007490 A KR 1020157007490A KR 20157007490 A KR20157007490 A KR 20157007490A KR 20150070110 A KR20150070110 A KR 20150070110A
Authority
KR
South Korea
Prior art keywords
flue gas
gas duct
scrubber tower
water collecting
reservoir
Prior art date
Legal status (The legal status is an assumption and is not a legal conclusion. Google has not performed a legal analysis and makes no representation as to the accuracy of the status listed.)
Ceased
Application number
KR1020157007490A
Other languages
English (en)
Inventor
아드리 피터 펠크만
Original Assignee
두산 렌트제스 게엠베하
Priority date (The priority date is an assumption and is not a legal conclusion. Google has not performed a legal analysis and makes no representation as to the accuracy of the date listed.)
Filing date
Publication date
Application filed by 두산 렌트제스 게엠베하 filed Critical 두산 렌트제스 게엠베하
Publication of KR20150070110A publication Critical patent/KR20150070110A/ko
Ceased legal-status Critical Current

Links

Images

Classifications

    • FMECHANICAL ENGINEERING; LIGHTING; HEATING; WEAPONS; BLASTING
    • F23COMBUSTION APPARATUS; COMBUSTION PROCESSES
    • F23JREMOVAL OR TREATMENT OF COMBUSTION PRODUCTS OR COMBUSTION RESIDUES; FLUES 
    • F23J15/00Arrangements of devices for treating smoke or fumes
    • F23J15/02Arrangements of devices for treating smoke or fumes of purifiers, e.g. for removing noxious material
    • F23J15/04Arrangements of devices for treating smoke or fumes of purifiers, e.g. for removing noxious material using washing fluids
    • BPERFORMING OPERATIONS; TRANSPORTING
    • B01PHYSICAL OR CHEMICAL PROCESSES OR APPARATUS IN GENERAL
    • B01DSEPARATION
    • B01D53/00Separation of gases or vapours; Recovering vapours of volatile solvents from gases; Chemical or biological purification of waste gases, e.g. engine exhaust gases, smoke, fumes, flue gases, aerosols
    • B01D53/14Separation of gases or vapours; Recovering vapours of volatile solvents from gases; Chemical or biological purification of waste gases, e.g. engine exhaust gases, smoke, fumes, flue gases, aerosols by absorption
    • B01D53/1418Recovery of products
    • BPERFORMING OPERATIONS; TRANSPORTING
    • B01PHYSICAL OR CHEMICAL PROCESSES OR APPARATUS IN GENERAL
    • B01DSEPARATION
    • B01D53/00Separation of gases or vapours; Recovering vapours of volatile solvents from gases; Chemical or biological purification of waste gases, e.g. engine exhaust gases, smoke, fumes, flue gases, aerosols
    • B01D53/14Separation of gases or vapours; Recovering vapours of volatile solvents from gases; Chemical or biological purification of waste gases, e.g. engine exhaust gases, smoke, fumes, flue gases, aerosols by absorption
    • B01D53/1456Removing acid components
    • B01D53/1475Removing carbon dioxide
    • BPERFORMING OPERATIONS; TRANSPORTING
    • B01PHYSICAL OR CHEMICAL PROCESSES OR APPARATUS IN GENERAL
    • B01DSEPARATION
    • B01D53/00Separation of gases or vapours; Recovering vapours of volatile solvents from gases; Chemical or biological purification of waste gases, e.g. engine exhaust gases, smoke, fumes, flue gases, aerosols
    • B01D53/14Separation of gases or vapours; Recovering vapours of volatile solvents from gases; Chemical or biological purification of waste gases, e.g. engine exhaust gases, smoke, fumes, flue gases, aerosols by absorption
    • B01D53/1456Removing acid components
    • B01D53/1481Removing sulfur dioxide or sulfur trioxide
    • BPERFORMING OPERATIONS; TRANSPORTING
    • B01PHYSICAL OR CHEMICAL PROCESSES OR APPARATUS IN GENERAL
    • B01DSEPARATION
    • B01D53/00Separation of gases or vapours; Recovering vapours of volatile solvents from gases; Chemical or biological purification of waste gases, e.g. engine exhaust gases, smoke, fumes, flue gases, aerosols
    • B01D53/14Separation of gases or vapours; Recovering vapours of volatile solvents from gases; Chemical or biological purification of waste gases, e.g. engine exhaust gases, smoke, fumes, flue gases, aerosols by absorption
    • B01D53/1493Selection of liquid materials for use as absorbents
    • BPERFORMING OPERATIONS; TRANSPORTING
    • B01PHYSICAL OR CHEMICAL PROCESSES OR APPARATUS IN GENERAL
    • B01DSEPARATION
    • B01D53/00Separation of gases or vapours; Recovering vapours of volatile solvents from gases; Chemical or biological purification of waste gases, e.g. engine exhaust gases, smoke, fumes, flue gases, aerosols
    • B01D53/14Separation of gases or vapours; Recovering vapours of volatile solvents from gases; Chemical or biological purification of waste gases, e.g. engine exhaust gases, smoke, fumes, flue gases, aerosols by absorption
    • B01D53/18Absorbing units; Liquid distributors therefor
    • BPERFORMING OPERATIONS; TRANSPORTING
    • B01PHYSICAL OR CHEMICAL PROCESSES OR APPARATUS IN GENERAL
    • B01DSEPARATION
    • B01D53/00Separation of gases or vapours; Recovering vapours of volatile solvents from gases; Chemical or biological purification of waste gases, e.g. engine exhaust gases, smoke, fumes, flue gases, aerosols
    • B01D53/34Chemical or biological purification of waste gases
    • B01D53/74General processes for purification of waste gases; Apparatus or devices specially adapted therefor
    • B01D53/77Liquid phase processes
    • B01D53/78Liquid phase processes with gas-liquid contact
    • BPERFORMING OPERATIONS; TRANSPORTING
    • B01PHYSICAL OR CHEMICAL PROCESSES OR APPARATUS IN GENERAL
    • B01DSEPARATION
    • B01D2252/00Absorbents, i.e. solvents and liquid materials for gas absorption
    • B01D2252/10Inorganic absorbents
    • B01D2252/103Water
    • B01D2252/1035Sea water
    • BPERFORMING OPERATIONS; TRANSPORTING
    • B01PHYSICAL OR CHEMICAL PROCESSES OR APPARATUS IN GENERAL
    • B01DSEPARATION
    • B01D2257/00Components to be removed
    • B01D2257/30Sulfur compounds
    • B01D2257/302Sulfur oxides
    • BPERFORMING OPERATIONS; TRANSPORTING
    • B01PHYSICAL OR CHEMICAL PROCESSES OR APPARATUS IN GENERAL
    • B01DSEPARATION
    • B01D2257/00Components to be removed
    • B01D2257/50Carbon oxides
    • B01D2257/504Carbon dioxide
    • BPERFORMING OPERATIONS; TRANSPORTING
    • B01PHYSICAL OR CHEMICAL PROCESSES OR APPARATUS IN GENERAL
    • B01DSEPARATION
    • B01D2258/00Sources of waste gases
    • B01D2258/02Other waste gases
    • B01D2258/0283Flue gases
    • FMECHANICAL ENGINEERING; LIGHTING; HEATING; WEAPONS; BLASTING
    • F23COMBUSTION APPARATUS; COMBUSTION PROCESSES
    • F23JREMOVAL OR TREATMENT OF COMBUSTION PRODUCTS OR COMBUSTION RESIDUES; FLUES 
    • F23J2215/00Preventing emissions
    • F23J2215/20Sulfur; Compounds thereof
    • FMECHANICAL ENGINEERING; LIGHTING; HEATING; WEAPONS; BLASTING
    • F23COMBUSTION APPARATUS; COMBUSTION PROCESSES
    • F23JREMOVAL OR TREATMENT OF COMBUSTION PRODUCTS OR COMBUSTION RESIDUES; FLUES 
    • F23J2215/00Preventing emissions
    • F23J2215/50Carbon dioxide
    • FMECHANICAL ENGINEERING; LIGHTING; HEATING; WEAPONS; BLASTING
    • F23COMBUSTION APPARATUS; COMBUSTION PROCESSES
    • F23JREMOVAL OR TREATMENT OF COMBUSTION PRODUCTS OR COMBUSTION RESIDUES; FLUES 
    • F23J2219/00Treatment devices
    • F23J2219/40Sorption with wet devices, e.g. scrubbers
    • FMECHANICAL ENGINEERING; LIGHTING; HEATING; WEAPONS; BLASTING
    • F23COMBUSTION APPARATUS; COMBUSTION PROCESSES
    • F23JREMOVAL OR TREATMENT OF COMBUSTION PRODUCTS OR COMBUSTION RESIDUES; FLUES 
    • F23J2900/00Special arrangements for conducting or purifying combustion fumes; Treatment of fumes or ashes
    • F23J2900/15041Means for absorbing SOx using seawater
    • YGENERAL TAGGING OF NEW TECHNOLOGICAL DEVELOPMENTS; GENERAL TAGGING OF CROSS-SECTIONAL TECHNOLOGIES SPANNING OVER SEVERAL SECTIONS OF THE IPC; TECHNICAL SUBJECTS COVERED BY FORMER USPC CROSS-REFERENCE ART COLLECTIONS [XRACs] AND DIGESTS
    • Y02TECHNOLOGIES OR APPLICATIONS FOR MITIGATION OR ADAPTATION AGAINST CLIMATE CHANGE
    • Y02EREDUCTION OF GREENHOUSE GAS [GHG] EMISSIONS, RELATED TO ENERGY GENERATION, TRANSMISSION OR DISTRIBUTION
    • Y02E20/00Combustion technologies with mitigation potential
    • Y02E20/32Direct CO2 mitigation

Landscapes

  • Chemical & Material Sciences (AREA)
  • Engineering & Computer Science (AREA)
  • Analytical Chemistry (AREA)
  • General Chemical & Material Sciences (AREA)
  • Oil, Petroleum & Natural Gas (AREA)
  • Chemical Kinetics & Catalysis (AREA)
  • Mechanical Engineering (AREA)
  • General Engineering & Computer Science (AREA)
  • Environmental & Geological Engineering (AREA)
  • Health & Medical Sciences (AREA)
  • Biomedical Technology (AREA)
  • Treating Waste Gases (AREA)
  • Gas Separation By Absorption (AREA)

Abstract

본 발명은 스크러빙 타워, 세정탑 또는 흡수탑으로도 불리는 스크러버 타워를 갖춘 연도 가스 정화장치에 관한 것이다.

Description

연도 가스 정화장치 {A FLUE GAS PURIFICATION DEVICE}
본 발명은 스크러빙 타워, 세정탑 또는 흡수탑으로도 불리는 스크러버 타워를 갖춘 연도 가스 정화장치에 관한 것이다.
본 발명은 특히 가스 정화장치 및 연도 가스에서 불요 성분을 흡수하는 액체로 해수를 사용하는, 이에 상응하는 스크러버 타워에 관한 것이다. 이것이 상기 액체(유체)가 흡수제로도 불리는 이유이다.
미국 특허출원 US 6759019호 또는 독일 특허출원공개공보 DE 19527836 A1호에 기재되어 있는 가스 정화 장치는,
- 연도 가스를 스크러버 타워의 하부로 공급하기 위한 적어도 하나의 연도 가스 덕트(파이프),
- 유체 흡수제를 스크러버 타워의 상부로 공급하기 위한 적어도 하나의 유체 흡수제 라인,
- 스크러버 타워의 하부 및/또는 상부 내의 상기 연도 가스 및 상기 유체 흡수제를 위한 적어도 하나의 접촉 공간,
- 상기 스크러버 타워의 상부로부터 연장하는 연도 가스 배출구,
- 상기 접촉 공간과 유체 연통하게 접촉 공간의 아래에 배치되며, 기사용 유체 흡수제를 위한 집수 저장소,
를 포함한다.
이러한 측면에서, 전형적인 연도 가스 정화장치의 크기는 다음과 같다.
- 스크러빙 타워의 높이: 20 내지 30m
- 스크러빙 타워의 내경: 10 내지 20m
- 연도 가스 덕트의 내부 단면: 5×10m
- 스크러빙 타워를 통과하는 연도 가스 유량: 1,000,000 내지 3,000,000㎥/h
- 스크러빙 타워를 통과하는 액체(흡수제) 유량: 15,000 내지 60,000㎥/h.
국제특허공개공보 WO 2009/014016 A1호 및 다른 일반적인 장치에 따르면, 발전소에서 나오는 연도 가스는 연도 가스 덕트를 통해 스크러빙 타워의 하부로 취입된다. 연도 가스는 스크러버 타워에 실질적으로 수평방향으로 유동하여 취입된다. 이러한 장치를 건조하기 위해서는, 이러한 유형의 연도 가스 정화장치는 스크러빙 타워의 최하단부와 연도 가스 덕트의 최하단부 사이에, 통상적으로 최소 1 내지 2m의 거리가 있어야 한다.
이러한 사항으로부터, 그러한 장치에서 상당한 양의 가스와 액체를 처리하기 위해서는 그에 상응하는 건설비용과 에너지 비용이 필요하다는 것은 자명한 것이다.
본 발명의 목적은 구조가 덜 복잡하고 및/또는 가스를 정화하는 데에 에너지를 덜 소모하는 전술한 유형의 가스 정화 장치를 제공하는 것이다.
본 발명은 다음의 관점을 기초로 한다. 필요로 하는 에너지는 주로 양정(pumping head)(독일어로 Foerderhoele), 즉 액체 흡수제를 스크러버 타워에서 접촉(반응) 영역의 상부로 운송하는 데에 필요한 양정에 의한 영향을 받는다.
(연도 가스와 액체 흡수체를 접촉시키기 위한 공간의 높이를 줄이지 않으면서) 스크러빙 타워의 전고를 낮추면, 필요로 하는 에너지를 줄일 수 있으며 해당 펌프의 수명을 늘일 수 있다.
유체 흡수제가 도입되는 레벨 상류부까지 높이를 줄이는 것은 실현될 수 없지만, 연도 가스 덕트가 연결되는 스트러버 타워의 벽 개구부의 최하단부 레벨과 집수 저장소(섬프) 내의 액체의 수면 사이는 장치 내에서 가스를 처리하는 효율 측면에서 어느 정도 데드 스폿이라는 것을 알 수 있었다.
따라서, 새롭게 개발된 장치와 종래의 장치를 비교해 보면, 무엇보다도 스크러버 타워에 대한 연도 가스 덕트의 상대적 배치가 다르다.
연도 가스 덕트는 해당 연도 가스 덕트로부터 배출(방출)되는 연도 가스가 먼저 종래 기술에 따라 실질적으로 수평방향으로 흐르기 보다는 실질적으로 수직방향(하향)으로 흐르도록 배치되어 있다. 이는 -종래 기술에 따른 장치와 달리- 연도 가스 덕트의 최하단 영역을 빠져나가는 연도 가스가 스크러버 타워에 직접 들어가지 않고 그 대신 1차적으로 스크러버 타워와 실질적으로 평행하게 흘러 스크러버 타워에 근접한다는 것을 의미한다.
연도 가스가 손실되지 않으면서 스크러버 타워 내로 전향되도록 하기 위해, 본 발명은 집수 저장소에 대해 다른 디자인을 추가로 제공한다.
신규한 저장소는 그 저장소 위에 배치되어 수평방향으로 접촉 공간을 지나 연장하는 연장부가 있다는 점에서 종래 기술에 따른 장치와 구별된다. 다시 말하면, 기사용 유체 흡수체용 집수 저장소(일부 실시예에서는 섬프라고도 불림)가 스크러버 타워와 높이가 어느 정도 동일하거나 그 아래에 배치되는 것이 일반적인 것임에 비해, 본 발명에 따라 수정된 집수 저장소는 더 크고, 적어도 연도 가스 덕트에 대해 가상적으로 수직 하향 연장부로 획정되는 인접을 커버한다.
이러한 수단들에 의해, 연도 가스 덕트의 하단부에서 빠져나오는 연도 가스를 1차적으로 집수 저장소의 연장부 내의 액체 표면 위로 지향될 수 있게 된다. 그런 다음, 연도 가스는 실질적으로 수평 방향으로 어느 정도 흐르다가 집수 저?소의 수면 또는 수면 위에서 접촉하고, 마지막으로 유체 흡수제와 접촉하게 되는 스크러버 타워의 접촉 공간 내로 전향한다. 위쪽으로 좀 더 진행하면서 연도 가스가 배출구를 통해 스크러버 타워를 빠져나가게 된다.
이는 연도 가스가 연도 가스 덕트의 배출구를 향하는 중에 연도 가스 덕트 내에서 연도 가스의 유동 방향이 실질적으로 수직방향일 수 있으며, 연도 가스 덕트의 적어도 하단부에서 곡선부 또는 엘보부가 방지될 수 있다는 것을 의미한다. 종래 기술에 따른 엘보형 단부-영역의 바닥 내부 표면은 이들 부품이 고온의 연도 가스뿐만 아니라 저온의 액체 흡수제 스프레이로부터 열적 어택을 받기 때문에, 스테인리스강과 같은 비부식성 소재 및 고품질 소재로 제작될 필요가 있게 된다. 수정된 디자인은 이러한 영역을 사용할 필요가 없게 되어 비용이 저렴하게 된다.
아마도 수정된 디자인의 가장 중요한 잇점은 스크러버 타워의 전고가 감소됨에 따라 낮아지고 연도 가스 덕트의 배출구를 재설계함에 따라 양정이 감소되어 에너지와 에너지 비용을 절감하게 된다는 것이다. 일반적인 적용분야에서, 양정이 약 20% 즉 10m에서 8m로 감소될 수 있다.
집수 저장소를 확장하는 것은 비용 인자와 관련이 없는데, 이는 운용 에너지 비용보다는 1회성 투자이며, 저장소/섬프는 통상 비교적 저렴한 소재인 콘크리트로 제작되기 때문이다.
가장 일반적인 실시형태에서, 본 발명은 다음의 특징들을 포함하는 연도 가스 정화 장치에 관한 것이다.
· 스크러버 타워,
· 연도 가스를 상기 스크러버 타워의 하부로 공급하기 위한 적어도 하나의 연도 가스 덕트,
· 유체 흡수제를 상기 스크러버 타워의 상부로 공급하기 위한 적어도 하나의 유체 흡수제 라인,
· 상기 스크러버 타워의 상기 하부 및/또는 상부 내의 상기 연도 가스 및 상기 유체 흡수제를 위한 적어도 하나의 접촉 공간,
· 상기 스크러버 타워의 상부로부터 연장하는 연도 가스 배출구,
· 상기 접촉 공간과 유체 연통하며 접촉 공간의 아래에 배치되며, 기사용 유체 흡수제를 위한 집수 저장소,
· 상기 집수 저장소는, 접촉 공간을 지나 수평방향으로 연장하는 연장부를 제공하고,
· 상기 연도 가스 덕트는, 상기 연도 가스 덕트에서 배출되는 연도 가스가 스크러버 타워 내의 상기 접촉 공간으로 전향되어 들어가기 전에 상기 집수 저장소의 연장부를 향해 하향으로 지향되도록 배치된다.
예컨대 해수-기반의 흡수제와 같은 유체 흡수제로 연도 가스를 정화하는 일반적인 방법을 변형하지 않으면서도, 장치의 구성 특히 연도 가스 덕트와 그 연도 가스 덕트를 스크러빙 타워에 유체적으로 연결하는 구성을 달리하여 스크러빙 타워 내에서 연도 가스가 연도 가스 덕트로부터 접촉 공간 내로 흐르는 경로를 다르게 한다.
종래의 장치에서 연도 가스는 수평방향으로 공급되어 연도 가스 덕트로부터 직접적으로 스크러버 타워 내로 공급되는 반면, 본 발명의 신규 장치는, 어느 정도 수직방향으로(하향으로) 연도 가스 덕트를 빠져나온 연도 가스가 스크러버 타워로 들어가기 전에 집수 저장소(저장소/섬프 내 액체의 표면 위)를 통과하도록 연도 가스 통로를 약간 변경하였다.
이와 관련하여, 연도 가스 덕트(12)의 최하단부가 집수 저장소(20)의 관련 연장부(20e) 바로 위에 설치될 수 있으며, 이에 따라 연도 가스 덕트(12)의 모든 배출 개구의 최하단 위치가 장치 내에 획정되게 된다.
스크러버 타워를 관통하는 경로를 따라, 연도 가스가 상기 유체 흡수제와 대향류 형태로 접촉하게 된다. 이에 따라, 흡수제는 연도 가스 인입구 예컨대 스크러버 타워의 중앙부 또는 상부 위에서 스크러버 타워 내로 도입되며, 스크러빙 타워 내로 들어가는 연도 가스 입구와 흡수제 인입구 사이 영역이 상기 액체와 상기 연도 가스의 접촉 영역으로 획정된다.
일 실시형태에 따르면, 흡수 영역을 따라 노즐들이 배치되며, 노즐들에 의해 유체 흡수제가 미세한 입자들(액적)로 흡수 영역(접촉 공간) 내로 분무되어 바람직하기로는 정화될 연도 가스와 큰 반응 표면을 제공하게 된다.
스크러빙 유체로도 불리는 흡수제, 일예로 해수는 연도 가스에서 황산화물 및 CO2 같은 다양한 성분들/불순물들을 흡수하거나 및/또는 이들과 화학적으로 반응할 수 있다.
이하에서, "신선한 액체 또는 신선한 흡수제"란 용어는 스크러버 타워 내로 도입되는 유체 흡수제(pH 값이 약 7.5 내지 8.5)에 대해 사용되며, "기사용 액체 또는 기사용 흡수제"란 용어는 연도 가스와 접촉한 후의 유체(pH 값이 약 3 내지 4로 떨어짐)를 지칭한다. 이하에서, 위와 같은 액체로 해수를 사용하는 것을 참조하고 있지만, 이는 단지 적절한 액체의 일 실시예에 불과한 것임을 이해해야 한다.
일 실시형태에 따르면, 연도 가스 덕트는 집수 저장소까지 하향 연장한다. 즉, 어떠한 중간 구조물/설비도 사용하지 않으므로, 장치의 전고(overall height)가 줄어들 수 있게 된다.
연도 가스 덕트의 주요부는 스크러버 타워와 나란히 실질적으로 수직 방향으로 연장할 수 있다. 장치를 컴팩트하게 하고, 덕트 길이를 소망하는 바대로 짧게 한다는 측면에서 이러한 디자인이 유리하다.
전술한 실시형태의 범위에서 선택할 수 있는 하나의 대안 예는, 용이하게 접근할 수 있도록 하기 위해, 연도 가스 덕트의 주요부를 스크러버 타워와 이격시켜 나란하게 배치하는 것이다.
이러한 디자인은 3개의 장측부(long side)와, 상기 접촉 공간에 인접하며 연도 가스 덕트의 하단부에서 단축되어 있는 하나의 측부(4번째 측부)를 구비하는 직사각형 단면을 구비하는 연도 가스 덕트를 갖춘 장치에 의해 실현될 수 있다.
이러한 디자인은 연도 가스가 스크러빙 타워 내에서 상향으로 이동하기 전에 다음과 같은 유동 패턴으로 유동하도록 한다. 연도 가스는 수직 하향 유동하여 연도 가스 덕트를 빠져나가 집수 저장소(탱크) 내에서 액체 표면과 충돌하고, 실질적으로 연도 가스 덕트와 스크러버 타워 벽 사이의 거리에 상당하는 어느 정도의 거리를 상기 액체 표면을 따라 수평방향으로 더 유동하며, 스크러빙 타워 아래에서 집수 저장소의 부분을 향해 유동한다.
3개의 장측부가 집수 저장소의 상부 외각 림 위에 장착되거나, 일반적으로 연도 가스 덕트의 최하단부가 집수 저장소의 상부 림에 최대한 근접하면, 스크러빙 타워의 전고가 최대로 낮아질 수 있기 때문에, 가장 효율적으로 된다.
연도 가스 덕트는 금속으로 제작되는 것이 가장 좋은 반면, 집수 저장소는 더 저렴한 소재인 콘크리트로 제작될 수 있다.
집수 저장소는 종래 기술에 따라 소위 섬프(sump)와 유사한 별개의 집수장치(discrete basin)로 설계될 수 있다. 이러한 집수장치는 배출을 목적으로 하는 배출구를 갖추고 있다.
선호되는 대안예는 집수 저장소를 관통 채널(flow-through channel)의 일부로 설계하는 것이다. 유동이 채널을 관통함에 따라 신선한 해수 흡수제가 장치로 운송되어 섬프-영역(집수 저장소)을 통과할 수 있으며, 이어서 바다로 다시 돌아가게 될 수 있는데, 이는 다음과 같은 잇점을 갖고 있다.
- 가스 정화 장치 앞에 있는 장소에서 채널로부터 신선한 해수를 취할 수 있으며, 그 해수를 상기 유체 흡수제 라인을 통해 스크러버 타워 내의 접촉 공간으로 운송할 수 있다.
- 신선한 해수가 집수 저장소로 들어와서 기사용 흡수제 액체와 혼합되어 장치의 상기 부분에서 전반적인 pH를 증가시킨다.
- 하나의 채널이 모든 해수 기능을 수행한다.
다른 기술도 가능하지만, 일 실시형태는 유체 흡수제 라인이 접촉 공간 내 또는 접촉 공간 위에 하나 또는 그 이상의 레벨로 배치되어 있는 스프레이 노즐로 이어지는 구성을 제공한다.
흡수제를 살포하기 위한 스프레이 노즐 또는 다른 수단이, 장치 내에서 하나 또는 그 이상의 사전-정화 영역(들)을 제공하는 연도 가스 덕트의 수직부에(또는 연도 가스 덕트와 스크러버 타워 사이의 거리를 따라) 설치될 수도 있다. 신규한 디자인에 따르면, 액적들이 더 이상 연도 가스 덕트의 안쪽 표면의 바닥 위로 떨어지지 않고, 집수 저장소 또는 집수 저장소의 연장부 내로 직접 떨어지기 때문에, 이러한 디자인이 가능하다.
하나의 추가의 실시형태는 연도 가스 덕트의 배출구와 집수 저장소의 액체 표면 또는 집수 저장소의 연장부의 인접부 사이에 아무런 설비/고정물/벽들을 구비하지 않는 장치에 관한 것이다.
본 발명에 따른 연도 가스 정화장치는, 집수 저장소가 적어도 스크러버 타워의 수평 단면과 연도 가스 덕트의 수평 단면을 더한 단면에 대응하는 수평 단면을 지나 연장하는 실시형태를 포함하며, 이는 첨부된 도면에 추가로 기재되어 있다.
도면은 스크러버 타워와 연도 가스 덕트가 상기 집수 저장소로부터 수직방향을 연장하는 실시형태를 추가로 설명한다.
집수 저장소는 상기 유체 흡수제용 폭기 수단을 포함할 수 있으며, 및/또는 폭기 수단은 후속 처리 영역 내에 배치될 수도 있다.
본 발명의 추가의 특징들이 추가로 기재되는 문헌과 종속 청구항으로부터 도출될 수 있다. 통상의 기술자들은 이들을 적당하게 임의로 조합할 수 있으며, 이를 배제하지 않는다.
이하에서, 첨부된 개략적인 도면들을 참조하여 일 실시예로 본 발명을 상세하게 설명한다.
도 1은 연도 가스 정화장치의 제1 실시형태를 개략적으로 나타내는 도면이다.
도 2는 연도 가스 정화장치의 제1 실시형태를 개략적으로 나타내는 도면이다.
도 3은 연도 가스 정화장치의 제3 실시형태를 개략적으로 나타내는 도면이다.
도 4는 연도 가스 정화장치의 제4 실시형태를 개략적으로 나타내는 도면이다.
본 명세서에서, 동일하거나 유사한 기능을 수행하는 구성 요소들에 대해서는 동일한 도면부호로 표기하였다.
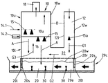
도 1에 따르는 가스 정화 유닛은 다음의 특징들을 포함한다.
- 스크러버 타워(10),
- 연도 가스를 상기 스크러버 타워(10)의 하부(10l)로 공급하기 위한, 사각형 단면인 적어도 하나의 연도 가스 덕트(12),
- 해수 흡수제를 서로 다른 레벨에 있는 노즐(15)을 통해 상기 스크러버 타워(10)의 상부(10u)로 공급하기 위한 두개의 유체 흡수제 라인(14.1, 14.2), 여기서 해수 흡수제의 유동 방향은 화살표 A로 나타냄,
- 상기 스크러버 타워(10)의 하부(10l) 및 상부(10u) 내에서 상기 연도 가스와 상기 유체 흡수제가 접촉하는 접촉 공간(16),
- 상기 스크러버 타워(10)의 상부(10u)로부터 연장하는 연도 가스 배출구(18),
- 상기 접촉 공간(16)과 유체 연통하며 접촉 공간의 아래에 배치되며, 기사용 유체 흡수제(연도 가스와 대향류로 접촉한 후)를 위한 집수 저장소(20),
- 상기 집수 저장소(20)는, 접촉 공간(16)을 지나 수평방향으로 연장하는 연장부(20e)를 제공하고(도 1에서 우측으로), 연장부는 상기 접촉 공간(16)을 지나 연장하며, 상기 접촉 공간(16)은 스크러버 타워(10)의 외각벽(10w)(가상의 하향 연장부)에 의해 우측 단부에서 제한됨,
- 상기 연도 가스 덕트(12)는, 상기 연도 가스 덕트(12)에서 배출되는 연도 가스가 스크러버 타워(10) 내의 상기 집수 저장소(20) 내에서 좌측으로 그리고 해수 표면(20w)을 따라 전향되어(화살표 G2) 들어가기 전에 상기 집수 저장소(20)의 연장부(20e)를 향해 하향으로 지향(화살표 G1)되며, 전향된 후 상향으로 다시 전향되어 상기 스크러버 타워(10) 내의 상기 접촉 공간(16)으로 들어가도록(화살표 G3) 설계 배치되며,
- 연도 가스 덕트(12)의 주요부는 일정 거리(D) 이격되어 스크러버 타워(10)의 외각벽(10w)과 실질적으로 평행하게 집수 저장소(20) 및 그 연장부(20e) 레벨까지 하향 연장하며,
- 연도 가스 덕트(12)는 연도 가스 덕트의 4개의 벽들(12w) 중 3개의 벽에 의해 상기 집수 저장소(20)(콘크리트로 제작) 좀 더 정확하게는 상기 집수 저장소(20)의 연장부(20e)의 상부 림(20r) 위에 장착되며, 4번째 벽(도 1에서 좌측벽(12l))은 짧고 상기 림(20r)으로부터 일정 거리 이격되어 종결되어 연도 가스 덕트(12)와 스크러버 타워(10) 사이에 통로(22)를 제공하며, 상기 통로(22)는 집수 저장소(20) 내에 존재하는 흡수제의 액체 표면(20w)에 의해 추가로 획정된다.
이들 수단에 의해 연도 가스 정화 장치는 전술한 바와 같이 종래의 장치에 비해 유체 흡수제를 도입하기 위한 레벨을 약 2m 줄일 수 있는 것으로 규정되며, 연도 가스 덕트가 상기 집수 저장소의 상단부로부터 약 2m 떨어져서 스크러버 타워로 직접 들어가는 것을 특징으로 한다.
이렇게 함으로써, 본 발명은 접촉 공간(16)에 어떠한 수정을 가하지 않으면서도, 스크러빙 타워 전체의 높이를 2m 짧게 할 수 있게 된다.
도 1로부터 알 수 있는 바와 같이, 연도 가스 덕트(12)의 배출구는, 연도 가스가 유동하는 사이에 아무런 설비를 설치하지 않고서 액체 표면(20w)까지 하향 진행하도록 설계되어 있다. 따라서, 연도 가스 덕트(12) 내에 노즐들을 추가로 설치(도면부호 15a로 지시) 및/또는 상기 덕트(12) 및/또는 통로(22)를 따라 추가의 액체 흡수제가 상기 연도 가스 스트림으로 도입되더라도, 모든 액적들이 집수 저장소(들)(20, 20e) 내로 직접 낙하하기 때문에, 연도 가스 덕트(12)의 하단부에 스테인리스 강이나 다른 비-부식성 재료를 사용하지 않아도 된다.
도 1에 따르면, 집수 저장소(20)는 그 집수 저장소의 좌측벽 하단부에 배출구(미도시)가 설치되어 있는 별개의 저장장치이다.
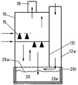
도 4의 실시형태는 집수 저장소(20)가 러닝 채널(20c)의 일부로 설계되어 있다는 점 외에는, 도 1의 실시형태와 유사하다. 신선한 해수가 상기 채널(20c)을 따라 우측에서부터 연장부(20e)와 메인 집수 저장소(20)를 통과하여 좌측으로 운송된다.
해수가 상기 채널(20c)을 따라 흐를 수 있도록, 저장소(20, 20e)의 해당 벽부의 하단부(20l)에는 대응하는 통로가 제공되도록 설계되어 있다. 도시되어 있는 실시형태에서, 벽부(20s)는 서로 일정 거리 이격되어 배치되어 있는, 수직 칼럼으로 구성되어 있다.
기사용 해수 흡수제는 접촉 공간(20)을 떠난 후에 (중력에 의해) 채널(20c)(저장소(20)) 내로 낙하하며, 추가의 노즐(15a)이 설치되어 있는 경우, 연도 가스 덕트(12) 및/또는 통로(22)에 대해서도 동일한 사항이 적용된다.
기사용 되어 집수 저장소 내에 수집된 액체 흡수제를 상기 채널(20c)을 통해 배출하기 전에 폭기하기 위해, 폭기장치로 설계되는 폭기 수단(30)이 집수 저장소(30) 내에 설치되어 있다(도 4의 좌측).
도 2의 실시형태는, 연도 가스 덕트(12)와 스크러버 타워(10) 사이에 간격이 없고, 연도 가스 덕트(12)의 4개의 측부 모두가 집수 저장소(20, 20e)의 림(20r) 레벨까지 연속되어 있다는 점에서, 도 1의 실시형태와 다르다. 도 2의 실시형태에서, 연도 가스는 연도 가스 덕트(12)로부터 저장소(20)의 연장부(20e)(액체 레벨(20w)과 림(20r)의 레벨) 사이의 공간)를 경유하여 스크러빙 타워(10)로 진행할 때에 U-턴 하게 된다.
도 3의 실시형태는, 연도 가스 덕트(12)의 좌측 벽(12l)이 짧아서(도 1의 실시형태와 유사함) 연도 가스가 연도 가스 덕트(12)의 최하단부의 배출구에서 인접 스크러빙 타워(10)로 흐르는 공간이 더 넓어지고, 집수 저장소(20)의 연장부(20e)를 따라 벗어나 있다는 점에서, 도 2의 실시형태와 약간 다르다.

Claims (15)

  1. 연도 가스 정화장치로,
    a) 스크러버 타워(10),
    b) 연도 가스를 상기 스크러버 타워(10)의 하부(10l)로 공급하기 위한 적어도 하나의 연도 가스 덕트(12),
    c) 유체 흡수제를 상기 스크러버 타워(10)의 상부(10u)로 공급하기 위한 적어도 하나의 유체 흡수제 라인(14.1, 14.2),
    d) 상기 스크러버 타워(10)의 하부(10l) 및/또는 상부(10u) 내의 상기 연도 가스 및 상기 유체 흡수제를 위한 적어도 하나의 접촉 공간(16),
    e) 상기 스크러버 타워(10)의 상부(10u)로부터 연장하는 연도 가스 배출구(18),
    f) 상기 접촉 공간(16)과 유체 연통하며 접촉 공간의 아래에 배치되며, 기사용 유체 흡수제를 위한 집수 저장소(20),
    g) 상기 집수 저장소(20)는, 접촉 공간(16)을 지나 수평방향으로 연장하는 연장부(20e)를 제공하고,
    h) 상기 연도 가스 덕트(12)는, 상기 연도 가스 덕트(12)에서 배출되는 연도 가스가 스크러버 타워(10) 내의 상기 접촉 공간(16)으로 전향되어 들어가기 전에 상기 집수 저장소(20)의 연장부(20e)를 향해 하향으로 지향되도록 배치되는,
    특징들을 포함하는 연도 가스 정화장치.
  2. 제1항에 있어서,
    상기 연도 가스 덕트(12)는 집수 저장소(20)까지 하향 연장하는 것을 특징으로 하는 연도 가스 정화장치.
  3. 제1항에 있어서,
    상기 연도 가스 덕트(12)의 주요부는 스크러버 타워(10)와 나란하게 실질적으로 수직 방향으로 연장하는 것을 특징으로 하는 연도 가스 정화장치.
  4. 제1항에 있어서,
    상기 연도 가스 덕트(12)의 주요부는 상기 스크러버 타워(10)와 이격되어 나란하게 연장하는 것을 특징으로 하는 연도 가스 정화장치.
  5. 제1항에 있어서,
    상기 연도 가스 덕트(12)는 3개의 장측부(12w)와, 상기 접촉 공간(16)에 인접하며 연도 가스 덕트(12)의 하단부에서 단축되어 있는 하나의 측부(12l)를 구비하며, 직사각형 단면을 구비하는 것을 특징으로 하는 연도 가스 정화장치.
  6. 제5항에 있어서,
    상기 3개의 장측부(12w)는 집수 저장소(20)의 상부 외각 림(20r) 상에 장착되어 있는 것을 특징으로 하는 연도 가스 정화장치.
  7. 제1항에 있어서,
    상기 연도 가스 덕트(12)는 금속으로 제작되는 것을 특징으로 하는 연도 가스 정화장치.
  8. 제1항에 있어서,
    상기 집수 저장소(20)는 콘크리트로 제작되는 것을 특징으로 하는 연도 가스 정화장치.
  9. 제1항에 있어서,
    상기 집수 저장소(20)는 개별의 집수장치로 설계되는 것을 특징으로 하는 연도 가스 정화장치.
  10. 제1항에 있어서,
    상기 집수 저장소(20)는 관통 채널(20c)의 일부로 설계되는 것을 특징으로 하는 연도 가스 정화장치.
  11. 제1항에 있어서,
    상기 유체 흡수 라인(14.1, 14.2)은 분사 노즐(15)로 이어지는 것을 특징으로 하는 연도 가스 정화장치.
  12. 제1항에 있어서,
    상기 연도 가스 덕트(12) 내에서 유체 흡수제를 살포하는 수단(15a)을 포함하는 것을 특징으로 하는 연도 가스 정화장치.
  13. 제1항에 있어서,
    상기 집수 저장소(20)는, 적어도 스크러버 타워(10)의 수평 단면과 연도 가스 덕트(12)의 수평 단면을 더한 단면에 대응하는 수평 단면을 지나 연장하는 것을 특징으로 하는 연도 가스 정화장치.
  14. 제1항에 있어서,
    스크러버 타워(10)와 연도 가스 덕트(12)는 상기 집수 저장소로부터 수직방향으로 연장하는 것을 특징으로 하는 연도 가스 정화장치.
  15. 제1항에 있어서,
    집수 저장소(20)는 상기 유체 흡수제용 폭기 수단(30)을 포함하는 것을 특징으로 하는 연도 가스 정화장치.
KR1020157007490A 2012-10-15 2013-08-08 연도 가스 정화장치 Ceased KR20150070110A (ko)

Applications Claiming Priority (3)

Application Number Priority Date Filing Date Title
EP12188549.5 2012-10-15
EP12188549.5A EP2719442A1 (en) 2012-10-15 2012-10-15 A flue gas purification device
PCT/EP2013/066642 WO2014060131A1 (en) 2012-10-15 2013-08-08 A flue gas purification device

Publications (1)

Publication Number Publication Date
KR20150070110A true KR20150070110A (ko) 2015-06-24

Family

ID=47018889

Family Applications (1)

Application Number Title Priority Date Filing Date
KR1020157007490A Ceased KR20150070110A (ko) 2012-10-15 2013-08-08 연도 가스 정화장치

Country Status (14)

Country Link
US (1) US20150247637A1 (ko)
EP (1) EP2719442A1 (ko)
KR (1) KR20150070110A (ko)
CN (1) CN104640615A (ko)
AU (1) AU2013331988B2 (ko)
CA (1) CA2884275A1 (ko)
DE (1) DE212013000215U1 (ko)
HK (1) HK1205711A1 (ko)
MY (1) MY172375A (ko)
PH (1) PH12015500554B1 (ko)
SA (1) SA515360215B1 (ko)
TW (1) TW201414962A (ko)
WO (1) WO2014060131A1 (ko)
ZA (1) ZA201501968B (ko)

Families Citing this family (7)

* Cited by examiner, † Cited by third party
Publication number Priority date Publication date Assignee Title
CN105582798A (zh) * 2016-03-09 2016-05-18 周紫阳 一种废气处理装置
IT201700024810A1 (it) * 2017-03-06 2018-09-06 Good Sky Srl Impianto e metodo per il condizionamento di fumi
BR112020003228A2 (pt) * 2017-08-16 2020-08-18 Doosan Lentjes Gmbh bandeja de depurador e torre de depurador úmido que compreende tal bandeja de depurador
KR102110511B1 (ko) * 2017-12-19 2020-05-28 두산중공업 주식회사 탈황 효율을 향상시킬 수 있는 습식 탈황장치 및 이를 이용한 습식 탈황방법
CN109499336A (zh) * 2018-12-07 2019-03-22 广州和盛机械设备有限公司 一种油烟废气净化器和油烟净化系统
CN111617606A (zh) * 2020-06-29 2020-09-04 中国华电科工集团有限公司 一种抗弯喷淋主管
CN111701422A (zh) * 2020-06-30 2020-09-25 中国华电科工集团有限公司 一种抗弯喷淋主管

Family Cites Families (10)

* Cited by examiner, † Cited by third party
Publication number Priority date Publication date Assignee Title
US2688376A (en) * 1951-10-27 1954-09-07 Daniel T Oertel Air scrubber
US5534230A (en) * 1994-07-05 1996-07-09 The Babcock & Wilcox Company Segmented heat exchanger flue gas treatment
DE19527836A1 (de) 1995-07-29 1997-01-30 Gottfried Bischoff Gmbh & Co Verfahren zum Abtrennen von Schwefeldioxid aus Abgas
JP2001129352A (ja) 1999-11-02 2001-05-15 Fujikasui Engineering Co Ltd 海水による排ガス脱硫高度処理プロセス
EP1707875A1 (de) * 2005-03-18 2006-10-04 Lurgi Lentjes AG Rauchgasreinigungsvorrichtung mit verbesserter Oxidationseinrichtung im Waschflüssigkeitssumpf
DE112007003270B4 (de) * 2007-01-17 2021-01-07 Mitsubishi Power, Ltd. Entschwefelungsanlage für nasses Rauchgas
EP1967253A1 (de) * 2007-03-09 2008-09-10 Enviroserv Gmbh Waschturm
JP5166791B2 (ja) 2007-07-24 2013-03-21 三菱重工業株式会社 排煙脱硫装置
EP2258462B1 (de) * 2009-06-05 2011-09-28 AE & E Lentjes GmbH Wäscherturm und zugehörige Rauchgasreinigungsvorrichtung
EP2517771A1 (de) * 2011-04-29 2012-10-31 Hamon Enviroserv GmbH Waschturm

Also Published As

Publication number Publication date
AU2013331988B2 (en) 2016-01-14
TW201414962A (zh) 2014-04-16
US20150247637A1 (en) 2015-09-03
HK1205711A1 (en) 2015-12-24
CA2884275A1 (en) 2014-04-24
WO2014060131A1 (en) 2014-04-24
ZA201501968B (en) 2016-09-28
SA515360215B1 (ar) 2015-11-10
PH12015500554A1 (en) 2015-05-04
AU2013331988A1 (en) 2015-03-12
DE212013000215U1 (de) 2015-06-03
MY172375A (en) 2019-11-21
CN104640615A (zh) 2015-05-20
EP2719442A1 (en) 2014-04-16
PH12015500554B1 (en) 2017-11-22

Similar Documents

Publication Publication Date Title
KR101698999B1 (ko) 선박 연도 가스 세척 장치 및 방법
KR20150070110A (ko) 연도 가스 정화장치
RU2556664C2 (ru) Мокрый скруббер для очистки отходящего газа
JP4785006B2 (ja) 湿式排煙脱硫装置
EP2073912B1 (en) Method and apparatus for improved gas/fluid contact
KR101473285B1 (ko) 습식 배연 탈류 장치
CN210171207U (zh) 一种脱硫制酸系统
JPWO2008087769A1 (ja) 湿式排煙脱硫装置
AU2010256072B2 (en) Scrubber tower and related flue gas scrubbing device
CN104136096B (zh) 烟气净化装置
CN109453633A (zh) 一种用于烟气脱硫治理系统中的集液升气帽结构
CN205073865U (zh) 一种氨-硫酸铵法的分级吸收脱硫装置
CN205288055U (zh) 一种酸雾净化装置
CN101670234A (zh) 利用撞击产生飞溅雾沫强化脱硫的技术
JP4905926B2 (ja) 二室型湿式排煙脱硫装置
CN107126840B (zh) 一种烟气脱硫脱硝设备线
FI58443C (fi) Gasskrubber.
CN103406017A (zh) 脱硫吸收塔及脱硫吸收方法
KR101948275B1 (ko) 연도 가스 정화 장치
CN207102344U (zh) 一种烟气脱硫脱硝设备线
CN203469802U (zh) 多孔性分布器中置的脱硫吸收塔
CN203469797U (zh) 含有多孔性分布器的脱硫吸收塔
CN212942279U (zh) 一种脱硫提效装置
CN203469803U (zh) 多孔性分布器下置的脱硫吸收塔
JP2020099861A (ja) 湿式脱硫装置および湿式脱硫装置用の多孔板

Legal Events

Date Code Title Description
PA0105 International application

Patent event date: 20150324

Patent event code: PA01051R01D

Comment text: International Patent Application

PG1501 Laying open of application
A201 Request for examination
PA0201 Request for examination

Patent event code: PA02012R01D

Patent event date: 20160311

Comment text: Request for Examination of Application

E902 Notification of reason for refusal
PE0902 Notice of grounds for rejection

Comment text: Notification of reason for refusal

Patent event date: 20160919

Patent event code: PE09021S01D

E90F Notification of reason for final refusal
PE0902 Notice of grounds for rejection

Comment text: Final Notice of Reason for Refusal

Patent event date: 20170201

Patent event code: PE09021S02D

E601 Decision to refuse application
E801 Decision on dismissal of amendment
PE0601 Decision on rejection of patent

Patent event date: 20170822

Comment text: Decision to Refuse Application

Patent event code: PE06012S01D

Patent event date: 20170201

Comment text: Final Notice of Reason for Refusal

Patent event code: PE06011S02I

Patent event date: 20160919

Comment text: Notification of reason for refusal

Patent event code: PE06011S01I

PE0801 Dismissal of amendment

Patent event code: PE08012E01D

Comment text: Decision on Dismissal of Amendment

Patent event date: 20170822

Patent event code: PE08011R01I

Comment text: Amendment to Specification, etc.

Patent event date: 20170320

Patent event code: PE08011R01I

Comment text: Amendment to Specification, etc.

Patent event date: 20161108