KR20150056974A - Electrical outlet of slim type switch structure - Google Patents

Electrical outlet of slim type switch structure Download PDF

Info

Publication number
KR20150056974A
KR20150056974A KR1020130139698A KR20130139698A KR20150056974A KR 20150056974 A KR20150056974 A KR 20150056974A KR 1020130139698 A KR1020130139698 A KR 1020130139698A KR 20130139698 A KR20130139698 A KR 20130139698A KR 20150056974 A KR20150056974 A KR 20150056974A
Authority
KR
South Korea
Prior art keywords
switch
power supply
supply unit
case
plug
Prior art date
Legal status (The legal status is an assumption and is not a legal conclusion. Google has not performed a legal analysis and makes no representation as to the accuracy of the status listed.)
Abandoned
Application number
KR1020130139698A
Other languages
Korean (ko)
Inventor
전명식
Original Assignee
전명식
Priority date (The priority date is an assumption and is not a legal conclusion. Google has not performed a legal analysis and makes no representation as to the accuracy of the date listed.)
Filing date
Publication date
Application filed by 전명식 filed Critical 전명식
Priority to KR1020130139698A priority Critical patent/KR20150056974A/en
Publication of KR20150056974A publication Critical patent/KR20150056974A/en
Abandoned legal-status Critical Current

Links

Images

Classifications

    • HELECTRICITY
    • H01ELECTRIC ELEMENTS
    • H01RELECTRICALLY-CONDUCTIVE CONNECTIONS; STRUCTURAL ASSOCIATIONS OF A PLURALITY OF MUTUALLY-INSULATED ELECTRICAL CONNECTING ELEMENTS; COUPLING DEVICES; CURRENT COLLECTORS
    • H01R13/00Details of coupling devices of the kinds covered by groups H01R12/70 or H01R24/00 - H01R33/00
    • H01R13/66Structural association with built-in electrical component
    • H01R13/70Structural association with built-in electrical component with built-in switch

Landscapes

  • Details Of Connecting Devices For Male And Female Coupling (AREA)

Abstract

본 발명은 컴팩트한 구조의 스위치가 구비되어 협소한 설치공간에 용이하게 설치 가능함으로 인해 설치상의 편리함을 제공할 수 있는 슬림형 스위치구조의 콘센트에 관한 것이다.
본 발명에 따르면, 케이스(31)와, 상기 케이스(31)에 구비되어 전원을 통전시키도록 된 통전부(40)와, 상기 통전부(40)의 전원을 온/오프시키도록 된 스위치부(60)와, 상기 통전부(40)와 스위치부(60)를 커버하도록 된 외장커버(80)를 포함하여 이루어진 콘센트에 있어서; 상기 통전부(40)는 상기 케이스(31) 내에 구비되어 전원공급선에 통전되도록 된 통전유닛(41)과; 상기 통전유닛(41)에 대응되도록 구비되어 플러그(P)가 삽입되는 삽입홈(50) 및 상기 삽입홈(50)의 바닥면에 상기 플러그(P)의 통전핀이 체결되는 한 쌍의 체결공(52)이 형성된 통전부커버(42)를 포함하여 이루어지고; 상기 스위치부(60)는 상기 통전유닛(41)에 연결되도록 상기 케이스(31)에 내장되고, 전후방향으로 배치되어 상호 접촉 또는 이격되는 한 쌍의 스위치편(61,62)과; 상기 스위치편(61,62)에 대해 동일 평면상에 위치되도록 구비되어 상기 스위치편(61,62) 중의 하나에 단부가 결합된 상태로 시소운동되는 회동부재(64)와; 상기 회동부재(64)의 전방에 위치되어 수동조작에 의해 상기 회동부재(64)를 작동시키도록 된 조작캡(65)을 포함하여 이루어지며; 상기 외장커버(80)는 상기 통전부(40)의 삽입홈(50)에 대응된 플러그공(81)과 이 플러그공(81)의 일측에 상기 조작캡(65)에 대응되도록 스위치공(82)이 형성된 슬림형 스위치구조의 콘센트가 제공된다.
BACKGROUND OF THE INVENTION 1. Field of the Invention [0001] The present invention relates to an outlet of a slim type switch structure capable of providing convenience in installation due to a switch having a compact structure and being easily installed in a narrow installation space.
According to the present invention, there is provided a power supply apparatus including a case 31, a power supply unit 40 provided in the case 31 to supply power to the power supply unit 40, And an outer cover (80) adapted to cover the power supply unit (40) and the switch unit (60); The power supply unit (40) includes a power supply unit (41) provided in the case (31) and adapted to be energized to a power supply line; A pair of fastening holes which are provided corresponding to the energizing unit 41 and into which the plug P is inserted and in which the energizing pin of the plug P is fastened to the bottom surface of the insertion groove 50, (42) in which a conductive member (52) is formed; The switch unit (60) includes a pair of switch pieces (61, 62) housed in the case (31) to be connected to the power supply unit (41) A tiltable member 64 disposed on the same plane with respect to the switch pieces 61 and 62 and seesawed in a state where an end of the switch pieces 61 and 62 is coupled to one of the switch pieces 61 and 62; And an operation cap (65) positioned in front of the tiltable member (64) and adapted to operate the tiltable member (64) by manual operation; The outer cover 80 includes a plug hole 81 corresponding to the insertion groove 50 of the conductive part 40 and a switch hole 82 corresponding to the operation cap 65 on one side of the plug hole 81 ) Is formed.

Description

슬림형 스위치구조의 콘센트{Electrical outlet of slim type switch structure}[0001] Electrical outlet of slim type switch structure [0002]

본 발명은 슬림형 스위치구조의 콘센트에 관한 것으로, 보다 상세하게는 컴팩트한 구조의 스위치가 구비되어 설치상의 편리함을 제공할 수 있는 슬림형 스위치구조의 콘센트에 관한 것이다.
BACKGROUND OF THE INVENTION 1. Field of the Invention [0001] The present invention relates to an outlet of a slim type switch structure, and more particularly, to a receptacle of a slim type switch structure which is provided with a switch having a compact structure to provide convenience in installation.

일반적으로 콘센트는 각종 전기제품이나 전자기기 등의 플러그를 꽂아 전원을 공급하도록 된 것으로, 통상의 멀티탭은 리드선에 의해 일정 위치에서 다수의 플러그를 꽂을 수 있도록 된 것이고, 벽체 매립형 콘센트는 건물의 벽면에 매립 설치된 것이다.In general, an outlet is designed to supply power by inserting a plug of various electric appliances or electronic appliances. In general, a multi-tap is designed to be capable of plugging a plurality of plugs at a predetermined position by a lead wire, and a wall- It is installed in landfill.

이러한 종래의 콘센트의 일례를 도시된 도면에 의해 설명하면 다음과 같다. 도 1에 도시된 바와 같이, 종래의 콘센트(10)는 케이스(11) 상에 1~2개 정도의 플러그를 꽂을 수 있도록 삽입홈(12)이 형성되고, 상기 삽입홈(12)의 저면에는 플러그의 통전핀이 접속되도록 결합되는 체결공(13)이 형성되며, 상기 삽입홈(13)의 둘레 일측에는 플러그가 꽂힌 상태에서도 전원을 차단하여 전력낭비를 예방하도록 절전을 위한 스위치(14)가 구비되어 있다.An example of such a conventional outlet will be described with reference to the drawings. As shown in FIG. 1, a conventional socket 10 is formed with an insertion groove 12 in which one or two plugs can be inserted on a case 11, A switch 14 for saving power is provided at one side of the insertion groove 13 so as to prevent electric power from being wasted even when a plug is plugged in. Respectively.

이러한 종래의 콘센트(10)에 있어서 상기 스위치(14)의 세부적인 구성을 도 2에 의해 설명하면 다음과 같다. 상기 스위치(14)는 수동조작 가능하도록 된 조작캡(15)과 상기 조작캡(14)에 연결되어 일정 길이로 연장된 작동로드(16) 및 상기 작동로드(16)에 의해 상호 접촉 또는 단락되도록 구비된 한 쌍의 스위치편(17,18)으로 이루어진 것으로, 상기 조작캡(15)은 그 저면 중앙측에 위치되는 회동축(19)을 중심으로 시소운동 가능하도록 구비되고, 상기 작동로드(16)는 상기 조작캡(15)의 작동에 따라 그 선단이 좌우로 회동되어 상기 스위치편(17,18)을 작동시키도록 된 것이다.The detailed structure of the switch 14 in such a conventional socket 10 will be described with reference to FIG. The switch 14 is connected to an operation cap 15 which is manually operable and an operation rod 16 which is connected to the operation cap 14 and extends to a predetermined length, The operation cap 15 is provided so as to be seesaw around a pivotal shaft 19 positioned at the center of the bottom surface of the operation cap 15. The operation rod 16 Is turned to the left and right according to the operation of the operating cap 15 so as to operate the switch pieces 17 and 18.

하지만, 이와 같은 종래의 스위치(14)는 상기 작동로드(16)가 상기 조작캡(15)에 대해 수직방향으로 연장 형성됨으로 인해 상기 작동로드(16)를 내장하도록 된 케이스(11)의 전후폭을 넓게 형성해야 하는 것이고, 이로 인해 벽체 등에 매립되는 경우에 상기 케이스(11)의 전후폭이 벽체의 매립공에 비해 길게 형성될 수 있어 설치상의 어려움이 따를 수 있는 것이다. However, in the conventional switch 14, since the operating rod 16 extends in the direction perpendicular to the operating cap 15, the front and rear widths of the case 11, The width of the case 11 can be longer than that of the wall of the wall, which makes it difficult to install the case 11 on the wall.

한국 공개특허공보(제10-2008-0052128호) 2008. 06. 11.Korean Unexamined Patent Publication (No. 10-2008-0052128) 2008. 06. 11.

본 발명은 전술한 바와 같은 문제점을 해결하기 위한 것으로, 본 발명은 컴팩트한 구조의 스위치가 구비되어 협소한 설치공간에 용이하게 설치 가능함으로 인해 설치상의 편리함을 제공할 수 있는 슬림형 스위치구조의 콘센트를 제공하는 것이다.
SUMMARY OF THE INVENTION The present invention has been made to solve the above problems, and it is an object of the present invention to provide a socket of a slim type switch structure capable of providing convenience in installation since a switch having a compact structure is provided, .

본 발명의 특징에 따르면, 케이스(31)와, 상기 케이스(31)에 구비되어 전원을 통전시키도록 된 통전부(40)와, 상기 통전부(40)의 전원을 온/오프시키도록 된 스위치부(60)와, 상기 통전부(40)와 스위치부(60)를 커버하도록 된 외장커버(80)를 포함하여 이루어진 콘센트에 있어서;According to an aspect of the present invention, there is provided a power supply unit including a case 31, a power supply unit 40 provided in the case 31 to supply power to the power supply unit 40, (60), and an outer cover (80) adapted to cover the power supply unit (40) and the switch unit (60);

상기 통전부(40)는 상기 케이스(31) 내에 구비되어 전원공급선에 통전되도록 된 통전유닛(41)과;The power supply unit (40) includes a power supply unit (41) provided in the case (31) and adapted to be energized to a power supply line;

상기 통전유닛(41)에 대응되도록 구비되어 플러그(P)가 삽입되는 삽입홈(50) 및 상기 삽입홈(50)의 바닥면에 상기 플러그(P)의 통전핀이 체결되는 한 쌍의 체결공(52)이 형성된 통전부커버(42)를 포함하여 이루어지고;A pair of fastening holes which are provided corresponding to the energizing unit 41 and into which the plug P is inserted and in which the energizing pin of the plug P is fastened to the bottom surface of the insertion groove 50, (42) in which a conductive member (52) is formed;

상기 스위치부(60)는 상기 통전유닛(41)에 연결되도록 상기 케이스(31)에 내장되고, 전후방향으로 배치되어 상호 접촉 또는 이격되는 한 쌍의 스위치편(61,62)과;The switch unit (60) includes a pair of switch pieces (61, 62) housed in the case (31) to be connected to the power supply unit (41)

상기 스위치편(61,62)에 대해 동일 평면상에 위치되도록 구비되어 상기 스위치편(61,62) 중의 하나에 단부가 결합된 상태로 시소운동되는 회동부재(64)와;A tiltable member 64 disposed on the same plane with respect to the switch pieces 61 and 62 and seesawed in a state where an end of the switch pieces 61 and 62 is coupled to one of the switch pieces 61 and 62;

상기 회동부재(64)의 전방에 위치되어 수동조작에 의해 상기 회동부재(64)를 작동시키도록 된 조작캡(65)을 포함하여 이루어지며;And an operation cap (65) positioned in front of the tiltable member (64) and adapted to operate the tiltable member (64) by manual operation;

상기 외장커버(80)는 상기 통전부(40)의 삽입홈(50)에 대응된 플러그공(81)과 이 플러그공(81)의 일측에 상기 조작캡(65)에 대응되도록 스위치공(82)이 형성된 것을 특징으로 하는 슬림형 스위치구조의 콘센트가 제공된다.
The outer cover 80 includes a plug hole 81 corresponding to the insertion groove 50 of the conductive part 40 and a switch hole 82 corresponding to the operation cap 65 on one side of the plug hole 81 ) Is formed on the outer surface of the housing.

본 발명의 다른 특징에 따르면, 상기 케이스(31)에는 일측 선단에 걸림턱(66)을 형성하도록 돌출 형성되어 상기 스위치편(61,62)이 내장되도록 된 스위치박스(63)가 구비된 것을 특징으로 하는 슬림형 스위치구조의 콘센트가 제공된다.
According to another aspect of the present invention, the case 31 is provided with a switch box 63 protruding to form a latching protrusion 66 at one end thereof, and the switch pieces 61 and 62 are embedded therein A socket having a slim switch structure is provided.

본 발명의 또 다른 특징에 따르면, 상기 스위치박스(63)에는 상기 조작캡(65)의 조작시에 상기 스위치편(61,62) 또는 회동부재(64)를 안내하도록 된 가이드홈(71)이 형성된 것을 특징으로 하는 슬림형 스위치구조의 콘센트가 제공된다.
According to another aspect of the present invention, the switch box 63 is provided with a guide groove 71 for guiding the switch pieces 61, 62 or the pivoting member 64 when the operation cap 65 is operated A socket having a slim switch structure is provided.

본 발명의 또 다른 특징에 따르면, 상기 삽입홈(50)과 스위치공(82)은 각각 적어도 하나 이상으로 구비되되, 상기 삽입홈(50)과 스위치공(82)이 다수로 구비되는 경우에는 다수의 삽입홈(50)과 스위치공(82)이 상호 나란하게 일렬로 배치되고, 상기 체결공(52)은 상기 플러그(P)를 상기 조작캡(65)의 반대방향에서 경사지게 결합할 수 있도록 경사배치된 것을 특징으로 하는 슬림형 스위치구조의 콘센트가 제공된다.
According to another aspect of the present invention, at least one of the insertion groove 50 and the switch hole 82 is provided, and when a plurality of the insertion holes 50 and the switch holes 82 are provided, And the insertion hole 50 of the operation cap 65 and the switch hole 82 are arranged in line so as to be parallel to each other and the engagement hole 52 is inclined so that the plug P can be inclined in the direction opposite to the operation cap 65 And an outlet of the slim type switch structure is provided.

이상에서와 같이 본 발명에 의하면, 스위치편(61,62)에 대해 동일 평면상으로 위치되는 회동부재(64)를 포함하는 스위치부(60)가 구비됨으로써, 상기 스위치부(60)에 의해 콘센트(30)의 전체적인 전후폭을 종래에 비해 상대적으로 좁게 형성할 수 있을 뿐만 아니라 이로 인해 종래의 콘센트(10)에 비해 상대적으로 깊이가 얕은 설치공간에도 용이하게 설치할 수 있는 장점이 있다.As described above, according to the present invention, since the switch unit 60 including the tiltable member 64 positioned on the same plane with respect to the switch pieces 61 and 62 is provided, The entire front and rear width of the socket 30 can be formed relatively narrow as compared with the conventional case, and the socket 30 can be easily installed even in a shallow depth installation space compared to the socket 10 of the related art.

또한 본 발명의 스위치부(60)는 케이스(31)의 선단 일측에 돌출되어 걸림턱(66)이 형성되도록 스위치박스(63)가 구비됨으로써, 본 발명은 콘센트(30) 전체를 설치공간에 매립할 필요없이 상기 걸림턱(66)에 의해 스위치박스(63)가 설치공간에 걸린 상태로 설치되도록 할 수 있으며, 이에 의해 설치공간의 홈깊이가 상대적으로 얕은 경우에도 용이하게 설치할 수 있는 장점이 있다.The switch box 60 of the present invention is provided with the switch box 63 so as to protrude from one side of the front end of the case 31 so that the hooks 66 are formed. The switch box 63 can be installed in a state where the switch box 63 is hooked to the installation space by the hooking protrusion 66. This makes it possible to easily install the switch box 63 even when the depth of the installation space is relatively shallow .

또한 본 발명은 상기 스위치편(61,62) 또는 회동부재(64)의 작동을 안내하도록 된 가이드홈(71)이 형성됨으로써, 스위치의 작동이 안정적으로 이루어져 장치의 작동 신뢰성을 증대시킴과 동시에 장치의 고장에 따른 불편함을 해소할 수 있는 장점이 있다.Further, since the guide groove (71) for guiding the operation of the switch pieces (61, 62) or the tiltable member (64) is formed, the operation of the switch is stably performed to increase the operation reliability of the device, It is possible to solve the inconvenience caused by the failure.

또한 본 발명은 다수의 삽입홈(50)과 조작캡(65)이 각각 다수로 구비되어 상호 나란하게 일렬로 배치되고, 상기 삽입홈(50)의 저면에 형성된 체결공(52)은 경사배치되도록 형성됨으로써, 다수의 플러그(P)를 조작캡(65)의 반대방향으로 경사지게 결합시킴으로 인해 플러그(P)의 상호 간섭없이 삽입홈(50)에 용이하게 결합함과 동시에 상기 플러그(P)에 의해 조작캡(65)의 조작에 간섭되는 것을 방지하여 사용상의 편리함을 제공할 수 있는 장점이 있다.
The present invention is characterized in that the plurality of insertion grooves 50 and the operation caps 65 are respectively provided in a plurality of rows and arranged in a row and the fastening holes 52 formed in the bottom surface of the insertion groove 50 are arranged obliquely So that the plug P can be easily engaged with the insertion groove 50 without mutual interference of the plug P due to the inclined engagement of the plurality of plugs P in the direction opposite to the operation cap 65, There is an advantage that it is possible to prevent interference with the operation of the operating cap 65 and to provide convenience in use.

도 1은 종래의 콘센트 일례를 도시한 평면도
도 2는 종래의 구성에 따른 요부를 도시한 단면도
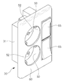
도 3은 본 발명의 일실시예를 도시한 사시도
도 4는 본 발명의 일실시예에 따른 분해 사시도
도 5는 본 발명의 일실시예에 따른 작동상태를 도시한 측단면도
도 6은 본 발명의 일실시예에 따른 설치상태를 도시한 평단면도
도 7은 본 발명의 일실시예에 따른 구성을 도시한 정면도
도 8은 본 발명의 일실시예에 따른 결합상태를 도시한 정면도
1 is a plan view showing an example of a conventional outlet;
Fig. 2 is a cross-sectional view showing a main portion according to a conventional structure
3 is a perspective view showing an embodiment of the present invention.
Figure 4 is an exploded perspective view in accordance with an embodiment of the present invention.
5 is a side sectional view showing an operating state according to an embodiment of the present invention;
6 is a plan view showing an installation state according to an embodiment of the present invention;
7 is a front view showing a configuration according to an embodiment of the present invention.
8 is a front view showing a coupled state according to an embodiment of the present invention.

상술한 본 발명의 목적, 특징들 및 장점은 다음의 상세한 설명을 통하여 보다 분명해질 것이다. 이하, 첨부된 도면에 의거하여 설명하면 다음과 같다.The objects, features and advantages of the present invention will become more apparent from the following detailed description. Hereinafter, description will be made with reference to the accompanying drawings.

도 3 내지 도 8은 본 발명의 바람직한 일실시예를 도시한 것이다. 도 3에 도시된 바와 같이, 본 발명의 콘센트(30)는 일정 크기의 케이스(31)가 구비되고, 이 케이스(31)에는 전면에 외장커버(80)가 결합되는데, 상기 콘센트(30)의 전면에는 플러그(P)(도 8에 도시됨)를 꽂을 수 있도록 된 적어도 하나의 삽입홈(50)과 이 삽입홈(50)의 일측에 위치되어 전원을 온/오프시킬 수 있도록 된 적어도 하나의 조작캡(65)이 노출되도록 구비되고, 상기 삽입홈(50)에는 상기 플러그(P)의 통전핀이 삽입되는 한 쌍의 체결공(52)이 형성되어 있다.3 to 8 show a preferred embodiment of the present invention. 3, the receptacle 30 of the present invention is provided with a casing 31 of a predetermined size. The casing 31 is coupled with an outer cover 80 on the front surface thereof. At least one insertion groove 50 is formed in the front surface of the insertion groove 50 so that the plug P can be inserted into the insertion groove 50. At least one insertion groove 50 is provided at one side of the insertion groove 50, And a pair of coupling holes 52 into which the conductive pins of the plug P are inserted are formed in the insertion groove 50. [

보다 상세하게는 도 4와 도 5에 도시된 바와 같이, 본 발명은 케이스(31) 상에 구비되어 외부에서 인입되는 전원공급선에 연결되어 전원을 통전시키도록 된 통전부(40)와 상기 통전부(40)의 전원을 온/오프시키도록 된 스위치부(60)가 구비되고, 상기 케이스(31)의 전면에는 상기 통전부(40)와 스위치부(60)를 커버하도록 된 외장커버(80)가 결합되는 것이다.4 and 5, the present invention includes a power supply unit 40 provided on a case 31 and connected to an external power supply line to supply power, And an external cover 80 covering the power supply unit 40 and the switch unit 60 is mounted on the front surface of the case 31. The switch unit 60 is provided on the case 31, Lt; / RTI >

이러한 구성에 있어서, 상기 통전부(40)에는 상기 플러그(P)를 고정 지지하는 지지부재(43)와 전원을 공급하도록 된 통전부재(44)를 포함하여 구성된 통전유닛(41)이 구비되는데, 상기 지지부재(43)는 상기 삽입홈(50)의 측면에 돌출되어 상기 플러그(P)의 일측에 접촉되는 한 쌍의 탄성지지편(45)과 상기 플러그(P)의 삽입시에 상기 체결공(52)을 개폐하도록 된 회동개폐구(46) 및 이 회동개폐구(46)를 탄성적으로 작동시키도록 된 탄성스프링(47)으로 이루어져 있다.In this configuration, the power supply unit 40 is provided with a power supply unit 41 including a support member 43 for fixing and supporting the plug P and a power supply member 44 for supplying power, The support member 43 includes a pair of elastic gripping pieces 45 protruding from the side surface of the insertion groove 50 and contacting one side of the plug P, A rotary door 46 for opening and closing the door 52, and an elastic spring 47 for elastically actuating the rotary door 46.

또한 상기 통전부재(44)는 상기 지지부재(43)의 후방에 위치되어 상기 체결공(52)에 대응되도록 형성된 한 쌍의 접점편(48,49)으로 구성되는데, 상기 접점편(48,49)은 대략 링형상으로 구비되어 상기 플러그(P)의 통전핀이 삽입 접촉되는 제1 접점편(48)과 제2 접점편(49)으로 이루어져 있다.The energizing member 44 is constituted by a pair of contact pieces 48 and 49 located behind the support member 43 and corresponding to the fastening hole 52. The contact pieces 48 and 49 Is composed of a first contact piece 48 and a second contact piece 49 which are provided in a substantially ring shape and into which the energizing pin of the plug P is inserted and contacted.

또한 상기 통전유닛(41)의 전방에는 상기 플러그(P)를 착탈 가능하게 삽입할 수 있도록 된 통전부커버(42)가 구비되는데, 상기 통전부커버(42)에는 플러그(P)의 본체가 삽입되도록 일정 면적의 삽입홈(50)이 형성되고, 상기 삽입홈(50)에는 측면에 상기 탄성지지편(45)이 노출되도록 형성된 측면공(51) 및 바닥면에 상기 플러그(P)의 통전핀이 삽입되는 체결공(52)이 형성되어 있다.The power supply unit cover 42 is provided at the front of the power supply unit 41 so that the plug P can be detachably inserted. A side hole 51 formed in the side surface of the insertion groove 50 so as to expose the elastic grip piece 45 and a side hole 51 formed on the side surface of the insertion hole 50, A fastening hole 52 is formed.

또한 상기 통전부커버(42)에는 상기 삽입홈(50)의 일측에 후술되는 스위치부(60)의 구성이 상호 결합 가능하도록 관통공(53)이 형성되어 있다.A through hole 53 is formed in the conductive cover 42 so that the structure of the switch unit 60, which will be described later, can be coupled to one side of the insertion groove 50.

한편, 상기 스위치부(60)는 상기 통전유닛(41)에 연결되어 전원을 온/오프시키도록 된 것으로, 이를 위해 상기 통전유닛(41)의 각 접점편(48,49)에 연결되는 한 쌍이 스위치편(61,62)이 구비되고, 상기 스위치편(61,62)은 전후방향으로 겹친 상태로 위치되어 상호 접촉 또는 이격되도록 구비되어 있다.The switch unit 60 is connected to the power supply unit 41 so as to turn on and off the power supply. To this end, the pair of switches connected to the contact pieces 48 and 49 of the power supply unit 41 The switch pieces 61 and 62 are provided so as to be overlapped with each other in the front-rear direction so as to be in contact with or spaced from each other.

이때에 상기 스위치편(61,62)은 막대형상으로 연장 형성되는 도전프레임(54)에 의해 상기 각 접점편(48,49)에 연결되고, 바람직하게는 상기 도전프레임(54)은 상기 케이스(31)의 상단 일측으로 돌출 연장됨으로 인해 상기 스위치편(61,62)이 상기 케이스(31)의 상단 일측에서 외부로 돌출되도록 위치되게 된다. At this time, the switch pieces 61 and 62 are connected to the respective contact pieces 48 and 49 by a conductive frame 54 extending in a bar shape. Preferably, the conductive frame 54 is connected to the case 31, the switch pieces 61, 62 are positioned so as to protrude outward from one side of the upper end of the case 31.

또한 상기 스위치편(61,62)은 상기 케이스(31)에 결합되는 스위치박스(63)에 내장되는데, 상기 스위치박스(63)는 상기 케이스(31)의 일측 선단에 걸림턱(66)(도 6에 도시됨)을 형성하도록 돌출되고, 그 내부에는 상기 스위치편(61,62)을 작동시키도록 된 회동부재(64)가 결합되며, 상기 회동부재(64)는 일정길이의 단봉 또는 막대형상으로 구비되고, 그 길이방향의 중앙에는 상기 스위치박스(63)에 회동 가능하게 결합되는 회동축(67)이 양측으로 돌출된 것이다.The switch pieces 61 and 62 are housed in a switch box 63 coupled to the case 31. The switch box 63 is provided with a latching protrusion 66 6, and a pivoting member 64 for actuating the switch pieces 61, 62 is coupled to the pivoting member 64. The pivoting member 64 has a single rod or bar shape And a pivot shaft 67 rotatably coupled to the switch box 63 is projected to both sides in the longitudinal center.

이러한 회동부재(64)는 상기 스위치편(61,62)에 대해 동일 평면상에 위치된 상태에서 상기 회동축(67)을 중심으로 길이방향의 양단이 시소운동하도록 구비된 것으로, 그 일단부에는 상기 스위치편(61,62) 중의 하나가 결합되어 있다.The tiltable member 64 is provided so that both end portions in the longitudinal direction of the tiltable member 64 are seesawed around the pivotal shaft 67 in a state where the tiltable member 64 is positioned on the same plane with respect to the switch pieces 61 and 62, One of the switch pieces 61 and 62 is coupled.

이때에 상기 스위치편(62)과 회동부재(64)에는 상호 결합을 위해 대응된 돌기(68)와 요홈(69)이 각각 형성되고, 상기 회동부재(64)의 내부에는 상기 스위치편(62)을 탄성적으로 지지하기 위한 코일스프링(70)이 내장되어 있으며, 상기 스위치박스(63)에는 상기 스위치편(61,62) 또는 회동부재(64)의 작동시에 안정적으로 안내하도록 된 가이드홈(71)이 형성되어 있다. At this time, the switch piece 62 and the tiltable member 64 are formed with corresponding projections 68 and recesses 69 for mutual coupling, respectively. The switch piece 62 is provided inside the tiltable member 64, The switch box 63 is provided with a guide groove 70 for guiding the switch pieces 61 and 62 or the tiltable member 64 stably 71 are formed.

또한 상기 회동부재(64)의 전방에는 수동조작에 의해 상기 회동부재(64)를 작동시키도록 된 조작캡(65)이 구비되는데, 상기 조작캡(65)은 상기 회동부재(64)에 대해 전방에 나란하게 배치되어 상기 회동부재(64)에 유사하게 시소운동되도록 구비되어 있다.An operation cap 65 is provided in front of the tiltable member 64 to operate the tiltable member 64 manually by operating the tiltable member 64 in a forward So as to perform a seesaw movement similarly to the tiltable member 64. [0064]

또한 상기 조작캡(65)에는 후면 중앙부에 상기 회동부재(64)에 접촉되는 회동중심돌기(72)가 형성되고, 이 회동중심돌기(72)를 중심으로 상기 조작캡(65)이 시소운동되면서 상기 회동부재(64)를 작동시키도록 되어 있다.The operation cap 65 is provided at its rear center with a pivotal center projection 72 that contacts the pivotal member 64. The operation cap 65 is seated on the pivotal center projection 72, So that the tiltable member 64 is operated.

이상에서, 상기 통전부(40)는 통상적인 구성에 상응하는 것이고, 상기 스위치부(60)는 상기 스위치편(61,62)과 회동부재(64)가 상기 스위치박스(63)에 내장된 상태로 동일 평면상에 위치됨으로 인해 그 구성에 따른 전후폭을 최소화하도록 된 것이며, 이와 같은 통전부(40)와 스위치부(60)는 외장커버(80)에 의해 커버된 상태로 위치되게 된다.The switch unit 60 is configured such that the switch pieces 61 and 62 and the tiltable member 64 are housed in the switch box 63 So that the conductive part 40 and the switch part 60 are placed in a state of being covered by the outer cover 80. In addition,

한편, 상기 외장커버(80)는 전술된 바와 같이 상기 통전부(40)와 스위치부(60)를 커버하도록 구비되는데, 바람직하게는 외부에서 플러그(P)를 꽂거나 스위치의 조작이 가능하도록 상기 통전부(40)의 삽입홈(50)에 대응된 플러그공(81)이 형성됨과 동시에 상기 플러그공(81)의 일측에는 상기 조작캡(65)에 대응된 스위치공(82)이 형성되며, 그 측면 둘레에는 일정 높이의 측벽(83)이 형성된 것이다.The external cover 80 is provided to cover the power supply unit 40 and the switch unit 60 as described above. Preferably, the external cover 80 is provided to cover the switch unit 40 and the switch unit 60, A plug hole 81 corresponding to the insertion groove 50 of the conductive part 40 is formed and a switch hole 82 corresponding to the operation cap 65 is formed on one side of the plug hole 81, And a side wall 83 having a predetermined height is formed around the side surface thereof.

또한 도 6에 도시된 바와 같이, 본 발명은 상기 스위치부(60)의 구조에 의해 콘센트(30)의 전체적인 전후폭을 종래에 비해 상대적으로 슬림하게 형성함으로 인해 벽체(1) 등의 매립공(2)의 홈깊이가 얕은 경우에도 용이하게 설치 가능하게 된다.6, according to the present invention, since the overall width of the receptacle 30 is relatively slim compared with the conventional one, the burr hole (or the like) of the wall body 1 2 can be easily installed even when the depth of the groove is shallow.

특히 상기 스위치박스(63)는 케이스(31)의 상단 일측으로 돌출됨으로 인해 걸림턱(66)을 형성한 것으로, 이러한 스위치박스(63)는 상기 케이스(31)가 매립공(2)에 삽입된 상태에서 벽면에 걸리게 되는데, 이로 인해 본 발명의 콘센트(30)는 전체가 벽체(1)의 매립공(2)에 매립 설치되는 것이 아니라 상기 스위치박스(63) 부분이 벽면에 노출됨으로 인해 매립공(2)에 매립되는 부분을 줄임으로 인해 협소한 설치공간에서도 용이하게 설치 가능하게 된다.Particularly, the switch box 63 is protruded to one side of the upper end of the case 31 to form a latching protrusion 66. The switch box 63 is formed in such a manner that the case 31 is inserted into the embedding hole 2 The receptacle 30 of the present invention is not entirely embedded in the buried hole 2 of the wall body 1 but is exposed to the wall surface of the switch box 63, The portion to be buried in the main body 2 is reduced, so that it can be easily installed even in a small installation space.

이때에 상기 스위치박스(63)는 상기 외장커버(80)에 의해 은폐된 상태로 구비되게 되는데, 이를 위해 상기 외장커버(80)는 상기 스위치박스(63)를 내장하도록 된 측벽(83)의 높이를 적절하게 형성하고, 외관상 슬림한 형태를 유지하도록 두께방향의 일측 둘레로 단턱부(84)를 형성하여 기단면에 비해 선단면의 면적이 상대적으로 축소된 이중의 단면구조를 형성하도록 구비될 수 있는 것이다.At this time, the switch box 63 is provided in a state of being concealed by the outer cover 80. For this purpose, the outer cover 80 has a height of the side wall 83 to house the switch box 63 And a step portion 84 may be formed on one side of the thickness direction so as to maintain a slim shape in appearance so as to form a double sectional structure in which the area of the front end face is relatively reduced as compared with the base end face It is.

또한 도 7과 도 8에 도시된 바와 같이, 상기 외장커버(80)에 노출되는 삽입홈(50)과 조작캡(65)은 그 개수가 특별히 한정되는 것은 아니지만, 도 7의 (a) 내지 (c)에서와 같이 1~3개 정도로 형성되는 것이 바람직하며, 상기 삽입홈(50)과 조작캡(65)이 각각 다수로 구비되는 경우에는 상기 삽입홈(50)이 외장커버(80)의 일측에 일렬로 배열되고, 상기 조작캡(65)은 상기 삽입홈(50)에 나란하게 일렬로 배열되는데, 상기 삽입홈(50)의 체결공(52)은 원형단면의 삽입홈(50)의 수평연장선에 대해 상하방향으로 경사지게 배치되어 있다.7 and 8, the number of the insertion grooves 50 and the operation cap 65 exposed to the outer cover 80 is not particularly limited. However, as shown in FIGS. 7 (a) to 7 it is preferable that the insertion groove 50 and the operation cap 65 are formed in a number of one to three as in the case of FIG. And the operation caps 65 are arranged in a line in parallel to the insertion grooves 50. The fastening holes 52 of the insertion grooves 50 are aligned in a horizontal direction of the insertion groove 50 having a circular cross section, And are arranged obliquely in the vertical direction with respect to the extension line.

이는 도 4에 도시된 바와 같이, 상기 체결공(52)이 상하방향으로 경사지게 배치됨에 따라 플러그(P)를 조작캡(65)의 반대방향에서 일정각도로 경사지게 결합할 수 있게 되고, 이에 의해 다수의 플러그(P)가 상호 간섭되지 않은 상태로 각 삽입홈(50)에 용이하게 결합될 수 있게 된다.4, the fastening hole 52 is inclined in the vertical direction so that the plug P can be inclined at a predetermined angle in a direction opposite to the operation cap 65, The plugs P can be easily coupled to the respective insertion grooves 50 without interfering with each other.

이상에서 설명되지 않은 부호는 상기 케이스(31) 상에 구비되어 상기 접점편(48,49)과 도전프레임(54)을 삽입 설치하도록 된 가이더(32,33)을 나타낸 것이다.The reference numerals which are not described above are guiders 32 and 33 which are provided on the case 31 so as to insert the contact pieces 48 and 49 and the conductive frame 54 therein.

이상에서 설명한 본 발명은 전술한 실시예 및 첨부된 도면에 의해 한정되는 것이 아니고, 본 발명의 기술적 사상을 벗어나지 않는 범위 내에서 여러 가지 치환, 변형 및 변경이 가능함은 본 발명이 속하는 기술분야에서 통상의 지식을 가진 자에게 명백할 것이다.It will be apparent to those skilled in the art that various modifications and variations can be made in the present invention without departing from the spirit or scope of the inventions. It will be apparent to those of ordinary skill in the art.

Claims (4)

케이스(31)와, 상기 케이스(31)에 구비되어 전원을 통전시키도록 된 통전부(40)와, 상기 통전부(40)의 전원을 온/오프시키도록 된 스위치부(60)와, 상기 통전부(40)와 스위치부(60)를 커버하도록 된 외장커버(80)를 포함하여 이루어진 콘센트에 있어서;
상기 통전부(40)는 상기 케이스(31) 내에 구비되어 전원공급선에 통전되도록 된 통전유닛(41)과;
상기 통전유닛(41)에 대응되도록 구비되어 플러그(P)가 삽입되는 삽입홈(50) 및 상기 삽입홈(50)의 바닥면에 상기 플러그(P)의 통전핀이 체결되는 한 쌍의 체결공(52)이 형성된 통전부커버(42)를 포함하여 이루어지고;
상기 스위치부(60)는 상기 통전유닛(41)에 연결되도록 상기 케이스(31)에 내장되고, 전후방향으로 배치되어 상호 접촉 또는 이격되는 한 쌍의 스위치편(61,62)과;
상기 스위치편(61,62)에 대해 동일 평면상에 위치되도록 구비되어 상기 스위치편(61,62) 중의 하나에 단부가 결합된 상태로 시소운동되는 회동부재(64)와;
상기 회동부재(64)의 전방에 위치되어 수동조작에 의해 상기 회동부재(64)를 작동시키도록 된 조작캡(65)을 포함하여 이루어지며;
상기 외장커버(80)는 상기 통전부(40)의 삽입홈(50)에 대응된 플러그공(81)과 이 플러그공(81)의 일측에 상기 조작캡(65)에 대응되도록 스위치공(82)이 형성된 것을 특징으로 하는 슬림형 스위치구조의 콘센트.
A power supply unit 40 provided in the case 31 to supply power to the power supply unit 40; a switch unit 60 for turning on / off the power supply to the power supply unit 40; And an outer cover (80) adapted to cover the conductive part (40) and the switch part (60);
The power supply unit (40) includes a power supply unit (41) provided in the case (31) and adapted to be energized to a power supply line;
A pair of fastening holes which are provided corresponding to the energizing unit 41 and into which the plug P is inserted and in which the energizing pin of the plug P is fastened to the bottom surface of the insertion groove 50, (42) in which a conductive member (52) is formed;
The switch unit (60) includes a pair of switch pieces (61, 62) housed in the case (31) to be connected to the power supply unit (41)
A tiltable member 64 disposed on the same plane with respect to the switch pieces 61 and 62 and seesawed in a state where an end of the switch pieces 61 and 62 is coupled to one of the switch pieces 61 and 62;
And an operation cap (65) positioned in front of the tiltable member (64) and adapted to operate the tiltable member (64) by manual operation;
The outer cover 80 includes a plug hole 81 corresponding to the insertion groove 50 of the conductive part 40 and a switch hole 82 corresponding to the operation cap 65 on one side of the plug hole 81 ) Is formed on a surface of the housing (10).
제1항에 있어서, 상기 케이스(31)에는 일측 선단에 걸림턱(66)을 형성하도록 돌출 형성되어 상기 스위치편(61,62)이 내장되도록 된 스위치박스(63)가 구비된 것을 특징으로 하는 슬림형 스위치구조의 콘센트.
The switch box according to claim 1, wherein the case (31) is provided with a switch box (63) protruding from one end of the case to form a latching protrusion (66) Socket-type socket outlet.
제2항에 있어서, 상기 스위치박스(63)에는 상기 조작캡(65)의 조작시에 상기 스위치편(61,62) 또는 회동부재(64)를 안내하도록 된 가이드홈(71)이 형성된 것을 특징으로 하는 슬림형 스위치구조의 콘센트.
The switch box according to claim 2, wherein the switch box (63) is provided with a guide groove (71) for guiding the switch piece (61, 62) or the pivoting member (64) The outlet of the slim type switch structure.
제1항 또는 제2항에 있어서, 상기 삽입홈(50)과 스위치공(82)은 각각 적어도 하나 이상으로 구비되되, 상기 삽입홈(50)과 스위치공(82)이 다수로 구비되는 경우에는 다수의 삽입홈(50)과 스위치공(82)이 상호 나란하게 일렬로 배치되고, 상기 체결공(52)은 상기 플러그(P)를 상기 조작캡(65)의 반대방향에서 경사지게 결합할 수 있도록 경사배치된 것을 특징으로 하는 슬림형 스위치구조의 콘센트.   The connector according to claim 1 or 2, wherein at least one of the insertion groove (50) and the switch hole (82) is provided, and when the insertion groove (50) and the switch hole The plurality of insertion grooves 50 and the switch holes 82 are arranged in a line so as to be parallel to each other and the fastening holes 52 are formed so that the plug P can be slantedly engaged in the direction opposite to the operation cap 65 Wherein the slant-type switch structure is disposed in an inclined manner.
KR1020130139698A 2013-11-18 2013-11-18 Electrical outlet of slim type switch structure Abandoned KR20150056974A (en)

Priority Applications (1)

Application Number Priority Date Filing Date Title
KR1020130139698A KR20150056974A (en) 2013-11-18 2013-11-18 Electrical outlet of slim type switch structure

Applications Claiming Priority (1)

Application Number Priority Date Filing Date Title
KR1020130139698A KR20150056974A (en) 2013-11-18 2013-11-18 Electrical outlet of slim type switch structure

Publications (1)

Publication Number Publication Date
KR20150056974A true KR20150056974A (en) 2015-05-28

Family

ID=53391932

Family Applications (1)

Application Number Title Priority Date Filing Date
KR1020130139698A Abandoned KR20150056974A (en) 2013-11-18 2013-11-18 Electrical outlet of slim type switch structure

Country Status (1)

Country Link
KR (1) KR20150056974A (en)

Cited By (1)

* Cited by examiner, † Cited by third party
Publication number Priority date Publication date Assignee Title
KR20180081301A (en) * 2017-01-06 2018-07-16 지아 밍 양 Standby Power Interception Outlet with Non-Projection Switch

Cited By (1)

* Cited by examiner, † Cited by third party
Publication number Priority date Publication date Assignee Title
KR20180081301A (en) * 2017-01-06 2018-07-16 지아 밍 양 Standby Power Interception Outlet with Non-Projection Switch

Similar Documents

Publication Publication Date Title
CN104380538B (en) Safety socket and its application
US6935874B1 (en) Cooking assembly with a safety device
JP2009146880A (en) Receptacle
KR101710004B1 (en) Rotating plugs and corresponding outlets
US8011940B1 (en) Power socket device having switches
KR101234349B1 (en) One touch typed concent
GB2579882A (en) Protective cover assembly for a socket and a socket
KR101690219B1 (en) Safety receptacle
KR101445273B1 (en) Energy-saving one-touch power outlet
CN101110508A (en) power socket
KR20120053400A (en) Rotary muti-tap
TWM507075U (en) Battery connector
KR101476703B1 (en) Safety electric outlet
KR20150056974A (en) Electrical outlet of slim type switch structure
KR20160007918A (en) A cutoff socket outlet for saving standby power
KR101096344B1 (en) Wall buried safety outlet
JP5583395B2 (en) Outlet block
KR100758340B1 (en) Terminal box for indoor electricity supply in apartment houses
KR20110065800A (en) Power strip outlet
WO2020195359A1 (en) Power feed rail
KR200418469Y1 (en) Multi-outlet with switching device of electrical outlet
KR20180059058A (en) power outlet
JP3188367U (en) Power outlet for furniture
KR200462353Y1 (en) Wall concealed type receptacle assembly structure
KR20180110465A (en) one touch typed concent

Legal Events

Date Code Title Description
A201 Request for examination
PA0109 Patent application

Patent event code: PA01091R01D

Comment text: Patent Application

Patent event date: 20131118

PA0201 Request for examination
E902 Notification of reason for refusal
PE0902 Notice of grounds for rejection

Comment text: Notification of reason for refusal

Patent event date: 20141127

Patent event code: PE09021S01D

E701 Decision to grant or registration of patent right
PE0701 Decision of registration

Patent event code: PE07011S01D

Comment text: Decision to Grant Registration

Patent event date: 20150223

PG1501 Laying open of application
PC1904 Unpaid initial registration fee