KR20150050221A - Zig for fixing secondary battery and apparatus for charging and discharging secondary battery including the same - Google Patents

Zig for fixing secondary battery and apparatus for charging and discharging secondary battery including the same Download PDF

Info

Publication number
KR20150050221A
KR20150050221A KR1020130131749A KR20130131749A KR20150050221A KR 20150050221 A KR20150050221 A KR 20150050221A KR 1020130131749 A KR1020130131749 A KR 1020130131749A KR 20130131749 A KR20130131749 A KR 20130131749A KR 20150050221 A KR20150050221 A KR 20150050221A
Authority
KR
South Korea
Prior art keywords
secondary battery
electrode tab
fixing jig
block
charging
Prior art date
Legal status (The legal status is an assumption and is not a legal conclusion. Google has not performed a legal analysis and makes no representation as to the accuracy of the status listed.)
Granted
Application number
KR1020130131749A
Other languages
Korean (ko)
Other versions
KR101713182B1 (en
Inventor
김우하
김여진
홍슬기
도현경
최주영
권현수
김강근
노현철
Original Assignee
주식회사 엘지화학
Priority date (The priority date is an assumption and is not a legal conclusion. Google has not performed a legal analysis and makes no representation as to the accuracy of the date listed.)
Filing date
Publication date
Application filed by 주식회사 엘지화학 filed Critical 주식회사 엘지화학
Priority to KR1020130131749A priority Critical patent/KR101713182B1/en
Publication of KR20150050221A publication Critical patent/KR20150050221A/en
Application granted granted Critical
Publication of KR101713182B1 publication Critical patent/KR101713182B1/en
Active legal-status Critical Current
Anticipated expiration legal-status Critical

Links

Images

Classifications

    • HELECTRICITY
    • H01ELECTRIC ELEMENTS
    • H01MPROCESSES OR MEANS, e.g. BATTERIES, FOR THE DIRECT CONVERSION OF CHEMICAL ENERGY INTO ELECTRICAL ENERGY
    • H01M10/00Secondary cells; Manufacture thereof
    • H01M10/42Methods or arrangements for servicing or maintenance of secondary cells or secondary half-cells
    • H01M10/46Accumulators structurally combined with charging apparatus
    • HELECTRICITY
    • H01ELECTRIC ELEMENTS
    • H01MPROCESSES OR MEANS, e.g. BATTERIES, FOR THE DIRECT CONVERSION OF CHEMICAL ENERGY INTO ELECTRICAL ENERGY
    • H01M10/00Secondary cells; Manufacture thereof
    • H01M10/05Accumulators with non-aqueous electrolyte
    • H01M10/052Li-accumulators
    • HELECTRICITY
    • H01ELECTRIC ELEMENTS
    • H01MPROCESSES OR MEANS, e.g. BATTERIES, FOR THE DIRECT CONVERSION OF CHEMICAL ENERGY INTO ELECTRICAL ENERGY
    • H01M10/00Secondary cells; Manufacture thereof
    • H01M10/42Methods or arrangements for servicing or maintenance of secondary cells or secondary half-cells
    • H01M10/48Accumulators combined with arrangements for measuring, testing or indicating the condition of cells, e.g. the level or density of the electrolyte
    • HELECTRICITY
    • H01ELECTRIC ELEMENTS
    • H01MPROCESSES OR MEANS, e.g. BATTERIES, FOR THE DIRECT CONVERSION OF CHEMICAL ENERGY INTO ELECTRICAL ENERGY
    • H01M50/00Constructional details or processes of manufacture of the non-active parts of electrochemical cells other than fuel cells, e.g. hybrid cells
    • H01M50/10Primary casings; Jackets or wrappings
    • H01M50/102Primary casings; Jackets or wrappings characterised by their shape or physical structure
    • H01M50/105Pouches or flexible bags
    • H02J7/751
    • YGENERAL TAGGING OF NEW TECHNOLOGICAL DEVELOPMENTS; GENERAL TAGGING OF CROSS-SECTIONAL TECHNOLOGIES SPANNING OVER SEVERAL SECTIONS OF THE IPC; TECHNICAL SUBJECTS COVERED BY FORMER USPC CROSS-REFERENCE ART COLLECTIONS [XRACs] AND DIGESTS
    • Y02TECHNOLOGIES OR APPLICATIONS FOR MITIGATION OR ADAPTATION AGAINST CLIMATE CHANGE
    • Y02EREDUCTION OF GREENHOUSE GAS [GHG] EMISSIONS, RELATED TO ENERGY GENERATION, TRANSMISSION OR DISTRIBUTION
    • Y02E60/00Enabling technologies; Technologies with a potential or indirect contribution to GHG emissions mitigation
    • Y02E60/10Energy storage using batteries
    • YGENERAL TAGGING OF NEW TECHNOLOGICAL DEVELOPMENTS; GENERAL TAGGING OF CROSS-SECTIONAL TECHNOLOGIES SPANNING OVER SEVERAL SECTIONS OF THE IPC; TECHNICAL SUBJECTS COVERED BY FORMER USPC CROSS-REFERENCE ART COLLECTIONS [XRACs] AND DIGESTS
    • Y02TECHNOLOGIES OR APPLICATIONS FOR MITIGATION OR ADAPTATION AGAINST CLIMATE CHANGE
    • Y02PCLIMATE CHANGE MITIGATION TECHNOLOGIES IN THE PRODUCTION OR PROCESSING OF GOODS
    • Y02P70/00Climate change mitigation technologies in the production process for final industrial or consumer products
    • Y02P70/50Manufacturing or production processes characterised by the final manufactured product

Landscapes

  • Chemical & Material Sciences (AREA)
  • Chemical Kinetics & Catalysis (AREA)
  • Electrochemistry (AREA)
  • General Chemical & Material Sciences (AREA)
  • Engineering & Computer Science (AREA)
  • Manufacturing & Machinery (AREA)
  • Battery Mounting, Suspending (AREA)

Abstract

본 발명은 이차 전지 충방전 장치에 이차 전지를 용이하게 고정시킬 수 있도록 하는 이차 전지 고정 지그를 개시한다.
본 발명에 따른 이차 전지 고정 지그는, 이차 전지를 충전 또는 방전하는 장치에 사용되는 이차 전지 고정 지그로서, 상기 이차 전지의 전극 탭과 접촉하여 전기적으로 연결되는 도전부; 및 상기 도전부와 상기 전극 탭의 연결 상태를 유지하는 고정부를 포함하되, 상기 고정부는 상부 블록 및 하부 블록을 구비하고, 상기 상부 블록 및 상기 하부 블록 중 적어도 하나의 블록이 상하 방향으로 이동하여 상기 상부 블록 및 상기 하부 블록 사이에 상기 전극 탭이 가압 고정되도록 하는 것을 특징으로 한다.
Disclosed is a secondary battery fixing jig capable of easily securing a secondary battery to a secondary battery charge / discharge device.
A secondary battery fixing jig according to the present invention is used in an apparatus for charging or discharging a secondary battery, comprising: a conductive part in contact with and electrically connected to an electrode tab of the secondary battery; And a fixing part for maintaining a connection state between the conductive part and the electrode tab, wherein the fixing part includes an upper block and a lower block, and at least one of the upper block and the lower block moves in a vertical direction And the electrode tab is pressed and fixed between the upper block and the lower block.

Description

이차 전지 고정 지그 및 이를 포함하는 이차 전지 충방전 장치{Zig for fixing secondary battery and apparatus for charging and discharging secondary battery including the same}BACKGROUND OF THE INVENTION 1. Field of the Invention [0001] The present invention relates to a secondary battery fixing jig and a secondary battery including the same,

본 발명은 이차 전지를 고정하는 기술에 관한 것으로서, 보다 상세하게는 이차 전지가 용이하게 이차 전지 충방전 장치에 장착 및/또는 탈착될 수 있도록 하는 이차 전지 고정 지그 및 이를 포함하는 이차 전지 충방전 장치에 관한 것이다.BACKGROUND OF THE INVENTION 1. Field of the Invention The present invention relates to a technique for securing a secondary battery, and more particularly, to a secondary battery fixing jig for allowing a secondary battery to be easily mounted and / or detached to / from a secondary battery charging / .

최근, 노트북, 비디오 카메라, 휴대용 전화기 등과 같은 휴대용 전자 제품의 수요가 급격하게 증대되고, 전기 자동차, 에너지 저장용 축전지, 로봇, 위성 등의 개발이 본격화됨에 따라, 반복적인 충방전이 가능한 고성능 이차 전지에 대한 연구가 활발히 진행되고 있다.2. Description of the Related Art In recent years, demand for portable electronic products such as notebook computers, video cameras, and portable telephones has been rapidly increased, and electric vehicles, storage batteries for energy storage, robots, and satellites have been developed in earnest. Are being studied actively.

현재 상용화된 이차 전지로는 니켈 카드뮴 전지, 니켈 수소 전지, 니켈 아연 전지, 리튬 이차 전지 등이 있는데, 이 중에서 리튬 이차 전지는 니켈 계열의 이차 전지에 비해 메모리 효과가 거의 일어나지 않아 충방전이 자유롭고, 자가 방전율이 매우 낮으며 에너지 밀도가 높은 장점으로 각광을 받고 있다.The secondary rechargeable batteries are nickel-cadmium batteries, nickel-hydrogen batteries, nickel-zinc batteries, and lithium secondary batteries. Among them, lithium secondary batteries have almost no memory effect compared to nickel- It is very popular because of its low self-discharge rate and high energy density.

이러한 리튬 이차 전지는 주로 리튬계 산화물과 탄소재를 각각 양극 활물질과 음극 활물질로 사용한다. 리튬 이차 전지는, 이러한 양극 활물질과 음극 활물질이 각각 도포된 양극판과 음극판이 세퍼레이터를 사이에 두고 배치된 전극 조립체와, 전극 조립체를 전해액과 함께 밀봉 수납하는 외장재, 즉 전지 케이스를 구비한다.These lithium secondary batteries mainly use a lithium-based oxide and a carbonaceous material as a cathode active material and an anode active material, respectively. The lithium secondary battery includes an electrode assembly in which a positive electrode plate and a negative electrode plate each coated with such a positive electrode active material and a negative electrode active material are disposed with a separator interposed therebetween, and an outer casing, that is, a battery case, for sealingly storing the electrode assembly together with the electrolyte solution.

전극 조립체는 하나의 양극판 및 하나의 음극판이 세퍼레이터를 사이에 두고 배치되어 권취되는 형태의 구조를 가질 수도 있고, 다수의 양극판 및 다수의 음극판이 세퍼레이터를 사이에 두고 적층된 형태의 구조를 가질 수도 있다. 이러한 전극 조립체가 금속 캔에 수납되는지, 또는 파우치에 수납되는지에 따라 리튬 이차 전지는 캔형 이차 전지와 파우치형 이차 전지로 분류될 수 있다. 즉, 캔형 이차 전지는 전극 조립체가 금속 캔에 내장되는 형태이며, 파우치형 이차 전지는 전극 조립체가 알루미늄 라미네이트 시트의 파우치에 내장되는 형태이다. 통상적으로 캔형 이차 전지에는 전극 조립체가 권취된 형태로 수납되고, 파우치형 이차 전지에는 전극 조립체가 적층된 형태로 수납된다.The electrode assembly may have a structure in which one positive electrode plate and one negative electrode plate are wound and disposed with a separator interposed therebetween, or may have a structure in which a plurality of positive electrode plates and a plurality of negative electrode plates are stacked with a separator interposed therebetween . The lithium secondary battery can be classified into a can type secondary battery and a pouch type secondary battery depending on whether such an electrode assembly is stored in a metal can or in a pouch. That is, the can type secondary battery is a form in which the electrode assembly is embedded in the metal can, and the pouch type secondary battery is a form in which the electrode assembly is embedded in the pouch of the aluminum laminate sheet. Typically, the can type secondary battery is housed in an electrode assembly wound state, and the pouch type secondary battery is housed in a laminated form of an electrode assembly.

한편, 이러한 전극 조립체에는 전극 탭이 구비된다. 즉, 전극 조립체의 양극판에는 양극 탭이 돌출된 형태로 구비되며, 음극판에는 음극 탭이 돌출된 형태로 구비된다. 이때, 이러한 전극 탭은 양극판과 음극판에 각각 양극 탭과 음극 탭 한 개씩만 구비될 수 있고, 다수 개가 구비될 수도 있다.On the other hand, electrode assemblies are provided with electrode tabs. That is, the positive electrode plate of the electrode assembly is provided with a protrusion of a positive electrode tab, and the negative electrode plate is provided with a protrusion of a negative electrode tab. At this time, the electrode tabs may include only one positive electrode tab and one negative electrode tab in the positive electrode plate and the negative electrode plate, respectively.

이러한 전극 탭은 외부 장치와 접촉을 통해 외부 장치와 전기적으로 연결되고, 이차 전지는 이러한 전극 탭을 통해 외부 장치에 전력을 공급하거나 외부 장치로부터 전력을 공급받게 된다.The electrode tab is electrically connected to the external device through contact with the external device, and the secondary battery receives power from the external device or supplies power to the external device through the electrode tab.

한편, 이차 전지는 전극 조립체를 케이스에 수납하고 전해질을 주입하는 단계를 거친 후 전지 활성화 단계를 거쳐 제조된다. 여기서, 전지 활성화 단계는 이차 전지 충방전 장치에 이차 전지를 장착한 후, 활성화에 필요한 조건으로 이차 전지를 충방전하는 과정을 포함한다. 이와 같이 이차 전지 충방전 장치는 상술한 전지 활성화 단계에서 이차 전지를 충전하거나 방전하는데 주로 사용되는데, 이뿐만 아니라 이차 전지의 성능 평가 용도 등으로 사용되기도 한다.On the other hand, the secondary battery is manufactured through a step of storing an electrode assembly in a case and injecting an electrolyte, followed by a battery activation step. Here, the battery activation step includes charging and discharging the secondary battery under the conditions necessary for activation after mounting the secondary battery in the secondary battery charging / discharging device. As described above, the secondary battery charging and discharging device is mainly used for charging or discharging the secondary battery in the battery activating step described above, but it is also used for performance evaluation of the secondary battery.

그런데, 이와 같이 이차 전지 충방전 장치를 이용하여 이차 전지를 올바르게 충전하거나 방전하기 위해서는 이차 전지가 이차 전지 충방전 장치에 제대로 장착되어야 한다. 즉, 이차 전지의 전극 탭이 이차 전지 충방전 장치의 단자접속부에 접하도록 배치되어 양자가 전기적으로 연결되어야 하고, 충방전이 진행되는 동안에 이러한 전기적 연결 상태가 유지되어야 한다.However, in order to correctly charge or discharge the secondary battery using the secondary battery charging / discharging device, the secondary battery must be properly installed in the secondary battery charging / discharging device. That is, the electrode tabs of the secondary batteries are arranged so as to be in contact with the terminal connection portions of the secondary battery charging and discharging device so that the two should be electrically connected, and the electrical connection state must be maintained while charging and discharging are proceeding.

도 1은 종래기술의 일 실시예에 따른 이차 전지 충방전 장치를 개략적으로 나타낸 도면이다.FIG. 1 is a schematic view of a secondary battery charging / discharging apparatus according to an embodiment of the present invention.

도 1을 참조하면, 종래기술의 일 실시예에 따른 이차 전지 충방전 장치는 나사식으로 구성된 단자접속부(10)를 포함하고 있다. 이러한 종래기술의 일 실시예에 따른 이차 전지 충방전 장치는, 이차 전지(s)의 전극 탭(t)이 단자접속부(10)에 개재된 상태에서 나사(11)를 돌려 전극 탭(t)과 단자접속부(10)를 전기적으로 연결하고 이러한 전기적 연결 상태를 유지한다. 그런데, 이러한 방법에 의할 경우, 이차 전지(s)의 전극 탭(t)을 이차 전지 충방전 장치의 단자접속부(10)에 고정시키는데 시간이 오래 걸리는 문제가 있다. 또한, 나사(11)의 회전 정도에 따라 전극 탭(t)에 가하지는 압력이 일정하지 않아 전기적 저항값이 달라질 수 있는 문제가 있다. 또한 이차 전지(s)의 전극 탭(t)이, 이차 전지 충방전 장치의 단자접속부(10)보다 높은 곳에 위치하거나, 낮은 곳에 위치한 상태에서 단자접속부(10)에 고정된 경우, 전극 탭(t)이 단자접속부(10)에 의해 응력을 받아 전극 탭(t)이 휘거나 변형될 수 있다는 문제가 있다.Referring to FIG. 1, a secondary battery charging and discharging apparatus according to an embodiment of the present invention includes a screw connecting terminal connection portion 10. The secondary battery charging and discharging apparatus according to one embodiment of the prior art is characterized in that in the state where the electrode tab t of the secondary battery s is interposed in the terminal connecting portion 10, The terminal connecting portion 10 is electrically connected and the electrical connecting state is maintained. However, this method has a problem that it takes a long time to fix the electrode tab t of the secondary battery s to the terminal connection portion 10 of the secondary battery charging / discharging device. In addition, the pressure applied to the electrode tab t is not constant depending on the degree of rotation of the screw 11, and thus the electrical resistance value may vary. When the electrode tab t of the secondary battery s is located higher than the terminal connection portion 10 of the secondary battery charging and discharging device or is fixed to the terminal connection portion 10 in a state of being located at a lower position, Is subjected to stress by the terminal connecting portion 10, and the electrode tab t may be bent or deformed.

본 발명은 상기와 같은 문제점을 해결하기 위해 창안된 것으로서, 이차 전지 충방전 장치에 이차 전지를 용이하게 고정시킬 수 있도록 하는 이차 전지 고정 지그를 제공하는 것을 목적으로 한다.SUMMARY OF THE INVENTION It is an object of the present invention to provide a secondary battery fixing jig which is capable of easily securing a secondary battery to a secondary battery charging and discharging device.

본 발명의 다른 목적 및 장점들은 하기의 설명에 의해서 이해될 수 있으며, 본 발명의 실시예에 의해 보다 분명하게 알게 될 것이다. 또한, 본 발명의 목적 및 장점들은 특허청구범위에 나타난 수단 및 그 조합에 의해 실현될 수 있음을 쉽게 알 수 있을 것이다.Other objects and advantages of the present invention will become apparent from the following description, and it will be understood by those skilled in the art that the present invention is not limited thereto. It is also to be understood that the objects and advantages of the invention may be realized and attained by means of the instrumentalities and combinations thereof.

상기 목적을 달성하기 위한 본 발명의 일 측면에 따른 이차 전지 고정 지그는, 이차 전지를 충전 또는 방전하는 장치에 사용되는 이차 전지 고정 지그로서, 상기 이차 전지의 전극 탭과 접촉하여 전기적으로 연결되는 도전부; 및 상기 도전부와 상기 전극 탭의 연결 상태를 유지하는 고정부를 포함하되, 상기 고정부는 상부 블록 및 하부 블록을 구비하고, 상기 상부 블록 및 상기 하부 블록 중 적어도 하나의 블록이 상하 방향으로 이동하여 상기 상부 블록 및 상기 하부 블록 사이에 상기 전극 탭이 가압 고정되도록 하는 것을 특징으로 한다.According to an aspect of the present invention, there is provided a secondary battery fixing jig for use in an apparatus for charging or discharging a secondary battery, the secondary battery fixing jig comprising: part; And a fixing part for maintaining a connection state between the conductive part and the electrode tab, wherein the fixing part includes an upper block and a lower block, and at least one of the upper block and the lower block moves in a vertical direction And the electrode tab is pressed and fixed between the upper block and the lower block.

바람직하게는, 상기 고정부는, 상기 상부 블록 및 상기 하부 블록의 일단에 각각 연결되어 일부 지점에서 상호 교차되게 형성된 2개의 지지부재 및 상기 2개의 지지부재가 상호 교차되는 지점에 상기 2개의 지지부재에 결합되어 상기 지지부재를 회전가능하게 하는 회전축을 더 구비하는 것을 특징으로 한다.Preferably, the fixing portion includes two support members which are respectively connected to one ends of the upper block and the lower block and are formed so as to cross each other at a certain point, and two support members, And a rotation shaft coupled to the support member to rotate the support member.

더욱 바람직하게는, 상기 2개의 지지부재 중 적어도 하나의 지지부재는, 상부 암 및 하부 암을 구비하고, 상기 상부 암이 상기 하부 암을 중심으로 회전가능하게 구성된 것을 특징으로 한다.More preferably, at least one of the two support members is provided with an upper arm and a lower arm, and the upper arm is rotatable about the lower arm.

더욱 바람직하게는, 상기 상부 암이 상기 하부 암을 중심으로 회전하는 것을 방지하는 고정 유닛을 더 구비하는 것을 특징으로 한다.Further preferably, the fixing device further comprises a fixing unit for preventing the upper arm from rotating about the lower arm.

더욱 바람직하게는, 상기 고정 유닛은, 볼트 및 너트를 포함하고, 상기 볼트는 상기 상부 암 및 상기 하부 암에 형성된 홀에 관통 결합되고, 상기 너트는 상기 홀에 관통 결합된 볼트와 볼트 결합하는 것을 특징으로 한다.More preferably, the fixing unit includes a bolt and a nut, and the bolt is inserted into a hole formed in the upper arm and the lower arm, and the nut is bolted to the bolt through the hole .

또한 바람직하게는, 상기 상부 블록 및 상기 하부 블록 중 적어도 하나는 상기 지지부재를 중심으로 회전가능하게 구성된 것을 특징으로 한다.또한 바람직하게는, 상기 2개의 지지부재 사이에 결합되는 탄성부재를 더 포함하는 것을 특징으로 한다.Preferably, at least one of the upper block and the lower block is configured to be rotatable about the support member. Further, preferably, the elastic block is further provided with an elastic member coupled between the two support members .

더욱 바람직하게는, 상기 탄성부재는 스프링인 것을 특징으로 한다.More preferably, the elastic member is a spring.

상기 목적을 달성하기 위한 본 발명의 일 측면에 따른 이차 전지 충방전 장치는, 상술한 이차 전지 고정 지그를 포함하는 것을 특징으로 한다.According to an aspect of the present invention, there is provided a secondary battery charging / discharging apparatus including the above-described secondary battery fixing jig.

바람직하게는, 상기 이차 전지 고정 지그를 소정 각도 기울일 수 있도록 하는 틸팅 디바이스를 더 포함하는 것을 특징으로 한다.Preferably, the secondary battery fixing jig further includes a tilting device for tilting the secondary battery fixing jig at a predetermined angle.

또한 바람직하게는, 상기 이차 전지 고정 지그를 수평 방향으로 이동할 수 있도록 하는 수평 이동 디바이스를 더 포함하는 것을 특징으로 한다.Preferably, the apparatus further comprises a horizontal moving device for moving the secondary battery fixing jig in a horizontal direction.

또한 바람직하게는, 상기 이차 전지 고정 지그를 지면에 대해 수직 방향으로 이동할 수 있도록 하는 수직 이동 디바이스를 더 포함하는 것을 특징으로 한다.Preferably, the secondary battery fixing jig further includes a vertical moving device that allows the secondary battery fixing jig to move in a direction perpendicular to the paper surface.

또한 바람직하게는, 상기 도전부와 연결되어, 상기 이차 전지에 충전 전원을 공급하거나, 상기 이차 전지로부터 방전 전원을 공급받는 충방전부를 더 포함하는 것을 특징으로 한다.The charging unit may further include a charge / discharge unit connected to the conductive unit to supply charging power to the secondary battery or to receive a discharging power from the secondary battery.

또한 바람직하게는, 상기 이차 전지는, 파우치형 이차 전지인 것을 특징으로 한다.Preferably, the secondary battery is a pouch-type secondary battery.

상기 목적을 달성하기 위한 본 발명의 일 측면에 따른 이차 전지 평가 장치는, 상술한 이차 전지 고정 장치를 포함하는 것을 특징으로 한다.According to an aspect of the present invention, a secondary battery evaluating apparatus includes the above-described secondary battery securing apparatus.

본 발명에 의하면, 이차 전지의 전극 탭을 이차 전지 충방전 장치에 고정함에 있어서, 나사를 조절하여 전극 탭을 고정하지 않고, 이차 전지 고정 지그의 집게를 이용하여 전극 탭을 고정함으로써, 이차 전지 충방전 장치에 이차 전지가 보다 용이하게 고정될 수 있다.According to the present invention, in fixing the electrode tab of the secondary battery to the secondary battery charging / discharging device, the electrode tab is fixed by using the grip of the secondary battery fixing jig without fixing the electrode tab by adjusting the screw, The secondary battery can be more easily fixed to the discharge device.

따라서, 이차 전지를 이차 전지 충방전 장치에 장착 및/또는 탈착시키는데 소요되는 시간이 줄어든다.Accordingly, the time required for attaching and / or detaching the secondary battery to / from the secondary battery charge / discharge device is reduced.

또한, 본 발명의 일 측면에 의하면, 이차 전지의 두께에 상관없이 이차 전지의 전극 탭을 이차 전지 충방전 장치에 고정시킬 수 있다.In addition, according to one aspect of the present invention, the electrode tab of the secondary battery can be fixed to the secondary battery charging / discharging device regardless of the thickness of the secondary battery.

또한, 본 발명의 다른 측면에 의하면, 전극 탭을 고정하는 상부 블록 및/또는 하부 블록이 회전가능하게 구성됨으로써, 상부 블록 및 하부 블록은 이차 전지의 높이와 관계 없이 이차 전지의 전극 탭을 평행하게 가압 고정할 수 있다.According to another aspect of the present invention, since the upper block and / or the lower block for fixing the electrode tabs are rotatable, the upper block and the lower block are arranged in parallel to each other, regardless of the height of the secondary battery. It can be pressed and fixed.

또한, 본 발명의 또 다른 측면에 의하면, 전극 탭에 가해지는 압력이 일정하게 유지되도록 조절할 수 있으므로, 이차 전지 충방전 실험과정에서 전기적 저항값이 달라지는 문제가 발생하는 것을 방지할 수 있다.이외에도 본 발명은 다른 다양한 효과를 가질 수 있으며, 이러한 본 발명의 다른 효과들은 하기의 설명에 의해서 이해될 수 있고, 본 발명의 실시예에 의해 보다 분명하게 알 수 있다.In addition, according to another aspect of the present invention, since the pressure applied to the electrode tab can be adjusted to be kept constant, it is possible to prevent a problem that the electrical resistance value changes during the charging / discharging test of the secondary battery. The invention can have various other effects, and other effects of the present invention can be understood by the following description, and can be more clearly understood by the embodiments of the present invention.

본 명세서에 첨부되는 다음의 도면들은 본 발명의 바람직한 실시예를 예시하는 것이며, 후술되는 발명의 상세한 설명과 함께 본 발명의 기술사상을 더욱 이해시키는 역할을 하는 것이므로, 본 발명은 그러한 도면에 기재된 사항에만 한정되어 해석되어서는 아니 된다.
도 1은 종래기술의 일 실시예에 따른 이차 전지 충방전 장치를 개략적으로 나타낸 도면이다.
도 2는 본 발명의 일 실시예에 따른 이차 전지 고정 지그를 이용하여 이차 전지를 고정하는 모습을 개략적으로 나타낸 도면이다.
도 3a는 하부 블록에 연결된 상부 암이 회전함으로써, 하부 블록을 상하 방향으로 이동시키는 모습을 개략적으로 나타낸 도면이다.
도 3b는 하부 블록이 상 방향으로 이동한 후 고정 유닛에 의해 고정된 모습을 개략적으로 나타낸 도면이다.
도 3c는 도 3b에서 상부 블록이 전극 탭을 평행하게 가압하는 모습을 개략적으로 나타낸 도면이다.
도 4는 도 3c의 A부분을 확대하여 나타낸 사시도이다.
도 5는 본 발명의 또 다른 실시예에 따른 이차 전지 고정 지그를 이용하여 이차 전지를 고정하는 모습을 개략적으로 나타낸 도면이다.
도 6은 본 발명의 일 실시예에 따른 이차 전지 충방전 장치를 개략적으로 나타낸 도면이다.
BRIEF DESCRIPTION OF THE DRAWINGS The accompanying drawings, which are incorporated in and constitute a part of the specification, illustrate preferred embodiments of the invention and, together with the description of the invention given below, serve to further the understanding of the technical idea of the invention. And should not be construed as limiting.
FIG. 1 is a schematic view of a secondary battery charging / discharging apparatus according to an embodiment of the present invention.
FIG. 2 is a view schematically illustrating the securing of a secondary battery using a secondary battery fixing jig according to an embodiment of the present invention. Referring to FIG.
3A is a view schematically showing a state in which an upper arm connected to a lower block is rotated to move a lower block in a vertical direction.
3B is a view schematically showing a state where the lower block is moved upward and then fixed by the fixed unit.
FIG. 3C is a schematic view illustrating the upper block pressing the electrode tab in parallel in FIG. 3B. FIG.
4 is an enlarged perspective view of part A of FIG. 3C.
FIG. 5 is a view schematically illustrating the securing of the secondary battery using the secondary battery fixing jig according to another embodiment of the present invention.
6 is a schematic view of a secondary battery charging / discharging apparatus according to an embodiment of the present invention.

이하, 첨부된 도면을 참조하여 본 발명의 바람직한 실시예를 상세히 설명하기로 한다. 이에 앞서, 본 명세서 및 청구범위에 사용된 용어나 단어는 통상적이거나 사전적인 의미로 한정해서 해석되어서는 아니 되며, 발명자는 그 자신의 발명을 가장 최선의 방법으로 설명하기 위해 용어의 개념을 적절하게 정의할 수 있다는 원칙에 입각하여 본 발명의 기술적 사상에 부합하는 의미와 개념으로 해석되어야 한다.Hereinafter, preferred embodiments of the present invention will be described in detail with reference to the accompanying drawings. Prior to this, terms and words used in the present specification and claims should not be construed as limited to ordinary or dictionary terms, and the inventor should appropriately interpret the concepts of the terms appropriately It should be construed as meaning and concept consistent with the technical idea of the present invention based on the principle that it can be defined.

따라서, 본 명세서에 기재된 실시예와 도면에 도시된 구성은 본 발명의 가장 바람직한 일 실시예에 불과할 뿐이고 본 발명의 기술적 사상을 모두 대변하는 것은 아니므로, 본 출원시점에 있어서 이들을 대체할 수 있는 다양한 균등물과 변형예들이 있을 수 있음을 이해하여야 한다.Therefore, the embodiments described in this specification and the configurations shown in the drawings are merely the most preferred embodiments of the present invention and do not represent all the technical ideas of the present invention. Therefore, It is to be understood that equivalents and modifications are possible.

또한, 본 발명을 설명함에 있어 관련된 공지 구성 또는 기능에 대한 구체적인 설명이 본 발명의 요지를 흐릴 수 있다고 판단되는 경우에는 그 상세한 설명은 생략한다. In the following description, well-known functions or constructions are not described in detail since they would obscure the invention in unnecessary detail.

본 발명의 실시형태는 통상의 기술자에게 본 발명을 더욱 완전하게 설명하기 위하여 제공되는 것이므로 도면에서의 구성요소들의 형상 및 크기 등은 보다 명확한 설명을 위해 과장되거나 생략되거나 또는 개략적으로 도시될 수 있다. 따라서, 각 구성요소의 크기나 비율은 실제적인 크기나 비율을 전적으로 반영하는 것은 아니다.The embodiments of the present invention are provided to explain the present invention more fully to the ordinary artisan, so that the shape and size of the components in the drawings may be exaggerated, omitted or schematically shown for clarity. Thus, the size or ratio of each component does not entirely reflect the actual size or ratio.

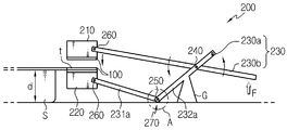
도 2는 본 발명의 일 실시예에 따른 이차 전지 고정 지그를 이용하여 이차 전지를 고정하는 모습을 개략적으로 나타낸 도면이다.FIG. 2 is a view schematically illustrating the securing of a secondary battery using a secondary battery fixing jig according to an embodiment of the present invention. Referring to FIG.

도 2를 참조하면, 본 발명에 따른 이차 전지 고정 지그는 도전부(100) 및 고정부(200)를 포함한다. 이러한 이차 전지 고정 지그는, 이차 전지(s)를 충전하거나 방전하는 장치에 사용될 수 있다. Referring to FIG. 2, the secondary battery fixing jig according to the present invention includes a conductive part 100 and a fixing part 200. Such a secondary battery fixing jig can be used in an apparatus for charging or discharging the secondary battery (s).

상기 도전부(100)는, 이차 전지(s)의 전극 탭(t)과 접촉하여, 이차 전지(s)의 전극 탭(t)과 전기적으로 연결될 수 있다. 따라서, 도전부(100)는 전기 전도성을 갖는 도체로 형성될 수 있다. The conductive part 100 may be in contact with the electrode tab t of the secondary battery s and may be electrically connected to the electrode tab t of the secondary battery s. Accordingly, the conductive portion 100 may be formed of a conductor having electrical conductivity.

또한, 상기 도전부(100)는, 후술할 충방전부와 연결되어, 충방전부로부터 충전 전원을 공급받아 이를 이차 전지(s)에 공급하거나, 이차 전지(s)로부터 방전 전원을 공급받아 이를 충방전부에 공급할 수 있다.The conductive part 100 is connected to a charging part to be described later to supply charging power to the secondary battery s from the charging part or supply the discharging power from the secondary battery s to the charging part, .

상기 고정부(200)는, 도전부(100)와 전극 탭(t)의 연결 상태를 유지하는 기능을 수행한다. 다시 말해, 고정부(200)는, 도전부(100)와 전극 탭(t)의 전기적 연결 상태가 해제되지 않도록 도전부(100)와 전극 탭(t)의 접촉 상태를 견고하게 유지한다.The fixing part 200 functions to maintain the connection state between the conductive part 100 and the electrode tab t. In other words, the fixing part 200 firmly maintains the contact state between the conductive part 100 and the electrode tab t so that the conductive part 100 and the electrode tab t are not electrically disconnected from each other.

특히, 본 발명에 따른 이차 전지 고정 지그의 고정부(200)는, 상부 블록(210) 및 하부 블록(220)을 구비하여 전극 탭(t)을 가압 고정할 수 있다. 여기서, 상부 블록(210) 및 하부 블록(220) 중 적어도 하나의 블록은 상하 방향으로 이동할 수 있다. 이를 통해, 상부 블록(210)과 하부 블록(220) 사이에 개재된 전극 탭(t)은 상부 블록(210)과 하부 블록(220)에 의해 가압 고정되어 전극 탭(t)과의 접촉 상태가 안정적으로 유지될 수 있다.Particularly, the securing part 200 of the secondary battery fixing jig according to the present invention includes the upper block 210 and the lower block 220 to press-fix the electrode tab t. Here, at least one block of the upper block 210 and the lower block 220 can move up and down. The electrode tab t sandwiched between the upper block 210 and the lower block 220 is pressed and fixed by the upper block 210 and the lower block 220 to be in contact with the electrode tab t And can be stably maintained.

바람직하게는, 상기 고정부(200)는, 2개의 지지부재(230, 230a, 230b) 및 이러한 지지부재(230, 230a, 230b)를 회전가능하게 하는 회전축(240)을 더 구비할 수 있다.The fixing unit 200 may further include two support members 230 and 230a and a rotation shaft 240 for rotating the support members 230 and 230a and 230b.

상기 지지부재(230, 230a, 230b)는, 상부 블록(210) 및 하부 블록(220)의 일단에 각각 연결될 수 있다. 즉, 도 2에 도시된 바와 같이 지지부재(230, 230a, 230b)는 상부 블록(210)에 하나, 하부 블록(220)에 하나씩 연결될 수 있다. 이러한 2개의 지지부재(230a, 230b)는 일부 지점에서 상호 교차되고, 2개의 지지부재(230a, 230b)가 상호 교차되는 지점에는 회전축(240)이 구비될 수 있다. 도 2에 도시된 바와 같이 지지부재(230b)는 회전축(240)을 중심으로 화살표 방향으로 회전할 수 있다. 다시 말해, 지지부재(230b)가 회전함으로써, 2개의 지지부재(230a, 230b)가 이루는 각도가 조절될 수 있다. 예를 들어, 도면의 우측에 표시된 화살표(F) 방향으로 지지부재(230b)에 힘이 가해지면, 2개의 지지부재(230a, 230b) 사이의 각도가 좁아지고, 지지부재(230b)에 연결된 상부 블록(210)이 하방으로 이동하여, 상부 블록(210)과 하부 블록(220) 사이에 개재된 전극 탭(t)을 가압하여 고정할 수 있다.The support members 230, 230a and 230b may be connected to one end of the upper block 210 and the lower block 220, respectively. That is, as shown in FIG. 2, the support members 230, 230a and 230b may be connected to the upper block 210 and one to the lower block 220, respectively. The two support members 230a and 230b may intersect at some point and the rotation axis 240 may be provided at a point where the two support members 230a and 230b cross each other. As shown in FIG. 2, the support member 230b may be rotated in the direction of the arrow about the rotation axis 240. In other words, as the support member 230b rotates, the angle formed by the two support members 230a and 230b can be adjusted. For example, when a force is applied to the support member 230b in the direction of the arrow F shown on the right side of the drawing, the angle between the two support members 230a and 230b becomes narrow, The block 210 moves downward so that the electrode tab t sandwiched between the upper block 210 and the lower block 220 can be pressed and fixed.

이를 통해, 전극 탭(t)과 도전부(100)가 접촉되고, 양자가 접촉된 상태가 견고하게 유지될 수 있다. 이후 충방전부를 통해 전류가 흐르게 되면, 전극 탭(t)이 부착된 이차 전지(s)의 충방전 테스트를 수행할 수 있게 된다. Thereby, the electrode tab (t) and the conductive portion (100) are brought into contact with each other, and the contact state between them can be firmly maintained. Then, when a current flows through the charge / discharge unit, the charge / discharge test of the secondary battery s with the electrode tab t can be performed.

한편, 도 2의 실시예에서, 하부 블록(220)은 지면에 고정되어 상하 방향으로 이동할 수 없도록 구성되고, 상부 블록(210)은 상하 방향으로 이동 가능하도록 구성되어 있다. 다만, 이러한 구성은 하나의 실시예이므로 본 발명은 이러한 실시예에 제한되지 않으므로, 하부 블록(220)만 상하 방향으로 이동할 수 있도록 구성되거나, 후술할 도 5에 도시된 실시예와 마찬가지로, 상부 블록(210) 및 하부 블록(220) 모두가 상하 방향으로 이동할 수 있도록 구성될 수도 있음은 물론이다.In the embodiment of FIG. 2, the lower block 220 is fixed to the ground so that it can not move in the vertical direction, and the upper block 210 is configured to be movable in the vertical direction. However, since the present invention is not limited to such an embodiment, the lower block 220 may be configured to be vertically movable, or may be configured such that, as in the embodiment shown in FIG. 5 described later, Both the upper block 210 and the lower block 220 may be configured to be movable in the vertical direction.

바람직하게는, 상기 2개의 지지부재(230a, 230b) 중 적어도 하나의 지지부재(230a, 230b)는, 상부 암(231, 231a, 231b)과 하부 암(232, 232a, 232b)을 구비할 수 있고, 이러한 상부 암(231, 231a, 231b)은, 하부 암(232, 232a, 232b)을 중심으로 회전가능하게 구성될 수 있다. 더욱 바람직하게는, 이러한 상부 암(231, 231a, 231b)이 회전하여 상부 블록(210) 및/또는 하부 블록(220)을 상하 방향으로 이동시킨 다음, 더 이상 상부 블록(210) 및/또는 하부 블록(220)이 상하 방향으로 이동하지 않도록 상부 암(231, 231a, 231b)이 하부 암(232, 232a, 232b)을 중심으로 회전하는 것을 방지하는 고정 유닛(270)을 더 구비할 수 있다.The support members 230a and 230b of at least one of the two support members 230a and 230b may have upper arms 231 and 231a and 231b and lower arms 232 and 232a and 232b. The upper arms 231, 231a, and 231b may be configured to be rotatable about the lower arms 232, 232a, and 232b. More preferably, the upper arms 231, 231a and 231b are rotated to move the upper block 210 and / or the lower block 220 in the vertical direction, and then the upper block 210 and / A fixing unit 270 may be provided to prevent the upper arms 231, 231a and 231b from rotating about the lower arms 232, 232a and 232b so that the block 220 does not move in the vertical direction.

이에 대해서는 도 3a 내지 도 4를 참조하여 상세히 설명하도록 한다.This will be described in detail with reference to FIGS. 3A to 4.

도 3a 내지 도 3c는 본 발명의 다른 실시예에 따른 이차 전지 고정 지그를 이용하여 이차 전지를 고정하는 모습을 개략적으로 나타낸 도면으로서, 보다 상세하게는, 도 3a는 하부 블록에 연결된 상부 암이 회전함으로써, 하부 블록을 상하 방향으로 이동시키는 모습을 개략적으로 나타낸 도면이고, 도 3b는 하부 블록이 상 방향으로 이동한 후 고정 유닛에 의해 고정된 모습을 개략적으로 나타낸 도면이며, 도 3c는 도 3b에서 상부 블록이 전극 탭을 평행하게 가압하는 모습을 개략적으로 나타낸 도면이다. 도 4는 도 3c의 A부분을 확대하여 나타낸 사시도이다.FIGS. 3A to 3C are views schematically showing a secondary battery fixing jig using a secondary battery fixing jig according to another embodiment of the present invention. More specifically, FIG. 3B is a view schematically showing a state in which the lower block is moved upward and then fixed by the fixed unit, and FIG. 3C is a sectional view And the upper block presses the electrode tab in parallel. 4 is an enlarged perspective view of part A of FIG. 3C.

도 3a 및 도 3c를 참조하면, 하부 블록(220)에 연결된 지지부재(230a)는 상부 암(231a)과 하부 암(232a)을 구비하고 있고, 상부 암(231a)은 하부 암(232a)을 중심으로 회전가능하도록 구성되어 있다. 즉, 상부 암(231a)은 하부 암(232a)을 중심으로 화살표 방향으로 회전할 수 있다. 여기서, 도면에 도시된 바와 같이, 상부 암(231a)이 하부 암(232a)을 중심으로 회전가능하도록 구성되기 위해 상부 암(231a)과 하부 암(232a) 사이에 회전 축(250)이 더 구비될 수도 있다. 이때, 상부 암(231a)이 화살표 방향 중 시계 방향으로 회전하면 상부 암(231a)에 연결된 하부 블록(220)이 상 방향으로 이동하게 되고, 이와 달리 상부 암(231a)이 반시계 방향으로 회전하면 상부 암(231a)에 연결된 하부 블록(220)이 하 방향으로 이동하게 된다. 도 3a에서 전극 탭(t)과 하부 블록(220)은 소정 거리 이격된 상태이다. 이러한 상황은 예를 들어, 이차 전지(s)의 두께(d)가 두꺼운 경우에 발생할 수 있는데, 본 발명에 따르면, 이차 전지(s)의 두께(d)가 두꺼운 경우에도 전극 탭(t)과 도전부(100)를 연결하고 이러한 연결 상태를 고정할 수 있다. 즉, 이차 전지(s)의 두께(d)가 두꺼워 하부 블록(220)과 전극 탭(t)이 접촉되지 않는 경우라고 하더라도, 상부 암(231a)이 시계 방향으로 회전하여 하부 블록(220)을 상 방향으로 이동시킴으로써, 전극 탭(t)과 하부 블록(220)이 접촉될 수 있다. 3A and 3C, the support member 230a connected to the lower block 220 includes an upper arm 231a and a lower arm 232a, and the upper arm 231a includes a lower arm 232a, And is rotatable around the center. That is, the upper arm 231a can rotate in the direction of the arrow about the lower arm 232a. Here, as shown in the drawing, the upper arm 231a is further provided with a rotation shaft 250 between the upper arm 231a and the lower arm 232a so as to be rotatable about the lower arm 232a . At this time, when the upper arm 231a rotates clockwise in the arrow direction, the lower block 220 connected to the upper arm 231a moves upward, and when the upper arm 231a rotates counterclockwise The lower block 220 connected to the upper arm 231a moves downward. 3A, the electrode tab t and the lower block 220 are separated from each other by a predetermined distance. This situation can occur, for example, when the thickness d of the secondary battery s is large. According to the present invention, even when the thickness d of the secondary battery s is large, It is possible to connect the conductive parts 100 and fix the connection state. That is, even if the thickness d of the secondary battery s is thick and the lower block 220 and the electrode tab t are not in contact with each other, the upper arm 231a rotates clockwise to move the lower block 220 The electrode tab t and the lower block 220 can be brought into contact with each other.

전극 탭(t)과 하부 블록(220)이 접촉되면, 더 이상 하부 블록(220)이 이동하지 않도록 고정되는 것이 좋다. 따라서, 상부 암(231a)이 더 이상 하부 암(232a)을 중심으로 회전하지 않도록 고정 유닛(270)을 이용하여 상부 암(231a)의 회전을 방지하는 것이 좋다.When the electrode tab t and the lower block 220 are brought into contact with each other, it is preferable that the lower block 220 is fixed so as not to move. Therefore, it is preferable to prevent the upper arm 231a from rotating using the fixed unit 270 so that the upper arm 231a is no longer rotated about the lower arm 232a.

바람직하게는, 상기 고정 유닛(270)은, 볼트(B) 및 너트(N)를 포함할 수 있다. 고정 유닛(270)은 볼트(B) 및 너트(N)를 이용하여 상부 암(231, 231a, 231b)이 하부 암(232, 232a, 232b)을 중심으로 회전하는 것을 방지할 수 있다. Preferably, the fixed unit 270 may include a bolt B and a nut N. [ The fixing unit 270 can prevent the upper arms 231, 231a and 231b from rotating about the lower arms 232, 232a and 232b by using the bolts B and the nuts N. [

도 4의 상측 도면은 상부 암과 하부 암의 결합이 해제된 모습을 나타낸 도면이다. 도 4의 상측 도면을 참조하면, 상부 암(231a)과 하부 암(232a)에는 각각 홀(h1, h2)이 하나씩 형성되어 있고, 이러한 홀(h1, h2)에는 볼트(B)가 관통 결합될 수 있도록 구성되어 있다. 볼트(B)가 상부 암(231a)의 홀(h1)과 하부 암(232a)의 홀(h2)을 관통하면, 볼트(B)의 선단에 너트(N)가 볼트 결합될 수 있다. 이와 같이 볼트(B) 및 너트(N)가 볼트 결합되면 상부 암(231a)이 하부 암(232a)을 중심으로 회전하는 것이 방지될 수 있다.4 is a view showing a state in which the upper arm and the lower arm are disengaged from each other. 4, each of the upper arm 231a and the lower arm 232a is provided with one or more holes h1 and h2, and the bolts B are inserted into the holes h1 and h2 . When the bolt B passes through the hole h1 of the upper arm 231a and the hole h2 of the lower arm 232a, the nut N can be bolted to the tip of the bolt B. When the bolts B and the nuts N are bolted together, the upper arm 231a can be prevented from rotating about the lower arm 232a.

한편, 이러한 상태에서, 즉, 도 3b와 같이 전극 탭(t)에 하부 블록(220)이 견고하게 접촉된 상태에서, 상부 블록(210)에 연결된 지지부재(230b)의 우측에 화살표(F) 방향의 외력이 가해지면 회전축(240)을 중심으로 지지부재(230b)가 반시계 방향으로 회전하게 된다. 이에 따라, 지지부재(230b)에 연결된 상부 블록(210)은 하 방향으로 이동하여 전극 탭(t)을 가압하게 되고, 도 3c에 도시된 바와 같이, 전극 탭(t)은 상부 블록(210)과 하부 블록(220)에 의해 압착되어 이차 전지 고정 지그에 안정적으로 결합될 수 있다.3B, in a state where the lower block 220 is firmly in contact with the electrode tab t, an arrow F is formed on the right side of the support member 230b connected to the upper block 210, The support member 230b rotates in the counterclockwise direction about the rotation axis 240. [ The upper block 210 connected to the support member 230b moves downward to press the electrode tab t and the electrode tab t is pressed against the upper block 210, And the lower block 220 to be stably coupled to the secondary battery fixing jig.

바람직하게는, 상부 블록 및 하부 블록 중 적어도 하나는 지지부재를 중심으로 회전가능하게 구성될 수 있다. 이에 대해서는 도 2 내지 도 3c를 참조하여 상세하게 설명하도록 한다.Preferably, at least one of the upper block and the lower block is rotatable about the support member. This will be described in detail with reference to Figs. 2 to 3C.

먼저, 도 2를 참조하면, 도 2에 도시된 이차 전지 고정 지그는 상부 지그(210)와 지지부재(230b) 사이에 회전축(260)을 구비하고 있다. 이로 인해, 상부 지그(210)는 지지부재(230b)를 중심으로 회전할 수 있다. 즉, 하부 지그(220)는 지지부재(230a)와 고정된 상태로 지지부재(230a)와 연결되어 있는 것에 반해, 상부 지그(210)는 회전축(260)을 중심으로 회전가능한 상태로 지지부재(230b)와 연결되어 있다. 이로 인해, 상부 지그(210)가 전극 탭(t)을 가압 고정할 때 전극 탭(t)과 상부 지그(210)는 서로 평행한 상태로 접촉될 수 있다. 이로 인해, 상부 지그(210) 및 하부 지그(220) 사이에 전극 탭(t)이 견고하게 고정될 수 있을 뿐만 아니라, 상부 지그(210) 및 하부 지그(220)와 전극 탭(t)이 넓은 접촉면을 가진 상태로 접촉될 수 있어, 이차 전지 충방전 실험 과정에서 전기적 저항값이 감소될 수 있다.Referring to FIG. 2, the secondary battery fixing jig shown in FIG. 2 includes a rotating shaft 260 between the upper jig 210 and the supporting member 230b. Thus, the upper jig 210 can rotate about the support member 230b. That is, the upper jig 210 is connected to the support member 230a while being rotatable about the rotation axis 260, while the lower jig 220 is connected to the support member 230a in a fixed state with the support member 230a 230b. Therefore, when the upper jig 210 presses and fixes the electrode tab t, the electrode tab t and the upper jig 210 can be in parallel contact with each other. As a result, not only the electrode tab t can be securely fixed between the upper and lower jigs 210 and 220 but also the upper and lower jigs 210 and 220 and the electrode tabs t It is possible to contact the battery with the contact surface, and the electrical resistance value can be reduced in the charging / discharging test of the secondary battery.

다음으로, 도 3a 내지 도 3c를 참조하면, 상부 지그(210) 및 하부 지그(220)는 모두 각각의 지그에 연결된 지지부재(230a, 230b)를 중심으로 회전가능하게 구성되어 있다. 즉, 상부 지그(210)는 지지부재(230b)에 구비된 회전축(260)을 중심으로 회전가능하게 구성되어 있고, 하부 지그(220)는 지지부재(230a)의 상부 암(231a)에 구비된 회전축(260)을 중심으로 회전가능하도록 구성되어 있다. Referring to FIGS. 3A to 3C, the upper jig 210 and the lower jig 220 are both rotatable about support members 230a and 230b connected to the respective jigs. That is, the upper jig 210 is configured to be rotatable about a rotation axis 260 provided on the support member 230b, and the lower jig 220 is configured to be rotatable about the rotation axis 260 provided on the upper arm 231a of the support member 230a And is configured to be rotatable about a rotary shaft 260.

따라서, 먼저 하부 지그(220)를 전극 탭(t)에 접촉하는 과정에서 도 3b와 같이 하부 지그(220)와 전극 탭(t)이 평행한 상태로 접촉할 수 있다. 또한, 도 3c에 잘 나타나 있는 바와 같이, 상부 지그(210)가 전극 탭(t)을 가압할 때, 상부 지그(210)와 전극 탭(t)이 평행한 상태로 접촉할 수 있다. 이에 따라 전극 탭(t)이 상부 지그(210) 및 하부 지그(220) 사이에 견고하게 고정될 수 있고, 이차 전지 충방전 실험시 전기적 저항값이 감소될 수 있다.3B, the lower jig 220 and the electrode tab t may be in parallel contact with each other in the process of contacting the lower jig 220 with the electrode tab t. 3C, when the upper jig 210 presses the electrode tab t, the upper jig 210 and the electrode tab t can be in contact with each other in parallel. Accordingly, the electrode tab t can be firmly fixed between the upper jig 210 and the lower jig 220, and the electrical resistance value can be reduced in the charge / discharge test of the secondary battery.

또한 바람직하게는, 본 발명에 따른 이차 전지 고정 지그는, 탄성부재(280)를 더 포함할 수 있다. 상기 탄성부재(280)는, 상술한 2개의 지지부재(230, 230a, 230b) 사이에 결합되어 탄성력을 제공할 수 있으며, 탄성부재는 일 예로 스프링(280)일 수 있으나 이에 한정되지 않는다.Also, preferably, the secondary battery fixing jig according to the present invention may further include an elastic member 280. The elastic member 280 may be coupled between the two support members 230, 230a and 230b to provide an elastic force. The elastic member 280 may be, for example, a spring 280, but is not limited thereto.

도 5는 본 발명의 또 다른 실시예에 따른 이차 전지 고정 지그를 이용하여 이차 전지를 고정하는 모습을 개략적으로 나타낸 도면이다.FIG. 5 is a view schematically illustrating the securing of the secondary battery using the secondary battery fixing jig according to another embodiment of the present invention.

도 5를 참조하면, 본 발명의 또 다른 실시예에 따른 이차 전지 고정 지그는, 2개의 지지부재(230a, 230b)가 모두 상부 암(231a, 231b)과 하부 암(232a, 232b)을 구비하고 있다. 다시 말해, 상부 블록(210)에 연결된 지지부재(230b) 및 하부 블록(220)에 연결된 지지부재(230a)가 각각 상부 암(231a, 231b)과 하부 암(232a, 232b)을 구비하고 있다. 또한, 각각의 상부 암(231a, 231b)은 하부 암(232a, 232b)을 중심으로 회전가능하도록 회전축(260)을 구비하고 있으며, 상부 암(231a, 231b)이 더 이상 하부 암(231a, 232b)을 중심으로 회전하지 않도록 하는 고정 유닛(270)을 구비하고 있다. 뿐만 아니라, 상부 지그(210) 및 하부 지그(220)는 모두 각각의 지그에 연결된 지지부재(230a, 230b)를 중심으로 회전가능하게 구성되어 있다. 즉, 상부 지그(210)는 지지부재(230b)의 상부 암(231b)에 구비된 회전축(260)을 중심으로 회전가능하게 구성되어 있고, 하부 지그(220)는 지지부재(230a)의 상부 암(231a)에 구비된 회전축(260)을 중심으로 회전가능하도록 구성되어 있다.5, in the secondary battery fixing jig according to another embodiment of the present invention, the two support members 230a and 230b include upper and lower arms 231a and 231b and lower arms 232a and 232b have. In other words, the support member 230b connected to the upper block 210 and the support member 230a connected to the lower block 220 include upper and lower arms 231a and 231b and lower arms 232a and 232b, respectively. Each of the upper arms 231a and 231b is provided with a rotary shaft 260 so as to be rotatable around the lower arms 232a and 232b and the upper arms 231a and 231b are connected to the lower arms 231a and 232b (Not shown). In addition, the upper jig 210 and the lower jig 220 are both rotatable about support members 230a and 230b connected to the respective jigs. The upper jig 210 is rotatable around a rotation axis 260 provided on the upper arm 231b of the support member 230b and the lower jig 220 is rotatably supported on the upper arm 231b of the support member 230b. And is configured to be rotatable around a rotation axis 260 provided on the first shaft 231a.

또한 본 발명의 또 다른 실시예에 따른 이차 전지 고정 지그는, 도 5에 도시된 바와 같이, 2개의 지지부재(230, 230a, 230b) 사이에 스프링(280)이 결합 되어 있다. 그리고, 이러한 스프링(280)은 2개의 지지부재(230, 230a, 230b)가 서로 가까워지는 방향으로 탄성력을 제공하도록 구성된 상태이다. 본 발명이 속하는 기술 분야에서 통상의 지식을 가진 자는 상기 2개의 지지부재(230, 230a, 230b)의 거리와 스프링(280)의 길이를 고려하여, 스프링(280)이 2개의 지지부재(230, 230a, 230b)가 서로 가까워지는 방향으로 탄성력을 제공하도록 하는 적절할 스프링(280)을 선택할 수 있을 것이다.5, a spring 280 is coupled between two support members 230, 230a, and 230b. In the secondary battery fixing jig according to another embodiment of the present invention, as shown in FIG. The spring 280 is configured to provide an elastic force in a direction in which the two support members 230, 230a, and 230b approach each other. Those skilled in the art will appreciate that the spring 280 may be disposed between the two support members 230, 230a, 230b in consideration of the distance between the two support members 230, 230a, 230b and the length of the spring 280. [ 230a, 230b to provide a resilient force in the direction of approaching each other.

이러한 실시예에 의하면 상부 블록(210)과 하부 블록(220) 사이에 전극 탭(t)을 개재시킨 상태에서 지지부재(230, 230a, 230b)의 우측에 가해지는 외력을 제거하면 스프링(280)의 탄성력에 의해 상부 블록(210)과 하부 블록(220)이 전극 탭(t)을 가압할 수 있다. According to this embodiment, when the external force applied to the right side of the support members 230, 230a, 230b is removed while the electrode tab t is interposed between the upper block 210 and the lower block 220, The upper block 210 and the lower block 220 can press the electrode tabs t.

다시 말해, 상부 블록(210)과 연결된 지지부재(230, 230a, 230b)에 F1방향의 힘이 가해지고, 하부 블록(220)과 연결된 지지부재(230, 230a, 230b)에 F1'방향의 힘이 가해져서, 상부 블록(210)과 하부 블록(220)이 서로 멀어지는 방향으로 힘을 가한 상태에서, 상부 블록(210)과 하부 블록(220) 사이에 전극 탭(t)이 개재되고, F1 및 F1'의 힘이 제거되면, 스프링(280)의 탄성력에 의해 상부 블록(210)과 하부 블록(220)이 서로 가까워지는 방향으로 상하 이동하게 되고 이로 인해 상부 블록(210)과 하부 블록(220)이 전극 탭(t)을 가압할 수 있다.In other words, a force in the F1 direction is applied to the support members 230, 230a and 230b connected to the upper block 210, and a force in the F1 'direction is applied to the support members 230, 230a and 230b connected to the lower block 220 The electrode tab t is interposed between the upper block 210 and the lower block 220 in a state in which the upper block 210 and the lower block 220 are urged away from each other, The upper block 210 and the lower block 220 are moved upward and downward by the elastic force of the spring 280 so that the upper block 210 and the lower block 220 move up and down, The electrode tab t can be pressed.

이 경우, 전극 탭(t)을 가압하는 힘은 스프링(280)의 탄성력에 의존하므로 가압력을 일정하게 유지하는 것이 용이하다. 따라서, 이러한 실시예에 따르면, 충방전 실험시 전기적 저항값을 일정하게 유지하는 것이 용이한 장점이 있다.In this case, since the force for pressing the electrode tab t depends on the elastic force of the spring 280, it is easy to keep the pressing force constant. Therefore, according to this embodiment, there is an advantage that it is easy to maintain a constant electrical resistance value in a charge / discharge test.

본 발명에 따른 이차 전지 충방전 장치는 상술한 이차 전지 고정 지그를 포함할 수 있다. The secondary battery charging and discharging apparatus according to the present invention may include the above-described secondary battery fixing jig.

도 6은 본 발명의 일 실시예에 따른 이차 전지 충방전 장치를 개략적으로 나타낸 도면이다. 도 6을 참조하면, 이러한 이차 전지 충방전 장치는, 상술한 이차 전지 고정 지그를 이용하여 이차 전지 충방전 장치에 이차 전지(s)를 안정적으로 장착할 수 있다. 6 is a schematic view of a secondary battery charging / discharging apparatus according to an embodiment of the present invention. Referring to FIG. 6, the secondary battery charging / discharging apparatus can stably mount the secondary battery s in the secondary battery charging / discharging apparatus using the secondary battery fixing jig.

바람직하게는, 이차 전지 충방전 장치는, 충방전부(c)를 더 포함할 수 있다. 이러한 충방전부(c)는, 전선(l)을 통해 이차 전지 고정 지그의 도전부(100)와 연결되어 이차 전지(s)에 충전 전원을 공급하거나, 이차 전지(s)로부터 방전 전원을 공급받아 이차 전지(s)를 충전하거나 방전할 수 있다. 한편, 도 6에서 충방전부는 이차 전지 고정 지그의 좌측에 위치하는 것으로 도시되어 있다. 이는 충방전부(c)와 도전부(100)가 전선(l)에 의해 전기적으로 연결되어 있다는 것을 명확하게 보여주기 위한 것으로, 본 발명에 따른 이차 전지 충방전 장치는 이러한 충방전부(c)의 위치에 제한되지 않는다.Preferably, the secondary battery charge / discharge device may further include a charging / discharging portion (c). The charging unit c is connected to the conductive unit 100 of the secondary battery fixing jig through the electric wire 1 to supply the charging power to the secondary battery s or to receive the discharging power from the secondary battery s The secondary battery s can be charged or discharged. In FIG. 6, the charge / discharge unit is shown on the left side of the secondary battery fixing jig. This is to clearly show that the charging part (c) and the conductive part (100) are electrically connected by the electric wire (1). The secondary battery charging / .

또한 바람직하게는, 상기 이차 전지 충방전 장치는, 이차 전지 고정 지그를 소정 각도 기울일 수 있도록 하는 틸팅 디바이스를 더 포함할 수 있다. 예를 들어, 틸팅 디바이스는, 도 6에 도시된 바와 같이 이차 전지 고정 지그를 지면에 고정시키는 지지대(G)에 고정된 상태에서 회전축(240)을 중심으로 이차 전지 고정 지그가 화살표(r) 방향으로 소정 각도 회전 가능하도록 구성될 수 있다. 이와 같이, 틸팅 디바이스에 의해 이차 전지 고정 지그가 소정 각도 기울어질 수 있으면, 이차 전지의 전극 탭(t)이 이차 전지 고정 지그보다 높은 곳에 위치하더라도 전극 탭(t)을 과도하게 구부리지 않고도 전극 탭(t)과 이차 전지 고정 지그를 연결할 수 있다. 즉, 이러한 경우, 이차 전지 고정 지그는 도 6에 표시된 화살표(r)를 따라 시계 방향으로 소정 각도 기울어진 후, 전극 탭(t)을 가압하여 고정할 수 있다. Preferably, the secondary battery charging and discharging device further includes a tilting device for tilting the secondary battery fixing jig at a predetermined angle. For example, as shown in FIG. 6, when the secondary battery fixing jig is rotated about the rotation axis 240 in the direction of the arrow r (r) in a state where the secondary battery fixing jig is fixed to the support G for fixing the secondary battery fixing jig to the ground, As shown in Fig. As described above, even if the secondary battery fixing jig can be inclined at a predetermined angle by the tilting device, even if the electrode tab t of the secondary battery is positioned higher than the secondary battery fixing jig, the electrode tab t can be prevented from being excessively bent t) and the secondary battery fixing jig can be connected. That is, in such a case, the secondary battery fixing jig may be tilted clockwise along the arrow r shown in FIG. 6 by a predetermined angle, and then the electrode tab t can be pressed and fixed.

또한, 이차 전지(s)의 전극 탭(t)이 이차 전지 고정 지그보다 낮은 곳에 위치하는 경우에는 이차 전지 고정 지그는 도 6에 표시된 화살표(r)를 따라 시계 반대 방향으로 소정 각도 기울어진 후, 전극 탭(t)을 가압하여 고정할 수 있다.When the electrode tab t of the secondary battery s is positioned lower than the secondary battery fixing jig, the secondary battery fixing jig is inclined at a predetermined angle counterclockwise along the arrow r shown in Fig. 6, The electrode tabs t can be pressed and fixed.

만약, 이차 전지(s)의 전극 탭(t)이 이차 전지 고정 지그 보다 상당히 높은 곳에 위치하거나 상당히 낮은 곳에 위치할 경우, 전극 탭(t)과 이차 전지 고정 지그가 연결되기 위해서는 전극 탭(t)을 과도하게 구부려야 한다. 이러한 과정에서 전극 탭(t)에 과도한 장력이 가해질 수 있어, 전극 탭(t)이 이차 전지(s)로부터 분리되거나, 전극 탭(t)의 일부분이 찢어지는 등의 변형 내지 파손이 발생할 수 있다. When the electrode tab t of the secondary battery s is located at a significantly higher position than the secondary battery fixing jig or is located at a significantly lower position, Should be bent excessively. In this process, an excessive tension may be applied to the electrode tab t, so that the electrode tab t may be separated from the secondary battery s or a portion of the electrode tab t may be deformed or broken, for example, .

그러나, 상술한 틸팅 디바이스에 의하면, 이차 전지(s)의 전극 탭(t)이 이차 전지 고정 지그보다 비교적 높은 곳에 위치하거나 비교적 낮은 곳에 위치하는 경우에도, 이차 전지 고정 지그가 전극 탭(t)을 제대로 가압하여 고정하도록 할 수 있다. 즉, 전극 탭(t)이 과도하게 구부러지지 않아도, 이차 전지 고정 지그가 전극 탭(t)을 제대로 가압하여 고정할 수 있다.However, according to the above-described tilting device, even when the electrode tab t of the secondary battery s is positioned at a relatively higher or relatively lower position than the secondary battery fixing jig, It can be properly pressed and fixed. That is, even if the electrode tab t is not excessively bent, the secondary battery fixing jig can firmly press and fix the electrode tab t.

또한 바람직하게는, 상기 이차 전지 충방전 장치는, 이차 전지 고정 지그를 수평 방향으로 이동할 수 있도록 하는 수평 이동 디바이스를 더 포함할 수 있다. 이러한 수평 이동 디바이스는 이차 전지 고정 지그를 수평 방향으로 이동할 수 있도록 하는 기능을 갖는 다양한 장치를 의미한다. 예를 들어, 수평 이동 디바이스는 레일, 가이드 프레임을 구비하고 가이드 프레임을 따라 이차 전지 고정 지그가 슬라이딩하여 수평 방향으로 이동할 수 있도록 구현될 수 있으며, 이외의 공지된 수평 이동 수단을 포함하여 구현될 수도 있음은 물론이다. 이러한, 수평 이동 디바이스는, 도 6에 도시된 바와 같이 이차 전지 고정 지그가 화살표(x) 방향으로 수평 이동 가능하도록 구성될 수 있다. The secondary battery charging and discharging device may further include a horizontal moving device for moving the secondary battery fixing jig in a horizontal direction. The horizontal moving device refers to various devices having a function of moving the secondary battery fixing jig in the horizontal direction. For example, the horizontal moving device may include a rail and a guide frame, and the secondary battery fixing jig may be slid along the guide frame to move horizontally, and may be implemented with other known horizontal moving means Of course it is. Such a horizontal moving device may be configured such that the secondary battery fixing jig is horizontally movable in the direction of arrow x as shown in Fig.

이러한 수평 이동 디바이스에 의하면, 이차 전지 고정 지그가 수평 방향으로 이동할 수 있으므로, 이차 전지(s)의 위치에 구애받지 않고도 이차 전지 고정 지그가 이차 전지(s)에 부착된 전극 탭(t)을 가압하여 고정할 수 있다. 예를 들어, 수평 이동 디바이스는, 이차 전지(s)가 이차 전지 고정 지그로부터 멀리 떨어진 경우, 이차 전지 고정 지그를 이차 전지(s) 근처로 수평 이동시키고, 이와 달리 이차 전지(s)가 이차 전지 고정 지그에 지나치게 근접한 곳에 위치한 경우, 이차 전지 고정 지그를 이차 전지(s)로부터 다소 먼 곳으로 수평 이동시켜 적절한 위치에 이차 전지 고정 지그가 위치하도록 할 수 있다. 이로 인해, 이차 전지 고정 지그는 이차 전지(s)의 위치에 구애받지 않고, 전극 탭(t)을 가압하여 고정할 수 있다.According to such a horizontal moving device, since the secondary battery fixing jig can move in the horizontal direction, the secondary battery fixing jig can press the electrode tab t attached to the secondary battery s without depending on the position of the secondary battery s. So that it can be fixed. For example, when the secondary battery s is away from the secondary battery fixing jig, the horizontal moving device moves the secondary battery fixing jig horizontally to the vicinity of the secondary battery s, The secondary battery fixing jig may be horizontally moved from the secondary battery s to a position farther away from the secondary battery so that the secondary battery fixing jig can be positioned at an appropriate position. As a result, the secondary battery fixing jig can pressurize and fix the electrode tab (t) regardless of the position of the secondary battery (s).

또한 바람직하게는, 상기 이차 전지 충방전 장치는, 이차 전지 고정 지그를 지면에 대하여 수직 방향으로 이동할 수 있도록 하는 수직 이동 디바이스를 더 포함할 수 있다. 이러한 수직 이동 디바이스는 이차 전지 고정 지그를 수직 방향으로 이동할 수 있도록 하는 기능을 갖는 다양한 장치를 의미한다. 예를 들어, 수직 이동 디바이스는, 승강 레일, 가이드 프레임을 구비하고 나사축으로 형성된 회전축(240)을 회전시켜 이차 전지 고정 지그를 상하 방향으로 이동할 수 있도록 구현될 수 있고, 유압 실린더를 구비하여 이차 전지 고정 지그를 상하 방향으로 이동할 수 있도록 구현될 수도 있으며, 이외의 공지된 승강 수단을 포함하여 구현될 수도 있음은 물론이다. 이러한, 수직 이동 디바이스는, 도 6에 도시된 바와 같이 이차 전지 고정 지그가 화살표(y) 방향으로 수직 이동 가능하도록 구성될 수 있다.Preferably, the secondary battery charging and discharging device may further include a vertical moving device that allows the secondary battery fixing jig to move in a direction perpendicular to the paper surface. The vertical moving device refers to various devices having a function of moving the secondary battery fixing jig in the vertical direction. For example, the vertical movement device can be implemented so as to move the secondary battery fixing jig in the vertical direction by rotating the rotation shaft 240 having the elevating rail and the guide frame formed of the screw shaft, The battery fixing jig may be configured to be movable in the vertical direction, or may be realized by including other known elevating means. The vertical moving device may be configured such that the secondary battery fixing jig is vertically movable in the direction of arrow y as shown in FIG.

이러한 수직 이동 디바이스에 의하면, 이차 전지 고정 지그가 수직 방향으로 이동할 수 있으므로, 이차 전지(s)의 두께에 구애받지 않고도, 이차 전지 고정 지그가 이차 전지(s)에 부착된 전극 탭(t)을 가압하여 고정할 수 있다. 예를 들어, 수직 이동 디바이스는, 이차 전지(s)의 두께가 두꺼운 경우, 이차 전지 고정 지그를 상 방향으로 이동시키고, 이와 반대로, 이차 전지(s)의 두께가 얇은 경우, 이차 전지 고정 지그를 하 방향으로 이동시킬 수 있다. 이로 인해, 이차 전지 고정 지그는 이차 전지(s)의 두께에 구애받지 않고도, 전극 탭(t)을 가압하여 고정할 수 있다.According to such a vertical moving device, the secondary battery fixing jig can move in the vertical direction, so that the secondary battery fixing jig can hold the electrode tab t attached to the secondary battery s It can be fixed by pressing. For example, when the thickness of the secondary battery s is thick, the vertical moving device moves the secondary battery fixing jig upward. On the contrary, when the thickness of the secondary battery s is thin, Down direction. Thus, the secondary battery fixing jig can pressurize and fix the electrode tab (t) without depending on the thickness of the secondary battery (s).

한편, 도 6에 도시된 틸팅 디바이스, 수평 이동 디바이스 및/또는 수직 이동 디바이스의 구동 형태는, 일 실시예에 불과하므로, 본 발명이 이러한 실시예에 한정되는 것은 아니다. On the other hand, the driving form of the tilting device, the horizontal moving device, and / or the vertical moving device shown in FIG. 6 is only one embodiment, and therefore the present invention is not limited to such an embodiment.

본 발명에 따른 이차 전지 평가 장치는 상술한 이차 전지 고정 지그, 충방전부(c), 틸팅 디바이스, 수평 이동 디바이스 및/또는 수직 이동 디바이스를 포함할 수 있다. 이러한 이차 전지 평가 장치는 전극 탭(t)에 흐르는 전류 및/또는 전극 탭(t)에 인가되는 전압 등을 측정하여 이차 전지 평가 장치에 장착된 이차 전지(s)의 성능 내지 상태를 평가할 수 있다. 예를 들어, 이차 전지 평가 장치는, 상기 측정된 전류 및/또는 전압값이 미리 정해진 기준 값을 초과하거나 기준 값에 미달하는 경우 이차 전지(s)의 상태가 비정상인 것으로 평가할 수 있다.The secondary battery evaluation apparatus according to the present invention may include the secondary battery fixing jig, the charging unit (c), the tilting device, the horizontal moving device, and / or the vertical moving device. Such a secondary battery evaluating apparatus can evaluate the performance or state of the secondary battery s installed in the secondary battery evaluating apparatus by measuring the current flowing through the electrode tab t and / or the voltage applied to the electrode tab t . For example, the secondary battery evaluating apparatus can evaluate that the state of the secondary battery s is abnormal when the measured current and / or voltage value exceeds a predetermined reference value or falls below a reference value.

이상에서 본 발명은 비록 한정된 실시예와 도면에 의해 설명되었으나, 본 발명은 이것에 의해 한정되지 않으며 본 발명이 속하는 기술분야에서 통상의 지식을 가진 자에 의해 본 발명의 기술사상과 아래에 기재될 특허청구범위의 균등범위 내에서 다양한 수정 및 변형이 가능함은 물론이다.While the present invention has been particularly shown and described with reference to exemplary embodiments thereof, it is to be understood that the invention is not to be limited to the details thereof and that various changes and modifications will be apparent to those skilled in the art. And various modifications and variations are possible within the scope of the appended claims.

이상의 본 발명에 대한 상세한 설명 또는 도면에서, 상, 하, 좌, 우 등과 같은 용어의 사용은 하나의 요소를 다른 요소와 상대적으로 구분하기 위하여 사용되었으며, 설명의 효율성을 높이기 위한 도구적 개념일 뿐, 물리적인 위치, 선후 관계 등을 절대적인 기준에 의하여 구분하기 위하여 사용된 개념으로 해석되어서는 아니된다.In the foregoing description or drawings, the use of terms such as upper, lower, left, and right has been used to relatively divide one element from another, and is merely an instrumental concept for improving the efficiency of explanation , Physical location, posterior relations, etc., should not be construed as being used to distinguish by absolute criteria.

본 명세서의 개별적인 실시예에서 설명된 특징들은 단일 실시예에서 결합되어 구현될 수 있다. 반대로, 본 명세서에서 단일 실시예에서 설명된 다양한 특징들은 개별적으로 다양한 실시예에서 구현되거나, 적절한 부결합(subcombination)에서 구현될 수 있다.The features described in the individual embodiments herein may be combined and implemented in a single embodiment. Conversely, various features described herein in a single embodiment may be implemented in various embodiments individually or in a suitable subcombination.

s: 이차 전지
t: 전극 탭
100: 도전부
200: 고정부
210: 상부 블록
220: 하부 블록
230, 230a, 230b: 지지부재
231, 231a, 231b: 상부 암
232, 232a, 232b: 하부 암
240, 250, 260: 회전축
270: 고정 유닛
280: 탄성부재, 스프링
s: secondary battery
t: Electrode tab
100: conductive part
200:
210: upper block
220:
230, 230a, and 230b:
231, 231a, 231b:
232, 232a, 232b:
240, 250, 260:
270: Fixed unit
280: elastic member, spring

Claims (15)

이차 전지를 충전 또는 방전하는 장치에 사용되는 이차 전지 고정 지그에 있어서,
상기 이차 전지의 전극 탭과 접촉하여 전기적으로 연결되는 도전부; 및
상기 도전부와 상기 전극 탭의 연결 상태를 유지하는 고정부
를 포함하되,
상기 고정부는 상부 블록 및 하부 블록을 구비하고, 상기 상부 블록 및 상기 하부 블록 중 적어도 하나의 블록이 상하 방향으로 이동하여 상기 상부 블록 및 상기 하부 블록 사이에 상기 전극 탭이 가압 고정되도록 하는 것을 특징으로 하는 이차 전지 고정 지그.
A secondary battery fixing jig for use in an apparatus for charging or discharging a secondary battery,
A conductive part electrically connected to the electrode tab of the secondary battery in contact with the electrode tab; And
And a fixing portion for maintaining a connection state between the conductive portion and the electrode tab,
, ≪ / RTI &
Wherein at least one of the upper block and the lower block moves in the vertical direction so that the electrode tab is pressed and fixed between the upper block and the lower block. A secondary battery fixing jig.
제 1 항에 있어서,
상기 고정부는, 상기 상부 블록 및 상기 하부 블록의 일단에 각각 연결되어 일부 지점에서 상호 교차되게 형성된 2개의 지지부재 및 상기 2개의 지지부재가 상호 교차되는 지점에 상기 2개의 지지부재에 결합되어 상기 지지부재를 회전가능하게 하는 회전축을 더 구비하는 것을 특징으로 하는 이차 전지 고정 지그.
The method according to claim 1,
The fixing unit may include two support members which are connected to one ends of the upper block and the lower block so as to cross each other at a certain point and a support member which is coupled to the two support members at a point where the two support members cross each other, Further comprising a rotating shaft for rotating the member.
제 2 항에 있어서,
상기 2개의 지지부재 중 적어도 하나의 지지부재는,
상부 암 및 하부 암을 구비하고,
상기 상부 암이 상기 하부 암을 중심으로 회전가능하게 구성된 것을 특징으로 하는 이차 전지 고정 지그.
3. The method of claim 2,
Wherein at least one of the two support members comprises:
An upper arm and a lower arm,
Wherein the upper arm is rotatable around the lower arm.
제 3 항에 있어서,
상기 상부 암이 상기 하부 암을 중심으로 회전하는 것을 방지하는 고정 유닛을 더 구비하는 것을 특징으로 하는 이차 전지 고정 지그.
The method of claim 3,
Further comprising a fixing unit for preventing the upper arm from rotating about the lower arm.
제 4 항에 있어서,
상기 고정 유닛은, 볼트 및 너트를 포함하고,
상기 볼트는 상기 상부 암 및 상기 하부 암에 형성된 홀에 관통 결합되고,
상기 너트는 상기 홀에 관통 결합된 볼트와 볼트 결합하는 것을 특징으로 하는 것을 특징으로 하는 이차 전지 고정 지그.
5. The method of claim 4,
Wherein the fixed unit includes a bolt and a nut,
Wherein the bolt is inserted through holes formed in the upper arm and the lower arm,
And the nut is bolted to the bolt through the hole.
제 2 항에 있어서,
상기 상부 블록 및 상기 하부 블록 중 적어도 하나는 상기 지지부재를 중심으로 회전가능하게 구성된 것을 특징으로 하는 이차 전지 고정 지그.
3. The method of claim 2,
Wherein at least one of the upper block and the lower block is rotatable about the support member.
제 2 항에 있어서,
상기 2개의 지지부재 사이에 결합되는 탄성부재를 더 포함하는 것을 특징으로 하는 이차 전지 고정 지그.
3. The method of claim 2,
And an elastic member coupled between the two support members.
제 7 항에 있어서,
상기 탄성부재는 스프링인 것을 특징으로 하는 이차 전지 고정 지그.
8. The method of claim 7,
Wherein the elastic member is a spring.
제 1 항 내지 제 8 항 중 어느 한 항에 따른 이차 전지 고정 지그를 포함하는 것을 특징으로 하는 이차 전지 충방전 장치.A secondary battery charging / discharging apparatus comprising the secondary battery fixing jig according to any one of claims 1 to 8. 제 9 항에 있어서,
상기 이차 전지 고정 지그를 소정 각도 기울일 수 있도록 하는 틸팅 디바이스를 더 포함하는 것을 특징으로 하는 이차 전지 충방전 장치.
10. The method of claim 9,
Further comprising a tilting device for tilting the secondary battery fixing jig at a predetermined angle.
제 9 항에 있어서,
상기 이차 전지 고정 지그를 수평 방향으로 이동할 수 있도록 하는 수평 이동 디바이스를 더 포함하는 것을 특징으로 하는 이차 전지 충방전 장치.
10. The method of claim 9,
And a horizontal moving device for moving the secondary battery fixing jig in a horizontal direction.
제 9 항에 있어서,
상기 이차 전지 고정 지그를 지면에 대해 수직 방향으로 이동할 수 있도록 하는 수직 이동 디바이스를 더 포함하는 것을 특징으로 하는 이차 전지 충방전 장치.
10. The method of claim 9,
Further comprising a vertical movement device for allowing the secondary battery fixing jig to move in a direction perpendicular to the paper surface.
제 9 항에 있어서,
상기 도전부와 연결되어, 상기 이차 전지에 충전 전원을 공급하거나, 상기 이차 전지로부터 방전 전원을 공급받는 충방전부를 더 포함하는 것을 특징으로 하는 이차 전지 충방전 장치.
10. The method of claim 9,
And a charging / discharging unit connected to the conductive unit to supply charging power to the secondary battery or receive a discharging power from the secondary battery.
제 9 항에 있어서,
상기 이차 전지는, 파우치형 이차 전지인 것을 특징으로 하는 이차 전지 충방전 장치.
10. The method of claim 9,
Wherein the secondary battery is a pouch type secondary battery.
제 1 항 내지 제 8 항 중 어느 한 항에 따른 이차 전지 고정 장치를 포함하는 것을 특징으로 하는 이차 전지 평가 장치.A secondary battery evaluation device comprising the secondary battery fixing device according to any one of claims 1 to 8.
KR1020130131749A 2013-10-31 2013-10-31 Zig for fixing secondary battery and apparatus for charging and discharging secondary battery including the same Active KR101713182B1 (en)

Priority Applications (1)

Application Number Priority Date Filing Date Title
KR1020130131749A KR101713182B1 (en) 2013-10-31 2013-10-31 Zig for fixing secondary battery and apparatus for charging and discharging secondary battery including the same

Applications Claiming Priority (1)

Application Number Priority Date Filing Date Title
KR1020130131749A KR101713182B1 (en) 2013-10-31 2013-10-31 Zig for fixing secondary battery and apparatus for charging and discharging secondary battery including the same

Publications (2)

Publication Number Publication Date
KR20150050221A true KR20150050221A (en) 2015-05-08
KR101713182B1 KR101713182B1 (en) 2017-03-07

Family

ID=53388138

Family Applications (1)

Application Number Title Priority Date Filing Date
KR1020130131749A Active KR101713182B1 (en) 2013-10-31 2013-10-31 Zig for fixing secondary battery and apparatus for charging and discharging secondary battery including the same

Country Status (1)

Country Link
KR (1) KR101713182B1 (en)

Cited By (9)

* Cited by examiner, † Cited by third party
Publication number Priority date Publication date Assignee Title
KR20170112628A (en) * 2016-04-01 2017-10-12 주식회사 엘지화학 Rack-Typed Charging and Discharging Apparatus
KR20180096337A (en) * 2017-02-21 2018-08-29 주식회사 엘지화학 Rechargeable battery fixing epuipment for penetration test
KR20180137705A (en) * 2017-06-19 2018-12-28 에스케이이노베이션 주식회사 Zig for evaluating battery cell
KR20190002180A (en) * 2017-06-29 2019-01-08 주식회사 엘지화학 Jig apparatus for quality test of secondary battery
KR20190035338A (en) * 2017-09-26 2019-04-03 주식회사 엘지화학 Bending Device for Current Breaking Member of Battery Pack
KR20210077518A (en) 2019-12-17 2021-06-25 주식회사 엘지에너지솔루션 Device for charging and discharging battery cell and method for charging and discharging battery cell using the same
KR20210090417A (en) * 2020-01-10 2021-07-20 주식회사 엘지화학 Apparatus for collecting gas
DE102020212886B3 (en) 2020-10-13 2021-11-25 Thyssenkrupp Ag Fixing tool and tool arrangement for arrester tabs
KR20220148442A (en) 2021-04-29 2022-11-07 아이오티웨어(주) Gun management device

Families Citing this family (3)

* Cited by examiner, † Cited by third party
Publication number Priority date Publication date Assignee Title
KR102702689B1 (en) * 2018-09-06 2024-09-05 주식회사 엘지에너지솔루션 Battery cell folding gripper and battery cell folding device
WO2024136490A1 (en) * 2022-12-22 2024-06-27 주식회사 엘지에너지솔루션 Bus bar assembly and battery module comprising same
KR102580372B1 (en) * 2023-03-10 2023-09-19 주식회사 제이디 Jig and device for inspecting sealing surface of pouch-type secondary battery for laser heating

Citations (2)

* Cited by examiner, † Cited by third party
Publication number Priority date Publication date Assignee Title
KR20120006636A (en) * 2010-07-13 2012-01-19 (주)열린기술 Secondary battery charging device capable of charging a plurality of secondary batteries
KR20120029584A (en) * 2010-09-17 2012-03-27 주식회사 엘지화학 Battery fixing parts improving method of fixing battery and jig for charging and discharging of secondary battery with the battery fixing parts

Patent Citations (2)

* Cited by examiner, † Cited by third party
Publication number Priority date Publication date Assignee Title
KR20120006636A (en) * 2010-07-13 2012-01-19 (주)열린기술 Secondary battery charging device capable of charging a plurality of secondary batteries
KR20120029584A (en) * 2010-09-17 2012-03-27 주식회사 엘지화학 Battery fixing parts improving method of fixing battery and jig for charging and discharging of secondary battery with the battery fixing parts

Cited By (9)

* Cited by examiner, † Cited by third party
Publication number Priority date Publication date Assignee Title
KR20170112628A (en) * 2016-04-01 2017-10-12 주식회사 엘지화학 Rack-Typed Charging and Discharging Apparatus
KR20180096337A (en) * 2017-02-21 2018-08-29 주식회사 엘지화학 Rechargeable battery fixing epuipment for penetration test
KR20180137705A (en) * 2017-06-19 2018-12-28 에스케이이노베이션 주식회사 Zig for evaluating battery cell
KR20190002180A (en) * 2017-06-29 2019-01-08 주식회사 엘지화학 Jig apparatus for quality test of secondary battery
KR20190035338A (en) * 2017-09-26 2019-04-03 주식회사 엘지화학 Bending Device for Current Breaking Member of Battery Pack
KR20210077518A (en) 2019-12-17 2021-06-25 주식회사 엘지에너지솔루션 Device for charging and discharging battery cell and method for charging and discharging battery cell using the same
KR20210090417A (en) * 2020-01-10 2021-07-20 주식회사 엘지화학 Apparatus for collecting gas
DE102020212886B3 (en) 2020-10-13 2021-11-25 Thyssenkrupp Ag Fixing tool and tool arrangement for arrester tabs
KR20220148442A (en) 2021-04-29 2022-11-07 아이오티웨어(주) Gun management device

Also Published As

Publication number Publication date
KR101713182B1 (en) 2017-03-07

Similar Documents

Publication Publication Date Title
KR101713182B1 (en) Zig for fixing secondary battery and apparatus for charging and discharging secondary battery including the same
KR101705308B1 (en) Zig for fixing electrode and apparatus for charging and discharging secondary battery including the same
KR101728102B1 (en) Zig for charging/discharging and Zig for charging/discharging comprising the same
US9040857B2 (en) Terminal contacting part included in a jig for charging and discharging a secondary battery and the jig including the same
US11342621B2 (en) Battery pack
KR101211212B1 (en) Battery fixing parts improving method of fixing battery and jig for charging and discharging of secondary battery with the battery fixing parts
KR102066198B1 (en) Battery pack
US11205817B2 (en) Battery pack
KR20170047539A (en) Battery pack
KR20120038218A (en) Terminal contacting parts and jig for charging and discharging of secondary battery with the terminal contacting parts
US12044736B2 (en) Vibration test jig and vibration test apparatus for cylindrical battery cell
KR100943575B1 (en) Secondary battery
KR20130088820A (en) Terminal contacting parts and jig for charging and discharging of secondary battery with the terminal contacting parts
KR101304927B1 (en) Secondary battery charge and discharge probe
KR20190005402A (en) Battery module and battery pack including the same
JP6789388B2 (en) Battery module and battery pack containing it
KR101941257B1 (en) Connector and battery module including the same
KR101738600B1 (en) Jig for charge and recharge of lithium secondary battery and apparatus utilizing it
KR101661561B1 (en) Apparatus for charging and discharging secondary battery
KR102618035B1 (en) Battery pack
EP4628910A1 (en) Characteristic measuring jig of battery cell for rechargeable battery and measuring apparatus including the same
KR20130071639A (en) Secondary battery charge and discharge probe
CN223871651U (en) Soft-pack battery cell charging and discharging connection device
CN222125409U (en) Tab clamp and battery testing device
US20250306117A1 (en) Characteristic measuring jig of battery cell for rechargeable battery and apparatus including the same

Legal Events

Date Code Title Description
PA0109 Patent application

St.27 status event code: A-0-1-A10-A12-nap-PA0109

PN2301 Change of applicant

St.27 status event code: A-3-3-R10-R13-asn-PN2301

St.27 status event code: A-3-3-R10-R11-asn-PN2301

PG1501 Laying open of application

St.27 status event code: A-1-1-Q10-Q12-nap-PG1501

A201 Request for examination
PA0201 Request for examination

St.27 status event code: A-1-2-D10-D11-exm-PA0201

D13-X000 Search requested

St.27 status event code: A-1-2-D10-D13-srh-X000

R18-X000 Changes to party contact information recorded

St.27 status event code: A-3-3-R10-R18-oth-X000

D14-X000 Search report completed

St.27 status event code: A-1-2-D10-D14-srh-X000

P22-X000 Classification modified

St.27 status event code: A-2-2-P10-P22-nap-X000

E902 Notification of reason for refusal
PE0902 Notice of grounds for rejection

St.27 status event code: A-1-2-D10-D21-exm-PE0902

E902 Notification of reason for refusal
PE0902 Notice of grounds for rejection

St.27 status event code: A-1-2-D10-D21-exm-PE0902

E13-X000 Pre-grant limitation requested

St.27 status event code: A-2-3-E10-E13-lim-X000

P11-X000 Amendment of application requested

St.27 status event code: A-2-2-P10-P11-nap-X000

P13-X000 Application amended

St.27 status event code: A-2-2-P10-P13-nap-X000

E701 Decision to grant or registration of patent right
PE0701 Decision of registration

St.27 status event code: A-1-2-D10-D22-exm-PE0701

PR0701 Registration of establishment

St.27 status event code: A-2-4-F10-F11-exm-PR0701

PR1002 Payment of registration fee

St.27 status event code: A-2-2-U10-U11-oth-PR1002

Fee payment year number: 1

PG1601 Publication of registration

St.27 status event code: A-4-4-Q10-Q13-nap-PG1601

R18-X000 Changes to party contact information recorded

St.27 status event code: A-5-5-R10-R18-oth-X000

R18-X000 Changes to party contact information recorded

St.27 status event code: A-5-5-R10-R18-oth-X000

R18-X000 Changes to party contact information recorded

St.27 status event code: A-5-5-R10-R18-oth-X000

FPAY Annual fee payment

Payment date: 20200116

Year of fee payment: 4

PR1001 Payment of annual fee

St.27 status event code: A-4-4-U10-U11-oth-PR1001

Fee payment year number: 4

P22-X000 Classification modified

St.27 status event code: A-4-4-P10-P22-nap-X000

P22-X000 Classification modified

St.27 status event code: A-4-4-P10-P22-nap-X000

P22-X000 Classification modified

St.27 status event code: A-4-4-P10-P22-nap-X000

PR1001 Payment of annual fee

St.27 status event code: A-4-4-U10-U11-oth-PR1001

Fee payment year number: 5

PN2301 Change of applicant

St.27 status event code: A-5-5-R10-R11-asn-PN2301

PN2301 Change of applicant

St.27 status event code: A-5-5-R10-R14-asn-PN2301

PR1001 Payment of annual fee

St.27 status event code: A-4-4-U10-U11-oth-PR1001

Fee payment year number: 6

P22-X000 Classification modified

St.27 status event code: A-4-4-P10-P22-nap-X000

PR1001 Payment of annual fee

St.27 status event code: A-4-4-U10-U11-oth-PR1001

Fee payment year number: 7

PR1001 Payment of annual fee

St.27 status event code: A-4-4-U10-U11-oth-PR1001

Fee payment year number: 8

PR1001 Payment of annual fee

St.27 status event code: A-4-4-U10-U11-oth-PR1001

Fee payment year number: 9

U11 Full renewal or maintenance fee paid

Free format text: ST27 STATUS EVENT CODE: A-4-4-U10-U11-OTH-PR1001 (AS PROVIDED BY THE NATIONAL OFFICE)

Year of fee payment: 9

P22-X000 Classification modified

St.27 status event code: A-4-4-P10-P22-nap-X000