KR20150048355A - Floating matter eliminator for separating system recycled gravel from wastebuilding products - Google Patents

Floating matter eliminator for separating system recycled gravel from wastebuilding products Download PDF

Info

Publication number
KR20150048355A
KR20150048355A KR1020130128255A KR20130128255A KR20150048355A KR 20150048355 A KR20150048355 A KR 20150048355A KR 1020130128255 A KR1020130128255 A KR 1020130128255A KR 20130128255 A KR20130128255 A KR 20130128255A KR 20150048355 A KR20150048355 A KR 20150048355A
Authority
KR
South Korea
Prior art keywords
aggregate
washing
water
suspended
floating
Prior art date
Legal status (The legal status is an assumption and is not a legal conclusion. Google has not performed a legal analysis and makes no representation as to the accuracy of the status listed.)
Ceased
Application number
KR1020130128255A
Other languages
Korean (ko)
Inventor
공진권
Original Assignee
주식회사 일진도시환경
Priority date (The priority date is an assumption and is not a legal conclusion. Google has not performed a legal analysis and makes no representation as to the accuracy of the date listed.)
Filing date
Publication date
Application filed by 주식회사 일진도시환경 filed Critical 주식회사 일진도시환경
Priority to KR1020130128255A priority Critical patent/KR20150048355A/en
Publication of KR20150048355A publication Critical patent/KR20150048355A/en
Ceased legal-status Critical Current

Links

Images

Classifications

    • BPERFORMING OPERATIONS; TRANSPORTING
    • B03SEPARATION OF SOLID MATERIALS USING LIQUIDS OR USING PNEUMATIC TABLES OR JIGS; MAGNETIC OR ELECTROSTATIC SEPARATION OF SOLID MATERIALS FROM SOLID MATERIALS OR FLUIDS; SEPARATION BY HIGH-VOLTAGE ELECTRIC FIELDS
    • B03BSEPARATING SOLID MATERIALS USING LIQUIDS OR USING PNEUMATIC TABLES OR JIGS
    • B03B5/00Washing granular, powdered or lumpy materials; Wet separating
    • B03B5/28Washing granular, powdered or lumpy materials; Wet separating by sink-float separation
    • BPERFORMING OPERATIONS; TRANSPORTING
    • B02CRUSHING, PULVERISING, OR DISINTEGRATING; PREPARATORY TREATMENT OF GRAIN FOR MILLING
    • B02CCRUSHING, PULVERISING, OR DISINTEGRATING IN GENERAL; MILLING GRAIN
    • B02C23/00Auxiliary methods or auxiliary devices or accessories specially adapted for crushing or disintegrating not provided for in preceding groups or not specially adapted to apparatus covered by a single preceding group
    • B02C23/08Separating or sorting of material, associated with crushing or disintegrating
    • BPERFORMING OPERATIONS; TRANSPORTING
    • B03SEPARATION OF SOLID MATERIALS USING LIQUIDS OR USING PNEUMATIC TABLES OR JIGS; MAGNETIC OR ELECTROSTATIC SEPARATION OF SOLID MATERIALS FROM SOLID MATERIALS OR FLUIDS; SEPARATION BY HIGH-VOLTAGE ELECTRIC FIELDS
    • B03BSEPARATING SOLID MATERIALS USING LIQUIDS OR USING PNEUMATIC TABLES OR JIGS
    • B03B5/00Washing granular, powdered or lumpy materials; Wet separating
    • B03B5/48Washing granular, powdered or lumpy materials; Wet separating by mechanical classifiers

Landscapes

  • Engineering & Computer Science (AREA)
  • Food Science & Technology (AREA)
  • Separation Of Solids By Using Liquids Or Pneumatic Power (AREA)

Abstract

본 발명은 폐 건축 골재를 공급 컨베이어에 의해 이송 공급하여 세척조에서 세척, 부유 물질 분리 후 배출 컨베이어에 의해 배출 및 파쇄하여 건축 골재로 재생하는 폐 건축 골재 재생장치의 세척조 부유물 제거장치에 관한 것으로서, 좀더 상세하게는 상기 세척조(30) 일 측방에서 세척수 상부에 부유되는 부유물을 물 분사 노즐(51)의 물 분사에 의해 타 측방으로 이동시키고, 구동수단에 의해 전후 회전하는 회전체(56)의 회전익(57)에 의해 부유물을 부유물 수거조(60)로 오버시켜 분리 수거하므로 종래와 같이 수작업에 의한 작업을 배제하므로 작업성을 우수하게 제공하는데 그 특징이 있다.The present invention relates to an apparatus for removing a washing tank suspended in a reclaimed construction aggregate recycling apparatus, which recycles waste aggregate aggregate to a building aggregate by transporting and supplying waste aggregate aggregate by a feed conveyor and discharging and crushing it by a discharge conveyor after washing in a washing tank and separating suspended matters, More specifically, the float suspended in the upper portion of the washing water is moved from the side of the washing tub 30 to the other side by water injection of the water spray nozzle 51, and the rotating blade 56 of the rotating body 56 57 to overflow the suspended solids by the suspended solids collection tank 60 to separate and collect the collected suspended solids, thereby eliminating the manual operation as in the prior art, thereby providing excellent workability.

Description

폐 건축 골재 재생장치의 세척조 부유물 제거장치{Floating matter eliminator for separating system recycled gravel from wastebuilding products}[0001] Floating matter eliminator for separating system recycled gravel from wastebuilding products [

본 발명은 폐 건축 골재를 공급 컨베이어에 의해 이송 공급하여 세척조에서 세척 후 배출 컨베이어에 의해 배출 및 파쇄하여 건축 골재로 재생하는 폐 건축 골재 재생장치의 세척조 부유물 제거장치에 관한 것으로서, 좀더 상세하게는 상기 세척조에 투입된 폐 건축 골재에 포함된 각종 부유물을 분리 수거하도록 하는 폐 건축 골재 재생장치의 세척조 부유물 제거장치에 관한 것이다.
The present invention relates to an apparatus for removing a washing tank suspended in a reclaimed construction aggregate recycling apparatus, which recycles waste aggregate aggregate to a building aggregate by transporting and supplying the waste aggregate aggregate through a supply conveyor, discharging and crushing the waste aggregate by a discharge conveyor, The present invention relates to an apparatus for removing suspended solids in a pulverized construction aggregate recycling apparatus for separating and collecting various suspended matters contained in pulverized construction aggregate introduced into a washing tank.

일반적으로 건축물을 철거할 때 폐 건축 골재(콘크리트 폐기물)가 발생되는데, 이러한 폐 건축 골재는 별도 수거하여 파쇄한 후 이물질과 입자 크기를 선별하여 건축 골재로 재 사용하고 있다.Generally, when building is demolished, waste construction aggregate (concrete waste) is generated. Such waste construction aggregate is collected separately and crushed, and foreign matter and particle size are selected and used as building aggregate.

이를 좀더 구체적으로 설명하면, 호퍼에 폐 건축 골재를 투입하여 1차 파쇄 작업을 수행하고, 이를 이송 컨베이어에 의해 이송하여 금속 분리 작업 후 진동 스크린에서 토분을 일부 분리하고 세척조에서 세척하는 작업을 수행한다.More specifically, the waste construction aggregate is charged into the hopper to perform a primary crushing operation, and the primary crushing operation is carried out by the conveying conveyor to remove some of the soil from the vibration screen after the metal separation operation, .

그리고 상기 세척조에서 세척된 폐 건축 골재는 다시 배출 컨베이어에 의해 배출함과 함께 폐 건축 골재에서 토분 및 이물질 등을 분리한 후 폐 건축 골재만을 이송하고, 이를 다단계 파쇄 작업, 금속 분리 작업에 의해 재생 골재를 생산하게 되는 것이다.The waste construction aggregate washed in the washing tank is discharged again by the discharge conveyor and separated from the waste construction aggregate. Then, only the waste construction aggregate is transported. The waste construction aggregate is transported by the multistage crushing operation and the metal separation operation, .

상기한 과정에서 폐 건축 골재에 포함되어 있는 각종 이물질은 배출 컨베이어에 의해 배출하는 과정에서 분리 제거하게 되는데, 종래에는 주로 수작업에 의해 분리 작업을 행하기 때문에 작업성이 떨어지는 문제점이 있었다.In the process described above, various foreign substances contained in the waste construction aggregate are separated and removed in the process of discharging by the discharge conveyor. In the related art, the separating operation is performed mainly by hand.

특히, 상기 폐 건축 골재에서 각종 이물질을 효과적으로 분리하지 못하는 경우에 재생 건축 골재의 품질이 저하될 수 밖에 없는 문제점이 있었다.
Particularly, when the waste construction aggregate can not effectively separate various kinds of foreign matter, the quality of the reclaimed construction aggregate is inevitably lowered.

공개특허 제10-2006-0027737호Published Patent No. 10-2006-0027737 등록실용신안 제20-264696호Registration Practical Utility Model No. 20-264696

본 발명은 상기한 종래 기술이 갖는 제반 문제점을 해결하고자 발명된 것으로서, 폐 건축 골재를 공급 컨베이어에 의해 이송 공급하여 세척조에서 세척 후 배출 컨베이어에 의해 배출 및 파쇄하여 건축 골재로 재생하되, 상기 세척조에 투입된 폐 건축 골재에 포함된 각종 부유물을 자동 분리 수거하므로 작업성 및 폐 건축 골재의 재 활용성을 우수하게 제공하는데 그 목적이 있다.
Disclosure of Invention Technical Problem [8] Accordingly, the present invention has been made to solve the above problems of the prior art, and it is an object of the present invention to provide a waste water treatment system, It is an object of the present invention to provide an excellent performance of workability and recyclability of waste construction aggregate by automatically separating and collecting various suspended matters contained in the pulverized construction aggregate.

이러한 본 발명은 공급 컨베이어에 의해 이송 공급되는 폐 건축 골재를 진동 스크린에서 흔들어 토분을 분리한 상태로 세척조에 투입하여 세척한 후, 다시 배출 컨베이어에 의해 배출 및 파쇄하여 건축 골재로 재생하되; In the present invention, waste concrete aggregate conveyed and fed by a supply conveyor is shaken from a vibrating screen to remove soil from the soil, and washed and discharged into a washing tank, and discharged and crushed by a discharge conveyor to recover as building aggregate.

상기 세척조에는 일 측방에 세척수 상부에 부유되는 부유물을 물 분사에 의해 타 측방으로 이동시키는 물 분사 노즐을 병렬 형성하는 부유물 이동수단과, 타 측방에 상기 부유물 이동수단에 의해 타 측방으로 이동하는 부유물을 구동수단(미도시)에 의해 전후 회전하는 회전체의 회전익에 의해 세척조에 인접하여 마련된 부유물 수거조로 오버시켜 부유물을 수거하는 부유물 수거수단을 구성함에 그 특징이 있다.The washing tank includes a floating means moving means for forming a water spraying nozzle for moving a floating material floating on the upper portion of the washing water to the other side by water injection in one side thereof and a floating material moving to the other side by the floating means moving means on the other side. There is provided a scum collecting means for collecting scum by means of a swirl of the rotating body rotating forward and backward by a driving means (not shown) to overflow the scum by means of a scum collecting tank provided adjacent to the washing tank.

본 발명 상기 부유물 이동수단의 물 분사 노즐은 세척조의 세척수 수위 보다 상부에 수평으로 형성 함에 그 특징이 있다.
The water spray nozzle of the floating means moving means is formed horizontally above the water level of the washing water in the washing tank.

이러한 본 발명은 폐 건축 골재를 공급 컨베이어에 의해 이송 공급하여 세척조에서 세척 후 배출 컨베이어에 의해 배출 및 파쇄하여 건축 골재로 재생하되, 상기 세척조에 투입된 폐 건축 골재에 포함된 각종 부유물을 세척조 내부 일측 물 분사 노즐에서 분사되는 물에 의해 타측으로 이동시켜 회전체에 의해 부유물 수거조에 오버시켜 분리 수거하므로 별도 수작업에 의해 분리하는 작업이 배제되어 작업성이 우수하고, 폐 건축 골재의 재 활용성도 우수하게 되는 효과를 갖는 것이다.
In the present invention, waste construction aggregate is transported and supplied by a supply conveyor, washed in a washing tank, discharged and crushed by a discharge conveyor to regenerate the aggregate as construction aggregate, and various suspended matters contained in the waste building aggregate, It is moved to the other side by the water sprayed from the injection nozzle and is separated and collected by the rotating body by the fly ash collector so that the work for separation by manual operation is excluded and the workability is excellent and the recycled structure of the waste construction aggregate is excellent Effect.

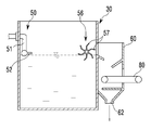
도 1은 본 발명의 장치가 적용된 폐 건축 골재 재생장치를 보여주는 전체 구성도.
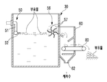
도 2는 본 발명의 부유물 이동수단을 보여주는 정면도.
도 3은 도 1의 요부 측 단면 구성도.
도 4는 도 3의 작동 상태도.
BRIEF DESCRIPTION OF THE DRAWINGS FIG. 1 is a general view showing a waste construction aggregate recycling apparatus to which the apparatus of the present invention is applied. FIG.
Fig. 2 is a front view showing the suspension moving means of the present invention; Fig.
Fig. 3 is a cross-sectional side view of the principal portion of Fig. 1; Fig.
4 is an operational state diagram of Fig.

이하, 상기한 본 발명의 바람직한 실시 예를 첨부 도면을 참조하여 구체적으로 살펴보기로 한다.Hereinafter, preferred embodiments of the present invention will be described in detail with reference to the accompanying drawings.

본 발명 폐 건축 골재 재생장치의 세척조 부유물 제거장치는 도 1 내지 도 3에 도시된 바와 같이 공급 컨베이어에 의해 이송 공급되는 폐 건축 골재를 진동 스크린(20)에서 흔들어 토분을 분리한 상태로 세척조(30)에 투입하여 세척한 후, 다시 배출 컨베이어(40)에 의해 배출 및 파쇄하여 건축 골재로 재생하도록 이루어진다.1 to 3, the waste construction aggregate, which is fed and supplied by the feed conveyor, is shaken from the vibration screen 20 and the soil is separated from the washing vessel 30 And then discharged and crushed by the discharge conveyor 40 to be regenerated as the building aggregate.

특히, 상기 세척조(30)에는 일 측방에 세척수 상부에 부유되는 부유물을 물 분사에 의해 타 측방으로 이동시키는 물 분사 노즐(51)을 병렬 형성하는 부유물 이동수단(50)과,Particularly, the washing tank 30 is provided with a floating means moving means 50 for forming a water spraying nozzle 51 for moving floating matters floating on the upper portion of the washing water to the other side by water injection,

타 측방에 상기 부유물 이동수단(50)에 의해 타 측방으로 이동하는 부유물을 구동수단(미도시)에 의해 전후 회전하는 회전체(56)의 회전익(57)에 의해 세척조(30)에 인접하여 마련된 부유물 수거조(60)로 오버시켜 부유물을 수거하는 부유물 수거수단(55)으로 구성된다.(Not shown) of the rotating body 56 that rotates forward and backward by a driving means (not shown) on the other side by a floating member moving to the other side by the floating member moving means 50, And a scum collecting means 55 for collecting the scum by overflowing the scum collecting tank 60.

이때, 상기 부유물 이동수단(50)의 물 분사 노즐(51)은 세척조의 세척수 수위 보다 상부에 수평으로 형성하도록 구성된다.At this time, the water spray nozzle 51 of the floating means moving means 50 is configured to be formed horizontally above the water level of the washing water in the washing tank.

또한, 상기 회전체의 회전익(57)은 세척수 상부의 부유물을 세척수에서 잘 떠 올릴 수 있는 다양한 구조로 형성하되, 도면에서와 같이 단순 평판 형태 보다는 외측이 상향 절곡된 형태로 형성함이 바람직하다.In addition, the rotor blade 57 of the rotating body may have various structures that float the upper portion of the washing water in the washing water, and it is preferable that the outer side is bent upwards rather than the simple plate type as shown in the drawing.

또한, 상기 부유물 수거조(60)의 하부에는 수거된 부유물을 외부로 자동 또는 수동으로 배출할 수 있는 수단(예를 들면 컨베이어(80))과 함께, 부유물과 함께 오버되는 세척수를 세척수 저장탱크(70)로 배출하는 세척수 배출관(62)이 구성된다.In the lower part of the scum collecting tank 60, washing water overflowed together with the floating matter together with the means (for example, the conveyor 80) capable of automatically or manually discharging the collected scum to the outside can be supplied to the washing water storage tank 70 for discharging the washing water to the washing water discharge pipe 62.

상기 세척수 저장탱크(70)는 세척조(30) 및 배출 컨베이어(40)에서 넘치는 세척수와 토분을 수거하여 토분을 분리한 세척수만 다시 세척조(30)로 재 순환 공급하도록 구성된다.The washing water storage tank 70 collects washing water and soil particles overflowing from the washing tank 30 and the discharge conveyor 40 and is configured to re-circulate the washing water separated from the soil water to the washing tub 30 again.

미설명부호로서, 52는 부유물 이동수단(50)의 물 분사 노즐(51)로 물을 공급하는 물 공급 배관을 나타내는 것이다.Reference numeral 52 denotes a water supply pipe for supplying water to the water injection nozzle 51 of the floating means moving means 50. [

다음은 상기와 같이 구성되는 본 발명의 작동 및 작용에 대해 살펴보기로 한다.Hereinafter, the operation and operation of the present invention will be described.

본 발명은 각종 건설 현장에서 수거된 폐 건축 골재를 호퍼에 투입하여 1차 파쇄 작업을 수행한 후 공급 컨베이어에 의해 이송 공급하고, 이와 같이 이송 공급된 폐 건축 골재는 진동 스크린(20)에 의해 토분 분리 과정을 거쳐 세척조(30)에 투입된다.In the present invention, waste construction aggregate collected at various construction sites is put into a hopper to carry out a primary crushing operation and then transported and supplied by a supply conveyor. The waste construction aggregate fed and supplied as described above is crushed by a vibration screen And is introduced into the washing tub 30 through a separation process.

이때, 상기 세척조(30)에 투입된 폐 건축 골재에는 각종 이물질이 포함되어 있는데, 특히 부유물의 경우에 세척수 상부에 부유하게 된다.At this time, the waste construction aggregate charged into the washing tank 30 contains various foreign substances, and in particular, it floats on the top of the washing water in the case of floating matters.

이와 같이 상기 세척조(30)의 세척수 상부에 부유된 부유물은 세척조의 내부 일측방에 마련된 물 공급 배관(52)에 병렬 형성된 물 분사 노즐(51)을 통해 분사되는 물의 힘에 의해 세척조의 타측으로 이동시킨다.The suspended matter floating on the upper portion of the washing water of the washing tub 30 is moved to the other side of the washing tub by the force of the water sprayed through the water spraying nozzle 51 formed in parallel to the water supply pipe 52 provided on the inner side of the washing tub 30 .

즉, 상기 물 분사 노즐(51)은 세척조(30)의 세척수 수위 보다 상부에서 수평으로 물을 분사하면서 상기 세척수 상부에 부유된 부유물을 세척조(30)의 타측으로 자동 이동시키게 되는 것이다.That is, the water spray nozzle 51 automatically discharges suspended solids suspended in the upper portion of the wash water to the other side of the wash tank 30 while spraying water horizontally above the wash water level of the wash tank 30.

이와 같이하여 상기 세척조(30)의 타측으로 이동되는 부유물은 세척조 타측방에 마련되어 모터와 같은 구동수단(미도시)에 의해 전후 회전하는 회전체(56)의 회전익(57)에 의해 세척수 상부에서 떠 올려 세척조(30)에 인접하여 마련된 부유물 수거조(60)로 오버시켜 부유물을 수거하게 되는 것이다.The float which is moved to the other side of the washing tub 30 in this manner is provided on the side of the washing tub 30 and is floated from the top of the washing water by the rotating blade 57 of the rotating body 56 rotating forward and backward by a driving means And is floated up to the slurry collection tank 60 provided adjacent to the washing tub 30 to collect suspended matters.

이와 같이 상기 부유물 수거조(60)에 수거된 부유물은 부유물 수거조 하부에서 컨베이어(80)에 의해 외부로 자동 배출하게 되는 것이다.The suspended matters collected in the suspended solids collection tank 60 are automatically discharged to the outside by the conveyor 80 under the suspended sludge collection tank.

뿐만 아니라 상기 부유물과 함께 부유물 수거조(60)에 오버되어 유입된 세척수는 세척수 배출관(62)을 통해 세척수 저장태크(70)로 배출되고, 상기 세척수 저장탱크에서 토분을 분리한 후 세척수만 다시 세척조(30)로 재 순환 공급하게 되는 것이다.In addition, the washing water overflowed into the suspended solids collection tank 60 together with the suspended matters is discharged to the washing water storage tank 70 through the washing water discharge pipe 62. After the soil water is separated from the washing water storage tank, (30).

이와 같이하여 상기 세척조(30)에 투입되는 폐 건축 골재의 각종 부유물을 분리 수거하고, 폐 건축 골재만 세척, 배출하기 때문에 별도 수작업에 의한 이물질 분리 작업을 최소화할 수 있어 골재 재생 작업을 더욱 간편하게 제공하게 되는 것이다.
In this way, various suspended matters of the waste construction aggregate charged into the washing tank 30 are separated and collected, and only the waste of the construction aggregate is washed and discharged. Therefore, the foreign matter separation operation by the manual operation can be minimized, It will be done.

20: 진동 플레이트
30: 세척조
40: 배출 컨베이어
50: 부유물 이동수단
51: 물 분사 노즐
55: 부유물 수거수단
56: 회전체
57: 회전익
60: 부유뮬 수거조
20: Vibration plate
30: Washing tank
40: Discharge conveyor
50: float moving means
51: Water injection nozzle
55: Float collecting means
56: rotating body
57: Rotor blade
60: Floating mule collection tank

Claims (2)

공급 컨베이어(10)에 의해 이송 공급되는 폐 건축 골재를 진동 스크린(20)에서 흔들어 토분을 분리한 상태로 세척조(30)에 투입하여 세척한 후, 다시 배출 컨베이어(40)에 의해 배출 및 파쇄하여 건축 골재로 재생하는 폐 건축 골재 재생장치의 세척조 부유물 제거장치에 있어서,
상기 세척조(30)에는 일 측방에 세척수 상부에 부유되는 부유물을 물 분사에 의해 타 측방으로 이동시키는 물 분사 노즐(51)을 병렬 형성하는 부유물 이동수단(50)과,
타 측방에 상기 부유물 이동수단(50)에 의해 타 측방으로 이동하는 부유물을 구동수단에 의해 전후 회전하는 회전체(56)의 회전익(57)에 의해 세척조(30)에 인접하여 마련된 부유물 수거조(60)로 오버시켜 부유물을 수거하는 부유물 수거수단(55)을 구성하여 이루어진 것을 특징으로 하는 폐 건축 골재 재생장치의 세척조 부유물 제거장치.
The waste construction aggregate conveyed and supplied by the supply conveyor 10 is shaken from the vibration screen 20 to remove the soil from the soil, and the soil is washed and washed in the washing tank 30 and then discharged and crushed by the discharge conveyor 40 CLAIMS 1. A washing tank suspended material removing apparatus for a building construction aggregate reclaiming apparatus,
The washing tank 30 is provided with a floating means moving means 50 for forming a water spraying nozzle 51 for moving the floating matters suspended in the upper portion of the washing water to the other side by water injection,
And a floating member moving to the other side by the floating member moving means 50 is provided on the other side by a rotor blade 57 of a rotating body 56 which rotates forward and backward by a driving means, 60) for collecting the suspended matters by collecting the suspended matters. The apparatus according to claim 1, wherein the suspended aggregate collecting means (55)
제1항에 있어서,
상기 부유물 이동수단(50)의 물 분사 노즐(51)은 세척조의 세척수 수위 보다 상부에 수평으로 형성하여 이루어진 것을 특징으로 하는 폐 건축 골재 재생장치의 세척조 부유물 제거장치.
The method according to claim 1,
Wherein the water spray nozzle (51) of the floating means moving means (50) is horizontally formed above the water level of the washing water in the washing tank.
KR1020130128255A 2013-10-28 2013-10-28 Floating matter eliminator for separating system recycled gravel from wastebuilding products Ceased KR20150048355A (en)

Priority Applications (1)

Application Number Priority Date Filing Date Title
KR1020130128255A KR20150048355A (en) 2013-10-28 2013-10-28 Floating matter eliminator for separating system recycled gravel from wastebuilding products

Applications Claiming Priority (1)

Application Number Priority Date Filing Date Title
KR1020130128255A KR20150048355A (en) 2013-10-28 2013-10-28 Floating matter eliminator for separating system recycled gravel from wastebuilding products

Publications (1)

Publication Number Publication Date
KR20150048355A true KR20150048355A (en) 2015-05-07

Family

ID=53386865

Family Applications (1)

Application Number Title Priority Date Filing Date
KR1020130128255A Ceased KR20150048355A (en) 2013-10-28 2013-10-28 Floating matter eliminator for separating system recycled gravel from wastebuilding products

Country Status (1)

Country Link
KR (1) KR20150048355A (en)

Cited By (2)

* Cited by examiner, † Cited by third party
Publication number Priority date Publication date Assignee Title
CN110038789A (en) * 2019-05-29 2019-07-23 范甬挺 A kind of agricultural seed screening plant
CN116273308A (en) * 2023-05-08 2023-06-23 磁县华宇商品混凝土有限公司 Building rubbish recovery unit

Cited By (3)

* Cited by examiner, † Cited by third party
Publication number Priority date Publication date Assignee Title
CN110038789A (en) * 2019-05-29 2019-07-23 范甬挺 A kind of agricultural seed screening plant
CN116273308A (en) * 2023-05-08 2023-06-23 磁县华宇商品混凝土有限公司 Building rubbish recovery unit
CN116273308B (en) * 2023-05-08 2023-08-15 磁县华宇商品混凝土有限公司 Building rubbish recovery unit

Similar Documents

Publication Publication Date Title
KR100235319B1 (en) Recycling techniques of construction waste meterial
KR101181163B1 (en) Remaking aggregate productive method and the system which use the lung concrete
KR100764643B1 (en) Production method and apparatus for recycling aggregate using construction waste
CN105846005A (en) Waste lead-acid storage battery crushing-and-separation one-step energy-saving recycling process
JP3052126U (en) Construction waste treatment equipment
KR101807694B1 (en) Scrap battery recycling plant system with function washing separators
CN204294609U (en) A kind of fixed building rubbish process for producing line
KR100358687B1 (en) The constructive recycling methods and instruments of Reclaimed waste.
JP2015221421A (en) Method and apparatus for wet classification cleaning of contaminated soil
CN110665934A (en) Construction waste's recovery processing system
CN204874220U (en) Fatlute separation processing equipment
CN220759337U (en) Shaping device for building rubbish recycled aggregate
CN102605664A (en) Environment-friendly papermaking process and environment-friendly papermaking equipment
KR101863333B1 (en) Scrap battery recycling plant system with function washing separators
CN100586590C (en) Coal ash recycling treatment method
KR20150048355A (en) Floating matter eliminator for separating system recycled gravel from wastebuilding products
CN102845813A (en) Water-saving cassava cleaning and processing technology and device
KR100434799B1 (en) The Method of Production for Recycling Sand using Construction Waste and Apparatus thereof
CN105598068A (en) Cleaning and impurity removing device for recycling construction waste
KR101489713B1 (en) Washing water dehydrator for separating system recycled gravel from wastebuilding products
KR101527173B1 (en) Equipments for treating construction waste
WO2019056406A1 (en) Process for making paper by recycling waste paper
CN105019649A (en) Recovery method for cleaned crushing material of building template
KR101682222B1 (en) Device For Extractioning Graphite
KR101739115B1 (en) Apparatus for selecting waste by pump type made of waste-concrete and aggregate manufacturing plant by washing with water include this same

Legal Events

Date Code Title Description
A201 Request for examination
PA0109 Patent application

Patent event code: PA01091R01D

Comment text: Patent Application

Patent event date: 20131028

PA0201 Request for examination
E902 Notification of reason for refusal
PE0902 Notice of grounds for rejection

Comment text: Notification of reason for refusal

Patent event date: 20150121

Patent event code: PE09021S01D

PG1501 Laying open of application
E601 Decision to refuse application
PE0601 Decision on rejection of patent

Patent event date: 20150707

Comment text: Decision to Refuse Application

Patent event code: PE06012S01D

Patent event date: 20150121

Comment text: Notification of reason for refusal

Patent event code: PE06011S01I