KR20150034975A - An electric heating portable tumbler and method for controlling thereof - Google Patents

An electric heating portable tumbler and method for controlling thereof Download PDF

Info

Publication number
KR20150034975A
KR20150034975A KR20130114998A KR20130114998A KR20150034975A KR 20150034975 A KR20150034975 A KR 20150034975A KR 20130114998 A KR20130114998 A KR 20130114998A KR 20130114998 A KR20130114998 A KR 20130114998A KR 20150034975 A KR20150034975 A KR 20150034975A
Authority
KR
South Korea
Prior art keywords
heating
unit
temperature
mode
regulating member
Prior art date
Legal status (The legal status is an assumption and is not a legal conclusion. Google has not performed a legal analysis and makes no representation as to the accuracy of the status listed.)
Ceased
Application number
KR20130114998A
Other languages
Korean (ko)
Inventor
강병규
임정구
Original Assignee
(주)컴파스테크놀로지스
Priority date (The priority date is an assumption and is not a legal conclusion. Google has not performed a legal analysis and makes no representation as to the accuracy of the date listed.)
Filing date
Publication date
Application filed by (주)컴파스테크놀로지스 filed Critical (주)컴파스테크놀로지스
Priority to KR20130114998A priority Critical patent/KR20150034975A/en
Publication of KR20150034975A publication Critical patent/KR20150034975A/en
Ceased legal-status Critical Current

Links

Images

Classifications

    • AHUMAN NECESSITIES
    • A47FURNITURE; DOMESTIC ARTICLES OR APPLIANCES; COFFEE MILLS; SPICE MILLS; SUCTION CLEANERS IN GENERAL
    • A47GHOUSEHOLD OR TABLE EQUIPMENT
    • A47G19/00Table service
    • A47G19/22Drinking vessels or saucers used for table service
    • A47G19/2205Drinking glasses or vessels
    • AHUMAN NECESSITIES
    • A47FURNITURE; DOMESTIC ARTICLES OR APPLIANCES; COFFEE MILLS; SPICE MILLS; SUCTION CLEANERS IN GENERAL
    • A47GHOUSEHOLD OR TABLE EQUIPMENT
    • A47G19/00Table service
    • A47G19/22Drinking vessels or saucers used for table service
    • A47G19/2288Drinking vessels or saucers used for table service with means for keeping liquid cool or hot
    • BPERFORMING OPERATIONS; TRANSPORTING
    • B65CONVEYING; PACKING; STORING; HANDLING THIN OR FILAMENTARY MATERIAL
    • B65DCONTAINERS FOR STORAGE OR TRANSPORT OF ARTICLES OR MATERIALS, e.g. BAGS, BARRELS, BOTTLES, BOXES, CANS, CARTONS, CRATES, DRUMS, JARS, TANKS, HOPPERS, FORWARDING CONTAINERS; ACCESSORIES, CLOSURES, OR FITTINGS THEREFOR; PACKAGING ELEMENTS; PACKAGES
    • B65D25/00Details of other kinds or types of rigid or semi-rigid containers
    • B65D25/20External fittings
    • HELECTRICITY
    • H05ELECTRIC TECHNIQUES NOT OTHERWISE PROVIDED FOR
    • H05BELECTRIC HEATING; ELECTRIC LIGHT SOURCES NOT OTHERWISE PROVIDED FOR; CIRCUIT ARRANGEMENTS FOR ELECTRIC LIGHT SOURCES, IN GENERAL
    • H05B3/00Ohmic-resistance heating
    • H05B3/68Heating arrangements specially adapted for cooking plates or analogous hot-plates
    • AHUMAN NECESSITIES
    • A47FURNITURE; DOMESTIC ARTICLES OR APPLIANCES; COFFEE MILLS; SPICE MILLS; SUCTION CLEANERS IN GENERAL
    • A47GHOUSEHOLD OR TABLE EQUIPMENT
    • A47G2200/00Details not otherwise provided for in A47G
    • A47G2200/08Illumination
    • AHUMAN NECESSITIES
    • A47FURNITURE; DOMESTIC ARTICLES OR APPLIANCES; COFFEE MILLS; SPICE MILLS; SUCTION CLEANERS IN GENERAL
    • A47GHOUSEHOLD OR TABLE EQUIPMENT
    • A47G2200/00Details not otherwise provided for in A47G
    • A47G2200/16Temperature

Landscapes

  • Engineering & Computer Science (AREA)
  • Mechanical Engineering (AREA)
  • Cookers (AREA)

Abstract

본 발명은 전기 가열식 휴대용 텀블러 및 그 제어방법에 관한 것으로, 텀블러에 있어서, 전도성 금속으로 이루어지는 열전도 부재가 비전도성 재질로 이루어지는 비전도 부재의 내측에 전체적으로 삽입되어 일체로 몸체가 형성되며 몸체의 내부에 음료가 수용될 수 있는 공간부가 형성되고 상측이 개방되며 하측에는 가열/조절 부재와의 끼움 결합 또는 분리를 위한 결합부가 형성되는 본체, 및 본체의 하부에 형성된 결합부에 밀착 상태로 끼움 결합 또는 분리될 수 있는 내경의 링형상 몸체로 형성되며 용기 내부에 담겨진 음료를 사용자의 선택에 따라 급속 가열하거나 보온상태로 유지하면서 그 동작 상태를 외부로 표시하는 가열/조절 부재를 포함하는 전기 가열식 휴대용 텀블러 및 그 제어방법을 제공하여, 용기 내부에 담겨진 음료를 1차 전지 또는 2차 전지를 이용하여 사용자의 선택에 따라 급속 가열하거나 보온상태로 유지할 수 있도록 하고 급속 가열 및 보온 유지되는 동작 상태를 서로 다른 색상의 발광다이오드를 이용하여 외부로 표시할 수 있게 한다. The present invention relates to an electric heating portable tumbler and a control method thereof. In the tumbler, a thermally conductive member made of a conductive metal is entirely inserted into a nonconductive member made of a nonconductive material to form a body integrally, A main body in which a space portion in which a beverage can be received is formed and the upper side thereof is opened and a coupling portion for engaging or disengaging with the heating / regulating member is formed on the lower side; A heating / regulating member formed of a ring-shaped body having an inner diameter capable of being heated or maintained in a warmed state according to a user's selection and displaying the operation state thereof to the outside, The control method is provided, and the beverage contained in the container is supplied to the primary cell Use of the secondary battery will be able to heat rapidly at the option of the user, or by using the light emitting diodes of different colors, the operating state is kept, and rapid heating and thermal insulation to maintain a thermal insulation condition to be displayed to the outside.

Description

전기 가열식 휴대용 텀블러 및 그 제어방법{An electric heating portable tumbler and method for controlling thereof}BACKGROUND OF THE INVENTION 1. Field of the Invention [0001] The present invention relates to an electric heating portable tumbler,

본 발명은 전기 가열식 휴대용 텀블러 및 그 제어방법에 관한 것으로, 보다 상세하게는 용기 내부에 담겨진 음료를 1차 전지 또는 2차 전지를 이용하여 사용자의 선택에 따라 급속 가열하거나 보온 상태를 유지할 수 있도록 하고 그 동작 상태를 각각 구분하여 외부로 표시할 수 있도록 하는 전기 가열식 휴대용 텀블러 및 그 제어방법에 관한 것이다. The present invention relates to an electric heating portable tumbler and a control method thereof. More particularly, the present invention relates to an electric heating portable tumbler and a control method thereof, and more particularly, The present invention relates to an electric heating portable tumbler and a control method thereof.

최근 야외 활동이 많아지면서 휴대가 간편하고 음료의 보관이 용이하도록 설계된 텀블러가 크게 보급되고 있는 실정에 있으며, 이러한 텀블러는 일반적으로 차가운 청량 음료나 커피 또는 우유 등의 따듯한 음료를 담아 온도를 유지하면서 음용할 수 있도록 제조된 용기로서, 통상 원통형 몸체에 단열재를 내장하여 보온 기능을 갖게 하고 상부를 개방하여 음료를 담거나 마실 수 있는 입구를 형성한 후 탈부착 가능한 뚜껑을 덮어 음료를 보관하거나 음용할 수 있도록 구성되어 있다.In recent years, tumblers designed for easy portability and easy storage of beverages have been widely used. As a result, such tumblers are generally used to hold warm drinks such as cold beverages, coffee or milk, As a container made to be able to be used, usually, a heat insulating material is built in a cylindrical body to have a warming function and the upper part is opened to form an opening for holding a drink or a drink, and then a removable lid is covered so that the drink can be stored or consumed Consists of.

이러한 텀블러는 특히 용기 내부에 담긴 음료의 맛을 유지하기 위해 보온 기능을 향상시킬 수 있는 다양한 기술이 개발되고 있다.Such tumblers have been developed in various ways, in particular, to improve the warming function to maintain the taste of the beverage contained in the container.

이와 관련하여, 대한민국 공개특허 제10-2009-0078037호(2009.07.17 공개; 이하 '특허문헌1'이라 약칭함)에는 가열수단이 설치된 두 개의 보온병을 상호 탈착 가능하게 결합하여 휴대함으로써 차량 또는 야외에서 용이하게 끓는 물을 사용할 수 있으며, 하나의 보온병 내에 원두커피나 각종 차를 거를 수 있는 거름망을 구비하여 또 다른 하나의 보온병에서 끓여진 물을 이용해 원두커피나 차를 마실 수 있도록 한 휴대용 전기보온병에 관한 기술이 개시되어 있다.In this connection, Korean Patent Laid-Open No. 10-2009-0078037 (published on July 17, 2009; hereinafter referred to as "Patent Document 1") discloses a thermosyphon Which can easily be boiled in a thermos bottle and has a screen for drinking coffee beans or various kinds of tea in a thermos bottle so as to be able to drink coffee beans or tea by using water boiled in another thermos bottle A technique relating to a thermos bottle is disclosed.

특허문헌1에 의하면, 내부에 음료가 수용되는 공간부가 형성되고 상측에 개방구가 형성되는 제1 본체, 제1 본체의 상단에 결합되고 제1 본체의 공간부와 선택적으로 연통되는 제1 덮개, 제1 덮개의 상단에 결합되는 제1 마개, 제1 본체의 하단에 설치되며 제1 본체의 공간부 내에 수용되는 음료를 가열하는 제1 가열수단, 제1 본체 상에 설치되어 공간부 내에 수용되는 음료를 배출시키는 배출부재, 내부에 음료가 수용되는 공간부가 형성되고 상측에 개방구가 형성되는 제2 본체, 하단은 제2 본체의 상단에 결합되고 상단은 제1 가열수단의 하단에 결합되며 제2 본체의 공간부와 선택적으로 연통되는 제2 덮개, 제2 본체의 하단에 설치되며 제2 본체의 공간부 내에 수용되는 음료를 가열하는 제2 가열수단, 제2 본체의 하단에 결합되는 제2 마개를 포함하는 휴대용 전기 보온병을 제공하여, 가열수단이 설치된 두 개의 보온병을 상호 탈착 가능하게 결합하여 휴대함으로써 차량 또는 야외에서 용이하게 끓는 물을 사용할 수 있게 하고, 끓여진 물을 이용해 원두커피나 차를 내려 마실 수 있게 하였다.According to Patent Document 1, there is provided a liquid container comprising a first body formed with a space portion for receiving a beverage therein and having an opening at an upper side thereof, a first lid coupled to an upper end of the first body and selectively communicating with the space portion of the first body, A first cap attached to an upper end of the first cover, a first heating means installed at a lower end of the first main body and heating the beverage stored in the space portion of the first main body, A lower end of the second body is coupled to an upper end of the second body and an upper end of the second body is coupled to a lower end of the first heating means, A second heating means for heating the beverage contained in the space portion of the second main body and provided at the lower end of the second main body, a second heating means for heating the beverage stored in the second main body, Portable carrying By providing an electric thermos bottle, two thermos bottles equipped with heating means are detachably coupled to each other and carried, thereby making it possible to use boiling water easily in the vehicle or outdoors, and to use the boiled water to drink coffee beans or tea Respectively.

또한 대한민국 공개특허 제10-2011-0136293호(2011.12.21 공개; 이하 '특허문헌2'이라 약칭함)에는 음료의 온도를 감지하고 그 온도에 따라 서로 다른 색상의 빛을 발광시켜 사용자가 빛의 색상을 통해 손쉽게 음료의 온도를 파악할 수 있도록 한 음료 온도 표시형 텀블러에 관한 기술이 개시되어 있다.Korean Patent Laid-Open Publication No. 10-2011-0136293 (published on December 21, 2011; hereinafter referred to as "Patent Document 2") detects the temperature of a beverage and emits light of different colors according to the temperature, Discloses a technique relating to a beverage temperature display type tumbler that can easily grasp the temperature of a beverage through color.

특허문헌 2에 의하면, 몸체 내부에 담겨진 음료의 온도를 감지하는 온도감지부, 서로 다른 색상의 빛을 방출하는 발광부, 및 온도감지부에 의해 감지된 음료의 온도에 따라 발광부를 제어하여 음료의 온도에 따른 빛을 방출하는 제어부를 포함하여, 음료의 온도에 따라 서로 다른 색상의 빛을 방출할 수 있게 함으로써 사용자가 음료를 마시지 않고도 손쉽게 음료의 온도를 파악할 수 있게 하였다.According to Patent Document 2, the light emitting portion is controlled according to the temperature of the beverage sensed by the temperature sensing portion, the light emitting portion emitting light of different colors, and the temperature sensed by the temperature sensing portion, And a control unit that emits light according to temperature. Accordingly, it is possible to emit light of different colors according to the temperature of the beverage, so that the user can easily grasp the temperature of the beverage without drinking the beverage.

그러나 상기의 종래 기술에서는 전자의 경우 보온병을 2단으로 구성하여 가열하고 거를 수 있게 되므로, 매우 복잡한 구성을 수반하게 되는 문제점이 있었으며, 후자의 경우 단지 음료의 온도를 감지하여 표시할 뿐 가열수단을 구비하지 않고 있기 때문에 사용자가 음료를 따듯하게 음용하고자 할 경우 사용자는 다시 외부의 가열수단을 이용하여 가열한 후에 다시 주입하여 음용해야만 하므로 많은 번거로움이 있었다However, in the case of the former technology, there is a problem that a thermos bottle is composed of two stages and can be heated and frosted. Therefore, there is a problem that a very complicated configuration is involved. In the latter case, When the user intends to drink the beverage in a warm manner, the user has to heat the beverage using external heating means again and then inject it again to drink, which is troublesome

KR 10-2009-0078037 A 2009.07.17 공개KR 10-2009-0078037 A 2009.07.17 Released KR 10-2011-0136293 A 2011.12.21 공개KR 10-2011-0136293 A December 21, 2011 release

따라서 본 발명은 상기의 종래 기술이 갖는 문제점을 해결하기 위해 안출한 것으로서, 본 발명은 용기 내부에 담겨진 음료를 1차 전지 또는 2차 전지를 이용하여 사용자의 선택에 따라 급속 가열하거나 보온상태로 유지할 수 있도록 하고 급속 가열 및 보온 유지되는 동작 상태를 서로 다른 색상의 발광다이오드를 이용하여 외부로 표시할 수 있는 전기 가열식 휴대용 텀블러 및 그 제어방법을 제공함에 목적이 있다.SUMMARY OF THE INVENTION Accordingly, the present invention has been made keeping in mind the above problems occurring in the prior art, and it is an object of the present invention to provide a beverage which is rapidly heated or maintained in a thermostat state according to a user's choice using a primary battery or a secondary battery And an operation state in which the LEDs are rapidly heated and kept at a constant temperature by using light emitting diodes of different colors, and a control method thereof.

상기 목적을 달성하기 위한 본 발명의 일 실시 형태는, 텀블러에 있어서, 전도성 금속으로 이루어지는 열전도 부재가 비전도성 재질로 이루어지는 비전도 부재의 내측에 전체적으로 삽입되어 일체로 몸체가 형성되며 몸체의 내부에 음료가 수용될 수 있는 공간부가 형성되고 상측이 개방되며 하측에는 가열/조절 부재와의 끼움 결합 또는 분리를 위한 결합부가 형성되는 본체, 및 본체의 하부에 형성된 결합부에 밀착 상태로 끼움 결합 또는 분리될 수 있는 내경의 링형상 몸체로 형성되며 용기 내부에 담겨진 음료를 사용자의 선택에 따라 급속 가열하거나 보온상태로 유지하면서 그 동작 상태를 외부로 표시하는 가열/조절 부재를 포함하는 전기 가열식 휴대용 텀블러이다. According to one aspect of the present invention, there is provided a tumbler comprising a thermally conductive member made of a conductive metal, the thermally conductive member being integrally inserted into a nonconductive member made of a nonconductive material to integrally form a body, And a lower portion formed with an engaging portion for engaging or disengaging the heating / regulating member, and an engaging portion formed at a lower portion of the main body, And a heating / regulating member formed of a ring-shaped body having an inner diameter capable of rapidly heating or holding a beverage contained in the container according to a user's selection and displaying the operation state thereof while externally displaying the beverage.

상기 목적을 달성하기 위한 본 발명의 다른 실시 형태는, 온도 감지부 및 가열부를 탑재하고 키입력부를 통해 선택 가능한 보온 유지 모드 또는 급속 가열 모드를 구비하여 키입력부를 통해 이루어지는 사용자의 선택에 따라 가열부의 동작을 제어하여 본체 내부의 공간부에 수용된 내용물을 데우거나 보온이 유지될 수 있게 제어하는 전기 가열식 텀블러의 제어방법에 있어서, (a) 키입력부를 통해 사용자가 선택하는 보온 유지 모드 또는 급속 가열 모드에 따라 보온 표시 또는 급속 가열 표시를 위한 어느 하나의 표시동작을 선택적으로 제어하여 가열부의 동작 모드를 보온 유지모드 또는 급속 가열모드로 표시하는 제1단계, (b) 온도 감지부를 통해 본체의 온도를 측정하여 그 측정된 온도값을 상기 보온 유지모드 또는 급속 가열모드의 설정상태에 따라 미리 설정된 하나 이상의 지정온도값과 비교하면서 보온 유지 또는 급속 가열이 이루어지도록 가열부의 동작을 제어하는 제2단계, 및 (c) 키입력부를 통해 보온 유지 모드 또는 급속 가열 모드가 해제되면 가열부 및 각 표시부의 동작을 정지시키고 동작을 종료하는 제3단계를 포함하여 이루어지는 전기 가열식 휴대용 텀블러 제어방법이다.According to another aspect of the present invention, there is provided a method for controlling a temperature of a heating unit, comprising a temperature sensing unit and a heating unit mounted thereon and having a heat retaining mode or a rapid heating mode selectable through a key input unit, A method of controlling an electric heating tumbler for controlling an operation of an electric heating tumbler to heat or warm a contents contained in a space inside a main body, the method comprising the steps of: (a) A first step of selectively controlling the display mode of the heating unit or the rapid heating mode according to the temperature of the main body, And the measured temperature value is measured according to the setting state of the heat retaining mode or the rapid heating mode A second step of controlling the operation of the heating unit so as to maintain the heating or quick heating while comparing with at least one predetermined temperature value set in advance; and (c) And a third step of stopping the operation of the display unit and terminating the operation of the portable tumbler.

본 발명에 의하면, 용기 내부에 음료가 담겨진 텀블러를 간편하게 휴대하면서 1차 전지 또는 2차 전지를 이용하여 사용자의 선택에 따라 급속 가열하거나 보온 유지할 수 있게 되므로 시간과 장소에 관계없이 사용자가 원하는 상태로 음료를 음용할 수 있게 하며, 급속 가열 및 보온 유지되는 동작 상태를 서로 다른 색상의 발광다이오드를 이용하여 외부로 표시할 수 있게 되므로 사용자가 편리하게 텀블러의 동작을 제어할 수 있으면서도 사용자별 최적의 상태로 음료를 음용할 수 있게 하는 이점이 있다.According to the present invention, since the tumbler containing the beverage can be easily carried inside the container, it can be rapidly heated or maintained at the user's choice by using the primary battery or the secondary battery, It is possible to use the light emitting diodes of different colors to externally display the operation state in which rapid heating and keeping warmed up can be performed. Therefore, the user can conveniently control the operation of the tumbler, There is an advantage that the drink can be consumed by the user.

도 1은 본 발명의 일 실시 형태에 따른 전기 가열식 휴대용 텀블러의 전체적인 구성을 예시한 조립 사시도이다.
도 2는 본 발명의 일 실시 형태에 따른 전기 가열식 휴대용 텀블러의 분해사시도이다.
도 3은 본 발명에 따른 전기 가열식 휴대용 텀블러의 가열/조절부재에 내장되는 가열부 구동회로의 블록도이다.
도 4a와 도 4b는 도 3의 제어부에서 이루어지는 가열부 및 상태 표시부의 제어동작을 예시한 흐름도이다.
1 is an assembled perspective view illustrating the overall configuration of an electrically heated portable tumbler according to an embodiment of the present invention.
2 is an exploded perspective view of an electrically heated portable tumbler according to an embodiment of the present invention.
3 is a block diagram of a heating unit driving circuit incorporated in a heating / regulating member of an electrically heated portable tumbler according to the present invention.
4A and 4B are flowcharts illustrating control operations of the heating unit and the status display unit of the control unit of FIG.

이하, 본 발명에 의한 전기 가열식 휴대용 텀블러의 구성 및 전체적인 동작을 첨부 도면을 참조하여 상세히 설명한다.DETAILED DESCRIPTION OF THE PREFERRED EMBODIMENTS The construction and overall operation of an electrically heated portable tumbler according to the present invention will be described in detail with reference to the accompanying drawings.

본 명세서 및 청구범위에 사용된 용어나 단어는 통상적이거나 사전적인 의미로 한정 해석되지 아니하며, 발명자는 그 자신의 발명을 가장 최선의 방법으로 설명하기 위해 용어의 개념을 적절하게 정의할 수 있다는 원칙에 입각하여 본 발명의 기술적 사상에 부합하는 의미와 개념으로 해석되어야만 한다. 따라서, 본 명세서에 기재된 실시 예와 도면에 도시된 구성은 본 발명의 가장 바람직한 일 실시 예에 불과할 뿐이므로, 본 출원시점에 있어서 이들을 대체할 수 있는 다양한 균등물과 변형예들이 있을 수 있음을 이해하여야 한다.It is to be understood that the words or words used in the present specification and claims are not to be construed in a conventional or dictionary sense and that the inventor can properly define the concept of a term in order to describe its invention in the best possible way And should be construed in light of the meanings and concepts consistent with the technical idea of the present invention. Therefore, it should be understood that the embodiments described herein and the configurations shown in the drawings are only the most preferred embodiments of the present invention, and that various equivalents and modifications may be substituted for them at the time of the present application shall.

도 1은 본 발명의 일 실시 형태에 따른 전기 가열식 휴대용 텀블러의 전체적인 구성을 예시한 조립 사시도이고, 도 2는 본 발명의 일 실시 형태에 따른 전기 가열식 휴대용 텀블러의 분해 사시도로서, 도면에 예시된 바와 같이, 본 발명의 일 실시 형태에 의한 전기 가열식 휴대용 텀블러는 크게 본체(10), 커버(20), 및 가열/조절 부재(30)를 포함하는 형태로 구현될 수 있다.2 is an exploded perspective view of an electrically heated portable tumbler according to an embodiment of the present invention. FIG. 2 is an exploded perspective view of an electrically heated portable tumbler according to an embodiment of the present invention, Likewise, an electrically heated portable tumbler according to one embodiment of the present invention can be largely implemented in the form of a body 10, a cover 20, and a heating / conditioning member 30.

본체(10)는 전도성 금속으로 이루어지는 열전도 부재(11)가 비전도성 재질로 이루어지는 비전도 부재(12)의 내측에 전체적으로 삽입되어 일체로 형성되되, 그 내부에 음료가 수용될 수 있는 공간부(10a)가 형성되고 상측이 개방되며 하측에는 가열/조절 부재(30)와의 끼움 결합 또는 분리를 위한 결합부(11a)가 형성된다. 상측의 개방부는 전도성 금속으로 이루어지는 열전도 부재(11)가 비전도 부재(12)의 내측으로 매립되게 형성함으로써 음료를 음용시 사용자가 입술에 화상을 입지 않도록 하는 것이 바람직하다. 또한 결합부(11a)는 본체(10)의 외부에 위치하는 비전도 부재(12)의 하부로 그 내측의 열전도 부재(11)가 노출될 수 있도록 하여 형성하는 것이 바람직하다. 이로써 열전도 부재(11)는 그 하부의 결합부(11a)가 추후 설명될 가열/조절 부재(30)의 가열부(35)와 직접 면접촉되어 가열부(30)의 발열에 따라 직접 가열되면서 본체(10)의 공간부(10a)에 수용된 내용물이 따듯하게 데워지거나 보온이 유지될 수 있게 한다.The body 10 is integrally formed by integrally inserting a heat conductive member 11 made of a conductive metal into a nonconductive member 12 made of a nonconductive material and integrally formed with a space portion 10a And the lower side thereof is formed with a coupling portion 11a for fitting or separating the heating / regulating member 30 with the heating / regulating member 30. It is preferable that the upper opening portion is formed so that the heat conductive member 11 made of the conductive metal is buried inside the nonconductive member 12 to prevent the user from burning the lips when drinking the drink. The coupling portion 11a is preferably formed by exposing the inner heat conductive member 11 to the lower portion of the nonconductive member 12 located outside the main body 10. [ The thermally conductive member 11 is brought into direct contact with the heating portion 35 of the heating / regulating member 30 to be explained later so that the engaging portion 11a at the lower portion thereof is directly heated by the heat of the heating portion 30, So that the contents accommodated in the space portion 10a of the body 10 can be warmed up or kept warm.

커버(20)는 본체(10)의 상측 개방부에 끼움 결합 또는 분리될 수 있도록 통상의 덮개 형상으로 구성되어 본체(10)의 입구를 덮거나 개방한다.The cover 20 is formed in a general lid shape so as to be fitted to or detached from the upper opening of the main body 10 to cover or open the inlet of the main body 10. [

가열/조절 부재(30)는 본체(10)의 하부에 형성된 결합부(11a)에 밀착 상태로 끼움 결합 또는 분리될 수 있는 내경의 링형상 몸체로 형성되며, 이러한 링형상 몸체의 내주면에는 전기적으로 자체 발열될 수 있는 히터 등의 가열부(35)를 설치하여 본체(10)의 하부로 노출된 결합부(11a)와 직접 밀착되게 하고, 링형상 몸체의 내부에는 가열부 구동회로를 내장함으로써 본체(10)의 내측 용기를 구성하고 있는 열전도 부재(11)를 전체적으로 가열할 수 있도록 구성된다.The heating / regulating member 30 is formed of a ring-shaped body having an inner diameter that can be fitted or detached in close contact with the engaging portion 11a formed at the lower portion of the main body 10. The inner surface of the ring- A heating unit 35 such as a heater capable of generating heat can be provided to be in direct contact with the engaging portion 11a exposed to the lower portion of the main body 10 and a heating portion driving circuit is built in the inside of the ring- So that the heat conductive member 11 constituting the inner container of the heat exchanger 10 can be heated as a whole.

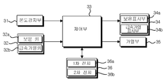
도 3은 본 발명에 따른 전기 가열식 휴대용 텀블러의 가열/조절 부재(30)에 내장되는 가열부 구동회로의 블록도로서, 가열부 구동회로는 온도 감지부(31), 키입력부(32), 제어부(33), 상태 표시부(34), 가열부(35), 전원 공급부(36), 충전기 연결부(37)를 포함하여, 이러한 구동회로를 통해 가열부 및 상태표시부를 구동함으로써 용기 내측의 몸체를 구성하는 전도성 부재(11)에 담겨진 음료를 사용자의 선택에 따라 급속 가열하거나 보온상태로 유지하면서 그 동작 상태를 외부로 표시한다. 또한 이러한 가열부 구동회로는 충전기 연결부(37)와 연결되는 외부 충전기(38)를 더 포함하여 구성될 수도 있다.FIG. 3 is a block diagram of a heating unit driving circuit incorporated in the heating / regulating member 30 of the electric heating portable tumbler according to the present invention. The heating unit driving circuit includes a temperature sensing unit 31, a key input unit 32, The body inside the container is constituted by driving the heating unit and the status display unit through the driving circuit including the heating unit 33, the status display unit 34, the heating unit 35, the power supply unit 36 and the charger connection unit 37 And the operation state of the beverage contained in the conductive member 11 is displayed to the outside while rapidly heating or keeping the beverage according to the user's choice. The heating unit driving circuit may further include an external charger 38 connected to the charger connection unit 37.

온도 감지부(31)는 도 2에 예시된 바와 같이 본체(10) 하부에 노출된 결합부(11a)의 온도를 측정할 수 있도록 가열/조절부재(30)의 링형상 몸체의 내주면 일측에 내장되며, 도 3에 예시된 바와 같이 제어부(33)에 연결되어 본체(10) 하부에 노출된 결합부(11a)에서 측정되는 측정 온도(T)값을 제어부(33)로 전달하며, 온도 센서로 구성된다.The temperature sensing part 31 is installed on one side of the inner circumferential surface of the ring-shaped body of the heating / regulating member 30 so as to measure the temperature of the engaging part 11a exposed at the lower part of the main body 10, The control unit 33 is connected to the control unit 33 as illustrated in FIG. 3 to transmit the measurement temperature T measured at the coupling unit 11a exposed under the main body 10 to the control unit 33, .

키입력부(32)는 도 2에 예시된 바와 같이 사용자가 임의로 조작할 수 있도록 가열/조절부재(30)의 링형상 몸체의 외주면에 외부로 노출되게 설치되는 보온키(32a)와 급속 가열키(32b)를 포함하여 구성되며, 도 3에 예시된 바와 같이 재어부로 연결되어 사용자의 키입력에 따라 각각의 키입력신호를 발생시켜 제어부(33)로 전달한다.As shown in FIG. 2, the key input unit 32 includes a warming key 32a and a rapid heating key 32a, which are externally exposed on the outer circumferential surface of the ring-shaped body of the heating / The key input signals are generated in response to a key input of the user and transmitted to the control unit 33. [

제어부(33)는 가열/조절 부재(30)의 링형상 몸체의 내부에 내장되며, 시스템의 동작을 전체적으로 제어하면서 키입력부(32)를 통해 설정되는 키입력상태 및 온도 감지부(31)를 통해 측정되는 온도값에 따라 가열부(35) 및 상태 표시부(34)의 동작을 제어하여, 본체 내부의 열전도 부재(11)를 보온 유지 또는 급속 가열시킨다. 이를 위해 제어부(33)는 내장 메모리를 구비하여 사용자에 의해 설정되거나 또는 초기값에 의해 미리 설정된 하나 이상의 기준온도값(예를 들면 보온 유지를 위한 하나 온도값인 제1 지정온도(T1)값, 보온 유지를 위한 상한 온도값인 제2 지정온도(T2)값, 급속 가열을 위한 하한 온도값인 제3 지정온도(T3)값 등)을 저장하도록 프로그램되는 것이 바람직하다. The control unit 33 is built in the ring-shaped body of the heating / regulating member 30 and controls the operation of the system as a whole through a key input state set through the key input unit 32, The operation of the heating unit 35 and the state display unit 34 is controlled in accordance with the measured temperature value so that the heat conduction member 11 inside the body is kept warm or rapidly heated. To this end, the control unit 33 includes a built-in memory and stores therein at least one reference temperature value set by a user or preset by an initial value (for example, a first predetermined temperature T1 value, A second specified temperature (T2) value which is an upper limit temperature value for holding the heat, a third specified temperature (T3) value which is a lower limit temperature value for rapid heating, and the like).

상태 표시부(34)는 도 2에 예시된 바와 같이 가열/조절 부재(30)의 링형상 몸체의 외주면에 외부로 노출되게 설치되어 사용자 조작에 따른 가열부의 동작 상태를 보온 유지 모드 또는 급속 가열 모드로 각각 구분하여 표시하는 보온 표시부(34a)와 급속 가열 표시부(34b)를 포함하여 구성되며, 도 3에 예시된 바와 같이 제어부(33)와 연결되어 제어부(34)에서 발생되는 하나 이상의 표시 제어신호에 의해 각각 구동된다.As shown in FIG. 2, the state display unit 34 is installed to be exposed externally to the outer circumferential surface of the ring-shaped body of the heating / regulating member 30, so that the operation state of the heating unit according to the user's operation is changed to the heat- And a rapid heating display unit 34b. As shown in FIG. 3, the control unit 33 is connected to the controller 33 to generate one or more display control signals Respectively.

가열부(35)는 도 2에 예시된 바와 같이 가열/조절 부재(30)의 링형상 몸체의 내주면에 설치되되, 본체(10)의 하부에 열전도 부재(11)로 형성된 결합부(11a)와 직접적으로 면접촉 가능하도록 내주면에 노출되어 설치되며, 전원이 공급되면 제어부(33)의 구동/정지신호에 의해 직접 발열되어 열전도 부재(11)를 가열할 수 있도록 구성된다. 2, the heating unit 35 is provided on the inner circumferential surface of the ring-shaped body of the heating / regulating member 30, and includes a coupling portion 11a formed at the lower portion of the body 10 and formed of a heat conductive member 11, And is configured to be able to directly heat the heat conductive member 11 by being heated by the driving / stop signal of the control unit 33 when power is supplied.

전원 공급부(36)는 도 2에 예시된 바와 같이 가열/조절 부재(30)의 링형상 몸체의 외주면에 1차 전지(36a) 및 2차 전지(36b)가 각각 내장될 수 있는 하나 이상의 전지 수납홈을 형성하여 각 전지 수납홈에 수납되는 전지 중의 어느 하나로부터 시스템의 각 부분에 동작 전원을 공급할 수 있도록 구성된다. 2, the power supply unit 36 is provided with one or more battery housings 36a, 36b which can house the primary battery 36a and the secondary battery 36b, respectively, on the outer circumferential surface of the ring-shaped body of the heating / So that operating power can be supplied to each part of the system from any one of the batteries housed in the respective battery receiving grooves.

충전기 연결부(37)는 도 2에 예시된 바와 같이 가열/조절 부재(30)의 링형상 몸체의 외주면에 노출되게 설치되며, 전원 공급부(36)에 외부 전원을 공급하여 전지 수납홈 내에 수납된 2차 전지(36b)를 충전할 수 있도록 외부 충전기와 접속 가능하게 구성된다.2, the charger connecting portion 37 is exposed to the outer circumferential surface of the ring-shaped body of the heating / regulating member 30, and supplies external power to the power supplying portion 36, And is configured to be connectable to an external charger so as to be able to charge the rechargeable battery 36b.

외부 충전기(38)는 상용 전원을 직류로 변환하고 전압 강하시켜 상기 2차 전지(36b)를 충전할 수 있는 정격의 전압과 전류를 출력하는, 상기 전원 공급부(36)에 대응하는 전압과 전류의 정격을 갖는 충전기로 이루어질 수 있다.The external charger 38 converts the commercial power to a direct current and outputs a voltage and a current rated to charge the secondary battery 36b by dropping the voltage. Lt; RTI ID = 0.0 > charger < / RTI >

이로써 가열/조절 부재(30)에 탑재되는 가열부 구동회로는 키입력부(32)를 통해 설정되는 사용자의 선택에 따라 가열부(35)를 보온 유지 상태 또는 급속 가열 상태로 구동하여 본체(10)의 내측 용기를 구성하고 있는 열전도 부재(11)를 급속 가열하거나 보온 상태로 유지하여 본체(10) 내부의 공간부(10a)에 수용된 내용물이 따듯하게 데워지거나 보온이 유지될 수 있게 하면서 그 동작 상태를 상태 표시부(34)를 통해 외부로 표시할 수 있게 된다. The heating unit driving circuit mounted on the heating / regulating member 30 drives the heating unit 35 in the heat retaining state or the rapid heating state according to the user's selection set through the key input unit 32, The thermally conductive member 11 constituting the inner container of the main body 10 is rapidly heated or maintained in a thermostat state so that the contents accommodated in the space 10a inside the main body 10 are warmed up or kept warm, Can be displayed externally through the status display unit 34. [

도 4a와 도 4b는 도 3의 가열부 구동회로의 구성에서 제어부(33)에 의해 이루어지는 가열부(35) 및 상태 표시부(34)의 제어동작을 예시한 흐름도로서, 도 4a는 사용자가 선택한 키값이 보온 키의 온 상태값인 경우 보온 유지 모드에서 수행되는 동작 흐름 예시도이고, 도 4b는 사용자가 선택한 키값이 급속 가열키의 온 상태값인 경우 급속 가열 모드에서 수행되는 동작 흐름 예시도이며, 크게 제1단계 내지 제3단계를 포함하여 이루어진다. 4A and 4B are flowcharts illustrating a control operation of the heating unit 35 and the status display unit 34 performed by the control unit 33 in the configuration of the heating unit driving circuit of FIG. FIG. 4B is a diagram illustrating an operation flow performed in the rapid heating mode when the key value selected by the user is the ON state value of the rapid heating key, and FIG. And includes the first to third steps.

제1단계는 키입력부(32)를 통해 사용자가 선택하는 키값을 체크하여, 보온 유지 모드를 설정하는 보온 키가 온 되는지, 또는 급속 가열 모드를 설정하는 급속 가열키가 온 되는지를 각각 판단하는 단계(S101,S102)와, 사용자가 선택한 키값에 따라 보온 유지 모드 또는 급속 가열 모드에 따라 보온 표시부 또는 급속 가열 표시부 중의 어느 하나를 선택적으로 점등시켜 가열부의 동작 모드를 보온 유지모드 또는 급속 가열모드로 표시하는 단계(S102,S112)를 포함하여 이루어진다. The first step is to check the key value selected by the user through the key input unit 32 to determine whether the warm-up key for setting the keep warm mode is on or whether the rapid heating mode for setting the rapid heating mode is on (S101, S102), and selectively activates any one of the keep-warm display portion or the rapid-heating display portion according to the heat retaining mode or the rapid heating mode according to the key value selected by the user to display the operation mode of the heating portion in the heat retaining mode or the rapid heating mode (S102, S112).

제2단계는 보온 유지 모드 또는 급속 가열 모드에 진입하여 각각 실행되는 단계로서, 온도 감지부(31)를 통해 본체(10)의 온도를 측정하여 그 측정된 온도값을 상기 보온 유지모드 또는 급속 가열모드의 설정상태에 따라 미리 설정된 하나 이상의 지정온도값과 비교하면서 보온 유지 또는 급속 가열이 이루어지도록 가열부(35)의 동작을 제어하는 단계이다. 이때 상기 제2단계에서는 도 4a에 예시된 바와 같이 보온 유지모드가 선택되면(S101의 Y분기) 온도를 측정(S103)하여 그 측정온도(T)값을 미리 설정된 제1 지정온도(T1)값과 제2 지정온도(T2)값과 각각 비교(S104,S106)하면서 미리 설정된 제1 지정온도(T1)값과 제2 지정온도(T2) 사이로 측정 온도가 유지되게 가열부(35)의 동작을 제어(S105,S107)하는 단계를 선택적으로 실행한다. 또한 상기 제2단계에서는 도 4b에 예시된 바와 같이 급속 가열모드가 선택되면(S111의 Y분기) 온도를 측정(S113)하여 그 측정온도(T)값을 미리 설정된 제3 지정온도(T3)값과 비교하면서 측정온도(T)값이 제3 지정온도(T3)값보다 낮은 온도로 떨어지는 경우 가열부(35)를 동작시켜 급속 가열을 실시하고 측정온도(T)값이 제3 지정온도(T3)값까지 도달하는 경우 가열부(35)의 동작을 정지시키는 단계(S113-S116)를 선택적으로 실행한다.The second step is a step of entering into the heat retention mode or the rapid heating mode, respectively, and is performed by measuring the temperature of the main body 10 through the temperature sensing part 31 and storing the measured temperature value in the heat retention mode or rapid heating And controlling the operation of the heating unit 35 so that the heat retention or rapid heating is performed while comparing with at least one predetermined temperature value set in advance according to the setting state of the mode. In the second step, the temperature is measured (S103) when the keeping maintenance mode is selected as illustrated in FIG. 4A (Y branch of S101), and the measured temperature T is set to a predetermined first specified temperature T1 The operation of the heating unit 35 is performed so that the measured temperature is maintained between the preset first predetermined temperature T1 and the second specified temperature T2 while comparing the measured temperature T2 with the second specified temperature T2 (Steps S105 and S107). 4B, when the rapid heating mode is selected (Y branch in S111), the temperature is measured (S113) and the measured temperature T is set to a predetermined third specified temperature T3 When the measured temperature T falls below the third specified temperature T3, the heating unit 35 is operated to perform rapid heating, and when the measured temperature T reaches the third specified temperature T3 (S113-S116) for stopping the operation of the heating unit 35 when the temperature reaches the predetermined value (S113-S116).

제3단계(S108,S109,S117,S118)는 키입력부(32)를 통해 사용자가 선택하는 키값을 체크하여, 보온 유지 모드를 해제하는 보온 키가 오프 되는지, 또는 급속 가열 모드를 해제하는 급속 가열키가 오프 되는지를 각각 판단하는 단계(S108,S117)키입력부(32)를 통해 보온 유지 모드가 해제(S108의 Y 분기)되거나 급속 가열 모드가 해제되면(S117의 Y 분기) 가열부 및 각 표시부의 동작을 정지시키고 동작을 종료하는 단계(S109,S118)를 포함하여 이루어진다. The third step (S108, S109, S117, and S118) checks the key value selected by the user through the key input unit 32 to determine whether the warm-up key for canceling the keeping maintenance mode is turned off or the rapid heating mode (S108, S117) When the keep warm mode is released (Y branch of S108) through the key input unit 32 or when the rapid heating mode is canceled (Y branch of S117) (S109, S118) of stopping the operation of the operation unit and terminating the operation.

이상과 같이 구성되는 본 발명에 의한 전기 가열식 휴대용 텀블러 및 그 제어방법 및 그에 작용 효과를 상세히 설명하면 다음과 같다.The electric heating portable tumbler according to the present invention constructed as described above, the control method thereof, and the operation effect thereof will be described in detail as follows.

먼저, 전원 공급부(36)의 1차 전지(36a) 또는 2차 전지(36b)로부터 동작 전원이 각 부분에 공급된 상태에서, 제어부(33)는 제1단계에서 키입력부(32)를 통해 사용자가 선택하는 키값을 체크(S101,S111)하여, 보온 키 또는 급속 가열키가 설정되는지의 여부에 따라 보온 유지 모드 또는 급속 가열 모드를 각각 구분하여 표시하기 위한 표시 제어신호를 상태 표시부(34)로 출력한다.First, in a state where operating power is supplied to each part from the primary battery 36a or the secondary battery 36b of the power supply unit 36, the control unit 33 controls the operation of the user through the key input unit 32 in the first step, (S101 and S111), and displays a display control signal for separately displaying the heat retaining mode or the rapid heating mode according to whether the warm-up key or the rapid heating key is set to the status display section 34 Output.

이때 상태 표시부(34)에서는 제어부(33)에서 출력되는 표시 제어신호에 따라 보온 유지 모드 또는 급속 가열 모드를 각각 구분하여 표시하는 보온 표시부 또는 급속 가열 표시부 중의 어느 하나를 선택적으로 점등(S102,S112)시켜 가열부의 동작 모드를 보온 유지모드 또는 급속 가열모드로 표시한다. At this time, the state display unit 34 selectively turns on any one of the warming-up display unit or the rapid-heating display unit to separately display the heat-holding mode or the rapid heating mode according to the display control signal outputted from the control unit 33 (S102, S112) And the operation mode of the heating unit is indicated by the heat retaining mode or the rapid heating mode.

다음으로 제2단계에서 제어부(33)는 보온 유지 모드 또는 급속 가열 모드에 진입하여, 우선 온도 감지부(31)를 통해 본체(10)의 결합부(11a) 온도(T)를 측정(S103)한다. The control unit 33 enters the heat retaining mode or the rapid heating mode to measure the temperature T of the engaging portion 11a of the main body 10 through the temperature sensing unit 31 at step S103, do.

이때 온도(T)값이 측정되면 제어부(33)는 보온 유지모드 설정상태에서는 미리 설정된 제1 지정온도(T1)값 및 제2 지정온도(T2) 값과 측정값(T)을 비교(S104,S106)하면서 제1 지정온도(T1)값 및 제2 지정온도(T2) 사이의 온도범위에서 보온이 유지되도록 가열부(35)의 동작을 구동(S105) 또는 정지(S107) 제어하고, 급속 가열모드 설정상태에서는 제3 지정온도(T3)값과 비교(S114)하면서 제3 지정온도(T3) 까지 급속 가열이 이루어지도록 가열부(35)의 동작을 제어(S115)한다.At this time, if the temperature T is measured, the control unit 33 compares the first specified temperature T1 and the second specified temperature T2 with the measured value T (S104, S106), the operation of the heating unit 35 is controlled to be driven (S105) or stopped (S107) so that the keeping of heat is maintained in the temperature range between the first specified temperature T1 and the second specified temperature T2, In the mode setting state, the operation of the heating unit 35 is controlled (S115) so that rapid heating is performed up to the third predetermined temperature T3 while comparing with the third specified temperature T3 (S114).

즉, 제2단계에서는 보온 유지모드가 선택되면(S101의 Y분기) 온도를 측정(S103)하여 그 측정 온도(T)값을 미리 설정된 제1 지정온도(T1)값과 제2 지정온도(T2)값과 각각 비교(S104,S106)하면서 미리 설정된 제1 지정온도(T1)값과 제2 지정온도(T2) 사이로 온도가 유지되게 가열부(35)를 구동 또는 정지 제어(S105,S107)하는 동작을 선택적으로 실행하고, 급속 가열모드가 선택되면(S111의 Y분기) 온도를 측정(S113)하여 그 측정 온도(T)값을 미리 설정된 제3 지정온도(T3)값과 비교하면서 측정 온도(T)값이 제3 지정온도(T3)값보다 낮은 온도로 떨어지는 경우 가열부(35)를 구동시켜 급속 가열을 실시하고 측정온도(T)값이 제3지정온도(T3)값에 도달하는 경우 가열부(35)의 동작을 정지 제어(S113-S116)하는 동작을 선택적으로 실행한다.That is, in the second step, when the keeping maintenance mode is selected (Y branch of S101), the temperature is measured (S103) and the measured temperature T is set to a predetermined first predetermined temperature T1 and a second specified temperature T2 (Steps S104 and S106), the heating section 35 is driven or stopped (steps S105 and S107) so that the temperature is maintained between the preset first predetermined temperature T1 and the second specified temperature T2 The temperature is measured (S113) when the rapid heating mode is selected (Y branch in S111), and the measured temperature (T) is compared with the preset third specified temperature (T3) T is lower than the third specified temperature T3, the heating unit 35 is driven to perform rapid heating. When the measured temperature T reaches the third specified temperature T3 The operation of stopping the operation of the heating unit 35 (S113-S116) is selectively executed.

마지막으로 제어부(33)는 제3단계에서 키입력부(32)를 통해 사용자가 선택하는 키값을 체크(S108)하여 보온 유지 모드가 설정된 상태에서 보온 유지 모드를 해제하는 보온 키가 오프되면(S108의 Y 분기) 가열부(35)의 동작 정지와 함께 보온 표시부(34a)의 동작을 정지(S109)시킨 후 모든 동작을 종료하며, 또는 급속 가열 모드가 설정된 상태에서 급속 가열 모드를 해제하는 급속 가열키가 오프되면(S117의 Y 분기) 가열부(35)의 동작 정지와 함께 급속 가열 표시부(34b)의 동작을 정지시키고 모든 동작을 종료한다.Finally, the control unit 33 checks the key value selected by the user through the key input unit 32 in step S108. If the warm-up key for releasing the keep-warm mode is turned off while the keep-warm mode is set Y branch) The operation of the warming-up display unit 34a is stopped (S109) after the operation of the heating unit 35 is stopped, and all the operations are terminated. Alternatively, the rapid heating mode (Y branch in S117), the operation of the rapid heating display unit 34b is stopped with the operation of the heating unit 35 being stopped, and all the operations are terminated.

이로써, 본 발명은 가열부 구동회로 및 이의 제어방법을 통해 사용자의 키입력상태 및 측정온도값에 따라 본체(10)의 내측 용기를 구성하고 있는 열전도 부재(11)를 급속 가열하거나 보온 상태로 유지하여 본체(10) 내부의 공간부(10a)에 수용된 내용물이 따듯하게 데워지거나 보온이 유지될 수 있게 하면서 그 동작 상태를 상태 표시부(34)를 통해 외부로 표시할 수 있게 된다.Thus, according to the present invention, the thermally conductive member 11 constituting the inner container of the main body 10 is rapidly heated or maintained in a thermostat state according to the key input state and the measured temperature value of the user through the heating unit driving circuit and the control method thereof So that the contents stored in the space 10a inside the main body 10 can be warmed up or kept warm while the operation status can be displayed to the outside through the status display unit 34. [

이상과 같이 본 발명은 비록 한정된 실시 예와 도면에 의해 설명되었으나, 본 발명은 상기의 실시 예에 한정되는 것은 아니며, 이는 본 발명이 속하는 분야에서 통상의 지식을 가진 자라면 이러한 기재로부터 다양한 수정 및 변형이 가능하다. 따라서, 본 발명의 사상은 아래에 기재된 특허청구범위에 의해서만 파악되어야 하고, 이의 균등 또는 등가적 변형 모두는 본 발명 사상의 범주에 속한다고 할 것이다.While the present invention has been particularly shown and described with reference to exemplary embodiments thereof, it is to be understood that the invention is not limited to the disclosed exemplary embodiments, but, on the contrary, Modification is possible. Accordingly, it is intended that the scope of the invention be defined by the claims appended hereto, and that all equivalent or equivalent variations thereof fall within the scope of the present invention.

10 : 본체 10a : 공간부
11 : 열전도 부재 11a : 결합부
12 : 비전도 부재 20 : 커버
30 : 가열/조절 부재 31 : 온도 감지부
32 : 키입력부 32a : 보온 키
32b : 급속 가열 키 33 : 제어부
34 : 상태 표시부 34a : 보온 표시부
34b : 급속 가열 표시부 35 : 가열부
36 : 전원 공급부 36a : 1차 전지
36b : 2차 전지 37 : 충전기 연결부
38 : 외부 충전기
10: main body 10a:
11: heat conduction member 11a:
12: non-conductive member 20: cover
30: heating / regulating member 31: temperature sensing unit
32: key input unit 32a:
32b: rapid heating key 33:
34: Status display section 34a:
34b: Rapid heating display part 35: Heating part
36: power supply unit 36a: primary battery
36b: secondary battery 37: charger connector
38: External charger

Claims (8)

텀블러에 있어서,
전도성 금속으로 이루어지는 열전도 부재(11)가 비전도성 재질로 이루어지는 비전도 부재(12)의 내측에 전체적으로 삽입되어 일체로 몸체가 형성되며, 몸체의 내부에 음료가 수용될 수 있는 공간부(10a)가 형성되고 상측이 개방되며 하측에는 가열/조절 부재(30)와의 끼움 결합 또는 분리를 위한 결합부(11a)가 형성되는 본체(10); 및
본체(10)의 하부에 형성된 결합부(11a)에 밀착 상태로 끼움 결합 또는 분리될 수 있는 내경의 링형상 몸체로 형성되며, 용기 내부에 담겨진 음료를 사용자의 선택에 따라 급속 가열하거나 보온상태로 유지하면서 그 동작 상태를 외부로 표시하는 가열/조절 부재(30);를 포함하여 구성되는 것을 특징으로 하는 전기 가열식 휴대용 텀블러.
In the tumbler,
A heat conductive member 11 made of a conductive metal is integrally inserted into the inside of the nonconductive member 12 made of a nonconductive material to integrally form a body and a space portion 10a in which a beverage can be received is formed inside the body A main body 10 having an upper side opened and a lower side formed with an engaging portion 11a for engaging or disengaging with the heating / regulating member 30; And
Shaped body having an inner diameter that can be fitted or detached in an adhered state to or in close contact with the engaging portion 11a formed at the lower portion of the main body 10. The beverage contained in the container can be rapidly heated And a heating / regulating member (30) for displaying the operating state of the electric tumbler while maintaining the state of the electric heating element.
제1항에 있어서, 상기 결합부(11a)는,
본체(10)의 외부에 위치하는 비전도 부재(12)의 하부로 그 내측의 열전도 부재(11)가 노출될 수 있도록 하여 형성되는 것을 특징으로 하는 전기 가열식 휴대용 텀블러.
The connector according to claim 1, wherein the engaging portion (11a)
Wherein the inner heat conductive member (11) is exposed to the lower portion of the nonconductive member (12) located outside the main body (10).
제2항에 있어서, 상기 가열/조절 부재(30)는,
링형상 몸체의 내주면에 전기적으로 자체 발열될 수 있는 가열부(35)를 설치하여 본체(10)의 하부로 노출된 결합부(11a)와 직접 밀착됨으로써 본체(10)의 내측 용기를 구성하고 있는 열전도 부재(11)를 전체적으로 직접 가열할 수 있도록 구성되는 것을 특징으로 하는 전기 가열식 휴대용 텀블러.
The heating / regulating member (30) according to claim 2, wherein the heating /
A heating part 35 which can be electrically heated can be provided on the inner circumferential surface of the ring-shaped body and is in direct contact with the engaging part 11a exposed to the lower part of the body 10 to constitute the inner container of the body 10 Wherein the heat conductive member (11) is configured to be able to directly heat the heat conductive member (11) as a whole.
제3항에 있어서,
상기 가열/조절부재(30)는 가열부(35)를 구동하기 위한 구동회로를 내장하며,
상기 가열부 구동회로는,
가열/조절부재(30)의 링형상 몸체의 내주면 일측에 내장되며, 본체(10) 하부에 노출된 결합부(11a)의 온도를 측정하여 그 측정 온도를 제어부(33)로 전달하는 온도 감지부(31);
사용자가 임의로 조작할 수 있도록 가열/조절부재(30)의 링형상 몸체의 외주면에 외부로 노출되게 설치되는 보온키(32a)와 급속 가열키(32b)를 포함하여 구성되며, 각각의 키입력신호를 발생시켜 제어부(33)로 전달하는 키입력부(32);
가열/조절 부재(30)의 링형상 몸체의 내부에 내장되며, 시스템의 동작을 전체적으로 제어하면서 키입력부(32)를 통해 설정되는 키입력상태 및 온도 감지부(31)를 통해 측정되는 온도값에 따라 가열부(35) 및 상태 표시부(34)의 동작을 제어하여, 본체 내부의 열전도 부재(11)를 보온 유지 또는 급속 가열시키는 제어부(33);
가열/조절 부재(30)의 링형상 몸체의 외주면에 외부로 노출되게 설치되어 사용자 조작에 따른 가열부의 동작 상태를 각각 구분하여 표시하는 보온 표시부(34a)와 급속 가열 표시부(34b)를 포함하여 구성되며, 제어부(34)에서 발생되는 하나 이상의 표시 제어신호에 의해 각각 구동되는 상태 표시부(34); 및
가열/조절 부재(30)의 링형상 몸체의 외주면에 1차 전지(36a) 및 2차 전지(36b)가 각각 내장될 수 있는 하나 이상의 전지 수납홈을 형성하여 각 전지 수납홈에 수납되는 전지 중의 어느 하나로부터 시스템의 각 부분에 동작 전원을 공급할 수 있도록 구성되는 전원 공급부(36);를 포함하여 구성되는 것을 특징으로 하는 전기 가열식 휴대용 텀블러.
The method of claim 3,
The heating / regulating member 30 incorporates a driving circuit for driving the heating unit 35,
The heating section drive circuit may include:
A temperature sensing unit 30 which is installed at one side of the inner circumferential surface of the ring-shaped body of the heating / regulating member 30 and measures the temperature of the engaging portion 11a exposed at the lower portion of the body 10 and transfers the measured temperature to the control unit 33; (31);
A warming key 32a and a rapid heating key 32b, which are externally exposed on the outer circumferential surface of the ring-shaped body of the heating / regulating member 30 so as to be freely operated by a user, And transmits it to the control unit 33;
Shaped body of the heating / regulating member 30 and controls the operation of the system as a whole to control the key input state set through the key input unit 32 and the temperature value measured through the temperature sensing unit 31 A control unit 33 for controlling the operation of the heating unit 35 and the status display unit 34 to heat or maintain the heat conductive member 11 inside the main body;
A warming display unit 34a and a rapid heating display unit 34b, which are installed outside the ring-shaped body of the heating / regulating member 30 so as to be exposed to the outside and separately display the operating states of the heating unit according to user's operation, A status display unit 34 driven by one or more display control signals generated by the control unit 34; And
One or more battery receiving grooves into which the primary battery 36a and the secondary battery 36b can be respectively mounted may be formed on the outer circumferential surface of the ring-shaped body of the heating / regulating member 30, And a power supply unit (36) configured to supply operating power to each part of the system from any one of the power supply unit (36) and the power supply unit (36).
제4항에 있어서,
가열/조절 부재(30)의 링형상 몸체의 외주면에 노출되게 설치되며, 상기 전원 공급부(36)에 외부 전원을 공급하여 전지 수납홈 내에 수납된 2차 전지(36b)를 충전할 수 있도록 외부 충전기와 접속 가능하게 구성되는 충전기 연결부(37); 및
상기 충전기 연결부(37)와 접속 가능하게 구성되며, 외부의 상용 전원을 직류로 변환하고 전압 강하시켜 상기 2차 전지를 충전할 수 있는 정격의 전압과 전류를 출력하는 외부 충전기(38);를 포함하여 구성되는 것을 특징으로 하는 전기 가열식 휴대용 텀블러.
5. The method of claim 4,
The battery charger 36 is installed to be exposed to the outer circumferential surface of the ring-shaped body of the heating / regulating member 30 and supplies external power to the power supply unit 36, A charger connection portion (37) configured to be connectable with the battery charger; And
And an external charger 38 connected to the charger connection unit 37 and configured to convert external commercial power to direct current and output a rated voltage and current capable of charging the secondary battery by dropping the voltage Wherein the tumbler comprises:
제4항에 있어서, 상기 제어부(33)는,
내장 메모리를 구비하여 사용자에 의해 설정되거나 또는 초기값에 의해 미리 설정된 하나 이상의 기준온도값(제1 지정온도값 내지 제3 지정온도값)을 저장하도록 프로그램되는 것을 특징으로 하는 전기 가열식 휴대용 텀블러.
5. The apparatus according to claim 4, wherein the control unit (33)
Wherein the controller is programmed to store one or more reference temperature values (a first designated temperature value to a third specified temperature value) which are preset by a user or preset by an initial value, provided with a built-in memory.
온도 감지부(31) 및 가열부(35)를 탑재하고, 키입력부(32)를 통해 선택 가능한 보온 유지 모드 또는 급속 가열 모드를 구비하여, 상기 키입력부를 통해 이루어지는 사용자의 선택에 따라 가열부(35)의 동작을 제어하여 본체(10) 내부의 공간부(10a)에 수용된 내용물을 데우거나 보온이 유지될 수 있게 제어하는 전기 가열식 텀블러의 제어방법에 있어서,
(a) 키입력부(32)를 통해 사용자가 선택하는 보온 유지 모드 또는 급속 가열 모드에 따라 보온 표시 또는 급속 가열 표시를 위한 어느 하나의 표시동작을 선택적으로 제어하여 가열부의 동작 모드를 보온 유지모드 또는 급속 가열모드로 표시하는 제1단계;
(b) 온도 감지부(31)를 통해 본체(10)의 온도를 측정하여 그 측정된 온도값을 상기 보온 유지모드 또는 급속 가열모드의 설정상태에 따라 미리 설정된 하나 이상의 지정온도값과 비교하면서 보온 유지 또는 급속 가열이 이루어지도록 가열부(35)의 동작을 제어하는 제2단계; 및
(c) 키입력부(32)를 통해 보온 유지 모드 또는 급속 가열 모드가 해제되면 가열부 및 각 표시부의 동작을 정지시키고 동작을 종료하는 제3단계;를 포함하여, 이루어지는 것을 특징으로 하는 전기 가열식 휴대용 텀블러의 제어방법
The temperature sensing unit 31 and the heating unit 35 are mounted and the heating and holding mode or rapid heating mode is selectable through the key input unit 32. The heating unit 35. A method of controlling an electric heating tumbler for controlling the temperature of the contents stored in the space 10a in the main body 10 to be maintained or maintained,
(a) selectively controlling any one display operation for the warm-up display or the rapid-heating display according to the heat retaining mode or the rapid heating mode selected by the user through the key input unit 32 to change the operation mode of the heating unit to the heat- A first step of displaying in a rapid heating mode;
(b) The temperature of the main body 10 is measured through the temperature sensing unit 31, and the measured temperature value is compared with one or more predetermined temperature values preset according to the setting state of the keeping warm mode or the rapid heating mode, A second step of controlling the operation of the heating unit 35 so that heating or rapid heating is performed; And
(c) a third step of stopping the operations of the heating unit and the respective display units and terminating the operation when the heat retaining mode or the rapid heating mode is released through the key input unit 32 How to control the tumbler
제7항에 있어서, 상기 제2단계(b)는,
(b1) 보온 유지모드가 선택되면 온도를 측정하여 그 측정온도(T)값이 미리 설정된 제1 지정온도(T1)값과 제2 지정온도(T2)사이로 유지되게 가열부(35)의 동작을 제어하는 단계;
(b2) 급속 가열모드가 선택되면 온도를 측정하여 그 측정 온도(T)값이 미리 설정된 제3 지정온도(T3)값보다 낮은 경우 가열부(35)를 동작시켜 급속 가열을 실시하고 측정 온도(T)값이 미리 설정된 제3 지정온도(T3)값까지 도달한 경우 가열부(35)의 동작을 정지시키는 단계; 중의 어느 하나의 처리 단계를 포함하여 이루어지는 것을 특징으로 하는 전기 가열식 휴대용 텀블러 제어방법.
8. The method of claim 7, wherein the second step (b)
(b1) When the keeping maintenance mode is selected, the temperature is measured and the operation of the heating unit 35 is performed so that the measured temperature T is maintained between the first predetermined temperature T1 and the second specified temperature T2 ;
(b2) When the rapid heating mode is selected, the temperature is measured. If the measured temperature (T) is lower than a preset third predetermined temperature (T3), the heating unit (35) Stopping the operation of the heating unit 35 when the temperature T reaches a preset third predetermined temperature T3; Wherein the step of controlling the electric heating tumbler comprises the steps of:
KR20130114998A 2013-09-27 2013-09-27 An electric heating portable tumbler and method for controlling thereof Ceased KR20150034975A (en)

Priority Applications (1)

Application Number Priority Date Filing Date Title
KR20130114998A KR20150034975A (en) 2013-09-27 2013-09-27 An electric heating portable tumbler and method for controlling thereof

Applications Claiming Priority (1)

Application Number Priority Date Filing Date Title
KR20130114998A KR20150034975A (en) 2013-09-27 2013-09-27 An electric heating portable tumbler and method for controlling thereof

Publications (1)

Publication Number Publication Date
KR20150034975A true KR20150034975A (en) 2015-04-06

Family

ID=53030054

Family Applications (1)

Application Number Title Priority Date Filing Date
KR20130114998A Ceased KR20150034975A (en) 2013-09-27 2013-09-27 An electric heating portable tumbler and method for controlling thereof

Country Status (1)

Country Link
KR (1) KR20150034975A (en)

Cited By (4)

* Cited by examiner, † Cited by third party
Publication number Priority date Publication date Assignee Title
CN108851866A (en) * 2018-06-04 2018-11-23 东莞市同盟智能科技有限公司 A portable smart coffee cup
KR102015629B1 (en) * 2018-03-05 2019-08-28 정철균 Beverage Container
KR102190788B1 (en) 2019-06-19 2020-12-14 김영태 Apparatus for mounting and charging a stick-type heating module
KR102190787B1 (en) 2019-06-19 2020-12-14 김영태 Stick-type heat generating device and method for manufacturing plane heater included therein

Cited By (4)

* Cited by examiner, † Cited by third party
Publication number Priority date Publication date Assignee Title
KR102015629B1 (en) * 2018-03-05 2019-08-28 정철균 Beverage Container
CN108851866A (en) * 2018-06-04 2018-11-23 东莞市同盟智能科技有限公司 A portable smart coffee cup
KR102190788B1 (en) 2019-06-19 2020-12-14 김영태 Apparatus for mounting and charging a stick-type heating module
KR102190787B1 (en) 2019-06-19 2020-12-14 김영태 Stick-type heat generating device and method for manufacturing plane heater included therein

Similar Documents

Publication Publication Date Title
US6703590B1 (en) Bottle warmer for disposable baby bottle
CN101052368B (en) Combination Portable Heating Unit
US7022946B2 (en) Electronic drinking mug
US9186006B2 (en) Portable liquid warmer
CA2510031A1 (en) A heating device for a feeding bottle
KR20150034975A (en) An electric heating portable tumbler and method for controlling thereof
KR102444320B1 (en) A device that keeps baby food at a specific temperature
US10786110B2 (en) Portable heating rod
US20190285338A1 (en) Portable container with temperature regulator
US20140361002A1 (en) Portable Heating Device For Liquid
KR20180133294A (en) Portable refrigeration heater using thermoelectric element
KR200485140Y1 (en) Food vessel having temperature controlling function
KR20180089006A (en) Tumbler with carbon heating element
US20210014941A1 (en) Portable induction heater
KR200480733Y1 (en) Tumbler
US6870137B1 (en) Artificial tears container warming apparatus
CN209863363U (en) Temperature control device and kettle with same
KR102248151B1 (en) Smart electric type heating and warming device
KR102038222B1 (en) Portable cup holder
US20190208954A1 (en) Portable Device With a Temperature-Setting Element
KR20170049170A (en) Drink container with function of heating
KR20180058521A (en) fever stick
US9359182B1 (en) Portable beverage dispenser with self-rechargeable powdered electronic beverage condition display assembly
CN109247782A (en) A kind of vacuum cup with heating function
KR102006846B1 (en) Insulation containers for companion animals

Legal Events

Date Code Title Description
A201 Request for examination
PA0109 Patent application

Patent event code: PA01091R01D

Comment text: Patent Application

Patent event date: 20130927

PA0201 Request for examination
E902 Notification of reason for refusal
PE0902 Notice of grounds for rejection

Comment text: Notification of reason for refusal

Patent event date: 20141001

Patent event code: PE09021S01D

E601 Decision to refuse application
PE0601 Decision on rejection of patent

Patent event date: 20150302

Comment text: Decision to Refuse Application

Patent event code: PE06012S01D

Patent event date: 20141001

Comment text: Notification of reason for refusal

Patent event code: PE06011S01I

PG1501 Laying open of application