KR20150030186A - Integrated drain-trap device for bathroom - Google Patents

Integrated drain-trap device for bathroom Download PDF

Info

Publication number
KR20150030186A
KR20150030186A KR20140144501A KR20140144501A KR20150030186A KR 20150030186 A KR20150030186 A KR 20150030186A KR 20140144501 A KR20140144501 A KR 20140144501A KR 20140144501 A KR20140144501 A KR 20140144501A KR 20150030186 A KR20150030186 A KR 20150030186A
Authority
KR
South Korea
Prior art keywords
drain
drainage
bathroom
water
trap
Prior art date
Legal status (The legal status is an assumption and is not a legal conclusion. Google has not performed a legal analysis and makes no representation as to the accuracy of the status listed.)
Granted
Application number
KR20140144501A
Other languages
Korean (ko)
Other versions
KR101511683B1 (en
Inventor
류지현
황상원
류호근
지상호
Original Assignee
이현배쓰(주)
Priority date (The priority date is an assumption and is not a legal conclusion. Google has not performed a legal analysis and makes no representation as to the accuracy of the date listed.)
Filing date
Publication date
Application filed by 이현배쓰(주) filed Critical 이현배쓰(주)
Priority to KR20140144501A priority Critical patent/KR101511683B1/en
Publication of KR20150030186A publication Critical patent/KR20150030186A/en
Application granted granted Critical
Publication of KR101511683B1 publication Critical patent/KR101511683B1/en
Active legal-status Critical Current
Anticipated expiration legal-status Critical

Links

Images

Classifications

    • EFIXED CONSTRUCTIONS
    • E03WATER SUPPLY; SEWERAGE
    • E03FSEWERS; CESSPOOLS
    • E03F5/00Sewerage structures
    • E03F5/04Gullies inlets, road sinks, floor drains with or without odour seals or sediment traps
    • E03F5/0407Floor drains for indoor use
    • EFIXED CONSTRUCTIONS
    • E03WATER SUPPLY; SEWERAGE
    • E03FSEWERS; CESSPOOLS
    • E03F5/00Sewerage structures
    • E03F5/04Gullies inlets, road sinks, floor drains with or without odour seals or sediment traps
    • E03F5/042Arrangements of means against overflow of water, backing-up from the drain
    • FMECHANICAL ENGINEERING; LIGHTING; HEATING; WEAPONS; BLASTING
    • F16ENGINEERING ELEMENTS AND UNITS; GENERAL MEASURES FOR PRODUCING AND MAINTAINING EFFECTIVE FUNCTIONING OF MACHINES OR INSTALLATIONS; THERMAL INSULATION IN GENERAL
    • F16LPIPES; JOINTS OR FITTINGS FOR PIPES; SUPPORTS FOR PIPES, CABLES OR PROTECTIVE TUBING; MEANS FOR THERMAL INSULATION IN GENERAL
    • F16L25/00Construction or details of pipe joints not provided for in, or of interest apart from, groups F16L13/00 - F16L23/00
    • F16L25/14Joints for pipes of different diameters or cross-section
    • EFIXED CONSTRUCTIONS
    • E03WATER SUPPLY; SEWERAGE
    • E03FSEWERS; CESSPOOLS
    • E03F5/00Sewerage structures
    • E03F5/04Gullies inlets, road sinks, floor drains with or without odour seals or sediment traps
    • E03F2005/0416Gullies inlets, road sinks, floor drains with or without odour seals or sediment traps with an odour seal

Landscapes

  • Engineering & Computer Science (AREA)
  • Health & Medical Sciences (AREA)
  • Life Sciences & Earth Sciences (AREA)
  • Hydrology & Water Resources (AREA)
  • Public Health (AREA)
  • Water Supply & Treatment (AREA)
  • General Engineering & Computer Science (AREA)
  • Mechanical Engineering (AREA)
  • Sink And Installation For Waste Water (AREA)

Abstract

본 발명은 조립식 욕실 층상배관의 욕실바닥과 방수판 사이에 설치되는 배수트랩에서 배출수의 역류 및 누수를 방지할 수 있도록 하는 욕실용 통합 배수트랩에 관한 것이다.
본 발명은 욕실의 바닥 방수판 상부에 설치되고, 세면기와 욕조 및 욕실 바닥의 배수를 원활히 하도록 하는 조립식 욕실 층상배관용 배수트랩에 있어, 상기 배수트랩은 상측 개방부를 통하여 욕실의 바닥 배수구와 연결되고, 내측에 배수가 집수되는 집수 공간부를 갖는 배수받이 본체와; 상기 배수받이 본체의 외주면에 돌출 관통되어 욕실의 세면기, 욕조의 배수를 집수공간부로 유입하기 위한 복수의 배수 유입구와; 상기 배수받이 본체의 외주면에 돌출 관통되어 상기 집수 공간부를 통해 수집된 배수를 흘려보내기 위한 배수 배출구을 포함하여 이루어지며, 상기 배수받이 본체의 집수 공간부 내에 형성되어 어느 하나의 배수 유입구를 관통하는 배수의 집수를 조절하여 상기 집수 공간부에서 발생하는 배수 오버플로를 위한 월류벽을 더 포함하여 이루어지는 것으로서, 개선된 욕실용 통합 배수트랩을 제공하여 층상배관 배수트랩에서 악취의 차단, 역류 방지, 누수 차단 등을 할 수 있다.
The present invention relates to an integrated drainage trap for a bathroom which can prevent reverse flow and leakage of drainage water from a drainage trap provided between a bathroom floor and a waterproofing plate of a built-up bathroom layered pipe.
The present invention relates to a drainage trap for a layered piping of a built-in bathroom installed on a floor waterproofing plate of a bathroom and facilitating the drainage of the washstand, bathtub and bathroom floor, wherein the drainage trap is connected to the bottom drain of the bathroom through the upper opening A drainage receiving body having a water collecting space part in which drain water is collected inside; A plurality of drainage inlets for protruding through the outer circumferential surface of the drain pan body to allow wastewater from the bathtub and bathtub of the bathroom to flow into the catchment space; And a drain outlet formed to protrude through the outer circumferential surface of the drain receiving body to drain the collected water through the drain receiving space. The drain outlet formed in the drain receiving space of the drain receiving body, And a drainage wall for draining overflow generated in the water collecting space part by controlling the water collecting. The improved integrated drainage trap for a bathroom is provided to prevent odor from blocking, reverse flow, can do.

Description

욕실용 통합 배수트랩{INTEGRATED DRAIN-TRAP DEVICE FOR BATHROOM}{INTEGRATED DRAIN-TRAP DEVICE FOR BATHROOM}

본 발명은 욕실용 통합 배수트랩에 관한 것으로서, 더욱 상세하게는 조립식 욕실의 세면기, 욕조 및 욕실의 바닥 배수를 통합 연결하는 배수트랩을 제공하여 악취나 역류를 방지할 수 있도록 하는 욕실용 통합 배수트랩에 관한 것이다.
The present invention relates to an integrated drainage trap for a bathroom, and more particularly, to an integrated drainage trap for a bathroom which provides a drainage trap for integrally connecting a washroom, a bathtub, .

일반적으로 주택의 욕실 바닥에는 세면기와 욕조의 하수를 배출하고 양변기의 오수를 배출하기 위한 배수 구조가 바닥 콘크리트 슬래브를 통과하여 아래층의 천정을 통해 파이프 덕트에 설치된 하수 입관(立管)과 오수 입관(立管)에 연결되도록 구성되어 있었다.Generally, the drainage structure for discharging the wash water and sewage water from the washbasin and the bathtub is installed on the bathroom floor of the house, and the drainage structure for discharging the sewage water from the toilet is installed through the bottom concrete slab, Up tube).

또한 욕실의 바닥에는 방수구조가 필수적으로 시공되어야 하며, 욕실의 바닥의 시공 방법에 따라 습식과 건식공법으로 구분되고 있다.In addition, the waterproof structure must be installed on the bottom of the bathroom, and wet and dry methods are classified according to the construction method of the bottom of the bathroom.

근래에 들어 습식공법의 바닥 욕실 시공은 시공의 번거로움과 방수층의 균열로 누수가 발생할 가능성이 높고, 유지보수가 어렵다는 이유로 기피하고 있는 실정이다.In recent years, the construction of the bottom bath of the wet method has been hindered due to the inconvenience of construction and the possibility of water leakage due to cracks in the waterproof layer, and maintenance is difficult.

따라서 설치가 간편하고 유지 보수 및 바닥 방수를 위한 건식공법으로 시공하는 사례가 점차 보급되고 있다.Therefore, it is becoming increasingly common to install a dry method for maintenance and floor waterproofing.

상기 건식공법은 일명 '조립식 욕실(UBR)'이라 칭하며 욕실 바닥, 벽, 천장의 형성에 필요한 자재를 공장에서 미리 생산한 후, 현장에서 단순 조립하여 완성하는 조립식 욕실 배수 시스템이다.The dry method is a so-called 'prefabricated bathroom (UBR)' and is a prefabricated bathroom drainage system in which materials required for the formation of bathroom floors, walls and ceilings are produced in advance at the factory and then assembled in the field.

특히, 열가소성수지(TPR) 방수판을 이용한 조립식 욕실은 통상적으로 하수와 오수를 배출하는 배수관이 바닥 방수판에 고정 설치되고 몰탈층과 바닥타일로 마감되고, 경우에 따라 바닥타일 하단에는 바닥 온열을 위한 온수파이프가 함께 매설하여 시공하기도 한다.Particularly, in a modular bathroom using a thermoplastic resin (TPR) waterproofing plate, a drain pipe for discharging sewage and sewage is fixedly installed on a floor waterproofing plate, and is finished with a mortar layer and a floor tile. In some cases, There is also a hot water pipe for construction.

또한 상기 바닥 방수판을 기준으로 배관 파이프가 바닥 방수판의 상부에 설치되는 경우 층상배관, 배관 파이프가 바닥 방수판을 관통하여 아래층의 천장에 설치되는 경우 층하배관으로 구분할 수 있다. 한편, 조립식 욕실의 층상배관 및 층하배관의 시공에 따른 배수구와 배수트랩의 설치 구조에 문제가 발생할 경우 심각한 누수와 악취가 발생하는 등 문제점이 있다.In addition, when the piping pipe is installed on the upper part of the bottom watertight plate on the basis of the bottom watertight plate, the layered pipe and the piping pipe can be divided into the floor piping when they are installed on the ceiling of the lower layer through the bottom watertight plate. On the other hand, if there is a problem in the installation structure of the drainage port and the drainage trap due to the construction of the layered pipe and the layered pipe of the assembled bathroom, serious leakage and odor may occur.

따라서 기존의 층상배관용 배수트랩에서 발생했던 누수 및 과도한 배수로 배수구조에 따른 배출수가 역류나 악취 발생을 원천 차단할 수 있도록 함과 아울러, 기존의 선행기술에 대비하여 구조가 현저하게 개선된 욕실용 통합 배수트랩의 제공을 필요로 하였다.Therefore, it is possible to prevent the reverse flow and odor from being generated due to the water leakage caused by the existing drainage trap for the layered pipe and the drainage structure due to the excessive drainage, It was necessary to provide drainage traps.

본 발명의 배수트랩을 층상배관 또는 층하배관에 적용하여도 무방하며, 조립식 욕실의 시공 설계상 근래에 많이 시공되는 층상배관용 배수트랩으로 설명하고자 한다.
The drain trap of the present invention may be applied to a layered pipe or a layered pipe, and a drainage trap for a layered pipe which is widely applied in recent years due to the design of a built-in bathroom.

KR 등록특허공보 B1 10-0999117 (2010. 12. 01)KR Patent Registration Bulletin B1 10-0999117 (Dec. 01, 2010)

상기한 문제점을 해결하기 위한 본 발명의 목적은 개선된 욕실용 통합 배수트랩을 제공하여 하나의 배수트랩 구조에서 누수 없이 원활한 배출수가 흐르도록 하기 위함이다SUMMARY OF THE INVENTION It is an object of the present invention to solve the problems described above and to provide an improved integrated drainage trap for a bathroom,

본 발명의 다른 목적은 통합 배수트랩에 연결되는 욕조의 배수에서 악취나 역류가 발생하는 것을 방지하기 위함이다. 이러한 과제를 달성함에 있어 이미 배수트랩이 설치된 욕실 구성요소(예를 들면 세면대)의 경우 바로 배수 처리하되, 별도의 배수 트랩이 설치되어 있지 않은 욕조는 본 발명의 통합 배수트랩에서 봉수(sealing water) 처리하고자 한다.Another object of the present invention is to prevent odor or backflow from occurring in the drainage of the bathtub connected to the integrated drainage trap. In accomplishing this task, a bathroom component (e.g., a sink) that already has drainage traps is drained, but a bath without a separate drainage trap can be used for sealing water in the integrated drainage traps of the present invention. .

본 발명의 또 다른 목적은 욕실용 통합 배수트랩에 기능적인 오버플로 수단을 제공하여 순간 배수량에 따른 배출수가 욕실 바닥에서 넘쳐 오르는 것을 방지하기 위함이다.It is a further object of the present invention to provide a functional overflow means for an integrated drainage trap for a bathroom to prevent the discharge of water according to instantaneous drainage from overflowing from the bathroom floor.

본 발명의 또 다른 목적은 욕실 바닥 배수의 역류와 악취를 효율적으로 방지하면서 구조가 단순하여 설치 및 유지보수가 편리한 욕실용 통합 배수트랩을 제공하려는데 있다.Another object of the present invention is to provide an integrated drain trap for a bathroom which is simple in structure and easy to install and maintain while effectively preventing reverse flow and odor of a bathroom floor drainage.

본 발명의 또 다른 목적은 조립식 욕실의 시설 증설에 따른 바닥 배수를 효율적으로 배출하도록 하는 욕실용 통합 배수트랩을 제공하려는데 있다.
It is another object of the present invention to provide an integrated drainage trap for a bathroom, which effectively discharges floor drainage due to facility expansion of a built-in bathroom.

본 발명은 상술한 목적을 달성하기 위하여, 배수받이 본체에서 하나 이상의 배수 유입구가 형성되고, 상기 배수받이 본체 내측에 욕실의 세면기, 욕조 및 욕실의 바닥 배수를 하나로 통합하는 집수 공간부를 갖는 배스트랩과; 상기 배수받이 본체 내에 벽체로 형성되어 상기 배수 유입구 중, 어느 하나의 배수 유입구의 전방을 가로 막도록 형성되기 위한 월류벽을 더 포함하여 이루어지며, 상기 월류벽에 의해 욕조 배수구의 악취나 역류를 방지하는 트랩 구조를 이루도록 구성됨을 특징으로 하는 욕실용 통합 배수트랩을 제공한다.In order to achieve the above-mentioned object, the present invention is characterized in that at least one drainage inlet is formed in a drainage main body, a ship strap having a sink, a bathtub and a water collecting space part for integrating the bottom drainage of the bathroom into one inside the drainage main body ; And a wall which is formed as a wall in the drain pan body and which is formed so as to block the front of one of the drain inlets of the drain pan, And a drain hole formed in the drain hole.

본 발명은 상술한 목적을 달성하기 위하여, 세면기와 욕조 및 욕실 바닥의 배수를 통합하도록 하는 욕실용 통합 배수트랩에 있어, 상기 배수트랩은, 상측 개방부를 통하여 욕실의 바닥 배수구와 연결되고, 내측에 배수가 집수되는 집수 공간부를 갖는 배수받이 본체와; 상기 배수받이 본체의 외주면에 관통되어 욕실의 세면기, 욕조의 배수를 집수 공간부로 유입하기 위한 배수 유입구와; 상기 배수받이 본체의 외주면에 관통되어 상기 집수 공간부를 통해 통합된 배수를 흘려보내기 위한 배수 배출구를 포함하여 이루어지며, 상기 배수받이 본체의 집수 공간부에 상기 배수 유입구를 통해 유입되는 배수의 수위를 조절하여 악취를 차단하기 위한 월류벽을 더 포함하여 이루어지는 것을 특징으로 한다. In order to achieve the above object, the present invention provides an integrated drain trap for a bathroom which integrates a wash bowl, a bathtub and a drain on a bathroom floor, the drain trap being connected to a bottom drain of a bathroom through an upper opening, A drain main body having a water collecting space part in which drain water is collected; A drain inlet penetrating the outer circumferential surface of the drain pan body to allow wastewater from the washstand and the bathtub of the bathroom to flow into the water collecting space; And a drain outlet through which the integrated drainage water flows through the drainage space portion through the outer circumferential surface of the drainage receiving body. The water level of the drainage water flowing into the drainage inlet portion of the drainage receiving body is adjusted And a flow wall for blocking offensive odors.

또한 본 발명은 상술한 목적을 달성하기 위하여, 상기 배수 유입구 중, 어느 하나의 배수 유입구는 내부관과 외부관의 이중 구조로 이루어지고, 욕조에서 연결되는 배수관이 상기 내부관과 외부관의 사이에 접속되어 고정됨을 특징으로 한다.According to another aspect of the present invention, in order to achieve the above-mentioned object, a drainage inlet of any one of the drainage inlets has a double structure of an inner tube and an outer tube, and a drainage pipe connected in the bathtub is provided between the inner tube and the outer tube And connected and fixed.

또한 본 발명은 상술한 목적을 달성하기 위하여, 상기 월류벽은 상기 배수받이 본체 내에 벽체로 형성되어 상기 배수 유입구 중 욕조 배수구와 연결되는 배수 유입구의 전방을 가로 막도록 형성되는 것을 특징으로 한다.In order to achieve the above-mentioned object, the present invention is characterized in that the wall is formed as a wall in the drain pan body to block the front of a drain inlet connected to the bathtub drain port of the drain inlet.

또한 본 발명은 상술한 목적을 달성하기 위하여, 상기 월류벽은 상기 배수받이 본체의 내측 바닥면에서 집수 공간부로 수직으로 세워지는 칸막이와; 상기 칸막이의 좌우 양측에서 절곡되어 상기 배수받이 본체의 내벽과 연결되는 좌우 연결편을 포함하고, 상기 좌우 연결편은 유입수에 저항이 적도록 하여 원활히 배수토록 함으로써 역류를 방지하는 일정 경사각을 가지는 경사면으로 형성됨을 특징으로 한다.In order to achieve the above-mentioned object, the present invention is characterized in that the wall is formed vertically from the inner bottom surface of the drain pan to the water collecting space; The left and right connecting pieces are formed as inclined surfaces having a predetermined inclination angle to prevent reverse flow by allowing the drainage water to drain smoothly so that resistance is low. .

또한 본 발명은 상술한 목적을 달성하기 위하여, 상기 칸막이는 유입수의 저항을 적게 하기 위하여 상기 배수받이 본체의 내벽에서 일정 간격을 유지한 체, 상기 배수받이 본체의 바닥 중심에서 상기 유입구 방향으로 볼록하게 반호 형태의 단면을 가지도록 형성되는 것을 특징으로 한다.In order to achieve the above-mentioned object, the partition is provided with a body which is kept at a predetermined distance from the inner wall of the drain pan body to reduce the resistance of the inflow water, a body which is convex from the bottom center of the drain pan body toward the inlet And is formed so as to have a semicircular cross section.

또한 본 발명은 상술한 목적을 달성하기 위하여, 상기 경사면은 상기 배수받이 본체의 내벽과 일정 간격 폭을 유지하면서 상기 좌우 연결편의 상단부에서 시작하여 상기 칸막이를 반호 형태로 감싸면서 일정 경사각으로 상기 배수받이 본체의 바닥면까지 일체로 형성됨을 특징으로 한다.Further, in order to achieve the above-mentioned object, the present invention is characterized in that the inclined surface starts from the upper end of the left and right connecting pieces while maintaining a certain interval width from the inner wall of the drainage receiving body, And the bottom surface of the main body is integrally formed.

또한 본 발명은 상술한 목적을 달성하기 위하여, 상기 배수받이 본체는 배수가 집수되는 내측 바닥면이 상기 월류벽이 시작되는 일측 바닥면에서 상기 배수 배출구가 형성되기 시작하는 바닥면까지 기울여지도록 형성됨을 특징으로 한다.In order to achieve the above-mentioned object, the drainage receiving body is formed such that an inner bottom surface from which drainage water is collected is inclined from a bottom surface where the drainage wall starts to a bottom surface where the drainage outlet is formed, .

또한 본 발명은 상술한 목적을 달성하기 위하여, 상기 배수받이 본체는 그 개방되는 상단에 끼움 결합되어 욕실의 바닥 배수구를 견고하게 체결하면서 상기 배수받이 본체의 상단을 마감하기 위한 마감커버가 더 형성됨을 특징으로 한다.
In order to achieve the above-mentioned object, the present invention further provides a finishing cover for finishing an upper end of the drain pan main body while tightly fastening a bottom drain port of the bathroom, .

본 발명은 배수받이 본체에서 하나 이상의 배수 유입구가 형성되고, 상기 배수받이 본체 내측에 욕실의 세면기, 욕조 및 욕실의 바닥 배수를 하나로 통합하는 집수 공간부를 갖는 배수트랩과; 상기 배수받이 본체 내에 벽체로 형성되어 상기 배수 유입구 중, 어느 하나의 배수 유입구의 전방을 가로 막도록 형성되기 위한 월류벽을 더 포함하여 이루어지며, 상기 월류벽에 의해 욕조 배수구의 악취나 역류를 차단할 수 있다.The present invention relates to an air conditioner comprising: a drain trap having one or more drain openings formed in a drain pan body and having a water collecting space part for integrating the bottom drain of a bathtub, a bathtub and a bathroom in the inside of the drain pan main body; And a wall which is formed as a wall in the drain pan body and is formed so as to block the front of one of the drain inlets of the drain pan. The wall of the drain pan prevents odor or back flow of the bathtub drain .

또한, 본 발명은 욕실의 바닥 방수판 상부에 설치되고, 세면기와 욕조 및 욕실 바닥의 배수를 원활히 하도록 하는 조립식 욕실 층상배관용 배수트랩에 있어, 상기 배수트랩은 상측 개방부를 통하여 욕실의 바닥 배수구와 연결되고, 내측에 배수가 집수되는 집수 공간부를 갖는 배수받이 본체와; 상기 배수받이 본체의 외주면에 돌출 관통되어 욕실의 세면기, 욕조의 배수를 집수 공간부로 유입하기 위한 복수의 배수 유입구와; 상기 배수받이 본체의 외주면에 돌출 관통되어 상기 집수 공간부를 통해 수집된 배수를 흘려보내기 위한 배수 배출구을 포함하여 이루어지며, 상기 배수받이 본체의 집수 공간부 내에 일체로 형성되어 상기 배수 유입구를 통해 유입되는 배수의 수위를 조절하여 상기 집수 공간부에서 발생하는 배수 오버플로를 방지하기 위한 월류벽을 더 포함하여 이루어지는 것이므로, 욕실용 통합 배수트랩에 연결되는 욕조의 배수에서 악취가 발생하는 것을 방지하는 효과가 있다.The present invention also relates to a drainage trap for a layered piping for a built-in bathroom, which is installed on the bottom of a waterproofing plate of a bathroom and facilitates the drainage of the washstand, the bathtub and the bottom of the bathroom, A drainage receiving body having a water collecting space part connected to the inside and collecting drainage inside; A plurality of drainage inlets for protruding through the outer circumferential surface of the drain pan body to allow wastewater from the bathtub and bathtub of the bathroom to flow into the catchment space; And a drain outlet formed to protrude through the outer circumferential surface of the drain receptacle body to drain the collected water through the water collecting space portion. The drain outlet formed integrally in the water collecting space portion of the drain receptacle body, So that odor is prevented from being generated in the drainage of the bathtub connected to the integrated drain trap for the bathroom, because the drainage wall for preventing the drainage overflow occurring in the water collecting space portion can be prevented .

특히, 이미 배수트랩이 설치된 욕실 구성요소(예를 들면 세면대)의 경우 바로 배수 처리하고, 별도의 배수 트랩이 설치되어 있지 않은 욕조만을 본 발명의 통합 배수트랩에서 봉수(sealing water) 처리하여 그 구성이 간단하다.Particularly, in the case of a bathroom component (for example, a washstand) in which a drain trap is already installed, the drain is immediately treated and only a bath having no drain trap installed therein is subjected to sealing water treatment in the integrated drain trap of the present invention, This is simple.

또한, 본 발명은 상기 월류벽은 상기 배수받이 본체의 내측 바닥면에서 집수 공간부로 수직으로 세워지는 칸막이와; 상기 칸막이의 좌우 양측에서 수직으로 절곡되어 상기 배수받이 본체의 내벽과 일체로 형성되는 좌우 연결편을 포함하고, 상기 칸막이와 상기 좌우 연결편의 경계 사이를 일체로 연결하도록 메우면서 일정 경사각을 유지하도록 형성되는 좌우 경사면을 더 가지도록 구성되는 것으로서, 상기 칸막이에 의한 배수트랩에 월류 수단을 제공하여 순간 배수량에 따른 배수가 욕실 바닥에서 갑자기 넘쳐 오르는 것을 방지할 수 있다. 즉 기능적인 월류벽을 제공함으로써 봉수 기능을 하면서도 저항을 적게 하여 역류를 방수할 수 있는 것이다.Further, according to the present invention, the wall is formed vertically from the inner bottom surface of the drain pan to the water collecting space; And a left and right connecting piece formed integrally with the inner wall of the drain receiving main body so as to be integrally connected with the partition between the partition and the left and right connecting pieces so as to maintain a predetermined inclination angle And the drainage trap by the partition is provided with the overflow means to prevent the drainage according to the instantaneous drainage from suddenly overflowing from the bottom of the bathroom. In other words, by providing a functioning wall, it is possible to seal the backwash by reducing the resistance while still functioning.

또한, 본 발명은 욕실 바닥 배수의 역류를 효율적으로 방지하도록 하면서 구조가 단순하여 설치 및 유지보수가 편리한 욕실용 통합 배수트랩을 제공할 수 있다.In addition, the present invention can provide an integrated drain trap for a bathroom which is simple in structure and easy to install and maintain while effectively preventing reverse flow of drain from a bathroom floor.

또한, 본 발명은 조립식 욕실의 시설 증설에 따른 바닥 배수를 효율적으로 배출하도록 하는 욕실용 통합 배수트랩을 제공할 수 있다.
In addition, the present invention can provide an integrated drainage trap for a bathroom that efficiently discharges floor drainage due to facility expansion of a built-in bathroom.

도 1 내지 도 8은 본 발명에 의한 욕실용 통합 배수트랩을 보인 일 실시 예이다.
도 1은 본 발명의 일 실시 예에 따른 욕실용 통합 배수트랩의 설치를 보인 욕실의 설치 예시도,
도 2는 본 발명에 따른 욕실용 통합 배수트랩의 전체 사시도,
도 3은 본 발명에 따른 욕실용 통합 배수트랩의 전체 분해 사시도,
도 4는 본 발명에 따른 욕실용 통합 배수트랩의 정면도,
도 5는 본 발명에 따른 욕실용 통합 배수트랩의 평면도,
도 6은 도 5의 A-A선 단면도이다.
도 7은 본 발명에 따른 욕실용 통합 배수트랩의 내부 구조를 보인 상태 예시도,
도 8은 본 발명에 따른 욕실용 통합 배수트랩의 설치 상태 단면 예시도,
도 9는 본 발명에 의한 욕실용 통합 배수트랩의 설치에 따른 작용을 보인 사용 상태도,
도 10은 본 발명에 의한 욕실용 통합 배수트랩에 따른 수위조절을 보인 작용도이다.
1 to 8 show an integrated drain trap for a bathroom according to an embodiment of the present invention.
BRIEF DESCRIPTION OF THE DRAWINGS FIG. 1 is a perspective view illustrating an installation of an integrated drainage trap for a bathroom according to an embodiment of the present invention; FIG.
2 is an overall perspective view of an integrated drain trap for a bathroom according to the present invention,
3 is an exploded perspective view of the integrated drain trap for a bathroom according to the present invention,
FIG. 4 is a front view of an integrated drain trap for a bathroom according to the present invention, FIG.
5 is a plan view of an integrated drain trap for a bathroom according to the present invention,
6 is a sectional view taken along the line AA in Fig.
FIG. 7 is an exemplary view showing an internal structure of an integrated drain trap for a bathroom according to the present invention. FIG.
FIG. 8 is an exemplary sectional view of an integrated drainage trap for a bathroom according to the present invention. FIG.
FIG. 9 is a view showing an operation state of the integrated drainage trap for a bathroom according to the present invention,
FIG. 10 is an operation diagram showing the water level control according to the integrated drain trap for a bathroom according to the present invention.

이하, 본 발명의 바람직한 실시 예를 첨부한 도면을 참조로 하여 상세히 설명한다.Hereinafter, preferred embodiments of the present invention will be described in detail with reference to the accompanying drawings.

본 발명은 이하에서 개시되는 실시 예에 한정되는 것이 아니라 서로 다른 다양한 형태로 구현될 수 있으며, 단지 본 실시 예는 본 발명의 개시가 완전하도록 하며 통상의 지식을 가진 자에게 발명의 범주를 완전하게 알려주기 위하여 제공되는 것이다.It is to be understood that the present invention is not limited to the disclosed embodiments, but may be embodied in many different forms and should not be construed as limited to the embodiments set forth herein. Rather, these embodiments are provided so that this disclosure will be thorough and complete, It is provided to inform.

도 1 내지 도 8은 본 발명에 의한 욕실용 통합 배수트랩을 보인 일 실시 예이다.1 to 8 show an integrated drain trap for a bathroom according to an embodiment of the present invention.

도 1 을 참조하면, 본 발명에 따른 욕실용 통합 배수트랩은 건물 슬래브 상에 시공되는 바닥 방수판(1)이 설치되고, 상기 방수판(1)의 상단으로 욕실 세면기와 연결되는 배수관(2), 욕실 바닥과 연결되는 배수관(3) 및 욕조의 바닥 배수관(4)과 연결되면서 상기 배수관들(2)(3)(4)을 연결하여 배수를 한 곳에서 집수하여 배수하도록 설치되는 배수트랩(100)을 포함하여 조립식 욕실의 층상배관 구조를 이룬다. 여기서 욕실 변기는 위생상 별도의 오수관이 연결 설치됨이 바람직하다.1, the integrated drain trap for a bathroom according to the present invention includes a floor waterproofing plate 1 installed on a building slab, a drain pipe 2 connected to a bathroom washroom at an upper end of the waterproofing plate 1, A drain pipe 3 connected to the bathroom floor and a drain pipe 4 connected to the bottom of the bathtub and connected to the drain pipes 2 and 3 to collect and discharge the drain water in one place, 100) to form a layered piping structure of the assembled bathroom. Here, it is preferable that the bathroom toilet is provided with a sanitary sewer pipe connected thereto.

참고로, 층상배관 구조의 조립식 욕실은 상기 바닥 방수판의 안쪽으로 욕실 시설물과 연결된 각 배수관 및 오수관을 연결 설치한 다음, 상기 바닥 방수판의 상측으로 욕실 바닥을 설치한 후, 세면기, 욕조, 양변기 등의 욕실 설비를 설치하여 조립실 욕실의 층상배관 시공을 완성할 수 있다.For reference, in the assembled bathroom having the layered piping structure, each drain pipe and a water pipe connected to the bathroom facilities are connected to the inside of the bottom waterproofing plate, the bathroom floor is installed above the bottom waterproofing plate, Etc. can be installed to complete the layered piping construction of the bathroom of the assembly room.

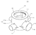
도 1 내지 도 7을 참조하면, 본 발명의 의한 배수트랩(100)은 내측에 배수가 집수되는 배수받이 본체(110)와;, 상기 배수받이 본체(110)의 외주면에 형성된 복수의 배수 유입구(115)(116)(117); 및 상기 배수받이 본체(110)의 외주면에 돌출 형성된 배수 배출구(118)를 포함하고, 상기 배수받이 본체(110)의 내측에서 배수 악취나 역류를 방지하도록 설치되는 월류벽(120)을 포함하여 구성된다.1 to 7, a drain trap 100 according to the present invention includes a drain main body 110 in which drain water is collected inside, a plurality of drain inlets (not shown) formed on the outer circumferential surface of the drain main body 110, 115) 116 (117); And a drainage wall 120 protruding from the outer circumferential surface of the drainage receiving body 110 and installed to prevent drainage and backflow from the inside of the drainage receiving body 110, do.

또한 상기 배수받이 본체(110)는 상단 개방부에 결합되는 마감커버(130)를 더 포함하여 구성된다.The drain pan main body 110 further includes a finishing cover 130 coupled to the top opening.

상기 배수받이 본체(110)는 욕실의 각 배수관을 따라 배출되는 배수를 한 곳에서 집수하도록 원통형의 몸체로써, 상기 배수받이 본체(110)는 상단이 욕실 바닥 배수관이 연결되도록 개방된 개방부(111)를 가지며, 내측은 배수가 모여 통합되는 집수 공간부(112)를 이루도록 바닥면(113) 및 내벽(114)은 밀폐되는 원동형의 구조를 이루도록 형성된다. 여기서 상기 배수받이 본체가 원통형이 가장 바람직하나, 그 형태가 박스 형태도 무방하다.The drain pan main body 110 is a cylindrical body for collecting drainage discharged along each drain pipe of the bathroom in one place. The drain pan main body 110 has an opening part 111 And the bottom surface 113 and the inner wall 114 are formed to have a circularly-shaped structure so as to form the water collecting space part 112 in which drain water is collected and integrated. In this case, the drain pan body is most preferably cylindrical, but may be box-shaped.

상기 배수 유입구(115)(116)(117)는 상기 배수받이 본체(110)의 외주면에서 일체로 돌출 관통되어 욕실의 세면기, 욕실의 바닥 및 욕조의 배출수를 상기 배수받이 본체(110)의 집수 공간부(112)로 유입하기 위한 것으로, 원형 파이프 관 형태로 상기 배수받이 본체(110)에 적어도 둘 이상 형성되는 것이 바람직하다.The drain ports 115 and 116 are integrally protruded and protruded from the outer circumferential surface of the drain pan main body 110 so that the drain of the wash basin of the bathroom, (112). It is preferable that at least two or more pipes are formed in the drain pan body (110) in the form of a circular pipe.

또한 상기 배수 유입구(115)(116)(117) 중, 하나의 배수 유입구(115)는 내부관(115a)과 외부관(115b)의 이중 구조로 이루어지고 욕조의 배수관(4)이 상기 내부관(115a)과 외부관(115b)의 사이에 끼움 결합하여 고정되도록 형성된다. One of the drain ports 115, 116 and 117 has a dual structure of an inner pipe 115a and an outer pipe 115b and the drain pipe 4 of the bathtub is connected to the inner pipe 115a. (115a) and the outer tube (115b).

여기서 욕조의 배수관은 거의 바닥 방수판에 밀착되어 설치되는 관계로 세면기와 같은 'S'자형 트랩을 설치할 수 없다. 따라서 주로 주름 관과 같은 호스로 연결되어 배수함에 따라 호스의 연결 고정을 견고하게 하기 위하여 상기 배수 유입구(115)는 이중 구조로 형성됨이 바람직한 것으로서, 배수에 따른 누수를 효과적으로 막을 수 있는 이중 구조 형태에 갖는 것이 바람직하다.In this case, since the drain pipe of the bathtub is installed close to the floor waterproof plate, it is not possible to install an 'S' shaped trap such as a washstand. Therefore, it is preferable that the drainage inlet 115 is formed in a double structure in order to firmly fix the connection of the hose according to the drainage of the hose by a hose such as a corrugated pipe. In this case, .

또한 욕실의 설비에 따라 상기 배수 유입구(116)(117)는 좌우 한 쌍으로 형성됨이 바람직하다. 이는 세면기, 욕조 바닥 이외에 샤워실이 따로 설치되는 욕실의 경우 샤워실 바닥 배수관을 연결하기에 효율적일 수 있는 여분의 배수 유입구로 사용할 수도 있다.Also, it is preferable that the drain inflow ports (116) and (117) are formed as left and right pairs according to the facilities of the bathroom. This can also be used as an extra drainage inlet, which can be effective for connecting the shower floor drain, in the case of a bathroom with separate washbasin, bathtub and shower.

상기 배수 배출구(118)는 상기 배수받이 본체(110)의 외주면에서 일체로 돌출 관통되어 상기 집수 공간부(112)를 통해 통합된 배수를 흘려보내기 위한 것으로, 원형 파이프 형태이며, 통합된 배출수를 신속하게 흘려보내기 위한 구조로써, 배수공(118a)이 상기 배수 유입구(116)(117) 보다 큰 내경을 갖도록 형성됨이 바람직하다.The drainage outlet 118 is formed in a circular pipe shape so as to integrally protrude through the outer circumferential surface of the drainage receiving body 110 and to flow the combined drainage water through the water collection space part 112, It is preferable that the drain hole 118a is formed to have an inner diameter larger than that of the drain water inlets 116 and 117. [

상기 월류벽(120)은 상기 배수받이 본체(110)의 집수 공간부(112) 내에서 일체의 벽체로 형성되어 상기 배수 유입구(115)를 통해 유입되는 배출수의 수위를 조절하여 상기 집수 공간부(112)에서 발생하는 배출수의 역류나 악취를 방지하기 위한 것이다.The flood wall 120 is formed as an integral wall in the water collecting space part 112 of the drain pan body 110 to adjust the water level of the water flowing in through the water inlet port 115, 112 to prevent backflow and odor of the effluent water.

도 3 내지 도 6을 참조하면, 상기 월류벽(120)은 상기 배수받이 본체(110)의 내측 바닥면(113)에서 집수 공간부(112)로 수직으로 세워지는 칸막이(121)와; 상기 칸막이(121)의 좌우 양측에서 수직으로 절곡되어 상기 배수받이 본체(110)의 내벽(114)과 일체로 형성되는 좌우 연결편(122)(123)을 포함하고, 상기 칸막이(121)와 상기 좌우 연결편(122)(123)의 경계 사이를 일체로 연결하도록 메우면서 일정 경사각을 유지하도록 형성되는 좌우 경사면(124)(125)을 더 가지도록 형성하게 된다.3 to 6, the wall unit 120 includes a partition 121 vertically installed in the water collecting space 112 at an inner bottom surface 113 of the drain receiving unit 110; And a left and right connecting pieces 122 and 123 which are vertically bent at both right and left sides of the partition 121 and formed integrally with the inner wall 114 of the drainage receiving main body 110. The partition 121, 125 and 125 formed to maintain a predetermined inclination angle while filling the connection between the boundaries of the connecting pieces 122 and 123 so as to be integrally connected.

또한 도 6 내지 도 7에 도시된 바와 같이 상기 칸막이(121)는 상기 배수받이 본체(110)의 내벽(114)에서 일정 간격을 유지하면서, 상기 배수받이 본체(110)의 바닥 중심에서 일측으로 편심되는 내측 바닥면(113)에서 집수 공간부(112)의 일정 높이까지 반호 형태로 용출되는 것이 바람직하다.6 to 7, the partition 121 is disposed at a predetermined distance from the inner wall 114 of the drain receiving main body 110 so as to be eccentric from the bottom center of the drain receiving main body 110, To the predetermined height of the water collecting space 112 from the inner bottom surface 113 of the water collecting space 112.

또한 도 6 내지 도 7에 도시된 바와 같이 상기 경사면(124)(125)은 상기 배수받이 본체(110)의 내벽(114)과 일정 간격 폭을 유지하면서 상기 좌우 연결편(122)(123)의 상측단에서 시작하여 상기 칸막이(121)의 측면을 반호 형태로 감싸면서 일정 경사각으로 상기 배수받이 본체(110)의 바닥면(113)까지 일체로 형성됨이 바람직하다.6 to 7, the inclined surfaces 124 and 125 are spaced apart from the inner wall 114 of the drainage receiving body 110 at a predetermined distance from the upper side of the left and right connecting pieces 122 and 123 It is preferable that the partition 121 is formed integrally with the bottom surface 113 of the drain receiving body 110 at a predetermined inclination angle while enclosing the side surface of the partition 121 in a half-

여기서 상기 배수 유입구(115)를 통해 유입되는 배출수는 상기 월류벽(120)의 경사면(124)(125)에 의해 상기 배수 유입구(115) 내에 물이 차 있는 일정 수위를 유지하도록 트랩 구조를 제공하도록 형성되는 것이다.The drain water introduced through the drain inlet 115 provides a trap structure to maintain a certain level of water in the drain inlet 115 by the inclined surfaces 124 and 125 of the drainage wall 120 .

즉, 욕조에서 사용되던 배출수가 배출관을 통해 배출할 때에는 상기 월류벽(120)의 경사면(124)(125)을 타고 돌면서 칸막이(121)를 신속하게 월류하여 집수 공간부(112)로 넘치면서 배출이 가능하다. 또한 상기 욕조의 배출수의 배출이 모두 이루어지고 나면 일부 상기 월류벽(120)을 넘지 못한 배출수는 상기 배수 유입구(115)의 관내에 잔존하면서 상기 배수 유입구(115)를 수위에 잠기도록 하고, 상기 칸막이(121)의 차단에 의해 상기 배수트랩의 집수 공간부(112)에서 넘어오는 악취나 역류를 방지할 수 있게 할 수 있다.That is, when the waste water used in the tub is discharged through the discharge pipe, the partition 121 sweeps over the inclined face 124 (125) of the wall 120 and flows over the water collecting space 112, It is possible. Further, after the drainage of the water in the bathtub is completed, the drainage water that does not pass through some of the flow-through walls 120 remains in the pipe of the drainage inlet 115 so that the drainage inlet 115 is submerged in the water level, It is possible to prevent the odor from flowing in the water collecting space portion 112 of the drain trap or the back flow by blocking the water trap 121.

한편, 상기 다른 배수 유입구(116)(117)를 통해 유입된 배출수는 상기 배수 배출구(118)를 통해 신속하게 배출하면서, 상기 배수 유입구(115)를 월류한 배출수가 상기 월류벽(120)의 칸막이(121)를 넘치면서 시간차에 의한 배출수를 원활하게 배출할 수 있어 급속한 배출수의 배출에 대한 집수 공간부(112)에서 배출수가 상부의 욕실 바닥 배출구로 역류하는 것을 방지할 수도 있다.On the other hand, the drainage water introduced through the other drainage inlets 116 and 117 is rapidly discharged through the drainage outlet 118, and the drainage water overflowing the drainage inlet 115 is discharged through the partition It is possible to smoothly discharge the drain water due to the time difference while preventing the drain water from flowing back to the upper bathroom drainage outlet from the water collecting space part 112 for discharging the drain water rapidly.

또한, 상기 배수받이 본체(110)는 내측 바닥면(113)이 상기 월류벽(120)이 시작되는 곳에서부터 상기 배수 배출구(118)가 시작되는 바닥면까지 기울여지도록 형성됨이 바람직하다. 이는 상기 집수 공간부(112)에 통합된 배출수를 상기 배수 배출구(118)를 통해 신속하게 배출할 수 있도록 하기 위함이다.The drain bottom 110 is preferably formed such that an inner bottom surface 113 is inclined from a starting point of the vertical wall 120 to a bottom surface where the drain outlet 118 starts. So that the drainage water integrated in the water collecting space part 112 can be quickly discharged through the drainage outlet 118. [

상기 마감커버(130)는 상기 배수받이 본체(110)의 그 개방되는 개방부(131)상단에 끼움 결합되어 욕실의 바닥 배수구와 견고하게 체결되면서 상기 배수받이 본체(110)의 상단을 마감하는 플랜지(132)가 형성되고, 하측에는 상기 배수받이 본체(110)에 끼움 결합되기 위한 끼움부(133)가 형성됨이 바람직하다.The finishing cover 130 is fitted to the upper end of the opening portion 131 of the drain receiving main body 110 and is fastened to the bottom drain port of the bathroom, And a bottom portion 132 is formed on the bottom surface of the drain receiving main body 110, and a fitting portion 133 for fitting the drain receiving main body 110 is formed on the bottom side.

또한 상기 마감커버(130)는 상기 플랜지의 안쪽에 상기 욕실의 바닥 배수구가 체결되기 위한 나사부를 갖도록 형성됨이 바람직하다.
Further, the finishing cover 130 is preferably formed to have a threaded portion for fastening the bottom drain of the bathroom to the inside of the flange.

이하, 본 발명에 의한 욕실용 통합 배수트랩의 작용 효과를 설명하면 다음과 같다. Hereinafter, the function and effect of the integrated drain trap for a bathroom according to the present invention will be described.

도 8은 본 발명에 따른 욕실용 통합 배수트랩의 설치 상태 단면 예시도 이고, 도 9는 본 발명에 의한 욕실용 통합 배수트랩의 설치에 따른 작용을 보인 사용 상태도이며, 도 10은 본 발명에 의한 욕실용 배수트랩에 따른 수위조절을 보인 작용도 이다.FIG. 9 is a sectional view of a state in which the integrated drain trap for a bathroom according to the present invention is installed, FIG. 9 is a view illustrating a state of operation of an integrated drain trap for a bathroom according to the present invention, It is the operation showing the water level control according to the bathroom drain trap.

먼저 욕실의 세면기, 욕조, 샤워실 및 욕실의 바닥 배수구와 연결된 각 배수관(2)(3)(4)들이 배수트랩(100)과 연결되도록 설치한다.First, each of the water pipes 2, 3, and 4 connected to the wash basin, bathtub, shower room, and bottom drain of the bathroom are installed so as to be connected to the drain trap 100.

다음, 욕실 사용으로 세면기 또는 욕조에서 사용되는 배출수가 각 배출관을 통하여 배출한다.Next, drainage used in the washbasin or bathtub is discharged through each discharge pipe by using the bathroom.

그리고, 상기 배수관을 경유한 배출수는 상기 배수트랩(100)의 배수받이 본체(110)에 형성된 각 배수 유입구(115)(116)(117)를 통해 상기 배수받이 본체(110)에 형성된 집수 공간부(112)로 유입한다.The drainage water passing through the drainage pipe is introduced into the drainage space body 110 formed in the drainage receiving body 110 through each drainage inlet 115 115 116 116 formed in the drainage receiving body 110 of the drainage trap 100, (112).

끝으로, 상기 배수받이 본체(110)의 집수 공간부(112)에 통합된 배출수는 상기 배수트랩(100)에 형성된 배수 배출구(118)를 통해 방류시킬 수 있다.Finally, the drainage water integrated in the water collecting space portion 112 of the drainage receptacle body 110 can be discharged through the drainage outlet 118 formed in the drainage trap 100.

여기서 세면기 등에서 배출된 배출수는 상기 배수 유입구(116)(117)를 통해 유입되어 배수 배출구(118)를 경유하여 바로 배출이 이루어진다. Here, the drainage water discharged from the washstand or the like flows through the drainage inflow ports (116) and (117) and is immediately discharged via the drainage discharge port (118).

한편, 상기 배수 유입구(115)를 통해 유입되는 배출수는 상기 월류벽(120)의 칸막이(121)에 막혀 있는 배출수와 합류하면서 칸막이(121)를 월류하여 상기 집수 공간부(112)로 넘쳐 흐르면서 상기 배수 배출구(118)를 통해 방류할 수 있다.The drainage water flowing through the drainage inlet 115 flows over the partitioning wall 121 while overflowing into the drainage space 112 while joining the drainage water clogged with the partitioning wall 121 of the flowage wall 120, And can be discharged through the drain outlet 118.

즉, 상기 배수 유입구(115)를 통해 이루어지는 배출수는 욕조에서 배출되는 배출수로서, 일정 시간 경과 후 욕조의 배수가 끝나면 남은 배출수는 다시 상기 월류벽(120)의 칸막이(121)에 막혀 배출이 제한되는 것이다. That is, the drainage water discharged through the drainage inlet 115 is drainage water discharged from the bathtub. When the drainage of the bathtub is completed after the lapse of a predetermined time, the drainage water remaining is blocked again by the partitioning wall 121 of the drainage wall 120, will be.

여기서, 상기 월류벽(120)의 좌우에 형성된 경사면(124)(125)에 의해 잔존 배출수의 수위를 조절할 수 있고, 조절된 수위에 의해 상기 배수 유입구(115)가 배출수에 잠겨 있는 상태가 되어 배수트랩에서 욕조로 넘어오는 악취를 막을 수 있을 뿐만 아니라, 상기 월류벽(120)의 차단에 의해 상기 집수 공간부(112)로부터 넘어오는 배출수의 역류 또한 방지할 수 있게 되는 것이다.The water level of the remnant water can be adjusted by the inclined surfaces 124 and 125 formed on the right and left of the water flow wall 120 and the water inlet 115 is immersed in the water due to the adjusted water level, It is possible not only to prevent the odor from passing from the trap to the bathtub but also to prevent the backflow of the drain water flowing from the water collecting space part 112 by blocking the flow wall 120. [

다시 말해, 상기 배수 유입구(116)(117)을 통해 집수된 배출수가 상기 배수 배출구(118)를 통해 배수되는 동안, 상기 다른 배수 유입구(115)를 경유하는 배출수는 월류벽(120)에 의해 수위 조절되어 칸막이(121)를 통해 서서히 월류되어 배출수가 넘쳐 흐르도록 하여 급격한 배출수의 집수에 따른 집수 공간부(112)에서 배출수가 오버플로 되는 현상을 미리 방지할 수도 있다.In other words, while the drainage water collected through the drainage inlets 116 and 117 is drained through the drainage outlet 118, the drainage water via the other drainage inlets 115 is drained by the drainage wall 120 And the discharge water overflows gradually through the partition 121 to prevent the discharge water from overflowing in the water collecting space part 112 due to the collection of abrupt drainage water.

아울러, 상기 배수받이 본체(110)의 내측 바닥면(113)이 상기 월류벽(120)이 시작되는 일측 바닥면에서 상기 배수 배출구(118)가 형성되기 시작하는 바닥면까지 기울여지도록 형성되어 상기 집수 공간부(112)에 통합되는 배출수를 상기 배수 배출구(118)를 통해 더욱 신속하게 배출시킬 수 있다.The inner bottom surface 113 of the drainage receptacle body 110 is formed to be inclined from a bottom surface at which the drainage wall 120 starts to a bottom surface where the drainage outlet 118 starts to be formed, The drain water integrated in the space portion 112 can be discharged more quickly through the drain outlet 118.

이와 같은 층상배관에서 바닥 방수판과 함께 설치되는 통합 배수트랩에 의해 층상배관에서 발생할 수 있는 누수 또한 완전 차단할 수 있게 되는 것이다.In such a layered pipe, the integrated drain trap installed together with the bottom waterproof plate can also completely block the water leakage that may occur in the layered pipe.

본 발명은 이상에서 살펴본 바와 같이 바람직한 실시 예를 들어 도시하고 설명하였으나, 상기한 실시 예에 한정되지 아니하며 본 발명의 정신을 벗어나지 않는 범위 내에서 당해 발명이 속하는 기술분야에서 통상의 지식을 가진 자에 의해 본 발명의 기술사상과 아래에 기재될 특허청구범위의 균등범위 내에서 다양한 수정 및 변형이 가능함은 물론이다.While the present invention has been particularly shown and described with reference to exemplary embodiments thereof, it is clearly understood that the same is by way of illustration and example only and is not to be taken by way of limitation, It will be understood by those skilled in the art that various changes in form and details may be made therein without departing from the spirit and scope of the present invention as defined by the appended claims and their equivalents.

100 : 배수트랩 110 : 배수받이 본체
115, 116, 117 : 배수 유입구 118 : 배수 배출구
120 : 월류벽 130 : 마감커버
100: drain trap 110: drain pan body
115, 116, 117: drain inlet 118: drain outlet
120: Wall cover 130: Finishing cover

Claims (7)

세면기와 욕조 및 욕실 바닥의 배수를 통합하도록 하는 욕실용 통합 배수트랩에 있어,
상기 배수트랩(100)은,
상측 개방부(111)를 통하여 욕실의 바닥 배수구와 연결되고, 내측에 배수가 집수되는 집수 공간부(112)를 갖는 배수받이 본체(110)와;
상기 배수받이 본체(110)의 외주면에 관통되어 욕실의 세면기, 욕조의 배수를 집수 공간부(112)로 유입하기 위한 배수 유입구와;
상기 배수받이 본체(110)의 외주면에 관통되어 상기 집수 공간부(112)를 통해 집수된 배수를 흘려보내기 위한 배수 배출구(118)을 포함하여 이루어지며,
상기 배수받이 본체(110)의 집수 공간부(112)에 상기 배수 유입구를 통해 유입되는 배수의 수위를 조절하여 악취를 차단하기 위한 월류벽(120)을 더 포함하여 이루어지는 것을 특징으로 하는 욕실용 통합 배수트랩.
In integrated drain traps for bathrooms that integrate washbasins with bathtubs and drainage from the bathroom floor,
The drain trap (100)
A drain receiving main body 110 connected to the bottom drain port of the bathroom through the upper opening 111 and having a water collecting space part 112 in which drain water is collected inside;
A drain inlet through which the drainage of the wash basin and bathtub of the bathroom is introduced into the catching space 112 through the outer circumferential surface of the drain receiving body 110;
And a drain outlet 118 for draining the drainage collected through the drainage space 112 through the outer circumferential surface of the drainage receiver main body 110,
Further comprising a flow-through wall (120) for blocking the odor by regulating the water level of the drain water flowing into the water collecting space part (112) of the drain pan body (110) through the drain water inlet Drain trap.
제1 항에 있어서,
상기 배수 유입구 중, 어느 하나의 배수 유입구(115)는 내부관(115a)과 외부관(115b)의 이중 구조로 이루어지고,
욕조에서 연결되는 배수관이 상기 내부관(151a1)과 외부관(151b)의 사이에서 억지 끼움 결합됨을 특징으로 하는 욕실용 통합 배수트랩.
The method according to claim 1,
One of the drain openings 115 has a dual structure of an inner pipe 115a and an outer pipe 115b,
Wherein a drain pipe connected to the bathtub is tightly coupled between the inner pipe (151a1) and the outer pipe (151b).
제1 항에 있어서,
상기 월류벽(120)은
상기 배수받이 본체 내에 벽체로 형성되어 상기 배수 유입구 중 욕조 배수구와 연결되는 배수 유입구의 전방을 가로 막도록 형성되는 것을 특징으로 하는 욕실용 통합 배수트랩.
The method according to claim 1,
The overflow wall 120
Wherein the drain trap is formed as a wall in the drain pan body so as to block the front of a drain inlet connected to the bathtub drain port of the drain inlet.
제1 항에 있어서,
상기 월류벽(120)은
상기 배수받이 본체(110)의 내측 바닥면(113)에서 집수 공간부(112)로 수직으로 세워지는 칸막이(121)와;
상기 칸막이(121)의 좌우 양측에서 절곡되어 상기 배수받이 본체(110)의 내벽(114)과 연결되는 좌우 연결편(122)(123)을 포함하고,
상기 좌우 연결편(122)(123)은 유입수에 저항이 적도록 하여 원활히 배수토록 함으로써 역류를 방지하는 일정 경사각을 가지는 경사면으로 형성됨을 특징으로 하는 욕실용 통합 배수트랩.
The method according to claim 1,
The overflow wall 120
A partition 121 vertically installed in the catching space 112 from the inner bottom surface 113 of the drain pan body 110;
And left and right connecting pieces 122 and 123 which are bent at both left and right sides of the partition 121 and connected to the inner wall 114 of the drain receiving main body 110,
Wherein the left and right connecting pieces (122) and (123) are formed as inclined surfaces having a predetermined inclination angle to prevent reverse flow by allowing drain water to flow smoothly with a small resistance.
제4 항에 있어서,
상기 칸막이(121)는 유입수의 저항을 적게 하기 위하여 상기 배수받이 본체(110)의 내벽(114)에서 일정 간격을 유지한 체, 상기 배수받이 본체(110)의 바닥 중심에서 상기 유입구 방향으로 볼록하게 반호 형태의 단면을 가지도록 형성되는 것을 특징으로 하는 욕실용 통합 배수트랩.
5. The method of claim 4,
The partition 121 is provided at a predetermined distance from the inner wall 114 of the drain receiving main body 110 to reduce the resistance of the inflow water and is formed to be convex in the direction of the inlet from the bottom center of the drain receiving main body 110 Wherein the water drain trap is formed to have a half-sectional shape.
제4 항에 있어서,
상기 경사면은
상기 배수받이 본체(110)의 내벽(114)과 일정 간격 폭을 유지하면서 상기 좌우 연결편(122)(123)의 상측단에서 시작하여 상기 칸막이(121)의 측면을 반호 형태로 감싸면서 일정 경사각으로 상기 배수받이 본체(110)의 바닥면(113)까지 일체로 형성됨을 특징으로 하는 욕실용 통합 배수트랩.
5. The method of claim 4,
The inclined surface
The side walls of the partition 121 are covered with a slope at a predetermined angle starting from an upper end of the left and right connecting pieces 122 and 123 while maintaining a predetermined gap with the inner wall 114 of the drainage receiving body 110. [ And the bottom surface (113) of the drain pan body (110).
제 2 항에 있어서,
상기 배수받이 본체(110)는 그 개방되는 상단에 끼움 결합되어 욕실의 바닥 배수구를 견고하게 체결하면서 상기 배수받이 본체(110)의 상단을 마감하기 위한 마감커버(130)가 더 형성됨을 특징으로 하는 욕실용 통합 배수트랩.
3. The method of claim 2,
And a finishing cover 130 for finishing the upper end of the drain receiving main body 110 while tightly fastening the bottom drain port of the bathroom by being fitted to the top of the drain receiving main body 110. [ Integrated drain traps for bathrooms.
KR20140144501A 2014-10-23 2014-10-23 Integrated drain-trap device for bathroom Active KR101511683B1 (en)

Priority Applications (1)

Application Number Priority Date Filing Date Title
KR20140144501A KR101511683B1 (en) 2014-10-23 2014-10-23 Integrated drain-trap device for bathroom

Applications Claiming Priority (1)

Application Number Priority Date Filing Date Title
KR20140144501A KR101511683B1 (en) 2014-10-23 2014-10-23 Integrated drain-trap device for bathroom

Related Parent Applications (1)

Application Number Title Priority Date Filing Date
KR20130107883A Division KR101487394B1 (en) 2013-09-09 2013-09-09 Integrated drain-trap device for bathroom

Publications (2)

Publication Number Publication Date
KR20150030186A true KR20150030186A (en) 2015-03-19
KR101511683B1 KR101511683B1 (en) 2015-04-14

Family

ID=53024340

Family Applications (1)

Application Number Title Priority Date Filing Date
KR20140144501A Active KR101511683B1 (en) 2014-10-23 2014-10-23 Integrated drain-trap device for bathroom

Country Status (1)

Country Link
KR (1) KR101511683B1 (en)

Cited By (1)

* Cited by examiner, † Cited by third party
Publication number Priority date Publication date Assignee Title
KR20210000699U (en) 2019-09-19 2021-03-29 (주)경동하이테크판매 Easy maintenamce type drain guiding apparatus for bathtub

Family Cites Families (3)

* Cited by examiner, † Cited by third party
Publication number Priority date Publication date Assignee Title
KR200405349Y1 (en) * 2005-10-05 2006-01-10 백완기 Water catcher with trap function
KR20130095866A (en) * 2012-02-21 2013-08-29 하철상 Sleeve for preventing noise
KR101186935B1 (en) * 2012-06-22 2012-09-28 주식회사 삼진프라코 Apparatus for drain sewage having trap with attaching and isolating connection

Cited By (1)

* Cited by examiner, † Cited by third party
Publication number Priority date Publication date Assignee Title
KR20210000699U (en) 2019-09-19 2021-03-29 (주)경동하이테크판매 Easy maintenamce type drain guiding apparatus for bathtub

Also Published As

Publication number Publication date
KR101511683B1 (en) 2015-04-14

Similar Documents

Publication Publication Date Title
KR101404871B1 (en) Drainage System using the Wall of the Same Floor
KR20110137931A (en) Drainpipe in the bathroom drainage system with tiered piping system
KR200372522Y1 (en) device for drain sewage of apartment bathroom
KR101150282B1 (en) Layered drainage system
KR101487394B1 (en) Integrated drain-trap device for bathroom
KR101170813B1 (en) Structure Of Drain Trap
KR20210000700U (en) Dual pipe type floor drainage apparatus
CN101379251A (en) Siphon system directly available during forming of sanitary ware
KR101511683B1 (en) Integrated drain-trap device for bathroom
KR101312216B1 (en) On floor drainage apparatus
KR100538651B1 (en) Apparatus for drain sewage
KR101188012B1 (en) Drain Traps and Stratified Drainage Systems
KR101304302B1 (en) Sewer cover drain apparatus
KR20170002282U (en) Floor drain apparatus
KR101119526B1 (en) draining trap
KR101177495B1 (en) draining trap
KR101236143B1 (en) Layered drainage and construction methods
KR101415317B1 (en) The height control is possible double trap stratiform plumbing fixtures
KR100962021B1 (en) Drain trap system
KR20120076006A (en) Pipe having a double flow path and drainage piping system using the same
KR101348450B1 (en) A drain trap with water supply and layered drainage system using thereof
KR101234877B1 (en) Drain trap for on-floor drainage piping system
KR101073851B1 (en) Drainage Device on Floor Having
RU2459046C2 (en) Water closet and method of its operation
KR101058940B1 (en) Drainpipe for layered piping

Legal Events

Date Code Title Description
PA0107 Divisional application

St.27 status event code: A-0-1-A10-A18-div-PA0107

St.27 status event code: A-0-1-A10-A16-div-PA0107

PA0201 Request for examination

St.27 status event code: A-1-2-D10-D11-exm-PA0201

P11-X000 Amendment of application requested

St.27 status event code: A-2-2-P10-P11-nap-X000

P13-X000 Application amended

St.27 status event code: A-2-2-P10-P13-nap-X000

PE0902 Notice of grounds for rejection

St.27 status event code: A-1-2-D10-D21-exm-PE0902

E13-X000 Pre-grant limitation requested

St.27 status event code: A-2-3-E10-E13-lim-X000

P11-X000 Amendment of application requested

St.27 status event code: A-2-2-P10-P11-nap-X000

P13-X000 Application amended

St.27 status event code: A-2-2-P10-P13-nap-X000

PG1501 Laying open of application

St.27 status event code: A-1-1-Q10-Q12-nap-PG1501

E701 Decision to grant or registration of patent right
PE0701 Decision of registration

St.27 status event code: A-1-2-D10-D22-exm-PE0701

PR0701 Registration of establishment

St.27 status event code: A-2-4-F10-F11-exm-PR0701

PR1002 Payment of registration fee

St.27 status event code: A-2-2-U10-U11-oth-PR1002

Fee payment year number: 1

PG1601 Publication of registration

St.27 status event code: A-4-4-Q10-Q13-nap-PG1601

P22-X000 Classification modified

St.27 status event code: A-4-4-P10-P22-nap-X000

R18-X000 Changes to party contact information recorded

St.27 status event code: A-5-5-R10-R18-oth-X000

PR1001 Payment of annual fee

St.27 status event code: A-4-4-U10-U11-oth-PR1001

Fee payment year number: 4

P22-X000 Classification modified

St.27 status event code: A-4-4-P10-P22-nap-X000

R18-X000 Changes to party contact information recorded

St.27 status event code: A-5-5-R10-R18-oth-X000

FPAY Annual fee payment

Payment date: 20190131

Year of fee payment: 5

PR1001 Payment of annual fee

St.27 status event code: A-4-4-U10-U11-oth-PR1001

Fee payment year number: 5

FPAY Annual fee payment

Payment date: 20200114

Year of fee payment: 6

PR1001 Payment of annual fee

St.27 status event code: A-4-4-U10-U11-oth-PR1001

Fee payment year number: 6

PR1001 Payment of annual fee

St.27 status event code: A-4-4-U10-U11-oth-PR1001

Fee payment year number: 7

PR1001 Payment of annual fee

St.27 status event code: A-4-4-U10-U11-oth-PR1001

Fee payment year number: 8

PR1001 Payment of annual fee

St.27 status event code: A-4-4-U10-U11-oth-PR1001

Fee payment year number: 9

PR1001 Payment of annual fee

St.27 status event code: A-4-4-U10-U11-oth-PR1001

Fee payment year number: 10

R18-X000 Changes to party contact information recorded

St.27 status event code: A-5-5-R10-R18-oth-X000

R18-X000 Changes to party contact information recorded

St.27 status event code: A-5-5-R10-R18-oth-X000

PR1001 Payment of annual fee

St.27 status event code: A-4-4-U10-U11-oth-PR1001

Fee payment year number: 11

PN2301 Change of applicant

St.27 status event code: A-5-5-R10-R13-asn-PN2301

St.27 status event code: A-5-5-R10-R11-asn-PN2301

PN2301 Change of applicant

St.27 status event code: A-5-5-R10-R13-asn-PN2301

St.27 status event code: A-5-5-R10-R11-asn-PN2301

S20 Security interest recorded

Free format text: ST27 STATUS EVENT CODE: A-4-4-S10-S20-LIC-X000 (AS PROVIDED BY THE NATIONAL OFFICE)

S20-X000 Security interest recorded

St.27 status event code: A-4-4-S10-S20-lic-X000