KR20150008560A - Foot massage in a bed) - Google Patents

Foot massage in a bed) Download PDF

Info

Publication number
KR20150008560A
KR20150008560A KR1020130082646A KR20130082646A KR20150008560A KR 20150008560 A KR20150008560 A KR 20150008560A KR 1020130082646 A KR1020130082646 A KR 1020130082646A KR 20130082646 A KR20130082646 A KR 20130082646A KR 20150008560 A KR20150008560 A KR 20150008560A
Authority
KR
South Korea
Prior art keywords
foot
bed
stimulating device
foot stimulating
support
Prior art date
Legal status (The legal status is an assumption and is not a legal conclusion. Google has not performed a legal analysis and makes no representation as to the accuracy of the status listed.)
Withdrawn
Application number
KR1020130082646A
Other languages
Korean (ko)
Inventor
이동원
Original Assignee
이동원
Priority date (The priority date is an assumption and is not a legal conclusion. Google has not performed a legal analysis and makes no representation as to the accuracy of the date listed.)
Filing date
Publication date
Application filed by 이동원 filed Critical 이동원
Priority to KR1020130082646A priority Critical patent/KR20150008560A/en
Publication of KR20150008560A publication Critical patent/KR20150008560A/en
Withdrawn legal-status Critical Current

Links

Images

Classifications

    • AHUMAN NECESSITIES
    • A47FURNITURE; DOMESTIC ARTICLES OR APPLIANCES; COFFEE MILLS; SPICE MILLS; SUCTION CLEANERS IN GENERAL
    • A47CCHAIRS; SOFAS; BEDS
    • A47C21/00Attachments for beds, e.g. sheet holders or bed-cover holders; Ventilating, cooling or heating means in connection with bedsteads or mattresses
    • AHUMAN NECESSITIES
    • A61MEDICAL OR VETERINARY SCIENCE; HYGIENE
    • A61GTRANSPORT, PERSONAL CONVEYANCES, OR ACCOMMODATION SPECIALLY ADAPTED FOR PATIENTS OR DISABLED PERSONS; OPERATING TABLES OR CHAIRS; CHAIRS FOR DENTISTRY; FUNERAL DEVICES
    • A61G7/00Beds specially adapted for nursing; Devices for lifting patients or disabled persons
    • A61G7/05Parts, details or accessories of beds
    • AHUMAN NECESSITIES
    • A61MEDICAL OR VETERINARY SCIENCE; HYGIENE
    • A61HPHYSICAL THERAPY APPARATUS, e.g. DEVICES FOR LOCATING OR STIMULATING REFLEX POINTS IN THE BODY; ARTIFICIAL RESPIRATION; MASSAGE; BATHING DEVICES FOR SPECIAL THERAPEUTIC OR HYGIENIC PURPOSES OR SPECIFIC PARTS OF THE BODY
    • A61H23/00Percussion or vibration massage, e.g. using supersonic vibration; Suction-vibration massage; Massage with moving diaphragms
    • A61H23/02Percussion or vibration massage, e.g. using supersonic vibration; Suction-vibration massage; Massage with moving diaphragms with electric or magnetic drive
    • AHUMAN NECESSITIES
    • A61MEDICAL OR VETERINARY SCIENCE; HYGIENE
    • A61HPHYSICAL THERAPY APPARATUS, e.g. DEVICES FOR LOCATING OR STIMULATING REFLEX POINTS IN THE BODY; ARTIFICIAL RESPIRATION; MASSAGE; BATHING DEVICES FOR SPECIAL THERAPEUTIC OR HYGIENIC PURPOSES OR SPECIFIC PARTS OF THE BODY
    • A61H39/00Devices for locating or stimulating specific reflex points of the body for physical therapy, e.g. acupuncture
    • A61H39/04Devices for pressing such points, e.g. Shiatsu or Acupressure
    • AHUMAN NECESSITIES
    • A61MEDICAL OR VETERINARY SCIENCE; HYGIENE
    • A61HPHYSICAL THERAPY APPARATUS, e.g. DEVICES FOR LOCATING OR STIMULATING REFLEX POINTS IN THE BODY; ARTIFICIAL RESPIRATION; MASSAGE; BATHING DEVICES FOR SPECIAL THERAPEUTIC OR HYGIENIC PURPOSES OR SPECIFIC PARTS OF THE BODY
    • A61H2201/00Characteristics of apparatus not provided for in the preceding codes
    • A61H2201/01Constructive details
    • A61H2201/0119Support for the device
    • A61H2201/0138Support for the device incorporated in furniture
    • A61H2201/0142Beds
    • A61H2201/0146Mattresses
    • AHUMAN NECESSITIES
    • A61MEDICAL OR VETERINARY SCIENCE; HYGIENE
    • A61HPHYSICAL THERAPY APPARATUS, e.g. DEVICES FOR LOCATING OR STIMULATING REFLEX POINTS IN THE BODY; ARTIFICIAL RESPIRATION; MASSAGE; BATHING DEVICES FOR SPECIAL THERAPEUTIC OR HYGIENIC PURPOSES OR SPECIFIC PARTS OF THE BODY
    • A61H2201/00Characteristics of apparatus not provided for in the preceding codes
    • A61H2201/12Driving means
    • A61H2201/1207Driving means with electric or magnetic drive
    • AHUMAN NECESSITIES
    • A61MEDICAL OR VETERINARY SCIENCE; HYGIENE
    • A61HPHYSICAL THERAPY APPARATUS, e.g. DEVICES FOR LOCATING OR STIMULATING REFLEX POINTS IN THE BODY; ARTIFICIAL RESPIRATION; MASSAGE; BATHING DEVICES FOR SPECIAL THERAPEUTIC OR HYGIENIC PURPOSES OR SPECIFIC PARTS OF THE BODY
    • A61H2205/00Devices for specific parts of the body
    • A61H2205/12Feet

Landscapes

  • Health & Medical Sciences (AREA)
  • Rehabilitation Therapy (AREA)
  • Life Sciences & Earth Sciences (AREA)
  • Animal Behavior & Ethology (AREA)
  • General Health & Medical Sciences (AREA)
  • Public Health (AREA)
  • Veterinary Medicine (AREA)
  • Epidemiology (AREA)
  • Pain & Pain Management (AREA)
  • Physical Education & Sports Medicine (AREA)
  • Nursing (AREA)
  • Finger-Pressure Massage (AREA)

Abstract

본 발명은 침대에 간단히 발 자극기를 구성하여 침대에서 숙면뿐만 아니라 건강을 증진할 수 있는 침대용 발 자극기에 관한 것으로서, 침대의 매트리스와 침대 받침대 사이에 고정판을 끼워서 고정하고 외부에 돌출된 고정판에 회전축을 가진 회전 지지대를 구성하고 회전 지지대의 회전축에 연결대의 회전축을 연결 구성하고 다른 일측의 연결대에 발 자극기 받침대가 슬라이드 조정될 수 있게 구성하고 발 자극기 받침대에 발 자극기를 부착하여 구성하며, 발 자극기를 사용치 않을 시에는 회전 지지대의 회전축을 기준으로 180도로 젖히면 발 자극기가 침대 앞의 아래로 젖혀져서 침대를 사용하는데 편리하게 할 수 있게 되고, 침대에서 눕거나 앉아서 발 자극기를 사용할 시에는 발 자극기를 회전 지지대의 회전축을 기준으로 180도 회전하여 들어올려서 침대 매트리스 위로 올라오게 하여 발을 발 자극기에 밀착하고 발 자극 마사지를 함으로서 침대에 누워서도 편리하면서도 효율적으로 발과 다리의 혈액 순환이나 근육 운동을 할 수 있게 함으로서 건강 증진에 도움이 되는 침대용 발 자극기를 제공하고자 하는 것이다.The present invention relates to a foot stimulating device for a bed which can easily form a foot stimulating device on a bed so as to improve health as well as a sleeping state in a bed. The foot stimulating device includes a fixing plate sandwiched between a mattress of a bed and a bed support, And a foot stimulating device is attached to the foot stimulating device pedestal, and the foot stimulating device is constituted by using a foot stimulating device, The foot stimulating device may be bent downward in front of the bed so that the bed can be conveniently used. When the user uses the foot stimulating device lying on the bed or sitting on the bed, the foot stimulating device is rotated by the rotation support And is lifted up by 180 degrees about the rotation axis of the By putting the foot on the bed mattress and bringing the foot to the foot stimulator, it is possible to conveniently and efficiently perform the blood circulation or muscle exercise by laying on the bed by foot stimulation massage, thereby improving the health of the bed. .

Description

침대용 발 자극기{FOOT MASSAGE IN A BED)}{FOOT MASSAGE IN A BED}

본 발명은 침대에 간단히 발 자극기를 구성하여 침대에서 숙면뿐만 아니라 건강을 증진할 수 있는 침대용 발 자극기에 관한 것으로서, 침대의 매트리스와 침대 받침대 사이에 ㄴ자형의 고정판을 끼워서 고정하고 외부에 돌출된 고정판에 회전축을 가진 회전 지지대를 구성하고 회전 지지대의 회전축에 연결대의 회전축을 결합 구성하고 연결대의 다른 일측에 발 자극기 받침대가 슬라이드 조정될 수 있게 구성하고 발 자극기 받침대에 발 자극기를 부착하여 구성되는데, 발 자극기를 사용치 않을 시에는 회전 지지대의 회전축을 기준으로 180도로 젖히면 발 자극기가 침대 앞의 아래로 젖혀져서 침대를 사용하는데 깔끔하고 편리하게 할 수 있게 되고, BACKGROUND OF THE INVENTION 1. Field of the Invention [0001] The present invention relates to a foot stimulating device for a bed, which can easily improve a health as well as a good sleep in a bed by forming a foot stimulating device on the bed, The rotary shaft of the rotary support is connected to the rotary shaft of the rotary shaft. The rotary shaft of the rotary shaft is connected to the rotary shaft of the rotary shaft. The foot stimulating unit is slidably adjustable to the other side of the rotary shaft and the foot stimulating unit is attached to the foot stimulating unit. The foot stimulating device is bent downward in front of the bed so that it can be clean and convenient to use the bed,

침대에서 눕거나 앉아서 발 자극기를 사용할 시에는 발 자극기를 회전 지지대의 회전축을 기준으로 180도 회전하여 들어올려서 침대 매트리스 위로 올라오게 하여 발을 발 자극기에 밀착하고 발 자극 마사지를 함으로서 침대에 누워서도 편리하면서도 효율적으로 발과 다리의 혈액 순환이나 근육 운동을 할 수 있는 침대용 발 자극기에 관한 것이다.When lying on the bed or using the foot stimulator, the foot stimulator is rotated 180 degrees about the rotation axis of the rotary support to lift it up on the bed mattress, and the foot is brought into close contact with the foot stimulator and foot stimulation massage is convenient The present invention relates to a bed foot stimulator capable of efficiently performing blood circulation and muscle motion of the feet and legs.

종래의 침대용 발 자극기는 기 등록된 등록고안 제 20-0340142 호 발 운동구를 구비한 침대로서 도 11에서 보는 바와 같이 침대(200) 후방에 발 장식판(210)을 고정 설치하고, 상기 발 장식판(210)에 발 운동구(100)를 일체형으로 형성하여서 침대(200)에 누운 상태에서 발 운동구(100)를 이용하여 발바닥을 지압 안마토록 이루어지며, 발 장식판(210)에 형성되는 발 운동구(100)를, 침대(200) 후방에 고정설치되는 발 장식판(210)에 지지파이프(11)를 설치하되, 상기 지지파이프(11)에 지압돌기(10a)가 외면에 돌출형성된 발 구름판(10)을 회전가 능하도록 결합하여서 된 발 운동구(100)를 일체형으로 형성하여 이루어지고, 발 장식판(210)에 형성되는 발 운동구(100)를, 침대(200) 후방에 고정설치되는 발 장식판(210)에 지압 돌기(20a)가 외면에 돌출형성된 수동식 지압 안마판(20)으로 된 발 운동구(100)를 일체형으로 형성하여서 이루어질 수도 있으며, 첨부 도면 도 2b에 도시된 바와 같이 상기 발 장식판(210)에 형성되는 발 운동구(100)를, 침대(200) 후방에 고정설치되는 발 장식판(210)에 지압 돌기가 외면에 돌출형성된 안마구(33)를 전동모터(31)나 솔레 노이드(32)와 유,무선으로 연결된 별도의 조절기(도시하지 않음)에 의해 전,후진되면서 발바닥을 자동으로 지압,안마하는 전동식이나 솔레노이드식 지압 안마판(30)으로된 발 운동구(100)를 일체형으로 형성하여서 이루어질 수도 있는 것은 물론 첨부도면 도2c에 도시된 바와 같이 상기 발 장식판(210)에 형성되는 발 운동구(100)를, 침대(200) 후방에 고정설치되는 발 장식판(210)에 진동자(42)가 회전축(41a)에 편심지게 결합 된 안마모터(41)를 이와 유,무선으로 연결된 별도의 조절기(미도시)에 의해 작동하면서 발바닥을 진동 안마하는 진동식 지압 안마판(40)으로 된 발 운동구(100)를 일체형으로 형성하여서 이루어질 수 도 있으며, 발바닥을 자극하면서 진동 안마효과를 얻을 수 있기 때문에 발바닥과 연결된 인체 각 부위의 기능을 향상시켜서 각종 병을 예방함과 동시에 치료할 수 있게 되는데,
As shown in FIG. 11, a conventional foot stimulating device is a bed equipped with a registered exercise ball 20-0340142, and the foot plate 210 is fixed to the back of the bed 200, and the foot plate 210 The footrest 100 is integrally formed with the footrest 100 in a state of being laid on the bed 200. The footrest 100 is formed by using the footrest 100 using the footrest 100, A supporting plate 11 is installed on a foot plate 210 which is fixedly installed on the back of the bed 200. The supporting plate 11 is provided with a pivot plate 10 having a pivot projection 10a protruding from the outer surface thereof, And the foot opening 100 formed on the foot plate 210 is connected to the foot plate 210 fixed to the rear of the bed 200 by an acupressure projection 20a are protruded on the outer surface, The foot opening 100 formed on the foot plate 210 may be integrally formed with the foot opening plate 100 as shown in FIG. (Not shown) which is connected to the electric motor 31 or the solenoid 32 by a separate regulator (not shown) so that the back of the sole The foot plate 100 may be formed integrally with the foot plate 100 made of an electromotive or solenoid type acupressure massage plate 30 that automatically presses and massage the foot plate 200. The foot plate 100 may be formed integrally with the foot plate 210 as shown in FIG. A massage motor 41 having an oscillator 42 coupled to the rotary shaft 41a in an eccentric manner is connected to the foot plate 210 fixedly mounted on the back of the bed 200 By a regulator (not shown) (100), which is a vibrating acupressure massage plate (40) that vibrates the sole while vibrating the sole, can be formed as an integral body. Since the vibration massage effect can be obtained while stimulating the sole, By improving the function, it is possible to prevent and treat various diseases,

기 등록된 등록고안 제 20-0340142 호 발 운동구를 구비한 침대는 침대(200) 후방에 발 장식판(210)을 고정설치하고, 상기 발 장식판(210)에 발 운동구(100)를 일체형으로 형성하여서 침대(200)에 누운 상태에서 발 운동구(100)를 이용하여 발바닥을 지압 안마토록 하는 것으로서, 발 자극기(발 운동구(100))를 침대의 발장식판10)에 구성하게 하였는데, 현재의 많은 침대는 침대 받침판이 통 베드 형식으로 구성하여 침대 받침대에 머리 장식판은 구성하고 있으나, 발 장식판은 구성하지 않는 추세여서 발 장식판에 발 자극기를 구성하기 어려운 문제를 내재하고 있는 것이다.Registered invention of Registration No. 20-0340142 is a bed equipped with a footrest and a footplate 210 is fixed to the back of the bed 200 and the footplate 100 is integrally formed on the footplate 210 The foot stimulating device (the foot moving part 100) is configured on the foot plate 10 of the bed by using the foot exercise pad 100 in the lying state on the bed 200 to massage the sole of the foot. The bed base plate is composed of a tubbed type, and a head plate is formed on the bed base. However, since the foot plate is not constituted, it is difficult to form a foot stimulator on the foot plate.

본 발명이 해결하고자 하는 과제는 현재의 침대 받침대가 통 베드 형식으로 침대 받침대에 발 장식판을 구성치 않고, 매트리스가 스프링 쿠션과 천으로 덮혀 있고, 여러 가지 모양의 침대 받침대와 매트리스 구조에 적용 가능하도록 발 자극기를 침대에 간단히 구성하여 발 자극기를 침대에 눕거나 앉아서 사용할 수 있게 하고, 발 자극기를 사용치 않을 시에는 간단히 발 자극기를 이동 정리할 수 있게 하는 침대용 발 자극기를 제공하고자 하는데 그 주된 목적이 있는 것이다.The problem to be solved by the present invention is that the present bed base does not constitute a foot plate on a bed base in the form of a padded bed and the mattress is covered with a spring cushion and a cloth and can be applied to various bed base and mattress structures The present invention provides a foot stimulating device for a bed which can easily constitute a foot stimulating device on a bed so that the foot stimulating device can be laid down on a bed or used and can be easily moved when the foot stimulating device is not used. will be.

본 발명은 상기 문제점을 감안해서 이루어진 것으로 침대의 매트리스(310)와 침대 받침대(320) 사이에 ㄴ자형의 고정판(200)을 끼워서 고정하고 외부에 돌출된 고정판(200)에 회전축을 가진 회전 지지대(130)를 결합 구성하고 회전 지지대(130)의 회전축에 연결대(120)의 회전축을 결합 구성하고 연결대(120)의 다른 일단에 발 자극기 받침대(110)가 슬라이드로 높낮이를 조정될 수 있게 구성하고, 발 자극기 받침대(110)에 발 자극기(100)를 부착하여 구성하는데, 발 자극기(100)를 사용치 않을 시에는 회전 지지대(130)의 회전축을 기준으로 180도로 젖히면 발 자극기(100)가 침대 앞의 아래로 젖혀져서 침대를 사용하는데 깔끔하고 편리하게 할 수 있게 되고, 침대에서 눕거나 앉아서 발 자극기(100)를 사용할 시에는 발 자극기(100)를 회전 지지대(130)의 회전축을 기준으로 180도 회전하여 들어올려서 침대 매트리스(310) 위로 올라오게 하여 발을 발 자극기(100)에 밀착하고 발 자극 마사지를 함으로서 침대에 앉거나 누워서도 편리하면서도 효율적으로 발과 다리의 혈액 순환이나 근육 운동을 할 수 있게 되는 것이다.SUMMARY OF THE INVENTION The present invention has been made in view of the above problems, and it is an object of the present invention to provide a mattress 310 and a bed cradle 320 of a bed in which a cradle 200 is fitted between and fixed to a fixing plate 200, The footrest 110 may be slidably mounted on the other end of the connecting rod 120. The footrest 110 may be slidably mounted on the other end of the connecting rod 120, When the foot stimulating device 100 is not used, when the foot stimulating device 100 is rotated 180 degrees with respect to the rotation axis of the rotation supporting member 130, the foot stimulating device 100 is placed in front of the bed When the foot stimulating device 100 is used, the foot stimulating device 100 is rotated 180 degrees with respect to the rotation axis of the rotation support 130, So that the feet can be lifted up and raised above the bed mattress 310 and the feet are brought into close contact with the foot stimulating device 100 and foot stimulation massage can be conveniently and effectively carried out in the foot circulation or muscles exercise It will be.

이와 같이 침대 매트리스(310))에 앉거나 누워서도 별도의 운동 도구가 필요 없이 간단하면서도 효율적으로 발 자극 마사지를 할 수 있는 침대용 발 자극기를 제공하고자 하는 것이다.The present invention is to provide a foot stimulating device for a bed which can easily and effectively perform foot stimulating massage without needing a separate exercise tool even when sitting or lying on the bed mattress 310).

이상에서 설명한 바와 같이 본 발명은 발 자극기를 구성하기 어려운 통 베드 방식의 침대 받침대와 통 베드 침대 받침대 위에 매트리스를 올려놓는 현재의 침대 구성에서 침대에 간단히 발 자극기를 구성하여 침대 매트리스에 앉거나 누워서 발이나 다리의 근육 운동이나 혈액순환을 촉진할 수가 있어서 인간이 건강 생활을 영위하는데 매우 효과적이고 유용한 발명이다.As described above, according to the present invention, it is possible to provide a bed-type bed base and a tub-type bed base which are difficult to constitute a foot stimulator. In the present bed structure in which a mattress is placed on the bed base, It is a very effective and useful invention for human health life because it can stimulate muscle movement and blood circulation in legs and legs.

도 1은 본 발명의 실시 예의 구성도이다.
도 2와 도 3은 본 발명의 다른 실시 예의 구성도이다.
도 4와 도 5는 본 발명의 이동 정리 동작 설명도이다.
도 6 내지 도 10은 본 발명 및 다른 실시 예의 세부 설명도이다.
도 11은 종래의 실시 상태를 예시한 구성도이다.
1 is a configuration diagram of an embodiment of the present invention.
2 and 3 are block diagrams of another embodiment of the present invention.
4 and 5 are explanatory views of the moving theorem operation of the present invention.
6 to 10 are detailed views of the present invention and other embodiments.
FIG. 11 is a configuration diagram illustrating a conventional operation state.

도 1은 본 발명의 실시 예의 구성도를 도시한 것이고, 도 2와 도 3은 본 발명의 다른 실시 예의 구성도이고, 도 4와 도 5는 본 발명의 이동 정리 동작 설명도이고, 도 6 내지 도 10은 본 발명 및 다른 실시 예의 세부 설명도이고, 도 11은 종래의 실시 상태를 예시한 구성도이다.FIG. 1 is a block diagram showing an embodiment of the present invention. FIG. 2 and FIG. 3 are block diagrams of another embodiment of the present invention, FIGS. 4 and 5 are explanatory views of the moving theorem operation of the present invention, FIG. 10 is a detailed explanatory view of the present invention and other embodiments, and FIG. 11 is a configuration diagram illustrating a conventional embodiment.

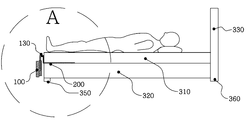
도 1에서 보듯이 기존의 침대는 대부분 통 베드 형식으로 구성되어 매트리스(310)와 매트리스(310) 하부에 침대 받침판(320)이 구성되고, 매트리스(310) 머리부에는 침대 머리 장식판(330)이 구성되고, 침대 받침대(320)에 침대 다리(350,360)가 구성되는데, 침대 받침판(320)과 매트리스(310) 사이에 ㄴ자 형상의 고정판(200)이 삽입 고정되고, 외부에 돌출된 고정판(200)에 회전축을 가진 회전 지지대(130)가 결합 구성되고, 회전 지지대(130)의 회전축에 연결대(120)의 회전축이 결합 구성되어 회전 지지대(130)의 회전축을 기준 축으로 하여 회전이 될 수 있게 하고, 연결대(120)의 다른 일단에는 발 자극기 받침대(110)가 구성되는데, 연결대(120)는 발 자극기 받침대(110) 속으로 슬라이드가 되어서 높낮이를 조정할 수 있게 구성하고, 발 자극기 받침대(110)에 발 자극기(100)를 부착하여 침대용 발 자극기를 구성하는데,As shown in FIG. 1, the conventional bed is mostly composed of a tub-type bed, a bed support plate 320 is formed under the mattress 310 and the mattress 310, and a bed head plate 330 is attached to the head of the mattress 310 And the bed legs 350 and 360 are formed on the bed base 320. The fixing plate 200 is inserted and fixed between the bed base plate 320 and the mattress 310, And a rotary shaft of the connecting rod 120 is coupled to the rotary shaft of the rotary shaft 130 so that the rotary shaft of the rotary shaft 130 can be rotated around the rotary shaft 130 as a reference shaft And the other end of the connecting rod 120 is constituted by a foot stimulating device 110. The connecting device 120 is slid into the foot stimulating device 110 so as to adjust the height thereof, Attaching the foot stimulator 100 Thereby constituting a bed foot stimulator,

발 자극기(100)를 사용치 않을 시에는 회전 지지대(130)의 회전축을 기준 축으로 하여 발 자극기(100)를 180도 회전시켜서 발 자극기(100)가 침대 앞의 아래로 내려가게 하여 평상시 침대를 사용하는데 불편함이 전혀 없게 하는데, 이때 발 자극기 받침대(110)와 연결대(120)의 슬라이드 길이를 짧게 조정하면 좀더 길이가 작게되어 정리가 깔끔해지고, 발 자극기(100)를 사용시에는 회전 지지대(130)의 회전축을 기준 축으로 하여 발 자극기(100)를 180도 회전시켜서 발 자극기(100)가 침대 위로 올라오게 하고 매트리스(310)의 두께에 맞게 발 자극기 받침대(110)와 연결대(120)의 슬라이드 높이를 조정하여 발 자극기(100)가 매트리스(310) 위에 정확히 올라오게 하여 침대에 앉거나 누워서 발 자극기(100)에 발을 밀착하여 발 자극 마사지를 간편히 할 수 있게 되어 발 자극 마사지에 의한 발과 다리의 근육 운동이나 발과 다리의 혈액 순환을 촉진하게 되는 것인데, When the foot stimulating device 100 is not used, the foot stimulating device 100 is rotated 180 degrees about the rotation axis of the rotation support 130 as a reference axis so that the foot stimulating device 100 is lowered in front of the bed, If the slide length of the foot stimulating device 110 and the connecting device 120 is shortened, the length of the slide device becomes shorter and the cleanliness becomes clearer. When the foot stimulating device 100 is used, The foot stimulating device 100 is rotated 180 degrees with the rotation axis of the foot stimulating device 100 as a reference axis so that the foot stimulating device 100 is moved upward on the bed and the slide of the foot stimulating device support 110 and the connecting base 120 The foot stimulating device 100 can be accurately placed on the mattress 310 so that it can sit on the bed or lie down to closely contact the foot stimulating device 100. Thus, It promotes muscular movements of the feet and legs and blood circulation of the feet and legs,

발 자극기(100)는 저주파 패드를 사용한 저주파 펄스를 이용할 수도 있거나, 돌기를 이용한 발 지압을 구성할 수도 있으며, 진동 모터를 이용하여 발 바닥의 진동운동을 구성할 수도 있다.The foot stimulating apparatus 100 may use a low frequency pulse using a low frequency pad or may constitute a foot pressure using a projection or a vibrating motion of a foot floor using a vibration motor.

또한 본 발명은 도 2에서와 같이 침대 받침판(320)과 매트리스(310) 사이에 ㄴ자 형상의 고정판(200)이 삽입 고정되고, 외부에 돌출된 고정판(200)에 직접 연결대(120)가 결합 구성되고, 연결대(120)의 다른 일단에는 발자극기 받침대(110)가 구성되는데, 연결대(120)는 발 자극기 받침대(110) 속으로 슬라이드가 되어서 높낮이를 조정할 수 있게 구성하고, 발 자극기 받침대(110)에 발 자극기(100)를 부착하여 간단히 침대용 발 자극기를 구성할 수도 있고,2, the fixing plate 200 is inserted and fixed between the bed support plate 320 and the mattress 310, and the connection plate 120 is directly coupled to the fixing plate 200, And the other end of the connecting rod 120 is constituted by a foot stimulating device 110. The connecting device 120 is slidable into the foot stimulating device 110 to adjust the height of the foot and the foot stimulating device 110, The foot stimulating device 100 may be attached to the bed,

또한 본 발명은 도 3에서와 같이 침대 받침판(320)과 매트리스(310) 사이에 ㄴ자 형상의 고정판(200)이 삽입 고정되고, 외부에 돌출된 고정판(200)에 직접 발 자극기(100)를 부착하여 좀더 간단히 침대용 발 자극기를 구성할 수도 있는데,3, the fixing plate 200 is inserted and fixed between the bed support plate 320 and the mattress 310, and the direct stimulating device 100 is attached to the fixing plate 200 protruding from the outside So that the bed foot stimulator can be constructed more simply,

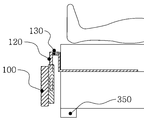
고정판(200)은 철판이나 알루미늄판 및 프라스틱 재질로 구성할 수도 있고, 고정판(200) 위에 고무판을 붙이거나 천을 감싸서 침대 받침대(320)와 매트리스(310) 사이에서 잘 밀리지 않는 구조를 만들 수도 있다.The fixing plate 200 may be formed of an iron plate, an aluminum plate, or a plastic material. A rubber plate may be attached on the fixing plate 200 or a cloth may be wrapped around the fixing plate 200 to prevent the bed plate 320 and the mattress 310 from being pushed.

도 4는 침대에서 발 자극기(100)를 사용치 않을시 발 자극기(100)를 회전 지지대(130)의 회전축을 기준 축으로 90도 젖힌 상태를 도시한 것이고,4 shows a state in which the foot stimulating device 100 is rotated 90 degrees from the rotation axis of the rotation support 130 as a reference axis when the foot stimulating device 100 is not used in the bed,

도 5는 발 자극기(100)를 회전 지지대(130)의 회전축을 기준 축으로 180도 젖힌 상태를 도시한 것으로, 평상시 침대를 사용하는 것처럼 발 자극기(100)가 전혀 간섭이나 불편함을 주지 않는 것을 보여주는 것이고,5 shows a state in which the foot stimulating apparatus 100 is rotated 180 degrees about the rotation axis of the rotation support 130 by 180 degrees. This means that the foot stimulating apparatus 100 does not cause any interference or discomfort at all, Show,

도 6은 도 1의 A 부분을 확대한 도면이고,FIG. 6 is an enlarged view of a portion A in FIG. 1,

도 7은 도 2의 A 부분을 확대한 도면이고,Fig. 7 is an enlarged view of a portion A in Fig. 2,

도 8은 도 3의 A 부분을 확대한 도면이고,Fig. 8 is an enlarged view of a portion A in Fig. 3,

도 9는 도 4의 A 부분을 확대한 도면이고,FIG. 9 is an enlarged view of a portion A in FIG. 4,

도 10은 도 5의 A 부분을 확대한 도면이다.
10 is an enlarged view of a portion A in Fig.

이와 같이 본 발명은 매트리스(310)나 침대 받침판(320) 사이에 고정판(200)을 끼워서 간단히 설치하고 침대 매트리스(310)에 앉거나 누워서 발 자극 마사지를 함으로서 침대 하나로 편안한 숙면과 발과 다리의 근육운동 및 혈액 순환을 좋게 할 수 있어서 건강을 증진할 수 있는 침대용 발 자극기를 제공하고자 하는 것이 그 특징이다.As described above, according to the present invention, a fixing plate 200 is sandwiched between a mattress 310 and a bed-receiving plate 320, and the bed is placed on a bed mattress 310 or lying down to perform a foot-stimulating massage. And to provide a bed foot stimulator capable of improving exercise and blood circulation and thus promoting health.

100 : 발 자극기
110 : 발 자극기 받침대
120 : 연결대
130 : 회전 지지대
200 : 고정판
310 : 매트리스
320 : 침대 받침대
330 : 머리 장식판
350 : 침대 다리
360 : 침대 다리
100: Foot stimulator
110: Foot Stimulator Stand
120: Connections
130:
200: Fixed plate
310: Mattress
320: bed base
330: Headboard
350: bed leg
360: bed leg

Claims (7)

매트리스(310)와 침대 받침판(320)이 구성된 침대에서 침대 받침판(320)과 매트리스(310) 사이에 고정판(200)이 삽입 고정되고, 외부에 돌출된 고정판(200)에 회전축을 가진 회전 지지대(130)가 결합 구성되고, 회전 지지대(130)의 회전축에 연결대(120)의 회전축이 결합 구성되어 회전 지지대(130)의 회전축을 기준 축으로 하여 회전이 될 수 있게 하고, 연결대(120)의 다른 일측에는 발 자극기 받침대(110)가 슬라이드 결합 구성되고, 연결대(120)는 발 자극기 받침대(110) 속으로 슬라이드가 되어서 높낮이를 조정할 수 있게 구성하고, 발 자극기 받침대(110)에 발 자극기(100)를 부착하여 침대에서 앉거나 누워서 발 자극 마사지를 할 수 있게 구성된 침대용 발 자극기.A fixing plate 200 is inserted and fixed between the bed support plate 320 and the mattress 310 in a bed constituted by the mattress 310 and the bed support plate 320 and a rotary support table The rotation support shaft 130 is coupled to the rotation shaft of the rotation support 130 and the rotation shaft of the rotation support 130 is connected to the rotation shaft of the rotation support 130, The foot stimulating device 110 may be slidably coupled to the foot stimulating device 110 so that the connecting member 120 slides into the foot stimulating device support 110 to adjust the height of the foot stimulating device 110. When the foot stimulating device 100 is attached to the foot stimulating device support 110, A foot stimulating device for a bed which is configured to sit on a bed or lie down to attach a foot stimulating massage. 청구항 1에서 회전 지지대(130)를 배제하고 외부에 돌출된 고정판(200)에 회전축이 없는 연결대(120)의 일측을 직접 결합 구성하고, 연결대(120)의 다른 일측에는 발 자극기 받침대(110)가 슬라이드 결합 구성되고, 연결대(120)는 발 자극기 받침대(110) 속으로 슬라이드가 되어서 높낮이를 조정할 수 있게 구성하고, 발 자극기 받침대(110)에 발 자극기(100)를 부착하여 침대에서 앉거나 누워서 발 자극 마사지를 할 수 있게 구성된 침대용 발 자극기.The one end of the connecting rod 120 without the rotating shaft is directly coupled to the fixing plate 200 protruding from the outside and the other end of the connecting rod 120 is connected to the foot stimulating pole support 110 And the connecting rod 120 is slid into the foot stimulating device pedestal 110 so as to adjust the height thereof and the foot stimulating device 100 is attached to the foot stimulating device pedestal 110 so as to sit on the bed, A bed foot stimulator configured to stimulate massage. 청구항 1에서 회전 지지대(130)와 연결대(120)를 배제하고 외부에 돌출된 고정판(200)에 발 자극기 받침대(110)을 직접 결합 구성하고, 발 자극기 받침대(110)에 발 자극기(100)를 부착하여 침대에서 앉거나 누워서 발 자극 마사지를 할 수 있게 구성된 침대용 발 자극기.The foot stimulating device 110 is directly coupled to the fixing plate 200 protruding from the outside and the foot stimulating device 100 is attached to the foot stimulating device support 110 A bed foot stimulator configured to sit on a bed or to lie down to perform a foot stimulation massage. 청구항 1에서 회전 지지대(130)와 연결대(120)와 발 자극기 받침대(110)를 배제하고 외부에 돌출된 고정판에 직접 발 자극기(100)를 부착하여 침대에서 앉거나 누워서 발 자극 마사지를 할 수 있게 구성된 침대용 발 자극기.It is preferable that the rotary support 130, the connecting rod 120 and the foot stimulating device 110 are excluded and the foot stimulating device 100 is directly attached to the fixing plate protruding from the outside to allow the user to sit or lie on the bed to perform foot stimulating massage A bed foot stimulator. 청구항 1에서 고정판(200)이 침대 받침대(320)에 결합 구성된 침대용 발 자극기.The bed foot stimulator according to claim 1, wherein the fixing plate (200) is coupled to the bed base (320). 청구항 2에서 고정판(200)이 침대 받침대(320)에 결합 구성된 침대용 발 자극기.The bed foot stimulator according to claim 2, wherein the fixing plate (200) is coupled to the bed base (320). 청구항 3에서 고정판(200)이 침대 받침대(320)에 결합 구성된 침대용 발 자극기.The bed foot stimulator according to claim 3, wherein the fixing plate (200) is coupled to the bed base (320).
KR1020130082646A 2013-07-15 2013-07-15 Foot massage in a bed) Withdrawn KR20150008560A (en)

Priority Applications (1)

Application Number Priority Date Filing Date Title
KR1020130082646A KR20150008560A (en) 2013-07-15 2013-07-15 Foot massage in a bed)

Applications Claiming Priority (1)

Application Number Priority Date Filing Date Title
KR1020130082646A KR20150008560A (en) 2013-07-15 2013-07-15 Foot massage in a bed)

Publications (1)

Publication Number Publication Date
KR20150008560A true KR20150008560A (en) 2015-01-23

Family

ID=52572089

Family Applications (1)

Application Number Title Priority Date Filing Date
KR1020130082646A Withdrawn KR20150008560A (en) 2013-07-15 2013-07-15 Foot massage in a bed)

Country Status (1)

Country Link
KR (1) KR20150008560A (en)

Cited By (4)

* Cited by examiner, † Cited by third party
Publication number Priority date Publication date Assignee Title
CN105147478A (en) * 2015-10-21 2015-12-16 无锡同春新能源科技有限公司 Lithium battery power supply lower limb nursing bed for lifting legs and feet to tread connection double-wheel rotation devices on two sides of bed
CN105213126A (en) * 2015-10-21 2016-01-06 无锡同春新能源科技有限公司 The lower limb nursing bed that legs and feet step on the in vitro two-wheel tumbler in a both sides is lifted in the power supply of lithium electricity
KR20190132127A (en) * 2018-05-18 2019-11-27 안경미 Low frequency foot massage apparatus
CN111166100A (en) * 2020-03-11 2020-05-19 江西蓝臻智能科技有限公司 Multifunctional intelligent mattress

Cited By (4)

* Cited by examiner, † Cited by third party
Publication number Priority date Publication date Assignee Title
CN105147478A (en) * 2015-10-21 2015-12-16 无锡同春新能源科技有限公司 Lithium battery power supply lower limb nursing bed for lifting legs and feet to tread connection double-wheel rotation devices on two sides of bed
CN105213126A (en) * 2015-10-21 2016-01-06 无锡同春新能源科技有限公司 The lower limb nursing bed that legs and feet step on the in vitro two-wheel tumbler in a both sides is lifted in the power supply of lithium electricity
KR20190132127A (en) * 2018-05-18 2019-11-27 안경미 Low frequency foot massage apparatus
CN111166100A (en) * 2020-03-11 2020-05-19 江西蓝臻智能科技有限公司 Multifunctional intelligent mattress

Similar Documents

Publication Publication Date Title
CN104434462B (en) Neurological rehabilitation treatment chair
KR101452139B1 (en) Whole Body Massage Device of Folder Type
KR20170002963U (en) Electric mattress
KR102014439B1 (en) Massage chair with enhanced stretch function
KR20200001544U (en) Pendulum type leg massage equipment
CN201328904Y (en) Vibrating traction hyperthermia bed
KR20150008560A (en) Foot massage in a bed)
KR102493281B1 (en) Bed type massage device
KR20150075338A (en) There is traction therapy apparatus in heated belt
KR20180042048A (en) Functional beds
KR200451663Y1 (en) Leg massage device
KR20100093911A (en) Massage apparatus for legs
KR20160064868A (en) Body massage system and Method using sound pressure
KR101376989B1 (en) Chair type medical instrument for strengthening sphincter abdominal respiration
JP2001079055A (en) Leg edema / varicose vein reduction device
KR101649347B1 (en) Apparatus for adjusting exercise and prevention of disease
KR102213283B1 (en) Bed Type Massager For Whole Body
KR20220078844A (en) Massage chair including foot massaging function
CN107536664B (en) Massage bed with suspension structure
CN205267575U (en) Tired official working seat is prevented in reciprocating rotation massage
KR102003158B1 (en) Human Body Stretching Bed
WO2018036139A1 (en) Limb dysfunction rehabilitation device
KR200444398Y1 (en) Combined foot massager with air bag
KR200448197Y1 (en) Health mat
JP2025019966A (en) Chair with foot massage function

Legal Events

Date Code Title Description
PA0109 Patent application

Patent event code: PA01091R01D

Comment text: Patent Application

Patent event date: 20130715

PG1501 Laying open of application
PC1203 Withdrawal of no request for examination
WITN Application deemed withdrawn, e.g. because no request for examination was filed or no examination fee was paid