KR20150005338A - 공기조화기 - Google Patents

공기조화기 Download PDF

Info

Publication number
KR20150005338A
KR20150005338A KR20130079183A KR20130079183A KR20150005338A KR 20150005338 A KR20150005338 A KR 20150005338A KR 20130079183 A KR20130079183 A KR 20130079183A KR 20130079183 A KR20130079183 A KR 20130079183A KR 20150005338 A KR20150005338 A KR 20150005338A
Authority
KR
South Korea
Prior art keywords
air
flow path
heat
control box
plate
Prior art date
Legal status (The legal status is an assumption and is not a legal conclusion. Google has not performed a legal analysis and makes no representation as to the accuracy of the status listed.)
Granted
Application number
KR20130079183A
Other languages
English (en)
Other versions
KR102173373B1 (ko
Inventor
이영구
하종철
문동수
김현종
Original Assignee
엘지전자 주식회사
Priority date (The priority date is an assumption and is not a legal conclusion. Google has not performed a legal analysis and makes no representation as to the accuracy of the date listed.)
Filing date
Publication date
Application filed by 엘지전자 주식회사 filed Critical 엘지전자 주식회사
Priority to KR1020130079183A priority Critical patent/KR102173373B1/ko
Priority to EP14820006.6A priority patent/EP3017255B1/en
Priority to US14/902,801 priority patent/US10021809B2/en
Priority to PCT/KR2014/005985 priority patent/WO2015002493A1/en
Publication of KR20150005338A publication Critical patent/KR20150005338A/ko
Application granted granted Critical
Publication of KR102173373B1 publication Critical patent/KR102173373B1/ko
Active legal-status Critical Current
Anticipated expiration legal-status Critical

Links

Images

Classifications

    • FMECHANICAL ENGINEERING; LIGHTING; HEATING; WEAPONS; BLASTING
    • F24HEATING; RANGES; VENTILATING
    • F24FAIR-CONDITIONING; AIR-HUMIDIFICATION; VENTILATION; USE OF AIR CURRENTS FOR SCREENING
    • F24F5/00Air-conditioning systems or apparatus not covered by F24F1/00 or F24F3/00, e.g. using solar heat or combined with household units such as an oven or water heater
    • HELECTRICITY
    • H05ELECTRIC TECHNIQUES NOT OTHERWISE PROVIDED FOR
    • H05KPRINTED CIRCUITS; CASINGS OR CONSTRUCTIONAL DETAILS OF ELECTRIC APPARATUS; MANUFACTURE OF ASSEMBLAGES OF ELECTRICAL COMPONENTS
    • H05K7/00Constructional details common to different types of electric apparatus
    • H05K7/20Modifications to facilitate cooling, ventilating, or heating
    • H05K7/20009Modifications to facilitate cooling, ventilating, or heating using a gaseous coolant in electronic enclosures
    • H05K7/20136Forced ventilation, e.g. by fans
    • FMECHANICAL ENGINEERING; LIGHTING; HEATING; WEAPONS; BLASTING
    • F24HEATING; RANGES; VENTILATING
    • F24FAIR-CONDITIONING; AIR-HUMIDIFICATION; VENTILATION; USE OF AIR CURRENTS FOR SCREENING
    • F24F1/00Room units for air-conditioning, e.g. separate or self-contained units or units receiving primary air from a central station
    • FMECHANICAL ENGINEERING; LIGHTING; HEATING; WEAPONS; BLASTING
    • F24HEATING; RANGES; VENTILATING
    • F24FAIR-CONDITIONING; AIR-HUMIDIFICATION; VENTILATION; USE OF AIR CURRENTS FOR SCREENING
    • F24F1/00Room units for air-conditioning, e.g. separate or self-contained units or units receiving primary air from a central station
    • F24F1/06Separate outdoor units, e.g. outdoor unit to be linked to a separate room comprising a compressor and a heat exchanger
    • F24F1/20Electric components for separate outdoor units
    • F24F1/24Cooling of electric components
    • FMECHANICAL ENGINEERING; LIGHTING; HEATING; WEAPONS; BLASTING
    • F25REFRIGERATION OR COOLING; COMBINED HEATING AND REFRIGERATION SYSTEMS; HEAT PUMP SYSTEMS; MANUFACTURE OR STORAGE OF ICE; LIQUEFACTION SOLIDIFICATION OF GASES
    • F25BREFRIGERATION MACHINES, PLANTS OR SYSTEMS; COMBINED HEATING AND REFRIGERATION SYSTEMS; HEAT PUMP SYSTEMS
    • F25B21/00Machines, plants or systems, using electric or magnetic effects
    • F25B21/02Machines, plants or systems, using electric or magnetic effects using Peltier effect; using Nernst-Ettinghausen effect
    • HELECTRICITY
    • H05ELECTRIC TECHNIQUES NOT OTHERWISE PROVIDED FOR
    • H05KPRINTED CIRCUITS; CASINGS OR CONSTRUCTIONAL DETAILS OF ELECTRIC APPARATUS; MANUFACTURE OF ASSEMBLAGES OF ELECTRICAL COMPONENTS
    • H05K7/00Constructional details common to different types of electric apparatus
    • H05K7/20Modifications to facilitate cooling, ventilating, or heating
    • H05K7/20218Modifications to facilitate cooling, ventilating, or heating using a liquid coolant without phase change in electronic enclosures
    • H05K7/20254Cold plates transferring heat from heat source to coolant

Landscapes

  • Engineering & Computer Science (AREA)
  • Mechanical Engineering (AREA)
  • General Engineering & Computer Science (AREA)
  • Physics & Mathematics (AREA)
  • Thermal Sciences (AREA)
  • Microelectronics & Electronic Packaging (AREA)
  • Chemical & Material Sciences (AREA)
  • Combustion & Propulsion (AREA)
  • Life Sciences & Earth Sciences (AREA)
  • Sustainable Development (AREA)
  • Cooling Or The Like Of Electrical Apparatus (AREA)

Abstract

본 발명의 공기조화기는 공간이 형성된 컨트롤 박스와; 복수개의 전장부품이 설치되고 상기 공간에 공기순환유로를 형성하게 배치된 피시비와; 복수개의 전장부품 중 제 1 전장부품을 냉매와 열교환시키는 냉각모듈과; 공기순환유로에 배치되어 공기가 냉각모듈에 의해 냉각된 후 복수개의 전장부품 중 제 2 전장부품으로 송풍되게 유동시키는 순환팬을 포함하여, 컨트롤 박스 내부를 냉매 냉각식과 공랭식의 혼합 방식으로 효율좋게 방열시킬 수 있는 이점이 있다.

Description

공기조화기{Air conditioner}
본 발명은 공기조화기에 관한 것으로서, 특히 컨트롤 박스에 설치된 피시비를 냉각하는 공기조화기에 관한 것이다.
일반적으로 공기조화기는 실내 공기를 쾌적한 조건으로 유지할 수 있도록 흡입공기를 처리하여 건물 또는 방에 공급하는 장치로서 크게 일체형(window type)과 분리형(seperate type 또는 split type)이 있다.
상기한 일체형과 분리형은 기능적으로는 같지만 일체형은 냉각 방열의 기능을 일체화하여 가옥의 벽에 구멍을 뚫거나 창에 장치를 걸어서 직접 설치한 것이고, 분리형은 실내측에 냉각 장치를 설치하고 실외측에 방열 및 압축 장치를 설치하여 서로 분리된 두 장치간을 냉매 배관으로 연결시킨 것이다.
상기와 같은 공기조화기 중 분리형은 크게 실내 열교환기와 실내팬을 포함하는 실내기와, 압축기와 실외 열교환기와 실외팬을 포함하는 실외기와, 실내기와 실외기를 연결하는 냉매배관을 포함하여 구성된다.
공기조화기는 압축기나 팬 등의 각종 부품을 제어하는 피시비를 포함할 수 있고, 피시비는 컨트롤 박스에 설치될 수 있다.
공기조화기는 운전시 컨트롤 박스의 열이 상승될 수 있고, 컨트롤 박스의 열을 방열하기 위한 방열기구가 컨트롤 박스에 설치될 수 있다.
KR 10-2007-0022948 A (2007년02월28일)
종래 기술에 따른 공기조화기는 피시비 냉각을 위한 히트 싱크를 컨트롤 박스에 장착하고, 팬모터어셈블리에 의해 송풍된 외부 공기가 히트 싱크로 안내되는데, 팬모터어셈블리에 의해 송풍되는 외부 공기가 고온일 경우, 피시비가 효율적으로 냉각되지 못하는 문제점이 있다.
상기한 과제를 해결하기 위한 본 발명에 따른 공기조화기는 공간이 형성된 컨트롤 박스와; 복수개의 전장부품이 설치되고 상기 공간에 공기순환유로를 형성하게 배치된 피시비와; 상기 복수개의 전장부품 중 제 1 전장부품을 냉매와 열교환시키는 냉각모듈과; 상기 공기순환유로에 배치되어 공기가 상기 냉각모듈에 의해 냉각된 후 상기 복수개의 전장부품 중 제 2 전장부품으로 송풍되게 유동시키는 순환팬을 포함한다.
상기 제 1 전장부품은 상기 제 2 전장부품 보다 발열량이 많을 수 있다.
상기 공기순환유로는 상기 피시비와 컨트롤 박스 사이에 폐루프 단면 형상으로 형성될 수 있다.
상기 냉각 모듈은 냉매가 통과하는 냉매관과; 상기 냉매관 및 제 1 전장부품과 접촉되는 전열판과; 상기 전열판과 접촉되고 상기 공기순환유로의 공기와 열교환되는 흡열판을 포함할 수 있다.
상기 흡열판은 상기 전열판과 컨트롤 박스 사이에 위치될 수 있다.
상기 흡열판은 상기 공간의 공기가 통과하는 공기 통로가 적어도 하나 형성될 수 있다.
상기 순환팬은 공기 유동 방향으로 상기 제 1 전장부품과 상기 제 2 전장부품의 사이에 위치될 수 있다.
상기 피시비는 상기 공간을 상기 제 1 전장부품 및 방열모듈이 위치되는 제 1 유로와, 상기 제 2 전장부품이 위치되는 제 2 유로로 구획할 수 있다.
상기 제 1 전장부품은 상기 피시비의 일면에 설치될 수 있고, 상기 제 2 전장부품은 상기 피시비의 타면에 설치될 수 있다.
상기 제 1 유로는 상기 컨트롤 박스의 내측 일면과 상기 피시비 일면 사이에 위치될 수 있고, 상기 제 2 유로는 상기 컨트롤 박스의 내측 타면과 상기 피시비 타면 사이에 위치될 수 있다.
상기 피시비와 컨트롤 박스의 사이에는 상기 제 1 유로의 공기가 상기 제 2 유로로 유동되는 제 1 연통로와, 상기 제 2 유로의 공기가 상기 제 1 유로로 유동되는 제 2 연통로가 형성될 수 있다.
상기 피시비는 일측 모서리가 상기 컨트롤 박스과 이격되어 상기 제 1 연통로를 형성하고, 타측 모서리가 상기 컨트롤 박스과 이격되어 상기 제 2 연통로를 형성할 수 있다.
상기 순환팬은 상기 제 1 유로와 제 2 유로 중 어느 하나에 설치될 수 있다.
상기 제 1 유로와 제 2 유로는 둘 중 하나가 다른 하나 보다 유로 단면적이 더 크게 형성될 수 있고, 상기 순환팬은 상기 제 1 유로와 제 2 유로 중 유로 단면적이 더 큰 유로에 위치될 수 있다.
본 발명은 공간이 형성된 컨트롤 박스와; 상기 공간에 공기순환유로를 형성하게 배치된 피시비 모듈와; 상기 피시비 모듈의 고발열부와 저발열부 중 고발열부를 냉매와 열교환시키는 냉각모듈과; 상기 공기순환유로에 배치되어 공기가 상기 냉각모듈에 의해 냉각된 후 상기 저발열부로 송풍되게 유동시키는 순환팬을 포함한다.
상기 냉각 모듈은 냉매가 통과하는 냉매관과; 상기 고발열부의 열을 흡열하여 상기 냉매관으로 전달하는 전열판과; 상기 공기순환유로의 공기 열을 흡열하여 상기 전열판으로 전달하는 흡열판을 포함할 수 있다.
상기 흡열판은 상기 전열판과 컨트롤 박스 사이에 위치될 수 있다.
상기 흡열판은 상기 공기순환유로의 공기가 통과하는 공기 통로가 적어도 하나 형성될 수 있다.
상기 전열판은 고발열부와 접촉되는 제 1 전열판과, 상기 흡열판과 접촉되고 상기 제 1 전열판과 사이에 상기 냉매관의 일부가 수용되는 제 2 전열판을 포함할 수 있다.
본 발명은 컨트롤 박스의 내부가 냉매 냉각식에 의한 냉각과 공랭식에 의한 냉각의 2중 냉각에 의해 효율적으로 냉각될 수 있는 이점이 있다.
또한, 외부 공기가 높은 환경일 때, 컨트롤 박스 내부가 외부 온도에 영향 받지 않고, 신속하게 냉각할 수 있는 이점이 있다.
또한, 컨트롤 박스의 내부의 공기가 피시비의 주변을 순환하면서 피시비의 전체 및 컨트롤 박스의 내부 전체를 효율적이고 고르게 냉각할 수 있는 이점이 있다.
또한, 피시비 모듈 중 온도가 높은 부분을 냉매 냉각식으로 냉각하고, 그 이외를 공랭식으로 냉각하여 소비전력 손실을 최소화하면서 효율적으로 냉각할 수 있는 이점이 있다.
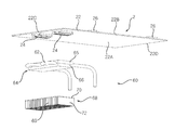
도 1은 본 발명에 따른 공기조화기 일실시예 내부가 도시된 정면도.
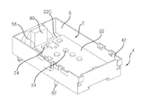
도 2는 도 1에 도시된 컨트롤 박스 내부가 도시된 단면도,
도 3은 도 1에 도시된 컨트롤 박스 내부가 도시된 사시도,
도 4는 도 2에 도시된 피시비와 냉각 모듈이 분리되었을 때의 도,
도 5는 도 2에 도시된 냉각 모듈이 피시비를 냉각할 때의 도이다.
이하, 본 발명의 실시 예를 첨부된 도면을 참조하여 상세히 설명한다.
도 1은 본 발명에 따른 공기조화기 일실시예 내부가 도시된 정면도이고, 도 2는 도 1에 도시된 컨트롤 박스 내부가 도시된 단면도이며, 도 3은 도 1에 도시된 컨트롤 박스 내부가 도시된 사시도이고, 도 4는 도 2에 도시된 피시비와 냉각 모듈이 분리되었을 때의 도이다. 도 5는 도 2에 도시된 냉각 모듈이 피시비를 냉각할 때의 도이다.
본 실시예의 공기조화기는 피시비모듈(2)이 컨트롤 박스(4)에 설치되고, 피시비모듈(2)은 공기조화기를 제어할 수 있다. 공기조화기는 냉매가 순환되는 압축기(6)와 실외 열교환기(8)와 팽창기구와 실내 열교환기를 포함할 수 있다. 공기조화기는 압축기와 실외 열교환기와 팽창기구와 실내 열교환기가 하나의 케이싱에 설치되는 일체형 공기조화기로 구성되거나 압축기(6)와 실외 열교환기(8) 및 실외팬(10)이 설치되는 실외기(O)와, 실내 열교환기 및 실내팬이 설치되는 실내기를 포함하는 분리형 공기조화기로 구성될 수 있다.
피시비모듈(2) 및 컨트롤 박스(4)가 일체형 공기조화기에 포함될 경우, 피시비모듈(2)은 일체형 공기조화기에 설치된 압축기와 송풍팬 등의 전기부품을 제어할 수 있다. 피시비모듈(2) 및 컨트롤 박스(4)가 실내기에 포함될 경우, 피시비모듈(2)은 실내기에 설치된 실내팬 등의 전기부품을 제어할 수 있다. 피시비모듈(2) 및 컨트롤 박스(4)가 실외기(O)에 포함될 경우 피시비모듈(2)은 실외기에 설치된 압축기(6)와 실외팬(10) 등의 전기부품을 제어할 수 있다.
공기조화기는 피시비모듈(2) 및 컨트롤 박스(4)가 실외기(O)에 설치되고, 실외기(O)에 설치된 피시비모듈(2)이 실외 공기에 의해 공랭식으로 냉각될 수 있다. 이 경우, 피시비모듈(2)은 실외 공기가 고온이며 고온의 실외 공기에 의해 효율적으로 방열되지 못하게 된다. 공기조화기는 실외 공기를 이용하여 피시비모듈(2)을 방열시키는 것 보다 냉매를 이용하여 피시비모듈(2)을 방열시키는 것이 바람직하다.
이하, 피시비모듈(2) 및 컨트롤 박스(4)가 실외기(O)에 설치된 예를 들어 설명하나, 피시비모듈(2) 및 컨트롤 박스(4)가 실외기(O)에 설치되는 것에 한하지 않고, 일체형 공기조화기나 실내기에 설치되는 것도 적용 가능함은 물론이다.
피시비모듈(2)은 컨트롤 박스(4) 내부에서 냉매와 공기에 의해 냉각될 수 있다. 피시비모듈(2)은 컨트롤 박스(4)에 형성된 공간(S)에 배치될 수 있다. 피시비모듈(2)은 피시비(22, PCB: Printed Circuit Board)와, 피시비(22)에 설치된 복수개의 전장부품(24)(26)을 포함할 수 있다. 피시비(22)에 설치된 복수개의 전장부품(24)(26)은 그 종류에 따라 발열량이상이할 수 있다. 복수개의 전장부품(24)(26) 중 일부 전장부품(22)은 발열량이 많은 고발열부를 구성할 수 있고, 복수개의 전장부품(24)(26) 중 다른 전장부품(24)은 고발열부 보다 발열량이 적은 저발열부를 구성할 수 있다. 공기조화기는 압축기(2)가 인버터 압축기로 구성될 수 있고, 복수개의 전장부품(24)(26)은 전원을 공급하는 전원공급부와, 복수개의 전장부품(24)(26)은 직류전력을 교류전력으로 전환하는 인버터를 포함할 수 있고, 전원공급부나 인버터 보다 발열량이 작은 타 전장부품을 포함할 수 있다. 공기조화기는 발열량이 많은 인버터나 전원공급부가 고발열부인 제 1 전장부품(24)일 수 있고, 전원공급부나 인버터 보다 발열량이 작은 타 전장부품이 저발열부인 제 2 전장부품(24)이 될 수 있다. 피시비모듈(2)은 공간(S)에 공기순환유로(P)를 형성하게 배치될 수 있다. 공기순환유로(P)는 컨트롤 박스(4) 외부와 통하지 않고 컨트롤 박스(4) 내부에만 형성된 유로로서, 컨트롤 박스(4) 내부에 공기가 순환되게 형성된 내부순환유로일 수 있다. 공간(S)의 공기는 공기순환유로(P)를 순환하면서 피시비모듈(2)을 냉각할 수 있다. 공간(S)의 공기는 후술하는 냉각모듈(60)에 의해 냉각될 수 있고, 냉각모듈(60)에서 냉각된 상태에서 공기순환유로(P)를 순환할 수 있다.
컨트롤 박스(4)는 각종 부품이 보호되고 설치되는 것으로서, 내부에는 공간(S)이 형성될 수 있다. 공간(S)은 컨트롤 박스(4) 내부에 형성되는 밀폐 공간일 수 있다. 컨트롤 박스(4)는 개구면이 형성된 박스 바디(42)와, 박스 바디(42)의 개구면을 막는 박스 덮개(46)를 포함할 수 있고, 박스 바디(42)와 박스 덮개(46) 사이에는 외부 공기의 출입이 차단된 밀폐 공간이 형성될 수 있다. 피시비모듈(2)은 컨트롤 박스(4)의 내부에서 냉매 뿐만 아니라 공기에 의해 냉각될 수 있는데, 공기는 냉매에 의해 냉각된 후 컨트롤 박스(4)의 내부에서 유동될 수 있고, 컨트롤 박스(4)의 내부를 유동하는 동안 컨트롤 박스(4) 내부 및 피시비 모듈(2)을 냉각할 수 있다.
공기조화기는 냉매를 피시비모듈(2)과 열교환시켜 피시비모듈(2)을 방열시키는 것이 가능하다. 공기조화기는 피시비모듈(2)을 냉매와 열교환시키는 냉각모듈(60)을 포함할 수 있다. 냉각모듈(60)은 압축기(6)와 실외열교환기(8)와 팽창기구와 실내열교환기를 포함하는 냉동사이클 회로에 연결될 수 있고, 냉동사이클 회로의 고온부와 저온부 중 저온부를 통과하는 냉매가 통과하면서 피시비모듈(2)을 방열시키게 설치될 수 있다. 냉각모듈(60)은 냉매가 통과하는 냉매관(62)을 포함할 수 있고, 냉매관(62)은 일단이 냉동 사이클 회로의 저온부에 연결될 수 있다. 냉매관(62)은 타단이 냉동 사이클 회로의 저온부에 연결될 수 있다. 냉매관(62)은 피시비모듈(2)과 컨트롤 박스(4)가 실외기(O)에 설치될 경우, 실외열교환기(8)와 팽창기구 사이의 냉매배관에 연결되거나 팽창기구와 실내열교환기 사이의 냉매배관에 연결될 수 있다. 냉각모듈(60)은 피시비모듈(2) 일부와 열교환되게 배치될 수 있다. 냉각모듈(60)은 피시비모듈(2)의 고발열부와 저발열부 중 고발열부를 냉매와 열교환시키는 것이 가능하다. 피시비모듈(2)은 고발열부가 냉각모듈(60)과 열교환되어 냉각될 수 있고, 저발열부가 냉각모듈(60)에 의해 냉각된 공기와 열교환되어 냉각될 수 있다. 피시비모듈(2)은 냉각모듈(60)에 의한 냉매식 냉각과 냉각모듈(60)과 열교환된 공기에 의한 공랭식 냉각으로 그 전체가 고르게 냉각될 수 있다. 냉각 모듈(60)은 고발열부의 열을 흡열하여 냉매관(62)으로 전달하는 전열판(64)과; 공기 열을 흡열하여 전열판(64)으로 전달하는 흡열판(68)을 포함할 수 있다.
전열판(64)은 고발열부와 접촉되는 제 1 전열판(65)과, 흡열판(68)과 접촉되고 제 1 전열판(65)과 사이에 냉매관(62)의 일부가 수용되는 제 2 전열판(66)을 포함할 수 있다.
흡열판(68)은 전열판(64)과 컨트롤 박스(4) 사이에 위치될 수 있다. 흡열판(68)은 공기순환유로(P)에 위치되어 공기순환유로(P)의 공기와 열교환될 수 있다. 흡열판(68)은 공기순환유로(P)의 공기가 통과하는 공기 통로(69)가 적어도 하나 형성될 수 있다. 흡열판(68)은 전열판(64)과 접촉되는 접촉판(70)과, 접촉판(70)에서 돌출된 적어도 하나의 핀(72:Fin)을 포함할 수 있다. 흡열판(68)은 핀(72)의 복수개가 접촉판(70)에 돌출되게 배치될 수 있고, 복수개의 핀(72) 사이에 공기 통로(69)가 형성될 수 있다.
공기조화기는 공기순환유로(P)에 배치되어 공기가 냉각모듈(60)에 의해 냉각된 후 피시비모듈(2)의 저발열부로 송풍되게 유동시키는 순환팬(80)을 더 포함할 수 있다.
이하, 피시비모듈(2)과 컨트롤 박스(4) 냉각에 대해 상세히 설명한다.
피시비(22)는 복수개의 전장부품(24)(26)이 설치되고 공간(S)에 공기순환유로(P)를 형성하게 배치될 수 있다. 공기순환유로(P)는 피시비(22)와 컨트롤 박스(4) 사이에 폐루프 단면 형상으로 형성될 수 있다.
복수개의 전장부품(24)(26) 중 제 1 전장부품은(24)은 제 2 전장부품(26) 보다 발열량이 많을 수 있다. 제 1 전장부품(24)과 제 2 전장부품(26)은 피시비(22)의 서로 상이한 면에 위치되게 설치될 수 있다. 제 1 전장부품(24)은 피시비(22)의 일면(22A)에 설치될 수 있고, 제 2 전장부품(26)은 피시비(22)의 타면(22B)에 설치될 수 있다.
피시비(22)는 공간(S)을 제 1 전장부품(24) 및 방열모듈(6)이 위치되는 제 1 유로(P1)와, 제 2 전장부품(26)이 위치되는 제 2 유로(P2)로 구획할 수 있다. 제 1 유로(P1)는 컨트롤 박스(4)의 내측 일면(51)과 피시비(22) 일면(22A) 사이에 위치될 수 있다. 제 2 유로(P2)는 컨트롤 박스(4)의 내측 타면(52)과 피시비(22) 타면(22B) 사이에 위치될 수 있다. 제 1 유로(P1)와 제 2 유로(P2)는 공기 유동 방향으로 둘 중 하나가 다른 하나 보다 유로 단면적이 더 크게 형성될 수 있다. 피시비(22)와 컨트롤 박스(4)의 사이에는 제 1 유로(P1)의 공기가 제 2 유로(P2)로 유동되는 제 1 연통로(P3)와, 제 2 유로(P2)의 공기가 제 1 유로(P1)로 유동되는 제 2 연통로(P4)가 형성될 수 있다. 피시비(22)는 일측 모서리(22C)가 컨트롤 박스(4)과 이격되어 제 1 연통로(P3)를 형성할 수 있고, 타측 모서리(22D)가 컨트롤 박스(4)와 이격되어 제 2 연통로(P4)를 형성할 수 있다. 피시비(22)는 컨트롤 박스(4)의 내부에 수평하게 배치될 수 있고, 피시비(22)의 하면은 컨트롤 박스(4)의 하판과 이격되어 그 사이에 제 1 유로(P1)를 형성할 수 있고, 피시비(22)의 상면은 컨트롤 박스(4)의 상판과 이격되어 그 사이에 제 2 유로(P2)를 형성할 수 있으며, 피시비(22)의 일측 모서리(22C)는 컨트롤 박스(4)의 일측벽과 이격되어 그 사이에 제 1 연통로(P3)를 형성할 수 있고, 피시비(22)의 타측 모서리(22D)는 컨트롤 박스(4)의 타측벽과 이격되어 그 사이에 제 2 연통로(P4)를 형성할 수 있다.
컨트롤 박스(4)에는 피시비(22)의 하면을 컨트롤 박스(4)의 하판과 이격시시키는 스페이서(53)(54)가 배치될 수 있고, 피시비(22)는 스페이서(53)(54)에 올려졌을 때, 컨트롤 박스(4)의 하판과 이격될 수 있고, 제 1 유로(P1)는 스페이서(53)(54)에 올려진 피시비(22)와 컨트롤 박스(4)의 하판 사이에 형성될 수 있다. 스페이서(53)(54)는 냉각모듈(60)의 높이 보다 높이가 높게 형성될 수 있다. 피시비(22)는 컨트롤 박스(4)에 스크류 등의 체결부재로 체결될 수 있다. 스페이서(53)(54)에는 체결부재가 체결되는 체결공이 형성될 수 있고, 피시비(22)는 스페이서(53)(54)의 체결공과 대응되는 위치에 체결부재가 관통되는 관통공이 형성될 수 있고, 피시비(22)는 스페이서(53)(54)와 체결부재로 체결될 수 있다. 컨트롤 박스(4)에는 제 1 유로(P1)의 공기를 순환팬(80)으로 안내하는 유로 가이드(56)가 형성될 수 있다. 컨트롤 박스(4)에는 냉매관(62)이 관통되는 냉매관 관통공이 형성될 수 있다.
냉각모듈(60)은 복수개의 전장부품(24)(26) 중 제 1 전장부품(24)을 냉매와 열교환시킬 수 있다. 냉각 모듈(60)은 전열판(64)이 냉매관(62) 및 제 1 전장부품(24)과 접촉될 수 있다. 냉각모듈(60)은 흡열판(68)이 전열판(64)과 접촉될 수 있다. 전열판(64) 중 제 1 전열판(65)은 제 1 전장부품(24)과 접촉될 수 있고, 전열판(64) 중 제 2 전열판(66)은 제 1 전열판(65)과 접촉될 수 있으며, 흡열판(68)의 접촉판(70)은 제 2 전열판(66)과 접촉될 수 있고, 흡열판(68)의 핀(72)은 접촉판(70)에서 컨트롤 박스(40)를 향하는 방향으로 돌출될 수 있다. 냉각 모듈(60)은 냉매관(62) 및 전열판(64)이 제 1 전장부품(24)을 냉각시키는 냉매 냉각식 냉각 모듈일 수 있고, 흡열판(68)이 공기를 냉각시키는 공랭식 냉각 모듈일 수 있다. 공기순환유로(P)의 공기는 흡열판(68)과 열교환되어 냉각될 수 있다. 공기는 제 1 유로(P1)를 통과하는 동안 흡열판(68)과 열교환되어 냉각될 수 있고, 이후 제 2 유로(P2)를 통과하면서 제 2 전장부품(26)을 공랭식으로 냉각할 수 있다.
순환팬(80)은 공기순환유로(P)에 배치되어 공기가 냉각모듈(6)에 의해 냉각된 후 복수개의 전장부품(24)(26) 중 제 2 전장부품(26)으로 송풍되게 유동시킬 수 있다. 순환팬(80)은 공기 유동 방향으로 제 1 전장부품(24)과 제 2 전장부품(26)의 사이에 위치될 수 있다. 순환팬(80)은 피시비(22)와 컨트롤 박스(4) 사이에 위치되게 설치될 수 있다. 순환팬(80)은 컨트롤 박스(4)와 틈(T)을 갖게 설치될 수 있다. 순환팬(80)은 제 1 유로(P1)와 제 2 유로(P2) 중 어느 하나에 설치될 수 있다. 순환팬(80)은 제 1 유로(P1)와 제 2 유로(P2) 중 유로 단면적이 더 큰 유로에 위치될 수 있다. 순환팬(80)은 제 1 유로(P1)와 제 2 유로(P2) 중 유로 단면적이 더 큰 유로와 제 3 유로(P3)에 위치되게 설치될 수 있다. 순환팬(80)은 제 1 유로(P1)의 공기를 흡입하여 제 2 유로(P2)로 송풍할 수 있다. 공기 유동 방향으로 흡열판(68)과 제 1 연통로(P3)의 사이 영역 및 제 1 연통로(P3)와 순환팬(80)의 사이 영역은 흡열판(68C)에 의해 냉각된 공기(C)가 통과하는 저온 영역의 유로일 수 있고, 공기 유동 방향으로 순환팬(80)과 제 2 연통로(P4)의 사이 영역 및 제 2 연통로(P4)와 흡열판(68)의 사이 영역은 공기(C)가 통과하면서 점차 승온되는 고온 영역의 유로일 수 있다.
이하, 상기와 같이 구성된 본 발명의 작용을 설명하면 다음과 같다.
먼저, 공기조화기의 운전시 압축기(6)는 구동될 수 있고, 실외팬(10)은 회전될 수 있다. 압축기(6)의 구동시 냉매는 압축기(6)와 실외 열교환기(8)와 팽창기구와 실내 열교환기를 순차적으로 통과한 후 압축기(6)로 유입될 수 있고, 실외 열교환기(8)는 실외팬(10)에 의해 유동된 실외 공기와 열교환될 수 있고, 실내 열교환기는 냉매를 실내 공기와 열교환시켜 실내를 공조시킬 수 있다.
공기조화기는 압축기(6)의 구동시, 냉매가 냉매관(62)을 통과할 수 있다. 그리고, 공기조화기의 운전시, 순환팬(80)은 구동될 수 있다. 순환팬(80)의 구동시, 컨트롤 박스(4)의 내부에는 공기의 순환기류가 형성될 수 있다. 냉매가 냉매관(62)을 통과할 때, 전열판(64)의 열은 냉매관(62)으로 흡열될 수 있고, 제 1 전장부품(24)의 열과 흡열판(68)의 열은 전열판(64)으로 흡열될 수 있다. 즉, 냉매가 냉매관(62)을 통과할 때, 제 1 전장부품(24)과 흡열판(68)은 전열판(64)에 의해 냉각될 수 있다.
순환팬(80)의 구동시 제 1 유로(P1)의 공기는 냉각모듈(60) 특히 흡열판(68)으로 유동되어 흡열판(68)과 열교환될 수 있고, 흡열판(68)에 의해 냉각될 수 있다. 흡열판(68)에 의해 냉각된 공기(C)는 이후 제 1 연통로(P3)를 통과할 수 있고, 순환팬(80)으로 흡인될 수 있다. 순환팬(80)으로 흡인된 공기는 제 2 유로(P2)로 송풍될 수 있고, 제 2 유로(P2)로 송풍된 공기(C)는 제 2 유로(P2)를 통과하면서 제 2 전장부품(26)과 제 2 유로(P2)를 냉각시킬 수 있다. 공기는 제 2 유로(P2)를 통과하면서 열을 흡열하여 점차 승온될 수 있고, 제 2 연통로(P4)를 통과하여 제 1 유로(P1)로 유입될 수 있다. 제 2 연통로(P4)에서 제 1 유로(P1)로 유입된 공기(H)는 승온된 상태로 흡열판(68)과 다시 열교환될 수 있고, 흡열판(68)에 의해 다시 냉각될 수 있다. 공기순환유로(P)의 공기는 제 1 유로(P1)를 통과하면서 방열되고 제 2 유로(P2)를 통과하면서 흡열되며, 방열과 흡열을 순차적으로 반복하면서 피시비 모듈(2)과 컨트롤 박스(4) 내부를 공랭식으로 냉각할 수 있다.
2: 피시비 모듈 4: 컨트롤 박스
6: 압축기 8: 실외 열교환기
10: 실외 팬 22: 피시비
24: 제 1 전장부품 26: 제 2 전장부품
42: 박스 바디 44: 박스 커버
60: 냉각 모듈 62: 냉매관
64: 전열판 68: 흡열판
80: 순환팬 P: 공기순환유로
P1: 제 1 유로 P2: 제 2 유로
P3: 제 1 연통로 P4: 제 2 연통로
S: 공간

Claims (19)

  1. 공간이 형성된 컨트롤 박스와;
    복수개의 전장부품이 설치되고 상기 공간에 공기순환유로를 형성하게 배치된 피시비와;
    상기 복수개의 전장부품 중 제 1 전장부품을 냉매와 열교환시키는 냉각모듈과;
    상기 공기순환유로에 배치되어 공기가 상기 냉각모듈에 의해 냉각된 후 상기 복수개의 전장부품 중 제 2 전장부품으로 송풍되게 유동시키는 순환팬을 포함하는 공기조화기.
  2. 제 1 항에 있어서,
    상기 제 1 전장부품은 상기 제 2 전장부품 보다 발열량이 많은 공기조화기.
  3. 제 1 항에 있어서,
    상기 공기순환유로는 상기 피시비와 컨트롤 박스 사이에 폐루프 단면 형상으로 형성되는 공기조화기.
  4. 제 1 항에 있어서,
    상기 냉각 모듈은 냉매가 통과하는 냉매관과;
    상기 냉매관 및 제 1 전장부품과 접촉되는 전열판과;
    상기 전열판과 접촉되고 상기 공기순환유로의 공기와 열교환되는 흡열판을 포함하는 공기조화기.
  5. 제 4 항에 있어서,
    상기 흡열판은 상기 전열판과 컨트롤 박스 사이에 위치되는 공기조화기.
  6. 제 4 항에 있어서,
    상기 흡열판은 상기 공간의 공기가 통과하는 공기 통로가 적어도 하나 형성된 공기조화기.
  7. 제 1 항에 있어서,
    상기 순환팬은 공기 유동 방향으로 상기 제 1 전장부품과 상기 제 2 전장부품의 사이에 위치되는 공기조화기.
  8. 제 1 항에 있어서,
    상기 피시비는 상기 공간을 상기 제 1 전장부품 및 방열모듈이 위치되는 제 1 유로와, 상기 제 2 전장부품이 위치되는 제 2 유로로 구획하는 공기조화기.
  9. 제 8 항에 있어서,
    상기 제 1 전장부품은 상기 피시비의 일면에 설치되고,
    상기 제 2 전장부품은 상기 피시비의 타면에 설치된 공기조화기.
  10. 제 9 항에 있어서,
    상기 제 1 유로는 상기 컨트롤 박스의 내측 일면과 상기 피시비 일면 사이에 위치되고,
    상기 제 2 유로는 상기 컨트롤 박스의 내측 타면과 상기 피시비 타면 사이에 위치되는 공기조화기.
  11. 제 8 항에 있어서,
    상기 피시비와 컨트롤 박스의 사이에는 상기 제 1 유로의 공기가 상기 제 2 유로로 유동되는 제 1 연통로와, 상기 제 2 유로의 공기가 상기 제 1 유로로 유동되는 제 2 연통로가 형성된 공기조화기.
  12. 제 11 항에 있어서,
    상기 피시비는 일측 모서리가 상기 컨트롤 박스과 이격되어 상기 제 1 연통로를 형성하고, 타측 모서리가 상기 컨트롤 박스과 이격되어 상기 제 2 연통로를 형성하는 공기조화기.
  13. 제 8 항에 있어서,
    상기 순환팬은 상기 제 1 유로와 제 2 유로 중 어느 하나에 설치된 공기조화기.
  14. 제 8 항에 있어서,
    상기 제 1 유로와 제 2 유로는 둘 중 하나가 다른 하나 보다 유로 단면적이 더 크게 형성되고,
    상기 순환팬은 상기 제 1 유로와 제 2 유로 중 유로 단면적이 더 큰 유로에 위치되는 공기조화기.
  15. 공간이 형성된 컨트롤 박스와;
    상기 공간에 공기순환유로를 형성하게 배치된 피시비 모듈와;
    상기 피시비 모듈의 고발열부와 저발열부 중 고발열부를 냉매와 열교환시키는 냉각모듈과;
    상기 공기순환유로에 배치되어 공기가 상기 냉각모듈에 의해 냉각된 후 상기 저발열부로 송풍되게 유동시키는 순환팬을 포함하는 공기조화기.
  16. 제 15 항에 있어서,
    상기 냉각 모듈은 냉매가 통과하는 냉매관과;
    상기 고발열부의 열을 흡열하여 상기 냉매관으로 전달하는 전열판과;
    상기 공기순환유로의 공기 열을 흡열하여 상기 전열판으로 전달하는 흡열판을 포함하는 공기조화기.
  17. 제 16 항에 있어서,
    상기 흡열판은 상기 전열판과 컨트롤 박스 사이에 위치되는 공기조화기.
  18. 제 16 항에 있어서,
    상기 흡열판은 상기 공기순환유로의 공기가 통과하는 공기 통로가 적어도 하나 형성된 공기조화기.
  19. 제 16 항에 있어서,
    상기 전열판은 고발열부와 접촉되는 제 1 전열판과,
    상기 흡열판과 접촉되고 상기 제 1 전열판과 사이에 상기 냉매관의 일부가 수용되는 제 2 전열판을 포함하는 공기조화기.
KR1020130079183A 2013-07-05 2013-07-05 공기조화기 Active KR102173373B1 (ko)

Priority Applications (4)

Application Number Priority Date Filing Date Title
KR1020130079183A KR102173373B1 (ko) 2013-07-05 2013-07-05 공기조화기
EP14820006.6A EP3017255B1 (en) 2013-07-05 2014-07-04 Air conditioner
US14/902,801 US10021809B2 (en) 2013-07-05 2014-07-04 Air conditioner
PCT/KR2014/005985 WO2015002493A1 (en) 2013-07-05 2014-07-04 Air conditioner

Applications Claiming Priority (1)

Application Number Priority Date Filing Date Title
KR1020130079183A KR102173373B1 (ko) 2013-07-05 2013-07-05 공기조화기

Publications (2)

Publication Number Publication Date
KR20150005338A true KR20150005338A (ko) 2015-01-14
KR102173373B1 KR102173373B1 (ko) 2020-11-03

Family

ID=52144005

Family Applications (1)

Application Number Title Priority Date Filing Date
KR1020130079183A Active KR102173373B1 (ko) 2013-07-05 2013-07-05 공기조화기

Country Status (4)

Country Link
US (1) US10021809B2 (ko)
EP (1) EP3017255B1 (ko)
KR (1) KR102173373B1 (ko)
WO (1) WO2015002493A1 (ko)

Cited By (1)

* Cited by examiner, † Cited by third party
Publication number Priority date Publication date Assignee Title
KR20160129357A (ko) * 2015-04-30 2016-11-09 삼성전자주식회사 공기 조화기의 실외기, 이에 적용되는 컨트롤 장치

Families Citing this family (33)

* Cited by examiner, † Cited by third party
Publication number Priority date Publication date Assignee Title
CN108702849B (zh) * 2016-03-04 2020-09-29 三菱电机株式会社 电气部件模块及空调机的室外机
US12423158B2 (en) 2016-03-31 2025-09-23 SolidRun Ltd. System and method for provisioning of artificial intelligence accelerator (AIA) resources
US11131466B2 (en) 2017-02-10 2021-09-28 Daikin Industries, Ltd. Heat source unit and air conditioner having the heat source unit
EP3361166B1 (en) * 2017-02-10 2024-11-06 Daikin Europe N.V. Heat source unit and air conditioner having the heat source unit
EP3361173B1 (en) * 2017-02-10 2022-04-20 Daikin Europe N.V. Heat source unit and air conditioner having the heat source unit
EP3361168B1 (en) * 2017-02-10 2022-04-20 Daikin Europe N.V. Heat source unit and air conditioner having the heat source unit
WO2018174484A1 (ko) * 2017-03-21 2018-09-27 엘지이노텍 주식회사 컨버터
CN116261308A (zh) * 2017-07-19 2023-06-13 江森自控泰科知识产权控股有限责任合伙公司 电子器件冷却系统
JP6749293B2 (ja) * 2017-08-09 2020-09-02 ダイキン工業株式会社 冷凍装置の室外ユニット
JP6674668B2 (ja) 2018-01-26 2020-04-01 株式会社富士通ゼネラル 電装品モジュール
EP3745035B1 (en) 2018-01-26 2024-11-13 Fujitsu General Limited Electrical component module
JP6702346B2 (ja) * 2018-02-26 2020-06-03 ダイキン工業株式会社 冷凍装置の室外ユニット
JP7119458B2 (ja) * 2018-03-19 2022-08-17 株式会社富士通ゼネラル 空気調和機の室外機
JP7159616B2 (ja) * 2018-05-22 2022-10-25 株式会社富士通ゼネラル 空気調和機の室外機
WO2019229914A1 (ja) * 2018-05-31 2019-12-05 三菱電機株式会社 室外機及び冷凍サイクル装置
CN109357328A (zh) * 2018-10-17 2019-02-19 宁波奥克斯电气股份有限公司 一种电控板散热控制装置及方法和空调器
CN110567187A (zh) * 2019-09-04 2019-12-13 珠海格力电器股份有限公司 电控箱、机组设备及电控箱散热控制方法
JP7020464B2 (ja) * 2019-09-26 2022-02-16 株式会社富士通ゼネラル 電装品モジュール
CN110645640A (zh) * 2019-10-25 2020-01-03 珠海格力电器股份有限公司 散热效率高的电器盒及室外机
WO2021166204A2 (ja) * 2020-02-21 2021-08-26 三菱電機株式会社 空気調和装置
CN111447806A (zh) * 2020-05-11 2020-07-24 珠海格力电器股份有限公司 散热效率高的电器盒及空调
US11982459B2 (en) 2020-08-26 2024-05-14 Gd Midea Heating & Ventilating Equipment Co., Ltd. Air conditioning apparatus and electric control box
CN215269190U (zh) * 2020-08-26 2021-12-21 广东美的暖通设备有限公司 电控盒及空调系统
BR112023000414A2 (pt) * 2020-08-26 2023-03-07 Midea Group Co Ltd Aparelho de ar-condicionado e caixa de controle elétrico.
CN114909831B (zh) * 2021-02-08 2024-06-14 广东美的暖通设备有限公司 换热器、电控盒及空调系统
BR112023025044A2 (pt) * 2021-08-07 2024-02-20 Gd Midea Heating Ventilating Equipment Co Ltd Caixa de controle elétrico, unidade externa de condicionador de ar, e, condicionador de ar
JP7548177B2 (ja) * 2021-09-27 2024-09-10 株式会社デンソー 制御装置
CN114060967B (zh) * 2021-11-29 2022-11-11 珠海格力电器股份有限公司 控制板温度的控制方法、系统、模组、空调和存储介质
CN114576739B (zh) * 2022-03-02 2023-09-01 宁波奥克斯电气股份有限公司 一种电控组件、空调室外机的电控盒组件和空调器
KR20240155938A (ko) * 2022-08-27 2024-10-29 지디 미디어 히팅 엔드 벤틸레이팅 이큅먼트 코 엘티디 공조 장치
CN115857975A (zh) * 2022-12-27 2023-03-28 全南虔芯半导体有限公司 一种烧录校准设备
US12366369B2 (en) 2023-02-28 2025-07-22 Haier Us Appliance Solutions, Inc. Saddle window air conditioner with increased air intake
US12339016B2 (en) 2023-02-28 2025-06-24 Haier Us Appliance Solutions, Inc. Positional guides for saddle window air conditioner

Citations (4)

* Cited by examiner, † Cited by third party
Publication number Priority date Publication date Assignee Title
KR20070022948A (ko) 2005-08-22 2007-02-28 엘지전자 주식회사 공기조화기 실외기의 방열구조
JP2010014340A (ja) * 2008-07-03 2010-01-21 Daikin Ind Ltd 冷凍装置
JP2011220654A (ja) * 2010-04-14 2011-11-04 Daikin Industries Ltd 冷凍装置
JP2013015295A (ja) * 2011-07-06 2013-01-24 Panasonic Corp 冷却装置およびそれを備えた空気調和機

Family Cites Families (15)

* Cited by examiner, † Cited by third party
Publication number Priority date Publication date Assignee Title
JPH09138044A (ja) 1995-11-17 1997-05-27 Hitachi Ltd 密閉筐体とその湿度制御法
US6009717A (en) * 1998-08-26 2000-01-04 Carrier Corporation Control box for a room air conditioner
KR101172679B1 (ko) * 2004-07-14 2012-08-09 삼성전자주식회사 공기조화기의 실외기
WO2006080793A2 (en) * 2005-01-27 2006-08-03 Lg Electronics, Inc. Indoor unit of air conditioner
KR20070052547A (ko) * 2005-11-17 2007-05-22 엘지전자 주식회사 공기조화기
KR100954358B1 (ko) 2006-01-25 2010-04-27 엘지전자 주식회사 공기조화기 실외기의 컨트롤박스
US7752863B2 (en) * 2006-07-03 2010-07-13 Lg Electronics Inc. Air conditioner
KR101298404B1 (ko) * 2007-09-21 2013-08-20 엘지전자 주식회사 공기조화기의 실외기
KR20090053491A (ko) * 2007-11-23 2009-05-27 엘지전자 주식회사 공기조화기의 실외기
KR101354214B1 (ko) * 2008-02-20 2014-01-22 삼성전자주식회사 공기조화기
US8749749B2 (en) * 2008-12-18 2014-06-10 Manufacturing Resources International, Inc. System for cooling an electronic image assembly with manifolds and ambient gas
JP5455431B2 (ja) 2009-05-15 2014-03-26 三菱重工業株式会社 インバータ冷却装置およびインバータ冷却方法ならびに冷凍機
JPWO2011083756A1 (ja) * 2010-01-05 2013-05-13 ダイキン工業株式会社 冷凍装置
CN103238031B (zh) * 2010-12-16 2016-11-16 松下电器产业株式会社 冷却装置和具有该冷却装置的空气调节机
KR101589027B1 (ko) * 2014-03-18 2016-01-27 엘지전자 주식회사 공기조화기의 실외기

Patent Citations (4)

* Cited by examiner, † Cited by third party
Publication number Priority date Publication date Assignee Title
KR20070022948A (ko) 2005-08-22 2007-02-28 엘지전자 주식회사 공기조화기 실외기의 방열구조
JP2010014340A (ja) * 2008-07-03 2010-01-21 Daikin Ind Ltd 冷凍装置
JP2011220654A (ja) * 2010-04-14 2011-11-04 Daikin Industries Ltd 冷凍装置
JP2013015295A (ja) * 2011-07-06 2013-01-24 Panasonic Corp 冷却装置およびそれを備えた空気調和機

Cited By (1)

* Cited by examiner, † Cited by third party
Publication number Priority date Publication date Assignee Title
KR20160129357A (ko) * 2015-04-30 2016-11-09 삼성전자주식회사 공기 조화기의 실외기, 이에 적용되는 컨트롤 장치

Also Published As

Publication number Publication date
WO2015002493A1 (en) 2015-01-08
KR102173373B1 (ko) 2020-11-03
EP3017255A1 (en) 2016-05-11
EP3017255B1 (en) 2019-09-18
US20160174411A1 (en) 2016-06-16
US10021809B2 (en) 2018-07-10
EP3017255A4 (en) 2017-03-01

Similar Documents

Publication Publication Date Title
KR102173373B1 (ko) 공기조화기
US11204182B2 (en) Control box, and outdoor unit of air conditioner comprising same
WO2016165504A1 (zh) 机柜和散热系统
US10569617B2 (en) Outdoor unit for air conditioner
US9706681B2 (en) Modular electronic system
CN104251522A (zh) 空调电器盒组件及其空调室外机
JP6021423B2 (ja) 熱交換ユニット
CN108174587B (zh) 一种显示装置
WO2020044474A1 (ja) 室外機及び空気調和機
WO2022011620A1 (zh) 一种换热模块及机柜
CN201388355Y (zh) 散热装置及具备有散热装置的电子零件模组箱、机房
KR20240027815A (ko) 공기 조화기의 실내기
CN222216273U (zh) 电器盒和空调机组
CN223364201U (zh) 一种具有高效散热的物联网交换机
JP2015095967A (ja) 制御盤及びポンプ装置
CN102261629A (zh) 盒型散热装置及冷盒散热装置
KR200432025Y1 (ko) 통신기기용 공냉식 열 교환기
KR200401756Y1 (ko) 열교환 유니트
KR102186603B1 (ko) 디스플레이 냉각장치
KR100624739B1 (ko) 공기조화기의 인쇄회로기판 방열구조
WO2025130107A1 (zh) 电器盒和空调机组
WO2020044473A1 (ja) 室外機及び空気調和機
KR20040046547A (ko) 개선된 열교환 구조를 갖는 옥외용 정보통신기기
KR20050021796A (ko) 통신장비용 함체의 방열구조
KR20060072009A (ko) 디스플레이장치용 냉각장치

Legal Events

Date Code Title Description
PA0109 Patent application

St.27 status event code: A-0-1-A10-A12-nap-PA0109

PG1501 Laying open of application

St.27 status event code: A-1-1-Q10-Q12-nap-PG1501

PN2301 Change of applicant

St.27 status event code: A-3-3-R10-R13-asn-PN2301

St.27 status event code: A-3-3-R10-R11-asn-PN2301

A201 Request for examination
PA0201 Request for examination

St.27 status event code: A-1-2-D10-D11-exm-PA0201

E902 Notification of reason for refusal
PE0902 Notice of grounds for rejection

St.27 status event code: A-1-2-D10-D21-exm-PE0902

E13-X000 Pre-grant limitation requested

St.27 status event code: A-2-3-E10-E13-lim-X000

P11-X000 Amendment of application requested

St.27 status event code: A-2-2-P10-P11-nap-X000

P13-X000 Application amended

St.27 status event code: A-2-2-P10-P13-nap-X000

E90F Notification of reason for final refusal
PE0902 Notice of grounds for rejection

St.27 status event code: A-1-2-D10-D21-exm-PE0902

P11-X000 Amendment of application requested

St.27 status event code: A-2-2-P10-P11-nap-X000

P13-X000 Application amended

St.27 status event code: A-2-2-P10-P13-nap-X000

PN2301 Change of applicant

St.27 status event code: A-3-3-R10-R13-asn-PN2301

St.27 status event code: A-3-3-R10-R11-asn-PN2301

E701 Decision to grant or registration of patent right
PE0701 Decision of registration

St.27 status event code: A-1-2-D10-D22-exm-PE0701

GRNT Written decision to grant
PR0701 Registration of establishment

St.27 status event code: A-2-4-F10-F11-exm-PR0701

PR1002 Payment of registration fee

St.27 status event code: A-2-2-U10-U11-oth-PR1002

Fee payment year number: 1

PG1601 Publication of registration

St.27 status event code: A-4-4-Q10-Q13-nap-PG1601

PR1001 Payment of annual fee

St.27 status event code: A-4-4-U10-U11-oth-PR1001

Fee payment year number: 4

PR1001 Payment of annual fee

St.27 status event code: A-4-4-U10-U11-oth-PR1001

Fee payment year number: 5

PR1001 Payment of annual fee

St.27 status event code: A-4-4-U10-U11-oth-PR1001

Fee payment year number: 6

U11 Full renewal or maintenance fee paid

Free format text: ST27 STATUS EVENT CODE: A-4-4-U10-U11-OTH-PR1001 (AS PROVIDED BY THE NATIONAL OFFICE)

Year of fee payment: 6