KR20150000209U - Cover Case For Portable Terminal - Google Patents

Cover Case For Portable Terminal Download PDF

Info

Publication number
KR20150000209U
KR20150000209U KR2020130005458U KR20130005458U KR20150000209U KR 20150000209 U KR20150000209 U KR 20150000209U KR 2020130005458 U KR2020130005458 U KR 2020130005458U KR 20130005458 U KR20130005458 U KR 20130005458U KR 20150000209 U KR20150000209 U KR 20150000209U
Authority
KR
South Korea
Prior art keywords
cover
portable terminal
terminal
front cover
inlay
Prior art date
Legal status (The legal status is an assumption and is not a legal conclusion. Google has not performed a legal analysis and makes no representation as to the accuracy of the status listed.)
Withdrawn
Application number
KR2020130005458U
Other languages
Korean (ko)
Inventor
여두엽
여상엽
Original Assignee
주식회사 신해
Priority date (The priority date is an assumption and is not a legal conclusion. Google has not performed a legal analysis and makes no representation as to the accuracy of the date listed.)
Filing date
Publication date
Application filed by 주식회사 신해 filed Critical 주식회사 신해
Priority to KR2020130005458U priority Critical patent/KR20150000209U/en
Publication of KR20150000209U publication Critical patent/KR20150000209U/en
Withdrawn legal-status Critical Current

Links

Images

Classifications

    • AHUMAN NECESSITIES
    • A45HAND OR TRAVELLING ARTICLES
    • A45CPURSES; LUGGAGE; HAND CARRIED BAGS
    • A45C11/00Receptacles for purposes not provided for in groups A45C1/00-A45C9/00
    • AHUMAN NECESSITIES
    • A45HAND OR TRAVELLING ARTICLES
    • A45CPURSES; LUGGAGE; HAND CARRIED BAGS
    • A45C11/00Receptacles for purposes not provided for in groups A45C1/00-A45C9/00
    • A45C11/002Receptacles for purposes not provided for in groups A45C1/00-A45C9/00 for storing portable handheld communication devices, e.g. pagers or smart phones
    • AHUMAN NECESSITIES
    • A45HAND OR TRAVELLING ARTICLES
    • A45CPURSES; LUGGAGE; HAND CARRIED BAGS
    • A45C11/00Receptacles for purposes not provided for in groups A45C1/00-A45C9/00
    • A45C11/003Receptacles for purposes not provided for in groups A45C1/00-A45C9/00 for storing portable computing devices, e.g. laptops, tablets or calculators
    • AHUMAN NECESSITIES
    • A45HAND OR TRAVELLING ARTICLES
    • A45FTRAVELLING OR CAMP EQUIPMENT: SACKS OR PACKS CARRIED ON THE BODY
    • A45F5/00Holders or carriers for hand articles; Holders or carriers for use while travelling or camping
    • A45F5/1516Holders or carriers for portable handheld communication devices, e.g. pagers or smart phones

Landscapes

  • Purses, Travelling Bags, Baskets, Or Suitcases (AREA)
  • Telephone Set Structure (AREA)

Abstract

본 고안은 수첩 형태로 된 것으로서 앞커버를 열지 않고도 제한된 범위에서 휴대폰, 스마트폰 또는 태블릿 피씨와 같은 휴대단말기를 이용할 수 있게 하는 휴대단말기 보호케이스에 관한 것이다. 그 구성은; 휴대단말기(P)의 뒷면을 덮는 면적을 갖는 뒷커버(10); 연결부(30)를 통해 상기 뒷커버(10)의 일단에 연결되는 것으로서 상기 휴대단말기(P)의 앞면을 덮는 면적을 갖는 앞커버(20); 상기 휴대단말기(P)가 상기 뒷커버(10)에 고정될 수 있도록 하는 단말기홀더(40)를 포함하는 휴대단말기의 보호케이스에 있어서; 상기 앞커버(20)의 상측에는 상기 휴대단말기(P)의 앞면에 마련되어 있는 터치패널에 표시되는 내용을 볼 수 있는 투명 또는 반투명한 투시부(50)가 마련되며; 상기 앞커버(20)의 하측에는 상기 휴대단말기(P)를 조작할 수 있는 하나 이상의 단말기 조작부(60)가 마련되는 것을 특징으로 한다.The present invention relates to a portable terminal protection case which can be used in a portable terminal such as a mobile phone, a smart phone or a tablet PC in a limited range without opening the front cover. The composition is; A rear cover 10 having an area covering the back surface of the portable terminal P; A front cover 20 connected to one end of the rear cover 10 through a connection portion 30 and having an area covering a front surface of the portable terminal P; And a terminal holder (40) for allowing the portable terminal (P) to be fixed to the rear cover (10); A transparent or translucent transparent portion 50 is provided on the front cover 20 so as to be able to see the contents displayed on the touch panel provided on the front surface of the portable terminal P; One or more terminal operation units 60 are provided on the lower side of the front cover 20 to operate the portable terminal P. [

Description

휴대단말기 보호케이스{Cover Case For Portable Terminal}{Cover Case For Portable Terminal}

본 고안은 휴대단말기 보호케이스에 관한 것으로서, 보다 상세하게는 수첩 형태로 된 것으로서 앞커버를 열지 않고도 제한된 범위에서 휴대단말기를 이용할 수있게 하는 휴대단말기 보호케이스에 관한 것이다.
The present invention relates to a portable terminal protection case, and more particularly, to a portable terminal protection case that enables a portable terminal to be used within a limited range without opening a front cover.

외부의 충격이나 스크래치로부터 휴대폰, 스마트폰 또는 태블릿 피씨와 같은 휴대단말기를 보호하기 위해 보호케이스가 이용된다. 보호케이스는 여러 형태로 제공되고 있지만, 수첩과 같이 펼치거나 접을 수 있도록 앞커버와 뒷커버가 서로 접철 가능하게 연결된 형태가 널리 이용된다. 이러한 수첩 형태의 보호케이스는 재질이나 문양에 따라 고급스럽게 할 수 있으며, 신용카드나 명함 등을 보관할 수 있는 포켓을 설치하기도 용이한 장점을 가진다. 휴대단말기는 앞커버와 뒷커버 사이에 고정되는데 휴대단말기를 고정하기 위한 홀더는 통상 뒷커버에 설치된다. Protective cases are used to protect mobile devices such as cell phones, smart phones or tablet PCs from external shocks or scratches. Although the protective case is provided in various forms, a form in which the front cover and the rear cover are foldably connected to each other is widely used so as to expand or collapse as a notebook. The protective case in the form of a notebook can be made luxurious according to the material and the pattern, and it is also easy to install a pocket for storing a credit card or a business card. The portable terminal is fixed between the front cover and the rear cover, and the holder for fixing the portable terminal is usually installed on the rear cover.

국내 실용신안등록출원 제20-2012-0005164호에 개시된 바와 같은 수첩 형태로 된 휴대단말기 보호케이스는 앞커버가 불투명하기 때문에 전화가 걸려오거나 문자메시지가 도착한 경우 그 내용을 볼 수 없다. 즉 발신자가 누군지 알 수 없게 되어 있어 앞커버를 열어야 한다. 이렇듯 종래의 휴대폰 또는 스마트폰은 전화를 받지 않아도 되는데 부득이 앞커버를 열고 수신차단을 하거나 통화를 해야 하는 불편함이 있다.
As disclosed in Korean Utility Model Registration Application No. 20-2012-0005164, the portable terminal protective case in the form of a notebook can not be seen when a call is received or a text message arrives because the front cover is opaque. In other words, the caller must be unfamiliar with who is to open the front cover. Thus, conventional mobile phones or smart phones do not need to receive a telephone call, but there is an inconvenience that the front cover must be opened to interrupt the reception or make a call.

위와 같은 문제에 대한 본 고안의 목적은, 휴대폰, 스마트폰 또는 태블릿 피씨와 같은 휴대단말기를 보호하기 위한 수첩 형태의 보호케이스를 제공하되, 앞커버를 젖혀 열지 않고서도 발신자나 메시지를 확인할 수 있게 하며 나아가 제한된 범위에서 휴대단말기를 조작하거나 이용할 수 있게 하는 휴대단말기 보호케이스를 제공하는 것에 있다.
The purpose of this design for the above problem is to provide a pocket-shaped protective case for protecting mobile devices such as cell phones, smart phones or tablet PCs, allowing the user to check the sender or message without opening the front cover And to provide a portable terminal protection case that allows a portable terminal to be operated or used in a limited range.

위와 같은 목적은, 휴대폰, 스마트폰 또는 태블릿 피씨와 같은 휴대단말기(P)의 뒷면을 덮는 면적을 갖는 뒷커버(10); 연결부(30)를 통해 상기 뒷커버(10)의 일단에 연결되는 것으로서 상기 휴대단말기(P)의 앞면을 덮는 면적을 갖는 앞커버(20); 상기 휴대단말기(P)가 상기 뒷커버(10)에 고정될 수 있도록 하는 단말기홀더(40)를 포함하는 휴대단말기의 보호케이스에 있어서; The above object is achieved by a back cover 10 having an area covering the back surface of a portable terminal P such as a mobile phone, a smart phone or a tablet PC; A front cover 20 connected to one end of the rear cover 10 through a connection portion 30 and having an area covering a front surface of the portable terminal P; And a terminal holder (40) for allowing the portable terminal (P) to be fixed to the rear cover (10);

상기 앞커버(20)의 상측에는 상기 휴대단말기(P)의 앞면에 마련되어 있는 터치패널에 표시되는 내용을 볼 수 있는 투명 또는 반투명한 투시부(50)가 마련되며; A transparent or translucent transparent portion 50 is provided on the front cover 20 so as to be able to see the contents displayed on the touch panel provided on the front surface of the portable terminal P;

상기 앞커버(20)의 하측에는 상기 휴대단말기(P)를 조작할 수 있는 하나 이상의 단말기 조작부(60)가 마련되는 것을 특징으로 하는 휴대단말기의 보호케이스에 의해 달성된다. And at least one terminal operating unit 60 is provided on the lower side of the front cover 20 to operate the portable terminal P. [

본 고안의 특징에 의하면, 상기 앞커버(20)는 겉지(31), 앞판(21) 및 속지(32)가 순차적으로 접착되어 형성되며; According to a feature of the present invention, the front cover 20 is formed by successively bonding the cover 31, the front plate 21, and the inlay 32;

상기 단말기 조작부(60)는 상기 앞판(21) 및 속지(32)의 하측에 타공된 조작홀(21b); 상기 앞커버(21)의 배면중 상기 조작홀(21b)이 위치한 부분을 덮도록 설치되는 유전필름(62)을 포함함으로써; The terminal manipulating unit 60 includes a manipulation hole 21b formed at the lower side of the front plate 21 and the inlay 32; And a dielectric film (62) installed to cover a portion of the rear surface of the front cover (21) where the operation hole (21b) is located;

정전용량 방식의 터치패널을 갖는 휴대단말기(P)를 상기 앞커버(20)를 덮은 상태에서 조작하도록 할 수 있다.
It is possible to operate the portable terminal P having the capacitive touch panel with the front cover 20 covered.

본 고안의 다른 특징에 의하면, 상기 앞커버(20)는 겉지(31), 앞판(21) 및 속지(32)가 순차적으로 접착되어 형성되며; According to another feature of the present invention, the front cover 20 is formed by successively bonding the cover 31, the front plate 21, and the inlay 32;

상기 투시부(50)는 겉지(31), 앞판(21) 및 속지(32)의 상측에 타공된 투시홀(21a); 상기 투시홀(21a) 사이에 개입되어 고정되는 것으로서, 상기 투시홀(21a)의 형태대로 재단된 투명판(51);을 포함할 수 있다. The see-through portion 50 has a through-hole 21a formed on the upper side of the cover 31, the front plate 21 and the inlay 32; And a transparent plate 51 interposed between the through holes 21a and cut in the shape of the through hole 21a.

여기서 상기 투명판(51)은 아크릴로 되어 있으며, 상기 투명판(51)의 뒷면에는 알루미늄 증착이 이루어짐으로써 거울로도 사용할 수 있다.
Here, the transparent plate 51 is made of acryl, and aluminum is deposited on the back surface of the transparent plate 51, so that it can be used as a mirror.

본 고안의 또 다른 특징에 의하면, 상기 앞커버(20)는 겉지(31), 앞판(21) 및 속지(32)가 순차적으로 접착되어 형성되며; According to another feature of the present invention, the front cover 20 is formed by successively bonding the cover 31, the front plate 21, and the inlay 32;

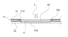
상기 단말기 조작부(60)는 상기 겉지(31), 앞판(21) 및 속지(32)의 하측에 타공된 버튼홀(21c); 상기 투시홀(21a) 사이에 개입되어 고정되는 버튼부재(63)를 포함함으로써;The terminal manipulation part 60 includes a button hole 21c formed in the lower side of the cover 31, the front plate 21 and the inward side 32; And a button member (63) interposed between and fixed to the through holes (21a);

상기 앞커버(20)를 덮은 상태에서 상기 휴대단말기(P)의 하측에 마련되는 홈키(H)를 조작하도록 할 수 있다.
The user can operate the home key H provided on the lower side of the portable terminal P with the front cover 20 covered.

위와 같은 구성에 의하면, 수첩 형태로 되어 있는 휴대단말기 보호케이스에 있어서 앞커버를 열지 않고서도 전화가 걸려올 때 발신인을 확인할 수 있다. 또한, 앞커버를 열지 않은 상태에서도 몇 가지 중요한 정보처리를 할 수 있다. 터치패널을 작동시킬 수도 있고 홈키를 누를 수도 있다. 이로써 사용의 편리성을 증진시킬 수 있는 휴대단말기 보호케이스가 제공된다.
According to the above configuration, the calling party can be confirmed when a call comes in without opening the front cover in the portable terminal protection case which is in the form of a notebook. In addition, some important information processing can be performed even without opening the front cover. You can activate the touch panel or press the home key. Thus, a portable terminal protection case capable of enhancing the convenience of use is provided.

도 1은 본 고안고안의 일실시예에 의한 휴대단말기 보호케이스의 사시도이다.
도 2는 본 고안의 일실시예에 의한 휴대단말기 보호케이스의 열린 상태의 사시도이다.
도 3은 본 고안의 일실시예에 의한 휴대단말기 보호케이스의 분해 사시도이다.
도 4는 도 1의 A-A선을 따라 취한 일부 단면도이다.
도 5는 도 1의 B-B선을 따라 취한 일부 단면도이다.
도 6은 본 고안의 다른 실시예에 의한 휴대단말기 보호케이스의 사시도이다.
도 7은 도 1의 A-A선을 따라 취한 일부 단면도이다.
1 is a perspective view of a portable terminal protection case according to an embodiment of the present invention.
FIG. 2 is a perspective view of an open state of a portable terminal protection case according to an embodiment of the present invention.
3 is an exploded perspective view of a portable terminal protection case according to an embodiment of the present invention.
4 is a partial cross-sectional view taken along line AA of FIG.
5 is a partial cross-sectional view taken along line BB in Fig.
6 is a perspective view of a portable terminal protection case according to another embodiment of the present invention.
7 is a partial cross-sectional view taken along the line AA in Fig.

이하, 첨부된 도면을 참조하여 본 고안의 구체적인 내용을 상세하게 설명한다. 우선 도 1 내지 도 3을 주로 참조하여 일 실시예를 설명하며, 기타 도면은 필요한 곳에서 인용하기로 한다. Hereinafter, specific details of the present invention will be described in detail with reference to the accompanying drawings. First, an embodiment will be described with reference mainly to FIGS. 1 to 3, and other drawings will be referred to where necessary.

뒷커버(10)는 휴대폰, 스마트폰 또는 태블릿 피씨와 같은 휴대단말기(P)의 뒷면을 덮는 면적을 갖는 판재이다. 앞커버(20)는 연결부(30)를 통해 뒷커버(10)의 일단에 연결되는 것으로서 휴대단말기(P)의 앞면(前面)을 덮는 면적을 갖는다. The rear cover 10 is a plate having an area covering the back surface of the portable terminal P such as a mobile phone, a smart phone or a tablet PC. The front cover 20 is connected to one end of the rear cover 10 through the connection portion 30 and has an area covering the front face of the portable terminal P. [

뒷커버(10)와 앞커버(20)를 연결하는 연결부(30)는 다양한 방식이 이용될 수 있다. 본 고안의 실시예에 의하면 뒷커버(10)와 앞커버(20)는 겉지(31)와 속지(32)를 일체형으로 함으로써 서로 연결시키고 있다. 도 3을 참조하여 좀더 상세히 설명하면 다음과 같다.The connecting portion 30 connecting the rear cover 10 and the front cover 20 can be used in various ways. According to the embodiment of the present invention, the rear cover 10 and the front cover 20 are connected to each other by integrating the cover 31 and the inlay 32 with each other. Referring to FIG. 3, a detailed description will be given below.

뒷커버(10)와 앞커버(20)는 각각 합성수지로 성형한 다음 재단된 단단한 소재로 되어 있는 뒷판(11)과 앞판(21)의 양면에 각각 겉지(31)와 속지(32)를 접착함으로써 이루어진다. 뒷판(11)과 앞판(21)은 예를 들어 에폭시 플라이트일 수 있지만 반드시 이에 한정되는 것은 아니다. 겉지(31)와 속지(32)는 장식적 요소를 가지고 있다. 겉지(31)는 인조가죽 또는 페트(PET)필름일 수 있으며 속지(32)는 패널을 보호하기 위하여 스웨이드나 샤무드가 사용될 수 있다. 겉지(31)와 속지(32)는 일체형으로 되어 있으며 연결부(30)는 겉지(31)와 속지(32)의 접합에 의해서만 이루어진다. 도시된 바에 의하면 속지는 뒷판(11)의 일부까지만 설치되고 있다. The rear cover 10 and the front cover 20 are molded from synthetic resin and then the cover 31 and the inlay 32 are bonded to both sides of the back plate 11 and the front plate 21 made of a hard and cut material . The rear plate 11 and the front plate 21 may be, for example, an epoxy flight, but are not limited thereto. The cover (31) and the inlay (32) have decorative elements. The cover 31 can be artificial leather or a PET film and the inlay 32 can be made of suede or chamois to protect the panel. The cover 31 and the inlaid member 32 are integrally formed and the connecting portion 30 is formed only by joining the cover 31 and the inlay 32. According to the drawings, the inlay is provided only up to a part of the back plate 11.

단말기홀더(40)는 휴대단말기(P)가 뒷커버(10)의 앞면에 밀착 고정될 수 있도록 하는 수단이며 이 역시 다양한 방식이 채용될 수 있다. 본 실시예에 의하면 단말기홀더(40)는 뒷커버(10), 좀더 구체적으로는 뒷판(11)과 일체형으로 제공되며 휴대단말기(P)를 향한 전방으로 돌출되어 있다. 단말기홀더(40)는 도 5에 도시된 것처럼 뒷커버(10)의 각 모서리 부위에서 전방을 향해 돌출 성형된 걸림턱(41)을 제공한다. 뒷커버(10)는 단단한 소재이지만 어느 정도는 탄성적으로 휘어질 수 있는 것이어서 각 걸림턱(41)은 약간 외측으로 벌어지면서 휴대단말기(P)의 각 모서리에 찰칵하고 끼워져 휴대단말기(P)를 고정시킬 수 있게 된다. The terminal holder 40 is a means for allowing the portable terminal P to be tightly fixed to the front surface of the rear cover 10 and also various methods can be adopted. According to the present embodiment, the terminal holder 40 is integrally provided with the rear cover 10, more specifically, with the back plate 11, and protrudes forward toward the portable terminal P. The terminal holder 40 provides a locking protrusion 41 protruding forward at each corner of the rear cover 10 as shown in Fig. The rear cover 10 is a rigid material but can be elastically warped to some extent so that the engaging jaws 41 are slightly widened outward and snap into the corners of the portable terminal P, It can be fixed.

뒷커버(10)의 상면에는 카드안착부(12)가 직사각 형태로 패여 있다. 카드안착부(12)는 0.5 ~ 1mm 정도의 깊이를 가지며 한 두 장의 지폐 또는 신용카드를 보관할 수 있게 하는 수단이다. On the upper surface of the rear cover 10, the card receiving portion 12 is formed into a rectangular shape. The card receiving portion 12 has a depth of about 0.5 to 1 mm and is a means for storing one or two bills or a credit card.

뒷커버(10)에는 휴대단말기(P)를 고정한 상태에서 카메라, 이어폰, 접속단자를 이용할 수 있도록 각종의 구멍(13)이 휴대단말기(P)의 모델에 부합되게끔 마련되어 있다.
The rear cover 10 is provided with various holes 13 so as to be compatible with the model of the portable terminal P so that the camera, the earphone and the connection terminal can be used while the portable terminal P is fixed.

앞커버(20)의 상측에는 휴대단말기(P)의 앞면에 마련되어 있는 터치패널(T)에 표시되는 내용을 볼 수 있는 투명 또는 반투명한 투시부(50)가 마련된다. 또한 앞커버(20)의 하측에는 휴대단말기(P)를 조작할 수 있는 단말기 조작부(60)가 마련되어 있다. A transparent or translucent transparent portion 50 is provided on the front cover 20 so that the contents displayed on the touch panel T provided on the front surface of the portable terminal P can be seen. And a terminal operation unit 60 for operating the portable terminal P is provided below the front cover 20.

투시부(50)와 단말기 조작부(60)의 단면 구성을 도 3과 도 4를 주로 참조하여 설명한다. 투시부(50)를 마련하기 위해 겉지(31), 앞판(21) 및 속지(32)의 상측에 투시홀(21a)이 타공되어 있으며, 단말기 조작부(60)를 마련하기 위해 앞판(21) 및 속지의 하측에 조작홀(21b)이 타공되어 있다. 투시홀(21a)은 본 실시예에 의하면 직사각 형태로 되어 있지만, 이에 한정되는 것은 아니며, 도 6에 도시된 바와 같이 하트 형태일 수도 있으며, 기타 원형의 형태일 수도 있다. Sectional configuration of the perspective unit 50 and the terminal operation unit 60 will be described with reference mainly to Figs. 3 and 4. Fig. A penetration hole 21a is formed on the upper side of the cover 31, the front plate 21 and the inward side 32 to form the penetration part 50 and the front plate 21 and the front plate 21, And an operation hole 21b is formed on the lower side of the inlay. The through hole 21a has a rectangular shape according to the present embodiment, but is not limited thereto. The through hole 21a may be in the form of a heart as shown in FIG. 6, or may have another circular shape.

투시홀(21a)의 형태대로 재단된 투명판(51)이 투시홀(21a) 사이게 개입된다. 그리고 겉지(31)와 속지(32)가 각각 앞판(21)의 앞뒷면에 접착된다. 도시된 바에 의하면 속지(32)가 투명판(51)의 가장자리를 덮도록 되어 있다. 투명판(51)의 상면과 겉지(31)의 상면의 높이가 서로 같도록 투명판의 상면 가장자리에는 겉지(31)의 두께 깊이로 안착턱(51a)이 마련되어 있다. The transparent plate 51 cut in the shape of the through hole 21a is interposed between the through holes 21a. And the cover 31 and the inlay 32 are bonded to the front and back surfaces of the front plate 21, respectively. According to the drawings, the inlay 32 covers the edge of the transparent plate 51. The upper surface of the transparent plate 51 and the upper surface of the cover 31 have a height equal to the height of the upper surface of the transparent plate 51. The upper surface of the transparent plate is provided with a seating surface 51a.

한편, 투명판(51)의 배면에는 투명판(51)을 거울로도 이용할 수 있도록 알루미늄 증착층(52)이 마련될 수 있다.
The aluminum deposition layer 52 may be provided on the rear surface of the transparent plate 51 so that the transparent plate 51 can be used as a mirror.

단말기 조작부(60)는 좌우로 기다란 직사각 형태이다. 단말기 조작부(60)를 시각적으로 나타내기 위하여 경계선(61)이 마련될 수 있으며 해당 부위에 다른 색상을 부여할 수도 있다. 단말기 조작부(60)는 정전용량 방식의 터치패널을 조작할 수 있도록 ITO필름(Indium Tin Oxide Film)을 이용할 수 있다. 우선 앞판(21)의 하부에 좌우로 기다란 조작홀(21b)이 타공되어 마련된다. 앞판(21)의 배면중 조작홀(21b) 부위에는 유전필름(62)이 접착된다. 유전필름(62)은 조작홀(21b)보다 약간 넓은 면적을 가지며 접착제에 의해 접착된다. 단말기 조작부(60)는 겉지(31)가 그대로 있게 되므로 겉지(31) 자체도 유전체로서 합성수지로 된 박막이라면 어렵지 않게 유전체로서 기능할 수 있다. 이러한 형태의 단말기 조작부(60)는 앞커버(20)를 열지 않고서도 손가락을 경계선(61) 내부에 대고 좌우방향으로 문지름으로써 전화를 받거나 휴대폰을 켜거나 통화를 차단하는 등의 조작을 할 수 있게 한다.
The terminal operating unit 60 has a rectangular shape elongated to the left and right. A border line 61 may be provided to visually indicate the terminal operating unit 60 and a different color may be given to the corresponding region. The terminal manipulation unit 60 may use an ITO film (Indium Tin Oxide Film) to operate a capacitive touch panel. First, an elongated operation hole 21b is formed in the lower portion of the front plate 21 to be punched. A dielectric film 62 is adhered to the operation hole 21b in the rear surface of the front plate 21. [ The dielectric film 62 has a slightly wider area than the operation hole 21b and is bonded by an adhesive. Since the cover 31 remains in the terminal operation unit 60, the cover 31 itself can function as a dielectric material even if it is a thin film made of synthetic resin as a dielectric. The terminal control unit 60 of this type can perform operations such as receiving a phone call, turning on a mobile phone, blocking a call or the like by rubbing the finger inside the boundary line 61 in the left and right direction without opening the front cover 20 do.

한편 단말기 조작부(60)는 버튼 형태로 된 홈키(H)를 누를 수 있도록 하는 버튼부재(63)일 수도 있다. 이하, 도 6 내지 도 7을 참조하여 설명한다. Meanwhile, the terminal operating unit 60 may be a button member 63 for pressing the home key H in the form of a button. Hereinafter, description will be given with reference to Figs. 6 to 7. Fig.

본 실시예에 의한 단말기 조작부(60)는 휴대단말기 앞면 하부에 마련된 홈키(H, 도 2 참조)를 간접적으로 누를 수 있도록 앞커버의 하부에 버튼홀(21c)을 마련하고, 상기 버튼홀(21c)에 버튼부재(63)를 설치함으로써 이루어질 수 있다. 버튼부재(63)는 양단이 얇고 가운데가 두꺼운 단면 형태를 가진다. 가장자리부위(63b)는 앞판(21)의 안착부(21d)에 안착된 상태에서 접착되고, 가운데 두꺼운 부위(63a)는 홈키(H)의 직상부에 근접되도록 위치된다. 화살표(A) 방향으로 버튼부재(63)를 누르면 두꺼운 부위(63a)는 홈키(H)를 눌러 전화를 받거나 하는 등의 간단한 조작을 할 수 있다. 언급한 것처럼 버튼부재(63)는 이전 실시예에서 설명된 터치패널 조작을 위한 유전필름(62)과 병행하여 설치될 수도 있다. 즉 단말기 조작부(60)는 2종류 내지 방식이 서로 다른 2개 이상이 구비될 수도 있다.
The terminal operation unit 60 according to the present embodiment is provided with a button hole 21c at a lower portion of the front cover so as to indirectly press the hometel key H (see Fig. 2) And a button member 63 is provided on the button member 63. The button member (63) has a thin cross section at both ends. The edge portion 63b is adhered to the seating portion 21d of the front plate 21 in a state of being seated and the middle thick portion 63a is positioned so as to be close to the upper portion of the groove key H. When the button member 63 is pressed in the direction of the arrow A, the thick part 63a can perform a simple operation such as pressing the home key H to receive a telephone call or the like. The button member 63 may be installed in parallel with the dielectric film 62 for the touch panel operation described in the previous embodiment. That is, the terminal operating unit 60 may be provided in two or more different ways.

위에 도시 및 설명된 구성은 본 고안의 기술적 사상에 근거한 바람직한 실시예에 지나지 아니한다. 당업자는 통상의 기술적 상식을 바탕으로 다양한 변경실시를 할 수 있을 것이지만 이는 본 고안의 보호범위에 포함될 수 있음을 주지해야 할 것이다.
The configuration shown and described above is merely a preferred embodiment based on the technical idea of the present invention. It will be understood by those skilled in the art that various modifications may be made without departing from the scope of the present invention.

10 : 뒷커버 11 : 뒷판
12 : 카드안착부 13 : 구멍
20 : 앞커버 21 : 앞판
30 : 연결부 31 : 겉지
32 : 속지 40 : 단말기홀더
41 : 걸림턱 50 : 투시부
51 : 투명판 52 : 알루미늄 증착층
60 : 단말기조작부 61 : 경계선
62 : 유전필름 63 : 버튼부재
P : 휴대단말기 H : 홈키
10: rear cover 11: back plate
12: a card receiving portion 13: a hole
20: front cover 21: front plate
30: connection 31: cover
32: Inlay 40: Terminal holder
41: latching jaw 50:
51: transparent plate 52: aluminum vapor deposition layer
60: Terminal operating section 61: Boundary line
62: dielectric film 63: button member
P: Portable terminal H: Home key

Claims (5)

휴대폰, 스마트폰 또는 태블릿 피씨와 같은 휴대단말기(P)의 뒷면을 덮는 면적을 갖는 뒷커버(10); 연결부(30)를 통해 상기 뒷커버(10)의 일단에 연결되는 것으로서 상기 휴대단말기(P)의 앞면을 덮는 면적을 갖는 앞커버(20); 상기 휴대단말기(P)가 상기 뒷커버(10)에 고정될 수 있도록 하는 단말기홀더(40)를 포함하는 휴대단말기의 보호케이스에 있어서;
상기 앞커버(20)의 상측에는 상기 휴대단말기(P)의 앞면에 마련되어 있는 터치패널에 표시되는 내용을 볼 수 있는 투명 또는 반투명한 투시부(50)가 마련되며;
상기 앞커버(20)의 하측에는 상기 휴대단말기(P)를 조작할 수 있는 하나 이상의 단말기 조작부(60)가 마련되는 것을 특징으로 하는 휴대단말기의 보호케이스.
A rear cover 10 having an area covering the back surface of the portable terminal P such as a cellular phone, a smart phone or a tablet PC; A front cover 20 connected to one end of the rear cover 10 through a connection portion 30 and having an area covering a front surface of the portable terminal P; And a terminal holder (40) for allowing the portable terminal (P) to be fixed to the rear cover (10);
A transparent or translucent transparent portion 50 is provided on the front cover 20 so as to be able to see the contents displayed on the touch panel provided on the front surface of the portable terminal P;
Wherein at least one terminal operating unit (60) is provided under the front cover (20) to operate the portable terminal (P).
제1항에 있어서, 상기 앞커버(20)는 겉지(31), 앞판(21) 및 속지(32)가 순차적으로 접착되어 형성되며;
상기 단말기 조작부(60)는 상기 앞판(21) 및 속지(32)의 하측에 타공된 조작홀(21b); 상기 앞커버(21)의 배면중 상기 조작홀(21b)이 위치한 부분을 덮도록 설치되는 유전필름(62)을 포함함으로써;
정전용량 방식의 터치패널을 갖는 휴대단말기(P)를 상기 앞커버(20)를 덮은 상태에서 조작할 수 있도록 하는 것을 특징으로 하는 휴대단말기의 보호케이스.
[3] The apparatus of claim 1, wherein the front cover (20) is formed by successively bonding the cover (31), the front panel (21) and the inlay (32)
The terminal manipulating unit 60 includes a manipulation hole 21b formed at the lower side of the front plate 21 and the inlay 32; And a dielectric film (62) installed to cover a portion of the rear surface of the front cover (21) where the operation hole (21b) is located;
Wherein the portable terminal (P) having the electrostatic capacity type touch panel can be operated while covering the front cover (20).
제1항에 있어서, 상기 앞커버(20)는 겉지(31), 앞판(21) 및 속지(32)가 순차적으로 접착되어 형성되며;
상기 투시부(50)는 겉지(31), 앞판(21) 및 속지(32)의 상측에 타공된 투시홀(21a); 상기 투시홀(21a) 사이에 개입되어 고정되는 것으로서, 상기 투시홀(21a)의 형태대로 재단된 투명판(51); 을 포함하는 것을 특징으로 하는 휴대단말기의 보호케이스.
[3] The apparatus of claim 1, wherein the front cover (20) is formed by successively bonding the cover (31), the front panel (21) and the inlay (32)
The see-through portion 50 has a through-hole 21a formed on the upper side of the cover 31, the front plate 21 and the inlay 32; A transparent plate 51 interposed between and fixed to the through holes 21a and cut in the shape of the through holes 21a; The protection case of claim 1,
제3항에 있어서,
상기 투명판(51)은 아크릴로 되어 있으며, 상기 투명판(51)의 뒷면에는 알루미늄 증착이 이루어짐으로써 거울로도 사용할 수 있는 것을 특징으로 하는 휴대단말기의 보호케이스.
The method of claim 3,
Wherein the transparent plate (51) is made of acryl, and aluminum is deposited on the back surface of the transparent plate (51) so that the transparent plate (51) can also be used as a mirror.
제1항에 있어서 상기 앞커버(20)는 겉지(31), 앞판(21) 및 속지(32)가 순차적으로 접착되어 형성되며;
상기 단말기 조작부(60)는 상기 겉지(31), 앞판(21) 및 속지(32)의 하측에 타공된 버튼홀(21c); 상기 투시홀(21a) 사이에 개입되어 고정되는 버튼부재(63)를 포함함으로써;
상기 앞커버(20)를 덮은 상태에서 상기 휴대단말기(P)의 하측에 마련되는 홈키(H)를 조작할 수 있도록 하는 것을 특징으로 하는 휴대단말기의 보호케이스.
The front cover (20) according to claim 1, wherein the cover (31), the front plate (21), and the inlay (32) are sequentially adhered to each other;
The terminal manipulation part 60 includes a button hole 21c formed in the lower side of the cover 31, the front plate 21 and the inward side 32; And a button member (63) interposed between and fixed to the through holes (21a);
(H) provided on the lower side of the portable terminal (P) in a state that the front cover (20) is covered.
KR2020130005458U 2013-07-04 2013-07-04 Cover Case For Portable Terminal Withdrawn KR20150000209U (en)

Priority Applications (1)

Application Number Priority Date Filing Date Title
KR2020130005458U KR20150000209U (en) 2013-07-04 2013-07-04 Cover Case For Portable Terminal

Applications Claiming Priority (1)

Application Number Priority Date Filing Date Title
KR2020130005458U KR20150000209U (en) 2013-07-04 2013-07-04 Cover Case For Portable Terminal

Publications (1)

Publication Number Publication Date
KR20150000209U true KR20150000209U (en) 2015-01-15

Family

ID=52477488

Family Applications (1)

Application Number Title Priority Date Filing Date
KR2020130005458U Withdrawn KR20150000209U (en) 2013-07-04 2013-07-04 Cover Case For Portable Terminal

Country Status (1)

Country Link
KR (1) KR20150000209U (en)

Cited By (3)

* Cited by examiner, † Cited by third party
Publication number Priority date Publication date Assignee Title
KR20160105230A (en) * 2015-02-27 2016-09-06 삼성전자주식회사 Exterior view cover
CN108282553A (en) * 2017-01-05 2018-07-13 三星电子株式会社 Cover and include its electronic equipment
KR102717521B1 (en) * 2023-09-04 2024-10-15 정광영 Transparent color acrylic as standard for color and manufacturing method therefor and mirror using transparent color acrylic

Cited By (4)

* Cited by examiner, † Cited by third party
Publication number Priority date Publication date Assignee Title
KR20160105230A (en) * 2015-02-27 2016-09-06 삼성전자주식회사 Exterior view cover
CN108282553A (en) * 2017-01-05 2018-07-13 三星电子株式会社 Cover and include its electronic equipment
KR102717521B1 (en) * 2023-09-04 2024-10-15 정광영 Transparent color acrylic as standard for color and manufacturing method therefor and mirror using transparent color acrylic
WO2025053598A1 (en) * 2023-09-04 2025-03-13 정광영 Transparent colored acrylic serving as color reference, manufacturing method therefor, and mirror using transparent colored acrylic

Similar Documents

Publication Publication Date Title
US9232674B2 (en) Cover structure and electronic device using the same
KR101285669B1 (en) Cover case for portable terminal
US10715197B2 (en) Exterior cover
US9819382B2 (en) Protective case for mobile device having cover with opaque and transparent regions
EP3399383B1 (en) Mobile terminal
US10536181B2 (en) Providing a seal for a protective mobile device case
CN210075346U (en) an electronic device
JP2020507109A (en) Display screen assembly, display screen assembly method, and electronic device
CN104320509A (en) Implementation method for mobile terminal side key
KR200467372Y1 (en) Case for protecting cellphone
CN203387819U (en) Waterproof sealing type electronic product protection device
KR20150000209U (en) Cover Case For Portable Terminal
KR101348712B1 (en) Protective case for mobile devices
KR101246026B1 (en) Protection case of smart phone
TWM543529U (en) Portable electronic device cover structure
JP3210940U (en) Protective cover structure for portable electronic equipment
KR20130071929A (en) A protective case of a portable telephone
KR101255559B1 (en) Protection case of smart phone
KR200476300Y1 (en) Covered case for mobile phone
KR200463842Y1 (en) Flip Case for Touch mobile devices that can be recognized
KR200469139Y1 (en) portable terminal cover
KR20150000395U (en) Case For Protecting Portable Terminal
KR101460321B1 (en) A protective case for mobile
KR101393145B1 (en) Smart phone protection case
JP3192585U (en) Smartphone covered with protective sheet

Legal Events

Date Code Title Description
UA0108 Application for utility model registration

Comment text: Application for Utility Model Registration

Patent event code: UA01011R08D

Patent event date: 20130704

UG1501 Laying open of application
UC1204 Withdrawal of no request for examination
WITN Application deemed withdrawn, e.g. because no request for examination was filed or no examination fee was paid