KR20140140276A - An LED lamp module - Google Patents

An LED lamp module Download PDF

Info

Publication number
KR20140140276A
KR20140140276A KR20130060889A KR20130060889A KR20140140276A KR 20140140276 A KR20140140276 A KR 20140140276A KR 20130060889 A KR20130060889 A KR 20130060889A KR 20130060889 A KR20130060889 A KR 20130060889A KR 20140140276 A KR20140140276 A KR 20140140276A
Authority
KR
South Korea
Prior art keywords
inclined surface
led
led lamp
lamp module
heat
Prior art date
Legal status (The legal status is an assumption and is not a legal conclusion. Google has not performed a legal analysis and makes no representation as to the accuracy of the status listed.)
Ceased
Application number
KR20130060889A
Other languages
Korean (ko)
Inventor
김태민
오재석
신한석
Original Assignee
김태민
오재석
씨에스텍 주식회사
Priority date (The priority date is an assumption and is not a legal conclusion. Google has not performed a legal analysis and makes no representation as to the accuracy of the date listed.)
Filing date
Publication date
Application filed by 김태민, 오재석, 씨에스텍 주식회사 filed Critical 김태민
Priority to KR20130060889A priority Critical patent/KR20140140276A/en
Publication of KR20140140276A publication Critical patent/KR20140140276A/en
Ceased legal-status Critical Current

Links

Images

Classifications

    • FMECHANICAL ENGINEERING; LIGHTING; HEATING; WEAPONS; BLASTING
    • F21LIGHTING
    • F21VFUNCTIONAL FEATURES OR DETAILS OF LIGHTING DEVICES OR SYSTEMS THEREOF; STRUCTURAL COMBINATIONS OF LIGHTING DEVICES WITH OTHER ARTICLES, NOT OTHERWISE PROVIDED FOR
    • F21V7/00Reflectors for light sources

Landscapes

  • Engineering & Computer Science (AREA)
  • General Engineering & Computer Science (AREA)
  • Arrangement Of Elements, Cooling, Sealing, Or The Like Of Lighting Devices (AREA)
  • Non-Portable Lighting Devices Or Systems Thereof (AREA)

Abstract

상부의 일측면에는 LED를 구비한 PCB 기판이 장착되는 제 1경사면과 상기 상부의 타측면에는 제1 경사면에 대응하여 상기 LED로부터 조사된 빛을 외부로 반사시켜 조명하는 반사판이 장착되는 제2 경사면을 구비하며, 조명등 몸체의 베이스 기판에 고정되는 방열부 및 상기 방열부 상부의 양측면을 완전 마감 처리하여 덮는 몰딩부;를 포함하는 것을 특징으로 하는 LED 램프 모듈이다.A first inclined surface on which a PCB substrate having LEDs is mounted on one side of the upper surface, and a second inclined surface on which a reflector for reflecting light irradiated from the LED to the outside corresponding to the first inclined surface is mounted, And a molding part for covering both side surfaces of the upper part of the heat dissipation part by completely finishing the heat dissipation part fixed to the base substrate of the illumination light body.

Description

LED 램프 모듈 {An LED lamp module}An LED lamp module

본 발명은 LED 램프 모듈에 관한 것으로, 보다 상세하게는 조명등에 LED를 장착한 PCB 기판과 그 하단에 방열 시트를 장착하고 반사판들을 일정 간격으로 배치하며, 투명 재질로 몰딩 처리하여 커버를 없애 높은 배광 특성을 가지는 LED 램프 모듈에 관한 것이다.
The present invention relates to an LED lamp module, and more particularly, to an LED lamp module, in which a PCB substrate having LEDs mounted on an illumination lamp, a heat-radiating sheet mounted on a lower end thereof, reflectors disposed at regular intervals, And more particularly, to an LED lamp module having an LED lamp module.

지금까지는 수은등, 나트륨등, 메탈 할라이드등이 주로 사용되어 왔다. 이와 같은 전통적인 조명등은 고압방전에 의하여 냉광을 발광시키는 방식으로 작동되기 때문에 열의 발생이 별로 없어 방열에 신경 쓸 필요가 없고 또한 에너지 밀도가 높아 밝고 멀리까지 조명효과를 발휘할 수 있다는 장점을 가진다.Hitherto, mercury lamps, sodium halides, and metal halides have been mainly used. Since such a conventional lighting lamp operates by a method of emitting a cold light by a high-pressure discharge, there is no generation of heat, so there is no need to worry about heat radiation, and an energy density is high.

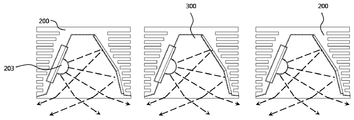
이와 같은 종래의 조명등 램프(1)는 도 1에 도시된 바와 같이 광원으로서 할로겐 램프, 수은 램프 및 메탈할라이드 램프 소자(10)등을 사용하고 있는데 이와 같은 종래의 조명등 램프(1)는 내장된 반사 갓(20)을 통하여 램프 소자(10)에서 조사된 빛이 외부로 반사되도록 구성된 것이다.1, a conventional halogen lamp, a mercury lamp, a metal halide lamp device 10 and the like are used as a light source. Such a conventional lamp 1 has a built- And the light irradiated from the lamp element 10 through the cap 20 is reflected to the outside.

그러나 이와 같은 종래의 조명등 램프(1)는 할로겐 램프, 수은 램프 및 메탈할라이드 램프 소자(10)의 특성상 소비 전력 대비 조명 효율이 낮아 에너지 효율이 높지 않고, 수명이 상대적으로 짧아 램프를 자주 교체하여야 하는 불편함과 수은과 같은 유해물질을 사용하기 때문에 제조, 취급 및 폐기시 오염물질을 방출시켜 친환경적이지 않다는 단점이 있다.However, since the conventional illumination lamp 1 does not have a high energy efficiency due to the low efficiency of lighting compared to the power consumption due to the characteristics of the halogen lamp, the mercury lamp and the metal halide lamp 10, the lifetime is relatively short, It is disadvantageous because it uses inconvenience and harmful substances such as mercury, so it is not environmentally friendly because it releases pollutants when manufacturing, handling and disposal.

전통적인 조명등의 이러한 단점에 대하여 LED(Light Emitting Diode) 램프는 광전효율이 높아 소비전력이 낮고, 수명이 길며, 친환경적이라는 장점을 가진다. 따라서 최근에는 조명등에도 LED 램프를 채용하는 것이 적극적으로 고려되고 있다. 그러나 LED 램프는 가격이 비싸고 열이 많아 방열을 해야 하는 단점이 있다. 또한, LED 램프는 에너지밀도가 낮은 편이어서 먼 곳을 밝힐 수 있는 조명효과를 얻기 어렵다. Regarding these shortcomings of conventional lighting, LED (Light Emitting Diode) lamps have advantages of low power consumption, long life, and environment-friendliness due to high photoelectric efficiency. Therefore, in recent years, it has been actively considered to adopt LED lamps for illumination. However, LED lamps are expensive and have a drawback in that they require heat dissipation due to a lot of heat. In addition, the LED lamp has a low energy density, so it is difficult to obtain a lighting effect that can illuminate a distant place.

종래의 조명등용 LED 램프는 수 개의 LED를 서로 연결하여 LED 모듈을 구성하고 복수의 LED 모듈을 직렬 또는 병렬로 연결하여 LED 램프 세트를 구성하여 대형 투영 면적과 고휘도 및 실외 조명에 필요한 요건을 만족시키는 조명 효과를 얻고 있다.Conventional LED lamps for illumination lamps connect several LEDs to each other to form an LED module, and a plurality of LED modules are connected in series or in parallel to constitute an LED lamp set to satisfy the requirements for a large projection area, high brightness, and outdoor illumination I'm getting a lighting effect.

그 예시로 대한민국 등록특허 제 10-0862540호에 개시된 조명등용 엘이디 램프는 광원으로 LED를 사용하여 전력 소모를 현저하게 줄이면서도 집광렌즈를 사용하여 빛의 선명도와 조도를 향상시키고 기존 시설에서 램프만 교체함으로써 기존에 사용해오던 조명등 시설을 그대로 이용할 수 있도록 한 것이다.For example, Korean Patent No. 10-0862540 discloses an LED lamp for a lighting lamp, which uses an LED as a light source to significantly reduce power consumption while improving the clarity and brightness of light using a condenser lens, So that the existing lighting facilities can be used as they are.

일반적으로 종래의 할로겐 램프는 빛이 사방으로 퍼지는 타입이므로 소켓을 돌려서 끼워서 그 기능에 영향을 주지 않지만 LED 램프는 단방향성을 가지고 있기 때문에 조명등기구에 설치할 때 LED 모듈을 지면과 수평 방향으로 맞춰 주어야 한다.Generally, a conventional halogen lamp is a type of light spreading in all directions, so it does not affect its function by turning the socket. However, since the LED lamp has unidirectionality, the LED module should be aligned with the ground horizontally .

그러나 상기와 같이 구성된 종래의 조명등용 LED 램프는 기존의 할로겐 램프와 동일한 방법으로 소켓을 돌려서 끼우도록 되어 있기 때문에 설치시 LED 램프의 빛이 지면과 수직이 되지 않아 LED 램프의 기능을 제대로 발휘할 수 없는 문제점이 있다.However, since the conventional LED lamp for a lighting lamp configured as described above is designed to rotate the socket by the same method as a conventional halogen lamp, the LED lamp is not perpendicular to the ground during installation, There is a problem.

현재 조명등의 설치기준에 의하면 조명등이 지상으로부터 높이 10M 지점에 설치되는 경우 조명등이 설치된 지면상의 지점에서 좌우측 10M 떨어진 지면의 지점에서 발생되는 측면 조도가 20Lux까지 발광되어야 한다.According to the installation standards of the current lighting, when the light is installed at a height of 10M from the ground, the side illuminance generated at a point 10m away from the ground on the ground on which the light is installed should be emitted to 20Lux.

그러나 LED로 구성되는 조명등의 경우에는 LED에서 빛을 발광함에 있어서 직진성을 갖는 특징으로 인해 측면 조도 및 시인성이 떨어지므로 단순히 종래 필라멘트 방식의 조명등과 같은 형태로 LED 조명등을 구성할 경우 측면으로 가는 광이 미약하여 상기와 같은 조명등 설치기준 즉, 측면 조도 20Lux를 만족시키지 못하는 문제점이 있었다.However, in the case of a lighting lamp composed of LEDs, since the side lighting and visibility are deteriorated due to the characteristic of having a straight-line in emitting light from the LED, when the LED lighting lamp is formed as a conventional filament type lighting lamp, There is a problem in that it can not satisfy the above-mentioned illumination light installation standard, that is, the side roughness 20Lux.

또한, 조명등 설치기준을 만족시키기 위해서는 많은 수의 LED 소자들이 LED 모듈의 PCB 상에 집적되어야 하는데 이로 인해 발생하는 열의 양이 상당하여 LED 모듈의 수명을 단축시키는 문제점이 있었다.In addition, in order to satisfy the lighting fixture standard, a large number of LED elements must be integrated on the PCB of the LED module, which results in a significant amount of heat generated thereby shortening the lifetime of the LED module.

이러한 종래 LED 조명등은 이용한 여러개의 LED 램프를 조합하여 일정한 방향으로만 정해진 각도 내에서 비추도록 하였기 때문에 인접하는 LED 램프로 인해 과열의 문제가 있을 수 있고 폭이 좁은 차선에서부터 폭이 넓은 차선까지의 도로의 조명을 모두 다 적용하지 못하는 문제가 있다.Such conventional LED lamps are used in combination with a plurality of LED lamps to illuminate within a predetermined angle only in a certain direction. Therefore, there may be a problem of overheating due to an adjacent LED lamp. A road from a narrow lane to a wide lane There is a problem that all of the illumination of the light source can not be applied.

또한, 종래 LED 조명등은 특히 여름철에 불빛을 보고 달려드는 각종의 해충들에 의해 조명등이 지저분해지면서 밝기를 떨어뜨린다는 문제가 있다.In addition, conventional LED lighting lamps have a problem that the brightness of the LED lamps is reduced due to various kinds of insects that catch light in summer.

한편, 조명등의 광원 조사방향을 조정할 수 있도록 하는 기술이 개시되어 있는데 예를 들면 공개특허 제 10-2006-0091034호에 의한 조사 방향 조절이 가능한 조명등이 있는데, 이 기술은 관절부와 고정볼을 채용하여 볼조인트 형태로 조절하고 있는 것을 특징으로 하고 있다.On the other hand, there is disclosed a technique for adjusting a light source irradiation direction of an illumination lamp. For example, there is an illumination lamp capable of adjusting an irradiation direction according to Japanese Laid-Open Patent Application No. 10-2006-0091034. And is controlled in the form of a ball joint.

그러나 상기와 같은 종래 기술에 의한 조사방향의 조절이 가능한 조명등은 볼 조인트나 힌지장치를 채용하고 있으므로 많은 부품이 필요로 하여서 조립공수가 증가하고 또한 볼 조인트 및 힌지장치의 부품단가가 비싸서 전체적으로 제품 가격이 증가하는 문제점이 있었다.However, since the illumination lamps capable of adjusting the irradiation direction according to the conventional technique as described above use a ball joint or a hinge device, a large number of parts are required, and thus the number of assembling holes is increased and the cost of parts of the ball joint and the hinge device is high. There was an increasing problem.

또한, 볼 조인트나 한지장치로서 각도를 조절하는 경우에는 그 자체로서 조명등 두부를 지지하는 힘이 약하기 때문에 보조적으로 조명등 두부를 지지하는 별도의 부재를 필요로 하였다.In addition, when the angle is adjusted by a ball joint or a braille device, a separate member supporting the headlight of the auxiliary lamp is required because it is weak in its own ability to support the headlight.

한편, 외부의 고압 서지(EMS)로부터 광원인 LED 주변에 방열 패드를 장착하여 절연할 수 있도록 하는 기술이 개시되어 있는데 예를 들면 등록특허 제 10-1062052호에 의한 LED를 절연시켜 보호 가능한 조명등이 있는데, 이 기술은 다수의 LED가 한판에 장착되어있고 고정나사를 포함하는 체결수단에 의해서 방열 패드를 주변에 고정시키는 형태를 특징으로 한다.Meanwhile, a technology for inserting and inserting a heat-radiating pad around an LED, which is a light source, from an external high-voltage surge (EMS) is disclosed. For example, a lamp capable of protecting an LED by inserting a LED according to a registered patent No. 10-1062052 This technique is characterized in that a plurality of LEDs are mounted on one plate and the heat radiation pads are fixed to the periphery by fastening means including fixing screws.

상기 종래 문헌과 마찬가지로 LED를 절연시켜 보호 가능한 조명등은 고정나사나 방열 패드를 채용하고 있으므로 많은 부품이 필요로 하여서 조립공수가 증가하고 다수개의 LED가 하나의 구성으로 장착되어 방열 패드와 먼 내부에 있는 LED는 절연이 힘들고 단일 개의 LED 제품이 손상됐을 때 LED를 다수개가 하나의 구성으로 되어있어 개별 수리 즉, 부분 교체가 어려워 유지 및 보수가 어려운 문제점이 있었다.
As in the conventional literature, since the LEDs can be protected by insulated LEDs, a large number of parts are required because a fixing screw or a heat-radiating pad is used. Therefore, the number of assembling holes is increased and a plurality of LEDs are mounted in one configuration, There is a problem in that it is difficult to maintain and repair due to difficulty in individual repair, that is, partial replacement because a plurality of LEDs are constituted in a single structure when the insulation is difficult and a single LED product is damaged.

대한민국 등록 특허 제 10-0862540 호Korean Patent No. 10-0862540 대한민국 공개 특허 제 10-2006-0091034호Korean Patent Publication No. 10-2006-0091034 대한민국 등록 특허 제 10-1062052호Korean Patent No. 10-1062052

상기와 같은 문제점을 해결하기 위한 본 발명의 목적은 몰딩부를 방열판 상부면에 접합하여 이루어진 LED 모듈을 제작하여 베이스 기판에 LED가 정렬되는 구조를 형성함으로 기존 조명등 램프에 비하여 가볍고, 조명 및 방열 효과가 우수한 LED 램프 모듈을 제공하는 것이다.In order to solve the above problems, an object of the present invention is to provide a light emitting diode (LED) module in which a molding part is bonded to an upper surface of a heat sink, And to provide an excellent LED lamp module.

본 발명의 다른 목적은 상기 방열판을 LED 램프 모듈 주변에 형성하고 상기 방열판 상부면을 상기 몰딩부로 마감 처리하여 다른 매질에 의한 반사율을 줄여 배광특성 및 광효율을 향상시키는 LED 램프 모듈을 제공하는 것이다.Another object of the present invention is to provide an LED lamp module which forms the heat radiating plate around the LED lamp module and finishes the upper surface of the heat radiating plate by the molding part to reduce the reflectance by another medium to improve the light distribution characteristic and the light efficiency.

또한, LED 램프 모듈은 간편한 탈부착 기능을 제공함으로 쉽게 개별 교체가 가능해 유지 보수시의 편리성을 증대시키는 것을 본 발명의 다른 목적으로 한다.
Another object of the present invention is to provide an LED lamp module that can easily be individually replaced by providing a simple detachable attachment function, thereby enhancing convenience in maintenance.

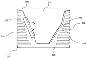
상기 목적을 달성하기 위한 본 발명에 따른 LED 램프 모듈(100)은 상부의 일측면에는 LED(203)를 구비한 PCB 기판(204)이 장착되는 제1 경사면(201)과 상기 상부의 타측면에는 제1 경사면(201)에 대응하여 상기 LED(203)로부터 조사된 빛을 외부로 반사시켜 조명하는 반사판(208)이 장착되는 제2 경사면(202)을 구비하며, 조명등 몸체(500)의 베이스 기판(501)에 고정되는 방열부(200) 및 상기 방열부(200) 상부의 양측면을 완전 마감 처리하여 덮는 몰딩부(300)를 포함하는 것을 특징으로 한다.In order to achieve the above object, the LED lamp module 100 according to the present invention includes a first inclined surface 201 on which a PCB substrate 204 having an LED 203 is mounted, And a second inclined surface 202 on which a reflector 208 for reflecting and illuminating light emitted from the LED 203 in correspondence with the first inclined surface 201 is mounted. A heat dissipating unit 200 fixed to the heat dissipating unit 501, and a molding unit 300 covering the upper surface of the heat dissipating unit 200 with a complete finish.

또한, 상기 방열부(200)는 저중량의 방열 재료로 압출 성형되며, 상기 제1 경사면(201)과 제 2 경사면은 서로 "V"형으로 형성되고, 상기 제1 경사면(201)은 메탈 PCB 기판(204)이 삽입되어 고정되기 위한 장착 홈(206)이 형성되며, 상기 제2 경사면(202)은 장착된 반사판(208)의 경사 각도를 다르게 하여 빛을 분산시키기 위한 절곡면(209)이 형성되는 것을 특징으로 한다.The first inclined surface 201 and the second inclined surface are formed in a "V" shape, and the first inclined surface 201 is formed on the metal PCB & A mounting groove 206 for inserting and fixing the light guide plate 204 is formed in the second inclined surface 202. A bent surface 209 for dispersing light is formed by changing the angle of inclination of the mounted reflection plate 208 .

본 발명에 따른 LED 램프 모듈(100)의 상기 제2 경사면(202)은 상기 제1 경사면(201)에 장착된 LED(203)를 상기 몰딩부(300)의 상측 단부와 일직선상으로 선을 그었을 때 2분의 1지점에 중심점을 둔 원호로 곡면이 형성되는 것을 특징으로 한다.The second inclined surface 202 of the LED lamp module 100 according to the present invention is formed such that the LED 203 mounted on the first inclined surface 201 is linearly aligned with the upper end of the molding portion 300 The curved surface is formed as a circular arc having a center point at a half point.

한편, 상기 몰딩부(300)는 투명한 PC(Poly-Carbonate) 재료로 이루어지며, 상기 몰딩부(300)와 상기 방열부(200) 사이에 접합층(400)을 더 포함하여 상기 몰딩부(300)를 상기 방열부(200)의 제1 경사면(201) 및 제2 경사면(202)에 접합시키는 것을 특징으로 한다.The molding part 300 is made of a transparent poly-carbonate material and further includes a bonding layer 400 between the molding part 300 and the heat dissipating part 200 so that the molding part 300 ) To the first inclined surface (201) and the second inclined surface (202) of the heat dissipating unit (200).

본 발명에 따른 LED 램프 모듈(100)의 상기 방열부(200)는 양측 단부에 "L"형 베이스 기판(501) 끼움 모서리(207)를 돌출형성하며, 상기 조명등 몸체의 베이스 기판(501)에 고정되는 것을 특징으로 한다.The heat dissipating portion 200 of the LED lamp module 100 according to the present invention includes a base plate 501 having a corner portion 207 protruding from both ends of an L- And is fixed.

또한, 상기 베이스 기판(501)은 외측에 상기 방열부(200)의 "L"형 베이스 기판(501) 끼움 모서리(207)와 일치하는 크기의 다수개의 홈이 형성되어, 상기 LED 조명등 램프 모듈 다수가 개별 탈부착 가능하게 고정된 것을 특징으로 한다.
The base substrate 501 is formed with a plurality of grooves having a size coinciding with the fitting corner 207 of the "L" type base substrate 501 of the heat dissipating unit 200 on the outer side, Is detachably attached to the main body.

이상과 같이 본 발명에 의하면 상기 몰딩부를 접합하는 방식으로 LED 모듈을 제작해서 정렬하는 방식으로 조명등 램프를 형성하기 때문에 자체 방수가 되며 커버와 방열판을 따로 구비하지 않아도 되기 때문에 기존 조명등 램프에 비하여 가볍다.As described above, according to the present invention, the LED module is manufactured and aligned in such a manner that the molding part is bonded to form the lamp for the illumination, so that it is self-waterproof and lightweight compared to conventional lamps because the cover and the heat sink are not required separately.

또한, 단일 LED의 기능 소진시 개별 탈부착이 용이해 간단하게 교체가 가능함으로 유지 보수시 편리성이 향상되고 깨끗하다.In addition, convenience of maintenance is improved because it is easy to replace and detach individually when the function of single LED is exhausted.

또한, LED가 장착된 PCB 기판 주변에 방열시트와 방열판을 구비하고 있어 LED의 과열 현상을 예방하여 방열 효과가 뛰어나다.
In addition, a heat-radiating sheet and a heat sink are provided around the PCB board on which the LED is mounted, thereby preventing the LED from being overheated, thus excelling in heat radiation.

도 1은 종래의 기술에 따른 메탈할라이드 램프형 조명등 램프를 도시한 사시도.
도 2는 본 발명의 바람직한 실시예에 따른 LED 램프 모듈을 도시한 상세도.
도 3은 본 발명에 따른 LED 램프 모듈을 도시한 간략도.
도 4는 본 발명에 따른 LED 램프 모듈의 몰딩부를 방열부에 접착하는 접합구조를 도시한 모식도.
도 5는 본 발명에 따른 LED 램프 모듈을 조명등 몸체에 고정시키는 구조를 전단면으로 도시한 분해조립도.
도 6은 본 발명에 따른 LED 램프 모듈을 조명등 몸체에 고정시키는 구조를 도시한 분해 사투상도.
도 7은 본 발명에 따른 LED 램프 모듈을 조명등 몸체에 장착된 상태를 도시한 단면도.
도 8은 본 발명에 따른 LED 램프 모듈을 조명등 몸체에 장착된 상태를 도시한 사투상도.
도 9는 본 발명에 따른 LED 램프 모듈의 방열부의 제1 경사면을 도시한 평면도.
도 10은 본 발명에 따른 LED 램프 모듈에서 제1 경사면에 장착된 LED와 반사판을 이용하여 외부로 빛을 확산시켜 조사하는 상태를 도시한 설명도.
도 11은 본 발명의 바람직한 실시예에 따른 LED 램프 모듈의 모식도.
1 is a perspective view showing a metal halide lamp type light fixture lamp according to a related art.
2 is a detailed view showing an LED lamp module according to a preferred embodiment of the present invention.
3 is a schematic view showing an LED lamp module according to the present invention.
4 is a schematic view showing a bonding structure for bonding the molding portion of the LED lamp module according to the present invention to the heat dissipating portion.
FIG. 5 is an exploded perspective view showing a structure in which the LED lamp module according to the present invention is fixed to a lamp body. FIG.
FIG. 6 is an exploded perspective view showing a structure for fixing the LED lamp module according to the present invention to a lamp body. FIG.
FIG. 7 is a sectional view showing a state in which the LED lamp module according to the present invention is mounted on a lighting lamp body. FIG.
FIG. 8 is a cross-sectional view illustrating a state in which the LED lamp module according to the present invention is mounted on an illuminating lamp body. FIG.
9 is a plan view showing a first inclined surface of the heat dissipation part of the LED lamp module according to the present invention.
10 is an explanatory view showing a state in which light is diffused to the outside using an LED mounted on a first inclined surface and a reflector in an LED lamp module according to the present invention.
11 is a schematic diagram of an LED lamp module according to a preferred embodiment of the present invention.

본 발명을 첨부된 도면을 참조하여 상세히 설명하면 다음과 같다.The present invention will now be described in detail with reference to the accompanying drawings.

도 2는 본 발명의 바람직한 실시예에 따른 LED 램프 모듈을 도한 상세도이다.2 is a detailed view of an LED lamp module according to a preferred embodiment of the present invention.

상기 LED 램프 모듈(100)은 상부의 일측면에는 LED를 구비한 PCB 기판(204)이 장착되는 제 1경사면과 상기 상부의 타측면에는 제1 경사면(201)에 대응하여 상기 LED로부터 조사된 빛을 외부로 반사시켜 조명하는 반사판(208)이 장착되는 제2 경사면(202)을 구비하며, 조명등 몸체(500)의 베이스 기판(501)에 고정되는 방열부(200) 및 상기 방열부(200) 상부의 양측면을 완전 마감 처리하여 덮는 몰딩부(300)를 포함하는 것을 특징으로 한다.The LED lamp module 100 includes a first inclined surface on which a PCB substrate 204 having an LED is mounted on one side of an upper portion thereof and a second inclined surface on which light emitted from the LED is incident on the other side surface of the upper inclined surface 201, A heat dissipation unit 200 fixed to the base substrate 501 of the illumination lamp body 500 and a heat dissipation unit 200 having a second inclined surface 202 on which a reflection plate 208 for reflecting the light is externally mounted, And a molding part 300 covering both side surfaces of the upper part with a complete finish.

도 2에 도시한 바와 같이 상기 방열부(200)는 제1 경사면(201)과 제2 경사면(202)을 포함하는데, 상기 방열부(200)의 일측면에는 LED를 구비한 PCB 기판(204)이 장착되어 제1 경사면(201)이 형성되고, 상기 방열부(200)의 타측면에는 상기 제1 경사면(201)에 대응하여 반사판(208)이 장착되는 제2 경사면(202)을 형성하여 상기 LED로부터 조사된 빛을 외부로 반사시켜 조명하도록 한다.2, the heat dissipation unit 200 includes a first inclined surface 201 and a second inclined surface 202. A PCB substrate 204 having LEDs is formed on one side of the heat dissipation unit 200, And a second inclined surface 202 is formed on the other surface of the heat dissipation unit 200 to mount the reflector 208 corresponding to the first inclined surface 201, So that the light irradiated from the LED is reflected to the outside and illuminated.

상기 반사판(208)은 반사필름, 테이프 또는 증착에 의해 빛이 반사될 수 있는 물질을 덧붙인 것 중 어느 것 하나일 수 있다.The reflection plate 208 may be a reflective film, a tape, or any material that adds light-reflecting materials by vapor deposition.

이와 같은 상기 방열부(200)는 열전도성을 가진 저중량의 방열 재료로 압출 성형된 것이며, 상기 제1 경사면(201)과 제2 경사면(202)은 서로 "V"형으로 형성된다.The first and second inclined surfaces 201 and 202 are formed in a "V" shape. The first and second inclined surfaces 201 and 202 are formed of a heat-dissipating material having a low thermal conductivity.

저중량의 방열 재료는 방열효과가 뛰어나며 가벼운 재료인 알루미늄 또는 티타늄 등이 될 수 있다.A low-weight heat-radiating material has excellent heat dissipation effect and can be a light-weight material such as aluminum or titanium.

또한, 본 발명에 따른 LED 램프 모듈(100)은 상기 방열부(200)의 외측에 배치되어 광원인 LED의 열을 외부로 방출시키는 방열판(210)을 포함한다.In addition, the LED lamp module 100 according to the present invention includes a heat dissipating plate 210 disposed outside the heat dissipating unit 200 and discharging the heat of the LED, which is a light source, to the outside.

본 발명에 따른 LED 램프 모듈(100)의 상기 방열판(210)은 상기 방열부(200)의 외측에 압출 성형하여 형성되고, 대류에 의한 방열을 특징으로 한다. The heat dissipation plate 210 of the LED lamp module 100 according to the present invention is formed by extrusion molding on the outside of the heat dissipation unit 200 and is characterized by heat radiation by convection.

도 3은 본 발명에 따른 LED 램프 모듈을 도시한 간략도이다.3 is a schematic view showing an LED lamp module according to the present invention.

도 3에 도시한 바와 같이 앞서 기술한 방열판(210)을 이하 사각면으로 도시한다.As shown in Fig. 3, the heat sink 210 described above is shown as a square face below.

상기 방열부(200)의 상부면은 서로 "V"형으로 1조를 이루어 배치된 제1 경사면(201)과 제2 경사면(202)으로 이루어져 있으며 제1 경사면(201)에 배치된 LED로부터 조사된 빛이 제2 경사면(202)에 장착된 반사판(208)에 의해서 반사되어 외부로 조사되며, 상기 제2 경사면(202)은 절곡면(209)을 중간에 형성하여 반사판(208)의 경사 각도를 다르게 하고 빛이 더욱 외측으로 분산되어 확산되도록 한다.The upper surface of the heat dissipating unit 200 is composed of a first inclined surface 201 and a second inclined surface 202 arranged in a pair of "V" The second inclined surface 202 forms a curved surface 209 in the middle so that the inclined angle of the reflection plate 208 So that the light is diffused further outwardly.

한편, 본 발명에 따른 LED 램프 모듈(100)는 투명한 PC (Poly-Carbonate) 재료로 압출 성형된 몰딩부(300)를 포함하고, 상기 몰딩부(300)와 상기 방열부(200) 사이에 접합층(400)을 더 포함하여 상기 몰딩부(300)를 상기 방열부(200)의 제1 경사면(201) 및 제2 경사면(202)에 접합시키는 것을 특징으로 한다.Meanwhile, the LED lamp module 100 according to the present invention includes a molding part 300 extruded with a transparent PC (Poly-Carbonate) material, and a bonding part 300 is formed between the molding part 300 and the heat- Layer 400 to bond the molding part 300 to the first inclined surface 201 and the second inclined surface 202 of the heat dissipation part 200. [

상기 접합층(400)은 실리콘 등의 물질을 이용하여 접합하도록하는 층을 의미한다.The bonding layer 400 means a layer which is bonded using a material such as silicon.

상기 몰딩부(300)는 상기 방열부(200)의 상부면을 완전 마감 처리하는 기능을 수행하기 위해 상기 방열부(200)의 상부면 표면적에 맞춰 압출 성형된다.The molding part 300 is extrusion-molded according to the surface area of the upper surface of the heat dissipating part 200 to perform a function of performing a complete finishing process on the upper surface of the heat dissipating part 200.

또한, 상기 몰딩부(300)의 빛을 외부로 내보내는 상측면이 평탄한 것을 특징으로 한다.Further, the upper surface of the molding part 300 for emitting light to the outside is flat.

따라서 본 발명에 따른 LED 램프 모듈(100)을 외부와 차단시켜 보호하는 상기 몰딩부(300)로 인해 불빛을 보고 달려드는 각종의 해충들에 의해 조명등이 지저분해지면서 밝기를 떨어뜨리는 문제를 해결하고, 자체 방수 및 방열 기능을 가지므로 LED(203)로부터 조사된 빛이 외부로 잘 투과되도록 한다.Accordingly, the LED lamp module 100 according to the present invention is protected by the molding part 300 to protect the LED lamp module 100 from the outside, and thus the brightness of the illumination lamp is reduced due to various kinds of insects And has a self-waterproof and heat-dissipating function, so that the light emitted from the LED 203 is transmitted to the outside well.

한편, 상기 LED(203)는 PCB 기판(204) 상단에 장착되어 있으며 발광 작동 중에는 많은 열이 발생하는데 이와 같은 열은 PCB 기판(204) 하단에 장착된 방열 시트(205)와 상기 방열부(200) 외측에 배치된 방열판(210)을 통하여 외부로 효과적으로 발산된다. The LED 203 is mounted on the top of the PCB 204 and a lot of heat is generated during the light emitting operation. The heat is generated by the heat radiation sheet 205 mounted on the lower end of the PCB 204, The heat dissipating plate 210 disposed outside the heat dissipation plate 210 is effectively radiated to the outside.

즉, 열을 발생시키는 LED(203)가 장착된 PCB 기판(204) 하단에 외부의 고압 서지(EMS)로부터 광원인 LED(203)를 절연시키는 절연 및 방열 시트(205)를 협착하여 열전달 능력이 우수하다.That is, the insulating and heat-radiating sheet 205, which insulates the LED 203, which is a light source, from the external high-voltage surge (EMS) is stuck to the lower end of the PCB board 204 on which the LED 203 for generating heat is mounted, great.

그리고 상기 방열판(210)도 알루미늄, 구리와 같은 열전달 능력이 우수한 재료로 이루어짐으로써 LED(203)로부터 발생된 열은 방열 시트(205) 및 방열판(210)을 타고 외부로 발산되어 LED(203) 과열을 효과적으로 방지시킨다.The heat generated by the LED 203 is radiated to the outside through the heat dissipation sheet 205 and the heat dissipation plate 210 so that the heat generated by the LED 203 is superheated .

한편, 본 발명에 따른 LED 램프 모듈(100)의 상기 PCB 기판(204)은 상기 방열부(200)의 제1 경사면(201)에 형성된 장착 홈에 끼워져서 고정되며 이에 대향하도록 제2 경사면(202)에는 반사판(208)이 장착된다.Meanwhile, the PCB substrate 204 of the LED lamp module 100 according to the present invention is fitted and fixed in a mounting groove formed in the first inclined surface 201 of the heat dissipating unit 200, and the second inclined surface 202 A reflection plate 208 is mounted.

또한, 본 발명에 따른 LED 램프 모듈(100)의 상기 제2 경사면(202)은 상기 제1 경사면(201)에 장착된 LED를 상기 몰딩부(300)의 상측 단부와 일직선상으로 선을 그었을 때 2분의 1지점에 중심점을 둔 원호로 곡면이 형성되는 것을 특징으로 한다.The second inclined surface 202 of the LED lamp module 100 according to the present invention is formed such that when the LED mounted on the first inclined surface 201 is drawn in line with the upper end of the molding part 300 And a curved surface is formed as a circular arc having a center point at a half point.

본 발명에 따른 LED 램프 모듈(100)의 제2 경사면(202)은 상기 실시예가 적용되는 것이 바람직하지만 이에 국한하지 않으며 제2 경사면(202)의 반사판(208)으로 제1 경사면(201)에 장착된 LED(203) 빛의 조사 각도를 조절할 수 있는 구조라면 어떤 것이라도 무방하다.The second inclined surface 202 of the LED lamp module 100 according to the present invention is preferably applied to the embodiment but it is not limited thereto and the reflector 208 of the second inclined surface 202 may be mounted on the first inclined surface 201 LED 203 may be any structure as long as it can control the angle of light irradiation.

이와 같은 상기 방열부(200)는 제1 경사면(201) 및 제2 경사면(202)의 반대쪽으로 방열판(210)이 형성되고, 상기 방열부(200)의 양측 단부에 "L"형 베이스 기판(501) 끼움 모서리(207)를 돌출형성하며, 이후에 설명되는 바와 같이 끼움 방식에 의해서 베이스 기판(501)에 일체로 고정되는 구조이다.The heat dissipation unit 200 has a heat dissipation plate 210 formed on the opposite side of the first inclined surface 201 and the second inclined surface 202 and is provided at both ends of the heat dissipation unit 200 with an L- 501) fitting corners 207 and is integrally fixed to the base substrate 501 by a fitting method as will be described later.

도 4는 본 발명에 따른 LED 램프 모듈의 몰딩부를 방열부에 접착하는 접합 구조를 도시한 모식도이다.4 is a schematic view showing a bonding structure for bonding a molding part of an LED lamp module according to the present invention to a heat dissipation part.

앞서 기술한 바와 같이 본 발명에 따른 LED 램프 모듈(100)는 상기 몰딩부(300)와 상기 방열부(200) 사이에 접합층(400)을 더 포함하여 상기 몰딩부(300)를 상기 방열부(200)의 제1 경사면(201) 및 제2 경사면(202)에 접합시키는 것을 특징으로 한다.The LED lamp module 100 according to the present invention further includes a bonding layer 400 between the molding part 300 and the heat dissipating part 200 so that the molding part 300 can be separated from the heat dissipating part 200. [ To the first inclined surface (201) and the second inclined surface (202) of the body (200).

도 4에 도시한 바와 같이 상기 몰딩부(300)와 상기 방열부(200) 사이에 실리콘을 부은 후 상기 몰딩부(300)를 상기 방열부(200)의 제1 경사면(201) 및 제2 경사면(202)에 압축하는 방식으로 접합되는 구조이다. 4, after the silicon is poured between the molding part 300 and the heat radiating part 200, the molding part 300 is inserted into the first inclined surface 201 and the second inclined surface 201 of the heat dissipating part 200, (202). ≪ / RTI >

따라서, 본 발명에 따른 LED 램프 모듈(100)은 상기 몰딩부(300)와 상기 방열부(200)를 압축 방식으로 접합하기 때문에 상기 접합층(400)에 공기층이 형성되지 않으며, 커버를 사용하지 않기 때문에 커버를 고정하기 위해 사용되는 고정나사와 플랜지부가 필요 없다.Therefore, since the LED lamp module 100 according to the present invention joins the molding part 300 and the heat radiating part 200 in a compression manner, an air layer is not formed on the bonding layer 400, , There is no need for fixing screws and flanges used to fix the cover.

또한, 상기 몰딩부(300)와 상기 방열부(200)의 접합 작업 후에 압력으로 빠져나온 접합제로 쓰인 실리콘을 제거하는 작업이 추가 될 수 있다. In addition, an operation of removing silicon used as a bonding agent that has escaped to a pressure after the bonding operation of the molding part 300 and the heat dissipating part 200 may be added.

도 5는 본 발명에 따른 LED 램프 모듈을 조명등 몸체에 고정시키는 구조를 전단면으로 도시한 분해조립도이며 도 6은 본 발명에 따른 LED 램프 모듈을 조명등 몸체에 고정시키는 구조를 도시한 분해 사투상도이다.FIG. 5 is an exploded assembly view illustrating a structure in which the LED lamp module according to the present invention is fixed to a lamp body. FIG. 6 is an exploded perspective view illustrating a structure of the LED lamp module according to the present invention, to be.

본 발명에 따른 LED 램프 모듈(100)의 조명등 몸체(500)는 플라스틱 소재로 이루어져 있어 조명등의 전체무게를 획기적으로 감소시킬 수 있다.Since the lamp body 500 of the LED lamp module 100 according to the present invention is made of a plastic material, the overall weight of the lamp can be drastically reduced.

또한, 상기 조명등 몸체(500)는 무게 경량 등 필요에 따라서는 없어도 무방하다.In addition, the illumination lamp body 500 may be omitted, if necessary, such as weight and light weight.

상기 조명등 몸체(500)의 베이스 기판(501) 외측에 상기 방열부(200) 양측 단부에 형성된 베이스 기판 끼움 모서리(207)와 일치하는 크기의 다수개의 홈이 형성된다.A plurality of grooves are formed on the outer side of the base plate 501 of the illuminating body 500 so as to correspond to the base plate fitting corners 207 formed at both ends of the heat dissipating unit 200.

상기 방열부(200)는 상기 베이스 기판(501)의 중앙 기준으로 대향된 대칭적인 구조로 배치가 이루어지는 것을 특징으로 한다.The heat dissipation unit 200 may be disposed symmetrically with respect to the center of the base substrate 501.

상기 방열부(200)의 타측면에 형성된 제1 경사면(201)에 장착된 LED가 상기 베이스 기판(501)의 중앙을 향하도록 배치구조를 이룬다.The LED mounted on the first inclined surface 201 formed on the other side of the heat dissipation unit 200 is arranged in the center of the base substrate 501.

이와 같은 구조를 통해 제1 경사면(201)의 LED로부터 제2 경사면(202)의 반사판(208)으로 조사된 빛을 외부로 반사되며 이와 같은 과정에서 LED의 빛을 더욱 확산되어 넓은 범위에 걸쳐서 조사되고, 배광 특성을 극대화 시킬 수 있다.Through such a structure, light emitted from the LEDs of the first inclined plane 201 to the reflection plate 208 of the second inclined plane 202 is reflected to the outside. In this process, the light of the LED is further diffused, So that the light distribution characteristic can be maximized.

도 7은 본 발명에 따른 LED 램프 모듈을 조명등 몸체에 장착된 상태를 도시한 단면도이며, 도 8은 본 발명에 따른 LED 램프 모듈을 조명등 몸체에 장착된 상태를 도시한 사투상도이다.FIG. 7 is a cross-sectional view illustrating a state in which the LED lamp module according to the present invention is mounted on a lamp body, and FIG. 8 is a cross-sectional view illustrating a state in which the LED lamp module according to the present invention is mounted on a lamp body.

상기와 같이 구성된 본 발명에 따른 LED 램프 모듈(100)은 다수의 홈이 형성된 베이스 기판(501)을 가진 조명등 몸체(500)에 쉽게 장착가능하며, 바타입으로 구성되나 이러한 타입이나 형태에 한정되는 것은 아니다.The LED lamp module 100 according to the present invention configured as described above can be easily mounted on the illumination lamp body 500 having a plurality of grooves formed on the base substrate 501 and is configured as a bar type. It is not.

이와 같은 경우 상기 조명등 몸체(500)의 베이스 기판(501) 외측에는 홈을 다수 형성하여 LED 램프 모듈(100)을 끼움 방식에 의해 탈부착 가능하게 구성되어 있다.In this case, a plurality of grooves are formed on the outer side of the base plate 501 of the illuminating lamp body 500 so that the LED lamp module 100 can be detachably attached to the LED lamp module 100 by a fitting method.

따라서, 상기 베이스 기판(501)에 LED 램프 모듈 장착 홈(502)을 형성하여 상기 방열부(200) 양측 단부의 베이스 기판 끼움 모서리(207)를 이용한 끼움 방식에 의해 종래의 고정나사나 플랜지부와 같은 체결 장치가 필요없는 간단한 결합 방식으로 고정되는 것을 특징으로 한다.Therefore, LED lamp module mounting grooves 502 are formed in the base substrate 501, and the fixing screws or the flange portions are formed by the fitting method using the base substrate fitting corners 207 at both ends of the heat dissipating portion 200 And is fastened by a simple coupling method in which the same fastening device is not required.

도 9는 본 발명에 따른 LED 램프 모듈의 방열부의 제1 경사면을 도시한 평면도이다.9 is a plan view showing a first inclined surface of the heat dissipation part of the LED lamp module according to the present invention.

도 9에 도시한 바와 같이 상기 방열부의 메탈 기판 PCB 기판(204)은 각각 조명등 몸체의 내부 공간에 위치된 전원부의 커넥터(212)를 통한 탈착식 결합으로 연결되어 전원 공급이 이루어진다.As shown in FIG. 9, the PCB substrate 204 of the heat dissipating unit is connected to the metal substrate PCB 204 through detachable coupling through a connector 212 of a power unit located in an inner space of the lighting body.

이와 같은 메탈 기판 PCB 기판(204)은 외부로부터 전원을 공급받기 위해 제1 경사면(201)에 전선(211)이 연결된다.The metal substrate PCB 204 is electrically connected to the first inclined surface 201 to receive power from the outside.

예들 들어, 도 5에 도시한 바와 같이 상기 전선(211)은 조명등 몸체(500)에 내장된 공간에 배치된 전원부의 단자부(213)에 커넥터(212)를 통한 탈착식 결합으로 연결되어 전원 공급이 이루어진다. 이와 같은 탈착식의 연결 구조를 통하여 외부로부터 쉽게 전원을 연결하여 LED(203)를 점등시킬 수 있게 된다. For example, as shown in FIG. 5, the electric wire 211 is connected to a terminal portion 213 of a power source portion disposed in a space built in the illuminated lamp body 500 through a detachable coupling through a connector 212, . Through the detachable connection structure, the LED 203 can be easily turned on by connecting the power source from the outside easily.

도 10은 본 발명에 따른 LED 램프 모듈에서 제1 경사면에 장착된 LED와 반사판을 이용하여 외부로 빛을 확산시켜 조사하는 상태를 도시한 설명도이다.10 is an explanatory view showing a state in which light is diffused to the outside using an LED mounted on a first inclined surface and a reflector in an LED lamp module according to the present invention.

상기 메탈 PCB 기판(204)에 장착된 LED가 발광하여 빛을 외부로 조사하게 되며 이와 같은 빛은 반사판(208)에 의해 도 10에 도시된 바와 같이 외부로 반사된다.The LED mounted on the metal PCB 204 emits light to the outside and the light is reflected to the outside by the reflection plate 208 as shown in FIG.

본 발명에 따른 LED 램프 모듈(100)에서 상기 몰딩부(300)가 빛을 외부로 내보내는 상측면이 평탄한 것으로 이루어져 있어 노면의 균일한 배광 분포를 특징으로 한다.In the LED lamp module 100 according to the present invention, the molding part 300 has a flat upper surface through which light is emitted to the outside, and is characterized by a uniform light distribution on the road surface.

또한, 도 10에 도시한 바와 같이 상기 몰딩부(300)가 상기 방열부(200)를 투명한 재질로 완전 마감 처리하여 덮는 구조이기 때문에 따로 커버를 사용하지 않아 빛이 지나가는 길에 다른 매질로 인한 반사율을 현저히 낮춰 광효율 높이는 구조이다.As shown in FIG. 10, since the molding part 300 has a structure in which the heat dissipation part 200 is completely covered with the transparent material to cover the heat dissipation part 200, the reflectance due to other media To increase the light efficiency.

예를 들어 커버를 사용하는 구조일 때 LED에서 빛을 조사하면 LED와 커버 내측 사이에서 1차 반사, 커버 내측과 외측 사이에서 2차 반사 및 커버 외측과 외부사이에서 3차 반사 등의 다른 매질로 인한 반사현상이 나타나 LED의 배광율이 낮아진다.For example, when a cover is used, when the light is irradiated from the LED, the first reflection between the LED and the inside of the cover, the second reflection between the inside and outside of the cover, and the third reflection between the outside and outside of the cover Resulting in a lower light distribution ratio of the LED.

한편, 본 발명에 따른 LED 램프 모듈(100)와 같은 구조를 통해 상기 LED에서 조사된 빛이 제2 경사면(202)에 장착된 반사판(208)을 통해 외부로 반사되며, 이와 같은 과정에서 상기 몰딩부를 접합하여 다른 매질로 인한 반사현상을 줄이고, 상기 제2 경사면(202)은 중간에 절곡면(209)을 형성하여 반사판(208)의 경사 각도를 다르게 함으로 빛의 조사 각도를 조절하여 분산이 확산되도록 한다.  Meanwhile, the light emitted from the LED is reflected to the outside through the reflection plate 208 mounted on the second inclined surface 202 through the same structure as the LED lamp module 100 according to the present invention. In this process, The second inclined surface 202 is formed with a bent surface 209 in the middle so that the angle of inclination of the reflector 208 is changed to adjust the angle of light irradiation, .

도 11은 본 발명의 바람직한 실시예에 따른 LED 램프 모듈의 모식도이다.11 is a schematic diagram of an LED lamp module according to a preferred embodiment of the present invention.

도 11에 도시한 바와 같이 본 발명에 따른 LED 램프 모듈(100)은 상기 조명등 몸체(500)의 베이스 기판(501)에 끼움 방식을 통하여 베이스 기판(501)에 탈착시키는 구조로 이루어짐으로써 개별 수리가 가능하게 되어 유지 및 보수 측면에서 매우 바람직하다.As shown in FIG. 11, the LED lamp module 100 according to the present invention has a structure in which the LED lamp module 100 is detachably attached to the base substrate 501 through the fitting method on the base plate 501 of the illumination lamp body 500, So that it is highly desirable in terms of maintenance and repair.

또한 상기 베이스 기판(501)에는 LED(203)를 구비한 PCB 기판(204)과 반사판(208)을 장착하여 제조된 LED 램프 모듈(100)를 정렬하여 LED 램프 모듈(100)로부터 조사된 빛을 외부로 반사시켜 차도와 인도를 조명하게 된다.The PCB substrate 204 including the LED 203 and the LED lamp module 100 manufactured by mounting the reflector 208 are aligned on the base substrate 501 so that light emitted from the LED lamp module 100 It reflects to the outside and illuminates the roadway and the sidewalk.

또한, 상기와 같은 과정에서 LED 램프 모듈(100)은 배치구조가 개별로 조절이 가능한 구조로 이루어짐으로써 LED로부터 반사판(208)으로 조사된 빛은 외측으로 반사되어 더욱 넓은 범위에 걸쳐서 외부를 조명하게 되는 것이다.In addition, in the above-described process, the LED lamp module 100 has a structure in which the arrangement structure can be individually adjusted, so that the light emitted from the LEDs to the reflection plate 208 is reflected to the outside, .

또한, 본 발명에 따른 LED 램프 모듈(100)은 LED로부터 발생된 열의 방열 효과를 높여서 LED의 과열을 효과적으로 방지할 수 있기 때문에 조명등 램프의 내구성 및 유지 보수성을 향상시켜서 장시간에 걸쳐도 별도의 유지보수가 불필요하고 기능이 저하된 LED를 간단하게 교체가 가능함으로써 유지 보수시의 편리성을 크게 증대시키게 되는 것이다.Further, since the LED lamp module 100 according to the present invention enhances the heat radiation effect of heat generated from the LEDs, it can effectively prevent the overheating of the LEDs, thereby improving the durability and maintenance of the lamps of the lamps, It is possible to easily replace the LED which is unnecessary and deteriorated in function, so that the convenience of maintenance is greatly increased.

앞에서 설명되고 도면에 도시된 본 발명의 일 실시예는 본 발명의 기술적 사상을 한정하는 것으로 해석되어서는 안된다. 본 발명의 보호범위는 청구범위에 기재된 사항에 의하여만 제한되고, 본 발명의 기술분야에서 통상의 지식을 가진 자는 본 발명의 기술적 사상을 다양한 형태로 개량 변경하는 것이 가능하다. 따라서 이러한 개량 및 변경은 통상의 지식을 가진 자에게 자명한 것인 한 본 발명의 보호범위에 속하게 된다.
An embodiment of the present invention described above and shown in the drawings should not be construed as limiting the technical idea of the present invention. The scope of protection of the present invention is limited only by the matters described in the claims, and those skilled in the art will be able to modify the technical idea of the present invention in various forms. Accordingly, such improvements and modifications are within the scope of the present invention as long as they are obvious to those skilled in the art.

1 : 종래의 조명등 램프
10 : 램프 소자
20 : 반사 갓
100 : LED 램프 모듈
200 : 방열부
201 : 제1 경사면
202 : 제2 경사면
203 : LED
204 : PCB 기판
205 : 방열시트
206 : PCB 기판 장착 홈
207 : 베이스 기판 끼움 모서리
208 : 반사판
209 : 절곡면
210 : 방열판
211 : 전선
212 : 커넥터
213 : 단자부
300 : 몰딩부
400 : 접합층
500 : 조명등 몸체
501 : 베이스 기판
502 : 베이스 기판 끼움 모서리 장착 홈
1: Conventional light lamp
10: Lamp element
20: Reflective cup
100: LED lamp module
200:
201: first inclined surface
202: second inclined surface
203: LED
204: PCB substrate
205: heat-radiating sheet
206: PCB mounting groove
207: Base board insertion corner
208: Reflector
209: Bending face
210: heat sink
211: Wires
212: Connector
213: terminal portion
300: Molding part
400: bonding layer
500: light body
501: Base substrate
502: Base board insertion corner mounting groove

Claims (6)

상부의 일측면에는 LED를 구비한 PCB 기판이 장착되는 제 1경사면과 상기 상부의 타측면에는 제1 경사면에 대응하여 상기 LED로부터 조사된 빛을 외부로 반사시켜 조명하는 반사판이 장착되는 제2 경사면을 구비하며, 조명등 몸체의 베이스 기판에 고정되는 방열부; 및
상기 방열부 상부의 양측면을 완전 마감 처리하여 덮는 몰딩부;를 포함하는 것을 특징으로 하는 LED 램프 모듈.
A first inclined surface on which a PCB substrate having LEDs is mounted on one side of the upper surface, and a second inclined surface on which a reflector for reflecting light irradiated from the LED to the outside corresponding to the first inclined surface is mounted, A heat dissipating unit fixed to the base substrate of the illuminating lamp body; And
And a molding part covering both side surfaces of the upper part of the heat dissipation part by a complete finishing process.
제 1항에 있어서,
상기 방열부는 저중량의 방열 재료로 압출 성형되며, 상기 제1 경사면과 제 2 경사면은 서로 "V"형으로 형성되고, 상기 제1 경사면은 메탈 PCB 기판이 삽입되어 고정되기 위한 장착 홈이 형성되며, 상기 제2 경사면은 장착된 반사판의 경사 각도를 다르게 하여 빛을 분산시키기 위한 절곡면이 형성되는 것을 특징으로 하는 LED 램프 모듈.
The method according to claim 1,
The first inclined surface and the second inclined surface are formed in a "V" shape, and the first inclined surface is formed with a mounting groove for inserting and fixing the metal PCB substrate, Wherein the second inclined surface is formed with a bent surface for diffusing light with a different inclination angle of the mounted reflector.
제 1항에 있어서,
상기 제2 경사면은 상기 제 1경사면에 장착된 LED를 상기 몰딩부의 상측 단부와 일직선상으로 선을 그었을 때 2분의 1지점에 중심점을 둔 원호로 곡면이 형성되는 것을 특징으로 하는 LED 램프 모듈.
The method according to claim 1,
Wherein the curved surface of the second inclined surface is formed with a circular arc having a center point at a half point when the LED mounted on the first inclined surface is line-aligned with the upper end of the molding portion.
제 1항에 있어서,
상기 몰딩부는 투명한 PC(Poly-Carbonate) 재료로 이루어지며, 상기 몰딩부와 상기 방열부 사이에 접합층을 더 포함하여 상기 몰딩부를 상기 방열부의 제1 경사면 및 제2 경사면에 접합시키는 것을 특징으로 하는 LED 램프 모듈.
The method according to claim 1,
Wherein the molding part is made of a transparent poly-carbonate (PC) material, and further includes a bonding layer between the molding part and the heat dissipating part to bond the molding part to the first inclined surface and the second inclined surface of the heat- LED lamp module.
제 1항에 있어서,
상기 방열부는 양측 단부에 "L"형 베이스 기판 끼움 모서리를 돌출형성하며, 상기 조명등 몸체의 베이스 기판에 고정되는 것을 특징으로 하는 LED 램프 모듈.
The method according to claim 1,
Wherein the heat dissipation part is formed on both sides of the base plate of the illuminating body so that an edge of the "L"
제 1항에 있어서,
상기 베이스 기판은 외측에 상기 방열부의 "L"형 베이스 기판 끼움 모서리와 일치하는 크기의 다수개의 홈이 형성되어, 상기 LED 조명등 램프 다수가 개별 탈부착 가능하게 고정된 것을 특징으로 하는
LED 램프 모듈.


The method according to claim 1,
Wherein the base substrate has a plurality of grooves formed on an outer side thereof and having a size corresponding to an edge of the "L" -shaped base substrate of the heat dissipation unit, and a plurality of the LED lamps are individually detachably fixed
LED lamp module.


KR20130060889A 2013-05-29 2013-05-29 An LED lamp module Ceased KR20140140276A (en)

Priority Applications (1)

Application Number Priority Date Filing Date Title
KR20130060889A KR20140140276A (en) 2013-05-29 2013-05-29 An LED lamp module

Applications Claiming Priority (1)

Application Number Priority Date Filing Date Title
KR20130060889A KR20140140276A (en) 2013-05-29 2013-05-29 An LED lamp module

Publications (1)

Publication Number Publication Date
KR20140140276A true KR20140140276A (en) 2014-12-09

Family

ID=52458181

Family Applications (1)

Application Number Title Priority Date Filing Date
KR20130060889A Ceased KR20140140276A (en) 2013-05-29 2013-05-29 An LED lamp module

Country Status (1)

Country Link
KR (1) KR20140140276A (en)

Cited By (1)

* Cited by examiner, † Cited by third party
Publication number Priority date Publication date Assignee Title
KR20210062161A (en) * 2019-11-21 2021-05-31 주식회사 루멘스 Linear LED module and back lihgt unit comrising the same

Cited By (1)

* Cited by examiner, † Cited by third party
Publication number Priority date Publication date Assignee Title
KR20210062161A (en) * 2019-11-21 2021-05-31 주식회사 루멘스 Linear LED module and back lihgt unit comrising the same

Similar Documents

Publication Publication Date Title
KR101062052B1 (en) Street lamp
US8287152B2 (en) Lighting apparatus using light emitting diode
JP5625203B2 (en) LED lighting device having block assembly structure
CA2736757C (en) Lighting apparatus with heat dissipation system
US9353927B2 (en) Lighting apparatus
KR101421407B1 (en) LED floodlight
US8511862B2 (en) Optical unit and lighting apparatus
JP3163443U (en) LED lighting device
KR100951781B1 (en) Led floodlight
US9228722B2 (en) Outdoor LED lighting device structure with easy installation features
JP6102864B2 (en) lamp
KR20140140276A (en) An LED lamp module
JP2019023979A (en) Floodlight
JP7179921B1 (en) lighting equipment
KR101582993B1 (en) high-efficiency led lamp with heat pipe and heat-radiation liquid of heat and lamp appliances
KR101049834B1 (en) LED lighting device with LED glare and LED lighting device for easy glare prevention and light distribution control
JP6620892B2 (en) Semiconductor lamp
JP2018014302A (en) lamp
KR101113715B1 (en) ??? Lamp
KR101083431B1 (en) Street lighting equipment
KR20100040997A (en) Led guard light
US20140307451A1 (en) Outdoor led lighting device structure with good characteristics of thermal dissipation and waterproof
KR20160060877A (en) Flood light and method thereof

Legal Events

Date Code Title Description
A201 Request for examination
PA0109 Patent application

Patent event code: PA01091R01D

Comment text: Patent Application

Patent event date: 20130529

PA0201 Request for examination
E902 Notification of reason for refusal
PE0902 Notice of grounds for rejection

Comment text: Notification of reason for refusal

Patent event date: 20140929

Patent event code: PE09021S01D

PG1501 Laying open of application
E90F Notification of reason for final refusal
PE0902 Notice of grounds for rejection

Comment text: Final Notice of Reason for Refusal

Patent event date: 20150330

Patent event code: PE09021S02D

E601 Decision to refuse application
PE0601 Decision on rejection of patent

Patent event date: 20150921

Comment text: Decision to Refuse Application

Patent event code: PE06012S01D

Patent event date: 20150330

Comment text: Final Notice of Reason for Refusal

Patent event code: PE06011S02I

Patent event date: 20140929

Comment text: Notification of reason for refusal

Patent event code: PE06011S01I