KR20140122488A - rotary lift crane - Google Patents
rotary lift crane Download PDFInfo
- Publication number
- KR20140122488A KR20140122488A KR20130039237A KR20130039237A KR20140122488A KR 20140122488 A KR20140122488 A KR 20140122488A KR 20130039237 A KR20130039237 A KR 20130039237A KR 20130039237 A KR20130039237 A KR 20130039237A KR 20140122488 A KR20140122488 A KR 20140122488A
- Authority
- KR
- South Korea
- Prior art keywords
- rotary
- saddle
- crane
- coupled
- main frame
- Prior art date
- Legal status (The legal status is an assumption and is not a legal conclusion. Google has not performed a legal analysis and makes no representation as to the accuracy of the status listed.)
- Ceased
Links
- 229910000831 Steel Inorganic materials 0.000 description 2
- 239000010959 steel Substances 0.000 description 2
- 239000003638 chemical reducing agent Substances 0.000 description 1
- 238000010276 construction Methods 0.000 description 1
- 230000008602 contraction Effects 0.000 description 1
- 238000010586 diagram Methods 0.000 description 1
- 238000004904 shortening Methods 0.000 description 1
- 238000004804 winding Methods 0.000 description 1
Images
Classifications
-
- B—PERFORMING OPERATIONS; TRANSPORTING
- B66—HOISTING; LIFTING; HAULING
- B66C—CRANES; LOAD-ENGAGING ELEMENTS OR DEVICES FOR CRANES, CAPSTANS, WINCHES, OR TACKLES
- B66C17/00—Overhead travelling cranes comprising one or more substantially horizontal girders the ends of which are directly supported by wheels or rollers running on tracks carried by spaced supports
- B66C17/04—Overhead travelling cranes comprising one or more substantially horizontal girders the ends of which are directly supported by wheels or rollers running on tracks carried by spaced supports with lifting beams, e.g. slewable beams, carrying load-engaging elements, e.g. magnets, hooks
-
- B—PERFORMING OPERATIONS; TRANSPORTING
- B66—HOISTING; LIFTING; HAULING
- B66C—CRANES; LOAD-ENGAGING ELEMENTS OR DEVICES FOR CRANES, CAPSTANS, WINCHES, OR TACKLES
- B66C2700/00—Cranes
- B66C2700/08—Electrical assemblies or electrical control devices for cranes, winches, capstans or electrical hoists
- B66C2700/082—Control of the secondary movements, e.g. travelling, slewing, luffing of the jib, changing of the range
Landscapes
- Engineering & Computer Science (AREA)
- Mechanical Engineering (AREA)
- Carriers, Traveling Bodies, And Overhead Traveling Cranes (AREA)
Abstract
본 발명은 회전형 리프트 크레인에 관한 것으로서, 본 발명에 따른 회전형 리프트 크레인은 레일을 따라 이동 가능하게 설치된 주행새들과, 상기 주행새들에 설치된 호이스트에 체인이 연결된 통상의 크레인에 있어서, 상기 호이스트가 설치된 지지프레임이 설치되고 구동기어가 결합된 모터가 설치되고, 상기 양측 주행새들과 연결되는 주프레임과, 상기 체인이 통과되고, 상기 구동기어와 연결되는 종동기어와 베어링이 내장된 하우징과 회전판이 결합된 중공형 회전축과, 상기 하우징과 주프레임을 연결하는 지지대와, 일측부가 상기 회전판과 신축 가능하게 결합되는 신축빔과, 상기 신축빔의 하단에 설치되고, 상기 체인의 끝단부가 연결되는 포크부를 포함하되, 상기 포크부에는 화물이 올려지는 한쌍의 포크의 간격을 조절하는 조절 수단이 설치되는 것을 특징으로 한다.The present invention relates to a rotary type lift crane, in which a rotary type lifting crane according to the present invention includes traveling saddles provided movably along a rail and a chain connected to a hoist installed on the traveling saddle, A main frame connected to the two saddle-ride saddles, a housing having a driven gear connected to the drive gear and a bearing, and a rotating plate connected to the drive frame, A flexible shaft rotatably connected to the rotary frame, a flexible hollow rotary shaft, a support for connecting the housing and the main frame, a stretchable beam having one side portion elastically coupled to the rotary plate, and a fork portion provided at a lower end of the elastic beam, The fork part is provided with adjusting means for adjusting the interval of a pair of forks on which the cargo is loaded And that is characterized.
Description
본 발명은 리프트 크레인에 관한 것으로서, 화물의 이동 및 적재 시 화물이 올려진 포크가 신축 가능한 신축빔을 따라 안정적으로 승하강되고, 회전이 가능하여 적재 시간의 단축 및 적재공간의 이용효율이 증가시키고, 화물의 종류에 따라서 포크를 자동으로 조절할 수 있는 회전형 리프트 크레인에 관한 것이다.
The present invention relates to a lift crane, and more particularly, to a lift crane capable of stably lifting and lowering a fork on which a cargo is lifted along a stretchable and contractible beam when the cargo is moved and loaded, shortening the loading time and increasing the utilization efficiency of the loading space , And a fork type lift crane capable of automatically adjusting a fork according to the type of cargo.
저장창고에 적재된 화물을 이동하는 수단의 일환으로 지게차를 사용하는 경우에는 지게차가 이동하여 빠져나오는 통로 및 회전하기 위한 공간이 마련되어야 하므로, 이러한 공간에는 화물을 적재할 수 없어서 저장창고 내의 공간 이용 효율이 극히 저하되는 문제점이 있었다.When the forklift is used as a means for moving the cargo loaded in the storage warehouse, a space for the forklift to move out and rotate must be provided. Therefore, the cargo can not be loaded in such a space, There is a problem that the efficiency is extremely lowered.
이러한 문제점을 해결하기 위한 크레인은 저장창고, 공장건물, 산업현장 등에 설치된 철골 구조물의 거더(Girder) 및 레일을 따라 이동 가능한 이동수단이 설치되고, 상기 이동수단에는 호이스트(Hoist)가 설치되고, 상기 호이스트에 연결된 와이어, 로프 등의 끝단부에 화물 또는 적재물 등의 중량물(이하 ‘화물’이라 함)을 묶거나 연결고리, 훅(Hook) 등에 걸어서 들어올린 후 소정의 위치로 이동 및 적재하게 된다.In order to solve such a problem, a crane is provided with a moving means capable of moving along a girder and a rail of a steel structure installed in a storage warehouse, a factory building or an industrial site, a hoist is installed on the moving means, (Hereinafter, referred to as "cargo") is hooked to the end of a wire, a rope or the like connected to the hoist, or hooked on a hook, a hook or the like, and then moved and loaded to a predetermined position.
이러한 종래의 리프트 크레인에 관련된 선행기술에는 대한민국 특허청에 출원된 출원번호 제10-2007-0138870호, 제20-2001-0009803호 등이 있다.Prior art related to such conventional lift cranes include Application Nos. 10-2007-0138870 and 20-2001-0009803 filed in the Korean Intellectual Property Office.
그러나, 이러한 리프트 크레인은 화물에 따른 안정적인 고정이 불가능해 화물의 파손 및 추락의 위험성이 높은 문제점이 있었다.
However, such a lift crane can not be stably fixed according to the cargo, and thus there is a high risk of damage or collapse of the cargo.
본 발명에 따른 회전형 리프트 크레인은 화물의 종류와 중량에 따라서 안정적으로 들어 올릴 수 있는 구조를 채택한 회전형 리프트 크레인을 제공하는 데 그 목적이 있다.
It is an object of the present invention to provide a rotary type lifting crane which is structured such that the lifting type lifting crane can be lifted stably according to the type and weight of the cargo.
본 발명에 따른 회전형 리프트 크레인은 레일을 따라 이동 가능하게 설치된 주행새들과, 상기 주행새들에 설치된 호이스트에 체인이 연결된 통상의 크레인에 있어서, 상기 호이스트가 설치된 지지프레임이 설치되고 구동기어가 결합된 모터가 설치되고, 상기 양측 주행새들과 연결되는 주프레임과, 상기 체인이 통과되고, 상기 구동기어와 연결되는 종동기어와 베어링이 내장된 하우징과 회전판이 결합된 중공형 회전축과, 상기 하우징과 주프레임을 연결하는 지지대와, 일측부가 상기 회전판과 신축 가능하게 결합되는 신축빔과, 상기 신축빔의 하단에 설치되고, 상기 체인의 끝단부가 연결되는 포크부를 포함하되, 상기 포크부에는 화물이 올려지는 한쌍의 포크의 간격을 조절하는 조절 수단이 설치되는 것을 특징으로 한다.A rotary type crane according to the present invention includes a traveling saddle installed to be movable along a rail and a normal crane connected to a hoist installed on the traveling saddle, wherein a support frame provided with the hoist is installed, A main frame having a motor installed therein, a main frame connected to the two side saddles, a hollow rotary shaft having a housing having a driven gear and a bearing coupled to the drive gear and a rotating plate coupled to the drive gear, And a fork part installed at a lower end of the telescopic beam and connected to an end of the chain, wherein the fork part is provided with a load And adjusting means for adjusting the distance between the pair of forks is provided.
그리고, 상기 조절 수단은 상기 신축빔의 하단에 결합되고, 상기 한 쌍의 포크의 수평 이동을 가이드 하는 가이드 판과, 상기 가이드 판을 따라 한 쌍의 포크를 이동시키는 유압 실린더를 포함한다.
The adjusting means includes a guide plate coupled to the lower end of the telescopic beam and guiding the horizontal movement of the pair of forks, and a hydraulic cylinder for moving the pair of forks along the guide plate.
본 발명에 따른 회전형 리프트 크레인은 포크를 조절하는 조절 수단을 통해서 화물의 종류와 크기 중량에 따라서 안정적으로 지지할 수 있는 장점이 있다.
The rotary type lifting crane according to the present invention has an advantage that it can be stably supported according to the kind and size weight of the cargo through the adjusting means for adjusting the fork.
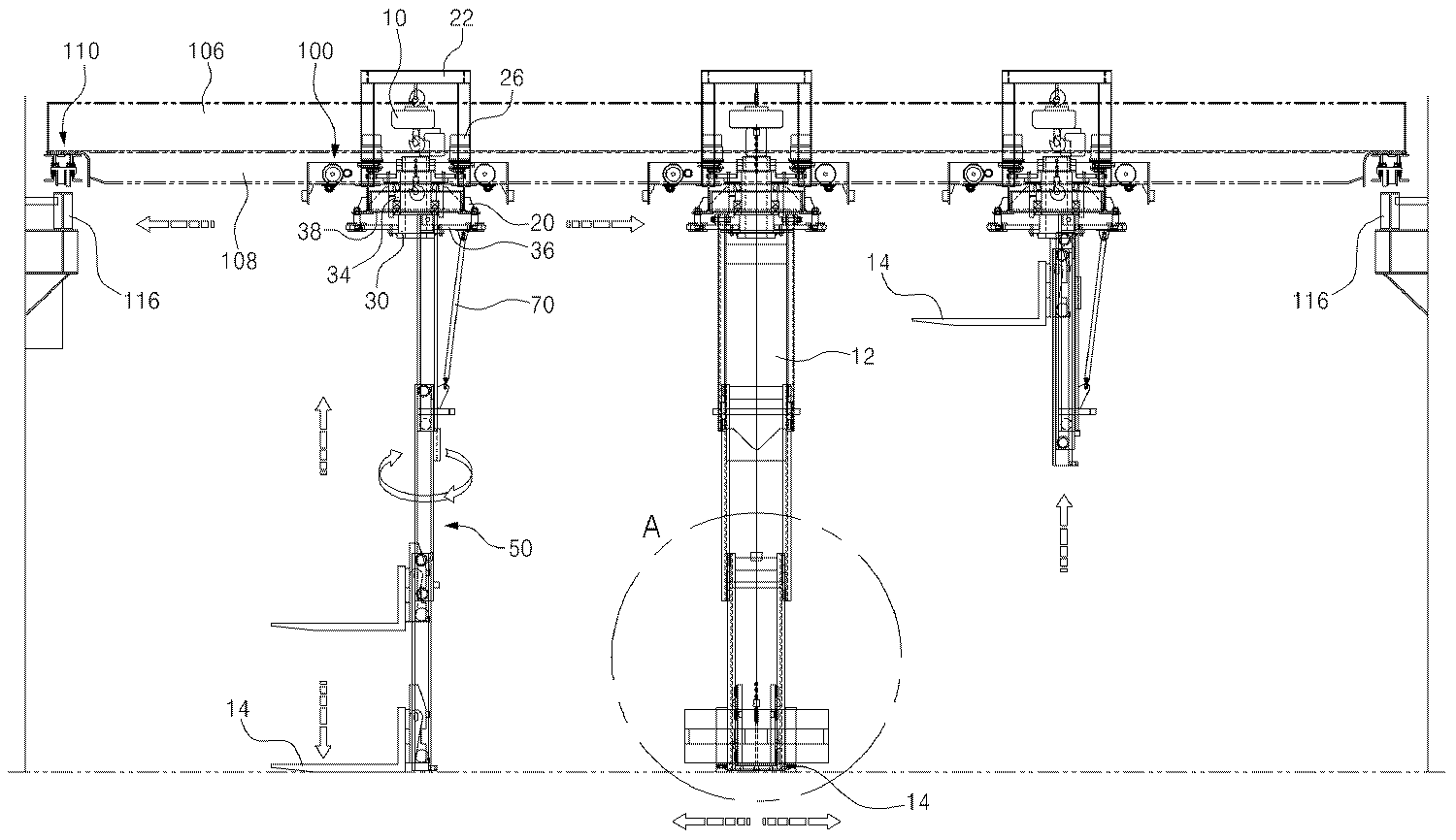
도 1은 본 발명에 따른 회전형 리프트 크레인을 도시하는 개념도.
도 2는 도 1의 A부분의 확대도.
도 3은 도 1의 평면도.1 is a conceptual diagram showing a rotary lift crane according to the present invention;
2 is an enlarged view of a portion A in Fig.
3 is a plan view of Fig.
이하에서는 첨부된 도면을 참조하여 본 발명의 바람직한 일 실시 예를 상세하게 설명하고자 한다.Hereinafter, preferred embodiments of the present invention will be described in detail with reference to the accompanying drawings.
도 1은 본 발명에 따른 회전형 리프트 크레인을 도시하는 개념도이고, 도 3은 도 1의 평면도이다.Fig. 1 is a conceptual view showing a rotary type lift crane according to the present invention, and Fig. 3 is a plan view of Fig.
도 1에 도시된 바와 같이 회전형 리프트 크레인은 건물 내지는 산업현장 등에 주로 설치되고, 이러한 철골 구조물에는 전후방으로 양측부에 레일(116)이 나란하게 설치된다.As shown in FIG. 1, the rotary type lift crane is installed mainly in a building or an industrial site, and the
상기 레일(116)을 따라 전후로 이동 가능하게 설치된 새들이 설치되고, 새들은 주행새들(110)과, 양측 단부가 상기 주행새들(110)과 결합되고 하단부에 횡행레일(108)이 결합된 거더(Girder; 106)와, 상기 횡행레일(108)을 따라 좌-우로 이동 가능하게 횡행새들(100)이 설치된다.The saddle is provided with
여기서, 상기 거더(106)와 횡행새들(100)은 도 1에서처럼, 소정의 간격으로 이격되어져 나란하게 설치되어져 상기 주행새들(110)과 함께 이동된다.Here, the
또한, 상기 새들(100,110)에는 레일(108,116)을 따라 구동하는 롤가 양측부에 설치되고, 상기 롤러와 연결된 모터가 구비되어 전후 또는 좌우로 이동 가능하게 된다.The saddle (100, 110) is provided on both sides of the roll driving along the rails (108, 116), and a motor connected to the rollers is provided to be movable back and forth or left and right.
상기 양측 횡행새들(100)은 소정의 간격으로 이격된 양측의 주프레임(20)으로 연결되고, 상기 주프레임(20)의 상단부에는 양측부에 지지프레임(22)이 설치된다.The
상기 지지프레임(22)에는 훅(Hook) 등을 통해 호이스트(10)가 설치된다. 상기 호이스트(Hoist; 10)는 전동기, 감속장치, 와인딩 드럼 등을 하나로 조합한 소형의 감아 올리기 기계로서 스스로 주행할 수 있는 것이 많다. 종류에는 체인 호이스트, 공기 호이스트, 전기 호이스트 등이 있다.The
그리고, 체인(12)은 와이어, 로프, 등이 사용되고, 상기 호이스트(10)는 바람직하게는 체인이 연결된 체인 호이스트이다. 상기 주프레임(20)의 일측부에는 구동기어가 모터축과 결합된 기어드모터가 각각 설치된다. 상기 기어드모터(Geared Motor)는 전동기와 감속기어장치를 하나로 조합된 것이다.And, the
그리고, 회전축(30)은 중공체로써 중간부에 베어링과, 상기 베어링을 수용하는 하우징(34)이 결합되고, 상기 하우징(34)의 하부에 회전판(36)과, 상부에 상기 구동기어와 연결된 종동기어가 결합되어져 고정구가 체결된다. 따라서, 회전축의 회전을 통해서 하측의 포크부와 신축빔을 회전시킬 수 있게 된다.The rotating
신축빔(50)은 3단으로 이루어짐이 바람직하며, 화물이 승하강되는 높이에 따라 1단 또는 1단 이상의 복수개의 다단으로 이루어진다.The stretch and
포크(14)는 “ㄴ”자 형상으로 절곡 형성되고, 양측으로 소정의 간격으로 이격되어져 화물이 올려진다. 상기 포크(14)는 화물의 형태에 따라 여러 가지 형태로 이루어진다. The
실린더(70)는 일측부가 상기 회전판(36)의 하단 일측부와 힌지결합되고, 타측부는 상기 신축빔(50)의 일측, 바람직하게는 상기 포크(14)의 타측부와 힌지결합된다. 상기 실린더(70)는 신축빔(50)을 지지하고, 상기 횡행새들(100)의 이동 및 정지 시 상기 신축빔(50)이 흔들리는 것을 방지한다.One side of the
그리고, 상기 횡행새들(100)의 양측부에는 스토퍼(44)가 설치되어져 상기 횡행새들(100)이 주행레일(116)과 충돌하거나 포크(14)가 벽면과 충돌하는 것을 방지한다A stopper 44 is provided on both sides of the
상기와 같은 구성에 의해서 본 고안에 따른 회전형 리프트 크레인은 다음과 같이 작동된다. 상기 호이스트(10)가 체인(12)을 감아 올리면 상기 포크(14)는 상승되고, 이때 신축빔(50)이 함께 상승된다.With the above construction, the rotary type lift crane according to the present invention operates as follows. When the
그리고, 상기 기어드모터가 작동하여 상기 구동기어가 종동기어를 회전시키면 상기 회전축(30)과 결합된 회전판(36)과 신축빔(50)과 포크(14)는 회전된다.When the geared motor is operated and the driving gear rotates the driven gear, the
도 2는 도 1의 A부분의 확대도이다.2 is an enlarged view of a portion A in Fig.
도 2에 도시된 바와 같이 본 발명에 따른 회전형 리프트 크레인은 포크부에는 화물이 올려지는 한쌍의 포크(14)의 간격을 조절하는 조절 수단이 설치된다.As shown in FIG. 2, the swing type lifting crane according to the present invention is provided with adjusting means for adjusting the distance between a pair of
그리고, 상기 조절 수단은 상기 신축빔(50)의 하단에 결합되고, 상기 한 쌍의 포크(14)의 수평 이동을 가이드 하는 가이드 판(14a)과, 상기 가이드 판(14a)을 따라 한 쌍의 포크(14)를 이동시키는 유압 실린더(14b)를 포함한다.The adjusting means includes a
이상과 같이 본 발명은 회전형 리프트 크레인을 제공하는 것을 주요한 기술적 사상으로 하고 있으며, 도면을 참고하여 상술한 실시 예는 단지 하나의 실시 예에 불과하므로 본 발명의 진정한 범위는 특허청구범위에 의해 결정되어야 한다.
As described above, according to the present invention, it is a principal technical idea to provide a rotary type lift crane, and since the above-described embodiment is only one embodiment with reference to the drawings, the true scope of the present invention is determined by the claims .
10: 호이스트
12: 체인
14: 포크
14a: 가이드 판
14b: 유압 실린더
20: 주프레임
22: 지지프레임
30: 회전축
34: 하우징
36: 회전판
50: 신축빔
70: 실린더
100: 횡행레일
106: 거더
110: 주행새들
116: 레일10: Hoist
12: Chain
14: Fork
14a: guide plate
14b: Hydraulic cylinder
20: main frame
22: Support frame
30:
34: Housing
36: Spindle
50: stretching beam
70: Cylinder
100: transverse rail
106: Girder
110: Running saddles
116: rail
Claims (2)
상기 호이스트(10)가 설치된 지지프레임(22)이 설치되고, 구동기어가 결합된 모터(26)가 설치되고, 상기 양측 주행새들(100)과 연결되는 주프레임(20)과;
상기 체인(12)이 통과되고, 상기 구동기어와 연결되는 종동기어와 베어링이 내장된 하우징(34)과 회전판(36)이 결합된 중공형 회전축(30)과;
상기 하우징(34)과 주프레임(20)을 연결하는 지지대(38)와;
일측부가 상기 회전판(30)과 신축 가능하게 결합되는 신축빔(50)과;
상기 신축빔(50)의 하단에 설치되고, 상기 체인(12)의 끝단부가 연결되는 포크부;를 포함하되,
상기 포크부에는 화물이 올려지는 한쌍의 포크의 간격을 조절하는 조절 수단이 설치되는 것을 특징으로 하는 회전형 리프트 크레인.
1. A conventional crane having a chain (12) connected to a traveling saddle (100) movably installed along a rail and a hoist (10) installed on the traveling saddle (100)
A main frame 20 provided with a support frame 22 on which the hoist 10 is installed and a motor 26 to which a driving gear is coupled and is connected to the two side saddles 100;
A hollow rotary shaft 30 through which the chain 12 is passed and a housing 34 in which a driven gear and a bearing are connected to the drive gear and a rotary plate 36 are coupled;
A support rod 38 connecting the housing 34 and the main frame 20;
A stretchable beam (50) having one side portion elastically coupled to the rotation plate (30);
And a fork portion provided at a lower end of the stretching beam 50 and connected to an end of the chain 12,
Wherein the fork portion is provided with adjusting means for adjusting a distance between a pair of forks on which the cargo is loaded.
상기 조절 수단은,
상기 신축빔(50)의 하단에 결합되고, 상기 한 쌍의 포크의 수평 이동을 가이드 하는 가이드 판(14a)과, 상기 가이드 판을 따라 한 쌍의 포크를 이동시키는 유압 실린더(14b)를 포함하는 것을 특징으로 하는 회전형 리프트 크레인.
The method according to claim 1,
Wherein the adjusting means comprises:
A guide plate (14a) coupled to a lower end of the telescopic beam (50) for guiding horizontal movement of the pair of forks, and a hydraulic cylinder (14b) for moving a pair of forks along the guide plate Wherein the crane is a crane.
Priority Applications (1)
| Application Number | Priority Date | Filing Date | Title |
|---|---|---|---|
| KR20130039237A KR20140122488A (en) | 2013-04-10 | 2013-04-10 | rotary lift crane |
Applications Claiming Priority (1)
| Application Number | Priority Date | Filing Date | Title |
|---|---|---|---|
| KR20130039237A KR20140122488A (en) | 2013-04-10 | 2013-04-10 | rotary lift crane |
Publications (1)
| Publication Number | Publication Date |
|---|---|
| KR20140122488A true KR20140122488A (en) | 2014-10-20 |
Family
ID=51993558
Family Applications (1)
| Application Number | Title | Priority Date | Filing Date |
|---|---|---|---|
| KR20130039237A Ceased KR20140122488A (en) | 2013-04-10 | 2013-04-10 | rotary lift crane |
Country Status (1)
| Country | Link |
|---|---|
| KR (1) | KR20140122488A (en) |
Cited By (5)
| Publication number | Priority date | Publication date | Assignee | Title |
|---|---|---|---|---|
| CN105712180A (en) * | 2016-05-11 | 2016-06-29 | 华北理工大学 | Flat turning device for crane |
| KR101908634B1 (en) * | 2018-04-05 | 2018-10-16 | 신주호 | Work position adjustment method ofoverhead crane using laser point |
| KR101908633B1 (en) * | 2018-04-05 | 2018-10-16 | 신주호 | overhead crane using laser point |
| KR102283705B1 (en) * | 2021-03-29 | 2021-07-29 | 조덕래 | Over head robot crane |
| KR102710394B1 (en) * | 2024-02-29 | 2024-09-25 | 박수배 | Hoist stacker crane having bending of master prevention function and bending of master prevention control method using the hoist stacker crane |
-
2013
- 2013-04-10 KR KR20130039237A patent/KR20140122488A/en not_active Ceased
Cited By (5)
| Publication number | Priority date | Publication date | Assignee | Title |
|---|---|---|---|---|
| CN105712180A (en) * | 2016-05-11 | 2016-06-29 | 华北理工大学 | Flat turning device for crane |
| KR101908634B1 (en) * | 2018-04-05 | 2018-10-16 | 신주호 | Work position adjustment method ofoverhead crane using laser point |
| KR101908633B1 (en) * | 2018-04-05 | 2018-10-16 | 신주호 | overhead crane using laser point |
| KR102283705B1 (en) * | 2021-03-29 | 2021-07-29 | 조덕래 | Over head robot crane |
| KR102710394B1 (en) * | 2024-02-29 | 2024-09-25 | 박수배 | Hoist stacker crane having bending of master prevention function and bending of master prevention control method using the hoist stacker crane |
Similar Documents
| Publication | Publication Date | Title |
|---|---|---|
| CN103663168B (en) | Special crane for transporting fan blade | |
| KR20140122488A (en) | rotary lift crane | |
| JP2007112526A (en) | Self-traveling type small sized crane | |
| CN203624874U (en) | Special crane for transporting fan blade | |
| KR100847906B1 (en) | Multi Crane | |
| JP2008248664A (en) | Curtain wall lifting method | |
| JP5027015B2 (en) | Cable conveyor | |
| JP2008156015A (en) | Mobile crane | |
| JP5958764B2 (en) | Lifting device, lifting method and building demolition method | |
| KR20110077345A (en) | Overhead crane | |
| CN111115461B (en) | Reinforcing steel bar and mould transportation and automatic assembling equipment | |
| CN105863332B (en) | A kind of automobile grabbing device applied to solid parking | |
| JP6510212B2 (en) | Method for disassembling construction elevator, assembling method, and disassembling and assembling apparatus | |
| KR101676457B1 (en) | radioactive waste disposal | |
| CN212502532U (en) | Steel coil transfer device and steel coil conveying system | |
| JP2009269729A (en) | Stacker crane | |
| CN207434899U (en) | For the vehicle-carrying lifting of Construction of Civil Engineering and horizontal retractable hoisting mechanism | |
| CN105800472A (en) | Logistics transfer device | |
| RU160618U1 (en) | LIFTING FACILITY FOR CARRYING LOADS | |
| CN110790151B (en) | Rotary column for vehicle-mounted crane | |
| KR100881807B1 (en) | Double crane | |
| JP6209954B2 (en) | Telha crane for pneumatic caisson and construction method of pneumatic caisson | |
| CN105621243A (en) | Double-end material crane | |
| KR200236339Y1 (en) | Rotary lift crane | |
| KR20090016534A (en) | Magnetic moving boom system |
Legal Events
| Date | Code | Title | Description |
|---|---|---|---|
| A201 | Request for examination | ||
| PA0109 | Patent application |
Patent event code: PA01091R01D Comment text: Patent Application Patent event date: 20130410 |
|
| PA0201 | Request for examination | ||
| E902 | Notification of reason for refusal | ||
| PE0902 | Notice of grounds for rejection |
Comment text: Notification of reason for refusal Patent event date: 20140801 Patent event code: PE09021S01D |
|
| PG1501 | Laying open of application | ||
| E601 | Decision to refuse application | ||
| PE0601 | Decision on rejection of patent |
Patent event date: 20141120 Comment text: Decision to Refuse Application Patent event code: PE06012S01D Patent event date: 20140801 Comment text: Notification of reason for refusal Patent event code: PE06011S01I |
