KR20140112758A - 발광소자 패키지 - Google Patents

발광소자 패키지 Download PDF

Info

Publication number
KR20140112758A
KR20140112758A KR1020130027217A KR20130027217A KR20140112758A KR 20140112758 A KR20140112758 A KR 20140112758A KR 1020130027217 A KR1020130027217 A KR 1020130027217A KR 20130027217 A KR20130027217 A KR 20130027217A KR 20140112758 A KR20140112758 A KR 20140112758A
Authority
KR
South Korea
Prior art keywords
light emitting
emitting device
light
semiconductor layer
emitting element
Prior art date
Legal status (The legal status is an assumption and is not a legal conclusion. Google has not performed a legal analysis and makes no representation as to the accuracy of the status listed.)
Ceased
Application number
KR1020130027217A
Other languages
English (en)
Inventor
박인용
이건교
이종우
이주영
장성훈
조윤민
Original Assignee
엘지이노텍 주식회사
Priority date (The priority date is an assumption and is not a legal conclusion. Google has not performed a legal analysis and makes no representation as to the accuracy of the date listed.)
Filing date
Publication date
Application filed by 엘지이노텍 주식회사 filed Critical 엘지이노텍 주식회사
Priority to KR1020130027217A priority Critical patent/KR20140112758A/ko
Publication of KR20140112758A publication Critical patent/KR20140112758A/ko
Ceased legal-status Critical Current

Links

Images

Classifications

    • HELECTRICITY
    • H10SEMICONDUCTOR DEVICES; ELECTRIC SOLID-STATE DEVICES NOT OTHERWISE PROVIDED FOR
    • H10HINORGANIC LIGHT-EMITTING SEMICONDUCTOR DEVICES HAVING POTENTIAL BARRIERS
    • H10H20/00Individual inorganic light-emitting semiconductor devices having potential barriers, e.g. light-emitting diodes [LED]
    • H10H20/80Constructional details
    • H10H20/85Packages
    • HELECTRICITY
    • H10SEMICONDUCTOR DEVICES; ELECTRIC SOLID-STATE DEVICES NOT OTHERWISE PROVIDED FOR
    • H10HINORGANIC LIGHT-EMITTING SEMICONDUCTOR DEVICES HAVING POTENTIAL BARRIERS
    • H10H20/00Individual inorganic light-emitting semiconductor devices having potential barriers, e.g. light-emitting diodes [LED]
    • H10H20/80Constructional details
    • H10H20/85Packages
    • H10H20/851Wavelength conversion means
    • HELECTRICITY
    • H10SEMICONDUCTOR DEVICES; ELECTRIC SOLID-STATE DEVICES NOT OTHERWISE PROVIDED FOR
    • H10HINORGANIC LIGHT-EMITTING SEMICONDUCTOR DEVICES HAVING POTENTIAL BARRIERS
    • H10H20/00Individual inorganic light-emitting semiconductor devices having potential barriers, e.g. light-emitting diodes [LED]
    • H10H20/80Constructional details
    • H10H20/85Packages
    • H10H20/857Interconnections, e.g. lead-frames, bond wires or solder balls
    • HELECTRICITY
    • H01ELECTRIC ELEMENTS
    • H01LSEMICONDUCTOR DEVICES NOT COVERED BY CLASS H10
    • H01L2224/00Indexing scheme for arrangements for connecting or disconnecting semiconductor or solid-state bodies and methods related thereto as covered by H01L24/00
    • H01L2224/01Means for bonding being attached to, or being formed on, the surface to be connected, e.g. chip-to-package, die-attach, "first-level" interconnects; Manufacturing methods related thereto
    • H01L2224/42Wire connectors; Manufacturing methods related thereto
    • H01L2224/47Structure, shape, material or disposition of the wire connectors after the connecting process
    • H01L2224/48Structure, shape, material or disposition of the wire connectors after the connecting process of an individual wire connector
    • H01L2224/4805Shape
    • H01L2224/4809Loop shape
    • H01L2224/48091Arched
    • HELECTRICITY
    • H01ELECTRIC ELEMENTS
    • H01LSEMICONDUCTOR DEVICES NOT COVERED BY CLASS H10
    • H01L2224/00Indexing scheme for arrangements for connecting or disconnecting semiconductor or solid-state bodies and methods related thereto as covered by H01L24/00
    • H01L2224/01Means for bonding being attached to, or being formed on, the surface to be connected, e.g. chip-to-package, die-attach, "first-level" interconnects; Manufacturing methods related thereto
    • H01L2224/42Wire connectors; Manufacturing methods related thereto
    • H01L2224/47Structure, shape, material or disposition of the wire connectors after the connecting process
    • H01L2224/48Structure, shape, material or disposition of the wire connectors after the connecting process of an individual wire connector
    • H01L2224/481Disposition
    • H01L2224/48135Connecting between different semiconductor or solid-state bodies, i.e. chip-to-chip
    • H01L2224/48137Connecting between different semiconductor or solid-state bodies, i.e. chip-to-chip the bodies being arranged next to each other, e.g. on a common substrate
    • HELECTRICITY
    • H01ELECTRIC ELEMENTS
    • H01LSEMICONDUCTOR DEVICES NOT COVERED BY CLASS H10
    • H01L2224/00Indexing scheme for arrangements for connecting or disconnecting semiconductor or solid-state bodies and methods related thereto as covered by H01L24/00
    • H01L2224/73Means for bonding being of different types provided for in two or more of groups H01L2224/10, H01L2224/18, H01L2224/26, H01L2224/34, H01L2224/42, H01L2224/50, H01L2224/63, H01L2224/71
    • H01L2224/732Location after the connecting process
    • H01L2224/73251Location after the connecting process on different surfaces
    • H01L2224/73265Layer and wire connectors

Landscapes

  • Led Device Packages (AREA)

Abstract

본 발명의 실시예에 따른 발광소자 패키지는 광을 생성하고 서로 인접하여 배치되는 적어도 2개의 발광소자와 상기 발광소자가 안착되고 도전성 재질인 통전부와, 상기 발광소자에 전원을 공급하는 적어도 2개의 전극을 포함하고, 상기 2개의 발광소자는 서로 다른 극성을 가지는 반도체층이 상기 통전부에 접한다.

Description

발광소자 패키지{Light Emitting Device Package}
본 발명은 발광소자 패키지에 관한 것이다.
발광소자의 대표적인 예로, LED(Light Emitting Diode; 발광 다이오드)는 화합물 반도체의 특성을 이용해 전기 신호를 적외선, 가시광선 또는 빛의 형태로 변환시키는 소자로, 가정용 가전제품, 리모콘, 전광판, 표시기, 각종 자동화 기기 등에 사용되고, 점차 LED의 사용 영역이 넓어지고 있는 추세이다.
보통, 소형화된 LED는 PCB(Printed Circuit Board) 전극부에 직접 장착하기 위해서 표면실장소자(Surface Mount Device)형으로 만들어지고 있고, 이에 따라 표시소자로 사용되고 있는 LED 램프도 표면실장소자 형으로 개발되고 있다. 이러한 표면실장소자는 기존의 단순한 점등 램프를 대체할 수 있으며, 이것은 다양한 칼라를 내는 점등표시기용, 문자표시기 및 영상표시기 등으로 사용된다.
이와 같이 LED의 사용 영역이 넓어지면서, 생활에 사용되는 전등, 구조 신호용 전등 등에 요구되는 휘도가 높이지는 바, LED의 발광휘도를 증가시키는 것이 중요하다.
한편, 다수의 발광소자를 사용할 때 칩마다 고유의 VF와 다른 밝기 때문에 병렬연결보다는 직렬연결이 사용되고 있다. 그런데, 발광소자 들의 직렬연결 시에 발광소자의 아래와 위에서 전원을 공급한는 방식의 경우, 전기적 쇼트를 방지하기 위해서, 하측에 형성되는 전극들 사이에 간극이 발생하게 되고, 이는 발광소자 사이의 간극으로 나타나게되어서, 결국, 발광소자 패키지의 단위 면적당 발광소자의 개수가 줄어들며, 밝기가 감소되는 결과를 가져온다.
본 발명이 해결하고자 하는 과제는 크기를 줄이면서, 밝기는 향상시키는 발광소자 패키지를 제공하는 것이다.
상기 과제를 달성하기 위하여, 본 발명의 실시예에 따른 발광소자 패키지는 광을 생성하고 서로 인접하여 배치되는 적어도 2개의 발광소자와 상기 발광소자가 안착되고 도전성 재질인 통전부와, 상기 발광소자에 전원을 공급하는 적어도 2개의 전극을 포함하고, 상기 2개의 발광소자는 서로 다른 극성을 가지는 반도체층이 상기 통전부에 접한다.
실시예는 통전부 내에 제1발광소자와 제2발광소자가 배치되고, 제1발광소자와 제2발광소자의 통전부와 접하는 면이 극성이 서로 다르게 배치됨으로써, 다수의 발광소자를 직렬로 연결 시에 발광소자 사이의 간극이 줄어드는 이점이 있다.
또한, 다수의 발광소자들) 사이의 간극이 좁혀지므로, 발광소자 패키지의 단위면적당 발광소자의 개수도 늘어나게 되고, 결론적으로 발광소자 패키지의 밝기 및 발광효율이 향상되는 이점이 있다.
또한, 이로 인해 동일한 밝기에서 발광소자 패키지의 크기를 줄일 수 있다.
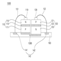
도 1은 본 발명의 일 실시예에 따른 발광소자 패키지를 도시한 단면도이다.
도 2는 본 발명의 다른 실시예에 따른 발광소자 패키지를 도시한 단면도이다.
도 3은 본 발명의 또 다른 실시예에 따른 발광소자 패키지를 도시한 단면도이다.
도 4는 본 발명의 또 다른 실시예에 따른 발광소자 패키지를 도시한 단면도이다.
도 5는 본 발명의 또 다른 실시예에 따른 발광소자 패키지를 도시한 단면도이다.
도 6은 실시 예에 따른 발광 소자를 갖는 표시 장치의 분해 사시도이다.
도 7은 실시 예에 따른 발광 소자를 갖는 표시 장치를 나타낸 도면이다.
도 8은 실시 예에 따른 발광소자를 갖는 조명장치의 분해 사시도이다.
본 발명의 이점 및 특징, 그리고 그것들을 달성하는 방법은 첨부되는 도면과 함께 상세하게 후술되어 있는 실시예들을 참조하면 명확해질 것이다. 그러나 본 발명은 이하에서 개시되는 실시예들에 한정되는 것이 아니라 서로 다른 다양한 형태로 구현될 수 있으며, 단지 본 실시예들은 본 발명의 개시가 완전하도록 하고, 본 발명이 속하는 기술분야에서 통상의 지식을 가진 자에게 발명의 범주를 완전하게 알려주기 위해 제공되는 것이며, 본 발명은 청구항의 범주에 의해 정의될 뿐이다. 명세서 전체에 걸쳐 동일 참조 부호는 동일 구성 요소를 지칭한다.
공간적으로 상대적인 용어인 "아래(below)", "아래(beneath)", "하부(lower)", "위(above)", "상부(upper)" 등은 도면에 도시되어 있는 바와 같이 하나의 구성 요소들과 다른 구성 요소들과의 상관관계를 용이하게 기술하기 위해 사용될 수 있다. 공간적으로 상대적인 용어는 도면에 도시되어 있는 방향에 더하여 사용시 또는 동작 시 구성요소의 서로 다른 방향을 포함하는 용어로 이해되어야 한다. 예를 들면, 도면에 도시되어 있는 구성요소를 뒤집을 경우, 다른 구성요소의 "아래(below)"또는 "아래(beneath)"로 기술된 구성요소는 다른 구성요소의 "위(above)"에 놓여질 수 있다. 따라서, 예시적인 용어인 "아래"는 아래와 위의 방향을 모두 포함할 수 있다. 구성요소는 다른 방향으로도 배향될 수 있고, 이에 따라 공간적으로 상대적인 용어들은 배향에 따라 해석될 수 있다.
본 명세서에서 사용된 용어는 실시예들을 설명하기 위한 것이며 본 발명을 제한하고자 하는 것은 아니다. 본 명세서에서, 단수형은 문구에서 특별히 언급하지 않는 한 복수형도 포함한다. 명세서에서 사용되는 "포함한다(comprises)" 및/또는 "포함하는(comprising)"은 언급된 구성요소, 단계 및/또는 동작은 하나 이상의 다른 구성요소, 단계 및/또는 동작의 존재 또는 추가를 배제하지 않는다.
다른 정의가 없다면, 본 명세서에서 사용되는 모든 용어(기술 및 과학적 용어를 포함)는 본 발명이 속하는 기술분야에서 통상의 지식을 가진 자에게 공통적으로 이해될 수 있는 의미로 사용될 수 있을 것이다. 또 일반적으로 사용되는 사전에 정의되어 있는 용어들은 명백하게 특별히 정의되어 있지 않은 한 이상적으로 또는 과도하게 해석되지 않는다.
도면에서 각 구성요소의 두께나 크기는 설명의 편의 및 명확성을 위하여 과장되거나 생략되거나 또는 개략적으로 도시되었다. 또한 각 구성요소의 크기와 면적은 실제크기나 면적을 전적으로 반영하는 것은 아니다.
또한, 실시예의 구조를 설명하는 과정에서 언급하는 각도와 방향은 도면에 기재된 것을 기준으로 한다. 명세서에서 실시예를 이루는 구조에 대한 설명에서, 각도에 대한 기준점과 위치관계를 명확히 언급하지 않은 경우, 관련 도면을 참조하도록 한다.
이하, 본 발명의 실시예들에 의하여 발광소자 패키지를 설명하기 위한 도면들을 참고하여 본 발명에 대해 설명하도록 한다.
도 1은 본 발명의 일 실시예에 따른 발광소자 패키지를 도시한 단면도이다.
도 1을 참조하면, 실시예에 따른 발광소자 패키지(100)는 광을 생성하고 서로 인접하여 배치되는 적어도 2개의 발광소자(110)(120), 발광소자(110)(120)가 안착되고 도전성 재질인 통전부(130)와, 발광소자(110)(120)에 전원을 공급하는 적어도 2개의 전극(140)을 포함하고, 2개의 발광소자(110)(120)는 서로 다른 극성의 반도체층이 통전부(130)에 접한다.
전극(140)은 발광소자(110)(120)에 전기적으로 연결되어, 발광소자(110)(120)에 전원을 공급하게 된다.
전극(140)은 적어도 서로 다른 극성을 가지는 2개의 전극(141)(142)을 포함할 수 있다. 예를 들면, 전극은 제1전극(141)과 제2전극(142)을 포함할 수 있다.
각각의 전극(141)(142)은 금속 재질, 예를 들어, 티타늄(Ti), 구리(Cu), 니켈(Ni), 금(Au), 크롬(Cr), 탄탈늄(Ta), 백금(Pt), 주석(Sn), 은(Ag), 인(P), 알루미늄(Al), 인듐(In), 팔라듐(Pd), 코발트(Co), 실리콘(Si), 게르마늄(Ge), 하프늄(Hf), 루테늄(Ru), 철(Fe) 중에서 하나 이상의 물질 또는 합금을 포함할 수 있다. 또한, 각각의 전극(141)(142)은 단층 또는 다층 구조를 가지도록 형성될 수 있고, 이에 대해 한정하지는 않는다.
각각의 전극(141)(142)은 절연체에 의해 절연될 수 있다. 예를 들면, 절연재질은 몸체에 구비될 수 있다. 또한, 도 1에서와 같이, 제1전극(141)과 제2전극(142)은 기판(160)에 구비될 수 있다.
제1전극(141)과 제2전극(142)은 서로 이격되어 서로 전기적으로 분리될 수 있다. 제1전극(141)과 제2전극(142)은 발광소자(110)(120)와 전도성을 갖는 재료를 통해서 전기적으로 연결될 수 있다. 따라서 각각의 전극(141)(142)에 전원이 연결되면 발광소자(110)(120)에 전원이 인가될 수 있다.
기판(160)는 인쇄회로기판(PCB)일 수 있다. 각각의 전극(141)(142)은 기판(160)의 상부에 배치되거나, 기판(160)에 매몰되어 일부가 노출될 수 있다. 이에 한정을 두지 않는다.
통전부(130)는 발광소자(110)(120)가 안착되는 공간을 제공한다. 즉, 통전부(130)는 적어도 발광소자(110)(120)의 하면 보다 넓은 면적을 가지는 것이 바람직하다.
통전부(130)는 도전성 재질로 형성되어서, 서로 인접한 발광소자(110)(120)들 사이를 전기적으로 연결시킨다. 통전부(130)는 예를 들면, 금속 재질, 티타늄(Ti), 구리(Cu), 니켈(Ni), 금(Au), 크롬(Cr), 탄탈늄(Ta), 백금(Pt), 주석(Sn), 은(Ag), 인(P), 알루미늄(Al), 인듐(In), 팔라듐(Pd), 코발트(Co), 실리콘(Si), 게르마늄(Ge), 하프늄(Hf), 루테늄(Ru), 철(Fe) 중에서 하나 이상의 물질 또는 합금을 포함할 수 있고, 단층 또는 다층 구조를 가지도록 형성될 수 있고, 이에 대해 한정하지는 않는다.
통전부(130)는 제1전극(141) 및 제2전극(142)과 서로 이격되어 전기적으로 분리될 수 있다. 예를 들면, 통전부(130)는 제1전극(141) 및 제2전극(142)과 절연물질에 의해 이격될 수 있다. 바람직하게는 도 1에서 도시하는 바와 같이, 제1전극(141) 및 제2전극(142)과 이격되어서 기판(160)의 상부에 배치되거나, 기판(160)에 매몰되어 일부가 노출될 수 있다. 이에 한정을 두지 않는다.
발광소자(110)(120)는 예를 들면, 제1발광소자(110)와 제2발광소자(120)를 구비할 수 있다. 광을 생성하고 서로 인접하여 배치되는 2개가 배치될 수 있다. 적어도 2개의발광소자(110)(120)는 서로 쇼트를 방지할 정도로 이격되어 배치되거나, 발광소자(110)(120)들 사이에 절연체가 배치될 수 있다. 이는 후술한다.
발광소자(110)(120)는 적색, 녹색, 청색, 백색 등의 빛을 방출하는 발광소자 또는 자외선을 방출하는 UV(Ultra Violet) 발광소자일 수 있으나, 이에 대해 한정하지는 않는다.
또한, 발광소자(110)(120)는 서로 다른 파장의 빛을 방출할 수 있다. 즉, 제1발광소자(110)와 제2발광소자(120)는 서로 다른 파장의 빛을 방출하여서, 서로 혼색되어 백색의 광을 방출할 수 있다.
제1발광소자(110)와 제2발광소자(120)는 적어도 제1극성으로 도핑된 제1반도체층(111)과, 제1극성과 다른 제2극성으로 도핑된 제2반도체층(115)과, 제1반도체층(111)과 제2반도체층(115) 사이에 배치되는 활성층(113)을 포함할 수 있다.
제1반도체층(111)(121)은 p형 반도체층으로 구현되어, 활성층(113)(123)에 정공을 주입할 수 있다. 예를 들어 p형 반도체층은 InxAlyGa1-x-yN (0≤x≤1, 0≤y≤1, 0≤x+y≤1)의 조성식을 갖는 반도체 재료, 예를 들어 GaN, AlN, AlGaN, InGaN, InN, InAlGaN, AlInN 등에서 선택될 수 있으며, Mg, Zn, Ca, Sr, Ba 등의 p형 도펀트가 도핑될 수 있다. 또한, 제1반도체층(111)(121)은 (AlXGa1-X)0.5In0.5P 의 조성식을 갖는 반도체 재료에서 선택될 수도 있다.
제1반도체층(111)(121) 상에는 활성층(113)(123)이 형성될 수 있다. 활성층(113)(123)은 전자와 정공이 재결합되는 영역으로, 전자와 정공이 재결합함에 따라 낮은 에너지 준위로 천이하며, 그에 상응하는 파장을 가지는 빛을 생성할 수 있다.
활성층(113)(123)은 예를 들어, InxAlyGa1-x-yN (0≤x≤1, 0≤y≤1, 0≤x+y≤1)의 조성식을 가지는 반도체 재료를 포함하여 형성할 수 있으며, 단일 양자 우물 구조 또는 다중 양자 우물 구조(MQW: Multi Quantum Well)로 형성될 수 있다. 또한, 활성층(113)(123)은 (AlXGa1-X)0.5In0.5P 의 조성식을 갖는 반도체 재료에서 선택될 수도 있다.
따라서, 더 많은 전자가 양자우물층의 낮은 에너지 준위로 모이게 되며, 그 결과 전자와 정공의 재결합 확률이 증가 되어 발광효과가 향상될 수 있다. 또한, 양자선(Quantum wire)구조 또는 양자점(Quantum dot)구조를 포함할 수도 있다.
활성층(113)(123) 상에는 제2반도체층(115)(125)이 형성될 수 있다. 제2반도체층(115)(125)은 n형 반도체층으로 구현될 수 있으며, n형 반도체층은 예컨대, InxAlyGa1-x-yN (0≤x≤1, 0 ≤y≤1, 0≤x+y≤1)의 조성식을 갖는 반도체 재료, 예를 들어 GaN, AlN, AlGaN, InGaN, InN, InAlGaN, AlInN 등에서 선택될 수 있으며, 예를 들어, Si, Ge, Sn, Se, Te와 같은 n형 도펀트가 도핑될 수 있다. 또한, 제2반도체층(115)(125)은 (AlXGa1-X)0.5In0.5P 의 조성식을 갖는 반도체 재료에서 선택될 수도 있다.
발광소자의 표면 일부 영역 또는 전체 영역에 대해 소정의 식각 방법으로 광 추출효율을 향상시키기 위한 요철 패턴(미도시)을 형성해 줄 수 있다.
이때, 실시예의 발광소자들(110)(120)은 서로 다른 극성을 반도체층이 통전부(130)에 접하게 배치될 수 있다. 즉, 제1발광소자(110)와 제2발광소자(120)는 서로다른 극성을 가지는 반도체층이 통전부(130)에 직접 접촉되어서 전기적으로 직렬로 연결된다.
예를 들면, 제1발광소자(110)의 제1반도체층(111)이 통전부(130)와 접하고, 제2발광소자(120)의 제2반도체층(125)이 통전부(130)와 접하게 배치될 수 있다. 물론, 제1발광소자(110)의 제1반도체층(111)와 제2발광소자(120)의 제1반도체층(121)은 같은 극성을 가지는 도펀트로 도핑된 것을 전제로 한다. 이때, 제1발광소자(110)의 제2반도체층(115)은 제1전극(141)과 전기적으로 연결되고, 제2발광소자(120)의 제1반도체층(121)은 제2전극(142)과 전기적으로 연결된다.
제1발광소자(110)의 제2반도체층(115)이 제1전극(141)과 전기적으로 연결되는 것은 도 1에서와 같이 제1와이어(151)에 의해 연결될 수 있고, 제1발광소자(110)의 제2반도체층(115) 상에는 전기적 연결을 돕는 제1발광소자(110) 전극(119)이 형성될 수 있고, 제2발광소자(120)의 제1반도체층(121)이 제2전극(142)과 전기적으로 연결되는 것은 제2와이어(152)에 의해 연결될 수 있고, 제2발광소자(120)의 제1반도체층(121) 상에는 전기적 연결을 돕는 제2발광소자(120) 전극(129)이 형성될 수 있다.
다수의 발광소자를 사용할 때 칩마다 고유의 VF와 다른 밝기 때문에 병렬연결보다는 직렬연결이 사용되고 있다. 그런데, 발광소자 들의 직렬연결 시에 발광소자의 아래와 위에서 전원을 공급하는 방식의 경우, 전기적 쇼트를 방지하기 위해서, 하측에 형성되는 전극들 사이에 간극이 발생하게 되고, 이는 발광소자 사이의 간극으로 나타나게 되어서, 결국, 발광소자 패키지의 단위 면적당 발광소자의 개수가 줄어들며, 밝기가 감소되는 결과를 가져온다.
그러나, 실시예는 통전부(130) 내에 제1발광소자(110)와 제2발광소자(120)가 배치되고, 제1발광소자(110)와 제2발광소자(120)의 통전부(130)와 접하는 면이 극성이 서로 다르게 배치됨으로써, 다수의 발광소자(110)(120)를 직렬로 연결 시에 발광소자 사이의 간극이 줄어드는 이점이 있다. 또한, 다수의 발광소자들(110)(120) 사이의 간극이 좁혀지므로, 발광소자 패키지의 단위면적당 발광소자의 개수도 늘어나게 되고, 결론적으로 발광소자 패키지의 밝기 및 발광효율이 향상되는 이점이 있다. 또한, 이로 인해 동일한 밝기에서 발광소자 패키지의 크기를 줄일 수 있다.
제1발광소자(110)와 제2발광소자(120)는 서로 다른 크기, 출력을 가질 수도 있으나, 바람직하게는 동일한 크기, 출력을 가진다.
그리고, 제1발광소자(110)와 제2발광소자(120)에서 발생되는 광의 균일성을 위해서, 제1발광소자(110)의 활성층과, 제2발광소자(120)의 활성층의 높이는 동일하게 형성될 수 있다. 여기서 활성층의 높이는 통전부(130)에서 활성층의 중심부 사이의 거리를 의미한다.
발광소자와 통전부(130)의 전기적 전달을 효율적으로 하기 위해서, 발광소자는 통전부(130)와 접하는 면에 보조전극층(117)(127)을 더 포함할 수 있다.
보조전극층(117)(127)은 도전성 재질을 포함할 수 있다.
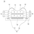
도 2는 본 발명의 다른 실시예에 따른 발광소자 패키지를 도시한 단면도이다.
도 2를 참조하면, 실시예에 따른 발광소자 패키지(100A)는 도 1의 실시예와 비교하면, 절연체(180)와, 몰딩재(170), 형광체(171)를 더 포함한다. 이하에서는 위에서 설명한 동일한 구성요소에 대한 설명은 생략하고, 차이점 위주로 설명한다.
절연체(180)는 제1발광소자(110)와 제2발광소자(120) 사이에 배치되어서, 제1발광소자(110)와 제2발광소자(120)의 전기적 쇼트를 방지한다. 절연체(180)는 절연재질, 예를 들면, 합성수지 계열의 재질이 선택될 수 있다. 즉, 절연체(180)는 제1발광소자(110)의 측면과 제2발광소자(120)의 측면 사이에 배치된다.
몰딩재(170)는 발광소자를 외부로부터 격리시킨다. 몰딩재(170)는 발광소자를 외부에서 격리시켜서 외부의 침습 등에서 발광소자를 보호한다.
몰딩재(170)는 수밀성, 내식성, 절연성이 우수한 실리콘, 에폭시, 및 기타 수지 재질로 형성될 수 있으며, 자외선 또는 열 경화하는 방식으로 형성될 수 있다.
몰딩재(170)는 바람직하게는 발광소자의 상부와 측면을 덮는 형상을 가지고, 반구 형상 상부가 오목한 형상, 상부가 평평한 형상을 가질 수 있다. 몰딩재(170)의 형상이 반구 형상인 경우 외부로 방출되는 광의 지향각이 커지고 광의 집중성은 감소하게 된다. 반대로, 몰딩재(170)의 형상이 상부가 오목한 형상인 경우 외부로 방출되는 광의 지향각이 작아지고 광의 집중성은 증가하게 된다.
몰딩재(170)는 발광소자에서 발생하는 광의 파장을 변환시키는 다수의 형광체(171)를 더 포함할 수 있으며, 형광체(171)는 발광소자에서 방출되는 광의 파장에 종류가 선택되어 발광소자 패키지가 백색광을 구현하도록 할 수 있다.
이러한 형광체(171)는 발광소자에서 방출되는 광의 파장에 따라 청색 발광 형광체, 청록색 발광 형광체, 녹색 발광 형광체, 황녹색 발광 형광체, 황색 발광 형광체, 황적색 발광 형광체, 오렌지색 발광 형광체, 및 적색 발광 형광체 중 하나가 적용될 수 있다.
즉, 형광체(171)는 발광소자에서 방출되는 제1 빛을 가지는 광에 의해 여기 되어 제2 빛을 생성할 수 있다. 예를 들어, 발광소자가 청색 발광 다이오드이고 형광체(171)가 황색 형광체인 경우, 황색 형광체는 청색 빛에 의해 여기되어 황색 빛을 방출할 수 있으며, 청색 발광 다이오드에서 발생한 청색 빛 및 청색 빛에 의해 여기 되어 발생한 황색 빛이 혼색됨에 따라 발광소자 패키지는 백색 빛을 제공할 수 있다.
이와 유사하게, 발광소자가 녹색 발광 다이오드인 경우는 magenta 형광체(171) 또는 청색과 적색의 형광체(171)를 혼용하는 경우, 발광소자가 적색 발광 다이오드인 경우는 Cyan형광체 또는 청색과 녹색 형광체를 혼용하는 경우를 예로 들 수 있다.
이러한 형광체(171)는 YAG계, TAG계, 황화물계, 실리케이트계, 알루미네이트계, 질화물계, 카바이드계, 니트리도실리케이트계, 붕산염계, 불화물계, 인산염계 등의 공지된 형광체(171)일 수 있다.
도 3은 본 발명의 또 다른 실시예에 따른 발광소자 패키지를 도시한 단면도이다.
실시예에 따른 발광소자 패키지(100B)는 도 1의 실시예와 비교하면, 통전부(130)의 형상에 차이점이 존재한다.
제1발광소자(110)가 접하는 통전부(130)의 상면과, 제2발광소자(120)가 접하는 통전부(130)이 상면의 높이는 서로 다를 수 있다. 즉, 제1발광소자(110)와 제2발광소자(120)의 크기가 다를 경우, 제1발광소자(110)의 활성층(113)의 높이와 제2발광소자(120) 활성층(123)의 높이는 서로 다를 수 있으므로, 이를 조정하기 위함이다. 따라서, 광이 동일한 높이에서 출광되어서 발광소자 패키지의 광 균일성을 확보할 수 있다.
도 4는 본 발명의 또 다른 실시예에 따른 발광소자 패키지를 도시한 단면도이다.
실시예에 따른 발광소자 패키지(100C)는 도 1의 실시예와 비교하면, 제3발광소자(110C)와 제4발광소자(120C)와 제2통전부(130)를 더 포함한다.
제2통전부(130)에는 제3발광소자(110C)와 제4발광소자(120C)가 제1발광소자(110) 및 제2발광소자(120)와 같이 배치된다. 제2통전부(130)는 통전부(130)와 동일한 구성을 가진다.
제2발광소자(120)의 제1반도체층(121)이 제3발광소자(110C)의 제2반도체층(115C)와 전기적으로 연결되고, 제4발광소자(120C)의 제1반도체층(121C)이 제2전극(142)과 전기적으로 연결되게 된다.
물론, 발광소자의 개수가 증가하는 경우, 위에서 설명한 바와 같이 연결될 수 있다.
도 5을 참조하면, 실시예에 따른 발광소자 패키지는 발광소자 패키지(100D)는 내부에 각각의 전극(141)(142)이 노출되는 캐비티를 가지는 몸체(190)와, 몸체(190)의 캐비티에 발광소자가 위치하고, 발광소자는 각각의 전극(141)(142)과 전기적으로 연결된다.
각각의 전극(141)(142)은 일단이 몸체(190)의 외부로 노출되어 외부의 전원과 연결되게 된다.
몸체(190)는 폴리프탈아미드(PPA:Polyphthalamide)와 같은 수지 재질, 실리콘(Si), 알루미늄(Al), 알루미늄 나이트라이드(AlN), 액정폴리머(PSG, photo sensitive glass), 폴리아미드9T(PA9T), 신지오택틱폴리스티렌(SPS), 금속 재질, 사파이어(Al2O3), 베릴륨 옥사이드(BeO), 인쇄회로전극부(PCB, Printed Circuit Board) 중 적어도 하나로 형성될 수 있다. 몸체(190)는 사출 성형, 에칭 공정 등에 의해 형성될 수 있으나 이에 대해 한정하지는 않는다.
몸체(190)는 바닥을 형성하는 바닥부(191)와 캐비티가 형성됨으로써, 캐비티를 둘러싸는 벽부(192)가 형성된다. 벽부(192)의 내측면은 경사면이 형성될 수 있다. 이러한 경사면의 각도에 따라 발광소자에서 방출되는 광의 반사각이 달라질 수 있으며, 이에 따라 외부로 방출되는 광의 지향각을 조절할 수 있다.
광의 지향각이 줄어들수록 발광소자에서 외부로 방출되는 광의 집중성은 증가하고, 반대로 광의 지향각이 클수록 발광소자에서 외부로 방출되는 광의 집중성은 감소한다.
몰딩재(170)는 캐비티 내에 배치된다. 몰딩재(170)의 상면은 벽부(192)의 상면과 평행하게 형성되는 것이 바람직하다.
실시예에 따른 발광 소자는 조명 장치에 적용될 수 있다. 상기 조명 시스템은 복수의 발광 소자가 어레이된 구조를 포함하며, 도 6 및 도 7에 도시된 표시 장치, 도 8에 도시된 조명 장치를 포함하고, 조명등, 신호등, 차량 전조등, 전광판 등이 포함될 수 있다.
도 6는 실시 예에 따른 발광 소자를 갖는 표시 장치의 분해 사시도이다.
도 6를 참조하면, 실시예에 따른 표시 장치(1000)는 도광판(1041)과, 상기 도광판(1041)에 빛을 제공하는 광원 모듈(1031)와, 상기 도광판(1041) 아래에 반사 부재(1022)와, 상기 도광판(1041) 위에 광학 시트(1051)와, 상기 광학 시트(1051) 위에 표시 패널(1061)과, 상기 도광판(1041), 광원 모듈(1031) 및 반사 부재(1022)를 수납하는 바텀 커버(1011)를 포함할 수 있으나, 이에 한정되지 않는다.
상기 바텀 커버(1011), 반사시트(1022), 도광판(1041), 광학 시트(1051)는 라이트유닛(1050)으로 정의될 수 있다.
상기 도광판(1041)은 빛을 확산시켜 면광원화 시키는 역할을 한다. 상기 도광판(1041)은 투명한 재질로 이루어지며, 예를 들어, PMMA(polymethylmethacrylate)와 같은 아크릴 수지 계열, PET(polyethylene terephthalate), PC(poly carbonate), COC(cycloolefin copolymer) 및 PEN(polyethylene naphtha late) 수지 중 하나를 포함할 수 있다.
상기 광원 모듈(1031)은 상기 도광판(1041)의 적어도 일 측면에 빛을 제공하며, 궁극적으로는 표시 장치의 광원으로써 작용하게 된다.
상기 광원 모듈(1031)은 적어도 하나를 포함하며, 상기 도광판(1041)의 일 측면에서 직접 또는 간접적으로 광을 제공할 수 있다. 상기 광원 모듈(1031)은 기판(1033)과 상기에 개시된 실시 예에 따른 발광 발광 소자(1035)를 포함하며, 상기 발광 소자(1035)는 상기 기판(1033) 상에 소정 간격으로 어레이될 수 있다.
상기 기판(1033)은 회로패턴(미도시)을 포함하는 인쇄회로기판(PCB, Printed Circuit Board)일 수 있다. 다만, 상기 기판(1033)은 일반 PCB 뿐 아니라, 메탈 코어 PCB(MCPCB, Metal Core PCB), 연성 PCB(FPCB, Flexible PCB) 등을 포함할 수도 있으며, 이에 대해 한정하지는 않는다. 상기 발광 소자(1035)는 상기 바텀 커버(1011)의 측면 또는 방열 플레이트 상에 탑재될 경우, 상기 기판(1033)은 제거될 수 있다. 여기서, 상기 방열 플레이트의 일부는 상기 바텀 커버(1011)의 상면에 접촉될 수 있다.
그리고, 상기 복수의 발광 소자(1035)는 상기 기판(1033) 상에 빛이 방출되는 출사면이 상기 도광판(1041)과 소정 거리 이격되도록 탑재될 수 있으며, 이에 대해 한정하지는 않는다. 상기 발광 소자(1035)는 상기 도광판(1041)의 일측 면인 입광부에 광을 직접 또는 간접적으로 제공할 수 있으며, 이에 대해 한정하지는 않는다.
상기 도광판(1041) 아래에는 상기 반사 부재(1022)가 배치될 수 있다. 상기 반사 부재(1022)는 상기 도광판(1041)의 하면으로 입사된 빛을 반사시켜 위로 향하게 함으로써, 상기 라이트유닛(1050)의 휘도를 향상시킬 수 있다. 상기 반사 부재(1022)는 예를 들어, PET, PC, PVC 레진 등으로 형성될 수 있으나, 이에 대해 한정하지는 않는다. 상기 반사 부재(1022)는 상기 바텀 커버(1011)의 상면일 수 있으며, 이에 대해 한정하지는 않는다.
상기 바텀 커버(1011)는 상기 도광판(1041), 광원 모듈(1031) 및 반사 부재(1022) 등을 수납할 수 있다. 이를 위해, 상기 바텀 커버(1011)는 상면이 개구된 박스(box) 형상을 갖는 수납부(1012)가 구비될 수 있으며, 이에 대해 한정하지는 않는다. 상기 바텀 커버(1011)는 탑 커버와 결합될 수 있으며, 이에 대해 한정하지는 않는다.
상기 바텀 커버(1011)는 금속 재질 또는 수지 재질로 형성될 수 있으며, 프레스 성형 또는 압출 성형 등의 공정을 이용하여 제조될 수 있다. 또한 상기 바텀 커버(1011)는 열 전도성이 좋은 금속 또는 비 금속 재료를 포함할 수 있으며, 이에 대해 한정하지는 않는다.
상기 표시 패널(1061)은 예컨대, LCD 패널로서, 서로 대향되는 투명한 재질의 제 1 및 제 2기판, 그리고 제 1 및 제 2기판 사이에 개재된 액정층을 포함한다. 상기 표시 패널(1061)의 적어도 일면에는 편광판이 부착될 수 있으며, 이러한 편광판의 부착 구조로 한정하지는 않는다. 상기 표시 패널(1061)은 광학 시트(1051)를 통과한 광에 의해 정보를 표시하게 된다. 이러한 표시 장치(1000)는 각 종 휴대 단말기, 노트북 컴퓨터의 모니터, 랩탑 컴퓨터의 모니터, 텔레비젼 등에 적용될 수 있다.
상기 광학 시트(1051)는 상기 표시 패널(1061)과 상기 도광판(1041) 사이에 배치되며, 적어도 한 장의 투광성 시트를 포함한다. 상기 광학 시트(1051)는 예컨대 확산 시트, 수평 및 수직 프리즘 시트, 및 휘도 강화 시트 등과 같은 시트 중에서 적어도 하나를 포함할 수 있다. 상기 확산 시트는 입사되는 광을 확산시켜 주고, 상기 수평 또는/및 수직 프리즘 시트는 입사되는 광을 표시 영역으로 집광시켜 주며, 상기 휘도 강화 시트는 손실되는 광을 재사용하여 휘도를 향상시켜 준다. 또한 상기 표시 패널(1061) 위에는 보호 시트가 배치될 수 있으며, 이에 대해 한정하지는 않는다.
여기서, 상기 광원 모듈(1031)의 광 경로 상에는 광학 부재로서, 상기 도광판(1041), 및 광학 시트(1051)를 포함할 수 있으며, 이에 대해 한정하지는 않는다.
도 7는 실시 예에 따른 발광 소자를 갖는 표시 장치를 나타낸 도면이다.
도 7를 참조하면, 표시 장치(1100)는 바텀 커버(1152), 상기에 개시된 발광 소자(1124)가 어레이된 기판(1120), 광학 부재(1154), 및 표시 패널(1155)을 포함한다.
상기 기판(1120)과 상기 발광 소자(1124)는 광원 모듈(1160)로 정의될 수 있다. 상기 바텀 커버(1152), 적어도 하나의 광원 모듈(1160), 광학 부재(1154)는 라이트유닛(1150)으로 정의될 수 있다. 상기 바텀 커버(1152)에는 수납부(1153)를 구비할 수 있으며, 이에 대해 한정하지는 않는다. 상기의 광원 모듈(1160)은 기판(1120) 및 상기 기판(1120) 위에 배열된 복수의 발광 소자(1124)를 포함한다.
여기서, 상기 광학 부재(1154)는 렌즈, 도광판, 확산 시트, 수평 및 수직 프리즘 시트, 및 휘도 강화 시트 등에서 적어도 하나를 포함할 수 있다. 상기 도광판은 PC 재질 또는 PMMA(polymethyl methacrylate) 재질로 이루어질 수 있으며, 이러한 도광판은 제거될 수 있다. 상기 확산 시트는 입사되는 광을 확산시켜 주고, 상기 수평 및 수직 프리즘 시트는 입사되는 광을 표시 영역으로 집광시켜 주며, 상기 휘도 강화 시트는 손실되는 광을 재사용하여 휘도를 향상시켜 준다.
상기 광학 부재(1154)는 상기 광원 모듈(1160) 위에 배치되며, 상기 광원 모듈(1160)로부터 방출된 광을 면 광원하거나, 확산, 집광 등을 수행하게 된다.
도 8은 실시 예에 따른 발광소자를 갖는 조명장치의 분해 사시도이다.
도 8을 참조하면, 실시 예에 따른 조명 장치는 커버(2100), 광원 모듈(2200), 방열체(2400), 전원 제공부(2600), 내부 케이스(2700), 소켓(2800)을 포함할 수 있다. 또한, 실시 예에 따른 조명 장치는 부재(2300)와 홀더(2500) 중 어느 하나 이상을 더 포함할 수 있다. 상기 광원 모듈(2200)은 실시 예에 따른 발광소자를 포함할 수 있다.
예컨대, 상기 커버(2100)는 벌브(bulb) 또는 반구의 형상을 가지며, 속이 비어 있고, 일 부분이 개구된 형상으로 제공될 수 있다. 상기 커버(2100)는 상기 광원 모듈(2200)과 광학적으로 결합될 수 있다. 예를 들어, 상기 커버(2100)는 상기 광원 모듈(2200)로부터 제공되는 빛을 확산, 산란 또는 여기 시킬 수 있다. 상기 커버(2100)는 일종의 광학 부재일 수 있다. 상기 커버(2100)는 상기 방열체(2400)와 결합될 수 있다. 상기 커버(2100)는 상기 방열체(2400)와 결합하는 결합부를 가질 수 있다.
상기 커버(2100)의 내면에는 유백색 도료가 코팅될 수 있다. 유백색의 도료는 빛을 확산시키는 확산재를 포함할 수 있다. 상기 커버(2100)의 내면의 표면 거칠기는 상기 커버(2100)의 외면의 표면 거칠기보다 크게 형성될 수 있다. 이는 상기 광원 모듈(2200)로부터의 빛이 충분히 산란 및 확산되어 외부로 방출시키기 위함이다.
상기 커버(2100)의 재질은 유리(glass), 플라스틱, 폴리프로필렌(PP), 폴리에틸렌(PE), 폴리카보네이트(PC) 등일 수 있다. 여기서, 폴리카보네이트는내광성, 내열성, 강도가 뛰어나다. 상기 커버(2100)는 외부에서 상기 광원 모듈(2200)이 보이도록 투명할 수 있고, 불투명할 수 있다. 상기 커버(2100)는 블로우(blow) 성형을 통해 형성될 수 있다.
상기 광원 모듈(2200)은 상기 방열체(2400)의 일 면에 배치될 수 있다. 따라서, 상기 광원 모듈(2200)로부터의 열은 상기 방열체(2400)로 전도된다. 상기 광원 모듈(2200)은 발광소자(2210), 연결 플레이트(2230), 커넥터(2250)를 포함할 수 있다.
상기 부재(2300)는 상기 방열체(2400)의 상면 위에 배치되고, 복수의 발광소자(2210)들과 커넥터(2250)이 삽입되는 가이드홈(2310)들을 갖는다. 상기 가이드홈(2310)은 상기 발광소자(2210)의 기판 및 커넥터(2250)와 대응된다.
상기 부재(2300)의 표면은 빛 반사 물질로 도포 또는 코팅된 것일 수 있다. 예를 들면, 상기 부재(2300)의 표면은 백색의 도료로 도포 또는 코팅된 것일 수 있다. 이러한 상기 부재(2300)는 상기 커버(2100)의 내면에 반사되어 상기 광원 모듈(2200)측 방향으로 되돌아오는 빛을 다시 상기 커버(2100) 방향으로 반사한다. 따라서, 실시 예에 따른 조명 장치의 광 효율을 향상시킬 수 있다.
상기 부재(2300)는 예로서 절연 물질로 이루어질 수 있다. 상기 광원 모듈(2200)의 연결 플레이트(2230)는 전기 전도성의 물질을 포함할 수 있다. 따라서, 상기 방열체(2400)와 상기 연결 플레이트(2230) 사이에 전기적인 접촉이 이루어질 수 있다. 상기 부재(2300)는 절연 물질로 구성되어 상기 연결 플레이트(2230)와 상기 방열체(2400)의 전기적 단락을 차단할 수 있다. 상기 방열체(2400)는 상기 광원 모듈(2200)로부터의 열과 상기 전원 제공부(2600)로부터의 열을 전달받아 방열한다.
상기 홀더(2500)는 내부 케이스(2700)의 절연부(2710)의 수납홈(2719)을 막는다. 따라서, 상기 내부 케이스(2700)의 상기 절연부(2710)에 수납되는 상기 전원 제공부(2600)는 밀폐된다. 상기 홀더(2500)는 가이드 돌출부(2510)를 갖는다. 상기 가이드 돌출부(2510)는 상기 전원 제공부(2600)의 돌출부(2610)가 관통하는 홀을 구비할 수 있다.
상기 전원 제공부(2600)는 외부로부터 제공받은 전기적 신호를 처리 또는 변환하여 상기 광원 모듈(2200)로 제공한다. 상기 전원 제공부(2600)는 상기 내부 케이스(2700)의 수납홈(2719)에 수납되고, 상기 홀더(2500)에 의해 상기 내부 케이스(2700)의 내부에 밀폐된다.
상기 전원 제공부(2600)는 돌출부(2610), 가이드부(2630), 베이스(2650), 돌출부(2670)를 포함할 수 있다.
상기 가이드부(2630)는 상기 베이스(2650)의 일 측에서 외부로 돌출된 형상을 갖는다. 상기 가이드부(2630)는 상기 홀더(2500)에 삽입될 수 있다. 상기 베이스(2650)의 일 면 위에 다수의 부품이 배치될 수 있다. 다수의 부품은 예를 들어, 외부 전원으로부터 제공되는 교류 전원을 직류 전원으로 변환하는 직류변환장치, 상기 광원 모듈(2200)의 구동을 제어하는 구동칩, 상기 광원 모듈(2200)을 보호하기 위한 ESD(ElectroStatic discharge) 보호 소자 등을 포함할 수 있으나 이에 대해 한정하지는 않는다.
상기 돌출부(2670)는 상기 베이스(2650)의 다른 일 측에서 외부로 돌출된 형상을 갖는다. 상기 돌출부(2670)는 상기 내부 케이스(2700)의 연결부(2750) 내부에 삽입되고, 외부로부터의 전기적 신호를 제공받는다. 예컨대, 상기 돌출부(2670)는 상기 내부 케이스(2700)의 연결부(2750)의 폭과 같거나 작게 제공될 수 있다. 상기 돌출부(2670)에는 "+ 전선"과 "- 전선"의 각 일 단이 전기적으로 연결되고, "+ 전선"과 "- 전선"의 다른 일 단은 소켓(2800)에 전기적으로 연결될 수 있다.
상기 내부 케이스(2700)는 내부에 상기 전원 제공부(2600)와 함께 몰딩부를 포함할 수 있다. 몰딩부는 몰딩 액체가 굳어진 부분으로서, 상기 전원 제공부(2600)가 상기 내부 케이스(2700) 내부에 고정될 수 있도록 한다.
이상에서는 본 발명의 바람직한 실시예에 대하여 도시하고 설명하였지만, 본 발명은 상술한 특정의 실시예에 한정되지 아니하며, 특허청구범위에서 청구하는 본 발명의 요지를 벗어남이 없이 당해 발명이 속하는 기술분야에서 통상의 지식을 가진 자에 의해 다양한 변형실시가 가능한 것은 물론이고, 이러한 변형실시들은 본 발명의 기술적 사상이나 전망으로부터 개별적으로 이해되어서는 안될 것이다.

Claims (6)

  1. 서로 인접하여 배치되는 적어도 2개의 발광소자와,
    상기 발광소자가 안착되고 도전성 재질인 통전부와,
    상기 발광소자에 전원을 공급하는 적어도 2개의 전극을 포함하고,
    상기 발광소자들은,
    제1극성으로 도핑된 제1반도체층과,
    상기 제1극성과 다른 제2극성으로 도핑된 제2반도체층과,
    상기 제1반도체층과 상기 제2반도체층 사이에 배치되는 활성층을 포함하고,
    상기 2개의 발광소자는 서로 다른 극성을 가지는 반도체층이 상기 통전부에 인접하는 발광소자 패키지.
  2. 제1항에 있어서,
    상기 발광소자들은 제1발광소자와 제2발광소자로 구분되고,
    상기 제1발광소자는 상기 제1반도체층이 통전부와 인접하고,
    상기 제2발광소자는 상기 제2반도체층이 통전부와 인접하는 발광소자 패키지.
  3. 제2항에 있어서,
    상기 제1발광소자와 제2발광소자 사이에 배치되는 절연체를 더 포함하는 발광소자 패키지.
  4. 제2항에 있어서,
    상기 제1발광소자가 접하는 상기 통전부의 상면과, 상기 제2발광소자가 접하는 상기 통전부이 상면의 높이는 서로 다른 발광소자 패키지.
  5. 제1항에 있어서,
    상기 발광소자를 외부와 격리시시키는 몰딩재를 더 포함하는 발광소자 패키지.
  6. 제5항에 있어서,
    상기 몰딩재 내에는 상기 발광소자에서 발생된 빛의 파장을 변환시키는 형광체를 더 포함하는 발광소자 패키지.




KR1020130027217A 2013-03-14 2013-03-14 발광소자 패키지 Ceased KR20140112758A (ko)

Priority Applications (1)

Application Number Priority Date Filing Date Title
KR1020130027217A KR20140112758A (ko) 2013-03-14 2013-03-14 발광소자 패키지

Applications Claiming Priority (1)

Application Number Priority Date Filing Date Title
KR1020130027217A KR20140112758A (ko) 2013-03-14 2013-03-14 발광소자 패키지

Publications (1)

Publication Number Publication Date
KR20140112758A true KR20140112758A (ko) 2014-09-24

Family

ID=51757521

Family Applications (1)

Application Number Title Priority Date Filing Date
KR1020130027217A Ceased KR20140112758A (ko) 2013-03-14 2013-03-14 발광소자 패키지

Country Status (1)

Country Link
KR (1) KR20140112758A (ko)

Cited By (2)

* Cited by examiner, † Cited by third party
Publication number Priority date Publication date Assignee Title
KR20210036021A (ko) * 2019-09-25 2021-04-02 삼성전자주식회사 디스플레이 장치 및 그 제어방법
CN115989540A (zh) * 2020-10-20 2023-04-18 三星显示有限公司 像素和包括其的显示装置

Cited By (2)

* Cited by examiner, † Cited by third party
Publication number Priority date Publication date Assignee Title
KR20210036021A (ko) * 2019-09-25 2021-04-02 삼성전자주식회사 디스플레이 장치 및 그 제어방법
CN115989540A (zh) * 2020-10-20 2023-04-18 三星显示有限公司 像素和包括其的显示装置

Similar Documents

Publication Publication Date Title
KR101946914B1 (ko) 발광소자, 발광소자 패키지 및 라이트 유닛
KR20150039475A (ko) 발광소자
KR101916144B1 (ko) 발광소자, 발광소자 패키지 및 라이트 유닛
KR102131345B1 (ko) 발광소자
KR101929891B1 (ko) 발광소자, 발광소자 패키지 및 라이트 유닛
EP2813758B1 (en) Light emitting module
KR102261945B1 (ko) 발광 소자 및 이를 구비한 조명 장치
KR20150142373A (ko) 발광 소자 및 그를 포함하는 발광소자 패키지
KR20140099075A (ko) 발광소자
KR20140112758A (ko) 발광소자 패키지
KR20150137615A (ko) 발광소자
KR20140099687A (ko) 발광소자
KR101936258B1 (ko) 발광소자, 발광소자 패키지 및 라이트 유닛
KR101896687B1 (ko) 발광 소자 패키지
KR20150028081A (ko) 발광소자
KR20150062530A (ko) 발광소자
KR20140096849A (ko) 발광소자 패키지
KR102119817B1 (ko) 발광소자
KR102020493B1 (ko) 발광소자
KR101865942B1 (ko) 발광소자, 발광소자 패키지 및 라이트 유닛
KR20140076879A (ko) 발광소자 패키지
KR102019830B1 (ko) 발광소자 패키지
KR20150049533A (ko) 발광소자 패키지
KR102187480B1 (ko) 발광 소자 및 발광소자 제조방법
KR102019835B1 (ko) 발광소자

Legal Events

Date Code Title Description
PA0109 Patent application

Patent event code: PA01091R01D

Comment text: Patent Application

Patent event date: 20130314

PG1501 Laying open of application
A201 Request for examination
PA0201 Request for examination

Patent event code: PA02011R01I

Patent event date: 20130314

Comment text: Patent Application

E902 Notification of reason for refusal
PE0902 Notice of grounds for rejection

Comment text: Notification of reason for refusal

Patent event date: 20190117

Patent event code: PE09021S01D

E601 Decision to refuse application
PE0601 Decision on rejection of patent

Patent event date: 20190626

Comment text: Decision to Refuse Application

Patent event code: PE06012S01D

Patent event date: 20190117

Comment text: Notification of reason for refusal

Patent event code: PE06011S01I