KR20140105675A - 친환경 자동차의 직류 입력단 공유 통합 전자전력 제어장치 - Google Patents

친환경 자동차의 직류 입력단 공유 통합 전자전력 제어장치 Download PDF

Info

Publication number
KR20140105675A
KR20140105675A KR1020130019431A KR20130019431A KR20140105675A KR 20140105675 A KR20140105675 A KR 20140105675A KR 1020130019431 A KR1020130019431 A KR 1020130019431A KR 20130019431 A KR20130019431 A KR 20130019431A KR 20140105675 A KR20140105675 A KR 20140105675A
Authority
KR
South Korea
Prior art keywords
voltage
inverter
converter
low
power control
Prior art date
Legal status (The legal status is an assumption and is not a legal conclusion. Google has not performed a legal analysis and makes no representation as to the accuracy of the status listed.)
Granted
Application number
KR1020130019431A
Other languages
English (en)
Other versions
KR101448776B1 (ko
Inventor
윤재훈
전우용
주정홍
Original Assignee
현대자동차주식회사
기아자동차주식회사
Priority date (The priority date is an assumption and is not a legal conclusion. Google has not performed a legal analysis and makes no representation as to the accuracy of the date listed.)
Filing date
Publication date
Application filed by 현대자동차주식회사, 기아자동차주식회사 filed Critical 현대자동차주식회사
Priority to KR1020130019431A priority Critical patent/KR101448776B1/ko
Priority to US14/041,179 priority patent/US9610846B2/en
Priority to DE102013220172.9A priority patent/DE102013220172B4/de
Priority to CN201310475793.8A priority patent/CN104002744B/zh
Publication of KR20140105675A publication Critical patent/KR20140105675A/ko
Application granted granted Critical
Publication of KR101448776B1 publication Critical patent/KR101448776B1/ko
Active legal-status Critical Current
Anticipated expiration legal-status Critical

Links

Images

Classifications

    • BPERFORMING OPERATIONS; TRANSPORTING
    • B60VEHICLES IN GENERAL
    • B60LPROPULSION OF ELECTRICALLY-PROPELLED VEHICLES; SUPPLYING ELECTRIC POWER FOR AUXILIARY EQUIPMENT OF ELECTRICALLY-PROPELLED VEHICLES; ELECTRODYNAMIC BRAKE SYSTEMS FOR VEHICLES IN GENERAL; MAGNETIC SUSPENSION OR LEVITATION FOR VEHICLES; MONITORING OPERATING VARIABLES OF ELECTRICALLY-PROPELLED VEHICLES; ELECTRIC SAFETY DEVICES FOR ELECTRICALLY-PROPELLED VEHICLES
    • B60L58/00Methods or circuit arrangements for monitoring or controlling batteries or fuel cells, specially adapted for electric vehicles
    • B60L58/10Methods or circuit arrangements for monitoring or controlling batteries or fuel cells, specially adapted for electric vehicles for monitoring or controlling batteries
    • B60L58/12Methods or circuit arrangements for monitoring or controlling batteries or fuel cells, specially adapted for electric vehicles for monitoring or controlling batteries responding to state of charge [SoC]
    • BPERFORMING OPERATIONS; TRANSPORTING
    • B60VEHICLES IN GENERAL
    • B60LPROPULSION OF ELECTRICALLY-PROPELLED VEHICLES; SUPPLYING ELECTRIC POWER FOR AUXILIARY EQUIPMENT OF ELECTRICALLY-PROPELLED VEHICLES; ELECTRODYNAMIC BRAKE SYSTEMS FOR VEHICLES IN GENERAL; MAGNETIC SUSPENSION OR LEVITATION FOR VEHICLES; MONITORING OPERATING VARIABLES OF ELECTRICALLY-PROPELLED VEHICLES; ELECTRIC SAFETY DEVICES FOR ELECTRICALLY-PROPELLED VEHICLES
    • B60L50/00Electric propulsion with power supplied within the vehicle
    • B60L50/50Electric propulsion with power supplied within the vehicle using propulsion power supplied by batteries or fuel cells
    • BPERFORMING OPERATIONS; TRANSPORTING
    • B60VEHICLES IN GENERAL
    • B60LPROPULSION OF ELECTRICALLY-PROPELLED VEHICLES; SUPPLYING ELECTRIC POWER FOR AUXILIARY EQUIPMENT OF ELECTRICALLY-PROPELLED VEHICLES; ELECTRODYNAMIC BRAKE SYSTEMS FOR VEHICLES IN GENERAL; MAGNETIC SUSPENSION OR LEVITATION FOR VEHICLES; MONITORING OPERATING VARIABLES OF ELECTRICALLY-PROPELLED VEHICLES; ELECTRIC SAFETY DEVICES FOR ELECTRICALLY-PROPELLED VEHICLES
    • B60L1/00Supplying electric power to auxiliary equipment of vehicles
    • BPERFORMING OPERATIONS; TRANSPORTING
    • B60VEHICLES IN GENERAL
    • B60LPROPULSION OF ELECTRICALLY-PROPELLED VEHICLES; SUPPLYING ELECTRIC POWER FOR AUXILIARY EQUIPMENT OF ELECTRICALLY-PROPELLED VEHICLES; ELECTRODYNAMIC BRAKE SYSTEMS FOR VEHICLES IN GENERAL; MAGNETIC SUSPENSION OR LEVITATION FOR VEHICLES; MONITORING OPERATING VARIABLES OF ELECTRICALLY-PROPELLED VEHICLES; ELECTRIC SAFETY DEVICES FOR ELECTRICALLY-PROPELLED VEHICLES
    • B60L15/00Methods, circuits, or devices for controlling the traction-motor speed of electrically-propelled vehicles
    • B60L15/007Physical arrangements or structures of drive train converters specially adapted for the propulsion motors of electric vehicles
    • BPERFORMING OPERATIONS; TRANSPORTING
    • B60VEHICLES IN GENERAL
    • B60LPROPULSION OF ELECTRICALLY-PROPELLED VEHICLES; SUPPLYING ELECTRIC POWER FOR AUXILIARY EQUIPMENT OF ELECTRICALLY-PROPELLED VEHICLES; ELECTRODYNAMIC BRAKE SYSTEMS FOR VEHICLES IN GENERAL; MAGNETIC SUSPENSION OR LEVITATION FOR VEHICLES; MONITORING OPERATING VARIABLES OF ELECTRICALLY-PROPELLED VEHICLES; ELECTRIC SAFETY DEVICES FOR ELECTRICALLY-PROPELLED VEHICLES
    • B60L50/00Electric propulsion with power supplied within the vehicle
    • B60L50/10Electric propulsion with power supplied within the vehicle using propulsion power supplied by engine-driven generators, e.g. generators driven by combustion engines
    • B60L50/16Electric propulsion with power supplied within the vehicle using propulsion power supplied by engine-driven generators, e.g. generators driven by combustion engines with provision for separate direct mechanical propulsion
    • BPERFORMING OPERATIONS; TRANSPORTING
    • B60VEHICLES IN GENERAL
    • B60LPROPULSION OF ELECTRICALLY-PROPELLED VEHICLES; SUPPLYING ELECTRIC POWER FOR AUXILIARY EQUIPMENT OF ELECTRICALLY-PROPELLED VEHICLES; ELECTRODYNAMIC BRAKE SYSTEMS FOR VEHICLES IN GENERAL; MAGNETIC SUSPENSION OR LEVITATION FOR VEHICLES; MONITORING OPERATING VARIABLES OF ELECTRICALLY-PROPELLED VEHICLES; ELECTRIC SAFETY DEVICES FOR ELECTRICALLY-PROPELLED VEHICLES
    • B60L50/00Electric propulsion with power supplied within the vehicle
    • B60L50/50Electric propulsion with power supplied within the vehicle using propulsion power supplied by batteries or fuel cells
    • B60L50/51Electric propulsion with power supplied within the vehicle using propulsion power supplied by batteries or fuel cells characterised by AC-motors
    • BPERFORMING OPERATIONS; TRANSPORTING
    • B60VEHICLES IN GENERAL
    • B60LPROPULSION OF ELECTRICALLY-PROPELLED VEHICLES; SUPPLYING ELECTRIC POWER FOR AUXILIARY EQUIPMENT OF ELECTRICALLY-PROPELLED VEHICLES; ELECTRODYNAMIC BRAKE SYSTEMS FOR VEHICLES IN GENERAL; MAGNETIC SUSPENSION OR LEVITATION FOR VEHICLES; MONITORING OPERATING VARIABLES OF ELECTRICALLY-PROPELLED VEHICLES; ELECTRIC SAFETY DEVICES FOR ELECTRICALLY-PROPELLED VEHICLES
    • B60L50/00Electric propulsion with power supplied within the vehicle
    • B60L50/50Electric propulsion with power supplied within the vehicle using propulsion power supplied by batteries or fuel cells
    • B60L50/60Electric propulsion with power supplied within the vehicle using propulsion power supplied by batteries or fuel cells using power supplied by batteries
    • B60L50/61Electric propulsion with power supplied within the vehicle using propulsion power supplied by batteries or fuel cells using power supplied by batteries by batteries charged by engine-driven generators, e.g. series hybrid electric vehicles
    • BPERFORMING OPERATIONS; TRANSPORTING
    • B60VEHICLES IN GENERAL
    • B60LPROPULSION OF ELECTRICALLY-PROPELLED VEHICLES; SUPPLYING ELECTRIC POWER FOR AUXILIARY EQUIPMENT OF ELECTRICALLY-PROPELLED VEHICLES; ELECTRODYNAMIC BRAKE SYSTEMS FOR VEHICLES IN GENERAL; MAGNETIC SUSPENSION OR LEVITATION FOR VEHICLES; MONITORING OPERATING VARIABLES OF ELECTRICALLY-PROPELLED VEHICLES; ELECTRIC SAFETY DEVICES FOR ELECTRICALLY-PROPELLED VEHICLES
    • B60L58/00Methods or circuit arrangements for monitoring or controlling batteries or fuel cells, specially adapted for electric vehicles
    • B60L58/10Methods or circuit arrangements for monitoring or controlling batteries or fuel cells, specially adapted for electric vehicles for monitoring or controlling batteries
    • B60L58/18Methods or circuit arrangements for monitoring or controlling batteries or fuel cells, specially adapted for electric vehicles for monitoring or controlling batteries of two or more battery modules
    • B60L58/20Methods or circuit arrangements for monitoring or controlling batteries or fuel cells, specially adapted for electric vehicles for monitoring or controlling batteries of two or more battery modules having different nominal voltages
    • BPERFORMING OPERATIONS; TRANSPORTING
    • B60VEHICLES IN GENERAL
    • B60KARRANGEMENT OR MOUNTING OF PROPULSION UNITS OR OF TRANSMISSIONS IN VEHICLES; ARRANGEMENT OR MOUNTING OF PLURAL DIVERSE PRIME-MOVERS IN VEHICLES; AUXILIARY DRIVES FOR VEHICLES; INSTRUMENTATION OR DASHBOARDS FOR VEHICLES; ARRANGEMENTS IN CONNECTION WITH COOLING, AIR INTAKE, GAS EXHAUST OR FUEL SUPPLY OF PROPULSION UNITS IN VEHICLES
    • B60K6/00Arrangement or mounting of plural diverse prime-movers for mutual or common propulsion, e.g. hybrid propulsion systems comprising electric motors and internal combustion engines
    • B60K6/20Arrangement or mounting of plural diverse prime-movers for mutual or common propulsion, e.g. hybrid propulsion systems comprising electric motors and internal combustion engines the prime-movers consisting of electric motors and internal combustion engines, e.g. HEVs
    • B60K6/22Arrangement or mounting of plural diverse prime-movers for mutual or common propulsion, e.g. hybrid propulsion systems comprising electric motors and internal combustion engines the prime-movers consisting of electric motors and internal combustion engines, e.g. HEVs characterised by apparatus, components or means specially adapted for HEVs
    • BPERFORMING OPERATIONS; TRANSPORTING
    • B60VEHICLES IN GENERAL
    • B60LPROPULSION OF ELECTRICALLY-PROPELLED VEHICLES; SUPPLYING ELECTRIC POWER FOR AUXILIARY EQUIPMENT OF ELECTRICALLY-PROPELLED VEHICLES; ELECTRODYNAMIC BRAKE SYSTEMS FOR VEHICLES IN GENERAL; MAGNETIC SUSPENSION OR LEVITATION FOR VEHICLES; MONITORING OPERATING VARIABLES OF ELECTRICALLY-PROPELLED VEHICLES; ELECTRIC SAFETY DEVICES FOR ELECTRICALLY-PROPELLED VEHICLES
    • B60L2210/00Converter types
    • B60L2210/10DC to DC converters
    • BPERFORMING OPERATIONS; TRANSPORTING
    • B60VEHICLES IN GENERAL
    • B60LPROPULSION OF ELECTRICALLY-PROPELLED VEHICLES; SUPPLYING ELECTRIC POWER FOR AUXILIARY EQUIPMENT OF ELECTRICALLY-PROPELLED VEHICLES; ELECTRODYNAMIC BRAKE SYSTEMS FOR VEHICLES IN GENERAL; MAGNETIC SUSPENSION OR LEVITATION FOR VEHICLES; MONITORING OPERATING VARIABLES OF ELECTRICALLY-PROPELLED VEHICLES; ELECTRIC SAFETY DEVICES FOR ELECTRICALLY-PROPELLED VEHICLES
    • B60L2210/00Converter types
    • B60L2210/40DC to AC converters
    • YGENERAL TAGGING OF NEW TECHNOLOGICAL DEVELOPMENTS; GENERAL TAGGING OF CROSS-SECTIONAL TECHNOLOGIES SPANNING OVER SEVERAL SECTIONS OF THE IPC; TECHNICAL SUBJECTS COVERED BY FORMER USPC CROSS-REFERENCE ART COLLECTIONS [XRACs] AND DIGESTS
    • Y02TECHNOLOGIES OR APPLICATIONS FOR MITIGATION OR ADAPTATION AGAINST CLIMATE CHANGE
    • Y02TCLIMATE CHANGE MITIGATION TECHNOLOGIES RELATED TO TRANSPORTATION
    • Y02T10/00Road transport of goods or passengers
    • Y02T10/60Other road transportation technologies with climate change mitigation effect
    • Y02T10/62Hybrid vehicles
    • YGENERAL TAGGING OF NEW TECHNOLOGICAL DEVELOPMENTS; GENERAL TAGGING OF CROSS-SECTIONAL TECHNOLOGIES SPANNING OVER SEVERAL SECTIONS OF THE IPC; TECHNICAL SUBJECTS COVERED BY FORMER USPC CROSS-REFERENCE ART COLLECTIONS [XRACs] AND DIGESTS
    • Y02TECHNOLOGIES OR APPLICATIONS FOR MITIGATION OR ADAPTATION AGAINST CLIMATE CHANGE
    • Y02TCLIMATE CHANGE MITIGATION TECHNOLOGIES RELATED TO TRANSPORTATION
    • Y02T10/00Road transport of goods or passengers
    • Y02T10/60Other road transportation technologies with climate change mitigation effect
    • Y02T10/64Electric machine technologies in electromobility
    • YGENERAL TAGGING OF NEW TECHNOLOGICAL DEVELOPMENTS; GENERAL TAGGING OF CROSS-SECTIONAL TECHNOLOGIES SPANNING OVER SEVERAL SECTIONS OF THE IPC; TECHNICAL SUBJECTS COVERED BY FORMER USPC CROSS-REFERENCE ART COLLECTIONS [XRACs] AND DIGESTS
    • Y02TECHNOLOGIES OR APPLICATIONS FOR MITIGATION OR ADAPTATION AGAINST CLIMATE CHANGE
    • Y02TCLIMATE CHANGE MITIGATION TECHNOLOGIES RELATED TO TRANSPORTATION
    • Y02T10/00Road transport of goods or passengers
    • Y02T10/60Other road transportation technologies with climate change mitigation effect
    • Y02T10/70Energy storage systems for electromobility, e.g. batteries
    • YGENERAL TAGGING OF NEW TECHNOLOGICAL DEVELOPMENTS; GENERAL TAGGING OF CROSS-SECTIONAL TECHNOLOGIES SPANNING OVER SEVERAL SECTIONS OF THE IPC; TECHNICAL SUBJECTS COVERED BY FORMER USPC CROSS-REFERENCE ART COLLECTIONS [XRACs] AND DIGESTS
    • Y02TECHNOLOGIES OR APPLICATIONS FOR MITIGATION OR ADAPTATION AGAINST CLIMATE CHANGE
    • Y02TCLIMATE CHANGE MITIGATION TECHNOLOGIES RELATED TO TRANSPORTATION
    • Y02T10/00Road transport of goods or passengers
    • Y02T10/60Other road transportation technologies with climate change mitigation effect
    • Y02T10/7072Electromobility specific charging systems or methods for batteries, ultracapacitors, supercapacitors or double-layer capacitors
    • YGENERAL TAGGING OF NEW TECHNOLOGICAL DEVELOPMENTS; GENERAL TAGGING OF CROSS-SECTIONAL TECHNOLOGIES SPANNING OVER SEVERAL SECTIONS OF THE IPC; TECHNICAL SUBJECTS COVERED BY FORMER USPC CROSS-REFERENCE ART COLLECTIONS [XRACs] AND DIGESTS
    • Y02TECHNOLOGIES OR APPLICATIONS FOR MITIGATION OR ADAPTATION AGAINST CLIMATE CHANGE
    • Y02TCLIMATE CHANGE MITIGATION TECHNOLOGIES RELATED TO TRANSPORTATION
    • Y02T10/00Road transport of goods or passengers
    • Y02T10/60Other road transportation technologies with climate change mitigation effect
    • Y02T10/72Electric energy management in electromobility

Landscapes

  • Engineering & Computer Science (AREA)
  • Power Engineering (AREA)
  • Transportation (AREA)
  • Mechanical Engineering (AREA)
  • Life Sciences & Earth Sciences (AREA)
  • Sustainable Development (AREA)
  • Sustainable Energy (AREA)
  • Inverter Devices (AREA)
  • Electric Propulsion And Braking For Vehicles (AREA)
  • Chemical & Material Sciences (AREA)
  • Combustion & Propulsion (AREA)
  • Dc-Dc Converters (AREA)

Abstract

본 발명은 친환경 자동차에 구비되는 전자전력 제어장치(EPCU; electronic power control unit)인 인버터(inverter)와 저전압 직류 변환기(LDC; low voltage DC-DC converter)가 직류(DC) 입력단을 공유하도록 통합된 친환경 자동차의 직류 입력단 공유 통합 전자전력 제어장치에 관한 것이다.
이를 위한 본 발명의 실시예에 따른 통합 전자전력 제어장치는, 직류전압을 교류전압으로 변환하여 모터를 구동하는 전자전력 제어장치인 인버터와, 직류 고전압을 저전압 직류 전압으로 변환하여 저전압 배터리를 충전하는 전자전력 제어장치인 저전압 직류 변환기(LDC; low voltage DC-DC converter)를 포함하는 친환경 자동차에 있어서, 상기 인버터는 입력 전압을 평활하기 위한 커패시터와 상기 입력전압의 노이즈를 제거하기 위한 커패시터로 이루어진 커패시터 모듈을 구비하고, 상기 인버터와 상기 저전압 직류 변환기는 상기 인버터의 커패시터 모듈의 출력이 상기 저전압 직류 변환기의 입력이 되도록 통합된 것을 특징으로 한다.

Description

친환경 자동차의 직류 입력단 공유 통합 전자전력 제어장치 {INTEGRATED ELECTRONIC POWER CONTROL UNIT SHARING DC INPUT PART OF ENVIRONMENTALLY FRIENDLY VEHICLE}
본 발명은 친환경 자동차에 구비되는 전자전력 제어장치(EPCU; electronic power control unit)인 인버터(inverter)와 저전압 직류 변환기(LDC; low voltage DC-DC converter)가 직류(DC) 입력단을 공유하도록 통합된 친환경 자동차의 직류 입력단 공유 통합 전자전력 제어장치에 관한 것이다.
주지하는 바와 같이, 자동차의 연비를 향상시키고, 배출가스에 대한 OBD(On Board Diagnosis) 규정을 만족시킴과 동시에 화석연료의 사용을 최소화하도록 하는 친환경 자동차가 제공되고 있다.
친환경 자동차는 연료전지 자동차, 전기자동차, 플러그인 전기자동차, 하이브리드 자동차를 포괄하는 것으로 하나 이상의 모터와 엔진을 구비한다.
이러한 친환경 자동차는 모터를 구동시키기 위한 고전압의 전원이 저장되는 배터리와, 배터리의 직류 고전압을 교류전압으로 변환하여 모터를 구동하는 전자전력 제어장치인 인버터, 직류 고전압을 직류 저전압(예; 12볼트)으로 변환하여 저전압 배터리를 충전하는 전자전력 제어장치인 저전압 직류 변환기(LDC; low voltage DC-DC converter), 엔진의 동력을 구동축에 전달하기 위해 엔진과 모터 사이에 장착되는 엔진 클러치 및 친환경 자동차의 동작을 제어하기 위한 각종 전자전력 제어장치들을 구비한다.
친환경 자동차는 운전자의 가속페달과 브레이크 페달의 조작으로 판단되는 가감속 의지, 부하, 차속, 배터리의 충전상태(SOC) 등에 따라 엔진 클러치를 결합하거나 해제하여 HEV(Electric Vehicle) 모드와 EV(Electric Vehicle) 모드의 운행을 제공할 수 있다.
친환경 자동차는 EV(Electric Vehicle) 모드의 운행에서 HEV(Hybrid Electric Vehicle) 모드의 운행으로 전환될 때, 엔진 속도와 모터 속도가 동기화된 이후 엔진 클러치를 결합함으로써, 서로 다른 동력원인 엔진과 모터 간의 동력전달 과정에서 토크 변동이 발생되지 않도록 하여 운전성이 확보될 수 있게 한다.
이러한 친환경 자동차는 전술한 바와 같이 인버터 및 저전압 직류 변환기를 포함한다.
상기 인버터 및 저전압 직류 변환기는 일례로 도 1 및 도 2에 도시한 바와 같은 독립적인 개별 회로로 구성되거나, 도 3에 도시한 바와 같이 통합된 형태로 구성될 수 있다.
도 1은 상기 인버터의 회로 구성의 일례를 도시한 것이고, 도 2는 상기 저전압 직류 변환기의 회로 구성의 일례를 도시한 것이다.
도 3은 도 1에 도시된 인버터와 도 2에 도시된 저전압 직류 변환기가 단순히 통합된 형태를 도시한 것이다.
상기 인버터는 직류 고전압을 교류전압으로 변환하여 모터를 구동하는 전자전력 제어장치이기 때문에 자동차 업계에서는 모터 제어기(MCU; motor control unit)로 호칭될 수 있다.
도 1을 참조하면, 인버터(10)는 직류(DC) 입력단에 입력된 직류 고전압(HV; high voltage)이 다수의 커패시터로 이루어진 커패시터 모듈(12)을 경유하고, 커패시터 모듈(12)을 경유한 직류 고전압이 파워 변환모듈(14)에서 교류(AC)로 변환되어 모터(20)를 구동하도록 구성된다.
인버터(10)의 커패시터 모듈(12)에 포함된 DC커패시터(12a)는 입력 전압을 평활시키는 커패시터로서 당업자에게 자명하듯이 일반적으로 큰 사이즈의 소자이고, Y커패시터(12b)는 입력 전압에 포함된 노이즈를 저감시키는 커패시터로서 일반적으로 작은 사이즈의 소자이다.
이와 같이 인버터(10)의 커패시터 모듈(12)은 큰 사이즈의 DC커패시터(12a)와 작은 사이즈의 Y커패시터(12b)로 이루어진다.
도 2를 참조하면, 저전압 직류 변환기(30)는 직류 고전압(HV)이 초크 코일(31)과, Y커패시터(32b), X커패시터(32c)를 경유하고, 다수의 MOSFET(33) 및 코일, 변압기, 인덕터, 다이오드, 커패시터 등을 포함한 여러 다양한 소자를 거쳐 저전압(예; 12볼트)으로 변환되어 출력되도록 구성된다.
저전압 직류 변환기(30)에 포함되는 Y커패시터(32b)와 X커패시터(32c)는 입력 전압에 포함되는 노이즈를 제거하는 커패시터로서 일반적으로 작은 사이즈의 소자이다.
도 1 내지 도 3을 참조하면, 종래기술의 실시예에 따른 인버터 및 저전압 직류 변환기는 독립적인 개별 전자전력 제어장치로 형성되어 있거나, 단순히 한 패키지로 통합된 형태로 되어 있어, 직류 전압 입력단을 공유하지 않는 구조임을 알 수 있다.
따라서, 종래기술의 실시예에 따른 인버터 및 저전압 직류 변환기는 친환경 자동차의 공간 이용율을 저하시키고, 제조 원가를 상승시키는 문제점을 가지고 있다.
이 배경기술 부분에 기재된 사항은 발명의 배경에 대한 이해를 증진하기 위하여 작성된 것으로서, 이 기술이 속하는 분야에서 통상의 지식을 가진 자에게 이미 알려진 종래기술이 아닌 사항을 포함할 수 있다.
따라서, 본 발명이 해결하려는 과제는, 친환경 자동차에 구비되는 전자전력 제어장치(EPCU; electronic power control unit)인 인버터(inverter)와 저전압 직류 변환기(LDC; low voltage DC-DC converter)가 직류(DC) 입력단을 공유하도록 함으로써 전자전력 제어장치의 사이즈 축소, 성능 향상 및 원가 절감을 달성할 수 있도록 한 친환경 자동차의 직류 입력단 공유 통합 전자전력 제어장치를 제공하는 것이다.
상기 과제를 해결하기 위한 본 발명의 실시예에 따른 친환경 자동차의 직류 입력단 공유 통합 전자전력 제어장치는, 직류전압을 교류전압으로 변환하여 모터를 구동하는 전자전력 제어장치인 인버터와, 직류 고전압을 저전압 직류 전압으로 변환하여 저전압 배터리를 충전하는 전자전력 제어장치인 저전압 직류 변환기(LDC; low voltage DC-DC converter)를 포함하는 친환경 자동차에 있어서, 상기 인버터는 입력 전압을 평활하기 위한 커패시터와 상기 입력전압의 노이즈를 제거하기 위한 커패시터로 이루어진 커패시터 모듈을 구비하고, 상기 인버터와 상기 저전압 직류 변환기는 상기 인버터의 커패시터 모듈의 출력이 상기 저전압 직류 변환기의 입력이 되도록 통합될 수 있다.
상기 저전압 직류 변환기에 포함되는 커패시터의 역할을 상기 인버터의 커패시터 모듈이 담당할 수 있다.
상기 인버터와 상기 저전압 직류 변환기가 냉각 유로를 공유할 수 있다.
상기 커패시터 모듈이 상기 냉각 유로에 근접하여 배치되거나 또는 상기 냉각 유로 사이에 배치될 수 있다.
상술한 바와 같이 본 발명의 실시예에 따르면, 인버터의 직류 입력단 역할을 하는 커패시터 모듈을 저전압 직류 변환기와 공유하도록 하고, 냉각 유로도 인버터와 저전압 직류 변환기가 공유하도록 함으로써 아래와 같은 효과를 얻을 수 있다.
첫째, 인버터와 저전압 직류 변환기를 통합함으로써 패키지 사이즈를 축소할 수 있고, 이를 통해 친환경 자동차의 엔진룸 레이아웃을 용이하게 할 수 있다.
둘째, 인버터의 커패시터 모듈이 인버터에서 필터 역할을 하는 동시에 저전압 직류 변환기의 추가 필터 역할을 하기 때문에 종래기술의 실시예 보다 노이즈를 크게 감소시킬 수 있고, 이를 통해 친환경 자동차의 전자파 성능 향상 및 최적화를 달성할 수 있다.
셋째, 냉각 유로를 공유하는 구조를 통해 하우징의 제작비를 감소시킬 수 있고, 냉각유로 단순화에 따라 원가 절감을 달성할 수 있다.
도 1은 종래기술의 실시예에 따른 친환경 자동차에 구비되는 인버터의 회로 구성도이다.
도 2는 종래기술의 실시예에 따른 친환경 자동차에 구비되는 저전압 직류 변환기의 회로 구성도이다.
도 3은 종래기술의 실시예에 따른 인버터와 저전압 직류 변환기가 단순히 통합된 회로 구성도이다.
도 4는 본 발명의 실시예에 따라 인버터와 저전압 직류 변환기가 직류 입력을 공유하도록 통합된 친환경 자동차의 통합 전자전력 제어장치의 회로 구성도이다.
도 5는 본 발명의 실시예에 따른 친환경 자동차의 통합 전자전력 제어장치에 포함되는 저전압 직류 변환기의 다른 회로 구성도이다.
도 6은 본 발명의 실시예에 따른 친환경 자동차의 통합 전자전력 제어장치의 레이아웃 구성도이다.
도 7은 본 발명의 다른 실시예에 따른 친환경 자동차의 통합 전자전력 제어장치의 레이아웃 구성도이다.
이하에서는 첨부한 도면을 참고로 하여 본 발명의 실시예에 대하여 본 발명이 속하는 기술 분야에서 통상의 지식을 가진 자가 용이하게 실시할 수 있도록 상세히 설명한다. 그러나, 본 발명은 여기서 설명되는 실시예에 한정되지 않고 다른 형태로 구체화될 수도 있다.
명세서 전체에 걸쳐서 동일한 참조번호로 표시된 부분들은 동일한 구성요소들을 의미한다.
명세서 전체에서, 어떤 부분이 어떤 구성요소를 포함한다고 할 때, 이는 특별히 반대되는 기재가 없는 한 다른 구성요소를 제외하는 것이 아니라 다른 구성요소를 더 포함할 수 있는 것을 의미한다.
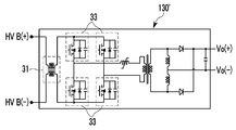
도 4는 본 발명의 실시예에 따른 친환경 자동차의 통합 전자전력 제어장치의 회로 구성도이다.
도 4를 참조하면, 본 발명의 실시예에 따른 통합 전자전력 제어장치(100)는 직류전압을 교류전압으로 변환하여 모터(20)를 구동하는 인버터(110)와, 직류 고전압을 저전압 직류 전압으로 변환하여 저전압 배터리(150)를 충전하는 저전압 직류 변환기(130))를 포함한다.
상기 인버터(110)는 입력 고전압(HV)을 평활하기 위한 DC커패시터(112a)와 상기 입력 고전압의 노이즈를 제거하기 위한 Y커패시터(112b)로 이루어진 커패시터 모듈(112)을 구비할 수 있다.
본 발명의 실시예에 따른 커패시터 모듈(112)과 종래기술의 실시예에 따른 커패시터 모듈은 같은 것으로 할 수 있지만, 본 발명의 보호범위가 반드시 이에 한정된 것으로 이해되어서는 안된다. 이와 다른 구성이라고 하더라도 상기 입력 고전압을 평활하고 상기 입력 고전압의 노이즈를 제거하는 구성이라면 본 발명의 기술적 사상이 적용될 수 있다.
상기 인버터(110)와 저전압 직류 변환기(130)는 상기 인버터(110)의 커패시터 모듈(112)의 출력이 도 4에 도시한 바와 같이 저전압 직류 변환기(130)의 입력이 되도록 회로 연결된다.
도 4에 도시한 바와 같이 인버터(110)와 저전압 직류 변환기(130)가 연결되면, 인버터(110)의 커패시터 모듈(112)은 인버터(110)의 필터 역할을 함과 동시에 저전압 직류 변환기(130)의 추가 필터 역할을 할 수 있다.
따라서, 본 발명의 실시예에 따르면, 종래기술의 실시예 보다 입력 전압에 포함된 노이즈를 보다 더 효율적으로 제거할 수 있다.
한편, 도 4에 도시한 바와 같이 상기 인버터(110)의 커패시터 모듈(112)의 출력이 저전압 직류 변환기(130)의 입력이 되도록 상기 인버터(110)와 저전압 직류 변환기(130)가 연결되면, 상기 인버터(110)의 커패시터 모듈(112)이 상기 저전압 직류 변환기(130)에 포함된 커패시터, 예를 들면 도 2에 도시된 Y커패시터(32b) 및 X커패시터(32c)의 역할을 수행할 수 있다.
따라서, 본 발명의 다른 실시예에서는 도 5에 도시한 바와 같이 저전압 직류 변환기(130')에서와 같이 Y커패시터(32b) 및 X커패시터(32c)를 제거할 수 있다. 이로써, 본 발명의 다른 실시예에 따르면, 부품 원가를 절감할 수 있고, 사이즈를 더 컴팩트하게 할 수 있다.
도 6은 본 발명의 실시예에 따른 통합 전자전력 제어장치의 패키지 레이아웃을 도시한 도면이다.
도 6을 참조하면, 본 발명의 실시예에 따른 통합 전자전력 제어장치(100)를 구성하는 인버터(110)와 저전압 직류 변환기(130)는 입출력 냉각수 파이프(160a)(160b)로 형성되는 냉각 유로를 공유할 수 있다.
즉, 본 발명의 실시예에 따른 통합 전자전력 제어장치(100)는 도 6에 도시한 바와 같이 커패시터 모듈(112), 인버터 파워모듈(114), 저전압 직류 변환기(130)가 나란히 배치된 패키지를 냉각하도록 냉각수 파이프(160a)(160b)로 형성된 냉각 유로를 공유한다.
한편, 상기 커패시터 모듈(112)은 인버터(110)와 저전압 직류 변환기(130)가 공유하여 사용하기 때문에 그 만큼 열이 더 많이 발생할 수 있다.
따라서, 본 발명의 다른 실시예에서는 상기 커패시터 모듈(112)의 열을 보다 더 효율적으로 냉각시키기 위해 도 7에 도시한 바와 같이 상기 커패시터 모듈(112)을 냉각수 파이프(160a)(160b)로 형성되는 냉각 유로에 근접하여 형성하거나 또는 냉각 유로 사이에 형성할 수 있다.
즉, 본 발명의 다른 실시예에서는 상기 커패시터 모듈(112)은 도 7에 도시한 바와 같이 저전압 직류 변환기(130)와 인버터 파워모듈(114)에 근접하여 또는 그 사이에 배치될 수 있다.
이로써, 본 발명의 실시예에 따르면, 인버터와 저전압 직류 변환기가 인버터의 직류 입력단을 형성하는 커패시터 모듈을 공유하고, 냉각 유로도 공유하도록 할 수 있기 때문에, 인버터와 저전압 직류 변환기가 통합된 전자전력 제어장치의 사이즈 축소, 성능 향상 및 원가 절감을 달성할 수 있다.
이상에서 본 발명의 실시예에 대하여 상세하게 설명하였지만 본 발명의 권리범위는 이에 한정되는 것은 아니고 다음의 청구범위에서 정의하고 있는 본 발명의 기본 개념을 이용한 당업자의 여러 변형 및 개량 형태 또한 본 발명의 권리범위에 속하는 것이다.
100: 인버터와 저전압 직류 변환기가 통합된 전자전력 제어장치
110: 인버터
112: 커패시터 모듈
130: 저전압 직류 변환기
160a,b: 냉각수 파이프

Claims (4)

  1. 직류전압을 교류전압으로 변환하여 모터를 구동하는 전자전력 제어장치인 인버터와, 직류 고전압을 저전압 직류 전압으로 변환하여 저전압 배터리를 충전하는 전자전력 제어장치인 저전압 직류 변환기(LDC; low voltage DC-DC converter)를 포함하는 친환경 자동차에 있어서,
    상기 인버터는 입력 전압을 평활하기 위한 커패시터와 상기 입력전압의 노이즈를 제거하기 위한 커패시터로 이루어진 커패시터 모듈을 구비하고,
    상기 인버터와 상기 저전압 직류 변환기는 상기 인버터의 커패시터 모듈의 출력이 상기 저전압 직류 변환기의 입력이 되도록 통합된 것을 특징으로 하는 통합 전자전력 제어장치.
  2. 제1항에서,
    상기 저전압 직류 변환기에 포함되는 커패시터의 역할을 상기 인버터의 커패시터 모듈이 담당하도록 된 것을 특징으로 하는 통합 전자전력 제어장치.
  3. 제1항에서,
    상기 인버터와 상기 저전압 직류 변환기가 냉각 유로를 공유하는 것을 특징으로 하는 통합 전자전력 제어장치.
  4. 제3항에서,
    상기 커패시터 모듈이 상기 냉각 유로에 근접 배치된 것을 특징으로 하는 통합 전자전력 제어장치.
KR1020130019431A 2013-02-22 2013-02-22 친환경 자동차의 직류 입력단 공유 통합 전자전력 제어장치 Active KR101448776B1 (ko)

Priority Applications (4)

Application Number Priority Date Filing Date Title
KR1020130019431A KR101448776B1 (ko) 2013-02-22 2013-02-22 친환경 자동차의 직류 입력단 공유 통합 전자전력 제어장치
US14/041,179 US9610846B2 (en) 2013-02-22 2013-09-30 Integrated electronic power control unit of vehicle
DE102013220172.9A DE102013220172B4 (de) 2013-02-22 2013-10-07 Integrierte elektronische Leistungssteuereinheit eines Fahrzeugs
CN201310475793.8A CN104002744B (zh) 2013-02-22 2013-10-12 车辆的集成式电子电力控制单元

Applications Claiming Priority (1)

Application Number Priority Date Filing Date Title
KR1020130019431A KR101448776B1 (ko) 2013-02-22 2013-02-22 친환경 자동차의 직류 입력단 공유 통합 전자전력 제어장치

Publications (2)

Publication Number Publication Date
KR20140105675A true KR20140105675A (ko) 2014-09-02
KR101448776B1 KR101448776B1 (ko) 2014-10-13

Family

ID=51349533

Family Applications (1)

Application Number Title Priority Date Filing Date
KR1020130019431A Active KR101448776B1 (ko) 2013-02-22 2013-02-22 친환경 자동차의 직류 입력단 공유 통합 전자전력 제어장치

Country Status (4)

Country Link
US (1) US9610846B2 (ko)
KR (1) KR101448776B1 (ko)
CN (1) CN104002744B (ko)
DE (1) DE102013220172B4 (ko)

Cited By (2)

* Cited by examiner, † Cited by third party
Publication number Priority date Publication date Assignee Title
US9969274B2 (en) 2015-05-11 2018-05-15 Hyundai Motor Company Power conversion module for vehicle
US11370310B2 (en) 2018-12-27 2022-06-28 Toyota Jidosha Kabushiki Kaisha Vehicle power supply system

Families Citing this family (22)

* Cited by examiner, † Cited by third party
Publication number Priority date Publication date Assignee Title
US8884562B1 (en) 2011-11-23 2014-11-11 The Boeing Company Current control in brushless DC motors
US11267574B2 (en) * 2013-10-28 2022-03-08 The Boeing Company Aircraft with electric motor and rechargeable power source
EP3167466B1 (en) * 2014-07-09 2024-08-21 Auckland UniServices Limited Inductive power system suitable for electric vehicles
KR101591921B1 (ko) * 2014-10-31 2016-02-05 영화테크(주) Ldc 통합형 정션박스
US10345348B2 (en) 2014-11-04 2019-07-09 Stmicroelectronics S.R.L. Detection circuit for an active discharge circuit of an X-capacitor, related active discharge circuit, integrated circuit and method
CN104494535A (zh) * 2014-12-04 2015-04-08 安徽巨一自动化装备有限公司 一种电动汽车一体化水冷电机控制器的布置结构
CN106143365A (zh) * 2015-04-20 2016-11-23 深圳市力可普尔电子有限公司 取电装置及车辆
CN105743175B (zh) * 2016-04-07 2018-02-02 东南大学 一种集成充电机功能的电动车驱动系统
CN106004492B (zh) * 2016-06-06 2018-05-01 东风柳州汽车有限公司 电动汽车驱动单元
CN106130367B (zh) * 2016-07-29 2018-09-28 芜湖迈特电子科技有限公司 自降温式多功能车载逆变器
CN106253258A (zh) * 2016-09-27 2016-12-21 山东黑曜石电子科技有限公司 一种智能锁的抗高压模块
KR102358437B1 (ko) 2017-02-08 2022-02-04 삼성에스디아이 주식회사 전원 공급 장치 및 이를 포함하는 배터리 팩
CN110015204B (zh) * 2017-07-28 2024-04-05 宇通客车股份有限公司 一种燃料电池供电系统及燃料电池系统
CN109515230A (zh) * 2018-11-12 2019-03-26 南方电网科学研究院有限责任公司 一种用于充电桩检测的可控充电负载、车辆
JP7152296B2 (ja) * 2018-12-20 2022-10-12 株式会社日立製作所 電力変換装置、及び高電圧ノイズフィルタ
KR20200079055A (ko) 2018-12-24 2020-07-02 (주)엠피코 모듈화된 전기자동차용 통합제어시스템
CN110350842A (zh) * 2019-06-06 2019-10-18 华为技术有限公司 一种电机控制装置、控制方法和电动设备
US11870232B2 (en) * 2020-08-14 2024-01-09 Volvo Truck Corporation Battery electric vehicle supermodule
KR20230022477A (ko) * 2021-08-09 2023-02-16 현대자동차주식회사 모터 일체형 인버터 장치
DE102021005533A1 (de) 2021-11-09 2021-12-30 Daimler Ag Komponentenanordnung für ein elektrisches Hochvoltbordnetz eines Fahrzeugs
AT525924A1 (de) 2022-02-18 2023-09-15 Hofer Powertrain Innovation Gmbh Verteiltes Steuerungs- und Sicherheitssystem für ein Kraftfahrzeug mit wenigstens einem Inverter und ein entsprechendes Verfahren
CN115610236B (zh) * 2022-10-18 2024-07-19 珠海英搏尔电气股份有限公司 一种电机控制和dc转换的电气集成设备和交通工具

Family Cites Families (11)

* Cited by examiner, † Cited by third party
Publication number Priority date Publication date Assignee Title
JP3468424B2 (ja) * 1993-04-09 2003-11-17 株式会社デンソー 電気自動車の駆動装置
JP4023171B2 (ja) * 2002-02-05 2007-12-19 トヨタ自動車株式会社 負荷駆動装置、負荷駆動装置における電力貯蔵装置の充電制御方法および充電制御をコンピュータに実行させるためのプログラムを記録したコンピュータ読取可能な記録媒体
JP4436843B2 (ja) * 2007-02-07 2010-03-24 株式会社日立製作所 電力変換装置
KR101124973B1 (ko) 2009-12-03 2012-03-27 현대자동차주식회사 하이브리드 차량의 모터 구동 시스템 및 이의 고장 제어 방법
JP5422466B2 (ja) 2010-04-01 2014-02-19 日立オートモティブシステムズ株式会社 電力変換装置
KR20110139038A (ko) * 2010-06-22 2011-12-28 현대자동차주식회사 하이브리드 전기차량용 발열 부품 냉각장치
KR20120029716A (ko) * 2010-09-17 2012-03-27 한국철도기술연구원 하이브리드 전기철도 차량의 에너지 저장 장치
JP5660317B2 (ja) 2011-03-18 2015-01-28 富士電機株式会社 車両間充電装置
DE102011006510A1 (de) 2011-03-31 2012-10-04 Robert Bosch Gmbh Verfahren zum Betreiben eines Kraftfahrzeugs, insbesondere Hybridfahrzeugs
US9516789B2 (en) 2011-05-05 2016-12-06 Clean Wave Technologies, Inc. Systems and methods for cooling of power electronic devices
KR101338432B1 (ko) * 2011-08-10 2013-12-10 현대자동차주식회사 자동차용 인버터

Cited By (2)

* Cited by examiner, † Cited by third party
Publication number Priority date Publication date Assignee Title
US9969274B2 (en) 2015-05-11 2018-05-15 Hyundai Motor Company Power conversion module for vehicle
US11370310B2 (en) 2018-12-27 2022-06-28 Toyota Jidosha Kabushiki Kaisha Vehicle power supply system

Also Published As

Publication number Publication date
CN104002744B (zh) 2018-03-20
DE102013220172A1 (de) 2014-08-28
DE102013220172B4 (de) 2025-02-20
US20140239712A1 (en) 2014-08-28
KR101448776B1 (ko) 2014-10-13
US9610846B2 (en) 2017-04-04
CN104002744A (zh) 2014-08-27

Similar Documents

Publication Publication Date Title
KR101448776B1 (ko) 친환경 자동차의 직류 입력단 공유 통합 전자전력 제어장치
US9873338B2 (en) Electric vehicle
CN102130626B (zh) 改进的具有集成电池充电器的可变电压转换器
CN102398527B (zh) 车辆的永磁体/感应电机驱动的集成充电器-逆变器
US12187146B2 (en) Powertrain architecture for a vehicle utilizing an on-board charger
US20100085787A1 (en) System and method for powering a hybrid electric vehicle
KR101679955B1 (ko) 하이브리드 차량의 완속 충전 시스템 및 방법
KR20160050953A (ko) 전기 자동차의 전력 변환 장치
CN102195411A (zh) 具有集成电力和控制且包括电流源逆变器的电机
KR102699790B1 (ko) 차량 및 차량용 직류-직류 변환기
Araujo et al. Prospects of GaN devices in automotive electrification
KR102008751B1 (ko) 차량용 전력 제어 장치
CN103963654A (zh) 用于混合动力汽车的驱动系统
KR102008752B1 (ko) 차량용 전력 제어 장치
KR20170061557A (ko) 마일드 하이브리드 차량용 인버터 일체형 구동 장치 및 이를 이용한 시스템
KR101258356B1 (ko) 자동차 모터 구동용 게이트 구동장치
JP2018102038A (ja) 車両用電力供給システム及び電動発電装置
Kumari et al. Role of high power semiconductor devices in hybrid electric vehicles
JP2002135901A (ja) ハイブリッド自動車
KR102138343B1 (ko) 다기능 고집적 전력 변환기 소자
KR102008747B1 (ko) 차량용 전력 제어 장치
Aglan et al. Reduced voltage combined ac motor and drive system for safe electric vehicle
Pathan et al. Motor Drives and Different Topologies in Electric Vehicles
Lee Integrated bi-directional AC/DC and DC/DC converter for plug-in hybrid electric vehicles
CN114312372A (zh) 充电控制系统、方法、存储介质及车辆

Legal Events

Date Code Title Description
A201 Request for examination
PA0109 Patent application

Patent event code: PA01091R01D

Comment text: Patent Application

Patent event date: 20130222

PA0201 Request for examination
E902 Notification of reason for refusal
PE0902 Notice of grounds for rejection

Comment text: Notification of reason for refusal

Patent event date: 20140320

Patent event code: PE09021S01D

E701 Decision to grant or registration of patent right
PE0701 Decision of registration

Patent event code: PE07011S01D

Comment text: Decision to Grant Registration

Patent event date: 20140826

PG1501 Laying open of application
GRNT Written decision to grant
PR0701 Registration of establishment

Comment text: Registration of Establishment

Patent event date: 20141001

Patent event code: PR07011E01D

PR1002 Payment of registration fee

Payment date: 20141001

End annual number: 3

Start annual number: 1

PG1601 Publication of registration
FPAY Annual fee payment

Payment date: 20190926

Year of fee payment: 6

PR1001 Payment of annual fee

Payment date: 20190926

Start annual number: 6

End annual number: 6

PR1001 Payment of annual fee

Payment date: 20200928

Start annual number: 7

End annual number: 7

PR1001 Payment of annual fee

Payment date: 20210928

Start annual number: 8

End annual number: 8

PR1001 Payment of annual fee

Payment date: 20230925

Start annual number: 10

End annual number: 10

PR1001 Payment of annual fee