KR20140105041A - 폐기물의 파쇄 및 선별장치와 그 방법 - Google Patents

폐기물의 파쇄 및 선별장치와 그 방법 Download PDF

Info

Publication number
KR20140105041A
KR20140105041A KR20130004516A KR20130004516A KR20140105041A KR 20140105041 A KR20140105041 A KR 20140105041A KR 20130004516 A KR20130004516 A KR 20130004516A KR 20130004516 A KR20130004516 A KR 20130004516A KR 20140105041 A KR20140105041 A KR 20140105041A
Authority
KR
South Korea
Prior art keywords
conveyor
aggregate
foreign matter
conveying
screen
Prior art date
Legal status (The legal status is an assumption and is not a legal conclusion. Google has not performed a legal analysis and makes no representation as to the accuracy of the status listed.)
Ceased
Application number
KR20130004516A
Other languages
English (en)
Inventor
전금생
Original Assignee
(주)경북환경
Priority date (The priority date is an assumption and is not a legal conclusion. Google has not performed a legal analysis and makes no representation as to the accuracy of the date listed.)
Filing date
Publication date
Application filed by (주)경북환경 filed Critical (주)경북환경
Priority to KR20130004516A priority Critical patent/KR20140105041A/ko
Publication of KR20140105041A publication Critical patent/KR20140105041A/ko
Ceased legal-status Critical Current

Links

Images

Classifications

    • BPERFORMING OPERATIONS; TRANSPORTING
    • B02CRUSHING, PULVERISING, OR DISINTEGRATING; PREPARATORY TREATMENT OF GRAIN FOR MILLING
    • B02CCRUSHING, PULVERISING, OR DISINTEGRATING IN GENERAL; MILLING GRAIN
    • B02C23/00Auxiliary methods or auxiliary devices or accessories specially adapted for crushing or disintegrating not provided for in preceding groups or not specially adapted to apparatus covered by a single preceding group
    • B02C23/08Separating or sorting of material, associated with crushing or disintegrating
    • BPERFORMING OPERATIONS; TRANSPORTING
    • B02CRUSHING, PULVERISING, OR DISINTEGRATING; PREPARATORY TREATMENT OF GRAIN FOR MILLING
    • B02CCRUSHING, PULVERISING, OR DISINTEGRATING IN GENERAL; MILLING GRAIN
    • B02C19/00Other disintegrating devices or methods
    • B02C19/16Mills provided with vibrators
    • BPERFORMING OPERATIONS; TRANSPORTING
    • B02CRUSHING, PULVERISING, OR DISINTEGRATING; PREPARATORY TREATMENT OF GRAIN FOR MILLING
    • B02CCRUSHING, PULVERISING, OR DISINTEGRATING IN GENERAL; MILLING GRAIN
    • B02C23/00Auxiliary methods or auxiliary devices or accessories specially adapted for crushing or disintegrating not provided for in preceding groups or not specially adapted to apparatus covered by a single preceding group
    • B02C23/18Adding fluid, other than for crushing or disintegrating by fluid energy
    • B02C23/20Adding fluid, other than for crushing or disintegrating by fluid energy after crushing or disintegrating
    • B02C23/22Adding fluid, other than for crushing or disintegrating by fluid energy after crushing or disintegrating with recirculation of material to crushing or disintegrating zone
    • BPERFORMING OPERATIONS; TRANSPORTING
    • B03SEPARATION OF SOLID MATERIALS USING LIQUIDS OR USING PNEUMATIC TABLES OR JIGS; MAGNETIC OR ELECTROSTATIC SEPARATION OF SOLID MATERIALS FROM SOLID MATERIALS OR FLUIDS; SEPARATION BY HIGH-VOLTAGE ELECTRIC FIELDS
    • B03CMAGNETIC OR ELECTROSTATIC SEPARATION OF SOLID MATERIALS FROM SOLID MATERIALS OR FLUIDS; SEPARATION BY HIGH-VOLTAGE ELECTRIC FIELDS
    • B03C1/00Magnetic separation
    • B03C1/02Magnetic separation acting directly on the substance being separated
    • BPERFORMING OPERATIONS; TRANSPORTING
    • B07SEPARATING SOLIDS FROM SOLIDS; SORTING
    • B07BSEPARATING SOLIDS FROM SOLIDS BY SIEVING, SCREENING, SIFTING OR BY USING GAS CURRENTS; SEPARATING BY OTHER DRY METHODS APPLICABLE TO BULK MATERIAL, e.g. LOOSE ARTICLES FIT TO BE HANDLED LIKE BULK MATERIAL
    • B07B1/00Sieving, screening, sifting, or sorting solid materials using networks, gratings, grids, or the like
    • BPERFORMING OPERATIONS; TRANSPORTING
    • B07SEPARATING SOLIDS FROM SOLIDS; SORTING
    • B07BSEPARATING SOLIDS FROM SOLIDS BY SIEVING, SCREENING, SIFTING OR BY USING GAS CURRENTS; SEPARATING BY OTHER DRY METHODS APPLICABLE TO BULK MATERIAL, e.g. LOOSE ARTICLES FIT TO BE HANDLED LIKE BULK MATERIAL
    • B07B9/00Combinations of apparatus for screening or sifting or for separating solids from solids using gas currents; General arrangement of plant, e.g. flow sheets
    • BPERFORMING OPERATIONS; TRANSPORTING
    • B09DISPOSAL OF SOLID WASTE; RECLAMATION OF CONTAMINATED SOIL
    • B09BDISPOSAL OF SOLID WASTE NOT OTHERWISE PROVIDED FOR
    • B09B3/00Destroying solid waste or transforming solid waste into something useful or harmless
    • BPERFORMING OPERATIONS; TRANSPORTING
    • B65CONVEYING; PACKING; STORING; HANDLING THIN OR FILAMENTARY MATERIAL
    • B65GTRANSPORT OR STORAGE DEVICES, e.g. CONVEYORS FOR LOADING OR TIPPING, SHOP CONVEYOR SYSTEMS OR PNEUMATIC TUBE CONVEYORS
    • B65G19/00Conveyors comprising an impeller or a series of impellers carried by an endless traction element and arranged to move articles or materials over a supporting surface or underlying material, e.g. endless scraper conveyors
    • CCHEMISTRY; METALLURGY
    • C04CEMENTS; CONCRETE; ARTIFICIAL STONE; CERAMICS; REFRACTORIES
    • C04BLIME, MAGNESIA; SLAG; CEMENTS; COMPOSITIONS THEREOF, e.g. MORTARS, CONCRETE OR LIKE BUILDING MATERIALS; ARTIFICIAL STONE; CERAMICS; REFRACTORIES; TREATMENT OF NATURAL STONE
    • C04B18/00Use of agglomerated or waste materials or refuse as fillers for mortars, concrete or artificial stone; Treatment of agglomerated or waste materials or refuse, specially adapted to enhance their filling properties in mortars, concrete or artificial stone
    • C04B18/04Waste materials; Refuse
    • C04B18/16Waste materials; Refuse from building or ceramic industry
    • BPERFORMING OPERATIONS; TRANSPORTING
    • B02CRUSHING, PULVERISING, OR DISINTEGRATING; PREPARATORY TREATMENT OF GRAIN FOR MILLING
    • B02CCRUSHING, PULVERISING, OR DISINTEGRATING IN GENERAL; MILLING GRAIN
    • B02C2201/00Codes relating to disintegrating devices adapted for specific materials
    • B02C2201/06Codes relating to disintegrating devices adapted for specific materials for garbage, waste or sewage
    • YGENERAL TAGGING OF NEW TECHNOLOGICAL DEVELOPMENTS; GENERAL TAGGING OF CROSS-SECTIONAL TECHNOLOGIES SPANNING OVER SEVERAL SECTIONS OF THE IPC; TECHNICAL SUBJECTS COVERED BY FORMER USPC CROSS-REFERENCE ART COLLECTIONS [XRACs] AND DIGESTS
    • Y02TECHNOLOGIES OR APPLICATIONS FOR MITIGATION OR ADAPTATION AGAINST CLIMATE CHANGE
    • Y02WCLIMATE CHANGE MITIGATION TECHNOLOGIES RELATED TO WASTEWATER TREATMENT OR WASTE MANAGEMENT
    • Y02W30/00Technologies for solid waste management
    • Y02W30/50Reuse, recycling or recovery technologies
    • Y02W30/58Construction or demolition [C&D] waste

Landscapes

  • Engineering & Computer Science (AREA)
  • Chemical & Material Sciences (AREA)
  • Food Science & Technology (AREA)
  • Civil Engineering (AREA)
  • Environmental & Geological Engineering (AREA)
  • Ceramic Engineering (AREA)
  • Materials Engineering (AREA)
  • Structural Engineering (AREA)
  • Organic Chemistry (AREA)
  • Mechanical Engineering (AREA)
  • Processing Of Solid Wastes (AREA)
  • Combined Means For Separation Of Solids (AREA)

Abstract

본 발명은 폐기물이 1차 파쇄기 및 진동스크린 선별기를 거쳐 파쇄물내의 토분을 용이하게 배출할 수 있도록 하며, 상기 1차 파쇄물을 물이 충진되는 이물질 분리탱크 내부에 투입하여 부상되는 이물질을 선별 분리기에 의해 손쉽고, 용이하게 파쇄 및 분쇄장치의 외부에 배출시킬 수 있도록 함은 물론, 상기 이물질 분리탱크를 통하여 선별된 골재를 2차 파쇄기 및 경사진 스크린 선별기를 통하여 일정한 크기를 갖는 건설용 골재로 선별하여 재활용할 수 있도록 하며, 상기 스크린 선별기를 통하여 일정한 크기 이상의 골재는 3차 파쇄기를 거쳐 재 분쇄 및 스크린 선별기에서 선별토록 하여 골재의 재활용율을 극대화시킬 수 있도록 하고, 골재의 선별시 상기 골재의 이물질을 풍력으로 용이하게 제거 및 저장하여 주변 환경 오염발생을 미연에 예방할 수 있도록한 폐기물의 파쇄 및 선별장치와 그 방법에 관한 것이다.
그 기술적인 구성은, 호퍼(110)의 일측에 투입구(120)를 개재하여 1차 파쇄기(130)가 설치되며, 상기 1차 파쇄기(130)의 일측에는 컨베이어(140)(conveyor)가 연설되어 경사진 진동스크린 선별기(160)와 연설되고, 상기 진동스크린 선별기(160)의 전방 단부에는 직각 방향으로 일정 크기 이하의 토분을 이송하여 배출토록 토분 이송용 컨베이어(170)가 연설토록 되며, 상기 진동스크린 선별기(160)의 후방 단부에 골재를 이송하는 컨베이어(200)를 개재하여 이물질 분리탱크(210)가 연결 설치되어, 상기 물이 충진되는 이물질 분리탱크(210)의 내부에서 이물질을 부상시켜 선별 분리기(240)로서 이물질을 제거하도록 하고, 상기 이물질 분리탱크(210)의 경사 컨베이어(220) 단부에는 경사진 진동 스크린(250)을 개재하여, 선별된 골재를 이송하는 컨베이어(270) 및 2차 파쇄기(280)가 연설되며, 상기 2차 파쇄기(280)의 하측에는 골재이송 컨베이어(290)를 개재하여 경사진 스크린 선별기(300)가 설치되어 2차 파쇄된 파쇄물중 일정한 크기의 골재를 선별하며, 상기 경사진 스크린 선별기(300)의 단부에는 선별된 일정한 크기의 골재를 이송하여 하역장에 적재토록 선별 골재이송 컨베이어(310)가 연설되는 한편, 상기 경사진 스크린 선별기(300)의 타측단부 하측에는 제1 컨베이어(320) 및 제2 컨베이어가 연설되어 일정한 크기 이상의 골재를 이송하며, 상기 제2 컨베이어(330)의 단부에는 상기 이송된 골재를 파쇄하는 3차 파쇄기(340)가 설치되고, 상기 3차 파쇄기(340)의 하측에는 3차 파쇄된 파쇄물을 상기 2차 파쇄물과 함께 재차 상기 경사진 스크린 선별기(300)에 이송토록 골재이송 컨베이어(360)가 연결 설치되는 되는 것을 요지로 한다.

Description

폐기물의 파쇄 및 선별장치와 그 방법{a method and apparatus for selection and crushing of wastes construction}
본 발명은 폐콘크리트, 폐아스콘, 건축 폐자재, 건축 폐기물, 혼합 폐기물등과 같은 폐기물을 손쉽고, 용이하게 파쇄 및 선별작업을 수행할 수 있도록한 폐기물의 파쇄 및 선별장치와 그 방법에 관한 것으로, 보다 상세하게로는 폐콘크리트, 폐아스콘, 건축 폐자재, 건축 폐기물, 혼합 폐기물등과 같은 폐기물이 1차 파쇄기 및 진동스크린 선별기를 거쳐 파쇄물내의 토분을 용이하게 배출할 수 있도록 하며, 상기 1차 파쇄물을 물이 충진되는 이물질 분리탱크 내부에 투입하여 부상되는 이물질을 선별 분리기에 의해 손쉽고, 용이하게 파쇄 및 분쇄장치의 외부에 배출시킬 수 있도록 함은 물론, 상기 이물질 분리탱크를 통하여 선별된 골재를 2차 파쇄기 및 경사진 스크린 선별기를 통하여 일정한 크기를 갖는 건설용 골재로 순차적으로 선별하여 재활용할 수 있도록 하며, 상기 스크린 선별기를 통하여 일정한 크기 이상의 골재는 3차 파쇄기를 거쳐 재 분쇄 및 스크린 선별기에서 선별토록 하여 골재의 재활용율을 극대화시킬 수 있도록 하고, 1차 파쇄기와 연설되는 진동스크린 선별기 및 2차 파쇄기와 연설된 경사진 스크린 선별기 일측에는 송풍기와 이물질 저장탱크가 각각 설치되어 골재의 선별시 상기 골재의 이물질을 풍력으로 용이하게 제거 및 저장하여 주변 환경 오염발생을 미연에 예방할 수 있으면서, 폐기물의 파쇄 및 선별기의 간단한 구조에 의해, 페기물 파쇄 및 선별 효율을 가일층 향상시키면서, 설치가 용이하게 이루어질 수 있도록한 폐기물의 파쇄 및 선별장치와 그 방법에 관한 것이다.
일반적으로 알려져 있는 건설 폐기물은, 토목이나 건축물의 노후화 및 재시공, 건축물의 기능 저하등에 의해 발생되는 것으로서, 건축 구조물의 해체시 발생되는 건설 폐기물에는 철근 및 천연의 토사등에 콘크리트 덩어리등과 같은 이물질이 포함되어 배출토록 되며, 이때 상기 건설 폐기물은 일반적으로 무기물로 구성되어 인체에 무해한 것으로서 재활용이 가능한 것이다.
그러나, 상기와같은 건설 페기물은 대부분이 성토나, 복토 및 매립용등의 기초지반 형성용으로 사용되고 있는 실정인 것이다.
한편, 최근에는 다양한 입도를 갖는 골재를 하나의 공정에 의해 선별 하도록 하는 건설폐기물의 파/분쇄 및 선별장치가 대한민국 등록특허 제 10-0506369호에 알려져 있다.
즉, 상기 건설폐기물의 파/분쇄 및 선별장치에 의하면, 건축 폐기물이 투입되는 호퍼와 연속 공정선상에 죠크러셔와 스크린 및 콘크러셔가 설치되는 1차 파쇄부가 설치되어, 상기 건축 폐기물을 파쇄한 후, 상기 파쇄된 건축 폐기물을 스크린 통과후 일정 입도 이상의 건축 폐기물만 2차 파쇄부를 통해 2차 파쇄하여 컨베이어를 통해 미분을 회수하여, 다양한 입도를 갖는 골재를 하나의 공정에 의해 선별 하도록 하는 것이다.
그러나, 상기와같은 건설 폐기물의 파/분쇄 및 선별장치의 경우, 단순히 1차 및 2차 파쇄부를 통하여 건축 폐기물을 파쇄 및 분쇄한 후, 일정 입도 이하의 골재 미분만 회수하는 관계로, 다양한 크기의 입도를 갖는 건설 폐기물의 골재를 각각 분할하여 배출하기가 불가능하게 됨은 물론, 상기 건축 폐기물을 파쇄 및 분쇄, 선별시 발생되는 먼지등과 같은 미분은 물론, 파쇄 및 분쇄된 토분을 컨베이오를 통해 이송시 발생되는 먼지등이 작업장 주변에 비산되어, 작업장의 주변 환경을 크게 해치게 되는 커다란 문제점이 있는 것이다.
이에 더하여, 상기 건축 폐기물을 파쇄하는 파쇄기는 죠크러셔와 스크린 및 콘크러셔등이 설치되는 관계로, 파쇄기의 복잡한 구성에 의해 이의 제작 및 설치가 극히 어렵게 되는등 많은 문제점이 있는 것이다.
본 발명은 상기와 같은 종래의 문제점들을 개선시키기 위하여 안출된 것으로서 그 목적은, 폐콘크리트, 폐아스콘, 건축 폐자재, 건축 폐기물, 혼합 폐기물등과 같은 폐기물이 1차 파쇄기 및 진동스크린 선별기를 거쳐 파쇄물내의 토분을 용이하게 배출할 수 있도록 하며, 상기 1차 파쇄물을 물이 충진되는 이물질 분리탱크 내부에 투입하여 부상되는 이물질을 선별 분리기에 의해 손쉽고, 용이하게 파쇄 및 분쇄장치의 외부에 배출시킬 수 있도록 함은 물론, 상기 이물질 분리탱크를 통하여 선별된 골재를 2차 파쇄기 및 경사진 스크린 선별기를 통하여 일정한 크기를 갖는 건설용 골재로 순차적으로 선별하여 재활용할 수 있도록 하며, 상기 스크린 선별기를 통하여 일정한 크기 이상의 골재는 3차 파쇄기를 거쳐 재 분쇄 및 스크린 선별기에서 선별토록 하여 골재의 재활용율을 극대화시킬 수 있도록 하고, 1차 파쇄기와 연설되는 진동스크린 선별기 및 2차 파쇄기와 연설된 경사진 스크린 선별기 일측에는 송풍기와 이물질 저장탱크가 각각 설치되어 골재의 선별시 상기 골재의 이물질을 풍력으로 용이하게 제거 및 저장하여 주변 환경 오염발생을 미연에 예방할 수 있는 폐기물의 파쇄 및 선별방법을 제공하는데 있다.
또한, 본 발명은 상기 1,2차 및 3차 파쇄기와 이물질 분리탱크, 진동스크린 선별기등으로 구성되는 폐기물의 파쇄 및 선별기의 간단한 구조에 의해, 페기물 파쇄 및 선별 효율을 가일층 향상시키면서, 설치가 용이하게 이루어질 수 있는 폐기물의 파쇄 및 선별장치를 제공하는데 있다.
상기와 같은 목적을 달성하기 위한 기술적인 수단으로서 본 발명은, 폐기물의 파쇄 및 선별장치에 있어서,
폐기물이 투입되는 호퍼의 일측에 투입구를 개재하여 설치되는 1차 파쇄기;
상기 1차 파쇄기의 일측으로 컨베이어(conveyor)가 연설되고, 상기 컨베이어의 중앙부위 상측에는 철근등의 회수를 위하여 설치되는 1차 자력 선별기;
상기 컨베이어의 후방 단부에는 경사진 진동스크린 선별기가 설치되고, 상기 진동스크린 선별기의 전방 단부에는 직각 방향으로 일정 크기 이하의 토분을 이송하여 배출토록 연설되는 토분 이송용 컨베이어;
상기 진동스크린 선별기의 후방 단부에는 직각 방향으로 이물질이 제거된 골재를 이송하는 컨베이어를 개재하여 연결 설치되는 이물질 분리탱크;
상기 이물질 분리탱크의 내부에는 물이 충진되어 일측으로 경사진 경사 컨베이어가 설치되며, 상기 이물질 분리탱크의 전방 벽면에는 다수의 에어 분사구가 설치되어 이물질 분리탱크의 내부의 이물질을 부상하도록 하며, 상기 이물질 분리탱크의 후방 상부에는 회전 구동하는 선별 분리기가 설치되어, 부상되는 이물질을 분리하고, 상기 선별 분리기의 후방에는 이물질을 배출토록 설치되는 이물질 배출 컨베이어;
상기 이물질 분리탱크의 경사 컨베이어 단부에는 선별된 골재를 이송하는 컨베이어가 연설되며, 상기 컨베이어의 일측 단부에 설치되는 2차 파쇄기;
상기 2차 파쇄기의 하측에는 2차 파쇄된 파쇄물이 이송되는 골재이송 컨베이어가 직각방향으로 연설되고, 상기 골재이송 컨베이어의 단부에는 경사진 스크린 선별기가 설치되어 2차 파쇄된 파쇄물중 직경이 일정크기 이하의 골재를 선별하며, 상기 경사진 스크린 선별기의 단부에는 선별된 골재를 이송하여 하역장에 적재토록 연설되는 선별 골재이송 컨베이어;
상기 경사진 스크린 선별기의 타측단부 하측에 설치되어 직경이 일정크기 이상의 골재를 이송하는 제1 컨베이어 및 상기 제1 컨베이어 단부에 경사진 스크린 선별기(380)가 설치되어 상기 제1 컨베이어(320)를 통해 이송되는 일정크기 이상의 골재중에 25mm 크기의 골재를 선별토록 하고, 상기 스크린 선별기(380)의 단부에 연설되어, 선별된 직경이 25mm 크기의 골재를 이송하여 하역장에 적재토록 선별 골재이송 컨베이어;
상기 스크린 선별기의 타측단부 하측에 직각방향으로 연설되는 제2 컨베이어;
상기 제2 컨베이어의 중앙부위 상측에는 철근등의 회수를 위하여 설치되는 2차 자력 선별기;
상기 제2 컨베이어의 단부에 설치되어 일정크기 이상의 골재를 파쇄하는 3차 파쇄기; 및
상기 3차 파쇄기의 하측에는 호퍼를 개재하여 3차 파쇄된 파쇄물을 2차 파쇄물과 함께 재차 경사진 스크린 선별기에 이송토록 설치되는 골재이송 컨베이어;를 포함하여 구성됨을 특징으로 하는 폐기물의 파쇄 및 선별장치를 마련함에 의한다.
또한, 본 발명은 상기 진동스크린 선별기의 일측에는 이물질을 풍력으로 제거하기위한 제1 송풍기가 설치되며, 상기 제1 송풍기의 일측에는 풍력으로 제거되는 이물질의 저장을 위한 이물질 저장탱크가 설치되는 것을 특징으로 한다.
또한, 상기 선별 분리기의 후방에는 분리 선별된 이물질의 물을 제거하는 진동 스크린을 개재하여 이물질 배출 컨베이어가 연설되며, 상기 이물질 분리탱크에는 용수조 및 보충수 공급관이 연통 연설되고, 이물질 분리탱크의 일측에는 상기 이물질 분리탱크의 슬러지를 침전시키는 슬러지 침전조가 연통 연설되는 한편, 상기 이물질 분리탱크의 경사 컨베이어 단부에는 분리 선별된 골재의 물을 제거하는 경사진 진동 스크린을 개재하여 선별된 골재를 이송하는 컨베이어가 연설되는 것을 특징으로 한다.
한편, 상기 경사진 스크린 선별기의 일측에는 2차 파쇄된 골재의 이물질을 풍력으로 제거하기위한 제2 송풍기가 설치되며, 상기 제2 송풍기의 일측에는 풍력으로 제거되는 이물질의 저장을 위한 이물질 저장탱크가 설치되고, 상기 3차 파쇄기의 하측에는 호퍼를 개재하여 골재이송 컨베이어가 연설되며, 상기 골재이송 컨베이어의 단부에 설치되는 경사진 스크린 선별기는 2차 파쇄된 파쇄물중 직경 9mm 이하의 골재를 선별하여 선별 골재이송 컨베이어로 공급하는 것을 특징으로 한다.
이에 더하여, 본 발명은 폐기물의 파쇄 및 선별방법에 있어서,
폐기물이 투입되는 호퍼 및 투입구를 통하여 건축 페기물이 투입되어 1차 파쇄작업을 수행하는 단계;
상기 1차 파쇄기의 일측으로 연설되는 컨베이어(conveyor)를 통하여 1차 파쇄물을 이송하며, 상기 컨베이어의 중앙부위 상측에 설치되는 1차 자력 선별기를 통하여 파쇄물중의 철근을 회수하는 단계;
상기 컨베이어의 후방 단부에 설치되는 경사진 진동스크린 선별기를 통하여 1차 파쇄된 파쇄물중의 일정크기 이하의 토분을 진동에 의해 분리 선별한 후, 분리 선별된 일정 크기 이하의 토분을 토분 이송용 컨베이어로서 이송하여 배출하는 단계;
상기 진동스크린 선별기의 후방 단부에 직각 방향으로 설치된 컨베이어를 통하여 이물질이 제거된 골재를 이송하는 이물질 분리탱크에 공급하는 단계;
상기 이물질 분리탱크의 내부에는 물이 충진되어, 상기 컨베이어를 통해 공급되는 1차 파쇄물이 상기 이물질 분리탱크의 내부에 설치된 경사진 경사 컨베이어에 침전되면서 이송되며, 이때 상기 이물질 분리탱크의 전방 벽면에는 다수의 에어 분사구가 설치되어, 상기 이물질 분리탱크의 내부의 이물질을 부상시키는 단계;
상기 이물질 분리탱크의 후방 상부에 설치되는 선별 분리기의 회전 구동에 의해, 부상되는 이물질을 이물질 분리탱크의 외부로 분리하도록 하며, 상기 선별 분리기의 후방에는 진동 스크린이 설치되어, 분리 선별된 이물질의 물을 제거한 후, 상기 진동 스크린과 연설된 이물질 배출 컨베이어를 통하여 상기 이물질을 배출하는 단계;
상기 이물질 분리탱크의 경사 컨베이어 단부에는 경사진 진동 스크린을 개재하여, 선별된 골재를 이송하는 컨베이어가 연설되어, 상기 이물질 분리탱크에서 분리 선별된 골재의 물을 진동 스크린을 통하여 제거한 후 컨베이어를 통해 상기 컨베이어의 일측 단부에 설치되는 2차 파쇄기로 공급하여 2차 파쇄작업을 수행하는 단계;
상기와같이 2차 파쇄된 파쇄물은 상기 2차 파쇄기의 하측에 직각방향으로 연설된 골재이송 컨베이어를 통하여 상기 골재이송 컨베이어의 단부에 설치된 경사진 스크린 선별기로 공급되어 직경이 9mm 이하의 골재를 선별하며, 상기 경사진 스크린 선별기 단부에 연설되는 선별 골재이송 컨베이어를 통하여 이송되어 상기 선별된 직경이 9mm 이하의 골재가 하역장에 적재되도록 하는 단계;
상기 경사진 스크린 선별기의 타측단부 하측에는 제1 컨베이어가 설치되어, 상기 스크린 선별기를 통하여 선별되는 직경이 9mm이상의 골재를 이송하며, 상기 제1 컨베이어의 단부에는 경사진 스크린 선별기가 설치되어 상기 제1 컨베이어를 통해 이송되는 9mm 이상의 골재중에 9~25mm 크기의 골재를 선별토록 하고, 상기 스크린 선별기의 단부에는 선별 골재이송 컨베이어(390)가 연설되어, 상기 경사진 스크린 선별기를 통해 선별된 직경이 9~25mm 크기의 골재를 이송하여 하역장에 적재하는 단계;
상기 경사진 스크린 선별기의 타측 단부 하측에는 이와 직각방향으로 제2 컨베이어가 연설되어, 상기 제2 컨베이어를 통해 직경이 25mm 이상의 골재를 상기 제2 컨베이어의 단부에 설치되는 3차 파쇄기로 이송하며, 상기 이송된 직경 25mm이상의 골재를 파쇄하는 단계;
상기 3차 파쇄기의 하측에는 호퍼를 개재하여 골재이송 컨베이어가 연결 설치되어, 상기 3차 파쇄가 완료된 골재가 상기 골재이송 컨베이어를 통하여 골재이송 컨베이어로 이송하는 단계; 및
상기 골재이송 컨베이어에서 2차 파쇄물과 함께 3차 파쇄물이 이송되어 재차 상기 경사진 스크린 선별기에서 직경이 9mm 이하의 골재 및 직경이 9~25mm의 골재를 순차적으로 선별하는 단계;를 포함하여 제조됨을 특징으로 하는 폐기물의 파쇄 및 선별방법을 마련함에 의한다.
또한, 본 발명은 상기 경사진 진동스크린 선별기의 일측에 설치되는 제1 송풍기에 의해 1차 파쇄된 파쇄물중의 이물질이 풍력으로 제거되어 이물질 저장탱크에 유입되는 것을 특징으로 한다.
또한, 본 발명은 상기 이물질 분리탱크에는 용수조 및 보충수 공급관이 연통 연설되어, 상기 이물질 분리탱크에 항상 물을 공급할 수 있도록 하며, 상기 이물질 분리탱크의 일측에는 슬러지 침전조가 연통 연설되어, 상기 이물질 분리탱크의 슬러지를 침전시키는 것을 특징으로 한다,
이에 더하여, 본 발명은 상기 직경이 9mm 이하의 골재를 선별하는 경사진 스크린 선별기의 일측에는 제2 송풍기가 설치되어, 2차 파쇄된 골재의 이물질을 풍력으로 제거한 후, 상기 제2 송풍기의 일측에는 설치된 이물질 저장탱크 내부로 상기 풍력으로 제거되는 이물질이 저장토록 하며, 상기 제2 컨베이어의 중앙부위 상측에는 벨트식 2차 자력 선별기가 설치되어, 2차 파쇄된 골재중에 잔존하는 철근등을 회수하는 것을 특징으로 한다.
본 발명인 폐기물의 파쇄 및 선별장치와 그 방법에 의하면, 폐콘크리트, 폐아스콘, 건축 폐자재, 건축 폐기물, 혼합 폐기물등과 같은 폐기물이 1차 파쇄기 및 진동스크린 선별기를 거쳐 파쇄물내의 토분을 용이하게 배출할 수 있도록 하며, 상기 1차 파쇄물을 물이 충진되는 이물질 분리탱크 내부에 투입하여 부상되는 이물질을 선별 분리기에 의해 손쉽고, 용이하게 파쇄 및 분쇄장치의 외부에 배출시킬 수 있도록 함은 물론, 상기 이물질 분리탱크를 통하여 선별된 골재를 2차 파쇄기 및 경사진 스크린 선별기를 통하여 일정한 크기를 갖는 건설용 골재로 순차적으로 선별하여 재활용할 수 있도록 하며, 상기 스크린 선별기를 통하여 일정한 크기 이상의 골재는 3차 파쇄기를 거쳐 재 분쇄 및 스크린 선별기에서 선별토록 하여 골재의 재활용율을 극대화시킬 수 있도록 하고, 1차 파쇄기와 연설되는 진동스크린 선별기 및 2차 파쇄기와 연설된 경사진 스크린 선별기 일측에는 송풍기와 이물질 저장탱크가 각각 설치되어 골재의 선별시 상기 골재의 이물질을 풍력으로 용이하게 제거 및 저장하여 주변 환경 오염발생을 미연에 예방할 수 있으면서, 폐기물의 파쇄 및 선별기의 간단한 구조에 의해, 페기물 파쇄 및 선별 효율을 가일층 향상시키면서, 설치가 용이하게 이루어질 수 있는 우수한 효과가 있다.
본 발명은 특정한 실시예에 관련하여 도시하고 설명하였지만, 이하의 특허청구의 범위에 의해 마련되는 본 발명의 정신이나 분야를 벗어나지 않는 한도내에서 본 발명이 다양하게 개조 및 변화될수 있다는 것을 당업계에서 통상의 지식을 가진자는 용이하게 알수 있음을 밝혀두고자 한다.
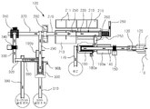
도 1은 본 발명에 의한 폐기물의 파쇄 및 선별장치의 개략 구성도.
도 2는 본 발명의 폐기물의 파쇄 및 선별장치에 설치되는 이물질 분리탱크의 개략 구조도.
도 3은 본 발명의 폐기물의 파쇄 및 선별장치에 설치되는 3차 파쇄기 및 그 하측에 연설되는 골재이송 컨베이어의 평면 개략 구조도.
도 4는 본 발명의 폐기물의 파쇄 및 선별장치에 설치되어 직경 9mm 이하의 골재를 선별하는 스크린 선별기의 개략 구조도.
도 5는 본 발명인 폐기물의 파쇄 및 선별장치에 설치되어 직경 25mm 이하의 골재를 선별하는 스크린 선별기의 개략 구조도.
도 6은 본 발명에 따른 폐기물의 파쇄 및 선별을 위한 플로우챠트.
이하, 첨부된 도면에 의거하여 본 발명의 실시예를 상세하게 설명하면 다음과 같다.
도 1은 본 발명에 의한 폐기물의 파쇄 및 선별장치의 개략 구성도이고, 도 2는 본 발명의 폐기물의 파쇄 및 선별장치에 설치되는 이물질 분리탱크의 개략 구조도이며, 도 3은 본 발명의 폐기물의 파쇄 및 선별장치에 설치되는 3차 파쇄기 및 그 하측에 연설되는 골재이송 컨베이어의 평면 개략 구조도, 도 4는 본 발명의 폐기물의 파쇄 및 선별장치에 설치되어 직경 9mm 이하의 골재를 선별하는 스크린 선별기의 개략 구조도, 도 5는 본 발명인 폐기물의 파쇄 및 선별장치에 설치되어 직경 25mm 이하의 골재를 선별하는 스크린 선별기의 개략 구조도로서, 파쇄 및 선별장치(100)에 폐기물이 투입되는 호퍼(110)의 일측에 투입구(120)를 개재하여 1차 파쇄기(130)가 설치되며, 상기 1차 파쇄기(130)의 일측에는 컨베이어(140)(conveyor)가 연설되고, 상기 컨베이어(140)의 중앙부위 상측에는 철근등의 회수를 위한 벨트식 1차 자력 선별기(150)가 설치되며, 상기 컨베이어(140)의 후방 단부에는 경사진 진동스크린 선별기(160)가 설치되는 한편, 상기 진동스크린 선별기(160)의 전방 단부에는 직각 방향으로 일정 크기 이하의 토분을 이송하여 배출토록 토분 이송용 컨베이어(170)가 연설토록 된다.
이때 상기 진동스크린 선별기(160)의 일측에는 이물질을 풍력으로 제거하기위한 제1 송풍기(180a)가 설치되며, 상기 제1 송풍기(180a)의 일측에는 풍력으로 제거되는 이물질의 저장을 위한 이물질 저장탱크(190a)가 설치된다.
또한, 상기 진동스크린 선별기(160)의 후방 단부에는 직각 방향으로 이물질이 제거된 골재를 이송하는 컨베이어(200)를 개재하여 이물질 분리탱크(210)가 연결 설치되며, 상기 이물질 분리탱크(210)의 내부에는 물이 충진되어 일측으로 경사진 경사 컨베이어(220)가 설치되며, 상기 이물질 분리탱크(210)의 전방 벽면에는 상기 이물질 분리탱크(210)의 내부의 이물질을 부상하도록 다수의 에어 분사구(230)가 설치되고, 상기 이물질 분리탱크(210)의 후방 상부에는 부상되는 이물질을 분리하도록 회전 구동하는 선별 분리기(240)가 설치되며, 상기 선별 분리기(240)의 후방에는 분리 선별된 이물질의 물을 제거하는 진동 스크린(250) 및 이와 연설되어 이물질을 배출토록 이물질 배출 컨베이어(260)가 연결 설치된다.
상기 이물질 분리탱크(210)에는 용수조(211) 및 상기 이물질 분리탱크(210)의 슬러지를 침전시키는 슬러지 침전조(213)가 연통 연설된다.
또한, 상기 이물질 분리탱크(210)의 경사 컨베이어(220) 단부에는 분리 선별된 골재의 물을 제거하는 경사진 진동 스크린(250')을 개재하여, 선별된 골재를 이송하는 컨베이어(270)가 연설되며, 상기 컨베이어(270)의 일측 단부에는 2차 파쇄기(280)가 설치된다.
한편, 상기 2차 파쇄기(280)의 하측에는 2차 파쇄된 파쇄물이 이송되는 골재이송 컨베이어(290)가 직각방향으로 연설되고, 상기 골재이송 컨베이어(290)의 단부에는 경사진 스크린 선별기(300)가 설치되어 2차 파쇄된 파쇄물중 일정한 크기의 골재를 선별하며, 상기 경사진 스크린 선별기(300)의 단부에는 선별된 직경이 9mm이하의 의 골재를 이송하여 하역장에 적재토록 선별 골재이송 컨베이어(310)가 연설되고, 상기 경사진 스크린 선별기(300)의 일측에는 2차 파쇄된 골재의 이물질을 풍력으로 제거하기위한 제2 송풍기(180b)가 설치되고, 상기 제2 송풍기(180b)의 일측에는 풍력으로 제거되는 이물질의 저장을 위한 이물질 저장탱크(190b)가 설치된다.
또한, 상기 경사진 스크린 선별기(300)의 타측단부 하측에는 제1 컨베이어(320)가 설치되어 직경이 9mm이상의 골재를 이송하며, 상기 제1 컨베이어(320)의 단부에는 경사진 스크린 선별기(380)가 설치되어 상기 제1 컨베이어(320)를 통해 이송되는 9mm 이상의 골재중에 9~25mm 크기의 골재를 선별토록 하고, 상기 스크린 선별기(380)의 단부에는 선별된 직경이 9~25mm 크기의 골재를 이송하여 하역장에 적재토록 선별 골재이송 컨베이어(390)가 연설되는 한편, 상기 경사진 스크린 선별기(380)의 타측단부 하측에는 이와 직각방향으로 직경이 25mm 이상의 골재를 이송하는 제2 컨베이어(330)가 연설되며, 이때 상기 제2 컨베이어의 중앙부위 상측에는 파쇄된 골재중의 철근등의 회수를 위한 벨트식 2차 자력 선별기(340)가 설치되고, 상기 제2 컨베이어(330)의 단부에는 상기 이송된 직경 25mm이상의 골재를 파쇄하는 3차 파쇄기(350)가 설치된다.
계속해서, 상기 3차 파쇄기(350)의 하측에는 호퍼(360)를 개재하여 3차 파쇄된 파쇄물을 상기 2차 파쇄물과 함께 재차 상기 경사진 스크린 선별기(300)에 이송토록 골재이송 컨베이어(370)가 연결 설치되는 구성으로 이루어진다.
이와같은 구성으로 이루어진 본 발명의 폐기물의 파쇄 및 선별방법을 상세하게 설명하면 다음과 같다.
도 6은 본 발명에 따른 폐기물의 파쇄 및 선별을 위한 플로우챠트로서 도1 내지 도 5를 참고하여 본 발명의 폐기물의 파쇄 및 선별방법을 설명하면 다음과 같다.
즉, 폐콘크리트, 폐아스콘, 건축 폐자재, 건축 폐기물, 혼합 폐기물등과 같은 폐기물이 파쇄 및 선별장치(100)에 투입되도록 호퍼(110)의 일측에 설치된 투입구(120)를 통하여 페기물이 1차 파쇄기(130)에서 파쇄되도록 하며, 상기 1차 파쇄기(130)에서 파쇄된 파쇄물은 그 일측에 연설되는 컨베이어(140)(conveyor)를 통해 그 후방 단부에 설치되는 경사진 진동스크린 선별기(160)로 유입토록 되고, 이때 상기 컨베이어(140)의 중앙부위 상측에는 벨트식 1차 자력 선별기(150)가 설치되어, 1차 파쇄되어 이송되는 파쇄물중의 철근등을 회수하게 되는 한편, 상기 경사진 진동스크린 선별기(160)에 유입된 파쇄물중의 일정한 크기 이하의 토분은 상기 진동스크린 선별기(160)의 전방 단부에 직각방향으로 연설되는 토분 이송용 컨베이어(170)를 통하여 이송되어 배출토록 된다.
이때, 상기 진동스크린 선별기(160)의 일측에는 제1 송풍기(180a)가 설치되어, 진동으로 선별중인 1차 파쇄물중의 이물질을 풍력으로 제거하여 상기 제1 송풍기(180a)의 일측에 설치되는 이물질 저장탱크(190a)로 배출 및 저장될 수 있도록 한다.
또한, 상기 진동스크린 선별기(160)의 후방 단부에는 직각 방향으로 컨베이어(200)가 설치되어 상기 이물질이 제거된 골재를 이송하여, 상기 컨베이어(200)의 단부에 연결 설치된 이물질 분리탱크(210)로 공급하게 되며, 이때 상기 이물질 분리탱크(210)의 내부에는 물이 충진되어, 상기 컨베이어(220)를 통해 공급되는 1차 파쇄물이 상기 이물질 분리탱크(210)의 내부에 설치된 경사진 경사 컨베이어(220)에 침전되면서 이송될 수 있게 되며, 바로 이때 상기 이물질 분리탱크(210)의 전방 벽면에는 다수의 에어 분사구(230)가 설치되어, 상기 이물질 분리탱크(210)의 내부의 이물질을 부상하도록 한 후, 상기 이물질 분리탱크(210)의 후방 상부에 설치되는 선별 분리기(240)의 회전 구동에 의해, 부상되는 이물질을 이물질 분리탱크(210)의 외부로 분리하도록 하며, 상기 선별 분리기(240)의 후방에는 진동 스크린(250)이 설치되어, 분리 선별된 이물질의 물을 제거한 후, 상기 진동 스크린(250)과 연설된 이물질 배출 컨베이어(260)를 통하여 상기 이물질을 배출토록 한다.
한편, 상기 이물질 분리탱크(210)에는 용수조(211) 및 보충수 공급관(212)이 연통 연설되어, 상기 이물질 분리탱크(210)에 물을 공급할 수 있도록 하며, 상기 이물질 분리탱크(210)의 일측에는 슬러지 침전조(213)가 연통 연설되어, 상기 이물질 분리탱크(210)의 슬러지를 침전시킨다.
계속해서, 상기 이물질 분리탱크(210)의 경사 컨베이어(220) 단부에는 경사진 진동 스크린(250')을 개재하여, 선별된 골재를 이송하는 컨베이어(270)가 연설되어, 상기 이물질 분리탱크(210)에서 분리 선별된 골재의 물을 진동 스크린(250')을 통하여 제거한 후 컨베이어(270)를 통해 상기 컨베이어(270)의 일측 단부에 설치되는 2차 파쇄기(280)로 공급하여 2차 파쇄작업을 수행한다.
상기와같이 2차 파쇄기(280)를 통하여 2차 파쇄된 파쇄물은 상기 2차 파쇄기(280)의 하측에 직각방향으로 연설된 골재이송 컨베이어(290)를 통하여 상기 골재이송 컨베이어(290)의 단부에 설치된 경사진 스크린 선별기(300)로 공급되며, 상기 경사진 스크린 선별기(300)에서 2차 파쇄된 파쇄물중 직경이 9mm의 골재를 선별하며, 상기 경사진 스크린 선별기(300) 단부에 연설되는 선별 골재이송 컨베이어(310)를 통하여 이송되어 상기 선별된 직경이 9mm의 골재가 하역장에 적재되도록 하며, 상기 경사진 스크린 선별기(300)의 일측에는 제2 송풍기(180b)가 설치되어, 2차 파쇄된 골재의 이물질을 풍력으로 제거한 후, 상기 제2 송풍기(180b)의 일측에는 설치된 이물질 저장탱크(190b) 내부로 상기 풍력으로 제거되는 이물질이 저장토록 된다.
또한, 상기 경사진 스크린 선별기(300)의 타측단부 하측에는 제1 컨베이어(320)가 설치되어, 상기 스크린 선별기(300)를 통하여 선별되는 직경이 9mm이상의 골재를 이송하며, 상기 제1 컨베이어(320)의 단부에는 경사진 스크린 선별기(380)가 설치되어 상기 제1 컨베이어(320)를 통해 이송되는 9mm 이상의 골재중에 9~25mm 크기의 골재를 선별토록 하고, 상기 스크린 선별기(380)의 단부에는 선별 골재이송 컨베이어(390)가 연설되어, 상기 스크린 선별기(380)를 통하여 선별된 직경이 9~25mm 크기의 골재를 이송하여 하역장에 적재토록 는 한편, 상기 경사진 스크린 선별기(380)의 타측단부 하측에는 이와 직각방향으로 제2 컨베이어(330)가 연설되어, 직경이 25mm 이상의 골재를 이송하게 되며, 이때 상기 제2 컨베이어(330)의 중앙부위 상측에는 벨트식 2차 자력 선별기(340)가 설치되어, 2차 파쇄된 골재중에 잔존하는 철근등을 회수하게 되며, 상기 제2 컨베이어(330)의 단부에는 3차 파쇄기(350)가 설치어, 상기 이송된 직경 25mm이상의 골재를 파쇄하게 된다.
계속해서, 상기 3차 파쇄기(350)의 하측에는 호퍼(360)를 개재하여 골재이송 컨베이어(370)가 연결 설치되어, 상기 3차 파쇄가 완료된 골재가 상기 골재이송 컨베이어(370)를 통하여 골재이송 컨베이어(290)로 이송되고, 상기 골재이송 컨베이어(290)에서 2차 파쇄물과 함께 3차 파쇄물이 이송되어 재차 상기 경사진 스크린 선별기(300)에서 직경이 9mm 이하의 골재를 선별하게 되며, 또한 직경이 9~25mm의 크기를 갖는 골재는 스크린 선별기(380)를 통하여 선별하게 되어, 일정한 크기를 갖는 건설용 골재를 재 파쇄 및 재활용할 수 있는 것이다.
100...파쇄 및 선별장치 110...호퍼
120...투입구 130...1차 파쇄기
140...컨베이어 150...1차 자력 선별기
160...진동스크린 선별기 170...토분 이송용 컨베이어
180a,180b...제1 및 제2 송풍기 190a,190b...이물질 저장탱크
200...컨베이어 210...이물질 분리탱크
213...슬러지 침전조 220...경사 컨베이어
230...에어 분사구 240...선별 분리기
250,250'...진동 스크린 260...이물질 배출 컨베이어
270...컨베이어 280...2차 파쇄기
290...골재이송 컨베이어 300...스크린 선별기
310...선별 골재이송 컨베이어 320...제1 컨베이어
330...제2 컨베이어 340...2차 자력 선별기
350...3차 파쇄기 360...호퍼
370...골재 이송 컨베이어

Claims (14)

  1. 폐기물의 파쇄 및 선별장치에 있어서,
    폐기물이 투입되는 호퍼의 일측에 투입구를 개재하여 설치되는 1차 파쇄기;
    상기 1차 파쇄기의 일측으로 컨베이어(conveyor)가 연설되고, 상기 컨베이어의 중앙부위 상측에는 철근등의 회수를 위하여 설치되는 1차 자력 선별기;
    상기 컨베이어의 후방 단부에는 경사진 진동스크린 선별기가 설치되고, 상기 진동스크린 선별기의 전방 단부에는 직각 방향으로 일정 크기 이하의 토분을 이송하여 배출토록 연설되는 토분 이송용 컨베이어;
    상기 진동스크린 선별기의 후방 단부에는 직각 방향으로 이물질이 제거된 골재를 이송하는 컨베이어를 개재하여 연결 설치되는 이물질 분리탱크;
    상기 이물질 분리탱크의 내부에는 물이 충진되어 일측으로 경사진 경사 컨베이어가 설치되며, 상기 이물질 분리탱크의 전방 벽면에는 다수의 에어 분사구가 설치되어 이물질 분리탱크의 내부의 이물질을 부상하도록 하며, 상기 이물질 분리탱크의 후방 상부에는 회전 구동하는 선별 분리기가 설치되어, 부상되는 이물질을 분리하고, 상기 선별 분리기의 후방에는 이물질을 배출토록 설치되는 이물질 배출 컨베이어;
    상기 이물질 분리탱크의 경사 컨베이어 단부에는 선별된 골재를 이송하는 컨베이어가 연설되며, 상기 컨베이어의 일측 단부에 설치되는 2차 파쇄기;
    상기 2차 파쇄기의 하측에는 2차 파쇄된 파쇄물이 이송되는 골재이송 컨베이어가 직각방향으로 연설되고, 상기 골재이송 컨베이어의 단부에는 경사진 스크린 선별기가 설치되어 2차 파쇄된 파쇄물중 직경이 일정크기 이하의 골재를 선별하며, 상기 경사진 스크린 선별기의 단부에는 선별된 골재를 이송하여 하역장에 적재토록 연설되는 선별 골재이송 컨베이어;
    상기 경사진 스크린 선별기의 타측단부 하측에 설치되어 직경이 일정크기 이상의 골재를 이송하는 제1 컨베이어 및 상기 제1 컨베이어 단부에 경사진 스크린 선별기(380)가 설치되어 상기 제1 컨베이어(320)를 통해 이송되는 일정크기 이상의 골재중에 25mm 크기의 골재를 선별토록 하고, 상기 스크린 선별기(380)의 단부에 연설되어, 선별된 직경이 25mm 크기의 골재를 이송하여 하역장에 적재토록 선별 골재이송 컨베이어;
    상기 스크린 선별기의 타측단부 하측에 직각방향으로 연설되는 제2 컨베이어;
    상기 제2 컨베이어의 중앙부위 상측에는 철근등의 회수를 위하여 설치되는 2차 자력 선별기;
    상기 제2 컨베이어의 단부에 설치되어 일정크기 이상의 골재를 파쇄하는 3차 파쇄기; 및
    상기 3차 파쇄기의 하측에는 호퍼를 개재하여 3차 파쇄된 파쇄물을 2차 파쇄물과 함께 재차 경사진 스크린 선별기에 이송토록 설치되는 골재이송 컨베이어;를 포함하여 구성됨을 특징으로 하는 폐기물의 파쇄 및 선별장치를 마련함에 의한다.
  2. 제 1항에 있어서, 상기 진동스크린 선별기의 일측에는 이물질을 풍력으로 제거하기위한 제1 송풍기가 설치되는 것을 특징으로 하는 폐기물의 파쇄 및 선별장치.
  3. 제 2항에 있어서, 상기 제1 송풍기의 일측에는 풍력으로 제거되는 이물질의 저장을 위한 이물질 저장탱크가 설치되는 것을 특징으로 하는 폐기물의 파쇄 및 선별장치.
  4. 제 1항에 있어서, 상기 선별 분리기의 후방에는 분리 선별된 이물질의 물을 제거하는 진동 스크린을 개재하여 이물질 배출 컨베이어가 연설되는 것을 특징으로 하는 폐기물의 파쇄 및 선별장치.
  5. 제 1항에 있어서, 상기 이물질 분리탱크에는 용수조 및 보충수 공급관이 연통 연설되며, 이물질 분리탱크의 일측에는 상기 이물질 분리탱크의 슬러지를 침전시키는 슬러지 침전조가 연통 연설되는 것을 특징으로 하는 폐기물의 파쇄 및 선별장치.
  6. 제 1항에 있어서, 상기 이물질 분리탱크의 경사 컨베이어 단부에는 분리 선별된 골재의 물을 제거하는 경사진 진동 스크린을 개재하여 선별된 골재를 이송하는 컨베이어가 연설되는 것을 특징으로 하는 폐기물의 파쇄 및 선별장치.
  7. 제 1항에 있어서, 상기 경사진 스크린 선별기의 일측에는 2차 파쇄된 골재의 이물질을 풍력으로 제거하기위한 제2 송풍기가 설치되며, 상기 제2 송풍기의 일측에는 풍력으로 제거되는 이물질의 저장을 위한 이물질 저장탱크가 설치되는 것을 특징으로 하는 폐기물의 파쇄 및 선별장치.
  8. 제 1항에 있어서, 상기 3차 파쇄기의 하측에는 호퍼를 개재하여 골재이송 컨베이어가 연설되는 것을 특징으로 하는 폐기물의 파쇄 및 선별장치
  9. 제 1항에 있어서, 상기 골재이송 컨베이어의 단부에 설치되는 경사진 스크린 선별기는 2차 파쇄된 파쇄물중 직경 9mm의 골재를 선별하여 선별 골재이송 컨베이어로 공급하는 것을 특징으로 하는 폐기물의 파쇄 및 선별장치.
  10. 폐기물의 파쇄 및 선별방법에 있어서,
    폐기물이 투입되는 호퍼 및 투입구를 통하여 건축 페기물이 투입되어 1차 파쇄작업을 수행하는 단계;
    상기 1차 파쇄기의 일측으로 연설되는 컨베이어(conveyor)를 통하여 1차 파쇄물을 이송하며, 상기 컨베이어의 중앙부위 상측에 설치되는 1차 자력 선별기를 통하여 파쇄물중의 철근을 회수하는 단계;
    상기 컨베이어의 후방 단부에 설치되는 경사진 진동스크린 선별기를 통하여 1차 파쇄된 파쇄물중의 일정크기 이하의 토분을 진동에 의해 분리 선별한 후, 분리 선별된 일정 크기 이하의 토분을 토분 이송용 컨베이어로서 이송하여 배출하는 단계;
    상기 진동스크린 선별기의 후방 단부에 직각 방향으로 설치된 컨베이어를 통하여 이물질이 제거된 골재를 이송하는 이물질 분리탱크에 공급하는 단계;
    상기 이물질 분리탱크의 내부에는 물이 충진되어, 상기 컨베이어를 통해 공급되는 1차 파쇄물이 상기 이물질 분리탱크의 내부에 설치된 경사진 경사 컨베이어에 침전되면서 이송되며, 이때 상기 이물질 분리탱크의 전방 벽면에는 다수의 에어 분사구가 설치되어, 상기 이물질 분리탱크의 내부의 이물질을 부상시키는 단계;
    상기 이물질 분리탱크의 후방 상부에 설치되는 선별 분리기의 회전 구동에 의해, 부상되는 이물질을 이물질 분리탱크의 외부로 분리하도록 하며, 상기 선별 분리기의 후방에는 진동 스크린이 설치되어, 분리 선별된 이물질의 물을 제거한 후, 상기 진동 스크린과 연설된 이물질 배출 컨베이어를 통하여 상기 이물질을 배출하는 단계;
    상기 이물질 분리탱크의 경사 컨베이어 단부에는 경사진 진동 스크린을 개재하여, 선별된 골재를 이송하는 컨베이어가 연설되어, 상기 이물질 분리탱크에서 분리 선별된 골재의 물을 진동 스크린을 통하여 제거한 후 컨베이어를 통해 상기 컨베이어의 일측 단부에 설치되는 2차 파쇄기로 공급하여 2차 파쇄작업을 수행하는 단계;
    상기와같이 2차 파쇄된 파쇄물은 상기 2차 파쇄기의 하측에 직각방향으로 연설된 골재이송 컨베이어를 통하여 상기 골재이송 컨베이어의 단부에 설치된 경사진 스크린 선별기로 공급되어 직경이 9mm 이하의 골재를 선별하며, 상기 경사진 스크린 선별기 단부에 연설되는 선별 골재이송 컨베이어를 통하여 이송되어 상기 선별된 직경이 9mm 이하의 골재가 하역장에 적재되도록 하는 단계;
    상기 경사진 스크린 선별기의 타측단부 하측에는 제1 컨베이어가 설치되어, 상기 스크린 선별기를 통하여 선별되는 직경이 9mm이상의 골재를 이송하며, 상기 제1 컨베이어의 단부에는 경사진 스크린 선별기가 설치되어 상기 제1 컨베이어를 통해 이송되는 9mm 이상의 골재중에 9~25mm 크기의 골재를 선별토록 하고, 상기 스크린 선별기의 단부에는 선별 골재이송 컨베이어(390)가 연설되어, 상기 경사진 스크린 선별기를 통해 선별된 직경이 9~25mm 크기의 골재를 이송하여 하역장에 적재하는 단계;
    상기 경사진 스크린 선별기의 타측 단부 하측에는 이와 직각방향으로 제2 컨베이어가 연설되어, 상기 제2 컨베이어를 통해 직경이 25mm 이상의 골재를 상기 제2 컨베이어의 단부에 설치되는 3차 파쇄기로 이송하며, 상기 이송된 직경 25mm이상의 골재를 파쇄하는 단계;
    상기 3차 파쇄기의 하측에는 호퍼를 개재하여 골재이송 컨베이어가 연결 설치되어, 상기 3차 파쇄가 완료된 골재가 상기 골재이송 컨베이어를 통하여 골재이송 컨베이어로 이송하는 단계; 및
    상기 골재이송 컨베이어에서 2차 파쇄물과 함께 3차 파쇄물이 이송되어 재차 상기 경사진 스크린 선별기에서 직경이 9mm 이하의 골재 및 직경이 9~25mm의 골재를 순차적으로 선별하는 단계;를 포함하여 제조됨을 특징으로 하는 폐기물의 파쇄 및 선별방법.
  11. 제 10항에 있어서, 상기 경사진 진동스크린 선별기의 일측에 설치되는 제1 송풍기에 의해 1차 파쇄된 파쇄물중의 이물질이 풍력으로 제거되어 이물질 저장탱크에 유입되는 것을 특징으로 하는 폐기물의 파쇄 및 선별방법.
  12. 제 10항에 있어서, 상기 이물질 분리탱크에는 용수조 및 보충수 공급관이 연통 연설되어, 상기 이물질 분리탱크에 항상 물을 공급할 수 있도록 하며, 상기 이물질 분리탱크의 일측에는 슬러지 침전조가 연통 연설되어, 상기 이물질 분리탱크의 슬러지를 침전시키는 것을 특징으로 하는 폐기물의 파쇄 및 선별방법.
  13. 제 10항에 있어서, 상기 직경이 9mm의 골재를 선별하는 경사진 스크린 선별기의 일측에는 제2 송풍기가 설치되어, 2차 파쇄된 골재의 이물질을 풍력으로 제거한 후, 상기 제2 송풍기의 일측에는 설치된 이물질 저장탱크 내부로 상기 풍력으로 제거되는 이물질이 저장토록 하는 것을 특징으로 하는 폐기물의 파쇄 및 선별방법.
  14. 제 10항에 있어서, 상기 제2 컨베이어의 중앙부위 상측에는 벨트식 2차 자력 선별기가 설치되어, 2차 파쇄된 골재중에 잔존하는 철근등을 회수하는 것을 특징으로 하는 폐기물의 파쇄 및 선별방법.
KR20130004516A 2013-01-15 2013-01-15 폐기물의 파쇄 및 선별장치와 그 방법 Ceased KR20140105041A (ko)

Priority Applications (1)

Application Number Priority Date Filing Date Title
KR20130004516A KR20140105041A (ko) 2013-01-15 2013-01-15 폐기물의 파쇄 및 선별장치와 그 방법

Applications Claiming Priority (1)

Application Number Priority Date Filing Date Title
KR20130004516A KR20140105041A (ko) 2013-01-15 2013-01-15 폐기물의 파쇄 및 선별장치와 그 방법

Publications (1)

Publication Number Publication Date
KR20140105041A true KR20140105041A (ko) 2014-09-01

Family

ID=51754131

Family Applications (1)

Application Number Title Priority Date Filing Date
KR20130004516A Ceased KR20140105041A (ko) 2013-01-15 2013-01-15 폐기물의 파쇄 및 선별장치와 그 방법

Country Status (1)

Country Link
KR (1) KR20140105041A (ko)

Cited By (7)

* Cited by examiner, † Cited by third party
Publication number Priority date Publication date Assignee Title
KR101627492B1 (ko) * 2015-11-24 2016-06-13 주식회사 그린에코 폐기물을 이용한 복토재 제조 장치
KR101685025B1 (ko) 2016-09-27 2016-12-09 주식회사 한강이앰피 건설폐기물의 순환골재 선별처리장치
KR101689211B1 (ko) 2016-09-27 2016-12-23 주식회사 한강이앰피 건설폐기물의 순환골재 선별처리장치용 라인 디퓨저
KR102029165B1 (ko) * 2019-02-20 2019-11-08 장수남 유리 파쇄 시스템 및 이를 이용한 유리 파쇄 방법
KR20200044537A (ko) * 2018-10-19 2020-04-29 한국산업기술시험원 가연성 폐기물 재활용 방법 및 이를 위한 장치
CN111185294A (zh) * 2020-03-11 2020-05-22 绍兴上虞丙方环保设备有限公司 一种分类筛选将建筑垃圾粉碎为代砂的装置
CN120268561A (zh) * 2025-04-18 2025-07-08 江西鑫山建设有限公司 一种基于建筑垃圾再利用的再生骨料制备方法

Cited By (8)

* Cited by examiner, † Cited by third party
Publication number Priority date Publication date Assignee Title
KR101627492B1 (ko) * 2015-11-24 2016-06-13 주식회사 그린에코 폐기물을 이용한 복토재 제조 장치
KR101685025B1 (ko) 2016-09-27 2016-12-09 주식회사 한강이앰피 건설폐기물의 순환골재 선별처리장치
KR101689211B1 (ko) 2016-09-27 2016-12-23 주식회사 한강이앰피 건설폐기물의 순환골재 선별처리장치용 라인 디퓨저
KR20200044537A (ko) * 2018-10-19 2020-04-29 한국산업기술시험원 가연성 폐기물 재활용 방법 및 이를 위한 장치
KR102029165B1 (ko) * 2019-02-20 2019-11-08 장수남 유리 파쇄 시스템 및 이를 이용한 유리 파쇄 방법
CN111185294A (zh) * 2020-03-11 2020-05-22 绍兴上虞丙方环保设备有限公司 一种分类筛选将建筑垃圾粉碎为代砂的装置
CN111185294B (zh) * 2020-03-11 2020-09-29 金华市顺忠新型建筑材料有限公司 一种分类筛选将建筑垃圾粉碎为代砂的装置
CN120268561A (zh) * 2025-04-18 2025-07-08 江西鑫山建设有限公司 一种基于建筑垃圾再利用的再生骨料制备方法

Similar Documents

Publication Publication Date Title
KR101785217B1 (ko) 매립된 가연성 쓰레기와 생활쓰레기를 연료화하기 위한 선별방법 및 선별시스템
CN201150926Y (zh) 一种建筑垃圾综合处理利用系统
KR20140105041A (ko) 폐기물의 파쇄 및 선별장치와 그 방법
CN201442005U (zh) 建筑垃圾综合处理设备
KR101422793B1 (ko) 매립쓰레기 건설 폐토석의 재활용이 가능한 선별방법 및 선별시스템
CN204294609U (zh) 一种固定式建筑垃圾处理生产线
JP3052126U (ja) 建設廃棄物処理装置
KR20090098463A (ko) 폐토사의 재생장치
CN106391471A (zh) 生活垃圾一体化分选机
KR100358687B1 (ko) 건설폐기물의 재활용 처리방법
JP2525270B2 (ja) 構築廃材の水力利用選別方法及び構築廃材の水力利用選別装置
KR20140055836A (ko) 폐기물의 파/분쇄 및 선별장치와 그 방법
KR100434799B1 (ko) 건설 폐기물의 재활용을 통한 재생 모래의 제조 방법 및그 장치
KR20040055909A (ko) 부순 모래 생산을 위한 시스템 구성 장치 및 그 방법
KR200308843Y1 (ko) 부순 모래 생산을 위한 시스템 구성 장치
KR100595006B1 (ko) 건설폐기물 처리시스템
CN206033581U (zh) 一种建筑垃圾回收利用生产线
KR100494579B1 (ko) 폐기물선별장치
KR100472078B1 (ko) 건설폐기물에 포함된 임목폐기물 재활용장치 및 그 방법
KR100465313B1 (ko) 건설폐기물 재활용골재 선별장치
KR100570319B1 (ko) 건설폐기물 재생장치
KR100320095B1 (ko) 다중 원심분리기를 이용한 건설 폐기물을 재활용하는 방법
KR102051412B1 (ko) 건축폐기물 처리장치
KR200236742Y1 (ko) 건축폐기물의 재활용 처리장치
CN202105839U (zh) 一种公路垃圾分离处理设备

Legal Events

Date Code Title Description
PA0109 Patent application

Patent event code: PA01091R01D

Comment text: Patent Application

Patent event date: 20130115

PA0201 Request for examination
PA0302 Request for accelerated examination

Patent event date: 20130117

Patent event code: PA03022R01D

Comment text: Request for Accelerated Examination

Patent event date: 20130115

Patent event code: PA03021R01I

Comment text: Patent Application

PE0902 Notice of grounds for rejection

Comment text: Notification of reason for refusal

Patent event date: 20130225

Patent event code: PE09021S01D

PE0601 Decision on rejection of patent

Patent event date: 20130510

Comment text: Decision to Refuse Application

Patent event code: PE06012S01D

Patent event date: 20130225

Comment text: Notification of reason for refusal

Patent event code: PE06011S01I

PX0901 Re-examination

Patent event code: PX09011S01I

Patent event date: 20130510

Comment text: Decision to Refuse Application

Patent event code: PX09012R01I

Patent event date: 20130308

Comment text: Amendment to Specification, etc.

PX0601 Decision of rejection after re-examination

Comment text: Decision to Refuse Application

Patent event code: PX06014S01D

Patent event date: 20130708

Comment text: Amendment to Specification, etc.

Patent event code: PX06012R01I

Patent event date: 20130603

Comment text: Decision to Refuse Application

Patent event code: PX06011S01I

Patent event date: 20130510

Comment text: Amendment to Specification, etc.

Patent event code: PX06012R01I

Patent event date: 20130308

Comment text: Notification of reason for refusal

Patent event code: PX06013S01I

Patent event date: 20130225

PJ0201 Trial against decision of rejection

Patent event date: 20130722

Comment text: Request for Trial against Decision on Refusal

Patent event code: PJ02012R01D

Patent event date: 20130708

Comment text: Decision to Refuse Application

Patent event code: PJ02011S01I

Patent event date: 20130510

Comment text: Decision to Refuse Application

Patent event code: PJ02011S01I

Appeal kind category: Appeal against decision to decline refusal

Decision date: 20140825

Appeal identifier: 2013101005333

Request date: 20130722

J301 Trial decision
PJ1301 Trial decision

Patent event code: PJ13011S01D

Patent event date: 20140826

Comment text: Trial Decision on Objection to Decision on Refusal

Appeal kind category: Appeal against decision to decline refusal

Request date: 20130722

Decision date: 20140825

Appeal identifier: 2013101005333

PS0901 Examination by remand of revocation
PG1501 Laying open of application
E902 Notification of reason for refusal
PE0902 Notice of grounds for rejection

Comment text: Notification of reason for refusal

Patent event date: 20140925

Patent event code: PE09021S01D

PS0601 Decision to reject again after remand of revocation

Patent event date: 20141211

Comment text: Decision to Refuse Application

Patent event code: PS06013S01D

Patent event date: 20140925

Comment text: Notification of reason for refusal

Patent event code: PS06012S01I

Patent event date: 20140826

Comment text: Notice of Trial Decision (Remand of Revocation)

Patent event code: PS06011S01I

Patent event date: 20130225

Comment text: Notification of reason for refusal

Patent event code: PS06012S01I

S601 Decision to reject again after remand of revocation
J201 Request for trial against refusal decision
PJ0201 Trial against decision of rejection

Patent event date: 20150106

Comment text: Request for Trial against Decision on Refusal

Patent event code: PJ02012R01D

Patent event date: 20141211

Comment text: Decision to Refuse Application

Patent event code: PJ02011S01I

Patent event date: 20130708

Comment text: Decision to Refuse Application

Patent event code: PJ02011S01I

Patent event date: 20130510

Comment text: Decision to Refuse Application

Patent event code: PJ02011S01I

Appeal kind category: Appeal against decision to decline refusal

Appeal identifier: 2015101000040

Request date: 20150106

J301 Trial decision

Free format text: TRIAL DECISION FOR APPEAL AGAINST DECISION TO DECLINE REFUSAL REQUESTED 20150106

Effective date: 20160226

PJ1301 Trial decision

Patent event code: PJ13011S01D

Patent event date: 20160226

Comment text: Trial Decision on Objection to Decision on Refusal

Appeal kind category: Appeal against decision to decline refusal

Request date: 20150106

Decision date: 20160226

Appeal identifier: 2015101000040