KR20140098967A - 가압식 패킹부재를 이용한 배관 커플러 - Google Patents

가압식 패킹부재를 이용한 배관 커플러 Download PDF

Info

Publication number
KR20140098967A
KR20140098967A KR1020130011555A KR20130011555A KR20140098967A KR 20140098967 A KR20140098967 A KR 20140098967A KR 1020130011555 A KR1020130011555 A KR 1020130011555A KR 20130011555 A KR20130011555 A KR 20130011555A KR 20140098967 A KR20140098967 A KR 20140098967A
Authority
KR
South Korea
Prior art keywords
pipe
coupler
pressing
packing member
sealing ring
Prior art date
Legal status (The legal status is an assumption and is not a legal conclusion. Google has not performed a legal analysis and makes no representation as to the accuracy of the status listed.)
Abandoned
Application number
KR1020130011555A
Other languages
English (en)
Inventor
김병섭
홍만기
Original Assignee
김병섭
홍만기
Priority date (The priority date is an assumption and is not a legal conclusion. Google has not performed a legal analysis and makes no representation as to the accuracy of the date listed.)
Filing date
Publication date
Application filed by 김병섭, 홍만기 filed Critical 김병섭
Priority to KR1020130011555A priority Critical patent/KR20140098967A/ko
Priority to PCT/KR2013/008501 priority patent/WO2014051298A1/ko
Publication of KR20140098967A publication Critical patent/KR20140098967A/ko
Abandoned legal-status Critical Current

Links

Images

Classifications

    • FMECHANICAL ENGINEERING; LIGHTING; HEATING; WEAPONS; BLASTING
    • F16ENGINEERING ELEMENTS AND UNITS; GENERAL MEASURES FOR PRODUCING AND MAINTAINING EFFECTIVE FUNCTIONING OF MACHINES OR INSTALLATIONS; THERMAL INSULATION IN GENERAL
    • F16LPIPES; JOINTS OR FITTINGS FOR PIPES; SUPPORTS FOR PIPES, CABLES OR PROTECTIVE TUBING; MEANS FOR THERMAL INSULATION IN GENERAL
    • F16L37/00Couplings of the quick-acting type
    • F16L37/08Couplings of the quick-acting type in which the connection between abutting or axially overlapping ends is maintained by locking members
    • F16L37/084Couplings of the quick-acting type in which the connection between abutting or axially overlapping ends is maintained by locking members combined with automatic locking
    • F16L37/0845Couplings of the quick-acting type in which the connection between abutting or axially overlapping ends is maintained by locking members combined with automatic locking by means of retaining members associated with the packing member
    • FMECHANICAL ENGINEERING; LIGHTING; HEATING; WEAPONS; BLASTING
    • F16ENGINEERING ELEMENTS AND UNITS; GENERAL MEASURES FOR PRODUCING AND MAINTAINING EFFECTIVE FUNCTIONING OF MACHINES OR INSTALLATIONS; THERMAL INSULATION IN GENERAL
    • F16LPIPES; JOINTS OR FITTINGS FOR PIPES; SUPPORTS FOR PIPES, CABLES OR PROTECTIVE TUBING; MEANS FOR THERMAL INSULATION IN GENERAL
    • F16L37/00Couplings of the quick-acting type
    • F16L37/08Couplings of the quick-acting type in which the connection between abutting or axially overlapping ends is maintained by locking members
    • F16L37/084Couplings of the quick-acting type in which the connection between abutting or axially overlapping ends is maintained by locking members combined with automatic locking
    • F16L37/086Couplings of the quick-acting type in which the connection between abutting or axially overlapping ends is maintained by locking members combined with automatic locking by means of latching members pushed radially by spring-like elements

Landscapes

  • Engineering & Computer Science (AREA)
  • General Engineering & Computer Science (AREA)
  • Mechanical Engineering (AREA)
  • Quick-Acting Or Multi-Walled Pipe Joints (AREA)

Abstract

본 발명은 가압식 패킹부재를 이용한 배관 커플러에 관한 것으로, 보다 상세하게는 서로 다른 크기의 홈과 돌기를 갖는 밀폐링과 가압링의 조합으로 이루어진 패킹부재가 가압수단에 의해 상호 압착되는 경우 밀폐링의 날개부가 가압링에 의해 양측 폭방향으로 벌어지도록 구성되어 관체의 이음매 또는 틈새의 확실한 수밀 또는 기밀을 보장할 수 있는 가압식 패킹부재를 이용한 배관 커플러에 관한 것이다.
본 발명에 따른 가압식 패킹부재를 이용한 배관 커플러는, 유체가 이동되는 파이프를 수밀 또는 기밀을 유지하며 연결하는 배관 커플러에 있어서, 길이방향을 따라 중공이 형성되고, 상기 중공의 전방으로 상기 파이프가 삽입되며 상기 파이프와 연통되는 커플러본체와; 상기 커플러본체로 삽입된 파이프를 고정하는 파이프고정수단과; 상기 커플러본체의 중공에 체결되어 내부로 상기 파이프가 삽입되고 탄성을 갖는 소재로 이루어져 상기 커플러본체와 상기 파이프 사이의 틈새를 밀폐하는 패킹부재를; 포함하되, 상기 패킹부재는, 전면 또는 후면의 적층면에 원주방향을 따라 가압홈이 패여져 형성되고 상기 가압홈에서 양측 폭방향으로 연장 형성되는 날개부를 갖는 환형의 밀폐링과, 상기 밀폐링의 적층면에 접촉되는 면에 원주방향을 따라 상기 가압홈보다 큰 형상을 갖고 상기 가압홈에 삽입되는 가압돌기가 형성되어 상기 밀폐링에 적층되는 환형의 가압링을 포함하여 구성되고, 상기 밀폐링의 날개부가 양측 폭방향으로 벌어지며 상기 커플러본체와 상기 파이프 사이의 틈새를 밀폐하도록 상기 가압링과 상기 밀폐링을 상호 압착시키는 방향으로 가압하는 가압수단을; 더 포함하되, 상기 가압수단은, 상기 패킹부재의 후방에 배치되어 상기 패킹부재를 전방으로 탄성가압하는 가압스프링을 포함하여 구성된 것을 특징으로 한다.

Description

가압식 패킹부재를 이용한 배관 커플러{PIPE COUPLER USING PRESSURE TYPE PACKING MEMBER}
본 발명은 가압식 패킹부재를 이용한 배관 커플러에 관한 것으로, 보다 상세하게는 서로 다른 크기의 홈과 돌기를 갖는 밀폐링과 가압링의 조합으로 이루어진 패킹부재가 가압수단에 의해 상호 압착되는 경우 밀폐링의 날개부가 가압링에 의해 양측 폭방향으로 벌어지도록 구성되어 관체의 이음매 또는 틈새의 확실한 수밀 또는 기밀을 보장할 수 있는 가압식 패킹부재를 이용한 배관 커플러에 관한 것이다.
패킹부재는 수밀 또는 기밀이 요구되는 관체의 이음매 또는 틈새에 체결되는 부재를 일컫는 것으로, 종래에는 고무 등과 같이 탄성을 갖는 소재로 이루어져 원형 또는 사각 단면을 갖고 환형으로 형성된 오링을 주로 패킹부재로 이용하여 왔다.
하지만, 패킹부재로 이용되는 종래의 오링만으로는 탄성에 의한 부피변화의 한계로 인해 특히, 고압의 유체가 흐르는 경우 관체의 이음매 또는 틈새를 확실하게 밀폐하는 데에는 한계가 있었다.
또한, 배관작업은 일정한 길이로 제조된 파이프를 설치환경에 맞추어 다수개를 절단 및 연결하여 관로를 형성하는 작업을 통칭하며, 상기와 같은 배관작업에 있어서는 제한적인 파이프의 길이와 관로의 위치 변경의 필요성으로 인하여 배관 커플러가 사용되고 있다.
이러한 배관 커플러로서 종래에 사용되고 있는 것은 연결될 파이프와 동일한 내경을 갖되 그 외경을 연결될 파이프보다 더 크게하여 그 내부에 파이프가 나사식으로 삽입될 수 있도록 나선홈이 형성된 다수의 연결부가 구비되어 있다.
그러나 이러한 종래의 통상적인 배관 커플러는 파이프를 회전시키면서 삽입하여야 하므로 그 기밀성과 작업성이 용이하지 못한 문제점이 있었다.
상기와 같은 종래의 통상적인 배관 커플러의 단점을 해결해보고자, 등록실용신안 제0381922호(등록일자: 2005.04.07)에는 패킹부재를 구비한 파이프 연결장치가 제안된 바 있다.
도 1은 상기 등록실용신안 제0381922호에 게재된 종래기술에 따른 배관 커플러를 도시하였다.
도 1을 살펴보면, 종래기술에 따른 배관 커플러는, 연결될 파이프가 삽입되는 개구된 다수의 연결부가 형성된 중공의 몸체(10')에, 상기 연결부의 내측단에 설치되어 상기 몸체(10)와 연결되는 파이프의 기밀성을 확보하는 패킹부재(20')와, 상기 연결부에 내삽되어 상기 패킹부재(20')에 밀착되되 그 상부에 내면이 하향축소되는 경사면을 갖는 지지링(30')과, 상기 지지링(30')의 경사면에 안치되어 밀착되되 상기 연결부 내측에 삽입되어 연결되는 파이프의 외경면을 압압하여 고정하는 다수의 고정편이 형성된 고정구(40')와, 그 내측에 나사홈이 형성되어 상기 연결부의 단부에 나사식으로 체결되어 상기 고정구(40')와 밀착 고정되는 로킹너트(50')가 순차적으로 설치되도록 구성된 것을 특징으로 한다.
하지만, 상기의 종래기술에 따른 배관 커플러 역시 도 1에 도시된 바와 같이 패킹부재(20')의 예시로 오링만을 도시하였는데, 오링만으로는 탄성에 의한 부피변화의 한계로 인해 특히, 고압의 유체가 흐는 경우 파이프의 수밀 또는 기밀을 확실하게 유지하는 데에는 한계가 있었다.
본 발명은 상기와 같은 종래기술의 문제점을 해결하기 위하여 안출된 것으로, 본 발명의 목적은 서로 다른 크기의 홈과 돌기를 갖는 밀폐링과 가압링의 조합으로 이루어진 패킹부재가 가압수단에 의해 상호 압착되는 경우 밀폐링의 날개부가 가압링에 의해 양측 폭방향으로 벌어지도록 구성되어 관체의 이음매 또는 틈새의 확실한 수밀 또는 기밀을 보장할 수 있는 가압식 패킹부재를 이용한 배관 커플러를 제공하는 데에 있다.
상기와 같은 목적을 달성하고자 본 발명에 따른 가압식 패킹부재를 이용한 배관 커플러는, 유체가 이동되는 파이프를 수밀 또는 기밀을 유지하며 연결하는 배관 커플러에 있어서, 길이방향을 따라 중공이 형성되고, 상기 중공의 전방으로 상기 파이프가 삽입되며 상기 파이프와 연통되는 커플러본체와; 상기 커플러본체로 삽입된 파이프를 고정하는 파이프고정수단과; 상기 커플러본체의 중공에 체결되어 내부로 상기 파이프가 삽입되고 탄성을 갖는 소재로 이루어져 상기 커플러본체와 상기 파이프 사이의 틈새를 밀폐하는 패킹부재를; 포함하되, 상기 패킹부재는, 전면 또는 후면의 적층면에 원주방향을 따라 가압홈이 패여져 형성되고 상기 가압홈에서 양측 폭방향으로 연장 형성되는 날개부를 갖는 환형의 밀폐링과, 상기 밀폐링의 적층면에 접촉되는 면에 원주방향을 따라 상기 가압홈보다 큰 형상을 갖고 상기 가압홈에 삽입되는 가압돌기가 형성되어 상기 밀폐링에 적층되는 환형의 가압링을 포함하여 구성되고, 상기 밀폐링의 날개부가 양측 폭방향으로 벌어지며 상기 커플러본체와 상기 파이프 사이의 틈새를 밀폐하도록 상기 가압링과 상기 밀폐링을 상호 압착시키는 방향으로 가압하는 가압수단을; 더 포함하되, 상기 가압수단은, 상기 패킹부재의 후방에 배치되어 상기 패킹부재를 전방으로 탄성가압하는 가압스프링을 포함하여 구성된 것을 특징으로 한다.
또한, 본 발명에 따른 가압식 패킹부재를 이용한 배관 커플러는, 상기 파이프고정수단은, 상기 커플러본체의 중공에 체결되어 상기 파이프가 내부로 삽입되되, 상기 파이프의 삽입외력에 의해 벌어지며 내경이 확장되고 탄성복원력에 의해 조여지며 상기 파이프의 구속이 가능하도록 일측면에 절개부가 형성된 조임편을 포함하여 구성된 것을 특징으로 한다.
또한, 본 발명에 따른 가압식 패킹부재를 이용한 배관 커플러는, 상기 조임편은, 상기 커플러본체의 중공에 전후 이동가능하게 체결되고, 외주면에 전협후광 형상의 경사테이퍼면이 형성되며, 상기 파이프고정수단은, 상기 조임편이 상기 파이프의 삽입외력에 의해 후방으로 이동되는 경우 상기 조임편이 벌어지며 내경이 확장되도록 유도하여 상기 파이프가 슬립되도록 하고 상기 조임편이 상기 패킹부재를 통해 전달되는 상기 가압수단의 탄성가압력에 의해 전방으로 이동되는 경우 상기 조임편이 조여지도록 유도하여 상기 파이프가 구속되도록 상기 커플러본체의 전단부 내면에 상기 조임편의 경사테이퍼면에 대응되는 형상의 캡테이퍼면이 형성된 조임캡을 더 포함하여 구성된 것을 특징으로 한다.
또한, 본 발명에 따른 가압식 패킹부재를 이용한 배관 커플러는, 상기 파이프고정수단에 의해 상기 파이프가 구속된 상태에서 사용자의 조작에 의해 상기 파이프의 구속을 해제하는 파이프해체수단을; 더 포함하되, 상기 파이프해체수단은, 상기 파이프가 내부로 통과되도록 상기 파이프의 외경보다 큰 내경을 갖고 상기 커플러본체의 전단부에 전후 이동가능하게 체결되되 외력에 의해 후방으로 이동되며 상기 조임편의 내부로 삽입되어 상기 조임편을 벌리며 내경을 확장시키는 푸시버튼을 포함하여 구성된 것을 특징으로 한다.
또한, 본 발명에 따른 가압식 패킹부재를 이용한 배관 커플러는, 상기 조임편은, 내부로 상기 푸시버튼의 삽입이 유도되도록 내주면 전단부에 유도테이퍼면이 형성된 것을 특징으로 한다.
또한, 본 발명에 따른 가압식 패킹부재를 이용한 배관 커플러는, 상기 커플러본체의 중공 내부에 전방으로부터 상기 파이프고정수단, 상기 패킹수단 및 상기 가압수단이 순차적으로 적층되되, 상기 파이프고정수단은, 상기 커플러본체의 중공에 체결되어 상기 파이프가 관통되는 고리부와, 상기 파이프의 일방향으로의 삽입은 가능하되 타방향으로의 이탈은 방지하도록 상기 고리부에 후방으로 갈수록 내경이 작아지는 형상으로 경사지게 배치된 복수개의 방사편을 갖는 텐션와셔를 포함하여 구성된 것을 특징으로 한다.
또한, 본 발명에 따른 가압식 패킹부재를 이용한 배관 커플러는, 상기 파이프고정수단에 의해 상기 파이프가 구속된 상태에서 사용자의 조작에 의해 상기 파이프의 구속을 해제하는 파이프해체수단을; 더 포함하되, 상기 파이프해체수단은, 상기 파이프가 내부로 통과되도록 상기 파이프의 외경보다 큰 내경을 갖고 상기 커플러본체의 전단부에 전후 이동가능하게 체결되되 외력에 의해 후방으로 이동되며 상기 텐션와셔의 고리부 내부로 삽입되어 상기 방사편의 내경을 확장시키는 푸시버튼을 포함하여 구성된 것을 특징으로 한다.
상기와 같은 구성에 의하여 본 발명에 따른 가압식 패킹부재를 이용한 배관 커플러는 패킹부재가 가압수단에 의해 상호 압착되는 경우 밀폐링의 날개부가 가압링에 의해 양측 폭방향으로 벌어지도록 구성되어 관체의 이음매 또는 틈새의 확실한 수밀 또는 기밀을 보장할 수 있는 장점이 있다.
도 1은 종래기술에 따른 배관 커플러의 분해 사시도
도 2는 본 발명의 제1실시예에 따른 가압식 패킹부재를 이용한 배관 커플러의 분해 사시도
도 3은 본 발명의 제1실시예에 따른 가압식 패킹부재의 주요부 사용상태 단면도
도 4 내지 도 7은 본 발명의 제1실시예에 따른 가압식 패킹부재를 이용한 배관 커플러의 사용상태 단면도
도 8은 본 발명의 제2실시예에 따른 가압식 패킹부재를 이용한 배관 커플러의 분해 사시도
도 9 내지 도 11은 본 발명의 제2실시예에 따른 가압식 패킹부재를 이용한 배관 커플러의 사용상태 단면도
이하에서는 도면에 도시된 실시예를 참조하여 본 발명에 따른 가압식 패킹부재를 이용한 배관 커플러를 보다 상세하게 살펴보기로 한다.
도 2는 본 발명의 제1실시예에 따른 가압식 패킹부재를 이용한 배관 커플러의 분해 사시도이고, 도 3은 본 발명의 제1실시예에 따른 가압식 패킹부재의 주요부 사용상태 단면도이며, 도 4 내지 도 7은 본 발명의 제1실시예에 따른 가압식 패킹부재를 이용한 배관 커플러의 사용상태 단면도이다.
도면을 살펴보면, 본 발명의 제1실시예에 따른 가압식 패킹부재를 이용한 배관 커플러는 유체가 이동되는 파이프를 수밀 또는 기밀을 유지하며 연결하는 구성으로 커플러본체(10)와, 파이프고정수단(20)과, 패킹부재(30)와, 가압수단(40)과, 파이프해체수단(50)을 포함하여 구성된다.
상기 커플러본체(10)는 연결을 위한 파이프(P)가 삽입되기 위한 위치에 길이방향을 따라 중공(11)이 형성되고, 상기 중공(11)의 전방으로 상기 파이프(P)가 삽입되며 상기 파이프(P)와 연통되는 구성이다.
한편, 상기 커플러본체(10)는 본 발명의 제1실시예에서는 어느 일측으로부터 상기 중공(11)으로 상기 파이프(P)가 삽입되며 연결되는 모습을 도시하였으나, 양측으로 중공이 형성되어 파이프가 삽입되며 일자로 연결되는 일자형은 물론, T자형, 십자형 등 다양한 형상으로 형성될 수 있다할 것이다.
상기 파이프고정수단(20)은 상기 커플러본체(10)로 삽입된 파이프(P)를 고정하는 구성으로 본 발명의 제1실시예에서는 조임편(21)과, 조임캡(22)을 포함하여 구성된다.
상기 조임편(21)은 상기 커플러본체(10)의 중공(11)에 전후 이동가능하게 체결되어 상기 파이프(P)가 내부로 삽입되는 구성으로 절개부(211)와, 경사테이퍼면(212)과, 유도테이퍼면(213)이 형성된다.
상기 절개부(211)는 상기 조임편(21)의 일측면에 절개되어 형성되어 상기 조임편(21)이 상기 파이프(P)의 삽입외력에 의해 벌어지며 내경이 확장되고 탄성복원력에 의해 조여지며 상기 파이프(P)의 구속이 가능하도록 하는 구성이다.
상기 경사테이퍼면(212)은 상기 조임편(21)의 외주면에 전협후광 형상으로 테이퍼지게 형성되어 상기 조임캡(22)의 캡테이퍼면(221)에 접촉 및 슬라이딩되도록 구성된다.
상기 유도테이퍼면(213)은 상기 조임편(21)의 내주면 전단부에 테이퍼지게 형성되어 내부로 상기 파이프해체수단(50)으로서의 푸시버튼(51)의 삽입이 유도되도록 하는 구성이다.
상기 조임캡(22)은 상기 커플러본체(10)의 전단부 내면에 상기 조임편(21)의 경사테이퍼면(212)에 대응되는 형상의 캡테이퍼면(221)이 형성되는 구성이다.
즉, 상기 조임캡(22)은 도 5에 도시된 바와 같이 상기 조임편(21)이 상기 파이프(P)의 삽입외력에 의해 후방으로 이동되는 경우 상기 조임편(21)이 벌어지며 내경이 확장되도록 유도하여 상기 파이프(P)가 슬립되도록 하고, 도 6에 도시된 바와 같이 상기 조임편(21)이 상기 패킹부재(30)를 통해 전달되는 상기 가압수단(40)의 탄성가압력에 의해 전방으로 이동되는 경우 상기 조임편(21)이 조여지도록 유도하여 상기 파이프(P)가 구속되도록 하는 구성이다.
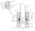
상기 패킹부재(30)는 상기 커플러본체(10)의 중공(11)에 체결되어 내부로 상기 파이프(P)가 삽입되고 고무 등과 같은 탄성을 갖는 소재로 이루어져 상기 커플러본체(10)와 상기 파이프(P) 사이의 틈새를 밀폐하는 구성으로 본 발명의 제1실시예에서는 밀폐링(31)과, 가압링(32)을 포함하여 구성된다.
상기 밀폐링(31)은 환형으로 형성되고, 전면 또는 후면의 적층면에 원주방향을 따라 가압홈(311)이 패여져 형성되며, 상기 가압홈(311)에서 양측 폭방향으로 연장 형성되는 날개부(312)를 갖는 구성이다.
상기 가압링(32)은 상기 밀폐링(31)에 대응되게 환형으로 형성되고, 상기 밀폐링(31)의 적층면에 접촉되는 면에 원주방향을 따라 상기 가압홈(311)보다 큰 형상을 갖고 상기 가압홈(311)에 삽입되는 가압돌기(321)가 형성되어 상기 밀폐링(31)에 적층되는 구성이다.
특히, 본 발명에서는 도 3에 도시된 바와 같이 상기 가압홈(311)보다 상기 가압돌기(321)가 크게 형성되어 상기 가압수단(40)에 의해 상기 밀폐링(31)과 상기 가압링(32)이 상호 압착되는 경우 상기 날개부(312)가 양측 폭방향으로 벌어지는 것을 특징으로 한다.
한편, 도면에 도시된 바와 같이 상기 패킹부재(30)가 효과적으로 압착될 수 있도록 상기 패킹부재(30)의 전방 및 후방으로 각각 와셔(33)를 구비하는 것이 바람직하다.
상기 가압수단(40)은 상기 가압링(32)과 상기 밀폐링(31)을 상호 압착시키는 방향으로 가압하는 구성으로 본 발명의 제1실시예에서는 상기 패킹부재(30)의 후방에 배치되어 상기 패킹부재(30)를 전방으로 탄성가압하는 가압스프링(41)을 포함하여 구성된다.
상기 가압수단(40)에 의해 상기 가압링(32)과 상기 밀폐링(31)이 상호 압착되는 경우 상기 밀폐링(31)의 날개부(312)가 양측 폭방향으로 벌어지며 상기 커플러본체(10)와 상기 파이프(P) 사이의 틈새가 밀폐되는 메카니즘인 것이다.
상기 파이프해체수단(50)은 상기 파이프고정수단(20)에 의해 상기 파이프(P)가 구속된 상태에서 사용자의 조작에 의해 상기 파이프(P)의 구속을 해제하는 구성으로 본 발명의 제1실시예에서는 푸시버튼(51)을 포함하여 구성된다.
상기 푸시버튼(51)은 상기 파이프(P)가 내부로 통과되도록 상기 파이프의 외경보다 큰 내경을 갖고, 상기 커플러본체(10)의 전단부에 전후 이동가능하게 체결되는데, 사용자의 외력에 의해 후방으로 이동되며 상기 조임편(22)의 내부로 삽입되어 상기 조임편(22)을 벌리며 내경을 확장시키도록 구성된다.
한편, 전술한 바와 같이 상기 조임편(22)에는 내주면 전단부에 유도테이퍼면(213)이 형성되어 도 7에 도시된 바와 같이 사용자의 외력에 의해 상기 푸시버튼(51)이 후방으로 이동되는 경우 상기 푸시버튼(51)이 상기 조임편(22)의 내부로 원활하게 삽입되며 상기 조임편(22)이 벌어지며 내경이 확장되게 되어 상기 파이프(P)를 해체할 수 있게 되는 것이다.
도 4는 본 발명의 제1실시예에 따른 가압식 패킹부재를 이용한 배관 커플러의 초기 상태를 도시한 것이다. 이 경우 상기 패킹부재(30)는 상기 가압스프링(41)에 의해 전방으로 탄성가압되어 있는 상태이고, 상기 패킹부재(30)를 통해 전달되는 상기 가압스프링(41)의 탄성가압력에 의하여 상기 조임편(21)은 상기 조임캡(22)에 밀착되며 상기 경사테이퍼면(212) 및 상기 캡테이퍼면(221)의 상호 작용에 의해 조여져 있는 상태가 된다.
한편, 도 5는 초기 상태에서 상기 커플러본체(10)로 상기 파이프(P)가 삽입되는 경우를 도시한 것이다. 이 경우 상기 커플러본체(10)로 삽입되는 파이프(P)는 상기 조임편(21)과 마찰되며 외력에 의해 상기 조임편(21)을 후방으로 이동시키게 되고 상기 조임편(21)은 상기 조임캡(22)의 캡테이퍼면(221)에 의해 벌어지며 내경이 확장되어 내부로 상기 파이프(P)가 삽입되게 된다. 상기 조임편(21)이 후방으로 이동됨에 따라 상기 패킹부재(30) 또한 후방으로 이동되고, 상기 가압스프링(41)은 압축되게 된다.
한편, 도 6은 상기 커플러본체(10)로 상기 파이프(P)가 삽입된 상태에서 외력이 제거되거나 상기 파이프(P)가 이탈되는 방향으로 외력을 받는 경우의 상태를 도시한 것이다. 이 경우는 도 4의 초기상태에서와 마찬가지로 상기 가압스프링(41)은 상기 패킹부재(30)를 전방으로 탄성가압하게 되고, 상기 패킹부재(30)를 통해 전달되는 상기 가압스프링(41)의 탄성가압력에 의하여 상기 조임편(21)은 상기 조임캡(22)에 밀착되며 상기 경사테이퍼면(212) 및 상기 캡테이퍼면(221)의 상호 작용에 의해 조여지며 상기 파이프(P)를 구속하게 되는 것이다.
한편, 도 7은 상기 파이프해체수단(50)의 조작에 의해 상기 파이프(P)가 상기 커플러본체(10)에서 해체되는 상태를 도시한 것이다. 이 경우 상기 푸시버튼(51)이 외력에 의해 후방으로 이동되는 경우 도 5의 상기 조임편(22)의 내부로 상기 파이프(P)가 삽입되는 경우와 마찬가지로 상기 푸시버튼(51)이 상기 조임편(21)과 마찰되며 외력에 의해 상기 조임편(21)을 후방으로 이동시키게 되고 상기 조임편(21)은 상기 조임캡(22)의 캡테이퍼면(221)에 의해 벌어지며 내경이 확장되어 내부로 상기 푸시버튼(51)이 삽입되게 된다. 따라서, 상기 조임편(21)에 의한 상기 파이프(P)의 구속이 해제되고 상기 파이프(P)를 해체할 수 있게 되는 것이다.
이상에서는 본 발명의 제1실시예에 따른 가압식 패킹부재를 이용한 배관 커플러를 살펴보았고, 이하에서는 본 발명의 제2실시예에 따른 가압식 패킹부재를 이용한 배관 커플러를 보다 상세하게 살펴보기로 한다.
도 8은 본 발명의 제2실시예에 따른 가압식 패킹부재를 이용한 배관 커플러의 분해 사시도이고, 도 9 내지 도 11은 본 발명의 제2실시예에 따른 가압식 패킹부재를 이용한 배관 커플러의 사용상태 단면도이다.
도면을 살펴보면, 본 발명의 제2실시예에 따른 가압식 패킹부재를 이용한 배관 커플러는 본 발명의 제1실시예와 마찬가지로 커플러본체(10)와, 파이프고정수단(20)과, 패킹부재(30)와, 가압수단(40)과, 파이프해체수단(50)을 포함하여 구성된다.
본 발명의 제2실시예에 따른 가압식 패킹부재를 이용한 배관 커플러는 상기 커플러본체(10)의 중공(11) 내부에 전방으로부터 상기 파이프고정수단(20), 상기 패킹수단(30) 및 상기 가압수단(40)이 순차적으로 적층되는데, 상기 커플러본체(10), 상기 패킹부재(30) 및 상기 가압수단(40)의 구성은 본 발명의 제1실시예와 동일하므로 이하에서는 상기 파이프고정수단(20) 및 상기 파이프해체수단(50)에 대해서만 상세하게 설명하기로 한다.
상기 파이프고정수단(20)은 상기 커플러본체(10)로 삽입된 파이프(P)를 고정하는 구성으로 본 발명의 제2실시예에서는 텐션와셔(21a)와, 고정캡(22a)를 포함하여 구성된다.
상기 텐션와셔(21a)는 상기 커플러본체(10)의 중공(11)에 체결되어 상기 파이프(P)의 일방향으로의 삽입은 가능하되 타방향으로의 이탈은 방지하도록 하는 구성으로 상기 파이프(P)가 관통되는 고리부(211a)와, 상기 고리부(211a)에 후방으로 갈수록 내경이 작아지는 형상으로 경사지게 배치된 복수개의 방사편(212a)으로 구성된다.
즉, 상기 텐션와셔(21a)의 후방으로 경사지게 배치된 복수개의 방사편(212a)의 구성으로 인해 상기 파이프(P)의 상기 텐션와셔(21a)로의 삽입은 월활하나 이탈은 곤란하여 상기 파이프(P)가 상기 커플러본체(10)에 원터치로 체결 및 고정가능하게 되는 것이다.
상기 고정캡(22a)은 상기 텐션와셔(21a)가 상기 커플러본체(10)의 전방으로 이탈되는 것을 방지하는 구성으로 상기 커플러본체(10)의 전단부에 체결되고, 상기 고정캡(22a)에는 상기 파이프해체수단(50)으로서의 푸시버튼(51)이 전후 이동가능하게 체결된다.
한편, 상기 텐션와셔(21a)와 상기 패킹부재(30) 사이에는 상기 패킹부재(30)의 원할한 압착을 도모함과 동시에 상기 텐션와셔(21a)의 방사편(212a)이 원할하게 절곡될 수 있도록 양자를 상호 이격시키는 이격와셔(33a)가 구비되는 것이 바람직하다.
상기 파이프해체수단(50)은 상기 파이프고정수단(20)에 의해 상기 파이프(P)가 구속된 상태에서 사용자의 조작에 의해 상기 파이프(P)의 구속을 해제하는 구성으로 본 발명의 제2실시예에서는 푸시버튼(51)을 포함하여 구성된다.
상기 푸시버튼(51)은 상기 파이프(P)가 내부로 통과되도록 상기 파이프의 외경보다 큰 내경을 갖고, 상기 커플러본체(10)의 전단부에 전후 이동가능하게 체결되는데, 사용자의 외력에 의해 후방으로 이동되며 상기 텐션와셔(21a)의 고리부(211a) 내부로 삽입되어 상기 방사편(212a)의 내경을 확장시키도록 구성된다.
도 9는 본 발명의 제2실시예에 따른 가압식 패킹부재를 이용한 배관 커플러의 초기 상태를 도시하였고, 도 10은 상기 파이프(P)가 상기 텐션와셔(21a)에 의해 고정된 상태를 도시한 것이다. 이 경우 상기 패킹부재(30)는 상기 가압스프링(41)에 의해 전방으로 탄성가압되어 있는 상태이다.
한편, 도 11은 상기 파이프해체수단(50)의 조작에 의해 상기 파이프(P)가 상기 커플러본체(10)에서 해체되는 상태를 도시한 것이다. 이 경우 상기 푸시버튼(51)이 외력에 의해 후방으로 이동되는 경우 상기 푸시버튼(51)이 상기 텐션와셔(21a)의 고리부(211a) 내부로 삽입되어 상기 방사편(212a)의 내경을 확장되게 된다. 따라서, 상기 텐션와셔(21a)에 의한 상기 파이프(P)의 구속이 해제되고 상기 파이프(P)를 해체할 수 있게 되는 것이다.
앞에서 설명되고, 도면에 도시된 가압식 패킹부재를 이용한 배관 커플러는 본 발명을 실시하기 위한 하나의 실시예에 불과하며, 본 발명의 기술적 사상을 한정하는 것으로 해석되어서는 안된다. 본 발명의 보호범위는 이하의 특허청구범위에 기재된 사항에 의해서만 정하여지며, 본 발명의 요지를 벗어남이 없이 개량 및 변경된 실시예는 본 발명이 속하는 기술분야에서 통상의 지식을 가진 자에게 자명한 것인 한 본 발명의 보호범위에 속한다고 할 것이다.
P 파이프
10 커플러본체
11 중공
20 파이프고정수단
21 조임편
211 절개부
212 경사테이퍼면
213 유도테이퍼면
22 조임캡
221 캡테이퍼면
21a 텐션와셔
211a 고리부
212a 방사편
22a 고정캡
30 패킹부재
31 밀폐링
311 가압홈
312 날개부
32 가압링
321 가압돌기
40 가압수단
41 가압스프링
50 파이프해체수단
51 푸시버튼

Claims (7)

  1. 유체가 이동되는 파이프를 수밀 또는 기밀을 유지하며 연결하는 배관 커플러에 있어서,
    길이방향을 따라 중공이 형성되고, 상기 중공의 전방으로 상기 파이프가 삽입되며 상기 파이프와 연통되는 커플러본체와; 상기 커플러본체로 삽입된 파이프를 고정하는 파이프고정수단과; 상기 커플러본체의 중공에 체결되어 내부로 상기 파이프가 삽입되고 탄성을 갖는 소재로 이루어져 상기 커플러본체와 상기 파이프 사이의 틈새를 밀폐하는 패킹부재를; 포함하되,
    상기 패킹부재는, 전면 또는 후면의 적층면에 원주방향을 따라 가압홈이 패여져 형성되고 상기 가압홈에서 양측 폭방향으로 연장 형성되는 날개부를 갖는 환형의 밀폐링과, 상기 밀폐링의 적층면에 접촉되는 면에 원주방향을 따라 상기 가압홈보다 큰 형상을 갖고 상기 가압홈에 삽입되는 가압돌기가 형성되어 상기 밀폐링에 적층되는 환형의 가압링을 포함하여 구성되고,
    상기 밀폐링의 날개부가 양측 폭방향으로 벌어지며 상기 커플러본체와 상기 파이프 사이의 틈새를 밀폐하도록 상기 가압링과 상기 밀폐링을 상호 압착시키는 방향으로 가압하는 가압수단을; 더 포함하되,
    상기 가압수단은, 상기 패킹부재의 후방에 배치되어 상기 패킹부재를 전방으로 탄성가압하는 가압스프링을 포함하여 구성된 것을 특징으로 하는 가압식 패킹부재를 이용한 배관 커플러.
  2. 제1항에 있어서,
    상기 파이프고정수단은, 상기 커플러본체의 중공에 체결되어 상기 파이프가 내부로 삽입되되, 상기 파이프의 삽입외력에 의해 벌어지며 내경이 확장되고 탄성복원력에 의해 조여지며 상기 파이프의 구속이 가능하도록 일측면에 절개부가 형성된 조임편을 포함하여 구성된 것을 특징으로 하는 가압식 패킹부재를 이용한 배관 커플러.
  3. 제2항에 있어서,
    상기 조임편은, 상기 커플러본체의 중공에 전후 이동가능하게 체결되고, 외주면에 전협후광 형상의 경사테이퍼면이 형성되며,
    상기 파이프고정수단은, 상기 조임편이 상기 파이프의 삽입외력에 의해 후방으로 이동되는 경우 상기 조임편이 벌어지며 내경이 확장되도록 유도하여 상기 파이프가 슬립되도록 하고 상기 조임편이 상기 패킹부재를 통해 전달되는 상기 가압수단의 탄성가압력에 의해 전방으로 이동되는 경우 상기 조임편이 조여지도록 유도하여 상기 파이프가 구속되도록 상기 커플러본체의 전단부 내면에 상기 조임편의 경사테이퍼면에 대응되는 형상의 캡테이퍼면이 형성된 조임캡을 더 포함하여 구성된 것을 특징으로 하는 가압식 패킹부재를 이용한 배관 커플러.
  4. 제2항 또는 제3항에 있어서,
    상기 파이프고정수단에 의해 상기 파이프가 구속된 상태에서 사용자의 조작에 의해 상기 파이프의 구속을 해제하는 파이프해체수단을; 더 포함하되,
    상기 파이프해체수단은, 상기 파이프가 내부로 통과되도록 상기 파이프의 외경보다 큰 내경을 갖고 상기 커플러본체의 전단부에 전후 이동가능하게 체결되되 외력에 의해 후방으로 이동되며 상기 조임편의 내부로 삽입되어 상기 조임편을 벌리며 내경을 확장시키는 푸시버튼을 포함하여 구성된 것을 특징으로 하는 가압식 패킹부재를 이용한 배관 커플러.
  5. 제4항에 있어서,
    상기 조임편은, 내부로 상기 푸시버튼의 삽입이 유도되도록 내주면 전단부에 유도테이퍼면이 형성된 것을 특징으로 하는 가압식 패킹부재를 이용한 배관 커플러.
  6. 제1항에 있어서,
    상기 커플러본체의 중공 내부에 전방으로부터 상기 파이프고정수단, 상기 패킹수단 및 상기 가압수단이 순차적으로 적층되되,
    상기 파이프고정수단은, 상기 커플러본체의 중공에 체결되어 상기 파이프가 관통되는 고리부와, 상기 파이프의 일방향으로의 삽입은 가능하되 타방향으로의 이탈은 방지하도록 상기 고리부에 후방으로 갈수록 내경이 작아지는 형상으로 경사지게 배치된 복수개의 방사편을 갖는 텐션와셔를 포함하여 구성된 것을 특징으로 하는 가압식 패킹부재를 이용한 배관 커플러.
  7. 제6항에 있어서,
    상기 파이프고정수단에 의해 상기 파이프가 구속된 상태에서 사용자의 조작에 의해 상기 파이프의 구속을 해제하는 파이프해체수단을; 더 포함하되,
    상기 파이프해체수단은, 상기 파이프가 내부로 통과되도록 상기 파이프의 외경보다 큰 내경을 갖고 상기 커플러본체의 전단부에 전후 이동가능하게 체결되되 외력에 의해 후방으로 이동되며 상기 텐션와셔의 고리부 내부로 삽입되어 상기 방사편의 내경을 확장시키는 푸시버튼을 포함하여 구성된 것을 특징으로 하는 가압식 패킹부재를 이용한 배관 커플러.
KR1020130011555A 2012-09-28 2013-02-01 가압식 패킹부재를 이용한 배관 커플러 Abandoned KR20140098967A (ko)

Priority Applications (2)

Application Number Priority Date Filing Date Title
KR1020130011555A KR20140098967A (ko) 2013-02-01 2013-02-01 가압식 패킹부재를 이용한 배관 커플러
PCT/KR2013/008501 WO2014051298A1 (ko) 2012-09-28 2013-09-24 가압식 패킹부재를 이용한 배관 커플러

Applications Claiming Priority (1)

Application Number Priority Date Filing Date Title
KR1020130011555A KR20140098967A (ko) 2013-02-01 2013-02-01 가압식 패킹부재를 이용한 배관 커플러

Publications (1)

Publication Number Publication Date
KR20140098967A true KR20140098967A (ko) 2014-08-11

Family

ID=51745514

Family Applications (1)

Application Number Title Priority Date Filing Date
KR1020130011555A Abandoned KR20140098967A (ko) 2012-09-28 2013-02-01 가압식 패킹부재를 이용한 배관 커플러

Country Status (1)

Country Link
KR (1) KR20140098967A (ko)

Cited By (4)

* Cited by examiner, † Cited by third party
Publication number Priority date Publication date Assignee Title
KR102007222B1 (ko) * 2018-09-20 2019-08-05 주식회사 강동엔지니어링 터널 보강 장치 및 이를 이용한 보강 방법
KR20220029094A (ko) * 2020-09-01 2022-03-08 김병섭 파이프 선단 밀폐식 커플러
CN116066637A (zh) * 2023-03-14 2023-05-05 上海海隆石油钻具有限公司 在螺纹部分设有密封装置的钢管螺纹接头
CN117864543A (zh) * 2024-03-12 2024-04-12 秦皇岛天沐冶金机械设备制造有限公司 一种数控包装机床

Cited By (5)

* Cited by examiner, † Cited by third party
Publication number Priority date Publication date Assignee Title
KR102007222B1 (ko) * 2018-09-20 2019-08-05 주식회사 강동엔지니어링 터널 보강 장치 및 이를 이용한 보강 방법
KR20220029094A (ko) * 2020-09-01 2022-03-08 김병섭 파이프 선단 밀폐식 커플러
CN116066637A (zh) * 2023-03-14 2023-05-05 上海海隆石油钻具有限公司 在螺纹部分设有密封装置的钢管螺纹接头
CN117864543A (zh) * 2024-03-12 2024-04-12 秦皇岛天沐冶金机械设备制造有限公司 一种数控包装机床
CN117864543B (zh) * 2024-03-12 2024-05-28 秦皇岛天沐冶金机械设备制造有限公司 一种数控包装机床

Similar Documents

Publication Publication Date Title
RU2517268C2 (ru) Конструкция соединения трубопроводов
KR20140098967A (ko) 가압식 패킹부재를 이용한 배관 커플러
KR101779086B1 (ko) 웨지 밀폐형 원터치 배관 커플러
SG178648A1 (en) Releasable nut-free c-clip secured pipe fitting
KR101489711B1 (ko) 분기관 연결장치
KR20170112081A (ko) 원터치식 배관 연결용 커플러
KR20110002990A (ko) 중공관 형상의 패킹을 이용한 이음관
KR20150004585A (ko) 파이프 고정이 용이한 배관 커플러
KR101260046B1 (ko) 가압식 패킹부재 및 이를 이용한 원터치 배관 커플러
KR101441548B1 (ko) 유압 호스의 커플링 결합체
KR20150070924A (ko) 연결이 용이한 배관 커플러
KR20150109122A (ko) 이중 가압스프링이 구비된 배관 커플러
KR101857027B1 (ko) 스프링밴드 밀폐형 원터치 배관 커플러
KR20160004240U (ko) 배관 연결용 클램프
JP2016118265A (ja) 防水構造
CN204592662U (zh) 安全自锁快速接头
KR101441508B1 (ko) 패킹 삽입형 소켓관
KR101351201B1 (ko) 파이프 결속장치 및 방법
KR102018818B1 (ko) 삽입제한 및 이탈방지장치가 구비된 경질 폴리염화비닐 관
KR101638835B1 (ko) 파이프 연결구
KR20100077883A (ko) 오링 압착식 원터치 파이프 연결구의 조립구조
JP6294986B1 (ja) 直管パイプ用継手
KR20160000195U (ko) 파이프 연결구
KR101186550B1 (ko) 관이음 조립체
CN204300579U (zh) 软水管与刚性接头的快接结构

Legal Events

Date Code Title Description
A201 Request for examination
PA0109 Patent application

Patent event code: PA01091R01D

Comment text: Patent Application

Patent event date: 20130201

PA0201 Request for examination
E902 Notification of reason for refusal
PE0902 Notice of grounds for rejection

Comment text: Notification of reason for refusal

Patent event date: 20131225

Patent event code: PE09021S01D

E902 Notification of reason for refusal
PE0902 Notice of grounds for rejection

Comment text: Notification of reason for refusal

Patent event date: 20140723

Patent event code: PE09021S01D

PG1501 Laying open of application
E701 Decision to grant or registration of patent right
PE0701 Decision of registration

Patent event code: PE07011S01D

Comment text: Decision to Grant Registration

Patent event date: 20141117

PC1904 Unpaid initial registration fee