KR20140089653A - Connector for Connecting Bus Bars - Google Patents

Connector for Connecting Bus Bars Download PDF

Info

Publication number
KR20140089653A
KR20140089653A KR1020130000797A KR20130000797A KR20140089653A KR 20140089653 A KR20140089653 A KR 20140089653A KR 1020130000797 A KR1020130000797 A KR 1020130000797A KR 20130000797 A KR20130000797 A KR 20130000797A KR 20140089653 A KR20140089653 A KR 20140089653A
Authority
KR
South Korea
Prior art keywords
bus bar
heat
horizontal
horizontal bus
coupling
Prior art date
Legal status (The legal status is an assumption and is not a legal conclusion. Google has not performed a legal analysis and makes no representation as to the accuracy of the status listed.)
Ceased
Application number
KR1020130000797A
Other languages
Korean (ko)
Inventor
박명수
Original Assignee
주식회사 세화이엘씨
Priority date (The priority date is an assumption and is not a legal conclusion. Google has not performed a legal analysis and makes no representation as to the accuracy of the date listed.)
Filing date
Publication date
Application filed by 주식회사 세화이엘씨 filed Critical 주식회사 세화이엘씨
Priority to KR1020130000797A priority Critical patent/KR20140089653A/en
Publication of KR20140089653A publication Critical patent/KR20140089653A/en
Ceased legal-status Critical Current

Links

Images

Classifications

    • HELECTRICITY
    • H02GENERATION; CONVERSION OR DISTRIBUTION OF ELECTRIC POWER
    • H02BBOARDS, SUBSTATIONS OR SWITCHING ARRANGEMENTS FOR THE SUPPLY OR DISTRIBUTION OF ELECTRIC POWER
    • H02B1/00Frameworks, boards, panels, desks, casings; Details of substations or switching arrangements
    • H02B1/015Boards, panels, desks; Parts thereof or accessories therefor
    • H02B1/04Mounting thereon of switches or of other devices in general, the switch or device having, or being without, casing
    • H02B1/042Mounting on perforated supports by means of screws or locking members
    • HELECTRICITY
    • H02GENERATION; CONVERSION OR DISTRIBUTION OF ELECTRIC POWER
    • H02BBOARDS, SUBSTATIONS OR SWITCHING ARRANGEMENTS FOR THE SUPPLY OR DISTRIBUTION OF ELECTRIC POWER
    • H02B1/00Frameworks, boards, panels, desks, casings; Details of substations or switching arrangements
    • H02B1/20Bus-bar or other wiring layouts, e.g. in cubicles, in switchyards
    • HELECTRICITY
    • H02GENERATION; CONVERSION OR DISTRIBUTION OF ELECTRIC POWER
    • H02GINSTALLATION OF ELECTRIC CABLES OR LINES, OR OF COMBINED OPTICAL AND ELECTRIC CABLES OR LINES
    • H02G5/00Installations of bus-bars
    • H02G5/007Butt joining of bus-bars by means of a common bolt, e.g. splice joint
    • HELECTRICITY
    • H02GENERATION; CONVERSION OR DISTRIBUTION OF ELECTRIC POWER
    • H02GINSTALLATION OF ELECTRIC CABLES OR LINES, OR OF COMBINED OPTICAL AND ELECTRIC CABLES OR LINES
    • H02G5/00Installations of bus-bars
    • H02G5/10Cooling

Landscapes

  • Engineering & Computer Science (AREA)
  • Power Engineering (AREA)
  • Distribution Board (AREA)

Abstract

The present invention relates to a heat radiation type bus bar connecting unit for a distribution board, capable of efficiently discharging heat from a connection part of a bus bar and improving the joint force of the connection part. The heat radiation type bus bar connecting unit for a distribution board includes a horizontal bus bar which has a first combination hole; a branch bus bar which has a second combination hole aligned with the first combination hole to be vertically connected to the horizontal bus bar; a heat radiation plate member which has a third combination hole aligned with the second combination hole and is in contact with the bottom of the branch bus bar; and a combination member which is inserted into the first to third combination holes to fix the horizontal bus bar, the branch bus bar, and the heat radiation plate member.

Description

배전반용 방열형 버스바 연결유닛{Connector for Connecting Bus Bars}[0001] The present invention relates to a heat exchanger bus bar connecting unit for a switchboard,

본 발명은 배전반용 방열형 버스바 연결유닛에 관한 것으로서, 더욱 상세하게는 버스바의 연결부위에서 발생하는 열을 효과적으로 방열시킬 수 있을 뿐만 아니라, 연결부위의 결합력을 향상시킬 수 있도록 하는 배전반용 방열형 버스바 연결유닛에 관한 것이다.
The present invention relates to a heat-radiating type bus bar connecting unit for an electric distribution board, and more particularly, to a heat-radiating type bus bar connecting unit for an electric distribution bus that not only effectively dissipates heat generated on a connecting portion of a bus bar, To a connecting unit.

통상 전력장치라 함은, 분배전반, 저압반, 고압반, 변압반 등을 통칭하는 것으로, 주로 차단기나 마그네틱과 같은 전력소자가 구비되어 외부의 전력을 개폐하거나 제어하는 장치를 말한다.The term "ordinary power device" generally refers to a distribution device, a low-pressure device, a high-voltage device, and a voltage transformer, and refers to a device that mainly includes a power device such as a circuit breaker or a magnetic device to open or close external power.

이와 같은 여러 전력장치 중에서도 산업에서 가장 널리 이용되는 전력장치인 배전반은 발전소변전소 등의 운전이나 제어, 전동기의 운전 등을 위해 스위치계기릴레이(계전기) 등이 필요로 하는 전력용량에 따라 다양하게 설치되는 것으로, 이는 주로 건축물 등의 옥내 배선에 있어 외부로부터 공급되는 전력을 배분하여 옥내의 각 요소로 공급함과 동시에 공급전력을 개폐하는 기능을 수행한다.Among the various power devices, the most widely used power device in the industry is installed variously according to the power capacity required for the switchgear relays (relays) for the operation and control of the power plant substation, the operation of the electric motors, This mainly distributes the power supplied from the outside in the indoor wiring such as a building and supplies it to each element in the house, and at the same time, performs the function of opening and closing the power supply.

또한, 배전함은 별도의 변압기함 내에서 특고압을 저압으로 변환시키는 변압기의 2차측에 전기적으로 연결되어 그 변압기를 경유하여 인가되는 전원을 부하측으로 분배하고 통전 또는 차단되도록 단속하여 주는 메인차단기와 분기차단기 등의 배전기구들을 내부에 설치할 수 있도록 제공되어 왔다.In addition, the distribution box is connected to the secondary side of the transformer which transforms the special high voltage to the low pressure in the separate transformer box, and distributes the power applied via the transformer to the load side, It has been provided to install power distribution devices such as breakers inside.

더하여, 상기 배전반에는 각각의 차단기들을 상호 전기적으로 연결하여 외부로부터 공급된 전력을 분배하기 위한 다수개의 버스바(bus-bar)가 설치되며, 상기 버스바는 일측이 주차단기의 출력단자에 연결되어 전력을 유도하는 모선 버스바와, 상기 모선 버스바에 연결되어 분배받은 전력을 각각의 보조차단기에 공급하는 분선 버스바로 구성된다.In addition, the switchboard is provided with a plurality of bus-bars for distributing electric power supplied from the outside by electrically connecting each of the breakers, and the bus bar is connected to the output terminal of the parking terminal A bus bus bar for leading the power, and a branch bus connected to the bus bus bar and supplying the divided power to the respective auxiliary breakers.

상기와 같은 종래의 버스바는 모선 버스바와 분선 버스바, 또는 보선 버스바나 분선 버스바를 상호 연결할 때 연결부위를 중첩한 후 고정하게 되는데, 이때 연결부위에서 많은 열이 발생할 뿐만 아니라, 연결부위가 헐거워져 전기 안전사고가 발생하는 등의 문제점이 있다.
The conventional bus bar as described above is fixed after the connection parts are overlapped when the bus bar and the branch bus bar or the wire bus bar or the branch bus bar are connected to each other. At this time, not only a lot of heat is generated on the connection part but also the connection part is loosened There is a problem that an electric safety accident occurs.

국내 등록특허공보 제10-0902482호Korean Patent Registration No. 10-0902482 국내 등록실용신안공보 제20-0422921호Korean Registered Utility Model No. 20-0422921

본 발명은 상기와 같은 문제점들을 개선하기 위하여 안출된 것으로서, 버스바의 연결부위에서 발생하는 열을 효과적으로 방열시킬 수 있을 뿐만 아니라, 연결부위의 결합력을 향상시킬 수 있도록 하는 배전반용 방열형 버스바 연결유닛을 제공하는데 그 목적이 있다.
SUMMARY OF THE INVENTION The present invention has been made in order to solve the above-mentioned problems, and it is an object of the present invention to provide a heat-radiating type bus bar connecting unit for an electric power distribution board capable of effectively dissipating heat generated on a connecting portion of a bus bar, The purpose is to provide.

본 발명에 따른 배전반용 방열형 버스바 연결유닛은 제1 결합구멍이 형성되는 수평 버스바; 상기 수평 버스바에 수직으로 연결되도록 상기 제1 결합구멍에 정렬하도록 제2 결합구멍이 형성되는 분기 버스바; 상기 제2 결합구멍에 정렬하도록 제3 결합구멍이 형성되어 상기 분기 버스바의 하면에 접촉되는 방열판 부재; 및 상기 제1 결합구멍 내지 제3 결합구멍에 삽입되어 상기 수평 버스바, 분기 버스바 및 방열판 부재를 고정하는 결합부재를 포함하는 배전반용 방열형 버스바 연결유닛을 제공한다.The heat-radiating bus bar connecting unit for an electric distribution panel according to the present invention comprises: a horizontal bus bar having a first coupling hole; A branch bus bar having a second coupling hole formed to be aligned with the first coupling hole so as to be perpendicularly connected to the horizontal bus bar; A heat radiating plate member having a third engaging hole formed in alignment with the second engaging hole and contacting the lower surface of the branch bus bar; And a coupling member inserted into the first to third coupling holes to fix the horizontal bus bar, the branch bus bar, and the heat sink member.

또한, 본 발명은 단부에 제1 결합구멍이 형성되어 수평으로 이격되게 배치되는 수평 버스바; 일단부가 상기 수평 버스바 중 어느 하나의 상기 수평 버스바 하면에 접촉하고, 타단부가 다른 하나의 상기 수평 버스바 하면에 접촉하며, 상기 제1 결합구멍에 정렬하는 제2 결합구멍이 형성되는 연결편 부재; 상기 제2 결합구멍에 정렬하도록 제3 결합구멍이 형성되어 상기 연결편 부재의 양단부에 각각 접촉하는 방열판 부재; 및 상기 제1 결합구멍 내지 제3 결합구멍에 삽입되어 상기 수평 버스바, 상기 연결편 부재 및 방열판 부재를 고정하는 결합부재를 포함하는 배전반용 방열형 버스바 연결유닛을 제공한다.According to another aspect of the present invention, there is provided a plasma display apparatus comprising: a horizontal bus bar having a first coupling hole formed at an end thereof so as to be horizontally spaced; Wherein one end of the horizontal bus bar is in contact with the lower surface of the horizontal bus bar of one of the horizontal bus bars and the other end is in contact with the other surface of the horizontal bus bar, absence; A heat radiating plate member having third engaging holes formed therein to be aligned with the second engaging holes and contacting the opposite end portions of the connecting piece member, respectively; And an engaging member inserted into the first to third engaging holes to fix the horizontal bus bar, the connecting piece and the heat radiating plate member.

또한, 본 발명은 상기 방열판 부재가 상기 제3 결합구멍이 형성되는 접촉부와, 상기 결합부에서 하측으로 절곡 형성되는 이격부 및 상기 이격부에서 절곡 형성되어 상기 방열부를 구비하는 배전반용 방열형 버스바 연결유닛을 제공한다.Further, the present invention is characterized in that the heat sink member includes a contact portion in which the third engagement hole is formed, a spacing portion bent downward from the engagement portion, and a heat-radiating bus bar for a switchboard, Provide a unit.

또한, 본 발명은 상기 방열판 부재의 상기 방열부에 열감지 스티커부재가 접착되는 배전반용 방열형 버스바 연결유닛을 제공한다.In addition, the present invention provides a heat-radiating bus bar connecting unit for an electric distribution board to which a heat-sensing sticker member is bonded to the heat-radiating portion of the heat sink member.

또한, 본 발명은 상기 방열판 부재가 알루미늄에 의해 형성되는 배전반용 방열형 버스바 연결유닛을 제공한다.
Further, the present invention provides a heat-dissipating bus bar connecting unit for an electric distribution board in which the heat sink member is formed of aluminum.

상기와 같은 본 발명에 따른 배전반용 방열형 버스바 연결유닛에 의하면, 버스바의 연결부위에서 발생하는 열을 효과적으로 방열시킬 수 있을 뿐만 아니라, 연결부위의 결합력을 향상시킬 수 있는 이점이 있다.
According to the present invention, it is possible to effectively dissipate the heat generated on the connection portion of the bus bar and to improve the coupling force of the connection portion.

도 1은 본 발명의 일 실시 예에 따른 배전반용 방열형 버스바 연결유닛을 나타낸 사시도이다.
도 2는 도 1의 평면도이다.
도 3은 도 1의 측면도이다.
도 4는 본 발명의 다른 실시 예에 따른 배전반용 방열형 버스바 연결유닛을 나타낸 사시도이다.
도 5는 도 4의 평면도이다.
도 6은 도 4의 측면도이다.
1 is a perspective view illustrating a heat-radiating type bus bar connecting unit for an electric distribution panel according to an embodiment of the present invention.
2 is a plan view of Fig.
3 is a side view of Fig.
4 is a perspective view illustrating a heat-radiating type bus bar connecting unit for an electric distribution panel according to another embodiment of the present invention.
5 is a plan view of Fig.
6 is a side view of Fig.

이하, 첨부된 도면들을 참조하여 본 발명에 따른 배전반용 방열형 버스바 연결유닛의 실시 예를 설명한다. 이 과정에서 도면에 도시된 선들의 두께나 구성요소의 크기 등은 설명의 명료성과 편의상 과장되게 도시되어 있을 수 있다. 또한, 후술되는 용어들은 본 발명에서의 기능을 고려하여 정의된 용어들로서 이는 사용자, 운용자의 의도 또는 관례에 따라 달라질 수 있다. 그러므로 이러한 용어들에 대한 정의는 본 명세서 전반에 걸친 내용을 토대로 내려져야 할 것이다.DETAILED DESCRIPTION OF THE PREFERRED EMBODIMENTS Hereinafter, embodiments of a heat-radiating bus bar connecting unit for an electric distribution panel according to the present invention will be described with reference to the accompanying drawings. In this process, the thicknesses of the lines and the sizes of the components shown in the drawings may be exaggerated for clarity and convenience of explanation. In addition, the terms described below are defined in consideration of the functions of the present invention, which may vary depending on the intention or custom of the user, the operator. Therefore, definitions of these terms should be made based on the contents throughout this specification.

먼저, 도 1 내지 도 3을 참조하여 본 발명의 일 실시 예에 따른 배전반용 방열형 버스바 연결유닛을 설명한다.First, referring to Figs. 1 to 3, a heat-radiating bus bar connecting unit for an electric distribution panel according to an embodiment of the present invention will be described.

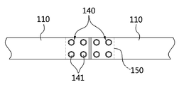
도 1 내지 도 3에 도시된 바와 같이, 본 실시 예에 따른 배전반용 방열형 버스바 연결유닛은 배전반(도시생략)에 설치되는 수평 버스바(110)와, 이 수평 버스바(110)를 보조 차단기(도시생략)와 연결하기 위한 분기 버스바(120), 수평 버스바(110)와 분기 버스바(120)의 방열을 위한 방열판 부재(130) 및 수평 버스바(110), 분기 버스바(120), 방열판 부재(130)를 결합하기 위한 결합부재(140)를 포함한다.1 to 3, the heat-radiating type bus bar connecting unit for an electric distribution panel according to the present embodiment includes a horizontal bus bar 110 installed in an electric distribution board (not shown) (Not shown), a heat sink member 130 and a horizontal bus bar 110 for radiating heat from the horizontal bus bar 110 and the branch bus bar 120, a branch bus bar 120 , And a coupling member 140 for coupling the heat sink member 130.

수평 버스바(110)는 결합부재(140)를 삽입할 수 있도록 제1 결합구멍(111)이 형성되며, 분기 버스바(120)가 수직으로 결합된다.The horizontal bus bar 110 is formed with a first engagement hole 111 through which the coupling member 140 can be inserted, and the branch bus bar 120 is coupled vertically.

분기 버스바(120)는 상기 수평 버스바(110)에 수직으로 연결되도록 선단부 상면이 수평 버스바(110)의 하면에 접촉하며, 제1 결합구멍(111)에 정렬되는 제2 결합구멍(121)이 형성된다. 이러한, 분기 버스바(120)는 제2 결합구멍(121)을 관통하는 결합부재(140)를 통해 수평 버스바(110) 및 방열판 부재(130)와 결합된다.The upper end of the branch bus bar 120 is vertically connected to the horizontal bus bar 110 and contacts the lower surface of the horizontal bus bar 110. The second connection hole 121 Is formed. The branch bus bar 120 is coupled to the horizontal bus bar 110 and the heat sink member 130 through a coupling member 140 passing through the second coupling hole 121.

방열판 부재(130)는 결합부재(140)를 통해 분기 버스바(120)의 하면에 결합되며, 제2 결합구멍(131)과 정렬하도록 제3 결합구멍(131)이 형성된다.The heat sink member 130 is coupled to the lower surface of the branch bus bar 120 through the coupling member 140 and the third coupling hole 131 is formed to align with the second coupling hole 131.

이러한, 방열판 부재(130)는 수평 버스바(110) 및 분기 버스바(120)의 연결부위에서 발생하는 열을 효과적으로 방열시키도록 알루미늄에 의해 형성되며, 결합부재(140)의 결합력을 향상시킨다.The heat sink member 130 is formed of aluminum to effectively dissipate the heat generated on the connection portions of the horizontal bus bar 110 and the branch bus bar 120 and improves the coupling force of the coupling member 140.

이를 위하여, 방열판 부재(130)는 제3 결합구멍(131)이 형성되어 분기 버스바(120)의 하면에 접촉하는 접촉부(130a)와, 결합부(130a)에서 하측으로 절곡 형성되는 이격부(130b) 및 이 이격부(130b)에서 절곡 형성되는 방열부(130c)를 구비한다.The heat sink member 130 includes a contact portion 130a formed with a third engagement hole 131 and contacting the lower surface of the branch bus bar 120 and a separating portion 130a formed bending downward from the engaging portion 130a And a heat radiating portion 130c bent at the spacing portion 130b.

또한, 방열판 부재(130)는 접촉부(130a)가 결합부재(140)가 결합되었을 때 와셔 기능을 하게 되어 결합부재(140)의 풀림을 더욱 효과적으로 방지하게 됨은 물론 이격부(130b)를 통해 방열부(130c)가 수평 버스바(110)에서 보다 멀리 이격되어 방열효과가 더욱 향상된다.The heat dissipating plate member 130 may function as a washer when the abutting portion 130a is engaged with the engaging member 140 to more effectively prevent the releasing of the engaging member 140, (130c) is further away from the horizontal bus bar (110), and the heat radiation effect is further improved.

더하여, 방열판 부재(130)는 작업자가 방열판 부재(130)의 온도변화를 보다 용이하게 확인할 수 있도록 방열부(130c)에 열감지 스티커부재(133)가 접착된다. 열감비 스티커부재(133)는 방열판 부재(130)의 온도 변화에 따라 그 색이 변화된다.In addition, the heat-sensing member 130 is adhered to the heat-dissipating portion 130c so that the operator can more easily confirm the temperature change of the heat-dissipating member 130. [ The color of the hot feel non-sticky member 133 changes in accordance with the temperature change of the heat sink member 130. [

결합부재(140)는 제1 결합구멍(111) 내지 제3 결합구멍(131)에 삽입되는 볼트(141)와, 이 볼트(141)에 체결되는 너트(143)와, 이 너트(143)와 방열판 부재(130)의 접촉부(130a) 사이에 결합되는 스프링와셔(145)로 이루어진다.The engaging member 140 includes a bolt 141 inserted into the first engaging hole 111 through the third engaging hole 131, a nut 143 fastened to the bolt 141, And a spring washer 145 coupled between the contact portions 130a of the heat sink member 130.

상기와 같이 구성되는 본 실시 예에 따른 배전반용 방열형 버스바 연결유닛은 방열판 부재(130)를 통해 수평 버스바(110) 및 분기 버스바(120)에서 발생하는 열을 효과적으로 방열시킬 수 있을 뿐만 아니라, 방열판 부재(130)의 접촉부(130a)가 평와셔 기능을 하게 되어 결합부재(140)의 결합력을 더욱 향상시키게 된다.
The heat-radiating bus bar connecting unit according to the present embodiment configured as described above can heat the heat generated from the horizontal bus bar 110 and the branch bus bar 120 through the heat sink member 130 effectively The contact portion 130a of the heat sink member 130 functions as a flat washer, thereby further improving the coupling force of the coupling member 140. [

다음으로, 도 4 내지 도 6을 참조하여 본 발명의 다른 실시 예에 따른 배전반용 방열형 버스바 연결유닛을 설명한다.Next, referring to Figs. 4 to 6, a heat-radiating bus bar connecting unit for an electric distribution panel according to another embodiment of the present invention will be described.

본 실시 예에 따른 배전반용 방열형 버스바 연결유닛을 설명함에 있어 일 실시 예와 동일 유사한 부분에 대해서는 동일한 도면부호를 사용하며 그 구체적인 설명은 생략하기로 한다.In describing the heat-radiating type bus bar connecting unit for the switchboard according to the present embodiment, the same reference numerals are used for the same or similar parts as those of the embodiment, and a detailed description thereof will be omitted.

도 4 내지 도 6에 도시된 바와 같이 본 실시 예에 따른 배전반용 방열형 버스바 연결유닛은 수평으로 이격되게 배치되는 수평 버스바(110)를 상호 결합할 수 있도록 구성된다.As shown in FIGS. 4 to 6, the heat-radiating type bus bar connecting unit according to the present embodiment is configured to couple horizontal bus bars 110 that are horizontally spaced apart.

이를 위하여 본 실시 예에 따른 배전반용 방열형 버스바 연결유닛은 일단부가 상기 수평 버스바(110) 중 어느 하나의 상기 수평 버스바(110) 하면에 접촉하고, 타단부가 이와 이웃하는 다른 하나의 상기 수평 버스바(110) 하면에 접촉하는 연결편 부재(150)와, 이 연결편 부재(150)의 양단부에 각각 구비되는 방열판 부재(130) 및 수평 버스바(110), 연결편 부재(150), 방열판 부재(130)를 결합하기 위한 결합부재(140)를 포함한다.To this end, the heat-radiating type bus bar connecting unit according to the present embodiment has one end contacting the lower surface of the horizontal bus bar 110 of one of the horizontal bus bars 110 and the other end contacting the lower surface of the other, A horizontal bus bar 110 and a connection member 150 which are provided at both ends of the connection member 150 and the heat sink member 130 and the heat sink member 150, And an engaging member 140 for engaging the engaging member 130.

연결편 부재(150)는 수평 버스바(110)의 제1 결합구멍(111)에 정렬하며, 결합부재(140)가 삽입되는 제2 결합구멍(151)이 형성된다.The connecting piece member 150 is aligned with the first fitting hole 111 of the horizontal bus bar 110 and the second fitting hole 151 into which the fitting member 140 is inserted is formed.

이와 같은 본 실시 예에 따른 배전반용 방열형 버스바 연결유닛 또한 방열판 부재(130)를 통해 수평 버스바(110) 및 연결편 부재(150)에서 발생하는 열을 효과적으로 방열시킬 수 있을 뿐만 아니라, 방열판 부재(130)의 접촉부(130a)가 평와셔 기능을 하게 되어 결합부재(140)의 결합력을 향상시킬 수 있게 된다.The heat-radiating type bus bar connecting unit according to this embodiment of the present invention can effectively dissipate heat generated from the horizontal bus bar 110 and the connecting piece member 150 through the heat sink member 130, 130 can function as a flat washer so that the engaging force of the engaging member 140 can be improved.

본 발명은 도면에 도시된 실시예를 참고로 하여 설명되었으나, 이는 예시적인 것에 불과하며, 당해 기술이 속하는 분야에서 통상의 지식을 가진 자라면 이로부터 다양한 변형 및 균등한 타 실시예가 가능하다는 점을 이해할 것이다. 따라서 본 발명의 진정한 기술적 보호범위는 아래의 특허청구범위에 의해서 정하여져야 할 것이다.
While the present invention has been particularly shown and described with reference to exemplary embodiments thereof, it will be understood by those of ordinary skill in the art that various changes in form and details may be made therein without departing from the spirit and scope of the invention as defined by the appended claims. I will understand. Accordingly, the true scope of the present invention should be determined by the following claims.

110 : 수평 버스바 120 : 분기 버스바
130 : 방열판 부재 130a : 접촉부
130b : 이격부 130c : 방열부
140 : 결합부재
110: horizontal bus bar 120: branch bus bar
130: Heat sink member 130a:
130b: spacing part 130c:
140:

Claims (5)

제1 결합구멍(111)이 형성되는 수평 버스바(110);
상기 수평 버스바에 수직으로 연결되도록 상기 제1 결합구멍에 정렬하도록 제2 결합구멍(121)이 형성되는 분기 버스바(120);
상기 제2 결합구멍에 정렬하도록 제3 결합구멍(131)이 형성되어 상기 분기 버스바의 하면에 접촉되는 방열판 부재(130); 및
상기 제1 결합구멍 내지 제3 결합구멍에 삽입되어 상기 수평 버스바, 분기 버스바 및 방열판 부재를 고정하는 결합부재(140);
를 포함하는 것을 특징으로 하는 배전반용 방열형 버스바 연결유닛.
A horizontal bus bar 110 in which a first coupling hole 111 is formed;
A branch bus bar (120) having a second engagement hole (121) formed to be aligned with the first engagement hole so as to be vertically connected to the horizontal bus bar;
A heat sink member (130) having a third engagement hole (131) aligned with the second engagement hole and contacting the lower surface of the branch bus bar; And
A coupling member 140 inserted into the first to third coupling holes to fix the horizontal bus bar, the branch bus bar, and the heat sink member;
And the bus bar connecting unit for a bus bar of the distribution board.
단부에 제1 결합구멍(111)이 형성되어 수평으로 이격되게 배치되는 수평 버스바(110);
일단부가 상기 수평 버스바 중 어느 하나의 상기 수평 버스바 하면에 접촉하고, 타단부가 다른 하나의 상기 수평 버스바 하면에 접촉하며, 상기 제1 결합구멍에 정렬하는 제2 결합구멍(151)이 형성되는 연결편 부재(150);
상기 제2 결합구멍에 정렬하도록 제3 결합구멍(131)이 형성되어 상기 연결편 부재의 양단부에 각각 접촉하는 방열판 부재(130); 및
상기 제1 결합구멍 내지 제3 결합구멍에 삽입되어 상기 수평 버스바, 상기 연결편 부재 및 방열판 부재를 고정하는 결합부재(140);
를 포함하는 것을 특징으로 하는 배전반용 방열형 버스바 연결유닛.
A horizontal bus bar 110 having a first coupling hole 111 formed at an end thereof and horizontally spaced apart;
One end thereof is in contact with the lower surface of the horizontal bus bar of one of the horizontal bus bars and the other end is in contact with the other surface of the horizontal bus bar and the second coupling hole 151 is aligned with the first coupling hole A connecting piece member 150 formed;
A heat radiating plate member 130 having third engaging holes 131 aligned with the second engaging holes and contacting the opposite end portions of the connecting plate member; And
An engaging member inserted into the first through third engaging holes to fix the horizontal bus bar, the connecting piece, and the heat radiating plate;
And the bus bar connecting unit for a bus bar of the distribution board.
제 1 항 또는 제 2 항에 있어서,
상기 방열판 부재는 상기 제3 결합구멍이 형성되는 접촉부(130a)와, 상기 결합부에서 하측으로 절곡 형성되는 이격부(130b) 및 상기 이격부에서 절곡 형성되는 방열부(130c)를 구비하는 것을 특징으로 하는 배전반용 방열형 버스바 연결유닛.
3. The method according to claim 1 or 2,
The heat dissipation plate member may include a contact portion 130a in which the third engagement hole is formed, a spacing portion 130b bent downward in the engagement portion, and a heat dissipation portion 130c bent in the spacing portion Heat exchanger bus bar connection unit for switchboard.
제 3 항에 있어서,
상기 방열판 부재는 상기 방열부에 열감지 스티커부재(133)가 접착되는 것을 특징으로 하는 배전반용 방열형 버스바 연결유닛.
The method of claim 3,
Wherein a heat-sensing sticker member (133) is attached to the heat-dissipating unit.
제 3 항에 있어서,
상기 방열판 부재는 알루미늄에 의해 형성되는 것을 특징으로 하는 배전반용 방열형 버스바 연결유닛.
The method of claim 3,
Wherein the heat sink member is formed of aluminum.
KR1020130000797A 2013-01-03 2013-01-03 Connector for Connecting Bus Bars Ceased KR20140089653A (en)

Priority Applications (1)

Application Number Priority Date Filing Date Title
KR1020130000797A KR20140089653A (en) 2013-01-03 2013-01-03 Connector for Connecting Bus Bars

Applications Claiming Priority (1)

Application Number Priority Date Filing Date Title
KR1020130000797A KR20140089653A (en) 2013-01-03 2013-01-03 Connector for Connecting Bus Bars

Publications (1)

Publication Number Publication Date
KR20140089653A true KR20140089653A (en) 2014-07-16

Family

ID=51737612

Family Applications (1)

Application Number Title Priority Date Filing Date
KR1020130000797A Ceased KR20140089653A (en) 2013-01-03 2013-01-03 Connector for Connecting Bus Bars

Country Status (1)

Country Link
KR (1) KR20140089653A (en)

Cited By (9)

* Cited by examiner, † Cited by third party
Publication number Priority date Publication date Assignee Title
KR20160056347A (en) 2014-11-10 2016-05-20 보명테크 주식회사 Bus-bar fitting structure of transformers
KR20160003651U (en) * 2015-04-13 2016-10-21 엘에스산전 주식회사 Busbar Unit for Switchgear
KR20160129273A (en) 2015-04-30 2016-11-09 노현기 Pressing device of bus bar
KR20180062341A (en) * 2016-11-30 2018-06-08 엘에스엠트론 주식회사 Apparatus for fixing a plurality of energy storage cell and energy storage module using the same
KR102491772B1 (en) * 2022-01-11 2023-01-26 (주)피앤케이하이테크 Structure for electric connecting of between power terminal and circuit board in inverter
KR20240020884A (en) 2022-08-09 2024-02-16 한국단자공업 주식회사 Bus-bar
KR20240162230A (en) 2023-05-08 2024-11-15 김용학 Busbar binding device for switchboard and busbar connecting device for switchboard including the same
KR20240172513A (en) * 2023-06-01 2024-12-10 한국전력공사 Temporary power supply
KR20250096201A (en) 2023-12-20 2025-06-27 한국단자공업 주식회사 connecting device for a busbar

Cited By (10)

* Cited by examiner, † Cited by third party
Publication number Priority date Publication date Assignee Title
KR20160056347A (en) 2014-11-10 2016-05-20 보명테크 주식회사 Bus-bar fitting structure of transformers
KR20160003651U (en) * 2015-04-13 2016-10-21 엘에스산전 주식회사 Busbar Unit for Switchgear
KR20160129273A (en) 2015-04-30 2016-11-09 노현기 Pressing device of bus bar
KR20180062341A (en) * 2016-11-30 2018-06-08 엘에스엠트론 주식회사 Apparatus for fixing a plurality of energy storage cell and energy storage module using the same
US11177081B2 (en) 2016-11-30 2021-11-16 Ls Mtron Ltd. Fixing device for fixing plurality of energy storage cells, and energy storage module using same
KR102491772B1 (en) * 2022-01-11 2023-01-26 (주)피앤케이하이테크 Structure for electric connecting of between power terminal and circuit board in inverter
KR20240020884A (en) 2022-08-09 2024-02-16 한국단자공업 주식회사 Bus-bar
KR20240162230A (en) 2023-05-08 2024-11-15 김용학 Busbar binding device for switchboard and busbar connecting device for switchboard including the same
KR20240172513A (en) * 2023-06-01 2024-12-10 한국전력공사 Temporary power supply
KR20250096201A (en) 2023-12-20 2025-06-27 한국단자공업 주식회사 connecting device for a busbar

Similar Documents

Publication Publication Date Title
KR20140089653A (en) Connector for Connecting Bus Bars
CN102870296B (en) Plug in circuit breaker assembly
US8758061B2 (en) Supply module and drive module
CN102844947B (en) There is the distribution panelboard of parallelly feeding line distribution
US20070247823A1 (en) Power inverter
KR101209892B1 (en) Branch bus bar, structure for bonding bus bars, and branch bus bar kit
KR101433004B1 (en) Heat sink busbar and switchgear having thereof
KR101506670B1 (en) rail type fabricated cabinet panel
KR101506672B1 (en) Power distribution device
KR100996857B1 (en) Direct connection mounting plate of wiring circuit breaker and switchboard
KR101884080B1 (en) Slide type bus bar connector
KR100998721B1 (en) Prefabricated Power Distribution Device
US9954345B2 (en) Panelboard, and switchgear assembly and stab assembly therefor
KR101301964B1 (en) Switchgear equipped with polygon bus bar and anti-vibrating bus bar support fixture
KR101251605B1 (en) Bus bar connecting apparatus of distributing board
CN101821918B (en) Power distribution apparatus
KR100965566B1 (en) Distribution control box of an apartment house
KR102173310B1 (en) One-touch combination type bus bar kit
US9293897B2 (en) Panelboard and electrical power distribution system
KR100689925B1 (en) Busbar Connection Mechanism for Distribution Boards
KR100817887B1 (en) Busbar case
KR200402632Y1 (en) Current transformer case
KR102371877B1 (en) Busbar cooling device
KR101825604B1 (en) Structure for bonding bus bars
CN103430270B (en) Y-delta connecton layout in particular for the protection circuit on buck plate

Legal Events

Date Code Title Description
A201 Request for examination
PA0109 Patent application

Patent event code: PA01091R01D

Comment text: Patent Application

Patent event date: 20130103

PA0201 Request for examination
E902 Notification of reason for refusal
PE0902 Notice of grounds for rejection

Comment text: Notification of reason for refusal

Patent event date: 20140528

Patent event code: PE09021S01D

PG1501 Laying open of application
PE0601 Decision on rejection of patent

Patent event date: 20140826

Comment text: Decision to Refuse Application

Patent event code: PE06012S01D

Patent event date: 20140528

Comment text: Notification of reason for refusal

Patent event code: PE06011S01I