KR20140080571A - 다용도 소켓 렌치 - Google Patents

다용도 소켓 렌치 Download PDF

Info

Publication number
KR20140080571A
KR20140080571A KR1020120144056A KR20120144056A KR20140080571A KR 20140080571 A KR20140080571 A KR 20140080571A KR 1020120144056 A KR1020120144056 A KR 1020120144056A KR 20120144056 A KR20120144056 A KR 20120144056A KR 20140080571 A KR20140080571 A KR 20140080571A
Authority
KR
South Korea
Prior art keywords
socket
socket wrench
holder
wrench according
main body
Prior art date
Legal status (The legal status is an assumption and is not a legal conclusion. Google has not performed a legal analysis and makes no representation as to the accuracy of the status listed.)
Ceased
Application number
KR1020120144056A
Other languages
English (en)
Inventor
염준현
김종훈
안태형
김란영
박성두
Original Assignee
염준현
안태형
김란영
김종훈
Priority date (The priority date is an assumption and is not a legal conclusion. Google has not performed a legal analysis and makes no representation as to the accuracy of the date listed.)
Filing date
Publication date
Application filed by 염준현, 안태형, 김란영, 김종훈 filed Critical 염준현
Priority to KR1020120144056A priority Critical patent/KR20140080571A/ko
Publication of KR20140080571A publication Critical patent/KR20140080571A/ko
Ceased legal-status Critical Current

Links

Images

Classifications

    • BPERFORMING OPERATIONS; TRANSPORTING
    • B25HAND TOOLS; PORTABLE POWER-DRIVEN TOOLS; MANIPULATORS
    • B25BTOOLS OR BENCH DEVICES NOT OTHERWISE PROVIDED FOR, FOR FASTENING, CONNECTING, DISENGAGING OR HOLDING
    • B25B13/00Spanners; Wrenches
    • B25B13/10Spanners; Wrenches with adjustable jaws
    • B25B13/107Spanners; Wrenches with adjustable jaws composed of a main body with exchangeable inserts
    • BPERFORMING OPERATIONS; TRANSPORTING
    • B25HAND TOOLS; PORTABLE POWER-DRIVEN TOOLS; MANIPULATORS
    • B25FCOMBINATION OR MULTI-PURPOSE TOOLS NOT OTHERWISE PROVIDED FOR; DETAILS OR COMPONENTS OF PORTABLE POWER-DRIVEN TOOLS NOT PARTICULARLY RELATED TO THE OPERATIONS PERFORMED AND NOT OTHERWISE PROVIDED FOR
    • B25F1/00Combination or multi-purpose hand tools
    • B25F1/02Combination or multi-purpose hand tools with interchangeable or adjustable tool elements

Landscapes

  • Engineering & Computer Science (AREA)
  • Mechanical Engineering (AREA)
  • Details Of Spanners, Wrenches, And Screw Drivers And Accessories (AREA)

Abstract

본 발명은 여러 규격의 결합 소켓들을 구비한 소켓 렌치에 관한 것으로서, 종래의 소켓 렌치에 장착하는 소켓들은 분실 위험이 크고 관리함의 불편함과 소켓 교체의 번거로운 문제점이 있었다. 이러한 문제점을 해결하기 위하여 본 발명에서는 금속으로 제작되며 봉형상으로 이루어진 조작 핸들과 상기 조작 핸들의 일측 끝단에 연결되어 결합 소켓을 결합 시킬 수 있는 본체 홀더, 상기 본체 홀더 상부에 다양한 규격의 소켓들을 결합시키는 소켓 홀더, 상기 소켓 홀더에 결합되어 있는 결합 소켓이 제공된다. 본 발명에 의하면 서로 다른 규격의 소켓들을 하나의 소켓 렌치에 부착함으로써 소켓들을 관리하는 데 편리하다.

Description

다용도 소켓 렌치{Multi socket wrench}
본 발명은 다용도 소켓 렌치에 관한 것으로서, 보다 상세하게는 서로 다른 크기의 소켓을 소켓홀더에 보관할 수 있고, 육각볼트와 육각너트 및 육각 홈 볼트를 조이거나 풀 수 있게 하는 등 소켓 렌치 일부에 소켓들을 서로 겹칠 수 있게 하여 크기 조절까지 가능한 다용도 소켓 렌치에 관한 것이다.
일반적으로, 종래의 소켓 렌치는 소켓을 독립적으로 보관하므로 분실에 대한 위험에 노출되고 휴대함의 불편함이 있었고, 육각머리 볼트나 육각 홈 볼트는 서로 다른 렌치를 사용하여야만 했다. 이러한 소켓 렌치를 사용하려면 매번 독립적인 소켓들을 소켓 렌치와는 별도로 구비해야하고 용도에 맞는 렌치를 따로 구비해야
하는 문제점이 있었다.
(특허문헌 1) KR10-2011-0070746 1
본 발명은 독립적인 소켓들을 서로 결합해 소켓홀더에 보관하므로 소켓의 분실위험을 줄이고, 소켓의 탈부착을 쉽고 간편하게 하여 새로운 기능을 갖춘 소켓 렌치를 제공하는 것을 목적으로 둔다.
이와 같은 문제점을 해결하기 위한 것으로서, 본 발명은 금속으로 제작되고 봉 형상으로 이루어진 조작 핸들과, 상기 조작 핸들의 일측 끝단에 연결되어 있는 본체 홀더와, 상기 본체 홀더의 상단에 위치한 소켓 홀더와, 상기 소켓 홀더에 결합되어 있는 결합 소켓을 포함하는 다용도 소켓 렌치가 제공된다.
본 발명의 다른 특징에 의하면, 조작 핸들은 사람이 손으로 잡을 수 있도록 일측 끝단에 손잡이가 있고 반대 쪽 끝단에 본체 홀더와 연결할 수 있는 핸들 수나사를 포함하는 다용도 소켓 렌치가 제공된다.
또한, 본 발명의 다른 특징에 의하면, 본체 홀더는 육각형의 형상으로 형성되도록 하고, 상기 본체의 측면에 형성된 본체 암나사를 포함하도록 한다. 상기 본체 홀더의 내벽에 형성된 가이드 레일과 상기 가이드 레일에 형성된 돌출부를 포함하는 다용도 소켓 렌치가 제공된다.
또한, 본 발명의 다른 특징에 의하면, 소켓 홀더는 육각형의 형상으로 형성되도록 하고, 상기 소켓 홀더의 외벽에 형성된 돌출부를 포함하는 다용도 소켓 렌치가 제공된다.
또한, 본 발명의 다른 특징에 의하면, 결합 소켓은 상기 본체 홀더와 상기 소켓 홀더에 결합되도록 하고, 내부가 정육각형으로 관통된 형상으로 형성되도록 하며, 상기 결합 소켓의 내벽 두 면에 가이드 레일을 포함하고, 상기 가이드 레일에 형성된 돌출부와 상기 돌출부에 체결된 하위 결합 소켓의 이탈을 방지하기 위한 풀림 방지 대를 포함하는 다용도 소켓 렌치가 제공된다.
이상 설명한 바와 같이 본 발명에 의하면, 육각 볼트나 너트를 조이거나 풀 때 다용도 소켓 렌치를 사용하여 치수에 맞는 결합 소켓을 손쉽게 교체할 수 있다. 또한 결합 소켓이 각각 분리된 상태가 아닌 결합형으로 렌치에 결속되어 있기 때문에 보관 또한 용이하다. 그리고 필요시 육각 홈 볼트를 조이거나 풀 때도 사용이 가능하다.
도 1은 본 발명의 바람직한 실시 예에 따른 다용도 소켓 렌치의 사시도,
도 2는 도 1 다용도 소켓 렌치의 부분 저면도,
도 3는 도 1 다용도 소켓 렌치의 본체 홀더 부분 단면도,
도 4는 도 1 다용도 소켓 렌치의 소켓 홀더 부분 단면도,
도 5은 도 3 다용도 소켓 렌치의 분해도이다.
도면은 본 발명에 의한 소켓 렌치의 일실시예를 나타내고, 실시예의 소켓 렌치는 크게 조작 핸들(10)과, 본체 홀더(20), 소켓 홀더(21), 결합 소켓(30)으로 나타난다.
도 1은 본 발명의 바람직한 실시 예에 따른 다용도 소켓 렌치의 사시도이다. 도 1에 의하면, 조작 핸들(10)은 선단에 손잡이(11)를 구비하고, 이 손잡이(11)는 주먹으로 다 감 쌓을 수 있는 형상의 봉에 두께를 제공하고 재질은 고무를 사용하므로 잡는 손의 피로를 줄여주는 기능을 갖는다. 또한 조작 핸들(10)의 끝단에 본체 홀더(20)와 연결 할 수 있게 핸들 수나사(12)를 제공한다.
도 2는 도 1 다용도 소켓 렌치의 부분 저면도로 결합 소켓(30)들이 결합되어 본체 홀더(20) 내부에 들어있는 모습이다. 도 2에 의하면, 결합 소켓(30)들이 결합되어 원하는 만큼의 치수를 구현할 수 있는 렌치를 제공한다.
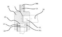
도 3은 도 1 다용도 소켓 렌치의 본체 홀더 부분 단면도이다. 도 3에 의하면, 본체 홀더(20)에 결합 소켓(30)을 결합한 모습으로 육각볼트 및 너트를 조이거나 풀 때 사용된다. 본체홀더(20)는 조절 핸들(10)과 연결할 수 있게 측면에 본체 암나사(25)를 제공하고, 상기 본체 홀더(20)는 소켓 홀더(21)를 구비하고 있으며 이는 본체 홀더(20) 중앙 상부에 일체형으로 위치하여 육각형의 결합 소켓들을 보관 할 수 있는 육각형상을 갖는다.
도 4는 도 1 다용도 소켓 렌치의 소켓 홀더 부분 단면도이다. 도 4에 의하면, 소켓 홀더(21)에 결합 소켓(30)을 결합한 모습으로 육각 홈 볼트를 조이거나 풀 때 사용된다. 결합 소켓(30)을 소켓 홀더(21)에 보관할 때 결합 소켓(30)은 내벽에 마주보는 두면에 위치한 두 개의 가이드 레일(22), 돌출부(23)와 풀림 방지대(24)를 구비하고 있어 소켓 홀더(21)의 돌출부(23)가 결합 소켓(21) 내벽의 가이드 레일(22)을 따라 돌출부(23)를 넘어가면서 풀림 방지대(24)와 돌출부(23) 사이에서 움직이지 못하면서 고정이 된다.
도 5는 도 3 다용도 소켓 렌치의 분해도이다. 도 5에 의하면, 결합 소켓(30)이 본체 홀더(20)와 소켓 홀더(21)에 결합 되는 과정 및 본체 홀더(20)와 조절 핸들(10)이 결합 되는 과정을 나타낸 것이다. 본체 홀더(20)에서 필요한 크기의 결합 소켓(30)은 소켓 홀더(21)에 장착되어 있는 결합 소켓(30)들 중에서 필요한 만큼 찾아 사용할 수 있다. 또한 이는 서로 결합된 결합 소켓(30)들을 보관할 때 각각의 결합 소켓(30)들이 독립되어 있지 않고 서로 구속 결합되어 소켓 렌치의 일부에 부착되므로 필요할 때 즉각적으로 사용할 수 있게 해준다.
각각의 결합 소켓(30)은 서로 간에 1mm 간격의 두께차이를 갖으며 서로 결합이 가능하다.
본 도면의 실시예를 통해 다용도 소켓 렌치가 각각의 결합 소켓(30)들이 분실되지 않게 해주며 각각의 결합 소켓(30)들은 서로 상호결합 되어 부피와 크기를 감소시킨다. 이것으로 휴대성이 편리해지고 육각 머리 볼트나 육각 홈 볼트에도 사용이 가능하다.
10 : 조작 핸들 11 : 손잡이
12 : 핸들 수나사 20 : 본체 홀더
21 : 소켓 홀더 22 : 가이드 레일
23 : 돌출부 24 : 풀림 방지대
25 : 본체 암나사 30 : 결합 소켓

Claims (16)

  1. 금속으로 제작되며 봉형상으로 이루어진 조작 핸들;
    상기 조작 핸들의 일측 끝단에 연결되어 있는 본체 홀더;
    상기 본체 홀더의 상단에 위치한 소켓 홀더;
    상기 소켓 홀더에 결합되어 있는 결합 소켓;을 포함하는 다용도 소켓 렌치.
  2. 제 1항에 있어서, 상기 조작 핸들은 일측 끝단에 형성된 손잡이를 포함하는 다용도 소켓 렌치.
  3. 제 1항에 있어서, 상기 조작 핸들은 일측 끝단에 형성된 핸들 수나사를 포함하는 다용도 소켓 렌치.
  4. 제 1항에 있어서, 상기 본체 홀더의 형상은 육각형으로 형성된 다용도 소켓 렌치.
  5. 제 4항에 있어서, 상기 본체 홀더의 측면에 형성된 본체 암나사를 포함하는 소켓 렌치.
  6. 제 4항에 있어서, 상기 본체 홀더의 내벽에 형성된 가이드 레일을 포함한 다용도 소켓 렌치.
  7. 제 6항에 있어서, 상기 가이드 레일에 형성된 돌출부를 포함한 다용도 소켓 렌치.
  8. 제 6항에 있어서, 상기 돌출부에 체결된 결합 소켓의 이탈을 방지하기 위한 풀림 방지대를 포함한 다용도 소켓 렌치.
  9. 제 1항에 있어서, 상기 소켓 홀더의 형상은 육각형으로 형성된 다용도 소켓 렌치.
  10. 제 9항에 있어서, 상기 소켓 홀더 외벽에 형성된 돌출부를 포함한 다용도 소켓 렌치.
  11. 제 1항에 있어서, 상기 본체 홀더와 상기 소켓 홀더에 결합되는 결합 소켓을 포함하는 다용도 소켓 렌치.
  12. 제 11항에 있어서, 상기 결합 소켓의 형상은 내부가 정육각형으로 관통된 다용도 소켓 렌치.
  13. 제 11항에 있어서, 상기 결합 소켓의 외벽에 형성된 돌출부를 포함한 다용도 소켓 렌치.
  14. 제 11항에 있어서, 상기 결합 소켓의 내벽에 형성된 가이드 레일을 포함한 다용도 소켓 렌치.
  15. 제 14항에 있어서, 상기 결합 소켓 내벽 가이드 레일에 형성된 돌출부를 포함한 다용도 소켓 렌치.
  16. 제 14항에 있어서, 상기 돌출부에 체결된 하위 결합 소켓의 이탈을 방지하기 위한 풀림 방지대를 포함한 다용도 소켓 렌치.
KR1020120144056A 2012-12-12 2012-12-12 다용도 소켓 렌치 Ceased KR20140080571A (ko)

Priority Applications (1)

Application Number Priority Date Filing Date Title
KR1020120144056A KR20140080571A (ko) 2012-12-12 2012-12-12 다용도 소켓 렌치

Applications Claiming Priority (1)

Application Number Priority Date Filing Date Title
KR1020120144056A KR20140080571A (ko) 2012-12-12 2012-12-12 다용도 소켓 렌치

Publications (1)

Publication Number Publication Date
KR20140080571A true KR20140080571A (ko) 2014-07-01

Family

ID=51732044

Family Applications (1)

Application Number Title Priority Date Filing Date
KR1020120144056A Ceased KR20140080571A (ko) 2012-12-12 2012-12-12 다용도 소켓 렌치

Country Status (1)

Country Link
KR (1) KR20140080571A (ko)

Cited By (4)

* Cited by examiner, † Cited by third party
Publication number Priority date Publication date Assignee Title
KR20160080477A (ko) 2014-12-29 2016-07-08 한국철도공사 고정너트 체결장치
CN107914231A (zh) * 2017-10-31 2018-04-17 贵港市瑞成科技有限公司 一种双头内六角伸缩活动扳手
KR102066877B1 (ko) 2019-06-14 2020-01-16 박창오 기능성 소켓
KR20200143219A (ko) 2020-01-07 2020-12-23 박창오 기능성 소켓

Cited By (4)

* Cited by examiner, † Cited by third party
Publication number Priority date Publication date Assignee Title
KR20160080477A (ko) 2014-12-29 2016-07-08 한국철도공사 고정너트 체결장치
CN107914231A (zh) * 2017-10-31 2018-04-17 贵港市瑞成科技有限公司 一种双头内六角伸缩活动扳手
KR102066877B1 (ko) 2019-06-14 2020-01-16 박창오 기능성 소켓
KR20200143219A (ko) 2020-01-07 2020-12-23 박창오 기능성 소켓

Similar Documents

Publication Publication Date Title
US7228766B1 (en) Detachable cross wrench
US20150343627A1 (en) Wrench
KR20140080571A (ko) 다용도 소켓 렌치
US7389713B1 (en) Adjustable socket for use with a socket wrench
US10040188B2 (en) Ratchet handle having an extension member
US20100050829A1 (en) Changeable tool assembly
US8342060B2 (en) Multi-function socket wrench
US9815183B2 (en) Quick detachable wrench structure
US20110072940A1 (en) Wrench having detachable wrench head
US9873194B2 (en) Wrench extension tool
CN204621922U (zh) 伸缩自适应尺寸内六角扳手
CN204604195U (zh) 五金扳手
US20170136615A1 (en) Wrench System
US20140069236A1 (en) Composite hand tool equipped with storage and transformation functions
US7194935B1 (en) Hexagonal driving tool with pawl piece
KR20170057999A (ko) 드라이버 비트
KR20140000899U (ko) 다용도 래칫 렌치
CN205218943U (zh) 一种双头多功能套筒扳手和套筒扳手头套件
US20150082948A1 (en) Ratcheting Tool
CN203600151U (zh) 用于指针扭矩扳手的转接头
CN202212903U (zh) 开口式梅花扳手
KR20110085014A (ko) 다용도 복스소켓
CN204471271U (zh) 一种双头快速活动扳手
CN206653322U (zh) 一种可更换扳手头的扳手
CN206066299U (zh) 新式快速摇杆扳手

Legal Events

Date Code Title Description
A201 Request for examination
PA0109 Patent application

Patent event code: PA01091R01D

Comment text: Patent Application

Patent event date: 20121212

PA0201 Request for examination
E902 Notification of reason for refusal
PE0902 Notice of grounds for rejection

Comment text: Notification of reason for refusal

Patent event date: 20131126

Patent event code: PE09021S01D

E601 Decision to refuse application
PE0601 Decision on rejection of patent

Patent event date: 20140521

Comment text: Decision to Refuse Application

Patent event code: PE06012S01D

Patent event date: 20131126

Comment text: Notification of reason for refusal

Patent event code: PE06011S01I

E601 Decision to refuse application
PE0601 Decision on rejection of patent

Patent event date: 20140613

Comment text: Decision to Refuse Application

Patent event code: PE06012S01D

Patent event date: 20131126

Comment text: Notification of reason for refusal

Patent event code: PE06011S01I

PG1501 Laying open of application