KR20140040573A - 수납실이 형성된 책상 - Google Patents

수납실이 형성된 책상 Download PDF

Info

Publication number
KR20140040573A
KR20140040573A KR1020120107462A KR20120107462A KR20140040573A KR 20140040573 A KR20140040573 A KR 20140040573A KR 1020120107462 A KR1020120107462 A KR 1020120107462A KR 20120107462 A KR20120107462 A KR 20120107462A KR 20140040573 A KR20140040573 A KR 20140040573A
Authority
KR
South Korea
Prior art keywords
desk
storage
door
storage room
storage chamber
Prior art date
Legal status (The legal status is an assumption and is not a legal conclusion. Google has not performed a legal analysis and makes no representation as to the accuracy of the status listed.)
Ceased
Application number
KR1020120107462A
Other languages
English (en)
Inventor
지영배
Original Assignee
지영배
Priority date (The priority date is an assumption and is not a legal conclusion. Google has not performed a legal analysis and makes no representation as to the accuracy of the date listed.)
Filing date
Publication date
Application filed by 지영배 filed Critical 지영배
Priority to KR1020120107462A priority Critical patent/KR20140040573A/ko
Publication of KR20140040573A publication Critical patent/KR20140040573A/ko
Ceased legal-status Critical Current

Links

Images

Classifications

    • AHUMAN NECESSITIES
    • A47FURNITURE; DOMESTIC ARTICLES OR APPLIANCES; COFFEE MILLS; SPICE MILLS; SUCTION CLEANERS IN GENERAL
    • A47BTABLES; DESKS; OFFICE FURNITURE; CABINETS; DRAWERS; GENERAL DETAILS OF FURNITURE
    • A47B13/00Details of tables or desks
    • A47B13/08Table tops; Rims therefor
    • A47B13/081Movable, extending, sliding table tops
    • AHUMAN NECESSITIES
    • A47FURNITURE; DOMESTIC ARTICLES OR APPLIANCES; COFFEE MILLS; SPICE MILLS; SUCTION CLEANERS IN GENERAL
    • A47BTABLES; DESKS; OFFICE FURNITURE; CABINETS; DRAWERS; GENERAL DETAILS OF FURNITURE
    • A47B13/00Details of tables or desks
    • A47B13/08Table tops; Rims therefor
    • A47B13/16Holders for glasses, ashtrays, lamps, candles or the like forming part of tables
    • AHUMAN NECESSITIES
    • A47FURNITURE; DOMESTIC ARTICLES OR APPLIANCES; COFFEE MILLS; SPICE MILLS; SUCTION CLEANERS IN GENERAL
    • A47BTABLES; DESKS; OFFICE FURNITURE; CABINETS; DRAWERS; GENERAL DETAILS OF FURNITURE
    • A47B21/00Tables or desks for office equipment, e.g. typewriters, keyboards
    • A47B21/03Tables or desks for office equipment, e.g. typewriters, keyboards with substantially horizontally extensible or adjustable parts other than drawers, e.g. leaves
    • AHUMAN NECESSITIES
    • A47FURNITURE; DOMESTIC ARTICLES OR APPLIANCES; COFFEE MILLS; SPICE MILLS; SUCTION CLEANERS IN GENERAL
    • A47BTABLES; DESKS; OFFICE FURNITURE; CABINETS; DRAWERS; GENERAL DETAILS OF FURNITURE
    • A47B23/00Bed-tables; Trays; Reading-racks; Book-rests, i.e. items used in combination with something else
    • A47B23/04Bed-tables; Trays; Reading-racks; Book-rests, i.e. items used in combination with something else supported from table, floor or wall
    • A47B23/042Book-rests or note-book holders resting on tables
    • A47B23/043Book-rests or note-book holders resting on tables adjustable, foldable
    • AHUMAN NECESSITIES
    • A47FURNITURE; DOMESTIC ARTICLES OR APPLIANCES; COFFEE MILLS; SPICE MILLS; SUCTION CLEANERS IN GENERAL
    • A47BTABLES; DESKS; OFFICE FURNITURE; CABINETS; DRAWERS; GENERAL DETAILS OF FURNITURE
    • A47B88/00Drawers for tables, cabinets or like furniture; Guides for drawers
    • A47B88/40Sliding drawers; Slides or guides therefor

Landscapes

  • Tables And Desks Characterized By Structural Shape (AREA)

Abstract

본 발명은 수납실이 형성된 책상에 관한 것으로, 보다 상세하게는 상부가 미닫이 방식으로 개방되는 수납실이 형성된 책상을 제공하여 수납실에 교재 등의 물품을 보관함으로써, 책상 위를 정리정돈 하여 책상 주변을 깨끗하게 할 수 있을 뿐만 아니라, 필요시 물건을 용이하게 꺼낼 수 있고, 절첩되는 독서대를 상부에 구비하여 필요시 독서대를 설치하여 책 등을 거치하여 사용할 수 있도록 한 수납실이 형성된 책상에 관한 것이다.
이와 같이 구성된 본 발명은 내측에 수납실이 형성된 몸체와, 상기 몸체의 하부에 구비되는 다리와, 상기 몸체의 상부에는 수납실을 개방하도록 구비된 도어로 이루어진 것을 특징으로 한다.

Description

수납실이 형성된 책상{Compartment possess the desk}
본 발명은 수납실이 형성된 책상에 관한 것으로, 보다 상세하게는 상부가 미닫이 방식으로 개방되는 수납실이 형성된 책상을 제공하여 수납실에 교재 등의 물품을 보관함으로써, 책상 위를 정리정돈 하여 책상 주변을 깨끗하게 할 수 있을 뿐만 아니라, 필요시 물건을 용이하게 꺼낼 수 있고, 절첩되는 독서대를 상부에 구비하여 필요시 독서대를 설치하여 책 등을 거치하여 사용할 수 있도록 한 수납실이 형성된 책상에 관한 것이다.
일반적으로 책상은 일상 생활에서 업무용이나 학습용 또는 작업용 등으로 널리 사용되고 있다.
특히, 학습용으로 사용되는 책상의 경우에는 도 1과 같이 상판이 구비되고, 이 상판의 하부각 모서리부에는 상판을 지지하는 다리가 구비되며, 상판의 하부에는 물건 등을 수납할 수 있는 수납함이 구비되어 있다.
이러한 종래의 책상은 수납함에 물건을 넣어두는 경우 입, 출구 측이 개구부로 이루어져 외부에서 수납된 내용물을 쉽게 볼 수 있는 구조로 이루어져 있다.
특히, 학교나 학원, 강의실 등에서 수납함에 수납된 자신의 물건을 타인이 보게 되는 경우 불쾌할 수 있는 문제점이 있었다.
또한, 책상의 수납함에 크기가 큰 물건을 수납하고자 할 때 자리에 앉은 상태에서 수납함에 수납하기가 불편한 문제점이 있었다.
한편, 종래에는 책상과는 별도로 책을 거치시키겨 책을 읽을 수 있도록 하는 독서대를 구비하여야 함으로써, 독서대의 보관 공간을 많이 차지하게 되고, 독서대와 책상이 분리되어 있어 독서대의 분실우려가 발생하는 문제점이 있었다.
본 발명은 상기한 종래의 문제점을 해결하기 위하여 안출된 것으로, 책상의 몸체에 수납실을 형성하되, 수납실의 상부가 개방되게 형성하고, 이 개방된 입구를 커버하여 미닫이 방식으로 측방으로 개방되도록 도어를 구비함으로써, 간편하게 의자에 앉은 상태에서 수납실을 개방시켜 용이하게 물건을 수납 및 인출시킬 수 있도록 하는데 그 목적이 있다.
또한, 몸체의 중앙부를 중심으로 양측부에 서로 대응되게 한 쌍의 수납실을 형성하고, 이 수납실을 커버하는 도어가 양측부로 미닫이 방식으로 개방되도록 구성함으로써, 많은 물건을 수납실에 수납할 수 있도록 하는데 그 목적이 있다.
그리고, 몸체의 중앙부에 접첩되는 독서대를 구비함으로써, 평소에는 펼쳐져 몸체의 안착홈에 안착된 상태를 유지하고, 책을 읽고자 하는 경우에는 절첩판을 절곡시켜 독서대로 만든 다음 책 등을 거치시켜 사용할 수 있도록 하는데 그 목적이 있다.
한편, 독서대의 절첩판이 안착되는 몸체의 안착홈에는 다수개의 걸림턱이 형성되어 절첩판의 경사각을 사용자가 원하는 각도로 조절하여 사용할 수 있도록 하는데 그 목적이 있다.
또한, 독서대가 설치된 몸체의 하부에는 인출 가능하게 서랍을 구비함으로써, 책상의 좁은 공간을 최대한 활용하여 많은 물건을 수납할 수 있는 수납공간을 확보할 수 있도록 하는데 그 목적이 있다.
이와 같이 구성된 본 발명은 내측에 수납실이 형성된 몸체와, 상기 몸체의 하부에 구비되는 다리와, 상기 몸체의 상부에는 수납실을 개방하도록 구비된 도어로 이루어진 것을 특징으로 한다.
여기서, 상기 수납실은 몸체의 중앙부를 중심으로 양측에 형성된 것을 특징으로 한다.
그리고, 상기 몸체는 상부에 수납실과 연통되게 입구가 형성되되, 이 입구는 몸체의 측부가 개방되게 형성되고, 이 입구의 내주면에는 슬라이드홈이 형성된 것을 특징으로 한다.
또한, 상기 도어는 측부로 미닫이 방식으로 열리고 닫히도록 구비된 것을 특징으로 한다.
여기서, 상기 도어는 몸체의 입구에 형성된 슬라이드홈에 결속되는 슬라이드돌기가 형성되고, 상부 일측부에는 손잡이홈이 형성되며, 손잡이홈이 형성된 타측 하부에는 걸림턱이 형성된 것을 특징으로 한다.
그리고, 상기 몸체의 상부 중앙부에는 독서대가 더 구비된 것을 특징으로 하는 한다.
여기서, 상기 독서대는 몸체의 상부에 안착홈이 형성되고, 이 안착홈에 일측부가 회동되게 절첩판이 구비되되, 이 절첩판은 중앙부를 중심으로 한 쌍으로 분리하여 절첩되게 구비된 것을 특징으로 한다.
나아가, 상기 몸체의 안착홈에는 절첩판의 일측부가 고정된 타측부에 다수개의 걸림돌기가 형성된 것을 특징으로 한다.
이와 같이 구성된 본 발명은 책상의 몸체에 수납실을 형성하되, 수납실의 상부가 개방되게 형성하고, 이 개방된 입구를 커버하여 미닫이 방식으로 측방으로 개방되도록 도어를 구비함으로써, 간편하게 의자에 앉은 상태에서 수납실을 개방시켜 용이하게 물건을 수납 및 인출시킬 수 있도록 하는 효과가 있다.
또한, 몸체의 중앙부를 중심으로 양측부에 서로 대응되게 한 쌍의 수납실을 형성하고, 이 수납실을 커버하는 도어가 양측부로 미닫이 방식으로 개방되도록 구성함으로써, 많은 물건을 수납실에 수납할 수 있도록 하는 효과가 있다.
그리고, 몸체의 중앙부에 접첩되는 독서대를 구비함으로써, 평소에는 펼쳐져 몸체의 안착홈에 안착된 상태를 유지하고, 책을 읽고자 하는 경우에는 절첩판을 절곡시켜 독서대로 만든 다음 책 등을 거치시켜 사용할 수 있도록 하는 효과가 있다.
한편, 독서대의 절첩판이 안착되는 몸체의 안착홈에는 다수개의 걸림턱이 형성되어 절첩판의 경사각을 사용자가 원하는 각도로 조절하여 사용할 수 있도록 하는 효과가 있다.
또한, 독서대가 설치된 몸체의 하부에는 인출 가능하게 서랍을 구비함으로써, 책상의 좁은 공간을 최대한 활용하여 많은 물건을 수납할 수 있는 수납공간을 확보할 수 있도록 하는 효과가 있다.
도 1은 종래의 책상을 보인 사시도.
도 2는 본 발명에 따른 수납실이 구비된 책상을 보인 사시도.
도 3은 본 발명에 따른 수납실이 구비된 책상을 보인 단면도.
도 4는 본 발명의 수납실을 보인 도면.
도 5는 본 발명의 독서대를 보인 도면.
도 6은 본 발명에 따른 수납실이 구비된 책상의 작용관계를 보인 것으로, 도어가 개방되는 상태를 보인 도면.
도 7은 본 발명에 따른 수납실이 구비된 책상의 작용관계를 보인 것으로, 독서대가 설치된 상태를 보인 도면.
도 8은 본 발명에 따른 수납실이 구비된 책상의 다른 실시예를 보인 도면.
이하, 본 발명에 따른 수납실이 구비된 책상에 대하여 첨부된 도면을 참조하여 상세히 설명하면 다음과 같다.
도 2는 본 발명에 따른 수납실이 구비된 책상을 보인 사시도이고, 도 3은 본 발명에 따른 수납실이 구비된 책상을 보인 단면도이고, 도 4는 본 발명의 수납실을 보인 도면이고, 도 5는 본 발명의 독서대를 보인 도면이다.
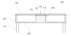
도 2 내지 도 5에 도시된 바와 같이 본 발명에 따른 수납실이 구비된 책상(100)은 하부 각 모서리부에 다리(112)가 결속 고정된 몸체(110)가 구비된다.
여기서, 상기 몸체(110)는 내측에 수납실(120)이 형성되되, 이 수납실(120)은 몸체(110)의 일측 또는 몸체(110)의 중앙부를 중심으로 양측부에 위치되게 한 쌍으로 구비된다.
나아가, 상기 몸체(110)의 상부에는 수납실(120)과 연통되게 입구(122)가 형성되되, 이 입구(122)는 측부가 개방되게 형성된다.
아울러, 상기 몸체(110)의 상부에 형성된 입구(122)의 내측면부에는 슬라이드홈(124)이 형성된다.
따라서, 상기 몸체(110)에 수납실(120)이 구비되되, 이 수납실(120)은 상부를 개방시켜 물건을 인출하거나 수납시킬 수 있게 된다.
그리고, 상기 몸체(110)의 입구(122)에 결속되어 수납실(120)의 상부를 커버하는 도어(130)가 구비된다.
이때, 상기 도어(130)는 몸체(110)로부터 미닫이 방식으로 슬라이드 이동하면서 수납실(120)을 열고 닫을 수 있도록 구비된다.
여기서, 상기 도어(130)는 몸체(110)의 입구(122)에 끼워지되, 입구(122)에 형성된 슬라이드홈(124)에 슬라이드 되게 결속되는 슬라이드돌기(132)가 형성되고, 상부 일측부, 즉 도어(130)의 상단부 측부에는 손잡이홈(134)이 형성된다.
나아가, 상기 손잡이홈(134)이 형성된 타측 하단 도어(130)에는 도어(130)를 슬라이드 이동시켜 수납실(120)을 개방시킬 때 도어(130)가 몸체(110)의 입구(122)로부터 이탈되는 것을 방지하는 걸림턱(136)이 형성된다.
따라서, 상기 몸체(110)에 구비된 수납실(120)의 상부를 커버하여 수납실(120)을 커버한 상태에서 책상으로 사용하고, 필요에 따라 도어(130)를 개방시켜 물건을 수납시키거나 인출시킬 수 있으며, 수납실(120)을 도어(130)가 커버하고 있어 수납된 물건을 타인이 보는 것을 방지할 수 있게 된다.
또한, 상기 몸체(110)의 상부 중앙부에는 책을 거치시킬 수 있도록 절첩되는 독서대(140)가 구비된다.
여기서, 상기 독서대(140)는 몸체(110)의 상부 중앙부에 소정의 깊이를 가지는 안착홈(114)에 형성된다.
즉, 상기 몸체(110)의 상부에 형성된 안착홈(114)에 독서대(140)가 안착되되, 안착홈(114)의 내측 전방에 힌지 등 고정수단에 의해 회동 가능하게 일측부가 결속 고정되는 절첩판(142)이 구비된다.
이때, 상기 절첩판(142)은 길이 방향 중앙부를 기준으로 한 쌍으로 분리되고, 분리된 절첩판(142)의 접촉부, 즉 한 쌍의 절첩판(142)이 접촉되는 접촉부는 경첩 등 고정수단에 의해 회동 가능하게 결속 고정된다.
아울러, 상기 안착홈(114)의 바닥면, 즉 절첩판(142)이 힌지 등 고정수단에 의해 고정된 안착홈(114)의 타측부 바닥면에는 힌지 고정된 절첩판(142)의 타측부가 지지되는 다수개의 걸림돌기(116)가 형성된다.
따라서, 상기 절첩판(142)을 안착홈(114)에 안착시켜 몸체(110)를 책상으로 사용하고, 독서를 하고자 하는 경우에는 절첩판(142)의 중앙부, 즉 경첩 고정된 중앙부를 상부로 들어올리게 되면 중앙부가 상승하면서 절찹판(142)에 경사면이 형성되고, 힌지 고정된 절첩판(142)의 타측부를 안착홈(114)에 형성된 걸림턱(116)에 결속시키게 되면 독서대(140)가 만들어지게 되어 책 등을 거치시킬 수 있게 된다.
이와 같이 구성된 본 발명에 따른 수납실이 구비된 책상에 대한 작용관계는 다음과 같다.
도 6은 본 발명에 따른 수납실이 구비된 책상의 작용관계를 보인 것으로, 도어가 개방되는 상태를 보인 도면이고, 도 7은 본 발명에 따른 수납실이 구비된 책상의 작용관계를 보인 것으로, 독서대가 설치된 상태를 보인 도면이다.
이에 도시된 바와 같이 본 발명에 따른 수납실이 구비된 책상(100)은 먼저, 도어(130)를 닫고, 절첩판(142)을 안착홈(114)에 안착시키게 되면 몸체(110)의 상부면은 평평하게 되어 책상으로 사용하고, 책상으로 사용하다 수납실(120)에 물건을 수납하거나 인출시에는 도어(130)의 상부에 형성된 손잡이홈(134)을 이용하여 측부로 힘을 가하게 되면 도어(130)는 입구(122)에 형성된 슬라이드홈(124)에 결속된 슬라이드돌기(132)가 슬라이드 이동하면서 수납실(120)이 개방되게 된다.
이렇게, 상기 수납실(120)을 커버하고 있는 도어(130)를 슬라이드 이동시켜 수납실(120)이 개방되도록 하여 물건을 수납시키거나 인출시킬 수 있게 되고, 수납실(120)에 물건의 인출 및 수납 완료 후에는 도어(130)를 개방시킬 때의 반대 방향으로 슬라이드 이동시켜 수납실(120)의 입구(122)를 커버하게 된다.
따라서, 상기 몸체(110)에 구비된 수납실(120)의 입구(122)를 도어(130)가 커버함으로써, 수납실(120)에 수납된 내용물이 외부로 노출되지 않게 된다.
또한, 상기 몸체(110)의 양측부에 수납실(120)을 각각 대응되게 한 쌍이 구비되고, 개별적으로 입구(122)가 개방되도록 각각 도어(130)를 구비함으로써, 많은 양의 물건을 수납실(120)에 수납 보관할 수 있게 되고, 도어(130)가 미닫이 방식으로 열고 닫을 수 있게 되어 좁은 공간에서도 용이하게 수납실(120)을 개방시킬 수 있게 된다.
한편, 상기 책상(100)에서 독서를 하고자하는 경우에는 몸체(110)의 상부에 구비된 독서대(140)를 절곡 설치하여 책 등을 거치시켜 독서를 할 수 있게 된다.
즉, 상기 한 쌍으로 이루어져 중앙부가 경첩으로 고정된 절첩판(142)의 중앙부를 상부로 들어올리게 되면 힌지 고정된 일측을 중심으로 타측부가 이동하면서 경사면이 형성되게 된다.
이렇게, 상기 절첩판(142)이 이동하면서 경사면이 형성된 상태에서 힌지 고정된 절찹판(142)의 타측부를 안착홈(114)에 형성된 걸림턱에 안착시키게 되면 경사진 상태를 유지하게 되어 책 등을 거치시킬 수 있게 된다.
이때, 상기 독서대(140)의 경사각을 조절하고자 하는 경우에는 안착홈(114)에 형성된 다수개의 걸림턱(116)에 절첩판(142)을 안착시키는 위치에 따라 경사각이 결정되게 된다.
따라서, 상기 독서대(140)를 설치하여 책을 독서대(140)에 거치시킨 후 독서를 함으로써, 독서의 편안한 자세를 유지할 수 있게 되어 눈의 피로 및 목디스크 등이 발생하는 것을 방지할 수 있게 된다.
그리고, 상기 독서대(140)를 사용하지 않을 경우에는 안착홈(114)에 형성된 걸림턱(116)에 안착된 절첩판(142)을 들어올리게 되면 절첩부가 펼쳐지면서 몸체(110)의 안착홈(114)에 안착되게 되어 책상(100)으로 사용할 수 있게 된다.
도 8은 본 발명에 따른 수납실이 구비된 책상의 다른 실시예를 보인 도면이다.
이에 도시된 바와 같이 상기 몸체(110)의 상부에 설치된 독서대(140)의 하단부에 위치되게 몸체(110)에는 전면으로 인출되는 서랍(150)이 더 구비된다.
이와 같이 본 발명에 따른 수납실이 구비된 책상의 작용관계는 전자에서와 동일한 방법에 의해 이루어지는 것으로, 여기에서는 작용관계에 대한 설명은 생략한다.
다만, 상기 독서대(140)가 설치된 하단에 위치되게 몸체(110)에 서랍(150)을 구비함으로써, 몸체(110)의 공간을 최대한 활용하여 수납공간을 많이 형성하여 많은 양의 물건을 수납할 수 있게 된다.
상기에서는 본 발명에 따른 수납실이 구비된 책상에 대한 바람직한 실시예에 대하여 설명하였지만, 본 발명은 이에 한정되는 것이 아니고, 특허청구범위와 발명의 상세한 설명 및 첨부한 도면의 범위 안에서 여러 가지로 변형하여 실시하는 것이 가능하고, 이 또한 본 발명의 권리범위에 속한다.
100 : 책상 110 : 몸체
112 : 다리 114 : 안착홈
116 : 걸림턱 120 : 수납실
122 : 입구 124 : 슬라이드홈
130 : 도어 132 : 슬라이드돌기
134 : 손잡이홈 136 : 걸림돌기
140 : 독서대 142 : 절첩판
150 : 서랍

Claims (8)

  1. 내측에 수납실이 형성된 몸체와,
    상기 몸체의 하부에 구비되는 다리와,
    상기 몸체의 수납실 상부에는 도어가 형성된 것을 특징으로 하는 수납실이 구비된 책상.
  2. 제 1 항에 있어서,
    상기 수납실은 몸체의 중앙부를 중심으로 양측에 형성된 것을 특징으로 하는 수납실이 구비된 책상.
  3. 제 1 항에 있어서,
    상기 몸체는 상부에 수납실과 연통되게 입구가 형성되되, 이 입구는 몸체의 측부가 개방되게 형성되고, 이 입구의 내주면에는 슬라이드홈이 형성된 것을 특징으로 하는 수납실이 구비된 책상.
  4. 제 1 항에 있어서,
    상기 도어는 측부로 미닫이 방식으로 열리고 닫히도록 구비된 것을 특징으로 하는 수납실이 구비된 책상.
  5. 제 4 항에 있어서,
    상기 도어는 몸체의 입구에 형성된 슬라이드홈에 결속되는 슬라이드돌기가 형성되고, 상부 일측부에는 손잡이홈이 형성되며, 손잡이홈이 형성된 타측 하부에는 걸림턱이 형성된 것을 특징으로 하는 수납실이 구비된 책상.
  6. 제 1 항에 있어서,
    상기 몸체의 상부 중앙부에는 독서대가 더 구비된 것을 특징으로 하는 수납실이 구비된 책상.
  7. 제 6 항에 있어서,
    상기 독서대는 몸체의 상부에 안착홈이 형성되고, 이 안착홈에 일측부가 회동되게 절첩판이 구비되되, 이 절첩판은 중앙부를 중심으로 한 쌍으로 분리하여 절첩되게 구비된 것을 특징으로 하는 수납실이 구비된 책상.
  8. 제 7 항에 있어서,
    상기 몸체의 안착홈에는 절첩판의 일측부가 고정된 타측부에 다수개의 걸림돌기가 형성된 것을 특징으로 하는 수납실이 구비된 책상.
KR1020120107462A 2012-09-26 2012-09-26 수납실이 형성된 책상 Ceased KR20140040573A (ko)

Priority Applications (1)

Application Number Priority Date Filing Date Title
KR1020120107462A KR20140040573A (ko) 2012-09-26 2012-09-26 수납실이 형성된 책상

Applications Claiming Priority (1)

Application Number Priority Date Filing Date Title
KR1020120107462A KR20140040573A (ko) 2012-09-26 2012-09-26 수납실이 형성된 책상

Publications (1)

Publication Number Publication Date
KR20140040573A true KR20140040573A (ko) 2014-04-03

Family

ID=50650747

Family Applications (1)

Application Number Title Priority Date Filing Date
KR1020120107462A Ceased KR20140040573A (ko) 2012-09-26 2012-09-26 수납실이 형성된 책상

Country Status (1)

Country Link
KR (1) KR20140040573A (ko)

Cited By (2)

* Cited by examiner, † Cited by third party
Publication number Priority date Publication date Assignee Title
KR20170096330A (ko) 2016-02-16 2017-08-24 김보민 다기능 책상
KR20190139823A (ko) * 2017-08-14 2019-12-18 전영찬 다양한 두께의 책을 거치할 수 있는 독서대

Cited By (2)

* Cited by examiner, † Cited by third party
Publication number Priority date Publication date Assignee Title
KR20170096330A (ko) 2016-02-16 2017-08-24 김보민 다기능 책상
KR20190139823A (ko) * 2017-08-14 2019-12-18 전영찬 다양한 두께의 책을 거치할 수 있는 독서대

Similar Documents

Publication Publication Date Title
US9833072B1 (en) Rack and drawer systems and devices
KR20220007328A (ko) 테이블 기능을 겸한 덮개 일체형 캠핑용 수납 박스
US9955784B1 (en) System and method for making a mobile office bureau with simultaneous viewing recharging station
KR20190042932A (ko) 다용도 수납박스
KR20130004659U (ko) 디스플레이 수납장
KR102295408B1 (ko) 서랍형 받침대 수납기능이 구비된 휴대용 독서대
KR20140040573A (ko) 수납실이 형성된 책상
KR101302721B1 (ko) 절첩식 테이블이 구비된 가구
KR100961609B1 (ko) 다용도 전통 반닫이
TWM520315U (zh) 可收納化妝鏡之櫥櫃結構
CN209950751U (zh) 多功能家居柜
CN219166040U (zh) 折叠床
KR20060023283A (ko) 휴대용 독서대
US10092096B1 (en) Recipe and accessories system for the kitchen
JP6508885B2 (ja) 組み合わせ家具
KR200258517Y1 (ko) 수납함을 구비한 책상
CN223730995U (zh) 一种布抽屉柜
JP6514447B2 (ja) 組み合わせ家具
JP3230887U (ja) 折り畳みデスク
KR200206764Y1 (ko) 다용도 수납장
KR200443805Y1 (ko) 다용도 꽂이함이 구비된 파일 꽂이
KR20100011232U (ko) 책상이 구비되는 수납장
KR20120001648U (ko) 다용도 상
KR200389214Y1 (ko) 화장품 보관통이 구성된 화장대겸용 서랍장
KR20190126226A (ko) 수납가구에 부착되는 도어장치

Legal Events

Date Code Title Description
A201 Request for examination
PA0109 Patent application

Patent event code: PA01091R01D

Comment text: Patent Application

Patent event date: 20120926

PA0201 Request for examination
E902 Notification of reason for refusal
PE0902 Notice of grounds for rejection

Comment text: Notification of reason for refusal

Patent event date: 20131029

Patent event code: PE09021S01D

PG1501 Laying open of application
E601 Decision to refuse application
PE0601 Decision on rejection of patent

Patent event date: 20140425

Comment text: Decision to Refuse Application

Patent event code: PE06012S01D

Patent event date: 20131029

Comment text: Notification of reason for refusal

Patent event code: PE06011S01I