KR20140001756U - 투수 블록 및 우수관 투수 구조 - Google Patents
투수 블록 및 우수관 투수 구조 Download PDFInfo
- Publication number
- KR20140001756U KR20140001756U KR2020120008343U KR20120008343U KR20140001756U KR 20140001756 U KR20140001756 U KR 20140001756U KR 2020120008343 U KR2020120008343 U KR 2020120008343U KR 20120008343 U KR20120008343 U KR 20120008343U KR 20140001756 U KR20140001756 U KR 20140001756U
- Authority
- KR
- South Korea
- Prior art keywords
- pipe
- block
- volcanic stone
- coupling groove
- rainwater
- Prior art date
- Legal status (The legal status is an assumption and is not a legal conclusion. Google has not performed a legal analysis and makes no representation as to the accuracy of the status listed.)
- Ceased
Links
- 239000004575 stone Substances 0.000 claims abstract description 71
- 230000008878 coupling Effects 0.000 claims abstract description 48
- 238000010168 coupling process Methods 0.000 claims abstract description 48
- 238000005859 coupling reaction Methods 0.000 claims abstract description 48
- XLYOFNOQVPJJNP-UHFFFAOYSA-N water Substances O XLYOFNOQVPJJNP-UHFFFAOYSA-N 0.000 claims description 18
- 238000000034 method Methods 0.000 claims description 9
- 238000005192 partition Methods 0.000 claims description 9
- 230000000694 effects Effects 0.000 abstract description 11
- 239000000126 substance Substances 0.000 abstract 1
- 239000003673 groundwater Substances 0.000 description 7
- 230000035699 permeability Effects 0.000 description 6
- 239000000463 material Substances 0.000 description 3
- 235000019504 cigarettes Nutrition 0.000 description 2
- 238000004140 cleaning Methods 0.000 description 2
- 239000012466 permeate Substances 0.000 description 2
- 239000011295 pitch Substances 0.000 description 2
- 239000004576 sand Substances 0.000 description 2
- 239000002689 soil Substances 0.000 description 2
- 229910000831 Steel Inorganic materials 0.000 description 1
- 238000010521 absorption reaction Methods 0.000 description 1
- 230000001133 acceleration Effects 0.000 description 1
- 238000009825 accumulation Methods 0.000 description 1
- 230000002411 adverse Effects 0.000 description 1
- 238000005054 agglomeration Methods 0.000 description 1
- 230000002776 aggregation Effects 0.000 description 1
- 239000010426 asphalt Substances 0.000 description 1
- 230000003796 beauty Effects 0.000 description 1
- 230000008901 benefit Effects 0.000 description 1
- 230000000903 blocking effect Effects 0.000 description 1
- 239000004568 cement Substances 0.000 description 1
- 238000010276 construction Methods 0.000 description 1
- 238000007598 dipping method Methods 0.000 description 1
- 238000001914 filtration Methods 0.000 description 1
- 239000008187 granular material Substances 0.000 description 1
- 238000007689 inspection Methods 0.000 description 1
- 238000009434 installation Methods 0.000 description 1
- 238000012423 maintenance Methods 0.000 description 1
- 238000004519 manufacturing process Methods 0.000 description 1
- 238000002156 mixing Methods 0.000 description 1
- 230000000149 penetrating effect Effects 0.000 description 1
- 239000011148 porous material Substances 0.000 description 1
- 238000001556 precipitation Methods 0.000 description 1
- 230000008569 process Effects 0.000 description 1
- 230000001737 promoting effect Effects 0.000 description 1
- 238000005086 pumping Methods 0.000 description 1
- 206010037844 rash Diseases 0.000 description 1
- 239000011435 rock Substances 0.000 description 1
- 229920006395 saturated elastomer Polymers 0.000 description 1
- 239000010959 steel Substances 0.000 description 1
- 238000010792 warming Methods 0.000 description 1
Images
Classifications
-
- E—FIXED CONSTRUCTIONS
- E01—CONSTRUCTION OF ROADS, RAILWAYS, OR BRIDGES
- E01C—CONSTRUCTION OF, OR SURFACES FOR, ROADS, SPORTS GROUNDS, OR THE LIKE; MACHINES OR AUXILIARY TOOLS FOR CONSTRUCTION OR REPAIR
- E01C11/00—Details of pavings
- E01C11/22—Gutters; Kerbs ; Surface drainage of streets, roads or like traffic areas
- E01C11/224—Surface drainage of streets
- E01C11/225—Paving specially adapted for through-the-surfacing drainage, e.g. perforated, porous; Preformed paving elements comprising, or adapted to form, passageways for carrying off drainage
-
- E—FIXED CONSTRUCTIONS
- E01—CONSTRUCTION OF ROADS, RAILWAYS, OR BRIDGES
- E01C—CONSTRUCTION OF, OR SURFACES FOR, ROADS, SPORTS GROUNDS, OR THE LIKE; MACHINES OR AUXILIARY TOOLS FOR CONSTRUCTION OR REPAIR
- E01C5/00—Pavings made of prefabricated single units
- E01C5/003—Pavings made of prefabricated single units characterised by material or composition used for beds or joints; characterised by the way of laying
-
- E—FIXED CONSTRUCTIONS
- E01—CONSTRUCTION OF ROADS, RAILWAYS, OR BRIDGES
- E01C—CONSTRUCTION OF, OR SURFACES FOR, ROADS, SPORTS GROUNDS, OR THE LIKE; MACHINES OR AUXILIARY TOOLS FOR CONSTRUCTION OR REPAIR
- E01C5/00—Pavings made of prefabricated single units
- E01C5/22—Pavings made of prefabricated single units made of units composed of a mixture of materials covered by two or more of groups E01C5/008, E01C5/02 - E01C5/20 except embedded reinforcing materials
-
- E—FIXED CONSTRUCTIONS
- E03—WATER SUPPLY; SEWERAGE
- E03F—SEWERS; CESSPOOLS
- E03F5/00—Sewerage structures
- E03F5/04—Gullies inlets, road sinks, floor drains with or without odour seals or sediment traps
- E03F5/0401—Gullies for use in roads or pavements
-
- E—FIXED CONSTRUCTIONS
- E01—CONSTRUCTION OF ROADS, RAILWAYS, OR BRIDGES
- E01C—CONSTRUCTION OF, OR SURFACES FOR, ROADS, SPORTS GROUNDS, OR THE LIKE; MACHINES OR AUXILIARY TOOLS FOR CONSTRUCTION OR REPAIR
- E01C2201/00—Paving elements
- E01C2201/20—Drainage details
Landscapes
- Engineering & Computer Science (AREA)
- Architecture (AREA)
- Civil Engineering (AREA)
- Structural Engineering (AREA)
- Health & Medical Sciences (AREA)
- Life Sciences & Earth Sciences (AREA)
- Hydrology & Water Resources (AREA)
- Public Health (AREA)
- Water Supply & Treatment (AREA)
- Revetment (AREA)
Abstract
본 고안은 투수 블록 및 우수관 투수 구조에 관한 것으로서, 더욱 상세하게는 화산석을 이용하여 인도나 도로의 빗물에 대한 배수 효과를 극대화하고 이물질이 관로에 유입되지 않도록 한 투수 블록 및 우수관 투수 구조에 관한 것이다.
이를 위해, 상부에는 소정의 깊이를 갖는 결합홈이 형성된 블록;상기 블록의 결합홈으로부터 블록의 저면을 향해 형성된 복수의 배수유로;상기 결합홈에 타설되어 양생을 거쳐 결합된 화산석:을 포함하여 구성된 투수 블록을 제공한다.
이를 위해, 상부에는 소정의 깊이를 갖는 결합홈이 형성된 블록;상기 블록의 결합홈으로부터 블록의 저면을 향해 형성된 복수의 배수유로;상기 결합홈에 타설되어 양생을 거쳐 결합된 화산석:을 포함하여 구성된 투수 블록을 제공한다.
Description
본 고안은 투수 블록 및 우수관 투수 구조에 관한 것으로서, 더욱 상세하게는 빗물에 대한 배수 효과를 극대화한 투수 블록 및 우수관 투수 구조에 관한 것이다.
최근 도시화의 가속화로 인해 도로와 지표면이 아스팔트와 콘크리트로 포장되는 면적이 많이 증가하고 있다.
이러한 도로의 증가와 더불어 사람의 보행을 위한 인도 역시 증가되고 있으며, 상기 인도는 주로 보도블록을 통해 이루어진다.
보도블록은 골재, 쇄석 등의 골재와 모래 및 시멘트를 일정 비율로 혼합한 뒤 소정의 형상을 갖는 형틀에서 찍어내어 경화시켜 제조된다.
상기 보도블록은 지면 위에 모래를 포설한 뒤 그 위에 밀착 고정하게 되므로, 우천시 빗물이 보도블록과 보도블록 사이의 틈새를 통해 극히 적은 양의 우수만이 지면으로 흐르고, 대부분의 우수는 보도블록 위에 고여있게 되는 현상이 발생된다.
즉, 보도블록은 빗물을 지하로 투수시키는 기능이 약하여, 장마나 집중호우시에 사람의 보행에 상당한 불편을 주는 것이다.
게다가, 집중호우시 빗물이 지하로 투수되는 양이 극히 적으므로, 내리는 빗물이 한꺼번에 하천으로 집중되어 범람 원인이 될 뿐만 아니라, 지하수 고갈로 인해 토양이 사막화되어 결국 쾌적한 삶을 영위하기 위한 자연스런 생태계의 유지가 어려운 문제점이 있다.
물론, 빗물이 모두 보도블록을 통해서만 흘러가는 것이 아니라, 도로의 양 가장자리에 설치된 우수관을 통해 빗물이 배수됨은 당연하다.
이하, 상기 우수관에 대하여 간략하게 살펴보도록 한다.
우수관은 빗물이 도심으로부터 강으로 흘러가도록 유도하는 역할을 하며, 도로의 가장자리를 따라 시공된다.
상기 우수관은 사각 수로관, 측구 수로관, 플룸 등의 다양한 형태로 시공이 되며, 이러한 우수관을 시공하기 위한 수로관들의 형태는 도 1a 내지 도 1c에 도시된 바와 같이 직육면체 또는 단면이 'U'자 형태로 제공이 된다.
이때, 직육면체 형태의 사각수로관(10)은 일정 길이를 갖는 복수의 유닛으로 이루어지며, 도로변을 따라 복수의 사각수로관(10)이 연이어 결합됨으로써 우수관에 대한 시공이 이루어지게 된다.
이때, 사각 수로관(10)의 상면에는 일정 간격마다, 빗물이 사각 수로관의 내부로 유입될 수 있도록 그레이팅(G)이 설치된다.
그리고, 상면이 개방된 형태의 측구 수로관(20) 및 플룸(30)은 복수의 덮개를 이용해 개방된 부위가 차폐되거나, 일정 간격마다 그레이팅(G)을 이용해 빗물이 측구 수로관(20) 및 플룸(30)의 내부로 유입될 수 있도록 시공된다.
이때, 측구 수로관(20) 및 플룸(30)은 도로 여건에 따라 복수의 덮개 없이 그레이팅(G)을 연이어 설치할 수도 있다.
이와 같은 구성에 의해, 빗물은 도로의 가장자리를 따라 그레이팅(G)을 통해 우수관의 내부로 유입된 후, 우수관을 따라 강이나 바다로 흘러가 배수가 이루어지게 된다.
하지만, 상기한 우수관 역시 다음과 같은 문제가 있었다.
첫째, 평상적인 우천시에는 크게 상관없으나, 장마나 집중 호우시에 내리는 강수량은 대략 시간당 40mm ~ 80mm에 달해 상기 우수관을 통해 배수량을 소화하지 못함에 따라 빗물이 범람하는 홍수가 발생하게 된다.
최근들어 지구 온난화의 영향으로 인해, 잦은 집중 호우가 발생하고 있으며, 이로 인해 도심 지역의 피해도 증가하고 있는 실정이다.
즉, 집중호우시 빗물이 지하로 거의 투수되지 못하고 대부분의 빗물이 우수관으로 집중됨에 따라, 홍수를 초래하는 문제가 야기되는 것이다.
둘째, 우수관의 상면은 상기한 바와 같이 도로변을 따라 전면이 개방되거나, 일정 간격마다 개방한 후, 개방된 부위는 그레이팅(G)으로 마감하고 있다.
이때, 그레이팅(G)을 통해 이물질이나 흙이 유입되어 수로관의 관로 일부를 폐색시키는 문제가 있었다.
특히, 도로에 설치된 그레이팅(G)을 통해 담배꽁초나 쓰레기를 무단 투기함에 따른 피해뿐만 아니라, 잦은 점검과 청소로 인해 관리에 대한 어려움이 발생하였던 것이다.
셋째, 보도블록과 마찬가지로 콘크리트 블록 형태의 우수관은 빗물을 지하로 투수시키는 역할이 불가능하므로, 집중호우시 단시간 내에 급격한 강수량의 증가가 일어나 도시형 홍수를 일으키며, 지하수 고갈을 촉진시킬 뿐만 아니라 지표면과 대기의 통기성이 저하되어 지표면의 대기열 흡수 및 지표면으로부터 발생되는 열의 방출이 차단되므로, 대기순환에 악영향을 주고 대기온도를 상승시켜 자연환경을 파괴하는 문제점이 있었다.
본 고안은 상기한 문제점을 해결하기 위하여 안출된 것으로서, 본 고안의 목적은 화산석을 이용하여 투수(透水) 효과를 극대화함으로써 홍수조절능력을 높이고 지하수 고갈이 억제될 수 있도록 한 투수 블록 및 우수관 구조를 제공하고자 한 것이다.
본 고안의 다른 목적은 수로관 내부로의 이물질 투입이 방지되도록 수로관의 개방된 부위를 차폐시키되 빗물은 수로관 내부로 투수될 수 있도록 한 우수관 투수 구조를 제공하고자 한 것이다.
본 고안의 또 다른 목적은 투수 블록 및 우수관에 대한 화산석의 결합이 견고하게 이루어질 수 있도록 한 투수 블록 및 우수관 구조를 제공하고자 한 것이다.
본 고안은 상기한 목적을 달성하기 위하여, 상부에는 소정의 깊이를 갖는 결합홈이 형성된 블록;상기 블록의 결합홈으로부터 블록의 저면을 향해 형성된 배수유로;상기 결합홈에 타설되어 양생을 거쳐 결합된 화산석:을 포함하여 구성된 투수 블록을 제공한다.
이때, 상기 결합홈은 격벽에 의해 복수로 구획되고, 각각의 결합홈마다 화산석이 양생되어 결합된 것이 바람직하다.
또한, 상기 격벽에는 이웃하는 결합홈과 통하는 엉김공이 형성되어, 결합홈에서 화산석의 양생시 상기 엉김공을 통해 이웃하는 결합홈의 화산석과 엉기도록 한 것이 바람직하다.
또한, 상기 결합홈 및 화산석은 다각형 또는 원형인 것이 바람직하다.
본 고안은 상기한 목적을 달성하기 위한 다른 예로써, 강이나 바다를 향해 관로를 형성하는 관체와, 상기 관체의 관로를 향해 빗물이 유입되도록 관체의 상부에 형성된 유입부를 포함하여 구성된 우수관 투수 구조에 있어서, 상기 유입부는 화산석을 포함하는 것을 특징으로 하는 우수관 투수 구조를 제공한다.
이때, 상기 유입부는 블록의 관로를 향해 형성된 다각형 또는 원형의 통공과, 상기 통공에 결합된 화산석으로 구성된 것이 바람직하다.
이때, 상기 유입부는 관체의 관로를 향해 형성된 다각형 또는 원형의 통공과, 상기 통공에 결합된 그레이팅과, 상기 그레이팅의 간격을 메우는 화산석으로 구성된 것이 바람직하다.
또한, 상기 관체는 사각 수로관, 측구 수로관, 플룸관 중 어느 하나인 것이 바람직하다.
본 고안은 상기한 목적을 달성하기 위한 또 다른 예로써, 강이나 바다를 향해 관로를 형성하는 관체와, 상기 관체의 관로를 지나는 빗물이 지하로 배출되도록 형성된 원형 또는 다각형의 배출공과, 상기 배출공에 결합된 화산석을 포함하여 구성된 우수관 투수 구조를 제공한다.
이때, 상기 관체의 측면에는 배출공이 형성되며, 상기 배출공에는 화산석이 결합된 것이 바람직하다.
본 고안에 따른 투수 블록 및 우수관 투수 구조는 다음과 같은 효과가 있다.
첫째, 투수 기능이 뛰어난 화산석을 보도 블록에 사용함으로써, 보도 블록을 통한 투수 효과를 극대화할 수 있어 집중 호우에 따른 빗물이 보도 블록에 고이는 일을 방지할 수 있게 된다.
또한, 우수관으로 빗물이 유입되는 부위에 화산석을 결합함으로써, 집중 호우시 도로나 인도의 빗물을 신속하게 지하 또는 우수관 내로 투수 시킬 수 있게 된다.
이에 따라, 화산석을 포함하는 투수 블록 및 우수관은 투수 능력을 극대화할 수 있으므로, 홍수 발생을 최소화할 수 있는 효과가 있다.
나아가, 보도블록이나 우수관에 결합된 화산석을 통해 빗물이 지하로 신속하게 스며듦으로써 지하수가 고갈되는 것을 방지할 수 있으며, 지면과 대기 간에 통기성을 높임으로써 자연환경을 향상할 수 있는 효과가 있다.
둘째, 빗물이 유입될 수 있도록 개방된 우수관의 상면, 또는 그레이팅의 간격 사이에 화산석이 결합됨으로써, 이물질이 우수관 내로 유입되지 않게 된다.
이에 따라, 우수관의 관로를 깨끗하게 유지할 수 있으므로, 우수 관로를 통한 배수 작용을 높일 수 있으며, 청소 등에 의한 유지 관리 비용을 절약할 수 있는 효과가 있다.
도 1a 내지 도 1c는 종래 기술에 따른 우수관의 여러 형태를 나타낸 사시도
도 2는 본 고안의 제1실시예에 따른 투수 블록을 나타낸 사시도
도 3은 본 고안의 제1실시예에 따른 투수 블록을 나타낸 평면도
도 4는 도 2의 I-I 선 단면도
도 5는 본 고안의 제 2실시예에 따른 우수관 투수 구조를 나타낸 사시도
도 6은 본 고안의 제 3실시예에 따른 우수관 투수 구조를 나타낸 사시도
도 7은 본 고안의 제 4실시예에 따른 우수관 투수 구조를 나타낸 사시도.
도 2는 본 고안의 제1실시예에 따른 투수 블록을 나타낸 사시도
도 3은 본 고안의 제1실시예에 따른 투수 블록을 나타낸 평면도
도 4는 도 2의 I-I 선 단면도
도 5는 본 고안의 제 2실시예에 따른 우수관 투수 구조를 나타낸 사시도
도 6은 본 고안의 제 3실시예에 따른 우수관 투수 구조를 나타낸 사시도
도 7은 본 고안의 제 4실시예에 따른 우수관 투수 구조를 나타낸 사시도.
이하, 첨부된 도 2 내지 도 4를 참조하여 본 고안의 제1실시예에 따른 투수 블록에 대하여 설명하도록 한다.
투수 블록은 콘크리트로 제작된 블록에 화산석을 결합하여 투수 효과를 극대화한 기술적 특징이 있다.
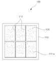
투수 블록(100)은 도 2에 도시된 바와 같이 블록(110)과, 화산석(120)을 포함하여 구성된다.
블록(110)은 투수 블록의 틀을 구성하는 역할을 하며, 콘크리트 재질임이 바람직하다.
블록(110)은 사각 형태로 이루어질 수도 있으며, 심미감을 고려하여 다각형 또는 원형으로 형성될 수도 있다.
이때, 블록(110)의 상부에는 화산석(120)이 결합되기 위한 결합홈(111)이 형성되며, 상기 결합홈(111)은 복수로 형성됨이 바람직하다.
이는, 결합홈(111)이 복수로 형성됨에 따라 격자 형태의 격벽(112)에 의해 구획되는데, 상기 격벽(112)에 의해 블록(110)의 강도가 보강될 수 있기 때문이다.
물론, 결합홈(111)이 복수로 형성된 것으로 한정되는 것은 아니며, 하나의 홈으로 형성될 수도 있다.
본 명세서에서는 설명의 편의상, 격벽(112)에 의해 결합홈(111)이 복수로 구획된 것을 예로하여 설명하기로 한다.
상기 결합홈(111)의 형태 역시 다각형 또는 원형으로 형성될 수 있으며, 결합홈(111)의 형태를 한정하는 것은 아니다.
한편, 각각의 결합홈(111) 바닥에는 복수의 배수유로(111a)가 형성된다.
배수유로(111a)는 화산석(120)을 통해 투수(透水)된 빗물이 지면을 통해 지하로 빠져나가도록 하기 위한 관로이며, 결합홈(111)의 바닥으로부터 블록(110)의 저면을 관통하도록 형성된다.
즉, 투수 블록(100)이 지면에 시공된 후에는 상기 블록(110)의 저면이 지면에 밀착된 상태가 되므로, 배수유로(111a)를 통해 배수되는 빗물은 바로 지면을 통해 지하로 투수될 수 있는 것이다.
한편, 상기 격벽(112)에는 이웃하는 결합홈(111)을 향해 관통된 엉김공(112a)이 형성됨이 바람직하다.
엉김공(112a)은 화산석(120)이 결합홈(111)에 결합되는 과정에서 결합력을 견고하게 하기 위함이다.
즉, 화산석(120)은 결합홈(111)에 시공되기 전 점성의 상태를 유지하며, 결합홈(111)에 수용된 상태에서 경화됨에 따라 결합홈(111)에 완전한 결합이 이루어지는데, 점성의 화산석(120)이 결합홈(111)에 수용된 후 상기 엉김공(112a)을 통해 이웃하는 결합홈(111)의 화산석(120)과 엉기게 되면서 일체화되어 블록(110)에 대한 화산석(120)의 결합력을 극대화할 수 있는 것이다.
다음으로, 화산석(120)은 우천시(특히, 집중호우시) 빗물을 지하로 투수시키는 역할을 하며, 결합홈(111)에 결합된다.
화산석은 화산 분출물중 비교적 다공질(多孔質)이 많은 현무암의 암괴로서 자연미가 매우 아름다운 돌이며, 색상은 암질에 따라 다양하고 자연 본연의 색으로 중후 한감을 표현할 수 있으며 변질 및 변색이 없어 다양한 용도의 연출이 가능한 특징이 있다.
상기한 바와 같이 화산석(120)은 화산석(120)을 이루는 알갱이들에 공극이 형성되어 있으므로, 투수 효과가 높은 기술적 특징이 있다.
상기 화산석은 "대한민국 특허공개 10-2011-0136543"를 비롯하여 공지의 기술이므로 상세한 설명은 생략하도록 한다.
이하, 상기한 구성으로 이루어진 투수 블록(100)의 결합 및 작용에 대하여 설명하도록 한다.
복수의 결합홈(111)이 구획된 블록(110)이 제작되어 제공된다.
다음으로, 각각의 결합홈(111)에 화산석(120)을 수용시킨다.
이때, 화산석(120)은 콘크리트 타설시와 유사한 점성의 형태로 제공되므로, 각각의 결합홈(111)에 점성의 형태로 수용된다.
이때, 화산석(120)은 도 4에 도시된 바와 같이 격벽(112)의 엉김공(112a)을 통해 이웃하는 결합홈(111)으로 새어나가 이웃하는 화산석(120)과 엉겨 붙음으로써, 블록(110)의 결합홈(111)에서 경화된 화산석(120)의 결합력은 더욱 극대화될 수 있게 된다.
한편, 상기 화산석(120)은 결합홈(111)에서만 경화될 수도 있으며, 결합홈(111)의 하방으로 형성된 배수유로(111a)에도 채워져 경화될 수도 있다.
이때, 화산석(120)이 배수유로(111a)에 까지 채워져 경화된다면, 빗물의 배수 효과가 다소 떨어질 수는 있으나 투수 블록(100) 전체에 대한 강도를 높일 수 있는 이점이 있다.
상기와 같이 제작이 완료된 투수 블록(100)들은 인도의 지면에 시공되며, 우천시에 빗물은 화산석(120)을 통해 투수되어 배수유로(111a)를 통해 지면으로 흡수된다.
이와 같이 화산석(120)을 통해 빗물의 투수가 신속하게 이루어짐에 따라, 인도에 빗물이 고이는 등의 불편함은 초래되지 않으며, 지하에 빗물이 스며듦으로써 지하수 해갈에 상당한 영향을 끼칠 수 있게 된다.
이하, 첨부된 도 5를 참조하여 본 고안의 제2실시예에 따른 우수관 투수 구조에 대하여 설명하도록 한다.
우수관은 도로변의 가장자리에 시공되어 우천시 빗물을 강이나 바다로 안내하는 관로 역할을 한다.
상기 우수관은 종래 기술에서 설명한 바와 같이 다양한 형태로 제공되며, 본 명세서에서는 설명의 편의상 사각 수로관을 예로 하여 설명하기로 한다.
우수관(200)은 도 5에 도시된 바와 같이 관체(210)와, 유입부(220)를 포함하여 구성된다.
관체(210)는 빗물이 강이나 바다로 흘러갈 수 있도록 관로를 형성하며, 사각형태의 콘크리트 재질로 이루어진다.
이와 같은 관체(210)는 복수로 제공되어 도로변을 따라 연이어 결합됨으로써, 빗물을 배수하는 관로를 형성하게 된다.
다음으로, 유입부(220)는 지면의 빗물이 관체(210)의 내부로 유입되는 부위이며, 관체(210)의 상면에 형성된다.
이때, 관체(210)의 상면은 지면에 노출되는 부위이며, 관체(210)의 하부는 지하에 매설되는 부위이다.
상기 유입부(220)는 관체(210)의 상면에 형성된 통공(221)과, 상기 통공(221)에 결합된 그레이팅(222)과, 그레이팅(222)의 간격마다 결합된 화산석(223)으로 구성된다.
통공(221)은 빗물이 관체(210)의 내부로 유입되기 위한 통로이며, 그의 형태는 제한되지 않는다.
통공(221)에 그레이팅(222)이 결합됨을 감안할 때, 그레이팅(222)의 제작을 용이하게 하기 위하여 상기 통공(221)은 사각 형태로 형성됨이 바람직하다.
그리고, 그레이팅(222)의 재질은 스틸 또는 석재(石材)로 이루어질 수 있다.
그리고, 화산석(223)은 지면의 빗물을 관체(210)의 내부로 투수시킴과 더불어, 이물질이 관체(210)의 내부로 유입되는 것을 방지하는 역할을 한다.
즉, 도 5에 도시된 바와 같이, 화산석(223)이 그레이팅(222)의 간격을 메우도록 결합됨으로써, 담배꽁초 등의 이물질은 관체(210)의 내부로 전혀 유입될 수 없지만 투수 효과가 탁월한 화산석(223)으로 인해 빗물은 관체(210)의 내부로 무리 없이 유입될 수 있는 것이다.
이하, 첨부된 도 6을 참조하여 본 고안의 제3실시예에 따른 우수관 투수 구조에 대하여 설명하도록 한다.
제3실시예 역시 사각 수로관을 예로 하여 설명하기로 한다.
사각 즉, 직육면체 형태의 관체(210)와, 관체(210)의 내부로 빗물이 유입되기 위한 유입부(220)로 구성된다.
이때, 유입부(220)는 관체(210)의 상면에 형성된 통공(221)과, 화산석(223)으로 구성된다.
통공(221)의 형태는 제한되지 않으나, 사각 형태로 형성됨이 바람직하다.
그리고, 화산석(223)은 관체(210)의 내부로 빗물을 투수시키며, 이물질을 거르는 역할을 한다.
화산석(223)은 통공(221)에 결합되며, 화산석(223)이 통공(221)에 결합되는 방식은 전술한 실시예와 동일하다.
이때, 설명의 편의상 관체(210)의 상면에 일체형의 화산석(223)이 결합된 것을 도시하였으나, 이에 한정되는 것은 아니며 화산석(223)을 복수의 개별체로 하여 결합시킬 수도 있다.
즉, 제1실시예에 개시된 투수 블록(100)의 구성과 같이, 격자를 이용해 복수의 공간을 구성한 후 각 공간에 화산석(223)을 결합시키는 것이다.
이와 같이, 제3실시예에 따른 우수관 투수 구조는 도 6에 도시된 바와 같이 그레이팅 없이 이물질을 거르고 빗물을 관체 내부로 유입하여 강이나 바다로 배수시킬 수 있는 기술적 특징이 있다.
이하, 첨부된 도 7을 참조하여 본 고안의 제4실시예에 따른 우수관 투수 구조에 대하여 설명하도록 한다.
제4실시예에 따른 우수관 투수 구조는 직육면체의 관체(210)와, 화산석(223)을 포함한다.
이때, 관체(210)의 저면과 양측면에는 관체(210)의 외부와 관통된 배출공(230)이 형성되며, 상기 배출공(230)에는 화산석(223)이 결합된다.
이때, 배출공(230)의 형태 역시 제한되지 않으며, 화산석(223)은 복수로 결합될 수 있다.
즉, 제4실시예에 따른 우수관 투수 구조는 외부의 빗물을 관체(210) 내부로 유입시켜 강이나 바다로 배수시킴과 더불어 관체(210)의 저면이나 양측을 통해 지하로 배수시키는 기술적 특징이 있는 것이다.
집중호우시 강수량이 많을 경우, 관체(210)의 관로는 포화될 수 있는데 관체(210)의 내부를 따라 흐르는 빗물의 일부는 강이나 바다로 배수되며 빗물의 나머지는 관체(210)의 저면이나 양측의 화산석(223)을 통해 지하로 배출되도록 한 것이다.
이에 따라, 빗물에 대한 배수 효율을 극대화할 수 있는 것이다.
이와 같은 제3 내지 제4실시예에 따른 우수관 투수 구조를 서로 혼합하여 배치함으로써 우수관에 대한 효율성을 극대화할 수 있다.
지금까지 설명한 바와 같이 본 고안에 따른 투수 블록 및 우수관 투수 구조는 빗물에 대한 배수 효과를 극대화하여 홍수를 방지하고 빗물이 지하로 스며들도록 함으로써 지하수 고갈을 억제할 수 있도록 한 기술적 특징이 있다.
이에 따라, 홍수로 인한 피해를 줄임과 더불어 자연환경을 향상시킬 수 있게 된다.
100 : 투수 블록 110 : 블록
111 : 결합홈 111a : 배수유로
112 : 격벽 112a : 엉김공
120,223 : 화산석 200 : 우수관
210 : 관체 220 : 유입부
221 : 통공 222 : 그레이팅
223 : 화산석 230 : 배출공
111 : 결합홈 111a : 배수유로
112 : 격벽 112a : 엉김공
120,223 : 화산석 200 : 우수관
210 : 관체 220 : 유입부
221 : 통공 222 : 그레이팅
223 : 화산석 230 : 배출공
Claims (10)
- 상부에는 소정의 깊이를 갖는 결합홈이 형성된 블록;
상기 블록의 결합홈으로부터 블록의 저면을 향해 형성된 복수의 배수유로;
상기 결합홈에 타설되어 양생을 거쳐 결합된 화산석:을 포함하여 구성된 투수 블록. - 제 1항에 있어서,
상기 결합홈은 격벽에 의해 복수로 구획되고, 각각의 결합홈마다 화산석이 양생되어 결합된 것을 특징으로 하는 투수 블록. - 제 1항 또는 제 2항에 있어서,
상기 격벽 및 블록의 내측면에는 엉김공이 형성되어, 결합홈에서 화산석의 양생시 상기 엉김공을 통해 이웃하는 결합홈의 화산석 및 블록의 내측면에 엉기도록 한 것을 특징으로 하는 투수 블록. - 제 1항 또는 제 2항에 있어서,
상기 결합홈 및 화산석은 다각형 또는 원형인 것을 특징으로 하는 투수 블록. - 강이나 바다를 향해 관로를 형성하는 관체와, 상기 관체의 관로를 향해 빗물이 유입되도록 관체의 상부에 형성된 유입부를 포함하여 구성된 우수관 투수 구조에 있어서,
상기 유입부는 화산석을 포함하는 것을 특징으로 하는 우수관 투수 구조. - 제 5항에 있어서,
상기 유입부는 블록의 관로를 향해 형성된 다각형 또는 원형의 통공과, 상기 통공에 결합된 화산석으로 구성된 것을 특징으로 하는 우수관 구조. - 제 5항에 있어서,
상기 유입부는 관체의 관로를 향해 형성된 다각형 또는 원형의 통공과, 상기 통공에 결합된 그레이팅과, 상기 그레이팅의 간격을 메우는 화산석으로 구성된 것을 특징으로 하는 우수관 투수 구조. - 제 5항 내지 제 7항 중 어느 한 항에 있어서,
상기 관체는 사각 수로관, 측구 수로관, 플룸관 중 어느 하나인 것을 특징으로 하는 우수관 투수 구조. - 강이나 바다를 향해 관로를 형성하는 관체와, 상기 관체의 관로를 지나는 빗물이 지하로 배출되도록 형성된 원형 또는 다각형의 배출공과, 상기 배출공에 결합된 화산석을 포함하여 구성된 우수관 투수 구조.
- 제 9항에 있어서,
상기 관체의 측면에는 배출공이 형성되며, 상기 배출공에는 화산석이 결합된 것을 특징으로 하는 우수관 투수 구조.
Priority Applications (1)
| Application Number | Priority Date | Filing Date | Title |
|---|---|---|---|
| KR2020120008343U KR20140001756U (ko) | 2012-09-18 | 2012-09-18 | 투수 블록 및 우수관 투수 구조 |
Applications Claiming Priority (1)
| Application Number | Priority Date | Filing Date | Title |
|---|---|---|---|
| KR2020120008343U KR20140001756U (ko) | 2012-09-18 | 2012-09-18 | 투수 블록 및 우수관 투수 구조 |
Publications (1)
| Publication Number | Publication Date |
|---|---|
| KR20140001756U true KR20140001756U (ko) | 2014-03-26 |
Family
ID=52442344
Family Applications (1)
| Application Number | Title | Priority Date | Filing Date |
|---|---|---|---|
| KR2020120008343U Ceased KR20140001756U (ko) | 2012-09-18 | 2012-09-18 | 투수 블록 및 우수관 투수 구조 |
Country Status (1)
| Country | Link |
|---|---|
| KR (1) | KR20140001756U (ko) |
Cited By (6)
| Publication number | Priority date | Publication date | Assignee | Title |
|---|---|---|---|---|
| KR20160037275A (ko) * | 2014-09-26 | 2016-04-06 | 중앙대학교 산학협력단 | 폴리머 콘크리트 유닛 및 폴리머 콘크리트 유닛의 분할 형성 구조체 |
| KR20190039483A (ko) * | 2019-04-01 | 2019-04-12 | 김창석 | 토목용 조성물, 이를 제조하기 위한 제조방법, 이를 이용한 도로시설 및 이를 이용한 배수시설 |
| KR102079681B1 (ko) * | 2019-07-12 | 2020-02-19 | (주)성광종합기술개발 | 수로관 구조체 |
| KR102241363B1 (ko) * | 2020-08-04 | 2021-04-16 | 에스비비 주식회사 | 보도형 저류 시설 및 이의 시공 방법 |
| WO2023242623A1 (en) * | 2022-06-15 | 2023-12-21 | Sindhu Gopinath | A structure for a drain segment of a storm drain system |
| KR20240087223A (ko) * | 2022-12-12 | 2024-06-19 | 김수근 | 배수구 그레이팅 |
-
2012
- 2012-09-18 KR KR2020120008343U patent/KR20140001756U/ko not_active Ceased
Cited By (6)
| Publication number | Priority date | Publication date | Assignee | Title |
|---|---|---|---|---|
| KR20160037275A (ko) * | 2014-09-26 | 2016-04-06 | 중앙대학교 산학협력단 | 폴리머 콘크리트 유닛 및 폴리머 콘크리트 유닛의 분할 형성 구조체 |
| KR20190039483A (ko) * | 2019-04-01 | 2019-04-12 | 김창석 | 토목용 조성물, 이를 제조하기 위한 제조방법, 이를 이용한 도로시설 및 이를 이용한 배수시설 |
| KR102079681B1 (ko) * | 2019-07-12 | 2020-02-19 | (주)성광종합기술개발 | 수로관 구조체 |
| KR102241363B1 (ko) * | 2020-08-04 | 2021-04-16 | 에스비비 주식회사 | 보도형 저류 시설 및 이의 시공 방법 |
| WO2023242623A1 (en) * | 2022-06-15 | 2023-12-21 | Sindhu Gopinath | A structure for a drain segment of a storm drain system |
| KR20240087223A (ko) * | 2022-12-12 | 2024-06-19 | 김수근 | 배수구 그레이팅 |
Similar Documents
| Publication | Publication Date | Title |
|---|---|---|
| CN101067313B (zh) | 排水方法及其排灌水管 | |
| KR20140001756U (ko) | 투수 블록 및 우수관 투수 구조 | |
| ES2767374T3 (es) | Método para enfriar un campo deportivo | |
| KR101020718B1 (ko) | 지반보강용 지오셀과 중공형 섬유보강 투수블록을 이용한 지반침투형 포장구조 | |
| CN106917522B (zh) | 一种基于海绵城市理念的室外停车位系统 | |
| CN104032793B (zh) | 用于居民小区道路的花园式抗雨水冲击系统 | |
| KR20230168875A (ko) | 투수 지속율이 확보된 블록 시공체 | |
| CN113863465A (zh) | 一种海绵城市道路生态排水系统 | |
| KR101510615B1 (ko) | 침투식 빗물저류조 및 그의 시공방법 | |
| CN104878827A (zh) | 道路排水结构 | |
| JP5396368B2 (ja) | 舗装構造 | |
| CN217052889U (zh) | 一种用于人行道及绿化带的组合式海绵城市系统的结构 | |
| CN203977495U (zh) | 用于居民小区道路的花园式抗雨水冲击系统 | |
| KR101201544B1 (ko) | 지중침투형 측구 조립체 | |
| KR20120135996A (ko) | 배수관을 구비한 보도블럭 | |
| CN208023406U (zh) | 一种沥青桥面排水结构 | |
| CN206337480U (zh) | 生态边沟 | |
| KR101902890B1 (ko) | 사각 투수성 수로관 | |
| KR101367937B1 (ko) | 투수성 포장재의 침투량 증대장치 | |
| JP2016079592A (ja) | 舗装構造 | |
| KR20140098583A (ko) | 홍수 저감 및 침투 증진을 위한 침투형 도로 시스템 | |
| CN204530376U (zh) | 防涝消雨污水人行道平整城镇道路结构 | |
| CN204690894U (zh) | 道路排水结构 | |
| KR101663914B1 (ko) | 조립식 우수 침투형 측구 | |
| JP5252652B2 (ja) | 道路における雨水利用型道路構造 |
Legal Events
| Date | Code | Title | Description |
|---|---|---|---|
| A201 | Request for examination | ||
| UA0108 | Application for utility model registration |
Comment text: Application for Utility Model Registration Patent event code: UA01011R08D Patent event date: 20120918 |
|
| UA0201 | Request for examination | ||
| E902 | Notification of reason for refusal | ||
| UE0902 | Notice of grounds for rejection |
Comment text: Notification of reason for refusal Patent event code: UE09021S01D Patent event date: 20140129 |
|
| UG1501 | Laying open of application | ||
| E601 | Decision to refuse application | ||
| UE0601 | Decision on rejection of utility model registration |
Comment text: Decision to Refuse Application Patent event code: UE06011S01D Patent event date: 20140429 |