KR20130104601A - Knee support structure for chair - Google Patents

Knee support structure for chair Download PDF

Info

Publication number
KR20130104601A
KR20130104601A KR1020120026224A KR20120026224A KR20130104601A KR 20130104601 A KR20130104601 A KR 20130104601A KR 1020120026224 A KR1020120026224 A KR 1020120026224A KR 20120026224 A KR20120026224 A KR 20120026224A KR 20130104601 A KR20130104601 A KR 20130104601A
Authority
KR
South Korea
Prior art keywords
coupled
chair
shaft portion
fastening
supporter
Prior art date
Legal status (The legal status is an assumption and is not a legal conclusion. Google has not performed a legal analysis and makes no representation as to the accuracy of the status listed.)
Ceased
Application number
KR1020120026224A
Other languages
Korean (ko)
Inventor
박은정
Original Assignee
박은정
Priority date (The priority date is an assumption and is not a legal conclusion. Google has not performed a legal analysis and makes no representation as to the accuracy of the date listed.)
Filing date
Publication date
Application filed by 박은정 filed Critical 박은정
Priority to KR1020120026224A priority Critical patent/KR20130104601A/en
Publication of KR20130104601A publication Critical patent/KR20130104601A/en
Ceased legal-status Critical Current

Links

Images

Classifications

    • AHUMAN NECESSITIES
    • A47FURNITURE; DOMESTIC ARTICLES OR APPLIANCES; COFFEE MILLS; SPICE MILLS; SUCTION CLEANERS IN GENERAL
    • A47CCHAIRS; SOFAS; BEDS
    • A47C7/00Parts, details, or accessories of chairs or stools
    • A47C7/50Supports for the feet or the legs
    • A47C7/506Supports for the feet or the legs of adjustable type
    • A47C7/5062Supports for the feet or the legs of adjustable type rectilinearly
    • AHUMAN NECESSITIES
    • A47FURNITURE; DOMESTIC ARTICLES OR APPLIANCES; COFFEE MILLS; SPICE MILLS; SUCTION CLEANERS IN GENERAL
    • A47CCHAIRS; SOFAS; BEDS
    • A47C16/00Stand-alone rests or supports for feet, legs, arms, back or head
    • AHUMAN NECESSITIES
    • A47FURNITURE; DOMESTIC ARTICLES OR APPLIANCES; COFFEE MILLS; SPICE MILLS; SUCTION CLEANERS IN GENERAL
    • A47CCHAIRS; SOFAS; BEDS
    • A47C3/00Chairs characterised by structural features; Chairs or stools with rotatable or vertically-adjustable seats
    • A47C3/18Chairs or stools with rotatable seat
    • AHUMAN NECESSITIES
    • A47FURNITURE; DOMESTIC ARTICLES OR APPLIANCES; COFFEE MILLS; SPICE MILLS; SUCTION CLEANERS IN GENERAL
    • A47CCHAIRS; SOFAS; BEDS
    • A47C7/00Parts, details, or accessories of chairs or stools
    • A47C7/50Supports for the feet or the legs
    • A47C7/503Supports for the feet or the legs with double foot-rests or leg-rests
    • AHUMAN NECESSITIES
    • A47FURNITURE; DOMESTIC ARTICLES OR APPLIANCES; COFFEE MILLS; SPICE MILLS; SUCTION CLEANERS IN GENERAL
    • A47CCHAIRS; SOFAS; BEDS
    • A47C7/00Parts, details, or accessories of chairs or stools
    • A47C7/62Accessories for chairs
    • AHUMAN NECESSITIES
    • A47FURNITURE; DOMESTIC ARTICLES OR APPLIANCES; COFFEE MILLS; SPICE MILLS; SUCTION CLEANERS IN GENERAL
    • A47CCHAIRS; SOFAS; BEDS
    • A47C9/00Stools for specified purposes
    • A47C9/002Stools for specified purposes with exercising means or having special therapeutic or ergonomic effects
    • A47C9/005Stools for specified purposes with exercising means or having special therapeutic or ergonomic effects with forwardly inclined seat, e.g. with a knee-support

Landscapes

  • Accommodation For Nursing Or Treatment Tables (AREA)

Abstract

본 발명은 가슴받이부(140)의 저면 중앙에서 전방으로 향하여 결합되는 파이프로 된 연결부(143)가 형성되어 있고, 상기 연결부(143)의 하단에는 축부(110)의 실린더외통(110a)에 회전되도록 결합되는 원통체(141)가 형성되어 있고, 상기 연결부(143)에는 타원형상의 접촉면(230)을 갖고 있으며, 중앙부 안쪽 일측에는 연결부끼움홈(225)를 갖는 체결부(220)를 장착하고, 상기 체결부(220)에는 통공(221)을 형성하여 체결볼트(222)에 의하여 체결하는 무릎받이대(200)를 형성한 것을 특징으로 하는 의자용 가슴받이지지대 체결구조The present invention is formed with a connecting portion 143 made of a pipe coupled to the front from the center of the bottom of the breast portion 140, the lower end of the connecting portion 143 is rotated in the outer cylinder (110a) of the shaft portion 110 Cylindrical body 141 is formed to be coupled to each other, the connection portion 143 has an elliptical contact surface 230, and a fastening portion 220 having a connection portion fitting groove 225 on the inner side of the central portion, The fastening part 220 is a fastening structure for the chair support frame, characterized in that the through-hole 221 is formed to form a knee rest 200 to be fastened by the fastening bolt 222.

Description

의자용 무릎받이 체결구조{The Knee Supporter Coupling Structure for Chair}Knee Supporter Coupling Structure for Chair

본 고안은 의자용 무릎(다리)받이 체결구조에 관한 것으로, 보다 상세하게는 의자용 가슴받이와 가슴받이연결지대가 일체로 이루어진 가슴받이부를 제품화하여 기존 가슴받이부가 장착되어 있지 않은 의자에도 편리하게 장착 가능하도록 함과 동시에 가슴받이연결부에 무릎받이나 다리를 올려 놓을 수 있는 다리받이를 결합할 수 있는 의자용 가슴받이연결부에 형성된 무릎(다리)받이 체결구조에 관한 것이다.The present invention relates to a knee support structure for chairs, and more particularly, to commercialize a chair body that is integrally equipped with a chair supporter and a supporter for the chair, even in a chair that is not equipped with an existing supporter. The present invention relates to a knee restraining structure formed on a chair's chest connecting portion capable of attaching a legrest to which a knee rest or leg can be placed at the same time.

주지하는 바와 같이 최근 사용자의 앉은 자세를 교정하여 올바른 자세를 유지할 수 있게 하며, 장시간 앉아 있는 경우에도 안정감과 편안함을 느낄 수 있는 기능성 의자들이 개시되고 있다.As is well known, functional chairs have recently been disclosed to correct a user's sitting posture to maintain a correct posture, and to feel stable and comfortable even when sitting for a long time.

그 중에서도 가슴받이를 구비한 의자들이 최근에 트렌드(trend)화 되어 다양하게 제시되고 있는 실정이다.Among them, chairs with a breastrest have been recently presented in various trends.

즉, 의자에 적용되는 가슴받이는 착석자의 가슴 쪽 상체를 지지할 수 있도록 함과 아울러 양 팔꿈치를 올려놓은 상태로 기댈 수 있도록 되어 있다.In other words, the breastrest applied to the chair is able to support the upper body side of the seated person and can lean on both elbows.

이러한 가슴받이를 구비한 의자와 관련하여 최근 개시되고 있는 특허문헌들을 살펴보면, 의자에서 착석자의 상체를 기댈 수 있도록 구비된 가슴받이는 축 형상의 연결부재를 통해서 좌판부 저면 쪽이나 다리부에 회전 가능하게 연결 장착되어 착석자의 필요에 따라 연결부재의 회동을 통해 가슴받이를 적당한 위치로 회전 이동시킬 수 있도록 되어 있음을 알 수 있다.Looking at the recently disclosed patent documents related to the chair with a breastrest, the breastrest provided to lean the upper body of the seated person in the chair is rotatable on the bottom side or the leg of the seat plate through the shaft-shaped connecting member It can be seen that the connection is mounted to rotate the chestrest to a proper position through the rotation of the connection member according to the needs of the seated person.

그 대표적인 예로써, 대한민국 특허등록 제10-1066240에 팔꿈치지지판이 형성된 가슴받이지지대의 체결구조가 개시되어 있다.As a representative example thereof, a fastening structure of a support body having an elbow support plate is disclosed in Korean Patent Registration No. 10-1066240.

즉 상기 발명은 축부(10)와, 상기 축부 상단에 회전가능하게 결합되는 것으로 사용자 착석을 위한 시트부(20)와, 상기 축부 하단에 결합되는 다리부(30)와, 그리고 상기 축부에서 결합되어 사용자의 가슴부위를 지지하는 가슴받이부(40)로 이루어진다.That is, the invention is coupled to the shaft portion 10, the seat portion 20 for seating the user to be rotatably coupled to the upper end of the shaft portion, the leg portion 30 is coupled to the lower end of the shaft portion, and is coupled to the shaft portion Consists of the breast 40 to support the user's chest.

상기 가슴받이부(40)는 축부(10)에 조립 결합된 후 축부에 회전되게 구성되는 것으로, 축부(10)에 끼워지는 원통체(41)와, 사용자의 가슴부위를 지지하기 위한 가슴받이대(42)와, 상기 가슴받이대와 원통체를 연결하는 연결부(43)를 포함하여 이루어진다.The breastrest part 40 is configured to be rotated to the shaft part after being assembled and coupled to the shaft portion 10, the cylindrical body 41 to be fitted to the shaft portion 10, and the supporter for supporting the user's chest portion And a connecting portion 43 for connecting the chestrest and the cylindrical body.

따라서 축부(10)에 가슴받이부(40)를 연결시키는 구성으로는 축부의 외경과 가슴받이부의 원통체 내경을 회전이 가능하도록 내외경의 치수를 달리하여 빈틈을 두어 형성한다.Therefore, the configuration of connecting the breastrest portion 40 to the shaft portion 10 is formed by leaving a gap by varying the dimensions of the inner and outer diameter to enable rotation of the outer diameter of the shaft portion and the inner diameter of the cylindrical portion of the chest portion.

그리고 축부(10)에 원통체(41)가 끼워진 후 덮개통(45)을 상기 원통체에 씌우게 되는데, 상기 덮개통의 일면에는 연결부가 관통되기 위한 절개부(45a)가 형성되어 있다.And the cylindrical body 41 is fitted to the shaft portion 10 and the cover cylinder 45 is covered with the cylindrical body, a cutout portion 45a for penetrating the connection portion is formed on one surface of the cover cylinder.

상기 덮개통(45)은 외관상으로 가슴받이부의 원통체를 가려줌으로써 시각적인 효과를 볼 수 있음과 동시에 발받침부의 설치에 있어 높이 설정에 필요한 지지구조로 활용되기에 필요한 구조이다.The cover cylinder 45 is a structure required to be used as a supporting structure for setting the height in the installation of the footrest while at the same time the visual effect can be seen by covering the cylindrical body of the breastrest.

아울러 상기 가슴받이대(42)는 가슴받이대 양 측으로 팔을 걸 수 있는 팔안치대(44)를 더 구비하여 사용시 팔꿈치를 위치시킬 수 있도록 하였다.In addition, the chestrest 42 is further provided with an arm rest 44 to hang the arms on both sides of the chestrest so that the elbows can be positioned during use.

상기 발받침부(50)는 축부(10)에 끼워지는 것으로 걸이공(51a)이 형성된 걸이원통(51)과, 상기 걸이원통에 착탈 결합되기 위한 지지대(52)와, 그리고 상기 지지대에 결합되는 것으로 사용자의 발이 위치하는 발받침대(53)로 이루어진다.The footrest 50 is fitted to the shaft portion 10, the hook cylinder 51 is formed with a hook hole (51a), the support 52 for detachably coupled to the hook cylinder, and is coupled to the support It consists of a foot rest 53 which the user's foot is located.

미설명부호 52c는 발받침대(53)의 지지대이다.Reference numeral 52c is a support of the footrest (53).

그리고 상기 지지대는 축부에 대한 발받침대의 안정된 지지를 위해 수평 나열되는 두 프레임으로 이루어진다.The support consists of two frames arranged horizontally for stable support of the footrest against the shaft.

특히 상기 걸이원통(51)은 의자 조립시 축부(10)에 끼워지는 구성인데, 상단에는 내측으로 연장되는 돌출턱(51b)이 형성되어있어, 축부(10)에 끼워짐에 있어 상기 돌출턱(51b)의 저면이 덮개통(45)의 상면에 걸리게 됨으로써 끼워지는 위치가 고정되게 된다.In particular, the hook cylinder 51 has a configuration that is fitted to the shaft portion 10 when the chair is assembled, the upper end is formed with a projection jaw 51b extending inwardly, the projection jaw ( The bottom surface of 51b) is caught by the upper surface of the lid 45, whereby the fitted position is fixed.

또한 상기 지지대(52)의 단부에는 걸이공(51a)에 삽입·걸쳐지기 위한 걸림고리(52a)가 형성되어 있어 사용자는 편의에 따라 발받침대를 걸이원통으로부터 쉽게 착탈시킬 수 있다.In addition, the end of the support 52 is formed with a hook ring (52a) to be inserted and caught in the hook hole (51a), the user can easily detach the foot rest from the hook cylinder for convenience.

상기 종래 기술은 가슴받이의 연결부(43)가 측면으로 연결되어 있기 때문에 가슴받이부가 옆으로 휘어져 자세가 삐뿔어지는 현상이 발생하였고, 그리고 연결부가 축부(10)에 부싱(1)에 의하여 고정되어 있기 때문에 일어설 경우에 시트부(20)를 회전시켜야 하는 불편이 있었고, 방향을 틀고자할 경우에 시트부 방향과 고정된 가슴받이의 방향이 향상 일치되게 하여야 하기 때문에 의자 전체를 회전시켜야 하는 번거로움이 있었고, 발판의 구성이 별개로 제작되어 부품의 구성이 복잡하여 조립에 불편을 자아내고 있었다.In the prior art, since the connection part 43 of the breastplate is connected to the side, the phenomenon occurs that the breastplate part is bent sideways and the posture is pruned, and the connection part is fixed to the shaft part 10 by the bushing 1. Therefore, when standing up, there was an inconvenience to rotate the seat 20, and if you want to change the direction of the seat and the direction of the fixed breastrest should be improved to match the hassle to rotate the whole chair There was, and the configuration of the scaffold was made separately, the composition of the components were complicated, causing inconvenience to assembly.

그리고, 사용자가 책상을 사용하고자 하는 경우, 종래에는 도 3에 도시된 바와 같이, 일반의자(300)에 허리를 바로 세워 앉으면 사용자 윗몸의 무게중심선(P1)과 의자의 중심선(P2)이 달라져서 마치, 트럭에 물건을 한쪽으로 치우쳐서 실은 것과 같이 불안정해 지는데 이를 개선하기 위해 사용자의 상체를 앞쪽으로 숙이면 두 중심선(P1)(P2)들이 일치되어 안정감을 느끼게 된다.And, if the user wants to use the desk, conventionally, as shown in Figure 3, when the waist is sitting upright on the general chair 300, the center line (P1) and the center line (P2) of the user's upper body is changed as if In other words, the truck becomes unstable as if it is loaded with one side of the truck. To improve this, if the user's upper body is leaned forward, the two centerlines (P1) (P2) coincide with each other to feel a sense of stability.

따라서 사용자의 의식적인 노력만으로 일반 의자에 장시간 꼿꼿이 앉기는 불가능하고 장시간 앉아 있게 되면 각종 통증을 수반한다.Therefore, it is impossible to sit on the chair for a long time only by the conscious effort of the user, and it is accompanied by various pains when sitting for a long time.

특히, 사용자가 상체를 앞쪽으로 숙여서 앉게 되면 척추의 앞면은 수축되고,뒷면은 팽팽하게 긴장되어 디스크와 각종 척추 질환의 주요 원인이 된다.In particular, when the user sits with the upper body leaned forward, the front of the spine contracts, the back of the tension is a major cause of the disk and various spinal diseases.

그리고 이와 같이 책상 측으로 앞으로 숙이게 되면, 폐를 비롯한 각종 장기가 눌리게 되어 산소 섭취량 감소, 혈액 순환 장애, 만성적 소화불량, 근육의 긴장, 피로 누적, 근시 위험과 학습 부진 등에 영향을 줄 수 있는 것이다.If you lean forward to the desk in this way, various organs, including the lungs, will be depressed, which can affect oxygen intake, poor circulation, chronic indigestion, muscle tension, fatigue accumulation, myopia risk and poor learning.

결국 의자에서 나쁜 자세로 오래 앉아 있는 경우에는 쉽게 피로해질 뿐만 아니라 척추 및 근육 등의 변형을 발생시키게 된다.After all, sitting in a bad position for a long time in the chair is not only tired easily, but also causes deformation of the spine and muscles.

이에 따라, 의자에 앉은 상태에서 등을 똑바로 펴고 앉는 올바른 자세를 유도하기 위해 등을 편 상태에서 무릎을 댈 수 있는 무릎의자가 제안되었으나, 종래 무릎의자는 복잡한 구조로 인해 고가로 제조되어 소수의 사람들만이 사용할 수 있는 문제점이 있었다.Accordingly, in order to induce the correct posture of sitting with the back straight while sitting on a chair, a knee chair has been proposed that can be held on the back while the conventional knee chair is manufactured at a high price due to its complicated structure. There was a problem that can only be used.

아울러, 종래 무릎의자는 복잡한 구조로 인해 이동시 불편한 문제점이 있었다.In addition, the conventional knee chair was inconvenient when moving due to the complex structure.

따라서, 이와 같은 문제점을 해결하기 위하여 등록특허 10-1109365에서는 도 4를 참조하면, 실시예에 따른 접이식 무릎의자는 의자본체, 무릎받이부(20), 길이조절부(30), 책상부(40)를 포함하여 구성된다.Therefore, in order to solve such a problem, referring to FIG. 4, in the Patent Registration No. 10-1109365, the folding knee chair according to the embodiment includes a chair body, a kneerest part 20, a length adjusting part 30, and a desk part 40. It is configured to include).

상기 의자본체는 등받이가 구비된 전방프레임(11)과, 전방프레임(11)과 상호 회동하도록 소정의 회동수단을 통해 결합된 후방프레임(12)과, 전방프레임(11)과 후방프레임(12)에 양측이 회동하도록 소정의 회동수단을 통해 결합된 좌판(14)으로 구성된다.The chair body includes a front frame 11 provided with a backrest, a rear frame 12 coupled through a predetermined rotation means to rotate with the front frame 11, and the front frame 11 and the rear frame 12. It consists of a seat plate 14 coupled through a predetermined rotating means so that both sides rotate.

이 같이 결합된 의자본체는 전방프레임(11)과 후방프레임(12)이 상호 회동하여 의자본체는 접었다 폈다가 가능하며, 이때 좌판(14) 또한 전방프레임(11)과 후방프레임(12)의 회동에 의해 절첩이 가능하다.The chair body coupled as described above is capable of folding and unfolding the chair body by rotating the front frame 11 and the rear frame 12 together, and the seat plate 14 also rotates between the front frame 11 and the rear frame 12. Folding is possible.

더구나, 상기와 같이 별도의 의자로 활용할 수 있는 독립적인 의자를 제작하였으나, 구조가 복잡하고, 연결관절이 많아 쉽게 부러지는 등 문제점이 많이 도출되어 실용화되지 못하였다.
In addition, as described above, an independent chair that can be utilized as a separate chair was manufactured, but the structure was complicated and many joints were easily broken.

따라서, 본 발명은 상기와 같은 문제점을 해결하기 위하여 가슴받이와 시트부를 각각 회전시킬수 있도록 하여 사용자가 원하는 방향으로 사용가능하게 하고, 가슴받이부의 중앙에 연결부를 연결하여 가슴받이의 기울기를 수평지게 하여 바른 자세를 가질 수 있도록 하며, 발판을 가슴받이의 중앙부에 설치된 연결부에 연결하여 쉽게 탈착이 가능하도록 하였으며, 결국 가슴받이의 방향과 사람의 다리방향이 일치되게 하여 종국적으로는 바른 자세를 유지하게 하는데 그 목적이 있다.Therefore, in order to solve the above problems, the present invention enables the user to rotate the breastplate and the seat portion so that the user can use it in a desired direction, and connects the connection portion to the center of the breastplate to level the tilt of the breastplate. It is possible to have a correct posture, and the footrest is connected to the connection part installed at the center of the breastplate so that it can be easily detached. The purpose is.

또한, 의자용 가슴받이와 가슴받이연결부가 일체로 이루어진 가슴받이부를 제품화하여 기존 가슴받이부가 장착되어 있지 않은 의자에도 편리하게 장착 가능하도록 함과 동시에 가슴받이연결부에 무릎받이나 다리를 올려 놓을 수 있는 다리받이를 결합할 수 있는 의자용 가슴받이연결부에 형성된 무릎(다리)받이 체결구조를 개선하는데 그 목적이 있다.
In addition, the product can be conveniently mounted on a chair that is not equipped with the existing breastboard by commercializing the bodyboard made of the integrated body and the breastrest connector for the chair, and at the same time can put the kneerest or leg on the breastrest connector The purpose of the present invention is to improve the knee restraining structure formed on the chair's chest connecting portion capable of engaging a legrest.

본 발명은 축부(110)와, 상기 축부 상단에 회전가능하게 결합되는 것으로 사용자 착석을 위한 시트부(120)와, 상기 축부 하단에 결합되는 다리부(130)와, 그리고 상기 축부에서 결합되어 사용자의 가슴부위를 지지하는 가슴받이부(140)로 이루어진 의자용 가슴받이지지대 체결구조에 있어서, 가슴받이부(140)의 저면 중앙에서 전방으로 향하여 결합되는 파이프로 된 연결부(143)가 형성되어 있고, 상기 연결부(143)의 하단에는 축부(110)의 실린더외통(110a)에 회전되도록 결합되는 원통체(141)가 형성되어 있고, 상기 연결부(143)에는 타원형상의 접촉면(230)을 갖고 있으며, 중앙부 안쪽 일측에는 연결부끼움홈(225)를 갖는 체결부(220)를 장착하고, 상기 체결부(220)에는 통공(221)을 형성하여 체결볼트(222)에 의하여 체결하는 무릎받이대(200)를 형성한 것을 특징으로 한다.The present invention is coupled to the shaft portion 110, the seat portion 120 for seating the user to be rotatably coupled to the upper end of the shaft portion, the leg portion 130 is coupled to the lower end of the shaft portion, and the user coupled to the shaft portion In the fastening support structure for the chair support body consisting of a support body 140 for supporting the chest portion of the, the connection portion 143 is formed of a pipe that is coupled forward from the center of the bottom surface of the support body 140 The lower end of the connection portion 143 is formed with a cylindrical body 141 is coupled to rotate to the outer cylinder 110a of the shaft portion 110, the connection portion 143 has an elliptical contact surface 230, The inner side of the central portion is equipped with a fastening portion 220 having a connection part fitting groove 225, the fastening portion 220 is formed through the hole 221 to support the knee rest 200 to fasten by the fastening bolt 222 Characterized in that formed.

그리고, 본 발명은 연결대(143)의 원통체(141)는 절개부에 의하여 체결조립되어 축부(110)의 실린더외통(110a)에 결합될 수 있는 것을 특징으로 한다.And, the present invention is characterized in that the cylindrical body 141 of the connecting table 143 is fastened and assembled by the incision to be coupled to the outer cylinder (110a) of the shaft portion (110).

또한, 본 발명은 축부(110)와, 상기 축부 상단에 회전가능하게 결합되는 것으로 사용자 착석을 위한 시트부(120)와, 상기 축부 하단에 결합되는 다리부(130)와, 그리고 상기 축부에서 결합되어 사용자의 가슴부위를 지지하는 가슴받이부(140)로 이루어진 의자용 가슴받이지지대 체결구조에 있어서, 가슴받이대(142)와 팔안치대(144)가 형성된 가슴받이부(140)의 저면 중앙에서 전방으로 향하여 결합되는 파이프로 된 연결부(143)가 형성되어 있고, 상기 연결부(143)의 하단에는 축부(110)의 실린더외통(110a)에 회전되도록 결합되는 원통체(141)가 형성되어 있는 것을 특징으로 한다.In addition, the present invention is coupled to the shaft portion 110, the seat portion 120 for seating the user to be rotatably coupled to the upper end of the shaft portion, the leg portion 130 is coupled to the lower end of the shaft portion, and coupled in the shaft portion In the fastening support structure for the chair support body consisting of a support body for supporting the user's breast portion 140, the bottom center of the bottom of the breast portion 140 formed with the support body 142 and arm rest 144 The connecting portion 143 is formed of a pipe coupled to the front in the forward direction, the lower end of the connecting portion 143 is formed with a cylindrical body 141 is coupled to rotate to the outer cylinder (110a) of the shaft portion 110 It is characterized by.

그리고, 본 발명은 가슴받이부(140)의 하부에는 볼트에 의하여 체결되는 결합부재(146)를 형성하되, 상기 결합부재(146)는 저면에 “ㅁ”자형 끼움홈통체(147)을 형성하고, 상기 끼움홈통체(147)에 고정공(143a)이 형성된 연결부(143)가 끼워져 끼움홈통체(147)의 체결공(148)과 체결볼트(149)에 의하여 체결 고정되는 것을 특징으로 하는 의자용 가슴받이지지대 체결구조이다.
And, the present invention forms a coupling member 146 is fastened by a bolt in the lower portion of the breast support 140, the coupling member 146 forms a "ㅁ" shaped fitting groove 147 on the bottom The chair is characterized in that the fastening hole 148 and the fastening bolt 149 of the fitting groove 147 is fitted into the connecting portion 143 is formed in the fitting groove 147, the fixing hole 143a It is a fastening structure for the breast support.

따라서, 본 발명은 가슴받이와 시트부를 각각 회전시킬수 있도록 하여 사용자가 원하는 방향으로 사용할 수 있으며, 가슴받이부의 중앙에 연결부를 연결하여 가슴받이의 기울기를 수평지게 하여 바른 자세를 가질 수 있으며, 발판을 가슴받이의 중앙부에 설치된 연결부에 연결하여 쉽게 탈착이 가능하며, 결국 가슴받이의 방향과 사람의 다리방향이 일치되게 하여 종국적으로는 바른 자세를 유지하게 하는 효과가 있는 것이다.Therefore, the present invention can be used in the user's desired direction by allowing each to rotate the breast and the seat portion, by connecting the connection to the center of the breast portion can have a correct posture by leveling the tilt of the breast, It is easy to attach and detach by connecting to the connection part installed in the center of the breast, and eventually the effect of maintaining the correct posture to match the direction of the breast and the leg of the person.

또한, 의자용 가슴받이와 가슴받이연결부가 일체로 이루어진 가슴받이부를 제품화하여 기존 가슴받이부가 장착되어 있지 않은 의자에도 편리하게 장착 가능하도록 함과 동시에 가슴받이연결부에 무릎받이나 다리를 올려 놓을 수 있는 다리받이를 결합할 수 있는 구조에 의하여 사람이 다리도 꼬아서 올려 놓을 수 있고, 무릎팍도 기댈 수 있고, 이를 발판으로 사용도 가능한 다용도 효과가 있는 것이며, 결착시에도 의자가 있는 상태에서 이를 구입하여 단숨에 체결할 수 있는 효과가 있는 것이다.
In addition, the product can be conveniently mounted on a chair that is not equipped with the existing bodyboard by commercializing the bodyboard body consisting of the bodyboard and the bodyboard connection part, and at the same time can put the kneerest or leg on the bodyboard connection The structure that can be combined with the legrest allows the person to twist the legs up, lean on the knees, and use it as a scaffold. The effect can be concluded at once.

도1은 종래 발명의 분해 사시도
도2는 종래 발명의 결합상태도
도3은 종래 발명인 무릎받이 의자의 원리를 나타낸 단면도
도4는 종래 발명의 무릎받이 의자의 일 실시예를 나타낸 개략 단면도
도5은 본 발명의 실시예의 분해 사시도
도6는 본 발명의 무릎받이대의 사시도
도7는 본 발명의 가슴받이부와 연결부를 결합하는 부품의 분해 사시도
도8은 본 발명의 의자 부분과 결합된 상태의 개략 사시도
도9은 본발명의 스프링이 장착된 캐스트와 고무통체의 작용관계를 나타낸 개략도
도10은 본 발명의 스프링이 장착된 캐스터의 일실시예
도11는 본 발명의 가슴받이 원통체의 다른 실시예의 개략 사시도
1 is an exploded perspective view of a conventional invention
Figure 2 is a combined state of the prior art
Figure 3 is a cross-sectional view showing the principle of the knee chair according to the prior art
Figure 4 is a schematic cross-sectional view showing one embodiment of the knee chair of the prior art
5 is an exploded perspective view of an embodiment of the present invention;
Figure 6 is a perspective view of the knee rest of the present invention
Figure 7 is an exploded perspective view of a part for coupling the breastrest and the connection portion of the present invention
Figure 8 is a schematic perspective view of the combined state of the chair portion of the present invention
Figure 9 is a schematic diagram showing the working relationship between the spring-loaded cast and the rubber cylinder of the present invention
Figure 10 is an embodiment of a spring-loaded caster of the present invention
Figure 11 is a schematic perspective view of another embodiment of the breast cylinder of the present invention

이하, 본 발명에 대하여 구체적인 실시예를 설명한다.EMBODIMENT OF THE INVENTION Hereinafter, specific Example is described about this invention.

본 발명은 축부(110)와, 상기 축부 상단에 회전가능하게 결합되는 것으로 사용자 착석을 위한 시트부(120)와, 상기 축부 하단에 결합되는 다리부(130)와, 그리고 상기 축부에서 결합되어 사용자의 가슴부위를 지지하는 가슴받이부(140)(또는 책상)로 이루어진다.The present invention is coupled to the shaft portion 110, the seat portion 120 for seating the user to be rotatably coupled to the upper end of the shaft portion, the leg portion 130 is coupled to the lower end of the shaft portion, and the user coupled to the shaft portion It consists of a breastrest 140 (or desk) to support the chest of the.

상기 가슴받이부(140)는 축부(110)에 조립 결합된 후 축부에 회전되게 구성되는 것으로, 축부(110)의 실린더외통(110a)에 끼워지는 원통체(141)와, 사용자의 가슴부위를 지지하기 위한 가슴받이대(142)와, 상기 가슴받이대와 원통체를 연결하는 연결부(143)를 포함하여 이루어진다.The breast plate 140 is configured to be rotated to the shaft portion after being assembled and coupled to the shaft portion 110, the cylindrical body 141 that is fitted to the cylinder outer cylinder 110a of the shaft portion 110 and the user's chest portion It includes a support body 142 for supporting, and a connecting portion 143 for connecting the support body and the cylindrical body.

따라서 축부(110)에 가슴받이부(140)를 연결시키는 구성으로는 축부의 실린더외통(110a)의 외경과 가슴받이부의 원통체(141) 내경을 회전이 가능하도록 내외경의 치수를 달리하여 빈틈을 두어 형성한다.Therefore, in the configuration connecting the chest 140 to the shaft 110, the gap between the outer diameter of the cylinder outer cylinder 110a of the shaft portion and the inner diameter of the cylindrical body 141 of the chest portion to be rotated by varying the dimensions of the inner and outer diameters. We put and form.

아울러 상기 가슴받이대(142)는 가슴받이대 양 측으로 팔을 걸 수 있는 팔안치대(144)를 더 구비하여 사용시 팔꿈치를 위치시킬 수 있도록 하였다.In addition, the breastrest 142 was further provided with an arm rest 144 that can hang the arms on both sides of the breastrest so as to position the elbows in use.

다음에는 가슴받이부와 연결부를 결합하는 방법에 대하여 설명한다.Next, a description will be given of how to combine the breast and the connecting portion.

도 7에서 보는 바와 같이, 가슴받이부(140)의 하부에는 볼트에 의하여 체결되는 결합부재(146)를 형성하되, 상기 결합부재(146)는 저면에 “ㅁ”자형 끼움홈통체(147)을 형성하고, 상기 끼움홈통체(147)에 고정공(143a)이 형성된 연결부(143)가 끼워지면서, 이의 고정을 위하여 상기 끼움홈통체(147)에는 체결공(148)을 형성하여 체결볼트(149)에 의하여 체결 고정되는 것이다.As shown in FIG. 7, the coupling member 146 is formed at the lower portion of the breastplate 140 by a bolt, and the coupling member 146 has a “ㅁ” shaped fitting groove 147 at the bottom thereof. Forming, the connection portion 143 is formed in the fitting groove 143a is formed in the fitting groove 147, the fastening bolt 149 by forming a fastening hole 148 in the fitting groove body 147 for fixing thereof It is fastened and fixed by).

따라서, 사람의 체형에 따라 가슴받이의 위치를 조절하고저 할 경우에는 체결볼트를 풀어 단계별로 설정된 고정공을 선정하여 체결하면 되는 것이다.Therefore, if you want to adjust the position of the breastplate according to the body type of the person, you can loosen the fastening bolt and select the fastening hole set in stages.

그리고, 시트부(120)의 뒤에는 도 8에서 보는 바와 같이, 의자등받이(180)가 각각에 형성된 결합부재(121)에 의하여 체결 결합되며, 통상의 의자 좌판보다는 작아야 하며, 제품의 정면으로 보아 가로부분의 길이와 세로부분의 길이의 비율은 3 : 2 정도함으로써, 사람의 엉덩이를 걸치고, 무릎은 무릎받이에 올릴 수 있게 되도록 좌판이 작아도 되며, 그리고 다소 경사지게 하여 자세가 앞으로 굽어지더라도 엉덩이도 앞으로 기울어지게 설계되어진다.And, as shown in Figure 8 behind the seat portion 120, the chair back 180 is fastened and coupled by the coupling member 121 formed in each, and should be smaller than the normal chair seat plate, horizontally viewed from the front of the product The ratio of the length of the part to the length of the vertical part is about 3: 2, so that the seat plate can be small so that the person can be put on the hips and the knees can be placed on the kneeboard, and the hips will be forward even if the posture is bent forward. It is designed to be tilted.

다음은 무릎받이대에 대하여 설명한다.The following describes the knee rest.

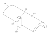
도 6에서 보는 바와 같이, 무릎받이대(200)는 다소 둥글게 형성되어 사람의 다리나 무릎이 닿는 각도가 다소 다르더라도 이를 수용할 수 있는 타원형상의 접촉면(230)의 구조를 가지며, 중앙부 안쪽 일측에는 연결부끼움홈(225)를 갖는 체결부(220)를 장착하며, 상기 체결부(220)에는 통공(221)을 형성하여 연결부(143)를 끼운 후 이를 고정하기 위하여 연결대(143)에 형성된 고정홈(143b)에 체결볼트(222)에 의하여 체결한다.As shown in Figure 6, the kneerest 200 is formed somewhat rounded to have a structure of an elliptical contact surface 230 that can accommodate even if the angle of the human leg or knee is slightly different, the connection portion on the inner side of the central portion The fastening part 220 having a fitting groove 225 is mounted, and the fastening part 220 is formed in the connection part 143 to form a through-hole 221 to insert the connection part 143 and then fix it. 143b) by fastening bolts (222).

이와 같은 무릎받이대는 도 8에서 "A"의 위치에 올 때는 다리를 접어서 편한 자세를 취할 수 있으며, "B"의 위치에서는 의자에 앉아 무릎을 기대어 놓을 수 있도록 조절될 수 있으며, "C"의 위치에서는 발판으로 사용가능하기도 한 것이다.Such knee support can be folded to take a comfortable position when coming to the position of "A" in Figure 8, in the position of "B" can be adjusted to sit on the chair to lean the knee, "C" In position, it can also be used as a scaffold.

다음은 다리부의 고정방법을 설명한다.The following describes how to fix the legs.

도 8, 9에서 보는 바와 같이, 다리연결부(130a~130e)에 등간격으로 상부에 스프링(S)이 탄지된 캐스터(132a, 132c, 132e)를 형성하고, 그 사이에는 고무통체(132b, 132d)를 형성하여, 사람이 앉지 않는 상태에서는 스프링에 의하여 다른 다리에 형성된 고무통체(132b, 132d)를 들어주게 되어 이동이 가능하게 되고, 만약 사람이 앉을 경우에는 캐스터(132a, 132c, 132e)와 고무통체(132b, 132d)가 지면에 동시에 닿게 되어 움직이지 않게 되어 이자가 안정감을 찾을 수 있게 되는 것이다.As shown in Figures 8 and 9, the casters (132a, 132c, 132e) in which the spring (S) is carried on the upper portion at equal intervals in the leg connection (130a ~ 130e), and the rubber cylinder (132b, 132d) between them ), In a state where the person is not sitting, the rubber cylinders (132b, 132d) formed on the other leg by the spring is lifted to be movable, if the person is sitting, casters (132a, 132c, 132e) and Rubber cylinders (132b, 132d) will be in contact with the ground at the same time will not move will be able to find a sense of stability.

다음은 스프링이 탄지된 캐스터의 일실시예를 설명한다.The following describes an embodiment of a spring-loaded caster.

도 10에서 보는 바와 같이, 캐스터는 캐스터카바(210)가 형성되어 있고, 그 내부에서 로울러(230)를 스프링(240)에 의하여 수직 이동케 하는 로울러안내대(220)가 안내축(260)에 의하여 상하로만 작동하는 구성이 나타나 있다.As shown in FIG. 10, the caster is provided with a caster cover 210, and a roller guide table 220 for vertically moving the roller 230 by a spring 240 therein is provided on the guide shaft 260. The configuration works only up and down is shown.

다음은 원통체의 클램핑 기구에 대하여 설명한다.Next, the clamping mechanism of the cylindrical body will be described.

도 11에서 보는 바와 같이, 원통체의 클램핑 기구는 2개로 절개되어 일측에는 힌지부(157)를 형성하고, 타측에는 절개된 2개의 반원통체를 볼트(155)(156)에 의하여 체결하여 고정하거나 통공(151a)을 크게하여 회전이 가능하도록 할 수 있는 것이다.
As shown in Figure 11, the clamping mechanism of the cylindrical body is cut into two to form a hinge portion 157 on one side, the other side is fastened by fixing the two semi-cylindrical body cut by bolts (155, 156) or The through hole 151a may be enlarged to enable rotation.

110 : 축수부
120 : 시트부
130 : 발판부
140 : 가슴받이부
141 : 원통체
142 : 가슴받이대
143 : 연결부
144 : 팔안치대
200 : 무릎받이대
110: bearing part
120: sheet portion
130: scaffolding
140: breastplate
141: cylindrical body
142: Breastplate
143 connection
144: arm rest
200: knee rest

Claims (5)

축부(110)와, 상기 축부 상단에 회전가능하게 결합되는 것으로 사용자 착석을 위한 시트부(120)와, 상기 축부 하단에 결합되는 다리부(130)와, 그리고 상기 축부에서 결합되어 사용자의 가슴부위를 지지하는 가슴받이부(140)로 이루어진 의자용 무릎받이 체결구조에 있어서, 가슴받이부(140)의 저면 중앙에서 전방으로 향하여 결합되는 파이프로 된 연결부(143)가 형성되어 있고, 상기 연결부(143)의 하단에는 축부(110)의 실린더외통(110a)에 회전되도록 결합되는 원통체(141)가 형성되어 있고, 상기 연결부(143)에는 타원형상의 접촉면(230)을 갖고 있으며, 중앙부 안쪽 일측에는 연결부끼움홈(225)를 갖는 체결부(220)를 장착하고, 상기 체결부(220)에는 통공(221)을 형성하여 체결볼트(222)에 의하여 체결하는 무릎받이대(200)를 형성한 것을 특징으로 하는 의자용 무릎받이 체결구조
The shaft portion 110, the seat portion 120 for the user seated to be rotatably coupled to the upper end of the shaft portion, the leg portion 130 is coupled to the lower end of the shaft portion, and coupled to the shaft portion of the user's chest In the kneerest fastening structure for the chair consisting of a supporter 140 for supporting a, a connection part 143 made of a pipe which is coupled forward from the center of the bottom of the supporter 140 is formed, the connection part ( 143 is formed at the lower end of the cylindrical body 141 is coupled to rotate to the outer cylinder 110a of the shaft portion 110, the connecting portion 143 has an elliptical contact surface 230, the inner side of the central portion The fastening part 220 having a connection part fitting groove 225 is mounted, and the fastening part 220 forms a through hole 221 to form a knee rest 200 which is fastened by the fastening bolt 222. Characterized by a chair Results Structure
제1항에 있어서, 연결대(143)의 원통체(141)는 절개부에 의하여 체결조립되어 축부(110)의 실린더외통(110a)에 결합될 수 있는 것을 특징으로 하는 의자용 무릎받이 체결구조
The method according to claim 1, the cylindrical body 141 of the connecting table 143 is fastened and assembled by the incision portion of the kneerest fastening structure for the chair, characterized in that can be coupled to the outer cylinder (110a) of the shaft portion (110)
축부(110)와, 상기 축부 상단에 회전가능하게 결합되는 것으로 사용자 착석을 위한 시트부(120)와, 상기 축부 하단에 결합되는 다리부(130)와, 그리고 상기 축부에서 결합되어 사용자의 가슴부위를 지지하는 가슴받이부(140)로 이루어진 의자용 가슴받이지지대 체결구조에 있어서, 가슴받이대(142)와 팔안치대(144)가 형성된 가슴받이부(140)의 저면 중앙에서 전방으로 향하여 결합되는 파이프로 된 연결부(143)가 형성되어 있고, 상기 연결부(143)의 하단에는 축부(110)의 실린더외통(110a)에 회전되도록 결합되는 원통체(141)가 형성되어 있는 것을 특징으로 하는 의자용 무릎받이 체결구조
The shaft portion 110, the seat portion 120 for the user seated to be rotatably coupled to the upper end of the shaft portion, the leg portion 130 is coupled to the lower end of the shaft portion, and coupled to the shaft portion of the user's chest In the fastening support structure for the chair consisting of the supporter body support bracket 140, the supporter 142 and arm restrest 144 is coupled toward the front from the center of the bottom surface of the supporter 140 is formed The connecting portion 143 is formed of a pipe, and the lower end of the connecting portion 143 is a chair characterized in that the cylindrical body 141 is coupled to be rotated to the outer cylinder 110a of the shaft portion 110 is formed. Knee Support Structure
제3항에 있어서, 상기 가슴받이부(140)의 하부에는 볼트에 의하여 체결되는 결합부재(146)를 형성하되, 상기 결합부재(146)는 저면에 “ㅁ”자형 끼움홈통체(147)을 형성하고, 상기 끼움홈통체(147)에 고정공(143a)이 형성된 연결부(143)가 끼워져 끼움홈통체(147)의 체결공(148)과 체결볼트(149)에 의하여 체결 고정되는 것을 특징으로 하는 의자용 무릎받이 체결구조
According to claim 3, Wherein the lower portion of the breast portion 140 is formed a coupling member 146 is fastened by a bolt, the coupling member 146 has a "ㅁ" shaped fitting groove 147 on the bottom And a connection part 143 having a fixing hole 143a formed in the fitting groove 147 is fastened and fixed by the coupling hole 148 and the fastening bolt 149 of the fitting groove 147. Knee Support Structure
제3항 또는 제4항에 있어서, 상기 다리부(130)에는 다리연결부(130a~130e)에 등간격으로 상부에 스프링(S)이 탄지된 캐스터(132a, 132c, 132e)를 형성하고, 그 사이에는 고무통체(132b, 132d)를 형성한 것을 특징으로 하는 의자용 무릎받이 체결구조The caster 132a, 132c, or 132e of which the spring S is supported on the leg connection portions 130a to 130e at equal intervals is formed in the leg portion 130, The chair seat fastening structure for the chair, characterized in that the rubber cylinder (132b, 132d) formed between
KR1020120026224A 2012-03-14 2012-03-14 Knee support structure for chair Ceased KR20130104601A (en)

Priority Applications (1)

Application Number Priority Date Filing Date Title
KR1020120026224A KR20130104601A (en) 2012-03-14 2012-03-14 Knee support structure for chair

Applications Claiming Priority (1)

Application Number Priority Date Filing Date Title
KR1020120026224A KR20130104601A (en) 2012-03-14 2012-03-14 Knee support structure for chair

Publications (1)

Publication Number Publication Date
KR20130104601A true KR20130104601A (en) 2013-09-25

Family

ID=49453404

Family Applications (1)

Application Number Title Priority Date Filing Date
KR1020120026224A Ceased KR20130104601A (en) 2012-03-14 2012-03-14 Knee support structure for chair

Country Status (1)

Country Link
KR (1) KR20130104601A (en)

Cited By (1)

* Cited by examiner, † Cited by third party
Publication number Priority date Publication date Assignee Title
CN106690975A (en) * 2016-12-13 2017-05-24 重庆佐恩家具有限公司 Self-warning seat

Citations (3)

* Cited by examiner, † Cited by third party
Publication number Priority date Publication date Assignee Title
KR200199888Y1 (en) * 2000-05-25 2000-10-16 정관영 Chair having a movable stepping board
CN201226989Y (en) * 2008-06-20 2009-04-29 赵连民 Simple posture-correction chair
KR101066240B1 (en) * 2010-11-09 2011-09-21 (주)디오네 Body correction chair for focused posture and healthy waist

Patent Citations (3)

* Cited by examiner, † Cited by third party
Publication number Priority date Publication date Assignee Title
KR200199888Y1 (en) * 2000-05-25 2000-10-16 정관영 Chair having a movable stepping board
CN201226989Y (en) * 2008-06-20 2009-04-29 赵连民 Simple posture-correction chair
KR101066240B1 (en) * 2010-11-09 2011-09-21 (주)디오네 Body correction chair for focused posture and healthy waist

Cited By (1)

* Cited by examiner, † Cited by third party
Publication number Priority date Publication date Assignee Title
CN106690975A (en) * 2016-12-13 2017-05-24 重庆佐恩家具有限公司 Self-warning seat

Similar Documents

Publication Publication Date Title
US9801472B2 (en) Upright active-sitting seat
JP6970179B2 (en) Chair with exercise means
US7478867B2 (en) Breastfeeding chair
US8052217B2 (en) Adjustable ergonomic chair
KR101348803B1 (en) The chair for protect a backbone and a waist
US9913541B2 (en) Adjustable seating assembly
US9750968B2 (en) Exercising implements and methods of use for performing muscular stretching exercises, respiration exercises, and resistance training
US9707449B2 (en) Waist twisting apparatus
KR20130104601A (en) Knee support structure for chair
KR101066240B1 (en) Body correction chair for focused posture and healthy waist
WO2009107909A1 (en) Chair for handicapped person
KR101165345B1 (en) A Dest Having Knee Support
JP6964373B1 (en) Toilet railing device
KR101386314B1 (en) A chair auxiliary device for keeping a mounted posture and correcting user's sitting posture
KR200464105Y1 (en) Structure of chair for knee
KR101293111B1 (en) A inversion apparatus having rocking chair function
CA2815599C (en) Upright active-sitting seat
KR20130005809U (en) Structure of chair for knee
JP7054290B1 (en) Toilet railing device
KR20130001400U (en) Functional Chair
JP2600757Y2 (en) Forward bending posture prevention chair
KR20130005808U (en) Structure of flame in chair
KR200462315Y1 (en) Chair for supporting a user's chest
KR200318500Y1 (en) Chair for leisure
AU2008201511B1 (en) A pair of armpit supports

Legal Events

Date Code Title Description
PA0109 Patent application

Patent event code: PA01091R01D

Comment text: Patent Application

Patent event date: 20120314

PG1501 Laying open of application
PA0201 Request for examination

Patent event code: PA02012R01D

Patent event date: 20170314

Comment text: Request for Examination of Application

Patent event code: PA02011R01I

Patent event date: 20120314

Comment text: Patent Application

E902 Notification of reason for refusal
PE0902 Notice of grounds for rejection

Comment text: Notification of reason for refusal

Patent event date: 20180420

Patent event code: PE09021S01D

E601 Decision to refuse application
PE0601 Decision on rejection of patent

Patent event date: 20181029

Comment text: Decision to Refuse Application

Patent event code: PE06012S01D

Patent event date: 20180420

Comment text: Notification of reason for refusal

Patent event code: PE06011S01I