KR20130083380A - 마이크로일렉트로닉 워크피이스를 처리하기 위하여 사용되는 공구의 공구표면 세정방법 - Google Patents

마이크로일렉트로닉 워크피이스를 처리하기 위하여 사용되는 공구의 공구표면 세정방법 Download PDF

Info

Publication number
KR20130083380A
KR20130083380A KR1020127026983A KR20127026983A KR20130083380A KR 20130083380 A KR20130083380 A KR 20130083380A KR 1020127026983 A KR1020127026983 A KR 1020127026983A KR 20127026983 A KR20127026983 A KR 20127026983A KR 20130083380 A KR20130083380 A KR 20130083380A
Authority
KR
South Korea
Prior art keywords
fluid
workpiece
cleaning
processing
microelectronic
Prior art date
Legal status (The legal status is an assumption and is not a legal conclusion. Google has not performed a legal analysis and makes no representation as to the accuracy of the status listed.)
Granted
Application number
KR1020127026983A
Other languages
English (en)
Other versions
KR101641600B1 (ko
Inventor
마크 에이. 스타이어
데이비드 데크라커
Original Assignee
에프에스아이 인터내쇼날 인크.
Priority date (The priority date is an assumption and is not a legal conclusion. Google has not performed a legal analysis and makes no representation as to the accuracy of the date listed.)
Filing date
Publication date
Application filed by 에프에스아이 인터내쇼날 인크. filed Critical 에프에스아이 인터내쇼날 인크.
Publication of KR20130083380A publication Critical patent/KR20130083380A/ko
Application granted granted Critical
Publication of KR101641600B1 publication Critical patent/KR101641600B1/ko
Expired - Fee Related legal-status Critical Current
Anticipated expiration legal-status Critical

Links

Images

Classifications

    • H10P72/0414
    • H10P72/00
    • HELECTRICITY
    • H01ELECTRIC ELEMENTS
    • H01LSEMICONDUCTOR DEVICES NOT COVERED BY CLASS H10
    • H01L21/00Processes or apparatus adapted for the manufacture or treatment of semiconductor or solid state devices or of parts thereof
    • H01L21/67Apparatus specially adapted for handling semiconductor or electric solid state devices during manufacture or treatment thereof; Apparatus specially adapted for handling wafers during manufacture or treatment of semiconductor or electric solid state devices or components ; Apparatus not specifically provided for elsewhere
    • H01L21/67005Apparatus not specifically provided for elsewhere
    • H01L21/67011Apparatus for manufacture or treatment
    • H01L21/67017Apparatus for fluid treatment
    • H01L21/67028Apparatus for fluid treatment for cleaning followed by drying, rinsing, stripping, blasting or the like
    • H01L21/6704Apparatus for fluid treatment for cleaning followed by drying, rinsing, stripping, blasting or the like for wet cleaning or washing
    • H01L21/67051Apparatus for fluid treatment for cleaning followed by drying, rinsing, stripping, blasting or the like for wet cleaning or washing using mainly spraying means, e.g. nozzles
    • BPERFORMING OPERATIONS; TRANSPORTING
    • B08CLEANING
    • B08BCLEANING IN GENERAL; PREVENTION OF FOULING IN GENERAL
    • B08B3/00Cleaning by methods involving the use or presence of liquid or steam
    • BPERFORMING OPERATIONS; TRANSPORTING
    • B08CLEANING
    • B08BCLEANING IN GENERAL; PREVENTION OF FOULING IN GENERAL
    • B08B3/00Cleaning by methods involving the use or presence of liquid or steam
    • B08B3/02Cleaning by the force of jets or sprays
    • BPERFORMING OPERATIONS; TRANSPORTING
    • B08CLEANING
    • B08BCLEANING IN GENERAL; PREVENTION OF FOULING IN GENERAL
    • B08B3/00Cleaning by methods involving the use or presence of liquid or steam
    • B08B3/04Cleaning involving contact with liquid

Landscapes

  • Engineering & Computer Science (AREA)
  • Physics & Mathematics (AREA)
  • Condensed Matter Physics & Semiconductors (AREA)
  • General Physics & Mathematics (AREA)
  • Manufacturing & Machinery (AREA)
  • Computer Hardware Design (AREA)
  • Microelectronics & Electronic Packaging (AREA)
  • Power Engineering (AREA)
  • Cleaning Or Drying Semiconductors (AREA)
  • Cleaning By Liquid Or Steam (AREA)

Abstract

본 발명은 하나 이상의 마이크로일렉트로닉 워크피이스를 처리하기 위하여 사용되는 공구의 공구표면을 세정하는 개선된 방법과 장치를 제공한다. 본 발명은 특히 처리실 상부의 덮개와 같은 부분으로서 기능을 수행하는 것과 같이 처리되는 워크피이스의 상부에 배치되고 워크피이스 상에 테이퍼형 유동채널을 형성하는 구조물의 하측면을 세정하는데 사용될 수 있다. 공구표면에 대하여 스프레이되는 세정액이 지나치게 튀기거나 작은 방울 또는 안개상태를 발생하는 대신에, 세정되는 표면으로부터 상류측의 적어도 하나의 유체통로의 표면에서 세정액의 와류유동이 발생된다. 이러한 와류유동은 평활하고 균일한 습윤 및 넓게 전개되는 시이팅 작용이 이루어지도록 하여 입자오염을 크게 줄이고 세정이 이루어질 수 있도록 한다.

Description

마이크로일렉트로닉 워크피이스를 처리하기 위하여 사용되는 공구의 공구표면 세정방법 {METHODOLOGIES FOR RISING TOOL SURFACES IN TOOLS USED TO PROCESS MICROELECTRONIC WORKPIECES}
본 출원은 그 전체 내용이 본문에 실린 2010년 6월 11일자 출원된 미국가특허출원 제61/353,931호 "마이크로일렉트로닉 워크피이스를 처리하기 위하여 사용되는 공구의 공구표면 세정방법"의 우선권을 주장한다.
본 발명은 마이크로일렉트로닉 워크피이스(microelectronic workpieces)를 처리하기 위하여 사용되는 공구의 공구표면을 세정하는 개선된 방법과 장치에 관한 것이다. 특히, 본 발명은 하나 이상의 마이크로일렉트로닉 워크피이스가 처리되는 처리실을 덮는데 사용되는 덮개의 하측면과 같은 공구표면을 세척하기 위한 세정액의 와류를 발생하고 사용하는 것에 관한 것이다.
마이크로일렉트로닉 산업분야에서는 다양한 방법을 이용하여 마이크로일렉트로닉 장치를 제조하고 있다. 대부분의 방법은 요구된 방식에 따라서 여러 상이한 종류의 처리유체가 피가공물, 즉, 워크피이스에 접촉토록 하는 일련의 처리과정으로 이루어져 있다. 이들 유체는 액체, 기체 또는 이들의 조합일 수 있다. 일부 처리방법에 있어서, 고체가 액체내에 현탁되거나 용해될 수 있으며 또는 기체내에 혼입될 수 있다.
마이크로일렉트로닉 워크피이스를 처리하기 위한 혁신적인 공구가 본원 출원인의 미국특허 7,681,581(이후 본원 출원인의 특허 제1호라 함)과, 상기 특허와 동일자로 출원하여 공개된 미국특허공개공보 US-2007-0245954-A1(대리인목록 No. FSI0166/US, 이후 동일자 출원 제1호라 함); 2008-0271763-A1(대리인목록 No. FSI0166/US/2, 이후동일자 출원 제2호라 함); US-2008-0008834-A1 (대리인목록 No. FSI0202/US, 이후 동일자 출원 제3호라 함); 2009-0038647-A1 (대리인목록 No. FSI0215/US, 이후 동일자 출원 제4호라 함)과; 2009-0280235-A1 (대리인목록 No. FSI0218/US, 이후 동일자 출원 제5호라 함). 상기 미국특허 7,681,581과 이들 동일자 미국특허출원의 내용이 본문에 참조된다.
상기 언급된 미국특허 7,681,581과 동일자 미국특허출원에 기술된 공구의 처리단의 실시형태는 유리하게 하나 이상의 덕트통로가 선택적으로 개방되고 폐쇄되는 내포형 덕트구조를 포함한다. 예를 들어, 구조물들이 멀어지면, 덕트통로가 개방되고 구조물 사이에서 확장된다. 구조물들이 가까워지면, 구조물 사이의 덕트가 폐쇄되고 크기가 작아진다. 우선 실시형태에 있어서는 가동형 덕트구조물이 어떻게 배치되느냐에 따라서 동일한 공간내에 다수의 덕트가 존재할 수 있다. 이와 같이 다수의 덕트는 단 하나의 덕트에 의하여 점유되는 공간 보다 약간 넓은 공간을 점유할 수 있다. 덕트는 재활용, 폐기 또는 다른 취급을 위한 액체 및/또는 기체를 포함하는 다양한 처리유체를 포획하는데 사용된다. 교차오염(cross-contamination)을 최소화하거나 여러 유체에 대한 독특한 포획프로토클을 이용하기 위하여 여러 독립된 덕트로 다양한 처리유체가 회수될 수 있다. 덕트 구조물의 내포형 특성 때문에, 또한 덕트 시스템은 매우 콤팩트한 구조가 된다.
또한 상기 언급된 미국특허 7,681,581과 그 동일자 미국특허출원은 혁신적인 스프레이 노즐/베리어 구조를 기술하고 있다. 이러한 구조는 스프레이, 중앙공급식 분배, 가스 또는 증기의 도입과 같은 여러 방식으로 처리물질을 분배하기 위한 역량을 포함한다. 베리어 구조물은 그 하측에 놓인 워크피이스를 덮는다. 베리어 구조물의 하측면은 우선실시형태에서 워크피이스상에 테이퍼형의 유동채널을 형성할 수 있도록 구성된다. 이러한 방식은 많은 이점을 준다. 테이퍼형 유동채널은 재순환영역을 최소화하면서 워크피이스의 중심부로부터 외측으로 향하는 방사상 유동을 촉진하는데 도움을 준다. 또한 테이퍼형 구조는 워크피이스의 외측변부로 접근하는 유체를 원활하게 수렴하고 이러한 유체의 유동속도를 증가시키는데 도움을 준다. 이는 액체의 비산효과를 줄이는데 도움을 준다. 또한 하측면의 각도는 하측면의 액체가 외측변부를 향하여 배출될 수 있도록 하는데 도움을 준다. 또한 테이퍼형 구조는 워크피이스 측으로 입자가 재순환하는 것을 줄이는데 도움을 준다. 또한 이러한 구조는 유체의 양호한 봉쇄에 의하여 효율적인 화학물질의 회수가 용이하게 이루어질 수 있도록 하는데 도움을 준다.
이들 모든 이점에도 불구하고 아직 추가 개선이 요구된다. 첫째로, 워크피이스를 처리하는 과정중에, 베리어 구조물의 하측면에는 처리중에 또는 베리어 구조물의 세정으로 사용된 액체의 방울이나 박막이 묻을 수 있다. 예를 들어 본원 출원인의 동일자 출원 제3호는 세정튜브가 처리실측으로 연장된 연장관을 통하여 하측으로 안내되고 연장관이 베리어 구조물의 중앙영역을 통하여 처리실측으로 향하는 배출경로를 제공하는 세정방식을 기술하고 있다. 세정튜브는 처리실 측으로 연장되어 이들의 단부가 베리어 구조물의 하측면과 동일한 높이에 놓인다. 세정액이 튜브의 단부에 착설된 노즐을 통하여 하측면 측으로 스프레이된다. 본원 출원인의 동일자 출원 제4호는 처리실로부터 상류측 표면에 세정액의 유동류를 발생하기 위하여 세정 매니폴드를 이용하는 것을 기술하고 있다. 세정액은 이들 표면을 따라 원활하게 이송되고 베리어 구조물의 하측을 적신다.
이들 방식이 베리어 구조물을 효과적으로 세정하기는 하나, 그 결과의 세정작용은 베리어 구조물에 부딪칠 때 세정액이 튀기거나 흐르는 것이 요구된 것 보다 더 큰 경향을 보인다. 이로써 세정액이 방울이나 안개상태가 되어 하측에 놓인 워크피이스의 하측면이 입자로 오염된다. 또한, 이들 방식에서 세정액의 정렬 및 공급패턴을 구성하는 것이 매우 어렵다. 튜브와 노즐은 습기를 수집할 수 있어 습기가 흘러 오염될 수 있다. 또한 튜브와 노즐은 처리실을 향하는 액체나 기체의 흐름을 차단할 수 있다. 따라서 개선된 세정방법이 요구된다.
본 발명은 하나 이상의 마이크로일렉트로닉 워크피이스를 처리하기 위하여 사용되는 공구의 공구표면을 세정하는 개선된 방법과 장치를 제공한다. 본 발명은 특히 처리실 상부의 덮개와 같은 부분으로서 기능을 수행하는 것과 같이 처리되는 워크피이스의 상부에 배치되고 워크피이스 상에 테이퍼형 유동채널을 형성하는 가동형 베리어 플레이트와 같은 덮개나 다른 구조물의 하측면을 세정하는데 사용될 때 유리하다. 공구표면에 대하여 스프레이되는 세정액이 지나치게 튀기거나 작은 방울 또는 안개상태를 발생하는 대신에, 세정되는 표면으로부터 상류측의 적어도 하나의 유체통로의 표면에서 세정액의 와류유동이 발생된다. 이러한 와류유동은 평활하고 균일한 습윤 및 넓게 전개되는 시이팅(sheeting) 작용이 이루어지도록 하여 입자오염을 크게 줄이고 세정이 이루어질 수 있도록 한다.
유리하게, 예시된 실시형태는 매우 적은 구성요소로 구성되고 용이하게 조립될 수 있으며 개선된 신뢰성을 보인다. 이들 구성요소는 제작, 운반 또는 사용중에 일어날 수 있는 정렬상태의 변화가 매우 적다. 더욱이 이는 제작과 사용이 용이하도록 하는 반면에 본 발명이 광범위한 허용범위에서 고도의 세정성능을 유지할 수 있도록 한다. 와류유동패턴은 세정되는 표면의 개선된 도포와 습윤균일성을 제공한다. 실질적으로 표면구조물의 완전하고 균일한 습윤처리가 용이하게 이루어질 수 있다. 와류작용은 세정제가 하측에 놓인 워크피이스 측으로 낙하하지 않고 덮개 또는 다른 구조물을 습윤시킬 수 있다.
본 발명의 한 관점에서 장치를 세정하는 방법이 제공된다. 이러한 방법은 a) 처리되는 동안에 적어도 하나의 마이크로일렉트로닉 워크피이스가 배치되는 처리실과 적어도 하나의 워크피이스상에 놓여 이를 부분적으로 덮는 하측면을 포함하는 구조물로 구성되는 장치를 제공하는 단계, b) 세정유체의 와류유동을 발생하는 조건하에서 환상갭 또는 그 부분을 향하여 경사지게 세정유체를 향하도록 하는 단계와, c) 세정유체의 와류유동이 구조물의 하측면을 습윤시킬 수 있도록 하는 단계로 구성된다.
본 발명의 다른 관점에서 적어도 하나의 마이크로일렉트로닉 워크피이스를 처리하기 위한 장치가 제공된다. 이 장치는 a) 처리중에 적어도 하나의 마이크로일렉트로닉 워크피이스가 배치될 수 있는 처리실, b) 하측면과 일반적으로 환상의 갭을 포함하고 하측면이 처리중에 적어도 하나의 워크피이스 상에 놓이고 이를 부분적으로 덮는 구조물, d) 유체가 환상갭 측으로 방출될 때 환상갭에 유체의 연통이 이루어지고 유체가 경사지게 향함으로서 유체의 와류유동이 이루어지도록 하는 적어도 하나의 노즐과, e) 유체의 와류유동이 구조물의 하측면을 향하도록 하는 적어도 하나의 벽으로 구성된다.
본 발명의 다른 관점에서 적어도 하나의 마이크로일렉트로닉 워크피이스를 처리하기 위한 장치가 제공된다. 이 장치는 a) 처리중에 적어도 하나의 마이크로일렉트로닉 워크피이스가 배치될 수 있는 처리실, b) 처리중에 적어도 하나의 워크피이스 상에 놓여 이를 적어도 부분적으로 덮는 하측면을 포함하는 구조물, c) 처리실 측으로 향하는 출구를 제공하고 구조물의 하측면에 유체적으로 결합된 경로면(pathway surface)을 포함하는 적어도 하나의 발산경로와, d) 유체가 환상갭 측으로 방출될 때 환상갭 측으로 유체가 경사지게 향함으로서 유체의 와류유동이 이루어지도록 하는 적어도 하나의 노즐로 구성되고, 환상갭은 경로면의 상류측에서 유체적으로 결합되어 환상갭내에서 발생된 유체의 와류유동이 발산경로의 적어도 경로면을 포함하는 하나 이상의 면을 통하여 구조물의 하측면으로 이송된다.
본 발명의 상기 이점과 다른 이점들, 그리고 이들을 얻기 위한 방법이 이후 명백하게 될 것이며, 본 발명은 첨부도면에 따라서 설명되는 본 발명 실시형태의 실시형태를 참조하여 상세히 설명될 것이다.
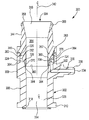
도 1은 본 발명의 원리가 결합된 단일웨이퍼 처리공구의 개략설명도.
도 2는 도 1의 공구에 사용되는 컬러를 상측에서 본 사시도.
도 3은 도 1의 공구에 사용되는 컬러를 하측에서 본 사시도.
도 4는 도 1의 공구에 사용되는 칼라에 착설된 흡입매니폴드를 보인 측단면도.
도 5는 도 1의 공구에 사용된 흡입매니폴드조립체를 상측에서 본 사시도.
도 6은 도 1의 공구에 사용된 흡입매니폴드조립체를 하측에서 본 사시도.
도 7은 도 1의 공구에 사용된 흡입매니폴드조립체의 측단면도.
도 8은 도 5 - 도 7의 흡입매니폴드조립체에 사용된 커버를 상측에서 본 사시도.
도 9는 도 5 - 도 7의 흡입매니폴드조립체에 사용된 커버를 하측에서 본 사시도.
도 10은 도 5 - 도 7의 흡입매니폴드조립체에 사용된 베이스를 상측에서 본 사시도.
도 11은 도 5 - 도 7의 흡입매니폴드조립체에 사용된 베이스를 하측에서 본 사시도.
도 12는 도 10에서 보인 베이스의평면도.
도 13은 도 8에서 보인 커버의 평면도.
이하 설명되는 본 발명의 실시형태는 다음으로 상세히 설명되는 정확한 형태로 본 발명을 제한하는 것은 아니다. 실시형태는 본 발명의 기술분야에 정통한 전문가가 본 발명의 원리와 실제를 이해할 수 있도록 선택되어 기술된 것이다.
본 발명의 원리는 단일의 워크피이스 또는 다량의 워크피이스를 처리하는 공구에 관련하여 사용될 수 있다. 설명을 위하여, 도 1은 예시적인 공구(10)를 보인 것으로, 이는 본 발명의 원리가 결합되고 단일의 워크피이스(12)가 공구(10)내에 수용된 후 액체나 기체 또는 다른 처리매체가 워크피이스(12)에 접촉하게 되는 하나 이상의 처리가 이루어지는 형태이다. 예를 들어 마이크로일렉트로닉스 산업분야에서, 이러한 공구(10)는 단일웨이퍼 처리공구라 할 수 있다. 워크피이스(12)는 전형적으로 반도체 웨이퍼 또는 기타 제조과정상의 마이크로일렉트로닉 기판을 포함한다. 비록 본 발명의 원리가 공구(10)의 관점에서 설명되나, 본 발명의 원리는 광범위한 다른 마이크로일렉트로닉 처리시스템에 세정기능을 결합시키는데 이용될 수 있다.
도 1에서 개략적으로 보인 바와 같이 공구(10)는 일반적으로 주요조립체로서 베이스부분(14)과 베리어/분배부분(16)을 포함한다. 실제의 이용에 있어서, 베이스부분(14)과 베리어/분배부분(16)은 공구(10)의 골격(도시하지 않았음)에 설치되고 하우징(도시하지 않았음)내에 수용될 것이다. 이러한 설치는 스크류, 볼트, 리벳, 접착제, 용접, 클램프, 브래킷, 또는 이들의 조합과 같은 다양한 방법으로 이루어질 수 있다. 바람직하기로는 이들 베이스부분(14)과 베리어/분배부분(16)이 유지보수나 업그레이드 또는 교체가 용이하도록 독립적으로 분리가능하게 설치되는 것이다.
베이스부분(14)과 베리어/분배부분(16)은 처리중에 워크피이스(12)가 배치되는 처리실(18)을 형성할 수 있도록 한다. 베이스부분(14) 및/또는 베리어/분배부분(16)은 워크피이스(12)가 처리실(18)에 공급되고 이로부터 인출될 수 있도록 하는 하나 이상의 구조 또는 능력을 포함한다. 이러한 구조와 능력은 예를 들어 요구된 출구를 제공할 수 있도록 개방되거나 폐쇄되는 도어(도시하지 않았음)를 포함한다. 또한 우선실시형태로서 고려될 수 있는 것으로서, 베이스부분(14)과 베리어/분배부분(16)중에서 하나 또는 양측은 이러한 출구를 제공하기 위하여 상대측에 대하여 이동가능하게 되어 있다. 편리하게, 이러한 상대운동은 예시된 실시형태에서 예를 들어 주위의 골격(도시하지 않았음)에 베이스부분(14)의 적어도 일부분을 고정한 상태에서 베리어/분배부분(16)을 승강시켜 이루어질 수 있다. 베이스부분(14)이 본원 출원인의 동일자 출원 제1호 및 제2호에 기술된 바와 같은 하나 이상의 가동형 배플부재를 포함하는 실시형태에서, 배플부재가 이러한 출구의 제공이 용이하도록 승강될 수 있다.
일반적으로 베이스부분(14)은 하우징(20), 척(chuck)(22), 배면측 분배헤드(26)와, 환상의 배플부재(34, 36, 38)를 포함한다. 척을 회전구동시키기 위하여 모터(도시하지 않았음)가 사용된다. 처리실(18)의 내부에서, 워크피이스(12)는 척(22)에 의하여 지지되고 고정된다. 척(22)은 고정되어 있거나 중심축선을 중심으로 하여 회전될 수 있다. 설명을 위하여, 도면은 척(22)이 모터(도시하지 않았음)에 의하여 회전구동되어 워크피이스(12)가 처리중에 축선을 중심으로 하여 회전될 수 있는 공구(10)의 실시형태를 보이고 있다. 워크피이스(12)가 회전하는 척(22)에 의하여 회전되는 실시형태에서, 회전은 공급되는 처리물질이 워크피이스(12)상에 균일하게 분산될 수 있도록 하는데 도움이 된다.
척(22)은 이제 또는 이후에 전개되는 통상적인 실시형태에 따라서 다양한 방식으로 워크피이스(12)를 고정할 수 있다. 좋기로는, 척(22)은 워크피이스(12)와 이러한 척(22) 사이에 갭(28)이 형성되도록 워크피이스를 고정적으로 고정하는 변부파지구조물(도시하지 않았음)를 포함한다. 이러한 종류의 배치는 세정수를 포함하는 처리화학제가 워크피이스(12)의 상부면 또는 하부면에 공급될 수 있도록 한다.
선택적으로, 공구(10)는 워크피이스(12)의 하측면을 처리하기 위한 분배구조물을 포함할 수 있다. 예시된 배면측 분배기구는 일반적으로 원형인 배면측 분배헤드(26)로서 도시되어 있으며 이를 통하여 하나 이상의 처리화학제가 워크피이스(12)의 하측면을 향하여 공급된다. 처리화학제는 척(22)의 중앙공(32)을 관통하는 축(30)을 통하여 배면측 분배헤드(26)에 공급된다. 척(22)이 회전하는 실시형태에서, 축(30)과 중앙공(32) 사이에 갭이 형성되어 척(22)이 회전될 때 이들 부분이 접촉하지 않는다. 배면측 분배헤드(26)는 필요에 따라 공급되거나 혼합될 때 공급되어야 하는 처리화학제의 하나 이상의 공급수단(도시하지 않았음)에 결합될 수 있다.
처리실(18)을 둘러싸는 하우징(20)은 일반적으로 베이스 팬(base pan)(33)과 가동형의 환상 배플부재(34, 36, 38)를 포함한다. 배플부재(34, 36, 38)는 배출덕트(42, 44)의 적어도 일부분을 형성하는 가동형 경계부를 제공한다. 덕트(42, 44)는 재활용, 폐기, 또는 기타 다른 취급을 위한 여러 처리유체를 포획하는데 사용된다. 교차오염을 최소화하고 여러 유체를 위한 독특한 포획 프로토콜을 이용하기 위하여 여러 처리유체가 여러 독립된 덕트에서 회수될 수 있다. 각 덕트(42, 44)는 워크피이스(12)의 외주연에 근접하여 각각의 유입구(41, 43)를 갖는다. 각 덕트(42, 44)는 물질이 배출되는 각각의 유출구(44, 46)를 갖는다.
인접한 배플부재는 상대측에 대하여 이동하여 덕트 경로를 폐쇄하거나 개방한다. 예를 들어, 인접한 배플부재가 상대측으로부터 멀어지는 방향으로 이동될 때, 덕트 경로는 이들 사이에서 개방되고 배플부재 사이에서 확대된다. 배플부재가 상대측을 향하여 이동될 때, 이들 사이의 덕트는 폐쇄되고 크기가 감소된다. 설명을 위하여, 상부 배플부재(34)와 중간 배플부재(36) 사이의 배출덕트(40)가 개방되는 반면에, 중간 배플부재(36)와 하부 배플부재(38) 사이의 하측 배출덕트(42)는 폐쇄된다.
설명을 위하여, 공구(10)는 가동형이고 중첩가능한 3개의 배플부재(34, 36, 38)를 포함하고 이들 부재 사이에 두개의 배출덕트(42)(44)가 형성될 수 있다. 그러나, 본 발명의 다른 실시형태에서는 이보다 더 많거나 적은 배플부재를 포함할 수 있으며 이에 따라 더 많거나 적은 배출덕트를 포함할 수 있다.
베이스부분(14)과 베리어/분배부분(16) 사이에는 갭(48)이 형성될 수 있다. 공구(10)가 주위로부터 또는 다른 소오스로부터의 산소가 처리실(18)로부터 배제되어야 하는 워크피이스(12)의 처리와 같은 폐쇄모드의 작동으로 작동될 때, 이러한 갭(48)은 폐쇄되거나 제거되어 이러한 갭(48)을 통하여 산소가 처리실(18)측으로 다시 유입되지 않도록 하는 것이 요구된다. 이는 다양한 방식으로 수행될 수 있다. 일부 선택의 경우, 갭(48)은 가스킷 또는 다른 적당한 밀폐요소를 사용하거나 처리실(18)은 이러한 처리실(18)의 외부로부터 격리하기 위하여 갭(48)을 가로질러 경계부를 형성하는 유동가스의 커튼을 이용하여 밀폐될 수 있다. 가스커튼의 형태인 이러한 경계부는 처리실(18)이 어떠한 이유에서 주위로부터 격리되는 것이 요구되는 처리과정중 적어도 일부의 처리과정중에 어느 때든지 요구시에 형성될 수 있다. 요구된 가스커튼을 형성하기 위하여, 적당한 배관(도시하지 않았음)을 통하여 적당한 소오스(도시하지 않았음)로부터 공급되는 가압가스, 예를 들어 질소, 이산화탄소, 알곤 또는 이들의 조합과 같은 가스가 사용될 수 있다.
특히 우선실시형태에서, 베이스부분(202)은 본원 출원인의 동일자 출원 제1호 및 제2호에서 보인 바와 같은 "처리부분(11)"의 형태이다. 이러한 실시형태에서, 배플부재의 내부테두리와 인접한 베리어 플레이트 구조물의 외주연 사이에 환상의 가스커튼이 제공된다. 이러한 구조를 갖는 발명의 대표적인 실시형태가 본원 출원인의 동일자 출원 제5호에 상세히 기술되어 있다.
계속하여 도 1에서, 베리어/분배부분(16)의 예시된 실시형태는 일반적으로 베리어 플레이트(56), 칼라(200), 흡입매니폴드(300), 가스공급시스템(400), 이후 설명되는 분배구조와, 배관(도시하지 않았음)을 포함한다. 베리어/분배부분(16)은 본원 출원인의 동일자 출원 제1호 내지 제5호의 "분배조립체(554)"와 유사하므로 "가동부재(526)"에 결합될 수 있고 이들 동일자 출원에 기술되고 도시된 베리어/분배부분으로 대체될 수 있다.
우선실시형태에 따라서, 베리어 플레이트(56)는 일반적으로 환상의 형태인 하측면(58)을 갖는다. 유리하게, 베리어 플레이트(56)의 하측면(58)은 존재할 수 있는 액체를 수집하여 제거하는데 도움을 주는 하나 이상의 구조를 포함한다. 한가지 방법으로, 본원 출원인의 동일자 출원 제3호에 기술된 바와 같이 흡입구조와 기술이 사용될 수 있다. 이를 위하여, 베리어 플레이트(56)의 하측면(58)으로부터 액체를 흡입하기 위한 튜브(도시하지 않았음)가 제공된다. 본원 출원인의 동일자 출원 제1호 및 제2호에 따른 "가동형 지지부재(526)"와 같은 구성요소를 이용하는 것과 같은 z-축 운동을 통하여, 하측의 워크피이스(12)에 대한 베리어 플레이트(56)의 위치가 조절될 수 있다.
좋기로는 베리어 플레이트(56)의 적어도 하측면(58)이 하측에 놓인 워크피이스(12)의 평면에 대하여 중심축선(62)으로부터 방사상 외측으로 하향 경사져 워크피이스(12)와 베리어 플레이트(56)의 하측면(58) 사이에 테이퍼형의 유동채널(64)이 형성되는 것이다. 유동채널(64)의 이러한 테이퍼형 구조는 워크피이스(12)의 중심으로부터 방사상 외측으로 향하는 유동을 촉진하는 반면에 재순환영역을 최소화하는데 도움을 준다. 또한 이러한 테이퍼형 구조는 원활한 수렴이 이루어져 워크피이스(12)의 외측변부로 접근하는 유동유체의 속도를 증가시키는데 도움을 준다. 이는 액체가 튀기는 것을 줄이는데 도움을 준다. 또한 하측면(58)의 각도는 하측면(58)에서 액체가 외주연측으로 유동할 수 있도록 하고 여기에서 수집된 액체가 워크피이스(12)를 향하여 하측으로 낙하하지 않고 외측으로 흡인될 수 있다. 또한 이러한 구성은 유체의 양호한 밀폐에 의하여 화학제의 회수가 용이하도록 한다. 경사형의 하측면(58)은 다양한 구조를 가질 수 있다. 예를 들어, 이러한 구조는 하나 이상의 선형(원추형), 포물선형, 다면형 등일 수 있다. 설명을 위하여, 하측면(58)은 일반적으로 워크피이스(12)를 향하여 선형으로 방사상 외측을 향하여 수렴하는 것으로 도시되어 있다.
이러한 특정 실시형태에 대하여 부가하여, 일반적으로 환상인 베리어 플레이트(56)는 한 관점에서 워크피이스 처리를 위한 보호환경을 제공하고 처리실(18)내에 공급된 물질을 수용하는데 도움을 주기 위하여 처리실(18)을 덮는 덮개 또는 커버로서 기능을 한다. 그러나, 많은 실시형태에서 베리어 플레이트(56)가 상하로 이동가능하게 되어 있어, 일반적으로 환상인 베리어 플레이트(56)는 다른 베리어에 물리적으로 직접 접촉하지 않고 근접하여 갭(48)을 형성하는 것과 같이 처리실(18)을 한정하는데 도움을 준다. 이는 접촉하여 일어날 수 있는 입자의 발생을 최소화한다. 또한, 이는 제어기가 베리어 플레이트(56)의 이동과정에서 일어날 수 있는 스텝퍼 모터 스텝의 추적을 실패하는 위험을 최소화한다. 베리어 플레이트(56)의 우선실시형태가 본원 출원인의 동일자 출원 제3호 및 제5호에 기술되어 있다.
워크피이스(12)에 하나 이상의 처리화학제를 스프레이하는 분배기능을 제공하기 위하여 스프레이 바(spray bar)(도시하지 않았음)가 베리어 플레이트의 하측에 부착될 수 있다. 이러한 스프레이 바는 하측에 놓이는 워크피이스의 전부 또는 일부에 걸쳐 연장되는 훗프린트(footprint)를 가질 수 있다. 스프레이 바의 실시형태는 본원 출원인의 동일자 출원에 기술되어 있다.
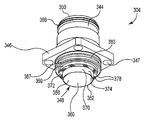
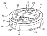
칼라(200)가 베리어 플레이트(56)의 상부에 결합된다. 이 칼라(200)는 배관, 분배구성요소 및 기타 다른 구성을 연결하기 위한 구성을 포함하는 한편 동시에 처리실(18)을 주위로부터 격리하는데 도움을 준다. 칼라(200)는 또한 세정유체를 공급하고 연무를 수용하는데 도움을 주는 것과 벤튜리 기능을 제공하는 것을 포함하는 기능을 제공할 수 있다. 도 2 내지 도 4에서 보인 바와 같이, 칼라(200)는 상부플랜지(202), 베이스 플랜지(204)와 동체(206)를 포함한다. 베이스 플랜지(204)는 적당한 고정기술을 이용하여 하측의 베리어 플레이트(56)에 착설된다. 설명을 위하여, 베이스 플랜지(204)는 적당한 나선형 고정구(도시하지 않았음)를 이용하여 베리어 플레이트(56)에 칼라(200)를 고정하기 위한 통공(208)을 포함한다. 본 발명의 이러한 고정방법 또는 다른 고정방법에 유용한 다른 고정기술은 리벳, 접착제, 볼트, 용접, 클램프, 테이프, 또는 이들의 조합을 포함한다.
통로(210)가 칼라(200)를 통하여 유입구(214)로부터 유출구(216) 측으로 연장되어 있다. 각 통로(210)는 적어도 일부가 벽(21)에 의하여 한정된다. 이 실시형태에 도시된 바와 같이, 각 벽(212)은 단면이 일반적으로 원형인 비교적 소형인 유입구(214)로부터 단면이 일반적으로 D-형인 비교적 큰 유출구(216)를 향하는 방향으로 평활하게 발산한다. 각 통로(210)의 이러한 발산형 구조는 밀폐를 위한 유입구(214)에서의 비교적 높은 유속, 처리실(18)측으로 향하는 평활한 유동을 위한 유출구(216)에서의 비교적 낮은 속도와, 베리어 플레이트(56)이 하측면(58)으로 공급되는 세정유체와 같은 유체의 분배를 제공하는 것을 포함하는 다수의 이점을 준다. 각 유출구(216)는 일부 실시형태에서 하측의 베리어 플레이트(56)에 형성된 대응하는 통공의 구조와 일치하는 D-형이다. 실제로 각 통로(210)는 이들 통로에 유체적으로 결합된 하나 이상의 적당한 소오스로부터 처리실(18)측으로 처리가스 또는 증기를 주입하는데 이용될 수 있다. 따라서, 각 통로(210)는 칼라(200)를 통하여 그리고 처리실(18)측으로 이들 가스 또는 증기의 원활한 유동을 촉진할 수 있도록 평활하게 구성되는 것이 좋다.
도시한 바와 같은 발산형 구조에 부가하여, 통로(210)의 구성을 위하여 다른 구조가 이용될 수 있다. 예를 들어, 다른 실시형태에서 통로의 일부분이 수렴되었다가 발산하는 부분을 포함함으로서 통로가 본문에 인용된 본원 출원인의 하나 이상의 특허에 기술된 바와 같은 벤튜리 구조를 포함할 수 있다. 벤튜리 구조는 하측에 놓이는 처리실(18)에 처리가스 및 다른 유체를 수용하는 것을 촉진하는데 도움을 줄 수 있다.
적당한 고정구를 이용하여 흡입매니폴드(300)와 같은 배관 및 기타 다른 구성요소를 칼라(200)의 상부면(220)에 용이하게 부착할 수 있도록 하는 나선공(218)이 제공된다. 선택적으로, 요구나 이에 대응하여 결합되는 가스킷 등과 같은 적당한 구조가 상부면(220)에 제공되어 배관 구성요소와 칼라(200) 사이에 유체밀폐형의 밀폐가 이루어질 수 있도록 하는데 도움을 줄 수 있다. 마찬가지로, 칼라(200)와 하측에 놓이는 베리어 플레이트(56) 사이에 유체밀폐형의 밀폐가 이루어질 수 있도록 하기 위하여 요구와 가스킷과 같은 구조가 D-형 유출구(216)의 둘레에 제공될 수 있다.
칼라(200)의 중앙영역에서, 포켓(224)은 통상적인 통로를 제공하고 이를 통하여 배관, 노즐, 전선, 광섬유, 센서 및 기타 다른 공구 구성요소가 전개될 수 있다. 바닥면(222)이 포켓(224)내에 요입되게 형성되어 있으며 이러한 구성요소를 설치하거나 전개시키는데 이용될 수 있는 통공(226)을 포함한다. 예를 들어, 처리유체가 중앙에서 하측의 워크피이스(12)측으로 공급될 수 있도록 하는 통로를 제공하기 위하여 중앙공급노즐(본원 출원인의 동일자 출원 참조)이 바닥면(222)에서 적당히 배치된 통공에 설치될 수 있다. 스프레이 바(필요한 경우)가 제공되는 배관라인(도시하지 않았음)이 바닥면(222)에 고정되거나 이를 통하여 연장될 수 있다. 또한 세정라인이 이들 하나 이상의 통공을 통하여 처리실(18)측으로 연장될 수 있다. 또한 포켓벽(230)에 형성된 통공(228)은 배관, 전자장치 또는 기타 다른 라인을 포켓(224)측으로 연장하여 처리실(18)에 이르도록 하는데 사용될 수 있다.
이후 상세히 설명되는 바와 같이, 본 발명의 세정기술에 의하여 발생되는 세정유체의 와류유동은 베리어 플레이트(56)의 하측부를 세정하는데 사용된다. 대부분의 경우, 세정유체는 물 또는 다른 수성 조성물일 것이다. 이러한 와류유동은 통로(210)를 한정하는 벽(212)에 의하여 적어도 일부가 베리어 플레이트(56)의 하측으로 안내될 것이다. 베리어 플레이트(56)를 향하는 이러한 와류유동의 원활한 이송을 위하여, 칼라(200)는 친수성 물질로 제작되는 것이 바람직하다. 석영이 적당한 친수성 물질의 한 예이다. 적당한 친수성 물질의 다른 예로서는 적당히 표면처리된 폴리비닐리덴 플루오라이드(PVDF)가 있다. 이러한 표면처리는 예를 들어, 조면처리, 연마처리, 비드-블라스팅(bead-blasting), 화학적 부식, 에칭 등을 포함할 수 있다. 적당한 친수성 물질의 다른 예로서는 일반적으로 소수성 물질인 폴리페닐렌 설파이드(PPS)에 자외선 방사, 전자빔 방사 등의 적당한 조사량의 이온화 방사로 조사하여 얻을 수 있다. 대개 PPS는 공급시에 밝은 황색이다. 적당한 조사량의 방사는 PPS의 물리적인 특성을 저하시키지 않고 PPS의 색깔이 황갈색으로 변색될 수 있도록 한다. 종종 이러한 색변화는 표면이 친수성을 띄게 되는 가시적인 지표가 된다. 처리된 물질에 물을 부어 방울이 맺히는지 또는 흘러내리는지의 여부를 알아 보기 위하여 간단한 실증분석이 수행되었다. 일부의 경우에 있어서, 색변화가 관측되었으며 표면이 아직 소수성의 띄는 것을 알 수 있었다. 이들 물질은 표면이 친수성을 보일 때까지 한번 이상 이온화 에너지로 재처리될 수 있다. 둘 이상의 친수성 물질이 조합되어 사용될 수 있다.
도 1과 도 4 내지 도 11에서, 흡입매니폴드(300)가 칼라(200)에 연결되어 있다. 각 흡입매니폴드(300)는 통로(210)와 함께 경로의 일부를 구성하며 이를 통하여 하나 이상의 가스, 증기 등이 처리실(18)에 공급된다. 적어도 하나의 흡입매니폴드, 그러나 양측 매니폴드에는 베리어 플레이트(56)의 표면(212)과 하측부(58)를 세정하기 위하여 사용될 물 또는 다른 적당한 액체의 와류유동이 이루어질 수 있도록 하는데 도움이 되는 세정구조가 결합된다.
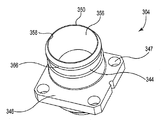
주요 구성요소로서, 각 흡입매니폴드(300)는 베이스(302)와 이러한 베이스(302)에 결합된 커버(304)를 포함한다. 이와 같이 예시된 실시형태에서 각 베이스(302)는 원통형 단면을 갖는 하부동체(306), 사각단면의 상부동체(308)와, 취부플랜지(310)를 포함한다. 플랜지(310)에 형성된 취부공(312)은 칼라(200)에 흡입매니폴드(300)를 고정하는데 사용된다. 통로(314)가 유입단부(316)와 유출구(318)로부터 베이스(312)를 통하여 연장되어 있다. 유입단부(316)에 근접하여, 통로(314)는 측벽(324)과 면(326)을 포함하는 카운터보어(counterbore)(320)를 갖추고 있다. 원통형 벽(328)이 카운터보어(320)로부터 유출구(318)측으로 연장된 통로(314)의 나머지부분을 형성한다.
바람직하기로는 베이스(302)가 베리어 플레이트(56)의 하측면(58)과 칼라(200)의 면(212)을 적시고 세정하는 세정유체의 와류유동을 발생하기 위하여 사용되는 구조의 적어도 일부를 포함하는 것이다. 세정액체가 하나 이상의 적당한 소오스(도시하지 않았음)로부터 공급되는 공급라인(도시하지 않았음)을 취부하기 위한 장소를 제공하기 위하여 상부동체(308)의 적어도 일측면에 배관연결부(330)가 제공된다. 공급도관(332)이 연결부(330)의 팁(336)에 형성된 유입구(334)로부터 면(326)에 형성된 유출구(338)측으로 연장되어 있다(도 7 및 도 12 참조).
예시된 실시형태의 각 매니폴드(300)에서, 커버(304)가 상측단부(350)로부터 하측단부(352)측으로 연장되고 주요구성요소로서 동체(344), 취부플랜지(346)와, 다단형 보스(348)를 포함한다. 플랜지(346)에 형성된 통공(347)은 커버(304)를 이에 대응하는 베이스(302)에 용이하게 취부할 수 있도록 한다. 통로(356)는 커버(304)를 통하여 상측단부(350)에 근접한 유입구(358)와 하측단부(352)에 근접한 유출구(360)로부터 연장되어 있다. 통로(356)는 가스나 증기가 처리실(18)측으로 공급되는 경로의 일부분으로서 사용된다. 각 매니폴드(300)가 칼라(200)에 연결되어 통로(356)가 칼라(200)의 대응하는 통로(210)로부터 상류측에 놓인다. 유출구(360)에 근접하여, 각 통로(356)는 선택적으로 볼록면(도시하지 않았음)을 가짐으로서 통로(356)로부터 통로(210)측으로 원활한 유체의 공급이 용이하게 이루어질 수 있도록 한다. 유입구(358)와 유출구(360) 사이의 통로(356)의 부분은 원통형 벽(364)에 의하여 한정된다. 상측단부(350)에 근접하여 요구(366)에 삽입된 O-링(도시하지 않았음)은 커버(304)를 공급라인(444)(48)에 결합하는 한가지 예시적인 방법을 제공한다.
다단형 보스(348)는 동체(367), 네크(369)와 칼라(370)을 포함한다. 도 7에서, O-링(380)이 동체(367)의 주연요구(383)에 결합되어 커버(304)가 베이스(302)에 착설되었을 때 동체(367)와 측벽(324) 사이에 유체밀봉 씨일을 형성한다.
또한 커버(304)는 세정액체의 와류유동을 발생하는데 사용되는 구조의 적어도 일부분을 포함한다. 이들 구조는 와류유동이 발생되는 환상갭(384)을 형성하는데 도움이 되는 칼라(370)의 안내벽(374)을 포함한다. 아울러, 슬로트(376)(도 7 및 도 13 참조)가 네크(369)에 제공되고 유출구(338)에 정렬된다. 슬로트(376)는 액체가 유출구(338)를 나와 저장조(382)로 유입될 수 있도록 하는 유동채널을 형성한다.
다수의 요구(378)가 면(372)에 형성되어 유동채널로서 사용된다. 이들 요구(378)는 다양한 방식으로 면(372)에 형성될 수 있다. 일반적으로 요구(378)는 발생된 와류유동의 보다 균일한 시이팅 작용이 이루어질 수 있도록 균일하게 배치되는 것이 바람직하다. 도 13에서 가장 잘 보인 우선실시형태에서, 요구는 중간돌출부(393)을 갖는 요구그룹(391)으로 배치된다. 이와 같이 함으로서 면(372)에 형성된 요구(378)의 균일한 분포에 간섭을 주지 않고 슬로트(376)가 돌출부(393)에 배치될 수 있도록 한다.
본문에서 경사졌다는 용어는 일반적으로 중심축선(342)(도 13)을 향하여 방사상 내측으로 향하는 요구에 대비되는 것이다. 경사진 요구(378)는 통로(356)의 평면도에 대하여 시계방향 또는 반시계방향으로 향하는 와류유동을 발생하도록 방사상 방향이 아닌 방향으로 향하고 있다. 비록 각 요구(378)는 다른 요구(378)와 동일한 각도로 경사지거나 동일한 경사방향으로 향할 필요는 없으나, 하나 이상의 요구가 사용되는 경우 모든 요구(378)는 시계방향의 와류유동 또는 반시계방향의 와류유동을 발생하도록 동일한 경사방향으로 향하는 것이 요구된다.
도 4에서 상세히 보인 바와 같이, 커버(304)가 베이스(302)에 결합될 때, 카운터보어(320)에 환상 저장조(382)가 형성된다. 일반적으로 환상갭(384)이 칼라(370)의 안내벽(374)과 벽(328) 사이에 형성된다. 안내벽(374)과 벽(328)은 갭(384)의 영역에서 평행하거나 평행하지 않을 수 있다. 우선실시형태에서, 갭(384)은 하측이 약간 넓다. 넓어지는 발산각도는 약 7도 정도가 적당하다.
실제로 세정액은 적당한 배관공급라인(도시하지 않았음)에 의하여 세정공급도관(332)으로 공급된다. 세정액은 도관(332)을 나와 유출구(338)와 슬로트(376)를 통하여 환상 저장조(382)를 채운다. 저장조(382)로부터, 세정액은 요구(378)에 의하여 형성된 유동채널을 통하여 안내벽(374)을 향해 경사지게 내측으로 분사한다. 이와 같이 하여 세정액이 환상갭(384)으로 유입된다. 적어도 부분적으로 경사지게 향하는 요구에 의하여 갭(384)에서 세정액의 와류유동이 이루어진다. 갭(384)의 폭이 와류작용의 질에 영향을 준다. 예를 들어, 갭이 너무 넓으면, 와류작용이 요구된 것보다 적에 이루어진다. 한 실시형태에서, 0.004 인치의 갭이 적당하다.
갭(384)에서 발생된 유동은 통로(314)(356)를 통하여 처리실(18)을 향해 계속하여 와류를 일으키고 통로(314)(356)에 이르지는 않고 벽(328)(364)을 가로질러 시이팅 작용으로 전개되고 칼라 통로(210)를 통하여 이러한 통로(210)에 이르지는 않고 벽(212)을 가로질러 시이팅 작용으로 전개된다. 그리고 와류유동하는 세정액은 칼라(200)로부터 베리어 플레이트(56)의 하측면(58)을 향하여 외측으로 유동한다. 이로써 효과적이고 매우 균일한 하측면(58)의 습윤과 세정이 이루어진다. 와류유동에 의한 시이팅 작용은 세정액이 세정이 요구되는 면에 머물게 하고 방울되어 흐르는 것을 최소화하거나 방지하는데 도움을 준다.
이로부터 여러 유리한 결과가 나온다. 와류유동하는 세정액이 처리실(18)을 향하여 유동할 때 와류유동을 통하여 통로(210, 314, 356)의 전체표면이 바람직하게 습윤된다. 이러한 단계에서 전체표면이 세정액으로 덮이므로 베리어 플레이트(56)의 하측면으로 세정액의 원활한 시이팅 작용의 유동이 이루어지는 것이 촉진된다. 더욱이 통로(210, 314, 356)를 통하여 가속화되는 가스유동은 베리어 플레이트(56)의 하측면에서 세정액의 유동이 넓게 펼쳐져 얇게 되도록 하는 것을 촉진한다.
통로(210, 314, 356)의 친수성 표면에 물을 공급하였을 때, 물이 거의 튀기거나 방울을 형성하지 않고 친수성 표면의 탁월한 시이팅 작용과 피복효과가 관측되었다. 세정액이 베리어 플레이트(56)의 친수성 하측면(58)에서 유동할 때, 얇게 전개된 세정액이 베리어 플레이트의 친수성 하측면상에서 원활하고 균일하게 전개되고 피복된다. 세정액이 베리어 플레이트의 외주연을 향하여 외측으로 유동할 때, 본원 출원인의 동일자 출원 제3호에 기술된 바와 같이 세정액의 적어도 일부를 수집하기 위하여 흡기기술이 사용되는 것이 바람직하다. 이러한 흡기작용은 세정중에 또는 세정의 종료단계에서 이루어질 수 있다.
칼라(200)의 상부에 배치된 매니폴드(300)에 결합되는 세정구조도 역시 처리실(18)의 상류측에 놓인다. 이는 세정구조물이 오염되는 것을 방지하는데 도움을 준다. 이는 또한 세정액이 화학제가 잔류할 수 있는 모든 표면에 도달할 수 있도록 한다. 부가적인 이점으로서, 탁월한 표면습윤이 이루어지는 유체의 와류유동이 용이하게 전개되고 구현될 수 있다. 대체로, 매니폴드(300)에 일체로 구성된 세정구조에 관련하여 이들 다수의 특징과 이점은 입자오염을 감소시킨다.
베리어/분배부분(16)은 처리실(18)측으로 처리물질을 공급하기 위한 하나 이상의 독립된 기구를 포함하는 것이 바람직하다. 예를 들어, 예시된 실시형태는 적어도 하나, 좋기로는 적어도 2개, 또는 더욱 좋기로는 적어도 3개의 상이한 종류의 분배능력을 포함한다. 하나의 능력으로서, 분배구조물은 일반적으로 워크피이스(12)를 가로질러 이러한 워크피이스(12)를 향하여 하측으로 하나 이상의 처리유체를 분사하여 이러한 분사의 하측에서 워크피이스(12)의 회전을 통하여 전체표면이 처리유체로 덮일 수 있도록 한다. 우선실시형태에서, 이러한 능력은 베리어 플레이트(56) 또는 칼라(200)에 착설되는 스프레이 바와 같은 분배구조물에 의하여 제공된다. 이러한 스프레이 바의 우선실시형태와 베리어/분배부분에 이러한 스프레이 바를 결합시키는 방법이 본원 출원인의 동일자 출원 제3호에 "스프레이 바(78)"로서 설명되고 있다.
다른 분배능력으로서, 분배구조물은 하측에 놓인 워크피이스(12)의 중앙을 향하여 하측으로 처리화학제를 공급하는 것을 포함한다. 워크피이스(12)가 회전할 때, 중앙으로 공급되는 물질이 워크피이스 표면에 분포된다. 우선실시형태에서, 이러한 능력은 칼라(200)의 바닥면(222)에 착설된 중앙분배노즐조립체(도시하지 않았음)에 의하여 제공된다. 이러한 노즐의 우선실시형태가 본원 출원인의 동일자 출원 제3호에서 "중앙분배노즐조립체(518)"로서 설명되고 있다. 이러한 장치의 설치는 상기 동일자 출원ㅇ에 기술된 것과 유사하다.
아울러, 가스공급시스템(400)은 또한 다른 방식으로 처리실(18)에 전형적으로 가스 또는 증기, 선택적으로 연행물질을 포함하는 처리물질을 주입하기 위하여 제공된다. 이러한 가스공급시시템(400)은 이러한 처리물질의 흐름을 통로(210, 314, 356)로 공급한다. 이들로부터 하나 이상의 흐름이 처리실(18)을 향하여 하측으로 분배된다.
베리어/분배부분(16)의 분배구성요소는 적당한 공급라인을 통하여 공급된 처리물질의 하나 이상의 공급수단(도시하지 않았음)에 결합될 수 있다. 이들 처리물질은 필요에 따라 공급 또는 혼합되어 분배될 수 있다. 공구(10)가 수행될 처리형태에 대하여 매우 융통성이 큰 경우 광범위한 처리물질이 사용될 수 있다. 대표적인 처리물질로서는 질소, 이산화탄소, 암모니아, 청정건조공기, 증기, 알곤, HF 가스, 수용성 HF, 수용성 이소프로필 알코올 또는 기타 다른 알코올 또는 계면활성물질, 탈이온수, 수산화암모늄 수용액 또는 용액, 황산 수용액 또는 용액, 또는 탈수제 및 전구물질(예를 들어, 삼산화황 SO3, 티오황산 H2S2O3, 과산화황산 H2SO5, 과산화이황산 H2SsO8, 플루오르황산 HSO3F와, 클로로황산 HSO3Cl), 질산수용액 또는 용액, 인산수용액 또는 용액, 염화수소수용액과 용액, 과산화수소 또는 오존가스와 같은 산화제, 수용성 오존, 계면활성제, 유기산과 용제, 킬레이트제, 탈산소제와, 이들의 조합과 같은 기체와 액체를 포함한다.
가스공급시스템(400)은 흡입매니폴드(300)로부터 상류측에 배치되고 처리실(18)에 하나 이상의 가스, 증기 등을 공급하기 위하여 흡입매니폴드(300)에 유체적으로 결합된다. 설명을 위하여, 이 시스템(400)은 두개의 공급라인(444, 448)을 통하여 매니폴드(300)에 유체적으로 결합되어 있다. 다른 실시형태에서, 공급라인은 필요에 따라 그 수가 증감될 수 있다.
시스템(400)은 증폭형 가스분배단(462)에 결합된다. 이러한 증폭형 가스공급단(462)은 주요구성요소인 공기증폭기(498), 밸브(520) 및 매니폴드(464)를 포함한다. 요구되는 경우, 증폭형 가스분배단(462)은 처리실(18)을 적어도 하나의 주위공기소오스에 유체적으로 제어가능하게 결합시킨다. 우선실시형태에서, 증폭형 가스분배단(462)은 공구(10)에 관련된 로봇격실에서 주위공기의 소오스에 유체적으로 결합된다. 이는 이러한 공기가 공구(10)의 외부를 둘러싸고 있는 청정실 보다 높게 고도로 정화된다. 이는 마이크로일렉트로닉 워크피이스를 매우 순수하게 처리하기 위하여 증폭형 가스분배단(462)이 실질적으로 입자없는 환경으로부터 주위공기를 흡인할 수 있도록 한다. 아울러, 이는 가스분배단(462)이 이에 의하여 공급받는 처리실에 비교적 근접하게 배치될 수 있도록 한다.
물론, 증폭형 가스분배단(462)은 적당한 주위공기의 소오스가 실질적으로 접근가능하다면 필요에 따라서 다른 장소에 배치될 수도 있다. 다른 대표적인 후보장소로서는 공구(10)의 다른 격실, 주위의 청정실, 국소청정실의 다른 공구, 또는 원격한 공구 또는 청정실 등을 포함할 수 있다. 만약 공기증폭기(498)의 공기흡입구에 적당한 정화수단이 구비되어 있다면, 공기증폭기(498)는 이러한 공기증폭기(498)의 상류측인 이러한 정화수단에 의하여 정화되는 주위공기의 다른 소오스에 유체적으로 결합된다.
공기증폭기는 비교적 낮은 저압가스의 많은 유량의 흐름을 발생하도록 비교적 낮은 저압가스의 흐름을 이용하는 장치이다. 대부분의 경우에 있어서, 저압가스는 주위공기이다. 공기증폭장치는 고속고용량의 저압출력 공기유동을 발생하기 위하여 소량의 가압가스로부터 에너지를 취한다. 대부분 상업적으로 입수가능한 장치는 1 부터 75:1 까지의 범위에서 증폭비율을 갖는다. 본 발명에 있어서 1 부터 약 25:1 까지의 범위, 좋기로는 2 부터 약 10:1 까지의 증폭비율이 적합하다. 어떠한 조건하에서는 4:1의 증폭비율이 적합한 것으로 확인되었다.
공기증폭기(498)는 라인(505)을 통하여 가압가스흐름을 받아드리는 유입구(504)와 주위공기의 공급을 받아드리는 공기흡입구(502)를 포함한다.공기증폭기의 내부구조에 의하여, 가압공기는 공기흡입구(502)를 통하여 공기증폭기(498)측으로 다량의 주위공기를 흡입하고 증폭된 주위공기가 매니폴드(464)를 향하여 하측으로 이동될 수 있도록 한다.통상적으로, 가압가스는 주위공기와는 무관하게 공급된다. 이에 적용되는 적합한 다른 가스와 증기의 예는 질소, 알곤, 이산화탄소, 청정건조공기와 이들의 조합을 포함한다. 비록 처리실(18)에 단일의 공기증폭기(498)에 의하여 공급되는 것으로 도시되어 있으나, 다른 실시형태에서 하나 이상의 공기증폭기가 하나 이상의 처리실에 공급할 수 있다.
밸브(520)가 개방되고 공기증폭기(498)가 작동될 때, 주위공기의 흐름은 매니폴드(464)측으로 흐른다. 이로부터 공기는 라인(444, 448)을 통하여 흡입매니폴드(300)측으로 유동한다. 공기증폭기(498)의 유입구측으로 가압가스가 유동하는지의 여부에 관계없이 밸브(520)가 폐쇄될 때(비록 밸브 520 이 폐쇄되었을 때 가압가스가 유입구 504 측으로 유동하는 것을 중지하는 것이 바람직하다 하여도), 매니폴드(464), 공급라인(444, 448), 매니폴드(300) 및 칼라(200)를 통하여 연장되고 환경적으로 제어된 유로가 주위로부터 격리된다. 밸브(520)는 평상시에는 폐쇄되어 전원고장이 있어도 주위에 대한 하류측 처리실(18)의 노출이 차단된다.
공기증폭기의 특별한 우선실시형태는 상업적으로 입수가능한 장치가 구비된 스텐레스 스틸의 잠금너트가 PVDF로 제작된 잠금너트로 대체된 것을 제외하고는 상업적으로 입수가능한 NEX 제품의 모델 No.40001 이다. PVDF 너트는 화학제에 노출되는 것으로부터 스텐레스 스틸을 덮어 보호하기 위하여 대체된 것이다. 다른 실시형태에서, 공기증폭기의 부가적인 구성요소, 또는 전체 공기증폭기는 PVDF, PTFE 또는 다른 불활성 물질로 구성될 수 있다.
매니폴드(464)는 이러한 매니폴드(464)에 다수의 소오스로부터 유체가 공급될 수 있도록 하여 이러한 유체를 공급라인(444, 448), 매니폴드(300), 칼라(200) 및 처리실(18)과 같은 하나 이상의 하류측 영역에 분배될 수 있도록 하는 구조를 포함한다. 매니폴드(464)는 증폭된 공기가 공급되는 유입구(468)와 비주위가스(non-ambient gases)가 공급되는 하나 이상의 독립된 유입구를 포함한다. 설명을 위하여, 질소, 이산화탄소 등의 불활성 가스가매니폴드에 공급될 수 있도록 하는 단일의 이러한 독립된 유입구(472)를 보이고 있다.
증폭된 공기의 흐름을 달리 공급하는 방식으로, 처리실(18)에 다른 가스나 증기를 공급하기 위한 시스템(400)이 사용될 수 있다. 예를 들어, 질소와 같은 불활성 가스, 표면장력조절제(예를 들어, 이소프로필 알코올), 에칭가스, 산화가스, 암모니아, CO2, 청정건조공기 등과 같은 하나 이상의 비주위가스의 흐름이 밸브(66)의 개방으로 공급라인(472)을 통한 매니폴드(464)를 통하여 유체경로인 공급라인(444, 448)에 주입될 수 있다. 산소를 차단하거나 다른 이유에서 주위로부터 처리실(18)을 격리시키는 것이 요구되는 경우, 갭(48)을 가로질러 장벽이 형성될 수 있도록 가스의 커튼이 제공될 수 있다.
본 발명에 대한 여러 수정과 변경은 본 발명은 발명의 범위와 기술사상을 벗어남이 없이 당해 기술의 전문가에게 명백할 것이다. 본 발명은 예시된 실시형태로 한정되지 않으며 이러한 실시형태는 본 발명을 설명한 것으로 본 발명은 청구범위에 의하여서만 한정됨을 이해할 수 있을 것이다.
10: 공구, 12: 워크피이스, 14: 베이스부분, 16: 베리어/분배부분, 18: 처리실, 20: 하우징, 22: 척, 26: 분배헤드, 28: 갭, 30: 축, 32: 중앙공, 34, 36, 38: 환상 배플부재, 40, 42, 44: 배출덕트, 48: 갭, 56: 베리어 플레이트, 58: 하측면, 62: 중심축선, 64: 유동채널, 66: 밸브, 400: 가스공급시스템.

Claims (12)

  1. 적어도 하나의 마이크로일렉트로닉 워크피이스를 처리하기 위한 장치로서, 이 장치가
    a) 처리중에 적어도 하나의 마이크로일렉트로닉 워크피이스가 배치될 수 있는 처리실;
    b) 하측면과 일반적으로 환상의 갭을 포함하고 하측면이 처리중에 적어도 하나의 워크피이스 상에 놓이고 이를 부분적으로 덮는 구조물;
    d) 유체가 환상갭 측으로 방출될 때 환상갭에 유체의 연통이 이루어지고 유체가 경사지게 향함으로서 유체의 와류유동이 이루어지도록 하는 적어도 하나의 노즐과;
    e) 유체의 와류유동이 구조물의 하측면을 향하도록 하는 적어도 하나의 벽
    으로 구성됨을 특징으로 하는 마이크로일렉트로닉 워크피이스의 처리장치.
  2. 제1항에 있어서, 구조물이 표면을 갖는 제1부분과 표면을 갖는 제2부분으로 구성되고, 제2부분의 표면이 제1부분의 표면에 적어도 부분적으로 접촉함을 특징으로 하는 마이크로일렉트로닉 워크피이스의 처리장치.
  3. 제2항에 있어서, 적어도 하나의 노즐이 제1부분의 표면과 제2부분의 표면의 하나 또는 모두에 형성된 요구로 구성됨을 특징으로 하는 마이크로일렉트로닉 워크피이스의 처리장치.
  4. 제2항에 있어서, 적어도 하나의 노즐이 다수의 그룹으로 구성되고 각 그룹은 제1부분의 표면과 제2부분의 표면의 하나 또는 모두에 형성된 다수의 요구를 가짐을 특징으로 하는 마이크로일렉트로닉 워크피이스의 처리장치.
  5. 적어도 하나의 마이크로일렉트로닉 워크피이스를 처리하기 위한 장치로서, 이 장치가
    a) 처리중에 적어도 하나의 마이크로일렉트로닉 워크피이스가 배치될 수 있는 처리실;
    b) 처리중에 적어도 하나의 워크피이스 상에 놓여 이를 적어도 부분적으로 덮는 하측면을 포함하는 구조물;
    c) 처리실 측으로 향하는 출구를 제공하고 구조물의 하측면에 유체적으로 결합된 경로면을 포함하는 적어도 하나의 발산경로와;
    d) 유체가 환상갭 측으로 방출될 때 환상갭 측으로 유체가 경사지게 향함으로서 유체의 와류유동이 이루어지도록 하는 적어도 하나의 노즐로 구성되고, 환상갭은 경로면의 상류측에서 유체적으로 결합되어 환상갭내에서 발생된 유체의 와류유동이 발산경로의 적어도 경로면을 포함하는 하나 이상의 면을 통하여 구조물의 하측면으로 이송됨을 특징으로 하는 마이크로일렉트로닉 워크피이스의 처리장치.
  6. 제5항에 있어서, 경로면이 하나 이상의 부가적인 표면에 의하여 구조물의 하측면에 유체적으로 결합됨을 특징으로 하는 마이크로일렉트로닉 워크피이스의 처리장치.
  7. 제6항에 있어서, 경로면이 하측면에 직접적으로 결합됨을 특징으로 하는 마이크로일렉트로닉 워크피이스의 처리장치.
  8. 제6항에 있어서, 경로면이 하측면에 간접적으로 결합됨을 특징으로 하는 마이크로일렉트로닉 워크피이스의 처리장치.
  9. 제5항에 있어서, 구조물이 표면을 갖는 제1부분과 표면을 갖는 제2부분으로 구성되고, 제2부분의 표면이 제1부분의 표면에 적어도 부분적으로 접촉함을 특징으로 하는 마이크로일렉트로닉 워크피이스의 처리장치.
  10. 제9항에 있어서, 적어도 하나의 노즐이 제1부분의 표면과 제2부분의 표면의 하나 또는 모두에 형성된 요구로 구성됨을 특징으로 하는 마이크로일렉트로닉 워크피이스의 처리장치.
  11. 제9항에 있어서, 적어도 하나의 노즐이 다수의 그룹으로 구성되고 각 그룹은 제1부분의 표면과 제2부분의 표면의 하나 또는 모두에 형성된 다수의 요구를 가짐을 특징으로 하는 마이크로일렉트로닉 워크피이스의 처리장치.
  12. 장치의 세정방법에 있어서, 이 방법이
    a) 처리되는 동안에 적어도 하나의 마이크로일렉트로닉 워크피이스가 배치되는 처리실과 적어도 하나의 워크피이스상에 놓여 이를 부분적으로 덮는 하측면을 포함하는 구조물로 구성되는 장치를 제공하는 단계;
    b) 세정유체의 와류유동을 발생하는 조건하에서 환상갭 또는 그 부분을 향하여 경사지게 세정유체를 향하도록 하는 단계와;
    c) 세정유체의 와류유동이 구조물의 하측면을 습윤시킬 수 있도록 하는 단계로 구성됨을 특징으로 하는 장치의 세정방법.
KR1020127026983A 2010-06-11 2011-06-10 마이크로일렉트로닉 워크피이스를 처리하기 위하여 사용되는 공구의 공구표면 세정방법 Expired - Fee Related KR101641600B1 (ko)

Applications Claiming Priority (3)

Application Number Priority Date Filing Date Title
US35393110P 2010-06-11 2010-06-11
US61/353,931 2010-06-11
PCT/US2011/039904 WO2011156669A2 (en) 2010-06-11 2011-06-10 Methodologies for rinsing tool surfaces in tools used to process microelectronic workpieces

Publications (2)

Publication Number Publication Date
KR20130083380A true KR20130083380A (ko) 2013-07-22
KR101641600B1 KR101641600B1 (ko) 2016-07-29

Family

ID=45095229

Family Applications (1)

Application Number Title Priority Date Filing Date
KR1020127026983A Expired - Fee Related KR101641600B1 (ko) 2010-06-11 2011-06-10 마이크로일렉트로닉 워크피이스를 처리하기 위하여 사용되는 공구의 공구표면 세정방법

Country Status (6)

Country Link
US (2) US9263303B2 (ko)
JP (1) JP6046608B2 (ko)
KR (1) KR101641600B1 (ko)
CN (1) CN102834911B (ko)
TW (1) TWI579889B (ko)
WO (1) WO2011156669A2 (ko)

Cited By (1)

* Cited by examiner, † Cited by third party
Publication number Priority date Publication date Assignee Title
WO2022203869A1 (en) * 2021-03-23 2022-09-29 Applied Materials, Inc. Cleaning assemblies for substrate processing chambers

Families Citing this family (7)

* Cited by examiner, † Cited by third party
Publication number Priority date Publication date Assignee Title
KR20160085845A (ko) * 2013-11-13 2016-07-18 티이엘 에프에스아이, 인코포레이티드 마이크로전자 디바이스들 및 그 전구체를 제조하기 위하여 산성 케미스트리들을 사용할 때의 향상된 챔버 세정
US10037902B2 (en) 2015-03-27 2018-07-31 SCREEN Holdings Co., Ltd. Substrate processing device and substrate processing method
US11742232B2 (en) * 2018-08-22 2023-08-29 Tokyo Electron Limited Substrate processing method and substrate processing apparatus
CN112599441A (zh) * 2020-11-30 2021-04-02 硅密芯镀(海宁)半导体技术有限公司 清洗系统、晶圆清洗设备及晶圆浸润水洗方法
CN113725128B (zh) * 2021-11-01 2022-03-04 天霖(张家港)电子科技有限公司 一种半导体浸泡装置
CN117311105A (zh) 2022-06-16 2023-12-29 星科金朋私人有限公司 显影装置和基板处理装置
CN115815195A (zh) * 2022-12-12 2023-03-21 上海奔曜科技有限公司 一种清洁装置及清洁方法

Citations (3)

* Cited by examiner, † Cited by third party
Publication number Priority date Publication date Assignee Title
US6375757B2 (en) * 1999-04-29 2002-04-23 Thru-Tubing Technology, Inc. Method for jetting a fluid
US20090038647A1 (en) * 2007-08-07 2009-02-12 Dekraker David Rinsing methodologies for barrier plate and venturi containment systems in tools used to process microelectronic workpieces with one or more treatment fluids, and related apparatuses
US20090280235A1 (en) * 2008-05-09 2009-11-12 Lauerhaas Jeffrey M Tools and methods for processing microelectronic workpieces using process chamber designs that easily transition between open and closed modes of operation

Family Cites Families (6)

* Cited by examiner, † Cited by third party
Publication number Priority date Publication date Assignee Title
US6248177B1 (en) * 1998-01-09 2001-06-19 Fluoroware, Inc. Method of cleaning a wafer carrier
US7171973B2 (en) * 2001-07-16 2007-02-06 Tokyo Electron Limited Substrate processing apparatus
US7306002B2 (en) * 2003-01-04 2007-12-11 Yong Bae Kim System and method for wet cleaning a semiconductor wafer
JP4357225B2 (ja) 2003-07-24 2009-11-04 大日本スクリーン製造株式会社 基板処理装置
US8544483B2 (en) * 2005-04-01 2013-10-01 Tel Fsi, Inc. Barrier structure and nozzle device for use in tools used to process microelectronic workpieces with one or more treatment fluids
WO2008008154A2 (en) * 2006-07-07 2008-01-17 Fsi International, Inc. Barrier structure and nozzle device for use in tools used to process microelectronic workpieces with one or more treatment fluids

Patent Citations (4)

* Cited by examiner, † Cited by third party
Publication number Priority date Publication date Assignee Title
US6375757B2 (en) * 1999-04-29 2002-04-23 Thru-Tubing Technology, Inc. Method for jetting a fluid
US20090038647A1 (en) * 2007-08-07 2009-02-12 Dekraker David Rinsing methodologies for barrier plate and venturi containment systems in tools used to process microelectronic workpieces with one or more treatment fluids, and related apparatuses
KR20100045465A (ko) * 2007-08-07 2010-05-03 에프에스아이 인터내쇼날 인크. 하나 이상의 처리유체로 전자소자를 처리하는 장비의 배리어 판 및 벤튜리 시스템의 세정방법 및 관련 장치
US20090280235A1 (en) * 2008-05-09 2009-11-12 Lauerhaas Jeffrey M Tools and methods for processing microelectronic workpieces using process chamber designs that easily transition between open and closed modes of operation

Cited By (2)

* Cited by examiner, † Cited by third party
Publication number Priority date Publication date Assignee Title
WO2022203869A1 (en) * 2021-03-23 2022-09-29 Applied Materials, Inc. Cleaning assemblies for substrate processing chambers
US12012653B2 (en) 2021-03-23 2024-06-18 Applied Materials, Inc. Cleaning assemblies for substrate processing chambers

Also Published As

Publication number Publication date
TW201207891A (en) 2012-02-16
WO2011156669A2 (en) 2011-12-15
US20160163568A1 (en) 2016-06-09
US9263303B2 (en) 2016-02-16
TWI579889B (zh) 2017-04-21
US9887107B2 (en) 2018-02-06
CN102834911B (zh) 2016-10-12
WO2011156669A3 (en) 2012-04-12
US20110303246A1 (en) 2011-12-15
JP6046608B2 (ja) 2016-12-21
KR101641600B1 (ko) 2016-07-29
CN102834911A (zh) 2012-12-19
JP2013528327A (ja) 2013-07-08

Similar Documents

Publication Publication Date Title
TWI548457B (zh) 用於使用一或多個處理流體加工微電子工件之工具的屏障結構及噴嘴裝置
JP5705723B2 (ja) 操作において開モードと閉モードとの切り替えを簡単に行う加工チェンバ設計を用いてマイクロ電子加工品を加工するための道具および方法
US9887107B2 (en) Methodologies for rinsing tool surfaces in tools used to process microelectronic workpieces
JP5257637B2 (ja) マイクロエレクトロニクス用の加工物に使用されるツールの障壁構造体
JP4938892B2 (ja) 一種類以上の処理流体により超小型電子半製品をプロセス処理すべく使用されるツールにおける隔壁板およびベンチュリ状封じ込めシステムのための洗浄方法および関連装置

Legal Events

Date Code Title Description
PA0105 International application

St.27 status event code: A-0-1-A10-A15-nap-PA0105

PG1501 Laying open of application

St.27 status event code: A-1-1-Q10-Q12-nap-PG1501

N231 Notification of change of applicant
PN2301 Change of applicant

St.27 status event code: A-3-3-R10-R13-asn-PN2301

St.27 status event code: A-3-3-R10-R11-asn-PN2301

A201 Request for examination
PA0201 Request for examination

St.27 status event code: A-1-2-D10-D11-exm-PA0201

D13-X000 Search requested

St.27 status event code: A-1-2-D10-D13-srh-X000

D14-X000 Search report completed

St.27 status event code: A-1-2-D10-D14-srh-X000

E902 Notification of reason for refusal
PE0902 Notice of grounds for rejection

St.27 status event code: A-1-2-D10-D21-exm-PE0902

T11-X000 Administrative time limit extension requested

St.27 status event code: U-3-3-T10-T11-oth-X000

T11-X000 Administrative time limit extension requested

St.27 status event code: U-3-3-T10-T11-oth-X000

E13-X000 Pre-grant limitation requested

St.27 status event code: A-2-3-E10-E13-lim-X000

P11-X000 Amendment of application requested

St.27 status event code: A-2-2-P10-P11-nap-X000

P13-X000 Application amended

St.27 status event code: A-2-2-P10-P13-nap-X000

E701 Decision to grant or registration of patent right
PE0701 Decision of registration

St.27 status event code: A-1-2-D10-D22-exm-PE0701

PR0701 Registration of establishment

St.27 status event code: A-2-4-F10-F11-exm-PR0701

PR1002 Payment of registration fee

St.27 status event code: A-2-2-U10-U12-oth-PR1002

Fee payment year number: 1

PG1601 Publication of registration

St.27 status event code: A-4-4-Q10-Q13-nap-PG1601

PR1001 Payment of annual fee

St.27 status event code: A-4-4-U10-U11-oth-PR1001

Fee payment year number: 4

PN2301 Change of applicant

St.27 status event code: A-5-5-R10-R13-asn-PN2301

St.27 status event code: A-5-5-R10-R11-asn-PN2301

PR1001 Payment of annual fee

St.27 status event code: A-4-4-U10-U11-oth-PR1001

Fee payment year number: 5

PR1001 Payment of annual fee

St.27 status event code: A-4-4-U10-U11-oth-PR1001

Fee payment year number: 6

PR1001 Payment of annual fee

St.27 status event code: A-4-4-U10-U11-oth-PR1001

Fee payment year number: 7

PC1903 Unpaid annual fee

St.27 status event code: A-4-4-U10-U13-oth-PC1903

Not in force date: 20230716

Payment event data comment text: Termination Category : DEFAULT_OF_REGISTRATION_FEE

PC1903 Unpaid annual fee

St.27 status event code: N-4-6-H10-H13-oth-PC1903

Ip right cessation event data comment text: Termination Category : DEFAULT_OF_REGISTRATION_FEE

Not in force date: 20230716