KR20130056537A - 안전성이 개선된 용접비드 가공기 - Google Patents

안전성이 개선된 용접비드 가공기 Download PDF

Info

Publication number
KR20130056537A
KR20130056537A KR1020110122190A KR20110122190A KR20130056537A KR 20130056537 A KR20130056537 A KR 20130056537A KR 1020110122190 A KR1020110122190 A KR 1020110122190A KR 20110122190 A KR20110122190 A KR 20110122190A KR 20130056537 A KR20130056537 A KR 20130056537A
Authority
KR
South Korea
Prior art keywords
main body
cutter shaft
processing machine
body head
main
Prior art date
Legal status (The legal status is an assumption and is not a legal conclusion. Google has not performed a legal analysis and makes no representation as to the accuracy of the status listed.)
Granted
Application number
KR1020110122190A
Other languages
English (en)
Other versions
KR101306914B1 (ko
Inventor
전병우
전병권
Original Assignee
주식회사 대성지티
Priority date (The priority date is an assumption and is not a legal conclusion. Google has not performed a legal analysis and makes no representation as to the accuracy of the date listed.)
Filing date
Publication date
Application filed by 주식회사 대성지티 filed Critical 주식회사 대성지티
Priority to KR1020110122190A priority Critical patent/KR101306914B1/ko
Publication of KR20130056537A publication Critical patent/KR20130056537A/ko
Application granted granted Critical
Publication of KR101306914B1 publication Critical patent/KR101306914B1/ko
Expired - Fee Related legal-status Critical Current
Anticipated expiration legal-status Critical

Links

Images

Classifications

    • BPERFORMING OPERATIONS; TRANSPORTING
    • B23MACHINE TOOLS; METAL-WORKING NOT OTHERWISE PROVIDED FOR
    • B23CMILLING
    • B23C3/00Milling particular work; Special milling operations; Machines therefor
    • B23C3/12Trimming or finishing edges, e.g. deburring welded corners
    • B23C3/122Trimming or finishing edges, e.g. deburring welded corners of pipes or cylinders
    • BPERFORMING OPERATIONS; TRANSPORTING
    • B23MACHINE TOOLS; METAL-WORKING NOT OTHERWISE PROVIDED FOR
    • B23BTURNING; BORING
    • B23B5/00Turning-machines or devices specially adapted for particular work; Accessories specially adapted therefor
    • B23B5/16Turning-machines or devices specially adapted for particular work; Accessories specially adapted therefor for bevelling, chamfering, or deburring the ends of bars or tubes
    • BPERFORMING OPERATIONS; TRANSPORTING
    • B24GRINDING; POLISHING
    • B24BMACHINES, DEVICES, OR PROCESSES FOR GRINDING OR POLISHING; DRESSING OR CONDITIONING OF ABRADING SURFACES; FEEDING OF GRINDING, POLISHING, OR LAPPING AGENTS
    • B24B9/00Machines or devices designed for grinding edges or bevels on work or for removing burrs; Accessories therefor
    • B24B9/02Machines or devices designed for grinding edges or bevels on work or for removing burrs; Accessories therefor characterised by a special design with respect to properties of materials specific to articles to be ground
    • B24B9/04Machines or devices designed for grinding edges or bevels on work or for removing burrs; Accessories therefor characterised by a special design with respect to properties of materials specific to articles to be ground of metal, e.g. skate blades
    • BPERFORMING OPERATIONS; TRANSPORTING
    • B23MACHINE TOOLS; METAL-WORKING NOT OTHERWISE PROVIDED FOR
    • B23CMILLING
    • B23C2220/00Details of milling processes
    • B23C2220/60Roughing

Landscapes

  • Engineering & Computer Science (AREA)
  • Mechanical Engineering (AREA)
  • Milling Processes (AREA)

Abstract

본 발명은 휴대가능한 용접비드 가공기를 이용하여 모재의 표면보다 상부로 돌출된 용접비드를 상기 모재의 표면과 수평면을 유지하도록 간편하게 제거하고, 작업도중 본체 헤드가 한쪽으로 쏠림을 방지하면서 안전사고의 발생을 억제하는 안전성이 개선된 용접비드 가공기에 관한 것이다.
이러한 본 발명은 상기 용접비드를 맞물리며 회전하는 커터의 사이를 통과시키면서 신속하고 완벽하게 제거하도록 하고, 상기 커터는 한 쌍이 1조를 이루면서 커팅 제거작업시 어느 한쪽으로 쏠리려는 현상을 상쇄하여 본체 헤드가 항상 정중앙의 밸런스를 유지할 수 있도록 하며, 상기 본체 헤드를 상하로 선회조작하는 간단한 방법으로 용접비드의 커팅깊이를 정확하게 미세조절할 수 있도록 함을 발명의 특징으로 한다.

Description

안전성이 개선된 용접비드 가공기{Processing machine for weld bead with improved stability}
본 발명은 휴대가능한 용접비드 가공기를 이용하여 모재의 표면보다 상부로 돌출된 용접비드를 상기 모재의 표면과 수평면을 유지하도록 간편하게 제거하고, 작업도중 본체 헤드가 한쪽으로 쏠림을 방지하면서 안전사고의 발생을 억제하는 기술에 관한 것이다.
일반적으로 도시가스관공사 현장이나 산업용 플랜트 배관공사현장 등에서는 용접을 위한 사전작업으로 비교적 큰 규격의 모재(금속판재, 파이프 등)를 길이에 맞게 절단한 후 상기 모재에 용접면(면취 가공면)을 일정한 각도로 깎아내어 용접홈(root)을 만드는 개선 작업을 시행함으로써 작업자는 상기 모재에 형성된 용접면을 서로 맞대기 용접을 하여 간편하게 절단된 한 쌍의 모재를 상호 일체로 연결하게 된다.
여기에서 용접작업을 통해 상기 용접홈에 만들어지는 용착 금속을 용접비드(weld bead)라고 지칭하는데, 통상의 용접비드는 모재의 표면보다 상부로 돌출하게 되고, 특히 용접이 불량한 부분은 다른 부분보다 더 돌출하게 된다.
따라서, 상기 돌출된 용접비드를 모재의 표면과 수평면을 유지하도록 반드시 제거해야만 하는 별도의 후처리작업이 요구된다.
이와 같은 용접비드를 제거하는 종래의 방법은 대부분 그라인더를 이용하여 작업자의 경험과 기술에 의존하여 수작업으로 이루어지고 있으나, 상기한 그라인딩 작업은 고도로 숙련된 작업 기술이 필요할 뿐만 아니라 작업도중 발생하는 불꽃과 그라인딩 작업시 발생하는 분진은 작업자의 건강에 매우 좋지 않은 영향을 끼친다.
아울러 이러한 작업은 매우 단순한 반복 작업으로써 작업자가 쉽게 피곤하게 됨으로써 용접비드가 아닌 모재를 그라인딩 하게 되어 모재의 형상을 불량하게 만드는 큰 요인이 되며, 작업자의 빈번한 휴식 및 교체로 생산성이 저하된다.
또한, 작업도중 상기 그라인더를 항상 일정한 힘으로 파지할 수 없어 작업도중 본체 헤드가 한쪽(회전방향 쪽)으로 쏠리는 현상이 발생함에 따라 그라인더가 튕겨나가면서 부상을 입게 되는 등의 안전사고가 빈번하게 발생하고 있는 실정이다.
본 발명은 종래의 그라인더에 의존하여 용접비드를 제거함에 따른 제반 문제점을 적극적으로 해소하기 위한 것으로, 상기 용접비드를 맞물리며 회전하는 커터의 사이를 통과시키면서 신속하고 완벽하게 제거하도록 하고, 상기 커터는 한 쌍이 1조를 이루면서 커팅 제거작업시 어느 한쪽으로 쏠리려는 현상을 상쇄하여 본체 헤드가 항상 정중앙의 밸런스를 유지할 수 있도록 하며, 상기 본체 헤드를 상하로 선회조작하는 간단한 방법으로 용접비드의 커팅깊이를 정확하게 미세조절할 수 있도록 함을 발명의 해결과제로 한다.
본 발명은 상기한 과제를 해결하기 위한 수단으로 이격된 한 쌍의 스키드판의 상부면 전후에 각각 고정블럭을 연결 설치하고, 상기 고정블럭의 사이에 하부 개방된 본체 헤드를 설치하며, 상기 본체 헤드의 내부 좌우에는 맞물리며 회전하는 한 쌍의 주 커터축 및 종동 커터축을 수직상으로 회전가능하게 설치하고, 상기 주 거터축의 외측에는 동력축의 회전동력을 입력받는 스파이럴기어를 설치하는 기술을 강구한다.
또한, 본 발명은 상기 본체 헤드를 후방 측 고정블럭에 상하 선회가능하게 결합하고, 상기 본체 헤드의 전면에 부착된 조절구 하우징에는 커팅깊이 조절구를 회전가능하게 설치하며, 상기 전방 고정블럭에 연결된 나사축을 상기 커팅깊이 조절구와 나사결합 설치하는 한편, 상기 조절구 하우징을 관통하여 설치된 볼프랜져는 커팅깊이 조절구의 외주면에 형성된 다수의 락킹홈 중 어느 하나에 끼워지도록 하는 기술을 강구한다.
본 발명에 따르면, 모재의 상부면에 스키드판을 밀착시킨 상태로 본체 헤드를 슬라이딩 이동하면서 용접비드를 한 쌍의 커터의 사이를 통과시킴으로써 상기 용접비드를 신속 간편하게 제거할 있을 뿐만 아니라 별도의 숙련도를 요하지 않으면서도 작업능률이 뛰어나 생산성 향상 및 비용절감을 꾀할 수 있는 효과를 제공한다.
또한, 이와 같은 용접비드의 제거과정에서 맞물리는 한 쌍의 커터는 본체 헤드가 어느 한쪽으로 쏠리려는 현상을 상호 상쇄시키면서 항상 정 중앙에 위치하도록 밸런스를 유지함으로써 작업도중 본체 헤드가 튕겨나가면서 부상을 입게 되는 안전사고를 효율적으로 예방하는 효과를 제공한다.
아울러 상기 본체 헤드를 커팅깊이 조절구의 간편한 조작을 통해 상하로 선회작동함으로써 용접비드의 커팅깊이를 정밀하게 미세조절할 수 있어 작업의 품질을 획기적으로 향상함은 물론 커터의 수명을 연장할 수 있는 효과를 제공한다.
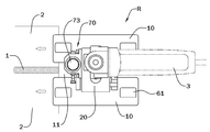
도 1은 본 발명이 적용된 용접비드 가공기의 사용상태 평면도
도 2는 본 발명 용접비드 가공기의 측면도
도 3은 본 발명 용접비드 가공기의 정면도
도 4는 본 발명 용접비드 가공기의 저면도
도 5는 본 발명의 본체 헤드, 주 커터축 및 종동 커터축의 조립상태 정단면도
도 6은 본 발명의 주 커터축 및 베어링 하우징의 조립상태 종단면도
도 7은 본 발명의 종동 커터축 및 베어링 하우징의 조립상태 종단면도
도 8은 본 발명의 커팅깊이 조절구의 조작에 따른 본체 헤드의 선회상태 측면도
도 9는 본 발명 커팅깊이 조절장치의 조립상태 일부절결 정단면도
도 10은 본 발명 프리휠의 설치상태 측단면도
본 발명이 해결하고자 하는 과제의 해결수단을 보다 구체적으로 구현하기 위한 바람직한 실시 예에 대하여 설명하기로 한다.
본 발명의 바람직한 실시 예에 따른 전체적인 기술구성을 첨부된 도면에 의거 개략적으로 살펴보면, 중앙에 전후로 개방된 용접비드 진행로(11)가 형성되도록 이격 설치되고, 상부면 전후에 각각 고정블럭(12)(12a)이 연결 설치된 한 쌍의 스키드판(10)과; 상기 고정블럭(12)(12a)의 사이에 설치되고, 하부 개방된 본체 헤드(20)와; 상기 본체 헤드(20)의 내부 일측에 회전가능하게 설치되고, 중앙 외측에 주기어(31)가 일체로 삽입 설치된 주 커터축(30)과; 상기 본체 헤드(20)의 내부 타측에 회전가능하게 설치되고, 상부 외측에 상기 주기어(31)와 맞물림 회전하는 종동기어(41)가 일체로 삽입 설치된 종동 커터축(40)과; 상기 주 커터축(30)의 상부 외측에 일체로 삽입 설치되어 동력축의 회전동력을 입력받는 스파이럴기어(50)의 유기적인 결합구성으로 이루어짐을 알 수 있다.
이하, 상기 개략적인 구성으로 이루어진 본 발명을 실시 용이하도록 좀더 상세하게 설명하기로 한다.
본 발명의 스키드판(10)은 도 1과 같이 용접비드(1)를 매개로 연결된 양측 한 쌍의 모재(2)의 상부면에 밀착된 상태로 슬라이딩 이동함으로써 작업자가 힘들이지 않고 용접비드(1)를 제거할 수 있도록 안내하는 역할을 수행하는 것으로, 상기 한 쌍의 스키드판(10)은 사이 중앙에 용접비드(1)가 통과할 수 있는 용접비드 진행로(11)가 형성될 수 있도록 거리를 두고 이격 설치되고, 이와 같이 이격된 한 쌍의 스키드판(10)은 상부면 전후에 각각 고정블럭(12)(12a)이 연결 설치됨으로써 상호 일체성을 유지할 수 있게 된다.
상기 고정블럭(12)(12a)의 사이에는 하부가 개방된 본체 헤드(20)가 안착 설치되고, 상기 본체 헤드(20)의 내부 양측에는 본 발명의 핵심기술인 한 쌍의 주 커터축(30) 및 종동 커터축(40)이 상호 맞물리면서 회전가능하도록 수직상으로 설치된다.
즉 상기 본체 헤드(20)의 내부 일측에는 중앙부 외측에 주기어(31)가 일체로 삽입 설치된 주 커터축(30)이 회전가능하게 삽입 설치되고, 상기 본체 헤드(20)의 내부 타측에는 상기 주기어(31)와 맞물림 회전하는 종동기어(41)가 일체로 삽입 설치된 종동 커터축(40)이 회전가능하게 삽입 설치된다.
이때 상기 주 커터축(30) 및 종동 커터축(40)은 도 1과 같이 용접비드 진행로(11)를 따라 이동하는 용접비드(1)가 상기 주 커터축(30) 및 종동 커터축(40)의 사이를 통과하면서 커팅 제거될 수 있도록 도 4와 같이 상기 용접비드 진행로(11)와 직교상태를 이루도록 좌우방향 양측에 각각 설치된다.
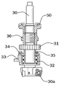
또한, 상기 주 커터축(30)은 상측이 상기 본체 헤드(20)의 내부 상부에 설치된 베어링(32)에 회전가능하게 지지되고, 하측은 본체 헤드(20)의 하부에 부착되는 베어링 하우징(33)을 관통하여 회전가능하게 지지되는 것으로, 상기 베어링 하우징(33)의 내부에는 주 커터축(30)의 하측을 지지하는 베어링(32)이 삽입 설치되고, 상기 베어링 하우징(33)의 상부에는 하우징 커버(34)가 부착되며, 상기 하우징 커버(34)와 주기어(31)의 사이에는 주기어(31)가 하부로 쳐짐을 방지하는 스페이서(35)가 끼워지고, 상기 주기어(31)의 상측에는 주기어(31)의 상부 이동을 방지하는 고정너트(36)가 나사결합 설치된다.
그리고 상기 종동 커터축(40)의 경우에도 상측이 상기 본체 헤드(20)의 내부 상부에 설치된 베어링(42)에 회전가능하게 지지되고, 하측은 본체 헤드(20)의 하부에 부착되는 베어링 하우징(43)을 관통하여 회전가능하게 지지되는 것으로, 상기 베어링 하우징(43)의 상부에 하우징 커버(44)가 부착되고, 이 하우징 커버(44)와 종동기어(41)의 사이에는 종동기어(41)가 하부로 쳐짐을 방지하는 고정너트(46)가 나사결합 설치되며, 상기 종동기어(41)의 상부에는 스냅링(45)이 설치된다.
이와 같은 주 커터축(30)의 상부 외측, 즉 상기 고정너트(36)의 상부에는 스파이럴기어(50)가 일체로 삽입설치되고, 상기 스파이럴기어(50)는 본체 헤드(20)의 후면에 부착되는 손잡이(3)의 내부에 구비된 동력축의 회전동력을 입력받아 상기 주 커터축(30)을 회전작동할 수 있게 된다.
이러한 구성으로 이루어진 본 발명은 상기 주 커터축(30)에 부착된 커터(30a)와 종동 커터축(40)에 부착되는 커터(40a)가 상호 맞물리면서 회전하게 되고, 상기 커터(30a)(40a)의 사이를 통과하는 용접비드(1)를 한 쌍의 커터(30a)(40a)가 순간적인 시차를 두고 교호로 반복하면서 커팅 제거하게 된다.
따라서, 어느 한쪽의 커터(30a)(40a)가 용접비드(1)에 접촉하는 충격에 따른 반발력으로 인해 회전방향 쪽으로 본체 헤드(20)가 쏠리려는 현상을 한 쌍의 맞물리는 커터(30a)(40a)가 상호 상쇄함으로써 상기 본체 헤드(20)는 항상 정 중앙에 위치할 수 있는 밸런스를 유지하여 작업도중 본체 헤드(20)가 튕겨나가면서 작업자가 부상을 입는 안전사고가 발생하거나 용접비드 가공기(R)가 파손됨을 효율적으로 방지하는 특별한 효과를 제공한다.
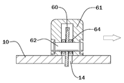
또한, 본 발명은 상기 스키드판(10)의 전후 양측에 각각 별도의 프리휠(60)이 추가로 설치됨으로써 상기 모재(2)의 상부면에 상기 스키드판(10)의 넓은 면적이 접촉함에 따른 마찰저항을 감소시켜 용접비드 가공기(R)의 더욱 원활한 이동을 안내할 수 있게 된다.
이를 위해 상기 스키드판(10)의 상부면 전후 양측에는 각각 휠 하우징(61)이 설치되고, 상기 휠 하우징(61)을 수평상으로 관통하여 휠축(62)이 설치되며, 상기 휠축(62)의 외측에는 휠축(62)과 별개로 자유롭게 회전하는 프리휠(60)이 상기 스키드판(10)에 형성된 휠 노출공(14)을 관통하여 외부로 노출되게 끼움 설치되고, 상기 프리휠(60)의 양측에는 각각 스페이서링(64)이 끼움 설치된다.
여기에서 상기 프리휠(60)은 휠축(62)과 일체가 아닌 분리된 구성으로 이루어짐으로써 상기 용접비드 가공기(R)가 원만하게 직선이동을 할 때에는 수직상으로 위치하면서 원활한 이동을 안내하는 반면, 작업도중 어느 한쪽으로 용접비드 가공기(R)가 쏠릴 경우 도 10과 같이 상기 프리휠(60)은 쏠림 방향 쪽으로 기울어지면서 브레이크 기능을 발휘함으로써 상기 용접비드 가공기(R)가 직선이동경로를 탈선하여 외부로 튕겨나가는 것을 추가로 방지하는 효과를 제공한다.
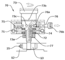
한편, 본 발명의 본체 헤드(20)는 한 쌍의 고정블럭(12)(12a)의 사이에 고정상태로 안착설치될 수 있을 뿐만 아니라 상기 본체 헤드(20)의 후면에 회동브라켓(22)이 일체로 돌출 형성되고, 상기 회동브라켓(22)은 회동축(23)을 매개로 후방 측 고정블럭(12)에 회동가능하게 결합되며, 상기 본체 헤드(20)의 전면에는 커팅깊이 조절장치(70)가 추가로 구비됨으로써 상기 회동축(23)을 기점으로 도 8과 같이 상기 본체 헤드(20)는 상하로 선회작동함에 따라 커터(30a)(40a)가 상하 위치 가변되면서 용접비드(1)의 커팅깊이를 자유롭게 미세 조절할 수 있게 된다.
이를 위한 커팅깊이 조절장치(70)는 도 8 내지 도 9와 같이 본체 헤드(20)의 전면에 조절구 하우징(71)이 부착되고, 상기 조절구 하우징(71)의 상하에는 각각 스러스트베어링(72)이 끼움 설치되며, 상기 조절구 하우징(71) 및 스러스트베어링(72)을 상하로 관통하여 커팅깊이 조절구(73)가 회전가능하게 설치되고, 상기 커팅깊이 조절구(73)의 하측에 형성된 나사부(73a)에 고정너트(77)가 체결됨으로써 상기 커팅깊이 조절구(73)는 조절구 하우징(71)으로부터 분리되지 않는 일체성을 유지하면서도 정역방향으로 자유롭게 회전할 수 있게 된다.
이와 같은 커팅깊이 조절구(73)는 상부 외주연에는 커팅깊이를 수치상으로 나타낸 눈금(73b)이 표기되고, 중앙부 외주면에는 방사상으로 다수의 락킹홈(73c)이 함몰 형성된다.
그리고 상기 전방 측 고정블럭(12a)에 형성된 연결브라켓(13)에는 힌지축(15)을 매개로 나사축(74)의 하측이 회전자유롭게 연결되고, 상기 나사축(74)의 상측은 커팅깊이 조절구(73)의 중앙을 관통하여 나사결합됨으로써 상기 커팅깊이 조절구(73)를 회전조작하면 나사축(74)을 따라 도 9 내지 도 10과 같이 커팅깊이 조절구(73)가 상하 어느 한쪽으로 이동함에 따라 본체 헤드(20)는 전체적으로 회동축(23)을 매개로 상부로 선회작동하면서 커팅깊이를 미세하게 조절할 수 있게 된다.
또한, 상기 조절구 하우징(71)에는 공지된 볼프랜져(75)가 수평상으로 관통하여 설치되고, 상기 볼프랜져(75)의 선단에 출몰가능하게 돌출된 볼은 커팅깊이 조절구(73)에 형성된 다수의 락킹홈(73c) 가운데 어느 하나의 락킹홈(73c)에 끼워지면서 락킹을 유지하며, 상기 커팅깊이 조절구(73)를 회전시킬 때에는 볼프랜져(75)의 볼은 락킹홈(73c)을 벗어나면서 언락킹을 유지하다가 다른 락킹홈(73c)에 끼워지면서 자동으로 커팅깊이 조절구(73)의 락킹을 유지할 수 있는 편리함을 제공한다.
나아가 본 발명은 상기 볼프랜져(75)가 스프링에 의한 탄성력을 이용하여 락킹을 유지함에 따라 작업도중 발생하는 강한 진동이나 충격으로 인해 상기 스프링이 수축되면서 볼프랜져(75)의 락킹이 자연적으로 해제될 우려가 있는바 이를 십분 고려하여 상기 커팅깊이 조절구(73)의 강력한 2차 락킹을 유지하는 별도의 고정구(76)가 추가로 구비된다.
즉 상기 볼프랜져(75)의 타측에는 고정구(76)가 조절구 하우징(71)을 관통하여 추가로 나사결합 설치되고, 상기 고정구(76)의 선단에 형성된 락킹핀(76a)은 작동노브(76b)를 잡아당기면 락킹홈(73c)을 벗어나면서 언락킹이 설정되고, 잡아당기던 작동노브(76b)를 놓으면 원상태로 복원되면서 락킹홈(73c)에 끼워져 락킹을 유지하며, 상기 고정구(76)의 경우 진동이나 충격이 가해지더라도 인위적으로 락킹을 해제하지 않는 이상 자연적으로 락킹이 해제될 우려는 전혀 없게 된다.
R: 용접비드 가공기 1: 용접비드
2: 모재 10: 스키드판
11: 용접비드 진행로 12, 12a: 고정블럭
14: 휠 노출공 20: 본체 헤드
22: 회동브라켓 30: 주 커터축
30a,40a: 커터 31: 주기어
33, 43: 베어링 하우징 40: 종동 커터축
41: 종동기어 50: 스파이럴기어
60: 프리휠 61: 휠 하우징
62: 휠축 70: 커팅깊이 조절장치
71: 조절구 하우징 73: 커팅깊이 조절구
73c: 락킹홈 74: 나사축
75: 볼프랜져 76: 고정구

Claims (6)

  1. 중앙에 전후로 개방된 용접비드 진행로(11)가 형성되도록 이격 설치되고, 상부면 전후에 각각 고정블럭(12)(12a)이 연결 설치된 한 쌍의 스키드판(10)과;
    상기 고정블럭(12)(12a)의 사이에 설치되고, 하부 개방된 본체 헤드(20)와;
    상기 본체 헤드(20)의 내부 일측에 회전가능하게 설치되고, 중앙 외측에 주기어(31)가 일체로 삽입 설치된 주 커터축(30)과;
    상기 본체 헤드(20)의 내부 타측에 회전가능하게 설치되고, 상부 외측에 상기 주기어(31)와 맞물림 회전하는 종동기어(41)가 일체로 삽입 설치된 종동 커터축(40)과;
    상기 주 커터축(30)의 상부 외측에 일체로 삽입 설치되어 동력축의 회전동력을 입력받는 스파이럴기어(50)로 이루어진 것을 특징으로 하는 안전성이 개선된 용접비드 가공기.
  2. 제 1항에 있어서,
    주 커터축(30) 및 종동 커터축(40)은 상측이 상기 본체 헤드(20)의 내부 상부에 설치된 베어링(32)(42)에 각각 회전가능하게 지지되고, 하측은 상기 본체 헤드(20)의 하부에 부착되는 베어링 하우징(33)(43)을 관통하여 각각 회전가능하게 지지된 것을 특징으로 하는 안전성이 개선된 용접비드 가공기.
  3. 제 1항에 있어서,
    주 커터축(30) 및 종동 커터축(40)은 용접비드 진행로(11)를 따라 이동하는 용접비드(1)가 상기 주 커터축(30) 및 종동 커터축(40)의 사이를 통과하도록 상기 용접비드 진행로(11)와 직교된 좌우방향 양측에 설치된 것을 특징으로 하는 안전성이 개선된 용접비드 가공기.
  4. 제 1항에 있어서,
    본체 헤드(20)의 후면에는 회동브라켓(22)이 일체로 돌출 형성되고, 상기 회동브라켓(22)은 후방 측 고정블럭(12)에 회동가능하게 결합되며, 상기 본체 헤드(20)의 전면에는 커팅깊이 조절장치(70)가 추가로 구비되는 한편;
    상기 커팅깊이 조절장치(70)는 본체 헤드(20)의 전면에 부착된 조절구 하우징(71)과;
    상기 조절구 하우징(71)의 상하를 관통하여 회전가능하게 설치되고, 중앙 외주면에 방사상으로 다수의 락킹홈(73c)이 형성된 커팅깊이 조절구(73)와;
    상기 전방 측 고정블럭(12)에 하측이 회전자유롭게 연결되고, 상측은 커팅깊이 조절구(73)를 관통하여 나사결합된 나사축(74)과;
    상기 조절구 하우징(71)을 관통하여 설치되고, 선단에 출몰가능하게 돌출된 볼이 상기 어느 하나의 락킹홈(73c)에 끼워지면서 커팅깊이 조절구(73)의 락킹을 유지하는 볼프랜져(75)로 이루어진 것을 특징으로 하는 안전성이 개선된 용접비드 가공기.
  5. 제 4항에 있어서,
    볼프랜져(75)의 타측에는 고정구(76)가 조절구 하우징(71)을 관통하여 추가로 나사결합 설치되고, 상기 고정구(76)의 선단에 형성된 락킹핀(76a)은 락킹홈(73c)에 끼워지면서 커팅깊이 조절구(73)의 2차적인 락킹을 유지하는 것을 특징으로 하는 안전성이 개선된 용접비드 가공기.
  6. 제 1항에 있어서,
    스키드판(10)의 전후 양측에는 각각 휠 하우징(61)이 설치되고, 상기 휠 하우징(61)을 관통하여 수평 설치된 휠축(62)에는 상기 스키드판(10)에 형성된 휠 노출공(14)을 관통하여 외부로 노출된 프리휠(60)이 회전자유롭게 끼움 설치되며, 상기 프리휠(60)의 양측에는 스페이서링(64)이 끼움 설치된 것을 특징으로 하는 안전성이 개선된 용접비드 가공기.
KR1020110122190A 2011-11-22 2011-11-22 안전성이 개선된 용접비드 가공기 Expired - Fee Related KR101306914B1 (ko)

Priority Applications (1)

Application Number Priority Date Filing Date Title
KR1020110122190A KR101306914B1 (ko) 2011-11-22 2011-11-22 안전성이 개선된 용접비드 가공기

Applications Claiming Priority (1)

Application Number Priority Date Filing Date Title
KR1020110122190A KR101306914B1 (ko) 2011-11-22 2011-11-22 안전성이 개선된 용접비드 가공기

Publications (2)

Publication Number Publication Date
KR20130056537A true KR20130056537A (ko) 2013-05-30
KR101306914B1 KR101306914B1 (ko) 2013-09-10

Family

ID=48664537

Family Applications (1)

Application Number Title Priority Date Filing Date
KR1020110122190A Expired - Fee Related KR101306914B1 (ko) 2011-11-22 2011-11-22 안전성이 개선된 용접비드 가공기

Country Status (1)

Country Link
KR (1) KR101306914B1 (ko)

Cited By (1)

* Cited by examiner, † Cited by third party
Publication number Priority date Publication date Assignee Title
DE102023134753A1 (de) * 2023-12-12 2025-06-12 MAIJA-Frästechnik GmbH Frässchlitten zum führen eines fräswerkzeugs

Families Citing this family (2)

* Cited by examiner, † Cited by third party
Publication number Priority date Publication date Assignee Title
KR101462441B1 (ko) * 2014-04-01 2014-11-18 주식회사 대성지티 용접모재 측면 가공기
KR102084949B1 (ko) 2019-04-30 2020-03-05 에이에프더블류 주식회사 부스바 제조방법

Family Cites Families (2)

* Cited by examiner, † Cited by third party
Publication number Priority date Publication date Assignee Title
KR20090030458A (ko) * 2007-09-20 2009-03-25 김근식 콘크리트 바닥 연삭기
JP5239654B2 (ja) * 2008-09-05 2013-07-17 村田機械株式会社 バリ取り装置

Cited By (2)

* Cited by examiner, † Cited by third party
Publication number Priority date Publication date Assignee Title
DE102023134753A1 (de) * 2023-12-12 2025-06-12 MAIJA-Frästechnik GmbH Frässchlitten zum führen eines fräswerkzeugs
DE102023134753B4 (de) * 2023-12-12 2025-10-09 MAIJA-Frästechnik GmbH Frässchlitten zum führen eines fräswerkzeugs

Also Published As

Publication number Publication date
KR101306914B1 (ko) 2013-09-10

Similar Documents

Publication Publication Date Title
KR101159642B1 (ko) 안전성이 개선된 양축이동형 용접비드 가공기
EP3437813B1 (en) Pipe cutting and beveling machine
KR100955217B1 (ko) 면취기의 원터치식 면취량 조절장치
JP6726850B2 (ja) 移動式溶接改善用パイプ外径面取器
JP4953038B1 (ja) 手持ち式電動切断機
KR101081345B1 (ko) 안전주행 기능을 갖는 용접비드 및 돌출부 제거기
KR101306914B1 (ko) 안전성이 개선된 용접비드 가공기
CA2551463A1 (en) A portable cutting device with guiding guard
KR200474603Y1 (ko) 밀링머신 작업자를 위한 안전장치
KR101522826B1 (ko) 보조 안전커버를 포함하는 절단기
KR101607679B1 (ko) 각도절단기용 보호커버
CN208895302U (zh) 一种手持式快速安全定位切割机
KR101271493B1 (ko) 초간편 용접비드 가공기
KR200472947Y1 (ko) 파일 절단기
US20170129127A1 (en) Metal or wood working equipment with work-piece securing apparatus
KR101223065B1 (ko) 파이프 용접비드 가공기
CN201350520Y (zh) 自由边专用铣刀
KR101692867B1 (ko) 그라인더 휠가드의 고정구조
KR101625449B1 (ko) 그라인더 휠가드의 고정구조
KR101304322B1 (ko) 전동 그라인더
JP4509834B2 (ja) 切断機
CN210633363U (zh) 一种圆锯机铣刀防护装置
US9527145B2 (en) Saw attachment mechanism
KR100905320B1 (ko) 피가공물과의 마찰저항 감소기능을 갖는 다목적 면취기
KR102352795B1 (ko) 그라인더용 이탈방지 안전고리

Legal Events

Date Code Title Description
A201 Request for examination
PA0109 Patent application

St.27 status event code: A-0-1-A10-A12-nap-PA0109

PA0201 Request for examination

St.27 status event code: A-1-2-D10-D11-exm-PA0201

E902 Notification of reason for refusal
PE0902 Notice of grounds for rejection

St.27 status event code: A-1-2-D10-D21-exm-PE0902

E13-X000 Pre-grant limitation requested

St.27 status event code: A-2-3-E10-E13-lim-X000

P11-X000 Amendment of application requested

St.27 status event code: A-2-2-P10-P11-nap-X000

P13-X000 Application amended

St.27 status event code: A-2-2-P10-P13-nap-X000

PG1501 Laying open of application

St.27 status event code: A-1-1-Q10-Q12-nap-PG1501

E701 Decision to grant or registration of patent right
PE0701 Decision of registration

St.27 status event code: A-1-2-D10-D22-exm-PE0701

GRNT Written decision to grant
PR0701 Registration of establishment

St.27 status event code: A-2-4-F10-F11-exm-PR0701

PR1002 Payment of registration fee

St.27 status event code: A-2-2-U10-U11-oth-PR1002

Fee payment year number: 1

PG1601 Publication of registration

St.27 status event code: A-4-4-Q10-Q13-nap-PG1601

P22-X000 Classification modified

St.27 status event code: A-4-4-P10-P22-nap-X000

FPAY Annual fee payment

Payment date: 20160902

Year of fee payment: 4

PR1001 Payment of annual fee

St.27 status event code: A-4-4-U10-U11-oth-PR1001

Fee payment year number: 4

FPAY Annual fee payment

Payment date: 20170901

Year of fee payment: 5

PR1001 Payment of annual fee

St.27 status event code: A-4-4-U10-U11-oth-PR1001

Fee payment year number: 5

PN2301 Change of applicant

St.27 status event code: A-5-5-R10-R13-asn-PN2301

St.27 status event code: A-5-5-R10-R11-asn-PN2301

P22-X000 Classification modified

St.27 status event code: A-4-4-P10-P22-nap-X000

FPAY Annual fee payment

Payment date: 20180903

Year of fee payment: 6

PR1001 Payment of annual fee

St.27 status event code: A-4-4-U10-U11-oth-PR1001

Fee payment year number: 6

FPAY Annual fee payment

Payment date: 20190902

Year of fee payment: 7

PR1001 Payment of annual fee

St.27 status event code: A-4-4-U10-U11-oth-PR1001

Fee payment year number: 7

PR1001 Payment of annual fee

St.27 status event code: A-4-4-U10-U11-oth-PR1001

Fee payment year number: 8

R18-X000 Changes to party contact information recorded

St.27 status event code: A-5-5-R10-R18-oth-X000

PC1903 Unpaid annual fee

St.27 status event code: A-4-4-U10-U13-oth-PC1903

Not in force date: 20210905

Payment event data comment text: Termination Category : DEFAULT_OF_REGISTRATION_FEE

PC1903 Unpaid annual fee

St.27 status event code: N-4-6-H10-H13-oth-PC1903

Ip right cessation event data comment text: Termination Category : DEFAULT_OF_REGISTRATION_FEE

Not in force date: 20210905