KR20130014237A - 자동차용 스태빌라이저 바의 마운트 부시 - Google Patents

자동차용 스태빌라이저 바의 마운트 부시 Download PDF

Info

Publication number
KR20130014237A
KR20130014237A KR1020110076225A KR20110076225A KR20130014237A KR 20130014237 A KR20130014237 A KR 20130014237A KR 1020110076225 A KR1020110076225 A KR 1020110076225A KR 20110076225 A KR20110076225 A KR 20110076225A KR 20130014237 A KR20130014237 A KR 20130014237A
Authority
KR
South Korea
Prior art keywords
bush
stabilizer bar
sliding bearing
pipe
mount
Prior art date
Legal status (The legal status is an assumption and is not a legal conclusion. Google has not performed a legal analysis and makes no representation as to the accuracy of the status listed.)
Granted
Application number
KR1020110076225A
Other languages
English (en)
Other versions
KR101542956B1 (ko
Inventor
장대원
Original Assignee
현대자동차주식회사
Priority date (The priority date is an assumption and is not a legal conclusion. Google has not performed a legal analysis and makes no representation as to the accuracy of the date listed.)
Filing date
Publication date
Application filed by 현대자동차주식회사 filed Critical 현대자동차주식회사
Priority to KR1020110076225A priority Critical patent/KR101542956B1/ko
Priority to US13/529,763 priority patent/US8882092B2/en
Priority to DE201210105454 priority patent/DE102012105454A1/de
Priority to CN201210225395.6A priority patent/CN102896995B/zh
Publication of KR20130014237A publication Critical patent/KR20130014237A/ko
Application granted granted Critical
Publication of KR101542956B1 publication Critical patent/KR101542956B1/ko
Active legal-status Critical Current
Anticipated expiration legal-status Critical

Links

Images

Classifications

    • BPERFORMING OPERATIONS; TRANSPORTING
    • B60VEHICLES IN GENERAL
    • B60GVEHICLE SUSPENSION ARRANGEMENTS
    • B60G21/00Interconnection systems for two or more resiliently-suspended wheels, e.g. for stabilising a vehicle body with respect to acceleration, deceleration or centrifugal forces
    • B60G21/02Interconnection systems for two or more resiliently-suspended wheels, e.g. for stabilising a vehicle body with respect to acceleration, deceleration or centrifugal forces permanently interconnected
    • B60G21/04Interconnection systems for two or more resiliently-suspended wheels, e.g. for stabilising a vehicle body with respect to acceleration, deceleration or centrifugal forces permanently interconnected mechanically
    • B60G21/05Interconnection systems for two or more resiliently-suspended wheels, e.g. for stabilising a vehicle body with respect to acceleration, deceleration or centrifugal forces permanently interconnected mechanically between wheels on the same axle but on different sides of the vehicle, i.e. the left and right wheel suspensions being interconnected
    • B60G21/055Stabiliser bars
    • B60G21/0551Mounting means therefor
    • BPERFORMING OPERATIONS; TRANSPORTING
    • B60VEHICLES IN GENERAL
    • B60GVEHICLE SUSPENSION ARRANGEMENTS
    • B60G21/00Interconnection systems for two or more resiliently-suspended wheels, e.g. for stabilising a vehicle body with respect to acceleration, deceleration or centrifugal forces
    • B60G21/02Interconnection systems for two or more resiliently-suspended wheels, e.g. for stabilising a vehicle body with respect to acceleration, deceleration or centrifugal forces permanently interconnected
    • B60G21/04Interconnection systems for two or more resiliently-suspended wheels, e.g. for stabilising a vehicle body with respect to acceleration, deceleration or centrifugal forces permanently interconnected mechanically
    • B60G21/05Interconnection systems for two or more resiliently-suspended wheels, e.g. for stabilising a vehicle body with respect to acceleration, deceleration or centrifugal forces permanently interconnected mechanically between wheels on the same axle but on different sides of the vehicle, i.e. the left and right wheel suspensions being interconnected
    • B60G21/055Stabiliser bars
    • BPERFORMING OPERATIONS; TRANSPORTING
    • B62LAND VEHICLES FOR TRAVELLING OTHERWISE THAN ON RAILS
    • B62DMOTOR VEHICLES; TRAILERS
    • B62D21/00Understructures, i.e. chassis frame on which a vehicle body may be mounted
    • FMECHANICAL ENGINEERING; LIGHTING; HEATING; WEAPONS; BLASTING
    • F16ENGINEERING ELEMENTS AND UNITS; GENERAL MEASURES FOR PRODUCING AND MAINTAINING EFFECTIVE FUNCTIONING OF MACHINES OR INSTALLATIONS; THERMAL INSULATION IN GENERAL
    • F16FSPRINGS; SHOCK-ABSORBERS; MEANS FOR DAMPING VIBRATION
    • F16F15/00Suppression of vibrations in systems; Means or arrangements for avoiding or reducing out-of-balance forces, e.g. due to motion
    • F16F15/02Suppression of vibrations of non-rotating, e.g. reciprocating systems; Suppression of vibrations of rotating systems by use of members not moving with the rotating systems
    • F16F15/04Suppression of vibrations of non-rotating, e.g. reciprocating systems; Suppression of vibrations of rotating systems by use of members not moving with the rotating systems using elastic means
    • F16F15/08Suppression of vibrations of non-rotating, e.g. reciprocating systems; Suppression of vibrations of rotating systems by use of members not moving with the rotating systems using elastic means with rubber springs ; with springs made of rubber and metal
    • BPERFORMING OPERATIONS; TRANSPORTING
    • B60VEHICLES IN GENERAL
    • B60GVEHICLE SUSPENSION ARRANGEMENTS
    • B60G2204/00Indexing codes related to suspensions per se or to auxiliary parts
    • B60G2204/10Mounting of suspension elements
    • B60G2204/12Mounting of springs or dampers
    • B60G2204/122Mounting of torsion springs
    • B60G2204/1222Middle mounts of stabiliser on vehicle body or chassis
    • BPERFORMING OPERATIONS; TRANSPORTING
    • B60VEHICLES IN GENERAL
    • B60GVEHICLE SUSPENSION ARRANGEMENTS
    • B60G2204/00Indexing codes related to suspensions per se or to auxiliary parts
    • B60G2204/40Auxiliary suspension parts; Adjustment of suspensions
    • B60G2204/41Elastic mounts, e.g. bushings

Landscapes

  • Engineering & Computer Science (AREA)
  • Mechanical Engineering (AREA)
  • Vehicle Body Suspensions (AREA)
  • Springs (AREA)
  • Chemical & Material Sciences (AREA)
  • Combustion & Propulsion (AREA)
  • General Engineering & Computer Science (AREA)
  • Physics & Mathematics (AREA)
  • Acoustics & Sound (AREA)
  • Aviation & Aerospace Engineering (AREA)
  • Transportation (AREA)
  • Vibration Prevention Devices (AREA)

Abstract

자동차용 스태빌라이저 바의 마운트 부시가 개시된다. 본 발명의 일 실시 예에 따른 자동차용 스태빌라이저 바의 마운트 부시는 튜브 형태로 이루어져 스태빌라이저 바의 외주측에 결합되는 고무부재와, 상기 고무부재의 외주측을 감싸는 금속제인 파이프를 포함하는 인너 부시; 상하로 배치되는 한 쌍의 베어링으로 구성되어 상기 인너 부시의 외주측에 결합되는 미끄럼 베어링; 및 상부 및 하부 브라켓으로 분리 형성되며, 내경부에 상부 아웃터 부시와 하부 아웃터 부시로 이루어지는 아웃터 부시가 일체로 형성되어 상기 미끄럼 베어링을 감싸면서 차체에 고정되는 브라켓을 포함한다.

Description

자동차용 스태빌라이저 바의 마운트 부시{MOUNT BUSH OF STABILIZER BAR FOR VEHICLE}
본 발명은 자동차의 현가장치에 적용되는 스태빌라이저 바의 마운트 부시에 관한 것으로서, 보다 상세하게는 소음과 마찰을 저감시켜 자동차의 상품성 및 연비를 증대시키고, 내부로 이물질이 침투되거나 누유되는 것을 방지하여 내구성을 향상시킬 수 있도록 한 자동차용 스태빌라이저 바의 마운트 부시에 관한 것이다.
자동차에서 스태빌라이저 바는 독립식 현가장치에 적용되어 선회 또는 거친 노면의 주행 시, 차체의 롤 모션을 억제하여 차체의 평형을 유지시키는 일종의 비틀림 스프링이다.
도 1은 일반적인 스태빌라이저 바의 구성을 설명하기 위한 현가장치의 평면도이다.
도 1을 참조하면, 스태빌라이저 바(2)는 그 양단에 각각 컨트롤 링크(4)(6)를 개재시켜 로워 컨트롤 아암(8)(10) 또는 스트러트 어셈블리(12)(14)에 연결된다.
그리고 상기 스태빌라이저 바(2)의 중간 직선부 양측 부분이 서브 프레임(16)에 마운팅 부시(18)(20)를 통하여 고정된다.
상기와 같이 구성되는 스태빌라이저 바(2)는 차체의 롤링시에 발생하는 좌우 휠을 지지하는 보조 스프링 기능을 하면서 좌우 휠이 동위상으로 움직일 때에는 힘을 받지 않고, 역위상으로 움직이는 경우에는 비틀림 탄성력에 의해 좌우 휠의 움직임을 구속하여 차체의 롤 거동을 억제하는 역할을 수행한다.
예컨대, 상기한 스태빌라이저 바(2)는 차량의 선회 시, 선회 외측 휠이 바운드를 하고, 선회 내측 휠이 리바운드를 할 때, 이들 양 휠의 움직임을 같게 하는 작용을 하여 차체의 기울기를 억제하게 되며, 반대로 좌우 휠이 동시에 같은 방향으로 동작될 때에는 작용하지 않게 된다.
그리고 상기 스태빌라이저 바(2)의 직선부 양측을 서브 프레임(16)에 고정시켜 주는 마운트 부시(18)(20)는 통상적으로 도 2와 도 3과 같이 구성된다.
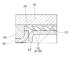
도 2a는 윤활 부시 타입의 마운트 부시의 단면도이다.
도 2a를 참조하면, 윤활 부시 타입의 마운트 부시(18)(20)는 브라켓(22)과 윤활 성분이 첨가된 고무부시(24)로 구성되어 상기 브라켓(22)이 상기 고무부시(24)를 감싸는 형태로 차체 또는 서브 프레임(16)에 고정된다.
상기 고무부시(24)의 중앙부에는 원형 단면을 갖는 스태빌라이저 바(2)가 관통하는 형태로 고정되어 스태빌라이저 바(2)의 거동으로 인한 소음이나 진동을 차단하게 되며, 상기 고무부시(24)는 스태빌라이저 바(2)에 대한 압축력의 크기에 따라 롤 강성 크기에도 큰 영향을 미치게 된다.
도 2b는 상기 도 2a의 Ⅰ부분에 대한 미소 부위 변화 추이를 설명하기 위한 단면도이다.
도 2b를 참조하면, 상기 윤활 부시 타입의 마운트 부시(18)(20)는 스태빌라이저 바의 회전 시, 초기 대략 2°~ 3°구간에서 고무부시(24)의 변형이 발생한 후, 슬립이 발생된다.
상기와 같이 슬립이 발생된다고 하는 것은 소음 발생을 의미하며, 고무 노화가 진행될수록 소음이 커진다는 문제점이 있다.
도 3a는 중철 부시 타입의 마운트 부시의 단면도이다.
도 3a를 참조하면, 중철 부시 타입의 마운트 부시(18)(20)는 상기 윤활 부시 타입의 마운트 부시와 마찬가지로 브라켓(22)과 고무부시(24)로 이루어지되, 상기 고무부시(24)의 내부에 중철 부시(26)를 삽입하여 스태빌라이저 바(2)의 회전 시, 슬립이 발생되지 않도록 하는 구조로 이루어진다.
도 3b는 상기 도 3a의 Ⅱ 부분에 대한 미소 부위 변화 추이를 설명하기 위한 단면도이다.
도 3b를 참조하면, 중철 부시 타입의 마운트 부시(18)(20)는 슬립 발생이 없는 구조로서 소음 문제는 해결할 수 있으나, 회전방향 토크가 비례하여 증대되므로 차량의 거동이 과도한 경우, 마찰이 증대되어 연비에 불리하다는 문제점이 있다.
본 발명의 실시 예는 미끄럼 베어링 구조를 이용하여 고질적 문제인 소음과 마찰을 저감시켜 자동차의 상품성 및 연비를 증대시키고, 내부로 이물질이 침투하거나 누유되는 것을 방지하여 내구성을 향상시킬 수 있는 자동차용 스태빌라이저 바의 마운트 부시를 제공하고자 한다.
본 발명의 하나 또는 다수의 실시 예에서는 튜브 형태로 이루어져 스태빌라이저 바의 외주측에 결합되는 고무부재와, 상기 고무부재의 외주측을 감싸는 금속제인 파이프를 포함하는 인너 부시; 상하로 배치되는 한 쌍의 베어링으로 구성되어 상기 인너 부시의 외주측에 결합되는 미끄럼 베어링; 및 상부 및 하부 브라켓으로 분리 형성되며, 내경부에 상부 아웃터 부시와 하부 아웃터 부시로 이루어지는 아웃터 부시가 일체로 형성되어 상기 미끄럼 베어링을 감싸면서 차체에 고정되는 브라켓을 포함하는 자동차용 스태빌라이저 바의 마운트 부시를 제공할 수 있다.
또한, 상기 인너 부시는 일측을 벌려 상기 스태빌라이저 바의 외주면에 조립되도록 일측에 길이방향을 따라 절개부가 형성될 수 있다.
또한, 상기 인너 부시의 파이프는 양단부가 대직경부로 형성되며, 상기 대직경부 사이에 상기 미끄럼 베어링이 조립될 수 있다.
또한, 상기 미끄럼 베어링은 테프론 계열의 저마찰 소재로 이루어질 수 있다.
또한, 상기 미끄럼 베어링은 양단부에 외주측으로 절곡되는 플랜지가 형성되어 상기 파이프의 대직경부 사이에 조립될 수 있다.
또한, 상기 인너 부시의 파이프 양단부와 아웃터 부시의 양단부 사이에는 시일링 수단을 더 포함할 수 있다.
상기 시일링 수단은 상기 아웃터 부시의 양단부 내경면에 형성되는 다수의 립으로 이루어질 수 있으며, 상기 립은 자유단이 외측을 향하면서 상기 파이프의 외주면과 밀착될 수 있다.
본 발명의 실시 예는 상기 인너 부시가 조립형으로 형성되어 마운팅 위치를 필요에 따라 변경할 수 있는 바, 조립성을 향상시킬 수 있다.
그리고 차종별 전륜 및 후륜 서브 프레임의 스태빌라이저 바 마운트 브라켓의 하단면 형상이 상이하여(평면형, 그루브형) 공용화에 한계가 있었으나, 하부 브라켓의 고무 형상에 따라 대응이 가능하고, 특히 인너 부시의 고무량에 따라 스태빌라이저 바의 직경에 따른 공용화도 가능할 수 있다.
또한, 차량의 거동 시, 스태빌라이저 바의 벤딩에 의해 시일링부의 변위가 발생하여 시일링 성능 확보에 어려움이 있었으나, 인너 부시와 아웃터 부시의 분할로 스태빌라이저 바의 거동시에도 시일링부 변위가 미소하여 시일링 성능도 크게 향상시킬 수 있다.
도 1은 일반적인 독립 현가장치의 일 예를 보인 평면도이다.
도 2a와 도 2b는 일반적인 스태빌라이저 바 마운트 부시의 제1 실시 예를 보인 단면도 및 미소 부위 변화 추이를 설명하기 위한 단면도이다.
도 3a 및 도 3b는 일반적인 스태빌라이저 바 마운트 부시의 제2 실시 예를 보인 단면도 및 미소 부위 변화 추이를 설명하기 위한 단면도이다.
도 4는 본 발명의 실시 예에 따른 마운트 부시의 분해 사시도이다.
도 5는 본 발명의 실시 예에 따른 마운트 부시의 일부 절개 사시도이다.
도 6은 도 5의 Ⅲ 부분에 대한 확대 단면도이다.
이하, 본 발명의 바람직한 실시 예를 첨부한 도면을 통하여 상세하게 설명하면 다음과 같다.
단, 본 발명의 실시 예를 명확하게 설명하기 위하여 설명과 관계없는 부분은 생략하였으며, 명세서 전체를 통하여 동일 또는 유사한 구성요소에 대해서는 동일한 도면부호를 적용하여 설명한다.
하기의 설명에서 구성의 명칭을 제1, 제2 등으로 구분한 것은 그 구성의 명칭이 동일하여 이를 구분하기 위한 것으로, 반드시 그 순서에 한정되는 것은 아니다.
도 4 내지 도 6은 본 발명에 의한 스태빌라이저 바의 마운트 부시에 대한 일 실시 예를 도시한 것으로서, 부호 100은 마운트 부시 전체를 지칭한다.
상기 마운트 부시(100)는 도 4 및 도 5에서와 같이, 인너 부시(110), 미끄럼 베어링(120), 브라켓(130)으로 구성된다.
상기 인너 부시(110)는 튜브 형태로서, 자체 탄성력을 갖는 고무부재(111)와, 상기 고무부재(111)의 외주측을 감싸는 금속제인 파이프(112)를 포함한다.
그리고 상기 인너 부시(110)는 일측에 길이방향으로 절개부(113)를 형성하여 이의 절개부(113)를 벌려서 스태빌라이저 바(102)의 외주 측에 장착되도록 구성된다.
또한, 상기 파이프(112)는 양단부가 대직경부(114)(115)로 형성되며, 상기 대직경부(114)(115) 사이의 외주면에 상기 미끄럼 베어링(120)이 안착된다.
상기 미끄럼 베어링(120)은 반원통형의 상하로 배치되는 한 쌍의 베어링(121)(122)으로 구성되며, 상기 파이프(112)의 외주 측에 조립된다.
그리고 상기 미끄럼 베어링(120)은 양 단부에 외측으로 돌출되는 둘레턱 형태의 플랜지(123)(124)가 형성되어 상기 파이프(112)에 안정된 고정상태를 유지할 수 있도록 하였다.
상기 미끄럼 베어링(120)은 상기 파이프(112)와 후술하는 아웃터 부시(140) 간의 마찰을 최소화한다.
이에 따라 상기 미끄럼 베어링(120)은 테프론 계열의 저마찰 소재(BI-MESH :테프론 + 동메쉬)로 이루어질 수 있다.
상기 테프론 계열의 저마찰 소재는 경량화 및 조립성이 우수하다는 장점이 있고, 높은 내하중과 저 마찰계수, 낮은 열팽창, 열전도성, 성형성, 내화학성이 우수하다는 특징이 있다.
상기 브라켓(130)은 상부 및 하부 브라켓(131)(132)으로 분리 형성되며, 상기 상부 및 하부 브라켓(131)(132)의 내경부에는 상부 아웃터 부시(141)와 하부 아웃터 부시(142)로 이루어지는 아웃터 부시(140)가 일체로 형성된다.
이에 따라 상기 미끄럼 베어링(120)의 외주측에 상기 상부 및 하부 브라켓(131)(132)이 감싸면서 조립되어 차체 또는 서브 프레임에 스태빌라이저 바(102)를 마운트하게 되는 것이다.
상기에서 상부 브라켓(131)은 금속부재로서 반원통형으로 형성되어 그 내경부에 상기 상부 아웃터 부시(141)가 장착되고, 양단에 고정구(133)가 돌출 형성되어 고정볼트(134)에 의하여 상기 하부 브라켓(132)에 고정된다.
그리고 상기 하부 브라켓(132)은 금속부재로서 상기 상부 브라켓(131)의 고정구(133)가 조립되는 평면부(135)를 두고, 그 사이의 반원형부 상측으로 상기 하부 아웃터 부시(142)가 장착된다.
또한, 상기 반원형부의 하측에는 고무부재(136)가 충진되어 마운트 브라켓(100)과 차체 또는 서브 프레임 사이에서 완충부재 역할을 수행한다.
상기 아웃터 부시(140)를 형성하는 상부 및 하부 아웃터 부시(141)(142)는 자체 탄성력을 갖는 고무부재로서, 중앙 부분이 소직경부(143)(144)로 이루어지고, 그 양단부가 대직경부(145)(146)로 이루어진다.
이에 따라 상기 소직경부(143)(144)가 상기 미끄럼 베어링(120)의 양 플렌지(123)(124) 사이로 삽입되어 고정되며, 상기 대직경부(145)(146)는 상기 파이프(112)의 대직경부(114)(115)와 일정 간격을 유지한다.
그리고 상기 아웃터 부시(140)의 대직경부(145)(146)에는 이물질 침입을 방지할 수 있도록 도 6에서와 같이 시일링(Sealing) 수단이 형성된다.
상기 시일링 수단은 상부 및 하부 아웃터 부시(141)(142)의 대직경부(145)(146)의 내경부에 형성되는 립(Lip;150, 151)으로 이루어진다.
상기 립(150)(151)은 적어도 1개 이상이 소정의 간격을 두고 형성되며, 그 자유단이 외측을 향하면서 상기 파이프(112)의 대직경부(145)(146)와 밀착되어 외부로부터 이물질 침입을 방지하게 된다.
이상에서와 같이 본 발명의 실시 예에 의하면, 상기 인너 부시(110)가 조립형으로 형성되어 마운팅 위치를 필요에 따라 변경할 수 있는 바, 조립성을 향상시킬 수 있다.
그리고 차종별 전륜 및 후륜 서브 프레임의 스태빌라이저 바 마운트 브라켓의 하단면 형상이 상이하여(평면형, 그루브형) 공용화에 한계가 있었으나, 하부 브라켓의 고무 형상에 따라 대응이 가능하고, 특히 인너 부시(110)의 고무량에 따라 스태빌라이저 바의 직경에 따른 공용화도 가능할 수 있다.
또한, 차량의 거동 시, 스태빌라이저 바의 벤딩에 의해 시일링부의 변위가 발생하여 시일링 성능 확보에 어려움이 있었으나, 인너 부시(110)와 아웃터 부시(141)(142)의 분할로 스태빌라이저 바(102)의 거동시에도 시일링부 변위가 미소하여 시일링 성능도 크게 향상시킬 수 있다.
이상을 통해 본 발명의 하나의 실시 예에 대하여 설명하였지만, 본 발명은 이에 한정되는 것이 아니고, 특허청구범위와 발명의 상세한 설명 및 첨부한 도면의 범위 안에서 여러 가지로 변형하여 실시하는 것이 가능하고, 이 또한 본 발명의 범위에 속하는 것은 당연하다.
100...마운트 부시 102...스태빌라이저 바
110...인너 부시 111...고무부재
112...파이프 120...미끄럼 베어링
121,122...베어링 130...브라켓
131.132...상부 및 하부 브라켓 140...아웃터 부시
141,142...상부 및 하부 아웃터 부시 150, 151...립

Claims (8)

  1. 튜브 형태로 이루어져 스태빌라이저 바의 외주측에 결합되는 고무부재와, 상기 고무부재의 외주측을 감싸는 금속제인 파이프를 포함하는 인너 부시;
    상하로 배치되는 한 쌍의 베어링으로 구성되어 상기 인너 부시의 외주측에 결합되는 미끄럼 베어링; 및
    상부 및 하부 브라켓으로 분리 형성되며, 내경부에 상부 아웃터 부시와 하부 아웃터 부시로 이루어지는 아웃터 부시가 일체로 형성되어 상기 미끄럼 베어링을 감싸면서 차체에 고정되는 브라켓을 포함하는 자동차용 스태빌라이저 바의 마운트 부시.
  2. 제1항에 있어서,
    상기 인너 부시는 일측을 벌려 상기 스태빌라이저 바의 외주면에 조립되도록 일측에 길이방향을 따라 절개부가 형성되는 것을 특징으로 하는 자동차용 스태빌라이저 바의 마운트 부시.
  3. 제1항에 있어서,
    상기 인너 부시의 파이프는 양단부가 대직경부로 형성되며, 상기 대직경부 사이에 상기 미끄럼 베어링이 조립되는 것을 특징으로 하는 자동차용 스태빌라이저 바의 마운트 부시.
  4. 제1항에 있어서,
    상기 미끄럼 베어링은 테프론 계열의 저마찰 소재로 이루어지는 것을 특징으로 하는 자동차용 스태빌라이저 바의 마운트 부시.
  5. 제1항에 있어서,
    상기 미끄럼 베어링은 양단부에 외주측으로 절곡되는 플랜지가 형성되어 상기 파이프의 대직경부 사이에 조립되는 것을 특징으로 하는 자동차용 스태빌라이저 바의 마운트 부시.
  6. 제1항에 있어서,
    상기 인너 부시의 파이프 양단부와 아웃터 부시의 양단부 사이에 시일링 수단을 더 포함하는 것을 특징으로 하는 자동차용 스태빌라이저 바의 마운트 부시.
  7. 제6항에 있어서,
    상기 시일링 수단은 상기 아웃터 부시의 양단부 내경면에 형성되는 다수의 립으로 이루어지는 것을 특징으로 하는 자동차용 스태빌라이저 바의 마운트 부시.
  8. 제7항에 있어서,
    상기 립은 자유단이 외측을 향하면서 상기 파이프의 외주면과 밀착되는 것을 특징으로 하는 자동차용 스태빌라이저 바의 마운트 부시.
KR1020110076225A 2011-07-29 2011-07-29 자동차용 스태빌라이저 바의 마운트 부시 Active KR101542956B1 (ko)

Priority Applications (4)

Application Number Priority Date Filing Date Title
KR1020110076225A KR101542956B1 (ko) 2011-07-29 2011-07-29 자동차용 스태빌라이저 바의 마운트 부시
US13/529,763 US8882092B2 (en) 2011-07-29 2012-06-21 Mount bushing of stabilizer bar for vehicle
DE201210105454 DE102012105454A1 (de) 2011-07-29 2012-06-22 Halterungsdurchführung eines stabilisators eines fahrzeugs
CN201210225395.6A CN102896995B (zh) 2011-07-29 2012-06-29 用于车辆的稳定杆的安装套管

Applications Claiming Priority (1)

Application Number Priority Date Filing Date Title
KR1020110076225A KR101542956B1 (ko) 2011-07-29 2011-07-29 자동차용 스태빌라이저 바의 마운트 부시

Publications (2)

Publication Number Publication Date
KR20130014237A true KR20130014237A (ko) 2013-02-07
KR101542956B1 KR101542956B1 (ko) 2015-08-07

Family

ID=47503230

Family Applications (1)

Application Number Title Priority Date Filing Date
KR1020110076225A Active KR101542956B1 (ko) 2011-07-29 2011-07-29 자동차용 스태빌라이저 바의 마운트 부시

Country Status (4)

Country Link
US (1) US8882092B2 (ko)
KR (1) KR101542956B1 (ko)
CN (1) CN102896995B (ko)
DE (1) DE102012105454A1 (ko)

Families Citing this family (24)

* Cited by examiner, † Cited by third party
Publication number Priority date Publication date Assignee Title
WO2013121674A1 (ja) * 2012-02-15 2013-08-22 本田技研工業株式会社 ブッシュ
DE212013000204U1 (de) * 2012-12-10 2015-04-27 Illinois Tool Works Inc. Ringverbindungsanordnung
FR3000009B1 (fr) * 2012-12-20 2018-08-03 Renault S.A.S. Dispositif de liaison d'un berceau automobile
US10323775B2 (en) * 2013-09-26 2019-06-18 Braskem America, Inc. Pipe support system
JP6388787B2 (ja) * 2014-04-28 2018-09-12 株式会社ブリヂストン 弾性ストッパ部材及び防振装置
CN104331578B (zh) * 2014-11-19 2017-11-10 山东理工大学 外偏置非同轴式驾驶室稳定杆橡胶套长度的设计方法
DE102015117349A1 (de) * 2015-10-12 2017-04-13 Benteler Automobiltechnik Gmbh Befestigungsschäkel zur befestigung einer blattfeder an einem fahrzeugaufbau
CN106627030B (zh) * 2015-11-03 2019-04-23 株洲时代新材料科技股份有限公司 重型卡车稳定杆支架及重型卡车稳定杆总成制作装配方法
JP2017096354A (ja) 2015-11-20 2017-06-01 東洋ゴム工業株式会社 防振装置
JP2017096355A (ja) * 2015-11-20 2017-06-01 東洋ゴム工業株式会社 防振装置
KR101766111B1 (ko) * 2016-01-19 2017-08-07 현대자동차주식회사 내부 구성요소의 회전이 가능한 부시와 이를 구비한 스태빌라이저 바 어셈블리
KR101791555B1 (ko) * 2016-06-29 2017-10-31 대원강업주식회사 저마찰형 마운팅 부시
USD843197S1 (en) * 2016-08-29 2019-03-19 Tomtom International B.V. Bar mount for an electronic display device
DE102016223615A1 (de) 2016-11-29 2018-05-30 Schaeffler Technologies AG & Co. KG Stabilisatorlager für ein Fahrwerk
JP6823642B2 (ja) * 2016-12-15 2021-02-03 住友理工株式会社 筒形防振装置
CN109383213A (zh) * 2017-08-04 2019-02-26 福特环球技术公司 车辆的稳定组件
US11209065B2 (en) * 2017-08-09 2021-12-28 Vibracoustic Usa, Inc. Low torsion bushing and assembly
DE102018113503A1 (de) * 2018-06-06 2019-12-12 Vibracoustic Gmbh Aggregatelager
US11318806B2 (en) * 2018-10-03 2022-05-03 Larry Verbowski 360 degree zero clearance bi-sectional damper assembly
CN111409408A (zh) * 2020-04-22 2020-07-14 绍兴中松智能科技有限公司 新能源汽车用一体硫化式横向稳定杆总成结构
CN111409409A (zh) * 2020-04-22 2020-07-14 绍兴中松智能科技有限公司 具备硫化式横向稳定杆总成的新能源汽车
CN212667060U (zh) * 2020-05-22 2021-03-09 赛格威科技有限公司 全地形车
US11787257B2 (en) * 2021-06-08 2023-10-17 Jerry A. Edwards Torsion bushings and related assemblies
KR20230053975A (ko) * 2021-10-15 2023-04-24 현대자동차주식회사 마운팅 부시

Family Cites Families (27)

* Cited by examiner, † Cited by third party
Publication number Priority date Publication date Assignee Title
US2324997A (en) * 1941-11-04 1943-07-20 Firestone Tire & Rubber Co Resilient coupling
JPS58102845U (ja) * 1981-12-29 1983-07-13 トヨタ自動車株式会社 サスペンシヨンア−ムのブツシユ組立体
DE3346661C2 (de) * 1983-12-23 1985-12-12 SKF GmbH, 8720 Schweinfurt Sprengring
JPS6218443U (ko) * 1985-07-18 1987-02-03
DE3531340A1 (de) * 1985-09-03 1987-03-12 Lemfoerder Metallwaren Ag Lager mit geteiltem gehaeuse fuer stabilisatoren oder dergleichen in kraftfahrzeugen
US4854766A (en) * 1988-05-12 1989-08-08 Gencorp Inc. Slip bearing for a sway bar clamp
FR2642487B1 (fr) * 1989-01-31 1991-05-10 Hutchinson Palier de barre de torsion
US4916749A (en) * 1989-04-20 1990-04-10 The Pullman Company Elastomeric bushing and method of manufacturing the same
DE4036051C1 (ko) * 1990-11-13 1992-04-09 Lemfoerder Metallwaren Ag, 2844 Lemfoerde, De
JP3047501B2 (ja) * 1991-04-15 2000-05-29 豊田合成株式会社 筒状防振ブッシュ
DE4312958A1 (de) * 1993-04-21 1994-10-27 Lemfoerder Metallwaren Ag Kunststofflager für Stabilisatoren in Kraftfahrzeugen
DE4413666C1 (de) * 1994-04-20 1995-06-14 Lemfoerder Metallwaren Ag Kunststofflager für Stabilisatoren in Kraftfahrzeugen
US5820115A (en) * 1995-06-13 1998-10-13 Btr Antivibration Systems, Inc. Film slipper bushing assembly
US5984283A (en) * 1996-03-29 1999-11-16 Toyoda Gosei Co., Ltd. Vibration-damping rubber in suspension of vehicle
DE19746357C1 (de) 1997-10-21 1999-05-12 Vorwerk & Sohn Gummi/Metall-Lager zur Anlenkung eines Stabilisators an einem Kraftfahrzeugaufbau
US6170812B1 (en) * 1997-11-13 2001-01-09 Btr Antivibration Systems, Inc. Slipper bushing incorporating sealing and torque-reducing characteristics
US6474631B2 (en) * 2000-03-16 2002-11-05 Toyo Tire & Rubber Co., Ltd. Stabilizer bushing
US6619639B1 (en) * 2001-12-21 2003-09-16 Atro Engineered Systems, Inc. Low fiction rotating bushing, particularly for heavy vehicle lift axle
US6893034B2 (en) * 2002-10-15 2005-05-17 Arvinmeritor Technology, Llc Stabilizer bar with bushings that remain fixed to the bar
US6971640B2 (en) * 2003-04-18 2005-12-06 Research And Manufacturing Corporation Of America Sway bar bushing
KR100527718B1 (ko) 2003-07-15 2005-11-09 현대자동차주식회사 스테빌라이저의 고정장치
JP2006170257A (ja) * 2004-12-13 2006-06-29 Toyo Tire & Rubber Co Ltd 防振装置及びその取付方法
JP2006347496A (ja) * 2005-06-20 2006-12-28 Yokohama Rubber Co Ltd:The 車両用サスペンション
US8021051B2 (en) * 2006-07-07 2011-09-20 Federal-Mogul World Wide, Inc. Sleeve bearing assembly and method of construction
JP2008049813A (ja) * 2006-08-24 2008-03-06 Mazda Motor Corp スタビライザーの取付構造
KR20110023274A (ko) 2009-08-31 2011-03-08 현대모비스 주식회사 차량의 스테빌라이저바 장착장치
KR20110076225A (ko) 2009-12-29 2011-07-06 주식회사 퍼시스 칸막이용 포스트캡

Also Published As

Publication number Publication date
CN102896995B (zh) 2016-05-11
US8882092B2 (en) 2014-11-11
US20130028547A1 (en) 2013-01-31
CN102896995A (zh) 2013-01-30
DE102012105454A1 (de) 2013-01-31
KR101542956B1 (ko) 2015-08-07

Similar Documents

Publication Publication Date Title
KR20130014237A (ko) 자동차용 스태빌라이저 바의 마운트 부시
US8888082B2 (en) Mount bushing of stabilizer bar for vehicle
US8480101B2 (en) Anti-roll system for vehicles
KR101592347B1 (ko) 자동차용 스테빌라이저 바의 마운트 부시
EP1953014B1 (en) Structure for supporting stabilizer
KR20170004772A (ko) 차량용 스트럿 베어링 어셈블리
KR101601042B1 (ko) 자동차용 스테빌라이저 바의 마운트 부시
KR101592349B1 (ko) 자동차용 스테빌라이저 바의 마운트 부시
KR101592342B1 (ko) 자동차용 스테빌라이저 바의 마운트 부시
JP4911778B2 (ja) スタビライザの軸受装置
US20180281578A1 (en) Roll restrictor system for an automotive powertrain
KR100580515B1 (ko) 자동차의 리어현가장치
KR102663539B1 (ko) 차량용 스테빌라이저의 부시 장치
KR102771527B1 (ko) 차량용 스테빌라이저바의 부시 장치
KR101592356B1 (ko) 자동차용 스테빌라이저 바의 마운트 부시
KR20130091607A (ko) 서스펜션 트레일링 암 부시 장치
KR200292103Y1 (ko) 자동차용 트레일링 아암 부시
KR20120012207A (ko) 자동차용 스테빌라이저 바의 마운트 부시
KR101454906B1 (ko) 토션 바 지지유닛 및 그 제작방법
JP2001041234A (ja) ピローボールブッシュ
JP5048351B2 (ja) スタビライザーの支持構造
JP2006315435A (ja) サスペンション構造
KR200149903Y1 (ko) 인터파이프형 러버부시
KR20050047944A (ko) 차량용 아이들러 암 조립체의 구조
KR980008625A (ko) 현가장치용 러버부시

Legal Events

Date Code Title Description
PA0109 Patent application

Patent event code: PA01091R01D

Comment text: Patent Application

Patent event date: 20110729

PG1501 Laying open of application
A201 Request for examination
PA0201 Request for examination

Patent event code: PA02012R01D

Patent event date: 20140328

Comment text: Request for Examination of Application

Patent event code: PA02011R01I

Patent event date: 20110729

Comment text: Patent Application

E902 Notification of reason for refusal
PE0902 Notice of grounds for rejection

Comment text: Notification of reason for refusal

Patent event date: 20150226

Patent event code: PE09021S01D

E701 Decision to grant or registration of patent right
PE0701 Decision of registration

Patent event code: PE07011S01D

Comment text: Decision to Grant Registration

Patent event date: 20150630

GRNT Written decision to grant
PR0701 Registration of establishment

Comment text: Registration of Establishment

Patent event date: 20150803

Patent event code: PR07011E01D

PR1002 Payment of registration fee

Payment date: 20150803

End annual number: 3

Start annual number: 1

PG1601 Publication of registration
FPAY Annual fee payment

Payment date: 20180730

Year of fee payment: 4

PR1001 Payment of annual fee

Payment date: 20180730

Start annual number: 4

End annual number: 4

PR1001 Payment of annual fee

Payment date: 20200729

Start annual number: 6

End annual number: 6

PR1001 Payment of annual fee

Payment date: 20210728

Start annual number: 7

End annual number: 7