KR20130012295A - Active roll control system - Google Patents

Active roll control system Download PDF

Info

Publication number
KR20130012295A
KR20130012295A KR1020110073396A KR20110073396A KR20130012295A KR 20130012295 A KR20130012295 A KR 20130012295A KR 1020110073396 A KR1020110073396 A KR 1020110073396A KR 20110073396 A KR20110073396 A KR 20110073396A KR 20130012295 A KR20130012295 A KR 20130012295A
Authority
KR
South Korea
Prior art keywords
screw
lower arm
stabilizer
power transformer
stabilizer link
Prior art date
Legal status (The legal status is an assumption and is not a legal conclusion. Google has not performed a legal analysis and makes no representation as to the accuracy of the status listed.)
Granted
Application number
KR1020110073396A
Other languages
Korean (ko)
Other versions
KR101744803B1 (en
Inventor
김성준
Original Assignee
현대자동차주식회사
Priority date (The priority date is an assumption and is not a legal conclusion. Google has not performed a legal analysis and makes no representation as to the accuracy of the date listed.)
Filing date
Publication date
Application filed by 현대자동차주식회사 filed Critical 현대자동차주식회사
Priority to KR1020110073396A priority Critical patent/KR101744803B1/en
Publication of KR20130012295A publication Critical patent/KR20130012295A/en
Application granted granted Critical
Publication of KR101744803B1 publication Critical patent/KR101744803B1/en
Active legal-status Critical Current
Anticipated expiration legal-status Critical

Links

Images

Classifications

    • BPERFORMING OPERATIONS; TRANSPORTING
    • B60VEHICLES IN GENERAL
    • B60GVEHICLE SUSPENSION ARRANGEMENTS
    • B60G21/00Interconnection systems for two or more resiliently-suspended wheels, e.g. for stabilising a vehicle body with respect to acceleration, deceleration or centrifugal forces
    • B60G21/02Interconnection systems for two or more resiliently-suspended wheels, e.g. for stabilising a vehicle body with respect to acceleration, deceleration or centrifugal forces permanently interconnected
    • B60G21/04Interconnection systems for two or more resiliently-suspended wheels, e.g. for stabilising a vehicle body with respect to acceleration, deceleration or centrifugal forces permanently interconnected mechanically
    • B60G21/05Interconnection systems for two or more resiliently-suspended wheels, e.g. for stabilising a vehicle body with respect to acceleration, deceleration or centrifugal forces permanently interconnected mechanically between wheels on the same axle but on different sides of the vehicle, i.e. the left and right wheel suspensions being interconnected
    • B60G21/055Stabiliser bars
    • B60G21/0551Mounting means therefor
    • B60G21/0553Mounting means therefor adjustable
    • B60G21/0555Mounting means therefor adjustable including an actuator inducing vehicle roll
    • BPERFORMING OPERATIONS; TRANSPORTING
    • B60VEHICLES IN GENERAL
    • B60GVEHICLE SUSPENSION ARRANGEMENTS
    • B60G17/00Resilient suspensions having means for adjusting the spring or vibration-damper characteristics, for regulating the distance between a supporting surface and a sprung part of vehicle or for locking suspension during use to meet varying vehicular or surface conditions, e.g. due to speed or load
    • BPERFORMING OPERATIONS; TRANSPORTING
    • B60VEHICLES IN GENERAL
    • B60GVEHICLE SUSPENSION ARRANGEMENTS
    • B60G17/00Resilient suspensions having means for adjusting the spring or vibration-damper characteristics, for regulating the distance between a supporting surface and a sprung part of vehicle or for locking suspension during use to meet varying vehicular or surface conditions, e.g. due to speed or load
    • B60G17/015Resilient suspensions having means for adjusting the spring or vibration-damper characteristics, for regulating the distance between a supporting surface and a sprung part of vehicle or for locking suspension during use to meet varying vehicular or surface conditions, e.g. due to speed or load the regulating means comprising electric or electronic elements
    • BPERFORMING OPERATIONS; TRANSPORTING
    • B60VEHICLES IN GENERAL
    • B60GVEHICLE SUSPENSION ARRANGEMENTS
    • B60G17/00Resilient suspensions having means for adjusting the spring or vibration-damper characteristics, for regulating the distance between a supporting surface and a sprung part of vehicle or for locking suspension during use to meet varying vehicular or surface conditions, e.g. due to speed or load
    • B60G17/015Resilient suspensions having means for adjusting the spring or vibration-damper characteristics, for regulating the distance between a supporting surface and a sprung part of vehicle or for locking suspension during use to meet varying vehicular or surface conditions, e.g. due to speed or load the regulating means comprising electric or electronic elements
    • B60G17/0152Resilient suspensions having means for adjusting the spring or vibration-damper characteristics, for regulating the distance between a supporting surface and a sprung part of vehicle or for locking suspension during use to meet varying vehicular or surface conditions, e.g. due to speed or load the regulating means comprising electric or electronic elements characterised by the action on a particular type of suspension unit
    • B60G17/0157Resilient suspensions having means for adjusting the spring or vibration-damper characteristics, for regulating the distance between a supporting surface and a sprung part of vehicle or for locking suspension during use to meet varying vehicular or surface conditions, e.g. due to speed or load the regulating means comprising electric or electronic elements characterised by the action on a particular type of suspension unit non-fluid unit, e.g. electric motor
    • BPERFORMING OPERATIONS; TRANSPORTING
    • B60VEHICLES IN GENERAL
    • B60GVEHICLE SUSPENSION ARRANGEMENTS
    • B60G17/00Resilient suspensions having means for adjusting the spring or vibration-damper characteristics, for regulating the distance between a supporting surface and a sprung part of vehicle or for locking suspension during use to meet varying vehicular or surface conditions, e.g. due to speed or load
    • B60G17/015Resilient suspensions having means for adjusting the spring or vibration-damper characteristics, for regulating the distance between a supporting surface and a sprung part of vehicle or for locking suspension during use to meet varying vehicular or surface conditions, e.g. due to speed or load the regulating means comprising electric or electronic elements
    • B60G17/016Resilient suspensions having means for adjusting the spring or vibration-damper characteristics, for regulating the distance between a supporting surface and a sprung part of vehicle or for locking suspension during use to meet varying vehicular or surface conditions, e.g. due to speed or load the regulating means comprising electric or electronic elements characterised by their responsiveness, when the vehicle is travelling, to specific motion, a specific condition, or driver input
    • BPERFORMING OPERATIONS; TRANSPORTING
    • B60VEHICLES IN GENERAL
    • B60GVEHICLE SUSPENSION ARRANGEMENTS
    • B60G17/00Resilient suspensions having means for adjusting the spring or vibration-damper characteristics, for regulating the distance between a supporting surface and a sprung part of vehicle or for locking suspension during use to meet varying vehicular or surface conditions, e.g. due to speed or load
    • B60G17/015Resilient suspensions having means for adjusting the spring or vibration-damper characteristics, for regulating the distance between a supporting surface and a sprung part of vehicle or for locking suspension during use to meet varying vehicular or surface conditions, e.g. due to speed or load the regulating means comprising electric or electronic elements
    • B60G17/016Resilient suspensions having means for adjusting the spring or vibration-damper characteristics, for regulating the distance between a supporting surface and a sprung part of vehicle or for locking suspension during use to meet varying vehicular or surface conditions, e.g. due to speed or load the regulating means comprising electric or electronic elements characterised by their responsiveness, when the vehicle is travelling, to specific motion, a specific condition, or driver input
    • B60G17/0165Resilient suspensions having means for adjusting the spring or vibration-damper characteristics, for regulating the distance between a supporting surface and a sprung part of vehicle or for locking suspension during use to meet varying vehicular or surface conditions, e.g. due to speed or load the regulating means comprising electric or electronic elements characterised by their responsiveness, when the vehicle is travelling, to specific motion, a specific condition, or driver input to an external condition, e.g. rough road surface, side wind
    • BPERFORMING OPERATIONS; TRANSPORTING
    • B60VEHICLES IN GENERAL
    • B60GVEHICLE SUSPENSION ARRANGEMENTS
    • B60G21/00Interconnection systems for two or more resiliently-suspended wheels, e.g. for stabilising a vehicle body with respect to acceleration, deceleration or centrifugal forces
    • BPERFORMING OPERATIONS; TRANSPORTING
    • B60VEHICLES IN GENERAL
    • B60GVEHICLE SUSPENSION ARRANGEMENTS
    • B60G21/00Interconnection systems for two or more resiliently-suspended wheels, e.g. for stabilising a vehicle body with respect to acceleration, deceleration or centrifugal forces
    • B60G21/02Interconnection systems for two or more resiliently-suspended wheels, e.g. for stabilising a vehicle body with respect to acceleration, deceleration or centrifugal forces permanently interconnected
    • B60G21/04Interconnection systems for two or more resiliently-suspended wheels, e.g. for stabilising a vehicle body with respect to acceleration, deceleration or centrifugal forces permanently interconnected mechanically
    • B60G21/05Interconnection systems for two or more resiliently-suspended wheels, e.g. for stabilising a vehicle body with respect to acceleration, deceleration or centrifugal forces permanently interconnected mechanically between wheels on the same axle but on different sides of the vehicle, i.e. the left and right wheel suspensions being interconnected
    • B60G21/055Stabiliser bars
    • FMECHANICAL ENGINEERING; LIGHTING; HEATING; WEAPONS; BLASTING
    • F16ENGINEERING ELEMENTS AND UNITS; GENERAL MEASURES FOR PRODUCING AND MAINTAINING EFFECTIVE FUNCTIONING OF MACHINES OR INSTALLATIONS; THERMAL INSULATION IN GENERAL
    • F16HGEARING
    • F16H25/00Gearings comprising primarily only cams, cam-followers and screw-and-nut mechanisms
    • F16H25/18Gearings comprising primarily only cams, cam-followers and screw-and-nut mechanisms for conveying or interconverting oscillating or reciprocating motions
    • F16H25/20Screw mechanisms
    • BPERFORMING OPERATIONS; TRANSPORTING
    • B60VEHICLES IN GENERAL
    • B60GVEHICLE SUSPENSION ARRANGEMENTS
    • B60G2202/00Indexing codes relating to the type of spring, damper or actuator
    • B60G2202/10Type of spring
    • B60G2202/13Torsion spring
    • B60G2202/135Stabiliser bar and/or tube
    • BPERFORMING OPERATIONS; TRANSPORTING
    • B60VEHICLES IN GENERAL
    • B60GVEHICLE SUSPENSION ARRANGEMENTS
    • B60G2204/00Indexing codes related to suspensions per se or to auxiliary parts
    • B60G2204/40Auxiliary suspension parts; Adjustment of suspensions
    • B60G2204/418Bearings, e.g. ball or roller bearings
    • BPERFORMING OPERATIONS; TRANSPORTING
    • B60VEHICLES IN GENERAL
    • B60GVEHICLE SUSPENSION ARRANGEMENTS
    • B60G2600/00Indexing codes relating to particular elements, systems or processes used on suspension systems or suspension control systems
    • B60G2600/18Automatic control means
    • B60G2600/182Active control means

Landscapes

  • Engineering & Computer Science (AREA)
  • Mechanical Engineering (AREA)
  • General Engineering & Computer Science (AREA)
  • Vehicle Body Suspensions (AREA)

Abstract

액티브 롤 컨트롤 장치가 개시된다. 본 발명의 일 실시 예에 따른 액티브 롤 컨트롤 장치는 양측 로워암과 스테빌라이저 바 사이에 구성되어 차량의 주행 조건에 따라 스테빌라이저 바의 강성을 변화시켜 차량의 롤을 능동적으로 제어하는 액티브 롤 컨트롤 장치에 있어서, 상기 각 로워암에 일단이 슬라이드 가능하게 설치되고, 타단은 상기 스테빌라이저 바의 단부에 연결되는 스테빌라이저 링크; 서브 프레임의 중앙 일측에 설치되며, 모터구동에 의해 양측 파워트랜스를 각각 전후진 구동하는 액추에이터; 상기 각 스테빌라이저 링크의 상기 로워암 측 연결부에 일단이 연결되고, 타단은 상기 각 파워트랜스에 연결되어 상기 파워트랜스의 전후력을 상기 스테빌라이저 링크에 전달하는 푸시 바를 포함한다.An active roll control device is disclosed. Active roll control device according to an embodiment of the present invention is configured between the lower arm and the stabilizer bar on both sides active roll control device for actively controlling the roll of the vehicle by changing the rigidity of the stabilizer bar according to the driving conditions of the vehicle A stabilizer link, comprising: a stabilizer link having one end slidably installed at each lower arm and the other end connected to an end of the stabilizer bar; An actuator installed at one central side of the sub-frame and configured to drive forward and backward power of both power transformers by motor driving; One end is connected to the lower arm side connection part of each stabilizer link, and the other end is connected to each power transformer and includes a push bar for transmitting the front and rear force of the power transformer to the stabilizer link.

Description

액티브 롤 컨트롤 장치{ACTIVE ROLL CONTROL SYSTEM}[0001] ACTIVE ROLL CONTROL SYSTEM [0002]

본 발명은 액티브 롤 컨트롤 장치에 관한 것으로, 보다 상세하게는 양측 로워암에 각각 스테빌라이저 링크를 통하여 양단이 장착되는 스테빌라이저 바의 능동적인 롤 제어를 가능하게 하는 액티브 롤 컨트롤 장치(ACRS: Active Roll Control System)에 관한 것이다.The present invention relates to an active roll control device, and more particularly, an active roll control device (ACRS) for enabling active roll control of stabilizer bars mounted at both ends through stabilizer links on both lower arms. Control system).

일반적으로 차량의 현가장치는 차축과 차체를 연결하여 주행 중에 차축이 노면으로부터 받는 진동이나 충격을 차체에 직접적으로 전달되지 않도록 제어하여 차체와 화물의 손상을 방지하고 승차감을 좋게 하는 장치이다.Generally, the suspension of a vehicle is a device that connects the axle and the vehicle body to prevent damage to the vehicle body and cargo by controlling the vibration or shock that the axle receives from the road surface to be transmitted directly to the vehicle body during traveling.

이러한 현가장치는, 도 1에서 도시한 바와 같이, 노면으로부터 충격을 완화시키는 샤시 스프링(101)과, 샤시 스프링(101)의 자유진동을 감쇄 제어하여 승차감을 좋게 하는 쇽 업소버(103) 및 차량의 롤링을 억제하는 스테빌라이저 바(105) 등으로 구성된다.As shown in FIG. 1, the suspension device includes a chassis spring 101 for mitigating an impact from a road surface, a shock absorber 103 for controlling attenuation of free vibration of the chassis spring 101 to improve ride comfort, and a vehicle. It consists of stabilizer bar 105 etc. which suppress rolling.

여기서, 상기 스테빌라이저 바(105)는 직선부 양측이 차체(107)에 설치되고, 양단은 스테빌라이저 링크(115)를 통하여 로워암(109) 또는 스트럿 바(미도시)에 장착되어, 좌,우측 바퀴(111)가 서로 동시에 상하 운동하는 경우에는 작용하지 않고, 좌,우측 바퀴(111)가 서로 상대적으로 상하 운동하는 경우에는 비틀리면서 비틀림 탄성력으로 차체(107)의 롤을 억제하는 안티 롤 기능을 수행한다.Here, the stabilizer bar 105 is installed on both sides of the straight portion of the vehicle body 107, both ends are mounted to the lower arm 109 or strut bar (not shown) through the stabilizer link 115, The anti-roll function does not work when the right wheels 111 move up and down at the same time, and when the left and right wheels 111 move up and down relative to each other, they are twisted and torsionally suppress the roll of the vehicle body 107 with torsional elasticity. Do this.

즉, 상기 스테빌라이저 바(105)는 차량의 선회 주행 시에 차체(107)의 선회 외측이 원심력으로 기울어지거나 혹은 주행 중에 범프 또는 리바운드로 인해 좌,우측 바퀴(111)가 상대적으로 위상차를 가질 때에 비틀어지면서 그 비틀림 탄성력을 이용하여 차체의 자세를 안정화시켜 주게 된다. That is, the stabilizer bar 105 has a phase difference when the left and right wheels 111 have a phase difference relatively due to the inclined centrifugal force of the turning outer side of the vehicle body 107 during the turning driving of the vehicle or the bump or rebound during driving. As it is twisted, the torsional elastic force is used to stabilize the body position.

그런데, 종래의 스테빌라이저 바(105)는 자체 비틀림 탄성력만으로 차량의 기울어짐을 억제하거나, 기울어진 차체(107)를 복귀시켜 안정시키는 데에는 신속하고 정확한 롤 제어에 미흡한 점이 있으며, 이를 해결하기 위해 도 2에 도시된 바와 같이, 스테빌라이저 바(105)의 끝단에 유압 실린더(113)로 이루어지는 액추에이터를 연결하여 능동적인 롤 제어를 할 수 있도록 하는 액티브 롤 컨트롤 장치가 개발되었다.However, in the conventional stabilizer bar 105, there is a lack of rapid and accurate roll control in restraining the inclination of the vehicle only by its torsional elastic force or in restoring the inclined vehicle body 107 to solve this problem. As shown in the drawing, an active roll control device has been developed that allows active roll control by connecting an actuator made of a hydraulic cylinder 113 to an end of a stabilizer bar 105.

상기와 같은 액티브 롤 컨트롤 장치는 일측 로워암(109)과 스테빌라이저 바(105)의 일단을 연결하는 스테빌라이저 링크(115) 대신에 상기한 유압 실린더(113)를 적용하여 스테빌라이저 바(105)의 일단과 상기 로워암(109) 사이의 연결 길이를 가변되도록 함으로써, 스테빌라이저 바(105)의 비틀림 강성을 변화시키는 메커니즘을 갖는다.The active roll control device as described above applies the hydraulic cylinder 113 to the stabilizer bar 105 instead of the stabilizer link 115 connecting one end of the lower arm 109 and the stabilizer bar 105. By varying the length of the connection between one end of the lower arm 109 and the lower arm 109, the torsional rigidity of the stabilizer bar 105 is changed.

즉, 상기 액티브 롤 컨트롤 장치는 상기 유압 실린더(113)의 하단이 일측 로워암(109)에 연결되고, 상기 유압 실린더(113)의 피스톤 로드(117) 선단은 상기 스테빌라이저 바(105)의 일단과 볼 조인트(119))를 통하여 연결된다.That is, the active roll control device has a lower end of the hydraulic cylinder 113 is connected to one side lower arm 109, the front end of the piston rod 117 of the hydraulic cylinder 113 is one end of the stabilizer bar 105 And ball joint 119).

따라서 상기한 액티브 롤 컨트롤 장치는 차량의 가속도 센서, 차고 센서, 스티어링 센서에서 출력되는 신호를 기반으로 ECU가 밸브, 유압펌프 등을 포함하는 유압 시스템을 제어하여 차량의 롤을 개선한다. Therefore, the active roll control device improves the roll of the vehicle by controlling the hydraulic system including the valve, the hydraulic pump, etc., based on the signals output from the acceleration sensor, the garage sensor, and the steering sensor of the vehicle.

그러나 상기한 바와 같은 종래의 액티브 롤 컨트롤 장치는 유압 실린더(113)(즉, 액추에이터)의 작동 스트로크를 최대한 확보하기 위하여 그 하단이 별도 브라켓(121)을 통하여 로워암(109)의 아래 측에서 조립되어야 하며, 이와 같은 레이아웃은 가능하나 양산성을 고려하였을 경우, 설계기준에 맞지 않는 문제점이 있다.However, the conventional active roll control device as described above is assembled at the lower side of the lower arm 109 through a separate bracket 121 at the lower end thereof in order to ensure the maximum operating stroke of the hydraulic cylinder 113 (that is, the actuator). This layout is possible, but considering the mass production, there is a problem that does not meet the design criteria.

또한, 액추에이터로 유압 실린더(113)를 적용함으로 인해 유압펌프와 유압라인 및 밸브 등의 유압 생성 및 공급제어에 필요한 부품들을 별도로 갖추어야 하는 문제점도 있다. In addition, by applying the hydraulic cylinder 113 as an actuator, there is also a problem in that separate components necessary for generating and supplying hydraulic pressure such as a hydraulic pump and a hydraulic line and a valve are required.

본 발명의 실시 예는 차체의 서브 프레임 중앙에 구성되는 하나의 액추에이터 구동에 의해 스테빌라이저 바의 양단을 각 로워암에 연결하는 스테빌라이저 링크의 장착위치를 조정함으로써, 스테빌라이저 바의 롤 강성이 로워암의 거동이 더 큰 위치에 작용하도록 하여 능동적인 롤 제어를 가능하게 하며, 동시에 전동식 액추에이터로 구성하여 제어가 간단하고, 설치시에도 레이아웃의 이점을 갖도록 하는 액티브 롤 컨트롤 장치를 제공하는 것이다.According to an embodiment of the present invention, the roll stiffness of the stabilizer bar is lowered by adjusting the mounting position of the stabilizer link connecting both ends of the stabilizer bar to each lower arm by driving one actuator configured in the center of the subframe of the vehicle body. The present invention provides an active roll control device that enables active roll control by acting on a larger position of the arm, and at the same time constitutes an electric actuator, so that the control is simple and has the advantage of layout during installation.

본 발명의 하나 또는 다수의 실시 예에서는 양측 로워암과 스테빌라이저 바 사이에 구성되어 차량의 주행 조건에 따라 스테빌라이저 바의 강성을 변화시켜 차량의 롤을 능동적으로 제어하는 액티브 롤 컨트롤 장치에 있어서, 상기 각 로워암에 일단이 슬라이드 가능하게 설치되고, 타단은 상기 스테빌라이저 바의 단부에 연결되는 스테빌라이저 링크; 서브 프레임의 중앙 일측에 설치되며, 모터구동에 의해 양측 파워트랜스를 각각 전후진 구동하는 액추에이터; 상기 각 스테빌라이저 링크의 상기 로워암 측 연결부에 일단이 연결되고, 타단은 상기 각 파워트랜스에 연결되어 상기 파워트랜스의 전후력을 상기 스테빌라이저 링크에 전달하는 푸시 바를 포함하는 액티브 롤 컨트롤 장치를 제공할 수 있다.In one or more embodiments of the present invention, an active roll control device configured between two lower arms and a stabilizer bar to actively control a roll of a vehicle by varying the rigidity of the stabilizer bar according to a driving condition of the vehicle, A stabilizer link having one end slidably installed at each lower arm and the other end connected to an end of the stabilizer bar; An actuator installed at one central side of the sub-frame and configured to drive forward and backward power of both power transformers by motor driving; One end is connected to the lower arm side connection part of each stabilizer link, and the other end is connected to each power transformer to provide an active roll control device including a push bar for transmitting the front and rear forces of the power transformer to the stabilizer link. can do.

또한, 상기 로워암은 양 측면에 슬라이딩 슬롯을 형성하고, 상기 슬라이딩 슬롯에 설치된 슬라이딩 핀을 통하여 상기 스테빌라이저 링크의 일단과 연결될 수 있다. In addition, the lower arm may form sliding slots on both sides, and may be connected to one end of the stabilizer link through sliding pins provided in the sliding slot.

또한, 상기 스테빌라이저 링크의 일단은 상기 슬라이딩 핀을 통하여 상기 푸시 바의 일단에 연결될 수 있다. In addition, one end of the stabilizer link may be connected to one end of the push bar through the sliding pin.

또한, 상기 슬라이딩 슬롯에는 상기 슬라이딩 핀을 안내하는 슬라이드 가이더가 설치될 수 있다. In addition, a slide guider for guiding the sliding pin may be installed in the sliding slot.

또한, 상기 액추에이터는 정류자를 포함하는 구동모터; 상기 구동모터의 양측에 각각 엔드벨을 통하여 장착되는 스크루 하우징; 상기 각 스크루 하우징의 내측에 슬라이드 가능하게 설치된 상태로, 일단은 외부로 돌출되고, 타단부는 내측에 스크루 나사부를 갖는 스크루 홈이 형성되는 파워트랜스; 상기 각 스크루 하우징의 내부에 구성되어 일단부가 상기 파워트랜스의 스크루 홈 내부에서 스크루 나사부에 체결되며, 타단에는 스크루 회전축이 일체로 연결되며, 상기 스크루 회전축의 단부가 상기 구동모터의 회전축에 커플링을 통하여 연결되는 리드 스크루로 구성될 수 있다. In addition, the actuator drive motor including a commutator; Screw housings mounted on both sides of the driving motor through end bells; A power transformer having one end protruding outward and a screw groove having a screw thread in the other end formed in a state slidably installed in each of the screw housings; Each screw housing has one end coupled to the screw thread in the screw groove of the power transformer, and a screw rotation shaft is integrally connected to the other end thereof, and an end of the screw rotation shaft is coupled to the rotation shaft of the drive motor. It may be composed of a lead screw connected through.

또한, 상기 구동모터는 회전수 및 회전방향 제어가 가능한 양방향 서보모터로 구성될 수 있다. In addition, the drive motor may be configured as a bidirectional servo motor capable of controlling the rotation speed and the rotation direction.

또한, 상기 양측 스크루 하우징의 내부에는 상기 파워트랜스의 타단에 대응하는 일면에 충격력을 흡수하는 댐퍼가 구성될 수 있다.In addition, a damper may be configured to absorb impact force on one surface of the two screw housings corresponding to the other end of the power transformer.

또한, 상기 양측 스크루 하우징의 각 외측단에는 상기 파워트랜스의 외주면에 접촉되어 슬라이드 안내하는 가이드 부시와 오일의 누유를 방지하는 오일시일을 내장하는 부시 하우징이 장착될 수 있다. In addition, each outer end of the screw housing may be equipped with a bushing housing containing a guide bush for contacting the outer circumferential surface of the power transformer and the oil seal for preventing leakage of oil.

또한, 상기 각 스크루 회전축 상에는 상기 각 스크루 하우징의 내부에서 메탈부시와 트러스트 디스크가 끼워져 설치되며, 상기 트러스트 디스크의 양면에는 트러스트 베어링이 설치되며, 상기 각 트러스트 베어링의 외면에는 베어링 플레이트가 설치될 수 있다. In addition, a metal bushing and a thrust disk are inserted into each screw housing on the screw rotation shaft, and thrust bearings are installed on both sides of the thrust disk, and a bearing plate may be installed on the outer surface of each thrust bearing. .

또한, 상기 푸시 바는 일단과 타단이 상기 스테빌라이저 링크의 로워암 측 연결부와 상기 파워트랜스의 선단에 각각 힌지 연결될 있다. In addition, one end and the other end of the push bar may be hinged to the lower arm side connection portion of the stabilizer link and the tip of the power transformer, respectively.

본 발명의 실시 예는 차체의 서브 프레임 중앙에 구성되는 하나의 액추에이터 구동에 의해 스테빌라이저 바의 양단을 각 로워암에 연결하는 스테빌라이저 링크의 장착위치를 조정함으로써 스테빌라이저 바의 롤 강성이 로워암의 거동이 더 큰 위치에 작용하도록 하여 능동적인 롤 제어를 가능하게 할 수 있다. According to an embodiment of the present invention, the roll stiffness of the stabilizer bar is adjusted by adjusting the mounting position of the stabilizer link connecting both ends of the stabilizer bar to each lower arm by driving one actuator configured in the center of the subframe of the vehicle body. The behavior of can act on a larger position to enable active roll control.

또한, 전동식 액추에이터로 구성되어 액추에이터의 제어가 유압식에 비하여 간단하게 구현되며, 차체에 장착 시에도 종전의 유압공급제어를 위한 유압펌프, 유압밸브, 유압배관 등 복잡한 유압공급 시스템을 적용하지 않게 됨으로 레이아웃 상의 이점이 있다. In addition, it is composed of electric actuator, so the control of the actuator is simpler than the hydraulic type, and even when it is mounted on the body, it does not apply complicated hydraulic supply system such as hydraulic pump, hydraulic valve, hydraulic piping for the conventional hydraulic supply control. There is an advantage.

도 1은 일반적인 차량용 현가장치의 구성도이다.
도 2는 종래 기술에 따른 액티브 롤 컨트롤 장치가 적용된 차량용 현가장치의 구성도이다.
도 3은 본 발명의 실시 예에 따른 액티브 롤 컨트롤 장치의 정면 구성도이다.
도 4는 본 발명의 실시 예에 따른 액티브 롤 컨트롤 장치에 적용되는 로워암의 확대 사시도이다.
도 5는 본 발명의 실시 예에 따른 액티브 롤 컨트롤 장치에 적용되는 액추에이터의 단면도이다.
도 6은 본 발명의 실시 예에 따른 액티브 롤 컨트롤 장치의 작동 상태도이다.
1 is a block diagram of a typical vehicle suspension apparatus.
2 is a configuration diagram of a suspension device for a vehicle to which an active roll control device according to the prior art is applied.
3 is a front configuration diagram of an active roll control device according to an embodiment of the present invention.
4 is an enlarged perspective view of a lower arm applied to an active roll control device according to an embodiment of the present invention.
5 is a cross-sectional view of an actuator applied to an active roll control device according to an embodiment of the present invention.
6 is an operational state diagram of an active roll control device according to an embodiment of the present invention.

이하, 본 발명의 실시 예를 첨부한 도면을 참조하여 상세하게 설명한다. Hereinafter, embodiments of the present invention will be described in detail with reference to the accompanying drawings.

도 3은 본 발명의 실시 예에 따른 액티브 롤 컨트롤 장치의 정면 구성도이다. 3 is a front configuration diagram of an active roll control device according to an embodiment of the present invention.

도 3을 참조하면, 본 발명의 실시 예에 따른 액티브 롤 컨트롤 장치는 차량의 주행 조건에 따라 스테빌라이저 바(1)의 강성을 변화시켜 차량의 롤을 능동적으로 개선한다.Referring to FIG. 3, the active roll control device according to an exemplary embodiment of the present invention actively improves the roll of the vehicle by changing the rigidity of the stabilizer bar 1 according to the driving condition of the vehicle.

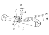
즉, 상기한 액티브 롤 컨트롤 장치는 스테빌라이저 바(1), 스테빌라이저 링크(3), 액추에이터(5), 및 푸시 바(7)로 구성된다. That is, the active roll control device is composed of a stabilizer bar 1, a stabilizer link 3, an actuator 5, and a push bar 7.

상기 스테빌라이저 바(1)는 양측이 차체측 서브 프레임(11)에 설치되고, 양단은 양측 로워암(9)에 각각 연결된다. The stabilizer bar 1 is provided at both sides of the vehicle body side subframe 11, and both ends thereof are connected to both lower arms 9, respectively.

상기 스테빌라이저 링크(3)는 상기 각 로워암(9)에 일단이 슬라이드 가능하게 설치되고, 타단은 상기 스테빌라이저 바(1)의 단부에 볼 조인트(BJ) 등을 통하여 연결된다. The stabilizer link 3 is slidably installed at one end of each lower arm 9, and the other end thereof is connected to an end of the stabilizer bar 1 through a ball joint BJ or the like.

즉, 도 4를 참조하면, 상기 각 로워암(9)은 양 측면에 슬라이딩 슬롯(13)이 형성되고, 상기 슬라이딩 슬롯(13)에는 슬라이딩 핀(15)이 슬라이드 이동 가능하게 설치된다. That is, referring to FIG. 4, each of the lower arms 9 has sliding slots 13 formed at both sides thereof, and sliding pins 15 are installed in the sliding slots 13 so as to be slidable.

또한, 상기 각 로워암(9)의 상부에는 개구부(17)를 형성하여 상기 개구부(17)를 통하여 상기 스테빌라이저 링크(3)의 일단이 상기 슬라이딩 핀(15)에 연결된다.In addition, an opening 17 is formed at an upper portion of each lower arm 9 so that one end of the stabilizer link 3 is connected to the sliding pin 15 through the opening 17.

또한, 상기 스테빌라이저 링크(3)의 일단은 상기 로워암(9)의 외측에서 상기 슬라이딩 핀(15)을 통하여 상기 푸시 바(7)의 일단과도 연결된다. In addition, one end of the stabilizer link 3 is also connected to one end of the push bar 7 through the sliding pin 15 on the outside of the lower arm 9.

여기서, 상기 슬라이딩 슬롯(13)에는 상기 슬라이딩 핀(15)을 안내하는 슬라이드 가이더(19)가 일체로 설치되어 슬라이딩 핀(15)의 이동을 안내한다.Here, the slide slot 13 is integrated with the slide guider 19 for guiding the sliding pin 15 to guide the movement of the sliding pin 15.

그리고 상기 액추에이터(5)는 상기 서브 프레임(11)의 중앙 일측에 설치되며, 모터구동에 의해 양측 파워트랜스(30)를 각각 전후진 구동하도록 구성된다. In addition, the actuator 5 is installed at one side of the center of the sub-frame 11, and is configured to drive forward and backward driving the two power transformers 30 by motor driving, respectively.

상기 액추에이터(5)의 구체적인 구성을 도 5를 통하여 설명한다.A detailed configuration of the actuator 5 will be described with reference to FIG. 5.

도 5는 본 발명의 실시 예에 따른 액티브 롤 컨트롤 장치에 적용되는 액추에이터의 단면도이다. 5 is a cross-sectional view of an actuator applied to an active roll control device according to an embodiment of the present invention.

도 5를 참조하면, 상기 액추에이터(5)는 모터 하우징(21) 내부에 정류자(23)를 포함하는 구동모터(25)가 구성된다. Referring to FIG. 5, the actuator 5 includes a drive motor 25 including a commutator 23 inside the motor housing 21.

이때, 상기 구동모터(25)는 회전수 및 회전방향 제어가 가능한 양방향 서보모터로 구성될 수 있다. In this case, the driving motor 25 may be configured as a bidirectional servo motor capable of controlling the rotation speed and the rotation direction.

즉, 상기 구동모터(25)는 모터 하우징(21) 내부에 자석으로 이루어지는 고정자(27)와 코일을 감아 형성되는 회전자(29)로 이루어진다.That is, the drive motor 25 is composed of a stator 27 made of a magnet inside the motor housing 21 and a rotor 29 formed by winding a coil.

그리고 상기 정류자(23)는 상기 모터 하우징(21)의 내부 일측에 구성되어 전류의 방향을 주기적으로 바꿔주며, 그 외측으로는 브러시(31)가 설치된다. In addition, the commutator 23 is configured at one side of the motor housing 21 to periodically change the direction of the current, and the brush 31 is installed outside.

상기 구동모터(25)의 양측에는 각각 엔드벨(33)을 통하여 스크루 하우징(35)이 연결되고, 상기 각 스크루 하우징(35)의 내측에는 파워트랜스(30)가 슬라이드 가능하게 설치되며, 상기 파워트랜스(30)는 일단이 외부로 돌출되고, 타단부는 내측에 스크루 나사부(N)가 형성된 스크루 홈(G)을 갖는다. Screw housings 35 are connected to both sides of the drive motor 25 through end bells 33, respectively, and power transformers 30 are slidably installed inside the screw housings 35, respectively. One end of the transformer 30 protrudes outward, and the other end has a screw groove G having a screw thread portion N formed therein.

또한, 상기 각 스크루 하우징(35)의 내부에는 리드 스크루(37)가 구성되는데, 상기 리드 스크루(37)는 일단부가 상기 파워트랜스(30)의 스크루 홈(G) 내부에서 스크루 나사부(N)에 치합되어 체결되고, 상기 리드 스크루(37)의 타단에는 스크루 회전축(39)이 일체로 연결되어 스크루 회전축(39)의 단부가 상기 구동모터(25)의 회전축(41)에 커플링(43)을 통하여 연결된다. In addition, a lead screw 37 is formed in each of the screw housings 35, and one end of the lead screw 37 is connected to the screw thread N in the screw groove G of the power transformer 30. The other end of the lead screw 37 is integrally connected to the screw rotation shaft 39 so that the end of the screw rotation shaft 39 connects the coupling 43 to the rotation shaft 41 of the drive motor 25. Connected through.

이때, 상기 양측 파워트랜스(30)의 스크루 나사부(N)와 이에 치합되는 양측 리드 스크루(37)는 서로 다른 방향으로 나사산(N)이 형성되어 일측이 오른나사이면 타측은 왼나사로 형성된다. At this time, the screw thread (N) of the both side power transformer 30 and the two lead screw 37 to be engaged with it are formed with a thread (N) in a different direction, the other side is formed with the left screw if one side is a right screw.

즉, 구동모터(25)의 회전 구동에 따라 양측 리드 스크루(37)는 동일방향으로 회전하나, 이에 치합된 양측 파워트랜스(30)는 구동모터(25)를 중심으로 서로 반대방향인 구동모터 중심방향 또는 외측방향으로 동시에 작동한다.That is, both lead screws 37 rotate in the same direction according to the rotational drive of the drive motor 25, but the two power transformers 30 engaged with each other are centered in opposite directions with respect to the drive motor 25. Simultaneously work in either direction or outward direction.

또한, 상기 양측 스크루 하우징(35)의 내부에는 상기 파워트랜스(30)의 타단에 대응하는 일면에 댐퍼(45)가 구성되어 충격력을 흡수하게 되는데, 상기 댐퍼(45)는 링 형상으로 구성된다. In addition, a damper 45 is formed on one surface of the two screw housings 35 corresponding to the other end of the power transformer 30 to absorb impact force, and the damper 45 has a ring shape.

또한, 상기 양측 스크루 하우징(35)의 각 외측단에는 부시 하우징(47)이 장착되는데, 상기 부시 하우징(47)의 내부에는 상기 파워트랜스(30)의 외주면에 접촉되어 슬라이드 안내하는 가이드 부시(49)와 오일의 누유를 방지하는 오일시일(51)이 내장된다.In addition, a bush housing 47 is mounted at each outer end of the screw housing 35 on both sides, and a guide bush 49 is provided in the bush housing 47 in contact with an outer circumferential surface of the power transformer 30 to slide. ) And an oil seal 51 for preventing oil leakage.

그리고 상기 각 스크루 회전축(39) 상에는 상기 각 스크루 하우징(35)의 내부에서 메탈부시(53)와 트러스트 디스크(55)가 끼워져 설치되고, 상기 트러스트 디스크(55)의 양면에는 트러스트 베어링(57)이 설치되며, 상기 각 트러스트 베어링(57)의 외면에는 베어링 플레이트(59)가 설치된다. On the screw rotation shaft 39, a metal bush 53 and a trust disk 55 are fitted inside the screw housing 35, and a thrust bearing 57 is provided on both surfaces of the thrust disk 55. The bearing plate 59 is installed on the outer surface of each of the thrust bearings 57.

즉, 상기 메탈부시(53)는 상기한 스크루 회전축(39) 상에 회전 가능하게 끼워져 설치된 상태로 스크루 하우징(35)에 장착되고, 상기 트러스트 디스크(55)는 상기 스크루 회전축(39) 상의 상기 메탈부시(53)에 이웃하여 끼워져 장착된 상태로, 상기한 각 트러스트 베어링(57)의 자리면을 형성한다.That is, the metal bush 53 is mounted to the screw housing 35 in a state rotatably fitted on the screw rotation shaft 39, the trust disk 55 is the metal on the screw rotation shaft 39 The seat surface of each said thrust bearing 57 is formed in the state fitted by being fitted adjacent to the bush 53. As shown in FIG.

상기한 트러스트 베어링(57)은 상기 스크루 회전축(39) 상의 상기 트러스트 디스크(55)의 일면과 타면에 각각 대응하게 설치된다.The thrust bearing 57 is installed to correspond to one surface and the other surface of the trust disk 55 on the screw rotation shaft 39, respectively.

그리고 상기한 푸시 바(7)는, 도 4에 도시된 바와 같이, 일단이 상기 로워암(9)의 외측에서 각 스테빌라이저 링크(3)의 로워암(9) 측 연결부에 상기 슬라이딩 핀(15)을 통하여 연결된다.4, one end of the push bar 7 is connected to the lower arm 9 side connection part of each stabilizer link 3 at the outside of the lower arm 9. Is connected through

또한, 상기 푸시 바(7)의 타단은 상기 파워트랜스(30)에 연결되어 상기 파워트랜스(30)의 전후력을 상기 스테빌라이저 링크(3)에 전달한다. In addition, the other end of the push bar 7 is connected to the power transformer 30 to transmit the front and rear force of the power transformer 30 to the stabilizer link (3).

이때, 상기 푸시 바(7)는 일단과 타단이 상기 스테빌라이저 링크(3)의 로워암(9) 측 연결부와 상기 파워트랜스(30)의 선단에 각각 힌지부로 연결된다.At this time, one end and the other end of the push bar 7 are connected to the lower arm 9 side connection part of the stabilizer link 3 and the front end of the power transformer 30 respectively by a hinge part.

따라서 상기한 액티브 롤 컨트롤 장치는 서브 프레임(11) 중앙에 설치되는 액추에이터(5)의 구동에 의해 스테빌라이저 링크(3)의 로워암(9)측 장착위치를 조정하여 스테빌라이저 바(1)의 롤 강성이 로워암(9)의 거동이 더 큰 위치에 작용하도록 하여 능동적인 롤 제어를 이룬다. Accordingly, the active roll control device adjusts the mounting position of the stabilizer bar 1 by adjusting the lower arm 9 side of the stabilizer link 3 by driving the actuator 5 installed in the center of the subframe 11. The roll stiffness causes the behavior of the lower arm 9 to act in a larger position to achieve active roll control.

상기한 바와 같은 구성을 갖는 액티브 롤 컨트롤 장치의 작동을, 도 6을 참조하여 구체적으로 설명한다.The operation of the active roll control device having the configuration as described above will be described in detail with reference to FIG.

먼저, 도 6의 S1에서와 같이, 평상시에는 액추에이터(5)의 양측 파워트랜스(30)가 스크루 하우징(35)의 내부에 위치된 상태로, 양측 푸시 바(7)가 각 스테빌라이저 링크(3)의 로워암(9)측 장착위치를 로워암(9) 상의 슬라이딩 슬롯(13)의 내측에 위치시켜 스테빌라이저 바(1)의 롤 강성이 평소대로 작용하도록 한다. First, as in S1 of FIG. 6, normally, both power bars 30 of the actuator 5 are positioned inside the screw housing 35, and both push bars 7 are each stabilizer link 3. The lower arm 9 side mounting position of the () is positioned inside the sliding slot 13 on the lower arm 9 so that the roll stiffness of the stabilizer bar 1 acts as usual.

이러한 상태에서, 도 6의 S2에서와 같이, 차량이 좌우 선회 주행하는 경우, 가속도 센서, 차고 센서, 스티어링 센서에서 출력되는 신호를 기반으로 제어기가 액추에이터(5)의 구동모터(25)를 일 방향으로 회전 제어한다.In this state, as shown in S2 of FIG. 6, when the vehicle turns left and right, the controller moves the driving motor 25 of the actuator 5 in one direction based on signals output from the acceleration sensor, the garage sensor, and the steering sensor. To control the rotation.

그러면, 각 파워트랜스(30)에 연결된 양측 푸시 바(7)는 양측 로워암(9)에 스테빌라이저 바(1)의 선단을 연결하는 각 스테빌라이저 링크(3)의 로워암(9)측 장착위치를 외측으로 밀어 로워암(9) 상의 슬라이딩 슬롯(13)의 외측에 위치시킨다. Then, both side push bars 7 connected to each power transformer 30 are mounted on the lower arm 9 side of each stabilizer link 3 which connects the front end of the stabilizer bar 1 to both lower arms 9. The position is pushed outward to be positioned outside of the sliding slot 13 on the lower arm 9.

이에 따라, 스테빌라이저 바(1)의 롤 강성은 로워암(9)의 거동이 더 큰 위치에 작용하게 된다.Accordingly, the roll stiffness of the stabilizer bar 1 acts at the position where the behavior of the lower arm 9 is greater.

이와 같이, 본 발명의 실시 예에 따른 액티브 롤 컨트롤 장치는 차체의 거동조건에 따라 스테빌라이저 바(1)의 양측 선단에 연결되는 스테빌라이저 링크(3)의 로워암(9) 측 연결부의 장착위치를 제어하여 스테빌라이저 바(1)의 롤 강성이 로워암의 거동이 더 큰 위치에 작용하도록 하여 더 큰 롤 억제력으로 작용되도록 함으로써 능동적인 롤 제어를 이룬다.In this way, the active roll control device according to the embodiment of the present invention, the mounting position of the lower arm (9) side connection portion of the stabilizer link (3) connected to both ends of the stabilizer bar (1) according to the behavior of the vehicle body The roll stiffness of the stabilizer bar 1 is controlled so that the lower arm behavior acts at a larger position to act as a greater roll suppression force, thereby achieving active roll control.

또한, 구동원으로 하나의 액추에이터(5)만을 적용하며, 전동식 액추에이터를 적용하여 제어가 유압식에 비하여 간단하게 되며, 차체에 장착 시에도 종전의 복잡한 유압공급 시스템을 적용하지 않게 됨으로 레이아웃 상의 이점이 있다. In addition, by applying only one actuator (5) as a drive source, by applying an electric actuator, the control is simpler than the hydraulic, there is an advantage in the layout by not applying the conventional complex hydraulic supply system even when mounted on the vehicle body.

또한, 상기 액추에이터(5)와 스테빌라이저 바(1)의 연결 위치조정이 가능하여 차종별 액추에이터의 공용화가 가능하다.In addition, the position of the actuator 5 and the stabilizer bar 1 can be adjusted so that the actuator for each vehicle can be shared.

이상으로 본 발명의 하나의 실시 예를 설명하였으나, 본 발명은 상기 실시 예에 한정되지 아니하며, 본 발명의 실시 예로부터 당해 발명이 속하는 기술분야에서 통상의 지식을 가진 자에 의해 용이하게 변경되어 균등하다고 인정되는 범위의 모든 변경을 포함한다.Although one embodiment of the present invention has been described above, the present invention is not limited to the above embodiment, and is easily changed by those skilled in the art to which the present invention pertains. It includes all changes to the extent deemed acceptable.

1: 스테빌라이저 바 3: 스테빌라이저 링크
5: 액추에이터 7: 푸시 바
9: 로워암 11: 서브 프레임
13: 슬라이딩 슬롯 15: 슬라이딩 핀
17: 개구부 19: 슬라이드 가이더
21: 모터 하우징 23: 정류자
25: 구동모터 30: 파워트랜스
1: stabilizer bar 3: stabilizer link
5: actuator 7: push bar
9: lower arm 11: subframe
13: sliding slot 15: sliding pin
17: opening 19: slide guider
21: motor housing 23: commutator
25: drive motor 30: power transformer

Claims (10)

양측 로워암과 스테빌라이저 바 사이에 구성되어 차량의 주행 조건에 따라 스테빌라이저 바의 강성을 변화시켜 차량의 롤을 능동적으로 제어하는 액티브 롤 컨트롤 장치에 있어서,
상기 각 로워암에 일단이 슬라이드 가능하게 설치되고, 타단은 상기 스테빌라이저 바의 단부에 연결되는 스테빌라이저 링크;
서브 프레임의 중앙 일측에 설치되며, 모터구동에 의해 양측 파워트랜스를 각각 전후진 직선 구동하는 액추에이터;
상기 각 스테빌라이저 링크의 상기 로워암 측 연결부에 일단이 연결되고, 타단은 상기 각 파워트랜스에 연결되어 상기 파워트랜스의 전후력을 상기 스테빌라이저 링크에 전달하는 푸시 바;
를 포함하는 액티브 롤 컨트롤 장치.
An active roll control device configured between two lower arms and a stabilizer bar to actively control the roll of the vehicle by changing the rigidity of the stabilizer bar according to the driving conditions of the vehicle,
A stabilizer link having one end slidably installed at each lower arm and the other end connected to an end of the stabilizer bar;
An actuator installed at one side of the center of the sub-frame and configured to linearly drive both power transformers forward and backward by motor driving;
A push bar having one end connected to the lower arm side connection part of each stabilizer link, and the other end connected to each power transformer to transfer the front and rear force of the power transformer to the stabilizer link;
Active roll control device comprising a.
제1항에 있어서,
상기 로워암은 양 측면에 슬라이딩 슬롯을 형성하고, 상기 슬라이딩 슬롯에 설치된 슬라이딩 핀을 통하여 상기 스테빌라이저 링크의 일단과 연결되는 것을 특징으로 하는 액티브 롤 컨트롤 장치.
The method of claim 1,
The lower arm forms a sliding slot on both sides and is connected to one end of the stabilizer link through a sliding pin installed in the sliding slot.
제2항에 있어서,
상기 스테빌라이저 링크의 일단은 상기 슬라이딩 핀을 통하여 상기 로워암의 외측에서 상기 푸시 바의 일단에 연결되는 것을 특징으로 하는 액티브 롤 컨트롤 장치.
The method of claim 2,
And one end of the stabilizer link is connected to one end of the push bar at the outside of the lower arm through the sliding pin.
제2항에 있어서,
상기 슬라이딩 슬롯에는 상기 슬라이딩 핀을 안내하는 슬라이드 가이더가 설치되는 것을 특징으로 하는 액티브 롤 컨트롤 장치.
The method of claim 2,
The sliding slot is provided with a slide guider for guiding the sliding pin in the sliding slot.
제1항에 있어서,
상기 액추에이터는
정류자를 포함하는 구동모터;
상기 구동모터의 양측에 각각 엔드벨을 통하여 장착되는 스크루 하우징;
상기 각 스크루 하우징의 내측에 슬라이드 가능하게 설치된 상태로, 일단은 외부로 돌출되고, 타단부는 내측에 스크루 나사부를 갖는 스크루 홈이 형성되는 파워트랜스;
상기 각 스크루 하우징의 내부에 구성되어 일단부가 상기 파워트랜스의 스크루 홈 내부에서 스크루 나사부에 체결되며, 타단에는 스크루 회전축이 일체로 연결되며, 상기 스크루 회전축의 단부가 상기 구동모터의 회전축에 커플링을 통하여 연결되는 리드 스크루;
로 구성되는 것을 특징으로 하는 능동제어 서스펜션 시스템.
The method of claim 1,
The actuator is
A drive motor including a commutator;
Screw housings mounted on both sides of the driving motor through end bells;
A power transformer having one end protruding outward and a screw groove having a screw thread in the other end formed in a state slidably installed in each of the screw housings;
Each screw housing has one end coupled to the screw thread in the screw groove of the power transformer, and a screw rotation shaft is integrally connected to the other end thereof, and an end of the screw rotation shaft is coupled to the rotation shaft of the drive motor. A lead screw connected through;
Active control suspension system, characterized in that consisting of.
제5항에 있어서,
상기 구동모터는 회전수 및 회전방향 제어가 가능한 양방향 서보모터로 구성되는 것을 특징으로 하는 능동제어 서스펜션 시스템.
The method of claim 5,
The drive motor is an active control suspension system, characterized in that consisting of a bidirectional servo motor capable of controlling the rotational speed and rotational direction.
제5항에 있어서,
상기 양측 스크루 하우징의 내부에는 상기 파워트랜스의 타단에 대응하는 일면에 충격력을 흡수하는 댐퍼가 구성되는 것을 특징으로 하는 능동제어 서스펜션 시스템.
The method of claim 5,
Active damping system, characterized in that the damper for absorbing the impact force on one surface corresponding to the other end of the power transformer inside the screw housing on both sides.
제5항에 있어서,
상기 양측 스크루 하우징의 각 외측단에는
상기 파워트랜스의 외주면에 접촉되어 슬라이드 안내하는 가이드 부시와 오일의 누유를 방지하는 오일시일을 내장하는 부시 하우징이 장착되는 것을 특징으로 하는 능동제어 서스펜션 시스템.
The method of claim 5,
Each outer end of the screw housing on both sides
And a bushing housing having a guide bush which slides in contact with the outer circumferential surface of the power transformer to guide the slide and an oil seal which prevents leakage of oil.
제5항에 있어서,
상기 각 스크루 회전축 상에는 상기 각 스크루 하우징의 내부에서 메탈부시와 트러스트 디스크가 끼워져 설치되며, 상기 트러스트 디스크의 양면에는 트러스트 베어링이 설치되며, 상기 각 트러스트 베어링의 외면에는 베어링 플레이트가 설치되는 것을 특징으로 하는 능동제어 서스펜션 시스템.
The method of claim 5,
The screw bush and the thrust disk are inserted into each screw housing on the screw rotation shaft, and thrust bearings are installed on both sides of the thrust disk, and bearing plates are installed on the outer surfaces of the thrust bearings. Active Control Suspension System.
제1항에 있어서,
상기 푸시 바는 일단과 타단이 상기 스테빌라이저 링크의 로워암 측 연결부와 상기 파워트랜스의 선단에 각각 힌지 연결되는 것을 특징으로 하는 능동제어 서스펜션 시스템.
The method of claim 1,
The push bar has an active control suspension system, characterized in that one end and the other end is hinged to the lower arm side connection portion of the stabilizer link and the front end of the power transformer, respectively.
KR1020110073396A 2011-07-25 2011-07-25 Active roll control system Active KR101744803B1 (en)

Priority Applications (1)

Application Number Priority Date Filing Date Title
KR1020110073396A KR101744803B1 (en) 2011-07-25 2011-07-25 Active roll control system

Applications Claiming Priority (1)

Application Number Priority Date Filing Date Title
KR1020110073396A KR101744803B1 (en) 2011-07-25 2011-07-25 Active roll control system

Publications (2)

Publication Number Publication Date
KR20130012295A true KR20130012295A (en) 2013-02-04
KR101744803B1 KR101744803B1 (en) 2017-06-09

Family

ID=47893028

Family Applications (1)

Application Number Title Priority Date Filing Date
KR1020110073396A Active KR101744803B1 (en) 2011-07-25 2011-07-25 Active roll control system

Country Status (1)

Country Link
KR (1) KR101744803B1 (en)

Cited By (6)

* Cited by examiner, † Cited by third party
Publication number Priority date Publication date Assignee Title
KR101533429B1 (en) * 2014-07-04 2015-07-02 서영대학교 산학협력단 Device for reinforcing stiffness of vehicle stabilizer bar with a function of adjusting stiffness
CN106739918A (en) * 2016-12-13 2017-05-31 广州汽车集团股份有限公司 Body gesture active control system and Active Control Method
KR20170095073A (en) * 2016-02-12 2017-08-22 주식회사 만도 Stabilizer for a vehicle
EP3922492A1 (en) * 2020-06-10 2021-12-15 Volvo Truck Corporation An adjustable anti-roll bar arrangement
KR20220045710A (en) * 2020-10-06 2022-04-13 현대모비스 주식회사 Suspension system for vehicle with leaf spring
CN119734552A (en) * 2024-01-23 2025-04-01 北京航空航天大学 A modular multi-wheeled power mechanical posture adjustment mechanism and walking chassis

Cited By (7)

* Cited by examiner, † Cited by third party
Publication number Priority date Publication date Assignee Title
KR101533429B1 (en) * 2014-07-04 2015-07-02 서영대학교 산학협력단 Device for reinforcing stiffness of vehicle stabilizer bar with a function of adjusting stiffness
KR20170095073A (en) * 2016-02-12 2017-08-22 주식회사 만도 Stabilizer for a vehicle
CN106739918A (en) * 2016-12-13 2017-05-31 广州汽车集团股份有限公司 Body gesture active control system and Active Control Method
EP3922492A1 (en) * 2020-06-10 2021-12-15 Volvo Truck Corporation An adjustable anti-roll bar arrangement
US11446974B2 (en) 2020-06-10 2022-09-20 Volvo Truck Corporation Adjustable anti-roll bar arrangement
KR20220045710A (en) * 2020-10-06 2022-04-13 현대모비스 주식회사 Suspension system for vehicle with leaf spring
CN119734552A (en) * 2024-01-23 2025-04-01 北京航空航天大学 A modular multi-wheeled power mechanical posture adjustment mechanism and walking chassis

Also Published As

Publication number Publication date
KR101744803B1 (en) 2017-06-09

Similar Documents

Publication Publication Date Title
KR101283606B1 (en) Active roll control system
KR101198800B1 (en) Active roll control system for vehicle
US8109371B2 (en) Damper
US8608186B2 (en) Active roll control system
US8070169B2 (en) Actuator for active roll control system
KR101316870B1 (en) Active roll control system
KR101393561B1 (en) Active roll control system
KR20130012295A (en) Active roll control system
KR101294070B1 (en) Active geometry control suspension system
JP2007099205A (en) Suspension cylinder device for vehicle
KR101283593B1 (en) Active roll control system
KR101284346B1 (en) Active roll control system
KR101518886B1 (en) Active roll control system
KR101283605B1 (en) Active roll control system
KR101317374B1 (en) Active roll control system
KR101371484B1 (en) Actuator of active roll control system
KR102542943B1 (en) Variable roll stiffness device of vehicle
KR101394054B1 (en) Actuator for active roll control device
KR101646106B1 (en) Active roll control system
KR20080054639A (en) Semi-active Stabilizer
KR20130012293A (en) Active geometry control suspension system
KR101284340B1 (en) Active roll control system
KR102187462B1 (en) Trailing arm for coupled torsion beam axle in vehicle

Legal Events

Date Code Title Description
PA0109 Patent application

Patent event code: PA01091R01D

Comment text: Patent Application

Patent event date: 20110725

PG1501 Laying open of application
A201 Request for examination
PA0201 Request for examination

Patent event code: PA02012R01D

Patent event date: 20151103

Comment text: Request for Examination of Application

Patent event code: PA02011R01I

Patent event date: 20110725

Comment text: Patent Application

E902 Notification of reason for refusal
PE0902 Notice of grounds for rejection

Comment text: Notification of reason for refusal

Patent event date: 20161228

Patent event code: PE09021S01D

E701 Decision to grant or registration of patent right
PE0701 Decision of registration

Patent event code: PE07011S01D

Comment text: Decision to Grant Registration

Patent event date: 20170418

GRNT Written decision to grant
PR0701 Registration of establishment

Comment text: Registration of Establishment

Patent event date: 20170601

Patent event code: PR07011E01D

PR1002 Payment of registration fee

Payment date: 20170601

End annual number: 3

Start annual number: 1

PG1601 Publication of registration
PR1001 Payment of annual fee

Payment date: 20210527

Start annual number: 5

End annual number: 5

PR1001 Payment of annual fee

Payment date: 20230525

Start annual number: 7

End annual number: 7

PR1001 Payment of annual fee

Payment date: 20240527

Start annual number: 8

End annual number: 8