KR20130005983A - Ornament attachment method for leather product - Google Patents

Ornament attachment method for leather product Download PDF

Info

Publication number
KR20130005983A
KR20130005983A KR1020110067739A KR20110067739A KR20130005983A KR 20130005983 A KR20130005983 A KR 20130005983A KR 1020110067739 A KR1020110067739 A KR 1020110067739A KR 20110067739 A KR20110067739 A KR 20110067739A KR 20130005983 A KR20130005983 A KR 20130005983A
Authority
KR
South Korea
Prior art keywords
decorative part
adhesive
leather
leather product
applying
Prior art date
Legal status (The legal status is an assumption and is not a legal conclusion. Google has not performed a legal analysis and makes no representation as to the accuracy of the status listed.)
Granted
Application number
KR1020110067739A
Other languages
Korean (ko)
Other versions
KR101233011B1 (en
Inventor
하성호
Original Assignee
하성호
Priority date (The priority date is an assumption and is not a legal conclusion. Google has not performed a legal analysis and makes no representation as to the accuracy of the date listed.)
Filing date
Publication date
Application filed by 하성호 filed Critical 하성호
Priority to KR1020110067739A priority Critical patent/KR101233011B1/en
Publication of KR20130005983A publication Critical patent/KR20130005983A/en
Application granted granted Critical
Publication of KR101233011B1 publication Critical patent/KR101233011B1/en
Active legal-status Critical Current
Anticipated expiration legal-status Critical

Links

Images

Classifications

    • CCHEMISTRY; METALLURGY
    • C14SKINS; HIDES; PELTS; LEATHER
    • C14BMECHANICAL TREATMENT OR PROCESSING OF SKINS, HIDES OR LEATHER IN GENERAL; PELT-SHEARING MACHINES; INTESTINE-SPLITTING MACHINES
    • C14B1/00Manufacture of leather; Machines or devices therefor
    • C14B1/44Mechanical treatment of leather surfaces
    • C14B1/56Ornamenting, producing designs, embossing
    • BPERFORMING OPERATIONS; TRANSPORTING
    • B44DECORATIVE ARTS
    • B44CPRODUCING DECORATIVE EFFECTS; MOSAICS; TARSIA WORK; PAPERHANGING
    • B44C5/00Processes for producing special ornamental bodies
    • CCHEMISTRY; METALLURGY
    • C14SKINS; HIDES; PELTS; LEATHER
    • C14BMECHANICAL TREATMENT OR PROCESSING OF SKINS, HIDES OR LEATHER IN GENERAL; PELT-SHEARING MACHINES; INTESTINE-SPLITTING MACHINES
    • C14B1/00Manufacture of leather; Machines or devices therefor
    • C14B1/44Mechanical treatment of leather surfaces
    • C14B1/50Glazing
    • CCHEMISTRY; METALLURGY
    • C14SKINS; HIDES; PELTS; LEATHER
    • C14BMECHANICAL TREATMENT OR PROCESSING OF SKINS, HIDES OR LEATHER IN GENERAL; PELT-SHEARING MACHINES; INTESTINE-SPLITTING MACHINES
    • C14B1/00Manufacture of leather; Machines or devices therefor
    • C14B1/58Drying
    • CCHEMISTRY; METALLURGY
    • C14SKINS; HIDES; PELTS; LEATHER
    • C14BMECHANICAL TREATMENT OR PROCESSING OF SKINS, HIDES OR LEATHER IN GENERAL; PELT-SHEARING MACHINES; INTESTINE-SPLITTING MACHINES
    • C14B5/00Clicking, perforating, or cutting leather
    • CCHEMISTRY; METALLURGY
    • C14SKINS; HIDES; PELTS; LEATHER
    • C14BMECHANICAL TREATMENT OR PROCESSING OF SKINS, HIDES OR LEATHER IN GENERAL; PELT-SHEARING MACHINES; INTESTINE-SPLITTING MACHINES
    • C14B2700/00Mechanical treatment or processing of skins, hides or leather in general; Pelt-shearing machines; Making driving belts; Machines for splitting intestines
    • C14B2700/16Machines for glazing, plush-wheeling or brushing

Landscapes

  • Engineering & Computer Science (AREA)
  • Mechanical Engineering (AREA)
  • Chemical & Material Sciences (AREA)
  • Organic Chemistry (AREA)
  • Manufacturing & Machinery (AREA)
  • Treatment And Processing Of Natural Fur Or Leather (AREA)

Abstract

PURPOSE: A method for attaching a decorative part for a leather product is provided to extend life time and to attach a logo or the decorative part with high luster and various colors. CONSTITUTION: A method for attaching a decorative part for a leather product comprises: a step of forming an intaglio part on the surface of the leather product by a molding or laser-cutting method(S100); a step of primarily applying epoxy bond on the intaglio part of the leather product(S110); a step of primarily drying the adhesive(epoxy bond) at 15-28 deg.C.(S120); a step of attaching the decorative part on the upper side of the adhesive(S130); a step of pressing the decorative part by heat-welding the decorative part(S140); a step of applying a luster on the upper side of the decorative part by a spraying method or silk screen printing method(S160); and a step of secondarily drying the luster at 15-28 deg.C.(S170). [Reference numerals] (S100) Intaglio part forming step; (S110) Primarily adhesive applying step; (S120) Primarily drying step; (S130) Decorative part attaching step; (S140) Decorative part pressing step; (S150) Secondarily adhesive applying step; (S160) Luster applying step; (S170) Secondarily drying step

Description

가죽 제품용 장식부 부착방법{Ornament attachment method for leather product}Orientation attachment method for leather product

본 발명은 가죽 제품용 장식부 부착방법에 관한 것으로서, 더욱 상세하게는 지갑이나 가방 등과 같은 가죽 제품의 표면에 음각부를 성형하여 사용 수명이 길면서도 고도의 광택과 다양한 색상 및 고급스러움을 지닌 로고나, 해당 제품명 등과 같은 장식부를 견고한 상태로 부착시킬 수 있도록 한 것이다.
The present invention relates to a method for attaching a decorative part for leather goods, and more particularly, by forming a negative part on the surface of a leather product such as a wallet or a bag, and having a long service life and having a high gloss, various colors and luxury, Decorative parts such as the product name is to be attached in a solid state.

일반적으로, 지갑이나 가방 등과 같은 가죽 제품에는 해당 제품의 회사명, 로고, 제품명 등을 소비자들이 쉽게 인식할 수 있도록 하기 위해 장식부가 표시되어 있는데, 이러한 장식부를 표시하기 위한 방식으로는 가죽 제품에 다양한 색상을 갖는 금속 스티커를 부착하거나, 금박을 입힌 장식부를 부착하거나, 장식부를 음각으로 형성시키거나, 장식부에 음각을 형성시킨 후 이 음각 부위에 금박 인쇄를 하는 등의 다양한 방식이 있었다.In general, leather products such as wallets and bags are marked with a decorative part so that consumers can easily recognize the company name, logo, product name, etc. of the product. There were various methods such as attaching a metallic sticker having a color, attaching a gold-clad decorative part, forming a decorative part intaglio, or forming an intaglio in the decorative part, and then printing gold foil on the engraved part.

먼저, 상기한 금속 스티커는 여타의 다른 종류에서 찾아보기 힘든 고도의 광택과 고급스러움을 지니면서도 모방이 쉽지 않아 위조 방지의 기능을 겸하며, 특히 차세대 인식기술(RFID)의 안테나 역할을 할 수 있고, 나아가 형태, 크기, 모양 등에 구애받지 않기 때문에 소품종 대량 생산과 다품종 소량 생산 모두 충족시킬 수 있는 경쟁력을 갖추고 있기 때문에 명판, 액세서리, 판촉물 등으로도 각광받고 있다.First of all, the metal sticker has a high gloss and luxury, which is hard to find in other types, and is not easy to imitate, thus serving as an anti-counterfeiting function, and in particular, can serve as an antenna for next generation recognition technology (RFID). Furthermore, it is notable for shape, size, shape, etc., so it has a competitive edge to meet both mass production and small quantity production of small items.

그러나, 이와 같은 금속 스티커를 금속이나 합성 수지와 같이 표면이 딱딱한 재질의 제품에 부착시키는 경우에는 항상 제품의 표면이 유동되지 않고 고정된 상태를 유지하기 때문에 장식부로서의 역할을 효과적으로 발휘할 수 있지만, 가죽 제품에 장식부로서 금속 스티커를 부착시키는 경우 가죽 제품은 재질의 특성상 자유자재로 유동되기 때문에 가죽 제품(10)의 표면에 도 1a에 도시한 바와 같이 금속 스티커(S)가 부착된 상태에서 외부에서 가해지는 충격이나 외력(F)에 의해 금속 스티커가 벌어지거나, 도 1b에 도시한 바와 같이 금속 스티커(S)의 활자가 떨어지는 불량이 빈번하게 발생됨에 따라 소비자들에게 가죽 제품의 신뢰성을 저하시키는 주요인으로 작용하기 때문에 가죽 제품에는 장식부로서 고도의 광택과 다양한 색상 및 고급스러움을 지닌 금속 스티커를 부착시켜 사용할 수가 없었다.However, when the metal sticker is attached to a product having a hard surface such as metal or synthetic resin, the surface of the product does not flow and remains fixed at all times, but it can effectively serve as a decorative part. In the case of attaching a metal sticker as a decorative part to the product, since the leather product is free to flow due to the characteristics of the material, as shown in FIG. 1A on the surface of the leather product 10, the metal sticker S is attached to the outside. The main cause of deterioration of the reliability of leather products for consumers is that the metal sticker is opened by the impact or external force F applied, or the type of metal sticker S is frequently dropped as shown in FIG. 1B. As a decorative part for leather products, it has a high gloss, various colors and luxury. Metal stickers could not be attached.

이를 해결하기 위해 종래에는 가죽 제품의 표면에 금박을 입힌 장식부를 부착시켰으나, 이와 같이 금속 재질로 되어 금박을 입힌 장식부를 지갑 등과 같은 가죽 제품에 부착시켜 사용하는 경우 입체감은 뛰어나지만, 장식부가 가죽 제품의 표면으로 돌출되기 때문에 사용 중 장식부의 금박 부분이 벗겨지면서 식별력이 현저히 떨어지게 되고, 가죽 제품으로부터 장식부가 떨어나가는 현상이 많이 발생하기 때문에 궁극적으로 가죽 제품의 신뢰성을 저하시키게 되는 등의 문제점이 있었다.In order to solve this problem, in the past, a gold-plated decorative part was attached to the surface of the leather product. However, when the gold-plated decorative part is attached to a leather product such as a wallet and the like, the three-dimensional effect is excellent, but the decorative part is a leather product. Since the gold foil portion of the decorative part is peeled off during use because it protrudes into the surface of the discriminant power, the identification power is remarkably decreased, and the decorative part is dropped from the leather product. Therefore, the reliability of the leather product is ultimately degraded.

또한, 가죽 제품의 표면에 장식부를 음각으로 성형하여 사용하는 경우 장식부의 사용 수명은 길지만, 전체 장식부의 미감이 저하되고, 이 음각으로 성형된 장식부를 소비자가 육안으로 용이하게 식별하기 어려우며, 또한 가죽으로 된 책표지 등과 같은 제품의 표면에 음각을 형성시킨 후 금박 인쇄를 하여 사용하는 경우 전술한 바와 마찬가지로 사용 중 장식부의 금박 인쇄부분이 벗겨지면서 식별력이 떨어지는 등의 많은 문제점이 있기 때문에 가죽 제품의 표면에 사용 수명이 길면서도 고도의 광택과 다양한 색상 및 고급스러움을 지닌 로고나, 해당 제품명 등과 같은 장식부를 성형하여 부착할 수 있는 기술 개발이 요망되었다.
In addition, when the decorative parts are used by engraving the surface of leather products, the service life of the decorative parts is long, but the aesthetics of the entire decorative parts are reduced, and it is difficult for consumers to easily identify the engraved decorative parts with the naked eye. In the case of using gold foil printing after forming intaglio on the surface of a product such as a book cover, the surface of the leather product has a lot of problems such as peeling off the printing of the gold leaf of the decorative part during use. It is desirable to develop a technology that can be molded and attached to a logo such as a logo having a long life, high gloss, various colors and luxury, or a product name.

따라서, 본 발명은 상기한 종래의 제반 문제점을 해결하기 위해 안출한 것으로서, 본 발명은 지갑이나 가방 등과 같은 가죽 제품의 표면에 음각부를 성형하여 사용 수명이 길면서도 고도의 광택과 다양한 색상 및 고급스러움을 지닌 로고나, 해당 제품명 등과 같은 장식부를 부착시킬 수 있도록 하여 소비자들에게 가죽 제품의 신뢰성을 향상시킬 수 있는 가죽 제품용 장식부 부착방법을 제공하는 데 그 목적이 있다.
Accordingly, the present invention has been made to solve the above-mentioned conventional problems, the present invention is formed by engraving the surface of the leather products such as wallets or bags, the service life is long, high gloss and various colors and luxury The purpose of the present invention is to provide a method of attaching a decorative part for leather goods to improve the reliability of the leather product by enabling the user to attach a decorative part such as a logo or a corresponding product name.

상기한 목적을 달성하기 위해 본 발명은 지갑이나 가방 등과 같은 가죽 제품의 표면에 해당 제품의 회사명, 로고, 제품명 등과 같은 장식부를 부착하기 위한 가죽 제품용 장식부 부착방법에 있어서, 상기 가죽 제품의 표면에 금형 방식 또는 레이저 컷팅 방식에 의해 음각부를 형성하는 단계와, 상기 가죽 제품의 음각부에 실크 스크린 인쇄방식에 의해 접착제인 에폭시 본드를 1차 도포하는 단계와, 상기 음각부에 도포된 접착제를 15~28℃에서 1차 건조하는 단계와, 상기 음각부에 도포된 접착제의 상면에 장식부를 부착하는 단계와, 상기 장식부를 열융착 방식에 의해 압착하는 단계와, 상기 가죽 제품의 음각부에 삽입 고정된 장식부의 상면에 스프레이 방식 또는 실크 스크린 인쇄방식에 의해 광택제를 도포하는 단계와, 상기 광택제를 도포한 다음 15~28℃에서 2차 건조하는 단계를 진행하는 것을 특징으로 하는 가죽 제품용 장식부 부착방법이 제공된다.In order to achieve the above object, the present invention provides a method for attaching a decorative part for a leather product for attaching a decorative part, such as a company name, a logo, a product name, etc., on the surface of a leather product such as a wallet or a bag. Forming a concave portion on the surface by a mold method or a laser cutting method, first applying an epoxy bond, which is an adhesive by silk screen printing, to the concave portion of the leather product, and applying the adhesive applied to the concave portion First drying at 15 to 28 ° C., attaching a decorative part to an upper surface of the adhesive applied to the intaglio part, pressing the decorative part by a heat fusion method, and inserting the intaglio part of the leather product Applying a varnish to the upper surface of the fixed decorative part by spray method or silk screen printing method, and after applying the varnish, 15 to 28 The secondary drying, characterized in that to proceed with the steps of: leather products decorative portion are provided in the attachment method.

또한, 상기 광택제를 도포하기 이전에 가죽 제품 표면의 음각부에 접착제인 에폭시 본드를 실크 스크린 인쇄방식에 의해 2차 도포하는 단계를 진행하는 것을 특징으로 한다.In addition, before applying the varnish is characterized in that the step of applying the epoxy bond which is an adhesive to the intaglio portion of the surface of the leather product by a silk screen printing method.

또한, 상기 광택제는 가죽 제품의 상면과 동일 높이가 되도록 도포하는 것을 특징으로 한다.In addition, the varnish is characterized in that the coating to be the same height as the upper surface of the leather product.

그리고, 상기 광택제는 전체 100중량% 중 광택제 50중량%, 신나 30중량%, 아농 20중량%의 비율로 혼합하여 제조하는 것을 특징으로 한다.
In addition, the varnish is characterized in that the mixture is prepared by mixing in a proportion of 50% by weight, 30% by weight thinner, 20% by weight of acone of 100% by weight.

이상에서 상술한 바와 같이, 본 발명은 지갑이나 가방 등과 같은 가죽 제품의 표면에 음각부를 성형하여 사용 수명이 길면서도 고도의 광택과 다양한 색상 및 고급스러움을 지닌 로고나, 해당 제품명 등과 같은 장식부를 견고한 상태로 부착시킬 수 있음으로써 소비자들에게 가죽 제품의 효율성 및 신뢰성을 크게 향상시킬 수 있는 매우 유용한 발명이다.
As described above, the present invention is formed by engraving the surface of the leather products such as wallets or bags, the use life is long, and a high gloss and various colors and luxury logos, decorative parts such as product names, etc. It is a very useful invention that can greatly improve the efficiency and reliability of leather products to consumers.

도 1a 및 도 1b는 종래의 가죽 제품의 표면에 금속 스티커로 된 장식부가 부착된 상태에서 불량이 각각 발생된 상태를 나타낸 도면
도 2는 본 발명에 따른 가죽 제품의 표면에 장식부가 부착되는 상태를 나타낸 분해 사시도
도 3a 내지 도 3d는 본 발명에 따른 가죽 제품의 표면에 장식부가 부착되는 상태를 순차적으로 나타낸 단면도
도 4는 본 발명에 따른 가죽 제품의 표면에 장식부가 부착되는 상태를 순차적으로 나타낸 흐름도
1A and 1B are views showing a state in which defects are generated in a state where a decorative portion made of a metal sticker is attached to a surface of a conventional leather product
Figure 2 is an exploded perspective view showing a state in which the decorative portion is attached to the surface of the leather product according to the invention
3A to 3D are cross-sectional views sequentially illustrating a state in which a decorative part is attached to a surface of a leather product according to the present invention.
Figure 4 is a flow chart showing the state in which the decorative part is attached to the surface of the leather product according to the present invention in sequence

이하, 상기한 목적을 달성하기 위한 본 발명의 바람직한 실시예를 첨부된 도면을 참조하여 상세히 설명하면 다음과 같다. Hereinafter, with reference to the accompanying drawings, preferred embodiments of the present invention for achieving the above object will be described in detail.

본 발명의 실시예를 설명함에 있어서 본 발명이 속하는 기술 분야에 익히 알려져 있고 본 발명과 직접적으로 관련이 없는 기술 내용에 대해서는 설명을 생략한다. 이는 불필요한 설명을 생략함으로써 본 발명의 요지를 흐리지 않고 보다 명확하게 하기 위함이다.In describing the embodiments of the present invention, descriptions of technical contents which are well known in the technical field to which the present invention belongs and are not directly related to the present invention will be omitted. This is to more clearly without obscure the subject matter of the present invention by omitting unnecessary description.

마찬가지의 이유로 첨부 도면에 있어서 일부 구성요소는 과장되거나 생략되거나 또는 개략적으로 도시되었으며, 각 구성요소의 크기는 실제 크기를 전적으로 반영하는 것이 아니다. 도면을 통틀어 동일한 또는 대응하는 구성요소에는 동일한 참조 번호를 부여하였다.For the same reason, some of the elements in the accompanying drawings are exaggerated, omitted, or schematically shown, and the size of each element does not entirely reflect the actual size. Like reference numerals designate like or corresponding elements throughout the drawings.

한편, 본 명세서와 도면에는 본 발명의 바람직한 실시예에 대하여 개시하였으며, 비록 특정 용어들이 사용되었으나, 이는 단지 본 발명의 기술 내용을 쉽게 설명하고 고안의 이해를 돕기 위한 일반적인 의미에서 사용된 것이지, 본 발명의 범위를 한정하고자 하는 것은 아니다. 여기에 개시된 실시예 외에도 본 발명의 기술적 사상에 바탕을 둔 다른 변형 실시예들이 실시가능하다는 것은 본 발명이 속하는 기술 분야에서 통상의 지식을 가진 자에게 자명한 것이다.On the other hand, in the present specification and drawings have been described with respect to preferred embodiments of the present invention, although specific terms are used, it is merely used in a general sense to easily explain the technical details of the present invention and to help understand the design, It is not intended to limit the scope of the invention. It will be apparent to those skilled in the art that other modified embodiments based on the technical idea of the present invention can be implemented in addition to the embodiments disclosed herein.

도 2는 본 발명에 따른 가죽 제품의 표면에 장식부가 부착되는 상태를 나타낸 분해 사시도이고, 도 3a 내지 도 3d는 본 발명에 따른 가죽 제품의 표면에 장식부가 부착되는 상태를 순차적으로 나타낸 단면도이며, 도 4는 본 발명에 따른 가죽 제품의 표면에 장식부가 부착되는 상태를 순차적으로 나타낸 흐름도이다.Figure 2 is an exploded perspective view showing a state in which the decorative part is attached to the surface of the leather product according to the invention, Figures 3a to 3d is a cross-sectional view sequentially showing a state in which the decorative part is attached to the surface of the leather product according to the present invention, 4 is a flowchart sequentially showing a state in which a decorative part is attached to a surface of a leather product according to the present invention.

본 발명의 가죽 제품용 장식부 부착방법은 순차적으로 지갑이나 가방 등과 같은 가죽 제품의 표면에 음각부를 형성하는 단계(S100), 상기 음각부에 접착제를 1차 도포하는 단계(S110), 상기 음각부에 도포된 접착제를 1차 건조하는 단계(S120), 상기 음각부에 도포된 접착제의 상면에 장식부를 부착하는 단계(S130), 상기 장식부를 압착하는 단계(S140), 상기 음각부에 접착제를 2차 도포하는 단계(S150), 상기 장식부의 상면에 광택제를 도포하는 단계(S160), 상기 음각부에 도포된 접착제 및 광택제를 2차 건조하는 단계(S170)를 진행하여 상기 가죽 제품(10)의 표면에 형성된 음각부(12)에 장식부(30)를 부착시킬 수 있게 된다.In the method of attaching a decorative part for leather goods of the present invention, a step of sequentially forming an intaglio portion on a surface of a leather product such as a wallet or a bag (S100), and first applying an adhesive to the intaglio portion (S110), the intaglio portion Drying the adhesive applied to the first step (S120), attaching a decorative part to the top surface of the adhesive applied to the intaglio (S130), pressing the decorative part (S140), and attaching the adhesive to the intaglio 2 Car coating step (S150), the step of applying a varnish to the upper surface of the decorative portion (S160), the second step of drying the adhesive and varnish applied to the intaglio portion (S170) of the leather product 10 It is possible to attach the decorative portion 30 to the intaglio portion 12 formed on the surface.

즉, 상기한 가죽 제품용 장식부 부착공정을 진행할 때에는 먼저 도 2 및 도 3a에 도시한 바와 같이 제품 제품(10)의 표면에 금형 방식 또는 레이저 컷팅 방식에 의해 음각부(12)를 형성하게 되는데(S100), 금형 방식으로 가죽 제품(10)의 표면에 음각부(12)를 형성시키고자 할 때는 형상 유지기능을 갖는 하부 받침금형의 정해진 위치에 가죽 제품(10)을 올려놓은 후, 상기 하부 받침금형 상부에 일정 간격이되어 설치된 상부 금형이 하강하면서 상부 금형의 하단에 산형으로 돌출 형성된 각인부가 가죽 제품을 가압시킴에 따라 이 가죽 제품의 표면이 상기 하부 받침금형의 상면에 요입 형성된 음각 형성홈에 수용되어 변형되므로 가죽 제품(10)의 표면에 음각부(12)를 형성시키거나, 정밀한 가공이 가능한 레이저 컷팅 방식에 의해 가죽 제품(10)의 표면에 보다 정밀한 형상을 요하는 음각부(12)를 효율적으로 형성시킬 수 있게 된다. That is, when the decorative part attaching process for the leather product described above, first, as shown in FIGS. 2 and 3A, the intaglio portion 12 is formed on the surface of the product product 10 by a mold method or a laser cutting method. (S100), in order to form the intaglio portion 12 on the surface of the leather product 10 by a mold method, after placing the leather product 10 at a predetermined position of the lower support mold having a shape maintaining function, the lower part As the upper mold installed at regular intervals on the upper support die descends and the stamping portion protruding from the lower mold of the upper die presses the leather product, the surface of the leather product is indented on the upper surface of the lower support mold. Since the engraved portion 12 is formed on the surface of the leather product 10 because it is received and deformed, or the laser cutting method capable of precise processing, the surface of the leather product 10 is more precise. It is possible to form a concave portion 12 that requires the image efficiently.

그 다음, 상기 가죽 제품(10)의 음각부(12)에 접착제를 1차 도포하는 단계(S110)는 실크 스크린 인쇄방식에 의해 진행하게 되는데, 이러한 실크 스크린 인쇄방식은 접착제의 특성상 실크 섬유사나 일반 화학 섬유사로 직조된 망사 스크린보다는, 스테인레스와 같은 금속사로 직조된 메탈 메쉬 스크린을 사용하여 진행하는 것이 바람직하며, 접착제를 도포시 상기 메탈 메쉬 스크린을 고정 프레임에 팽팽하게 고정시킨 후, 메탈 메쉬 스크린의 전면에 감광제를 균일한 두께로 도포하여 건조시킨 다음, 감광제 코팅층에 음각부(12)에 해당하는 부분의 영상이 촬영된 필름을 밀착시킨다.Then, the first step (S110) of applying the adhesive to the intaglio portion 12 of the leather product 10 is to proceed by the silk screen printing method, such silk screen printing method is silk fiber yarn or general Rather than a mesh screen woven with chemical fiber yarns, it is preferable to proceed with a metal mesh screen woven with a metal yarn such as stainless steel, and after the adhesive is applied, the metal mesh screen is firmly fixed to a fixed frame, and then the metal mesh screen The photosensitive agent is applied to the entire surface with a uniform thickness, and then dried. Then, the film on which the image of the portion corresponding to the intaglio portion 12 is photographed is adhered to the photosensitive agent coating layer.

그 다음, 빛을 조사한 후 상기 감광제 코팅층의 표면에 물을 분사하여 세척함으로써 음각부(12)에 해당하는 부분만 탈막되며, 이와 같은 방식으로 제조된 메탈 메쉬 스크린을 가죽 제품(10)의 표면에 근접시킨 다음 스크린 프레임의 내부에 접착제를 투입하여 스퀴지를 이용하여 메탈 메쉬 스크린에 압력을 가하면서 접착제를 밀어주게 되면 상기 스퀴지에 의해 분산되는 접착제가 탈막 부분, 즉 가죽 제품(10)의 음각부(12)로 투과되므로 도 3b에 도시한 바와 같이 접착제(20)를 1차 도포할 수 있게 된다.Then, after irradiating with light, water is sprayed on the surface of the photosensitive agent coating layer to wash and remove only a portion corresponding to the intaglio portion 12, and the metal mesh screen manufactured in this manner is applied to the surface of the leather product 10. When the adhesive is pushed into the screen frame by applying an adhesive to the inside of the screen frame and applying pressure to the metal mesh screen using a squeegee, the adhesive dispersed by the squeegee is removed from the film, that is, the negative part of the leather product 10 ( 12), the adhesive 20 can be first applied as shown in FIG. 3B.

이러한 상기 가죽 제품(10)의 음각부(12)에 접착제(20)를 도포시 수작업으로 도포할 수도 있지만, 이러한 수작업에 의해 접착제를 도포하는 경우 적절한 양을 도포하기가 어렵고, 접착제가 가죽 제품(10)의 주변에 묻어 지저분해지는 현상이 빈번하게 발생하기 때문에 접착제의 높이와 양을 용이하고 정확하게 조절할 수 있는 실크 스크린 인쇄방식에 의해 접착제를 도포하는 것이 바람직하다.While applying the adhesive 20 to the intaglio portion 12 of the leather product 10 may be applied manually, it is difficult to apply an appropriate amount when applying the adhesive by such a hand, the adhesive is a leather product ( It is preferable to apply the adhesive by a silk screen printing method that can easily and accurately control the height and amount of the adhesive because it often occurs in the periphery of 10).

또한, 상기 접착제(20)로는 에폭시 본드를 사용하는데, 이러한 에폭시 본드를 접착제로서 사용하는 이유는 첫째 에폭시 본드는 접착제와 경화제, 두 가지의 물질로 이루어져 접착제는 매우 끈적거리는 물질인 에폭시 수지로서 양 접착면을 견고하게 잡아주는 역할을 함과 동시에, 경화제는 상기 에폭시 수지가 경화되도록 하는 역할을 하기 때문에 상호 보완 작용을 하기 때문에 접착제와 경화제를 1:1로 혼합하여 사용하는 것이 바람직한 것으로 나타났으며, 둘째 에폭시 본드는 매우 투명하기 때문에 이러한 투명한 특성으로 어떤 사물의 코팅막을 형성해 피막을 보호하는 용도로도 사용이 가능하고, 셋째 에폭시 수지는 본디 투명한 물질이지만 염료를 섞으면 색상을 자유롭게 바꿀 수 있는 특성이 있기 때문에 접착제로서 에폭시 본드를 사용한다.In addition, an epoxy bond is used as the adhesive 20. The reason for using the epoxy bond as an adhesive is that the first epoxy bond is composed of two materials, an adhesive and a curing agent. In addition to the role of firmly holding the cotton, the curing agent plays a role in making the epoxy resin to cure, so it was found that it is desirable to use a 1: 1 mixture of the adhesive and the curing agent, Second, because the epoxy bond is very transparent, this transparent property can be used to protect the film by forming a coating film of any object. Third, the epoxy resin is a transparent material, but when dyes are mixed, the color can be changed freely. Therefore, epoxy bond is used as the adhesive.

그 다음, 상기 가죽 제품(10)의 음각부(12)에 도포된 접착제를 15~28℃에서 5~10분간 1차 건조하는 단계(S120)를 진행한 후, 도 3c에 도시한 바와 같이 상기 음각부(12)에 장식부(30)를 부착시킨 다음(S130), 상기 장식부(30)가 음각부(12)에서 견고하게 고정된 상태를 유지하도록 하기 위해 장식부(30)를 열융착 방식에 의해 압착시킨다(S140).Then, after the first step (S120) to dry the adhesive applied to the intaglio portion 12 of the leather product 10 for 5 to 10 minutes at 15 ~ 28 ℃, as shown in Figure 3c After attaching the decorative part 30 to the intaglio part 12 (S130), the decorative part 30 is heat-sealed in order to maintain the state in which the decorative part 30 is firmly fixed in the intaglio part 12. Compression by the method (S140).

이 후, 상기 가죽 제품(10) 표면의 음각부(12)에 접착제(20)인 에폭시 본드를 실크 스크린 인쇄방식에 의해 2차 도포하는 단계(S150)를 진행하게 되는데, 이와 같이 접착제(20)를 다시 한번 더 도포하는 이유는 1차로 접착제(20)를 도포한 상태에서 상기 음각부(12)와 장식부(30) 사이의 틈새 등에 접착제가 도포되지 않는 경우가 발생됐을 경우 가죽 제품(10)의 음각부(12)에서 장식부(30)가 쉽게 이탈되는 현상을 미연에 방지하여 가죽 제품(10)의 음각부(12)에서 장식부(30)가 견고하게 고정된 상태를 유지할 수 있도록 하기 위한 것이다.Subsequently, the epoxy coating, which is the adhesive 20, is applied to the intaglio portion 12 of the surface of the leather product 10 by a silk screen printing method (S150). The adhesive 20 is thus performed. The reason why the coating is applied once again is that when the adhesive is not applied to the gap between the intaglio portion 12 and the decorative portion 30 in the state where the adhesive 20 is first applied to the leather product 10. To prevent the phenomenon that the decorative portion 30 is easily detached from the intaglio portion 12 of the to ensure that the decorative portion 30 is firmly fixed in the intaglio portion 12 of the leather product 10 It is for.

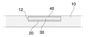
그 다음, 상기 가죽 제품(10)의 음각부(12)에 삽입 고정된 장식부(30)의 상면에 도 3d에 도시한 바와 같이, 스프레이 방식 또는 실크 스크린 인쇄방식에 의해 광택제(40)를 가죽 제품(10)의 상면과 동일 높이가 되도록 도포하는 단계(S160)를 진행하게 되는데, 상기 광택제(40)를 가죽 제품(10)의 상면과 동일 높이가 되도록 도포하는 이유는 상기 광택제(40)가 가죽 제품(10)의 상면보다 돌출되어 도포될 경우 광택제의 표면이 손상을 입어 미감이 저하되는 것을 미연에 방지하기 위한 것이다. Next, as shown in FIG. 3D, the polish 40 is sprayed or silk screen printed on the upper surface of the decorative part 30 fixed to the intaglio 12 of the leather product 10. Applying to the same height as the upper surface of the product 10 (S160) proceeds, the reason for applying the polish 40 to the same height as the upper surface of the leather product 10 is the polish 40 When applied to protrude from the upper surface of the leather product 10 is to prevent the surface of the polish is damaged to reduce the aesthetics in advance.

한편, 상기 광택제를 제조할 때는 전체 100중량% 중 광택제 50중량%, 신나 30중량%, 아농(Cyclonhexanone) 20중량%의 비율로 혼합하여 제조하는데, 이때 상기 신나나, 아농을 혼합하는 이유는 상기 신나 성분은 광택제를 부드럽게 해주는 역할을 해주고, 상기 아농 성분은 광택제를 부드럽게 침투시키면서 상호 흡착이 원활하게 이루어지도록 하는 역할을 할 수 있기 때문이다.On the other hand, when manufacturing the varnish is prepared by mixing in a ratio of 50% by weight, 100% by weight of the polisher, 30% by weight thinner, 20% by weight Cyclonhexanone, wherein the reason for mixing the thinner, ananone is This is because the thinner component plays a role of softening the polish, and the subcondensation component can play a role of smoothly penetrating the polish and mutually adsorbing.

이 후, 상기 광택제(40)를 도포한 다음 15~28℃에서 5~10분간 2차 건조하는 단계(S170)를 진행함으로써 상기 가죽 제품(10)의 표면에 음각부(12)를 성형하여 사용 수명이 길면서도 고도의 광택과 다양한 색상 및 고급스러움을 지닌 로고나, 해당 제품명 등과 같은 장식부(30)를 견고한 상태로 부착시킬 수 있게 된다.
Thereafter, by applying the polish 40 and then performing a second step of drying for 5 to 10 minutes at 15 ~ 28 ℃ (S170) by using the molded part 12 on the surface of the leather product 10 Long life and high gloss and a variety of colors and luxury logos, such as the name of the product can be attached in a solid state.

10; 가죽 제품 12; 음각부
20; 접착제 30; 장식부
40; 광택제
10; Leather products 12; Intaglio
20; Adhesive 30; Decoration
40; Polish

Claims (4)

지갑이나 가방 등과 같은 가죽 제품의 표면에 해당 제품의 회사명, 로고, 제품명 등과 같은 장식부를 부착하기 위한 가죽 제품용 장식부 부착방법에 있어서,
상기 가죽 제품(10)의 표면에 금형 방식 또는 레이저 컷팅 방식에 의해 음각부(12)를 형성하는 단계와,
상기 가죽 제품(10)의 음각부(12)에 실크 스크린 인쇄방식에 의해 접착제(20)인 에폭시 본드를 1차 도포하는 단계와,
상기 음각부(12)에 도포된 접착제(20)를 15~28℃에서 1차 건조하는 단계와,
상기 음각부(12)에 도포된 접착제(20)의 상면에 장식부(30)를 부착하는 단계와,
상기 장식부(30)를 열융착 방식에 의해 압착하는 단계와,
상기 가죽 제품(10)의 음각부(12)에 삽입 고정된 장식부(30)의 상면에 스프레이 방식 또는 실크 스크린 인쇄방식에 의해 광택제(40)를 도포하는 단계와,
상기 광택제(40)를 도포한 다음 15~28℃에서 2차 건조하는 단계를 진행하는 것을 특징으로 하는 가죽 제품용 장식부 부착방법.
In the method of attaching decorative parts for leather products for attaching decorative parts such as company name, logo, product name, etc. of the product on the surface of leather products such as wallets or bags,
Forming a concave portion 12 on the surface of the leather product 10 by a mold method or a laser cutting method;
First applying an epoxy bond, the adhesive 20, to the intaglio portion 12 of the leather product 10 by silk screen printing;
Firstly drying the adhesive 20 applied to the intaglio portion 12 at 15 ~ 28 ℃,
Attaching the decorative part 30 to the upper surface of the adhesive 20 applied to the engraved part 12,
Compressing the decoration part 30 by a heat fusion method;
Applying a varnish 40 to the upper surface of the decorative part 30 inserted and fixed to the intaglio portion 12 of the leather product 10 by spraying or silk screen printing;
After applying the varnish 40, the method of attaching a decorative part for leather products, characterized in that the step of drying the secondary at 15 ~ 28 ℃.
제 1 항에 있어서, 상기 광택제(40)를 도포하기 이전에 가죽 제품(10) 표면의 음각부(12)에 접착제(20)인 에폭시 본드를 실크 스크린 인쇄방식에 의해 2차 도포하는 단계를 진행하는 것을 특징으로 하는 가죽 제품용 장식부 부착방법.
The method of claim 1, wherein the epoxy bond, which is the adhesive 20, is applied to the intaglio portion 12 of the surface of the leather product 10 by silk screen printing prior to applying the varnish 40. How to attach a decorative part for leather goods, characterized in that.
제 1 항에 있어서, 상기 광택제(40)는 가죽 제품(10)의 상면과 동일 높이가 되도록 도포하는 것을 특징으로 하는 가죽 제품용 장식부 부착방법.
The method of claim 1, wherein the varnish (40) is applied to the same height as the upper surface of the leather product (10).
제 1 항에 있어서, 상기 광택제(40)는 전체 100중량% 중 광택제 50중량%, 신나 30중량%, 아농 20중량%의 비율로 혼합하여 제조하는 것을 특징으로 하는 가죽 제품용 장식부 부착방법.The method of claim 1, wherein the gloss (40) is prepared by mixing 50% by weight, 30% by weight thinner, and 20% by weight of anon.
KR1020110067739A 2011-07-08 2011-07-08 Ornament attachment method for leather product Active KR101233011B1 (en)

Priority Applications (1)

Application Number Priority Date Filing Date Title
KR1020110067739A KR101233011B1 (en) 2011-07-08 2011-07-08 Ornament attachment method for leather product

Applications Claiming Priority (1)

Application Number Priority Date Filing Date Title
KR1020110067739A KR101233011B1 (en) 2011-07-08 2011-07-08 Ornament attachment method for leather product

Publications (2)

Publication Number Publication Date
KR20130005983A true KR20130005983A (en) 2013-01-16
KR101233011B1 KR101233011B1 (en) 2013-02-13

Family

ID=47837159

Family Applications (1)

Application Number Title Priority Date Filing Date
KR1020110067739A Active KR101233011B1 (en) 2011-07-08 2011-07-08 Ornament attachment method for leather product

Country Status (1)

Country Link
KR (1) KR101233011B1 (en)

Cited By (2)

* Cited by examiner, † Cited by third party
Publication number Priority date Publication date Assignee Title
KR101995265B1 (en) * 2019-03-27 2019-07-02 이유한 Method for attaching a metal sticker of leather
CN112863323A (en) * 2019-11-12 2021-05-28 Ok技术株式会社 Method for attaching metal logo and badge to leather product

Families Citing this family (4)

* Cited by examiner, † Cited by third party
Publication number Priority date Publication date Assignee Title
CN106944748A (en) * 2017-05-02 2017-07-14 东莞德尔激光科技有限公司 Multifunctional automatic leather printing and cutting machine and its usage method
KR102197389B1 (en) 2019-07-05 2021-01-04 주식회사 오케이테크놀러지 Method for attaching metal logo badge for leather product
KR102132568B1 (en) 2019-12-05 2020-07-09 이원삼 The method of attaching decoration on the surface of product and the product produced using the same
KR102324093B1 (en) 2021-05-07 2021-11-11 주식회사 러쉬아이엠피 Method of attaching ornament for leather product

Family Cites Families (3)

* Cited by examiner, † Cited by third party
Publication number Priority date Publication date Assignee Title
KR100310336B1 (en) 1999-02-09 2001-10-17 박광채 printing method of a leather
KR200183695Y1 (en) * 1999-12-21 2000-06-01 선현호 A pelt having solid pattern
KR20110006274A (en) * 2009-07-14 2011-01-20 이희연 How to coat mother-of-pearl on leather or synthetic leather

Cited By (2)

* Cited by examiner, † Cited by third party
Publication number Priority date Publication date Assignee Title
KR101995265B1 (en) * 2019-03-27 2019-07-02 이유한 Method for attaching a metal sticker of leather
CN112863323A (en) * 2019-11-12 2021-05-28 Ok技术株式会社 Method for attaching metal logo and badge to leather product

Also Published As

Publication number Publication date
KR101233011B1 (en) 2013-02-13

Similar Documents

Publication Publication Date Title
KR101233011B1 (en) Ornament attachment method for leather product
US10082732B2 (en) Electronic device case and surface treatment method thereof
CN101937787A (en) Electronic product button and manufacturing process thereof
CN103331789A (en) Wooden card manufacturing technology and wooden card
KR102108370B1 (en) Production method of brand logo and label with metallic feel and texture
CN109127938A (en) A kind of tin can body production method
KR20210084920A (en) Regenerated leather with Korean paper and manufacturing method of the regenerated leather with Korean paper
KR200437583Y1 (en) Silicone Thermal Transfer Paper for Labels
KR20100015164A (en) Manufacturing method of nacre ornament and therefor and furniture therewith
KR20100008639A (en) Method for manufacturing a spangle textile and a spangle textile thereof
JP6250693B2 (en) Improved process for producing decorative elements, in particular emblems
CN201998589U (en) Color printing holographic pattern transfer film
KR100634313B1 (en) Front Hologram Plastic Card Using Hologram Foil and Manufacturing Method Thereof
KR20080081493A (en) Three-dimensional label and its manufacturing method
CN109130333A (en) A kind of paper can production method
KR20020087797A (en) Manufacture method of the ornaments meterial with hot-adhesion form using thermosetting plastic resin
KR200383639Y1 (en) Full face hologram plastic card using hologram foil
KR20070000071U (en) Urethane Thermal Transfer Paper
CN201634954U (en) Color printing holographic pattern transfer paper
KR101591663B1 (en) How the formation of the buckle and buckle
KR101325963B1 (en) Method for manufacturing nameplate of vehicle having embossed figuration by resin molding
KR100528302B1 (en) Jewel art sticker and manufacturing method thereof
CN207374853U (en) A kind of paper iron flask body
CN111063253B (en) Heat transfer trademark identification with built-in chip and manufacturing method thereof
KR100315950B1 (en) Heat-transfer paper for label made of thermosetting material and method of making the same

Legal Events

Date Code Title Description
A201 Request for examination
PA0109 Patent application

Patent event code: PA01091R01D

Comment text: Patent Application

Patent event date: 20110708

PA0201 Request for examination
E902 Notification of reason for refusal
PE0902 Notice of grounds for rejection

Comment text: Notification of reason for refusal

Patent event date: 20120905

Patent event code: PE09021S01D

E701 Decision to grant or registration of patent right
PE0701 Decision of registration

Patent event code: PE07011S01D

Comment text: Decision to Grant Registration

Patent event date: 20130111

PG1501 Laying open of application
GRNT Written decision to grant
PR0701 Registration of establishment

Comment text: Registration of Establishment

Patent event date: 20130206

Patent event code: PR07011E01D

PR1002 Payment of registration fee

Payment date: 20130206

End annual number: 3

Start annual number: 1

PG1601 Publication of registration
FPAY Annual fee payment

Payment date: 20160203

Year of fee payment: 4

PR1001 Payment of annual fee

Payment date: 20160203

Start annual number: 4

End annual number: 4

FPAY Annual fee payment

Payment date: 20190212

Year of fee payment: 7

PR1001 Payment of annual fee

Payment date: 20190212

Start annual number: 7

End annual number: 7

FPAY Annual fee payment

Payment date: 20191125

Year of fee payment: 8

PR1001 Payment of annual fee

Payment date: 20191125

Start annual number: 8

End annual number: 8

PR1001 Payment of annual fee

Payment date: 20210205

Start annual number: 9

End annual number: 9

PR1001 Payment of annual fee

Payment date: 20221130

Start annual number: 11

End annual number: 11

PR1001 Payment of annual fee

Payment date: 20241211

Start annual number: 13

End annual number: 13