KR20120139949A - 브레이크 디스크의 제조방법 - Google Patents

브레이크 디스크의 제조방법 Download PDF

Info

Publication number
KR20120139949A
KR20120139949A KR1020110059507A KR20110059507A KR20120139949A KR 20120139949 A KR20120139949 A KR 20120139949A KR 1020110059507 A KR1020110059507 A KR 1020110059507A KR 20110059507 A KR20110059507 A KR 20110059507A KR 20120139949 A KR20120139949 A KR 20120139949A
Authority
KR
South Korea
Prior art keywords
layer
brake disc
brake
oxynitride
coating
Prior art date
Legal status (The legal status is an assumption and is not a legal conclusion. Google has not performed a legal analysis and makes no representation as to the accuracy of the status listed.)
Granted
Application number
KR1020110059507A
Other languages
English (en)
Other versions
KR101288830B1 (ko
Inventor
정한우
Original Assignee
정한우
Priority date (The priority date is an assumption and is not a legal conclusion. Google has not performed a legal analysis and makes no representation as to the accuracy of the date listed.)
Filing date
Publication date
Application filed by 정한우 filed Critical 정한우
Priority to KR1020110059507A priority Critical patent/KR101288830B1/ko
Publication of KR20120139949A publication Critical patent/KR20120139949A/ko
Application granted granted Critical
Publication of KR101288830B1 publication Critical patent/KR101288830B1/ko
Expired - Fee Related legal-status Critical Current
Anticipated expiration legal-status Critical

Links

Images

Classifications

    • FMECHANICAL ENGINEERING; LIGHTING; HEATING; WEAPONS; BLASTING
    • F16ENGINEERING ELEMENTS AND UNITS; GENERAL MEASURES FOR PRODUCING AND MAINTAINING EFFECTIVE FUNCTIONING OF MACHINES OR INSTALLATIONS; THERMAL INSULATION IN GENERAL
    • F16DCOUPLINGS FOR TRANSMITTING ROTATION; CLUTCHES; BRAKES
    • F16D65/00Parts or details
    • F16D65/02Braking members; Mounting thereof
    • F16D65/12Discs; Drums for disc brakes
    • F16D65/125Discs; Drums for disc brakes characterised by the material used for the disc body
    • BPERFORMING OPERATIONS; TRANSPORTING
    • B05SPRAYING OR ATOMISING IN GENERAL; APPLYING FLUENT MATERIALS TO SURFACES, IN GENERAL
    • B05DPROCESSES FOR APPLYING FLUENT MATERIALS TO SURFACES, IN GENERAL
    • B05D7/00Processes, other than flocking, specially adapted for applying liquids or other fluent materials to particular surfaces or for applying particular liquids or other fluent materials
    • B05D7/14Processes, other than flocking, specially adapted for applying liquids or other fluent materials to particular surfaces or for applying particular liquids or other fluent materials to metal, e.g. car bodies
    • BPERFORMING OPERATIONS; TRANSPORTING
    • B22CASTING; POWDER METALLURGY
    • B22DCASTING OF METALS; CASTING OF OTHER SUBSTANCES BY THE SAME PROCESSES OR DEVICES
    • B22D25/00Special casting characterised by the nature of the product
    • B22D25/02Special casting characterised by the nature of the product by its peculiarity of shape; of works of art
    • FMECHANICAL ENGINEERING; LIGHTING; HEATING; WEAPONS; BLASTING
    • F16ENGINEERING ELEMENTS AND UNITS; GENERAL MEASURES FOR PRODUCING AND MAINTAINING EFFECTIVE FUNCTIONING OF MACHINES OR INSTALLATIONS; THERMAL INSULATION IN GENERAL
    • F16DCOUPLINGS FOR TRANSMITTING ROTATION; CLUTCHES; BRAKES
    • F16D2250/00Manufacturing; Assembly
    • F16D2250/0007Casting
    • FMECHANICAL ENGINEERING; LIGHTING; HEATING; WEAPONS; BLASTING
    • F16ENGINEERING ELEMENTS AND UNITS; GENERAL MEASURES FOR PRODUCING AND MAINTAINING EFFECTIVE FUNCTIONING OF MACHINES OR INSTALLATIONS; THERMAL INSULATION IN GENERAL
    • F16DCOUPLINGS FOR TRANSMITTING ROTATION; CLUTCHES; BRAKES
    • F16D2250/00Manufacturing; Assembly
    • F16D2250/0038Surface treatment

Landscapes

  • Engineering & Computer Science (AREA)
  • Mechanical Engineering (AREA)
  • General Engineering & Computer Science (AREA)
  • Life Sciences & Earth Sciences (AREA)
  • Wood Science & Technology (AREA)
  • Braking Arrangements (AREA)

Abstract

본 발명은 디스크 브레이크의 제조방법에 관한 것으로서, 브레이크 디스크의 제조방법에 있어서, 주강 또는 주철을 이용하여 브레이크 디스크를 주조하는 주조단계; 상기 주조단계에서 주조된 브레이크 디스크의 잔류응력을 제거하는 응력제거단계; 상기 응력제거단계를 거친 브레이크 디스크의 표면을 다듬는 가공성형단계; 상기 가공성형단계를 거친 브레이크 디스크의 표면에 산화층, 기공층, 화합물층 및 확산층을 순차적으로 적층시키는 산질화단계; 및 상기 산질화단계에 의해 적층된 브레이크 디스크의 표면에 코팅층을 도포시키는 코팅단계; 를 포함하는 것을 특징으로 한다.
이에 의하여, 산질화층 및 코팅층으로 처리된 브레이크 디스크의 표면을 연마공정하지 않음으로써 내구성 및 내식성이 형성되어 운행 중인 차량의 신속한 제동으로 차량 및 인명피해를 사전에 절감시킬 수 있다.
또한, 장시간 동안 사용이 가능하여 경제적인 비용도 절약시킬 수 있다.

Description

브레이크 디스크의 제조방법{METHOD MANUFACTURE OF A BRAKE DISK}
본 발명은 브레이크 디스크의 제조방법에 관한 것으로, 더욱 상세하게는 산질화층 및 코팅층으로 처리된 브레이크 디스크의 표면을 연마공정하지 않음으로써 내구성 및 내식성이 형성되어 운행 중인 차량의 신속한 제동으로 교통사고를 예방시킬 수 있으며, 장시간 동안 사용이 가능하여 경제적인 비용도 절약시킬 수 있는 브레이크 디스크의 제조방법에 관한 것이다.
브레이크 장치는 운행 중인 차량을 감속 또는 정지시키는 장치로, 제동에 필요한 힘을 발생시키는 제동력 발생장치, 제동력 발생장치에서 발생된 힘을 이용하여 차량을 감속 또는 정지시키는 제동장치, 제동력 발생장치의 힘을 제동장치에 전달하는 파이프류, 피스톤, 밸브류 및 보조동력을 위한 부수 장치로 이루어진다.
일반적으로, 브레이크 디스크는 운행 중인 차량을 감속 또는 정지시키는 제동장치이다.
이러한 브레이크 디스크는 표면에 산질화 및 연마를 순차적으로 처리하게 된다.
그러나, 종래에는 브레이크 디스크의 표면이 연마 공정됨으로 표면에 형성된 산질화층이 제거되어 제동성능이 저하될 수 있다는 문제점이 있다.
또한, 제동성능의 저하로 인하여 교통사고가 유발될 수도 있다는 문제점도 있다.
따라서, 본 발명의 목적은 산질화층 및 코팅층으로 처리된 브레이크 디스크의 표면을 연마공정하지 않음으로써 내구성 및 내식성이 형성되어 운행 중인 차량의 신속한 제동으로 교통사고를 예방시킬 수 있으며, 장시간 동안 사용이 가능하여 경제적인 비용도 절약시킬 수 있는 브레이크 디스크의 제조방법에 관한 것이다.
상기 목적은, 본 발명에 따라, 브레이크 디스크의 제조방법에 있어서, 주강 또는 주철을 이용하여 브레이크 디스크를 주조하는 주조단계; 상기 주조단계에서 주조된 브레이크 디스크의 잔류응력을 제거하는 응력제거단계; 상기 응력제거단계를 거친 브레이크 디스크의 표면을 다듬는 가공성형단계; 상기 가공성형단계를 거친 브레이크 디스크의 표면에 산화층, 기공층, 화합물층 및 확산층을 순차적으로 적층시키는 산질화단계; 및 상기 산질화단계에 의해 적층된 브레이크 디스크의 표면에 코팅층을 도포시키는 코팅단계; 를 포함하는 것을 특징으로 하는 브레이크 디스크의 제조방법에 의하여 달성된다.
여기서, 상기 응력제거단계는 산질화 처리 온도인 580~600℃ 이상에서 3시간 이상 동안 잔류응력을 제거하는 단계인 것이 바람직하다.
상기 산질화단계는: 질화로 내부에 브레이크 디스크를 장입하고, 질화로 내부에 암모니아(NH3)를 주입하면서 내부온도가 550~600℃될 때까지 90~150분 승온시키는 승온단계; 상기 승온단계의 최종온도를 유지하면서 암모니아(NH3) 65~75부피%, 질소(N₂) 15~25부피%, 아산화질소(N2O) 4~10부피% 및 탄산가스(C02) 1~5부피%인 혼합가스를 질화로 내부에 투입시켜 120~210분 가열하는 산화층, 기공층, 화합물층 및 확산층이 동시에 적층되는 질화단계; 상기 질화단계 이후에 상기 질소(N2)를 질화로 내부에 투입시켜 혼합가스를 외부로 배출시키는 퍼징단계; 및 상기 퍼징단계 이후에 550~570℃의 외부온도에서 상기 브레이크 디스크를 수증기 처리하여 산화막의 접착력을 강화시는 접착강화단계; 를 포함하는 것이 바람직하다.
그리고, 상기 코팅단계는 브레이크 디스크의 표면에 코팅층을 도포하여 50~200℃의 온도로 5~40분 동안 가열하는 단계를 포함하는 것이 바람직하다.
본 발명에 따르면, 산질화층 및 코팅층으로 처리된 브레이크 디스크의 표면을 연마공정하지 않음으로써 내구성 및 내식성이 형성되어 운행 중인 차량의 신속한 제동으로 교통사고를 사전에 예방시킬 수 있다.
또한, 장시간 동안 사용이 가능하여 경제적인 비용도 절약시킬 수 있다.
도 1은 본 발명의 일실시예에 따른 브레이크 디스크의 제조방법을 나타내는 공정도,
도 2는 본 발명의 일실시예에 따른 브레이크 디스크의 제조방법 중 산질화단계를 나타내는 공정도,
도 3은 본 발명의 일실시예에 따른 브레이크 디스크의 표면에 캘리퍼가 장착된 상태를 나타내는 사시도,
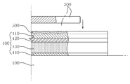
도 4는 본 발명의 일실시예에 따른 브레이크 디스크에 산질화층 및 코팅층이 형성된 표면에 제동패드가 밀착되는 상태를 나타내는 확대 단면도이다.
이하에서는 첨부된 도면을 참고하여 본 발명에 대해 상세히 설명한다.
본 발명의 일실시예에 따른 브레이크 디스크의 제조방법은, 도 1 및 도 2에 도시된 바와 같이, 운행 중인 차량을 감속 또는 정지시키는 브레이크 디스크를 제조하는 방법으로서, 도 3 및 도 4에 도시된 바와 같이, 브레이크 디스크의 표면에 적층된 산질화층 및 코팅층에 브레이크 디스크에 장착된 패드가 밀착된다.
브레이크 디스크의 제조방법은, 도 1에 도시된 바와 같이, 주조단계(S100), 응력제거단계(S200), 가공성형단계(S300), 산질화단계(S400) 및 코팅단계(S500)를 포함한다.
주조단계(S100)는 주강 또는 주철을 이용하여 브레이크 디스크(100)를 주조하는 단계이다.
주조는 주강 또는 주철 등의 금속을 높은 온도로 가하게 되면 용해되어 용탕이라고 불리는 액체로 바뀌게 되며, 미리 준비한 브레이크 디스크 형상의 주형틀에 용탕을 흘려 넣은 후 냉각시키면 필요한 브레이크 디스크(100)가 형성된다.
응력제거단계(S200)는 주조단계(S100)에서 주조된 브레이크 디스크(100)의 잔류응력을 제거하는 단계이다.
응력을 제거하는 이유는 주조단계(S100)를 거친 브레이크 디스크(100)에 잔류응력이 잔존해 있는 상태에서 아래에서 설명하게 되는 산질화단계(S400)까지 거치게 되면 브레이크 디스크(100)가 변형될 수 있다.
이에 따라, 변형된 브레이크 디스크(100)는 떨림과 균열이 발생되어 운행 중인 차량과 운전자에게 치명적인 피해를 가하게 된다.
따라서, 브레이크 디스크(100)는 잔존해 있는 잔류응력을 제거함으로써 차량을 포함하는 차량에 탑승한 사람들의 안전을 보장시킬 수 있다.
응력제거단계(S200)는 잔류응력을 제거하기 위해 산질화 처리 온도인 580~600℃이상에서 3시간 이상동안 공정을 하게 된다.
가공성형단계(S300)는 응력제거단계(S200)를 거친 브레이크 디스크(100)의 표면을 다듬는 단계이다.
구체적으로 살펴보면, 주조된 브레이크 디스크(100)의 외부로 돌출형성된 부위를 다듬어 제품화시키게 된다.
산질화단계(S400)는 가공성형단계(S300)를 거친 브레이크 디스크(100)의 표면에 산화층(410), 기공층(420), 화합물층(430) 및 확산층(440)으로 이루어진 산질화층(400)이 순차적으로 적층되는 단계이다.
산질화층(400)은 내식성, 윤활성, 내마모성 및 장식성이 우수한 장점을 가지고 있음으로 고가의 코팅원료를 대체할 수 있다.
산질화층(400)의 구성요소인 기공층(420)은 복수로 형성된 기공으로 인해 냉각효율이 향상되어 신속한 냉각으로 열이 외부로 발산되어 제동거리를 단축시키며, 브레이크 디스크(100)의 제동장치 오작동을 차단할 수 있을 뿐만 아니라 내구성으로 인해 연비가 향상된다.
산질화단계(S400)는, 도 2에 도시된 바와 같이, 승온단계(S410), 질화단계(S420), 퍼징단계(S430) 및 접착강화단계(S440)를 포함한다.
승온단계(S410)는 질화로 내부에 브레이크 디스크(100)를 장입하고, 질화로 내부에 암모니아(NH3)를 주입시키면서 내부온도가 550~600℃될 때까지 90~150분 승온시키는 단계이다.
질화단계(S420)는 승온단계(S410)의 최종온도를 유지하면서 암모니아(NH3)65~75부피%, 질소(N2)15~25부피%, 아산화질소(N2O)4~10부피% 및 탄산가스(CO2)1~5부피%인 혼합가스를 질화로 내부에 투입시켜 120~210분 가열을 통해 산질화층(400)인 산화층(410), 기공층(420), 화합물층(430) 및 확산층(440)이 동시에 적층되는 단계이다.
퍼징단계(S430)는 질화단계(S420) 이후에 질소(N2)를 질화로 내부에 투입시켜 혼합가스를 외부로 배출시키는 단계이다.
접착강화단계(S440)는 퍼징단계(S430) 이후에 550~570℃의 외부온도에서 브레이크 디스크(100)를 수증기 처리하여 산화막의 접착력을 강화시키는 단계이다.
브레이크 디스크(100)는 산질화단계(S400)를 거치게 되면 브레이크 디스크(100)의 표면에 1~3μm의 산화층(410), 1~5μm의 기공층(420), 5~20μm의 화합물층(430) 및 0.1~0.5mm의 확산층(440)이 형성된다.
코팅단계(S500)는 산질화단계(S400)에 의해 형성된 브레이크 디스크(100)의 표면에 코팅층(500)을 더 도포시키는 단계이다.
코팅단계(S500)의 코팅층(500)은 아연(Zn)성분을 포함하는 것으로, 아연은 질이 무르고 광택이 나는 청색을 띤 흰색의 금속 원소로 습기가 닿으면 표면에 얇은 막을 만들어 내부를 보호한다.
본 실시예에서, 코팅층(500)은 아연으로 이루어졌으나, 본 발명이 이에 한정되는 것은 아니다.
브레이크 디스크(100)는 표면에 아연이 코팅처리됨으로 습기로부터 부식되지 않는 내식성이 형성되며, 광택으로 인해 브레이크 디스크(100)의 외관상 미려함을 주는 장점이 있다.
코팅단계(S500)는 브레이크 디스크(100)의 표면에 코팅층(500)을 도포하여 50~200℃의 온도로 5~40분 동안 가열하는 단계를 포함한다.
한편, 도 3에 도시된 바와 같이, 여러 제조단계를 거쳐 완성된 원형 형상의 브레이크 디스크(100)는 표면에 캘리퍼(200)가 장착된다.
구체적으로 살펴보면, 브레이크 디스크(100)는 감속 또는 정지시키는 역할을 하는 캘리퍼(200)에 형성된 공간에 브레이크 디스크(100)의 일단부가 개재된다.
유선형으로 형성된 캘리퍼(200)는 내부에 한 쌍의 제동패드(300)가 구비되는 것으로, 바퀴와 함께 회전되는 브레이크 디스크(100)를 유압으로부터 작동되는 한 쌍의 제동패드(300)가 브레이크 디스크(100)의 표면에 밀착된다.
브레이크 디스크(100)는 표면에 밀착된 제동패드(300)로부터 발생되는 마찰력으로 인해 브레이크 디스크(100)가 제동된다.
제동패드(300)는, 도 4에 도시된 바와 같이, 브레이크 디스크(100)의 표면에 적층된 산질화층(400) 및 코팅층(500)에 한 쌍의 제동패드(300)가 동시에 밀착되어 제동된다.
구체적으로 살펴보면, 산화층(410), 기공층(420), 화합물층(430) 및 확산층(440)으로 이루어진 산질화층(400)과 코팅층(500)이 순차적으로 적층된 브레이크 디스크(100)의 표면에 소정간격으로 제동패드(300)가 이격된다.
이격된 제동패드(300)는 공급되는 유압을 통해 작동되어 브레이크 디스크(100)의 표면에 밀착됨으로써 발생되는 마찰력으로 인해 브레이크 디스크(100)가 감속 또는 정지시킨다.
다시 운행할 경우에는 제동패드(300)에 공급되는 유압을 해제시키면 브레이크 디스크(100)의 표면으로부터 제동패드(300)가 이탈되어 원래의 위치로 되돌아간다.
이러한 구성을 가지는 본 발명의 따른 브레이크 디스크의 제조방법의 사용상태 및 작동상태에 관하여 설명하면 다음과 같다.
우선, 도 1 내지 도 2에 도시된 바와 같이, 주조단계(S100)에서 주강 또는 주철을 이용하여 브레이크 디스크(100)를 주조하게 된다.
주조된 브레이크 디스크(100)는 주조단계(S100)에서 형성된 잔류응력을 응력제거단계(S200)인 산질화 처리 온도인 580~600℃ 이상에서 3시간 동안 공정을 함으로써 브레이크 디스크(100)에 잔존해 있는 잔류응력이 제거된다.
이후, 브레이크 디스크(100)는 표면을 다듬게 되는 가공성형단계(S300)로 전달되며, 가공성형단계(S300)를 거친 브레이크 디스크(100)는 산질화단계(S400)를 통해 산화층(410), 기공층(420), 화합물층(430) 및 확산층(440)이 순차적으로 적층된다.
구체적으로 살펴보면, 질화로 내부에는 브레이크 디스크(100)가 장입된 상태에서 암모니아(NH3)를 주입하여 질화로 내부온도가 550~600℃될 때까지 90~150분 동안 승온시키는 승온단계(S410)를 거쳐 산화층(410), 기공층(420), 화합물층(430) 및 확산층(440)이 동시에 적층되는 질화단계(S420)로 이어진다.
질화단계(S420)는 브레이크 디스크(100)가 장입된 질화로 내부에 암모니아(NH3) 65~75부피%, 질소(N₂) 15~25부피%, 아산화질소(N2O) 4~10부피% 및 탄산가스(C02) 1~5부피%인 혼합가스를 투입시킨 상태에서 120~210분 동안 가열한다.
이와 함께, 질화로 내부에는 투입된 혼합가스를 외부로 배출되도록 질소(N2)를 투입시키는 퍼징단계(S430)로 이어진다.
퍼징단계(S430)는 550~570℃의 외부온도에서 브레이크 디스크(100)를 수증기로 냉각시켜 산화막의 접착력을 강화시키는 접착강화단계(S440)로 이어진다.
산질화단계(S400)를 거친 브레이크 디스크(100)는 표면에 아연성분을 포함한 코팅층(500)이 더 도포되는 코팅단계(S500)를 끝으로 브레이크 디스크(100)가 완성된다.
위와 같이 제조방법을 거쳐 완성된 브레이크 디스크(100)는 도 3에 도시된 바와 같이, 브레이크 디스크(100)는 일단부가 캘리퍼(200)에 형성된 공간에 개재된다.
이를 통해 브레이크 디스크(100)는 캘리퍼(200)의 내부에 구비된 한 쌍의 제동패드(300)와 밀착하게 된다.
제동패드(300)는, 도 4에 도시된 바와 같이, 산질화층(400) 및 코팅층(500)이 순차적으로 적층된 브레이크 디스크(100)의 표면으로부터 소정간격으로 제동패드(300)가 이격된다.
운행 중일 때의 제동패드(300)는 브레이크 디스크(100)의 표면에 이격된 상태로 유지되며, 감속 또는 정지가 필요할 때에는 제동패드(300)에 유압이 공급되어 브레이크 디스크(100)의 표면에 제동패드(300)가 밀착됨으로써 발생되는 마찰력으로 인해 운행 중인 차량이 감속 또는 정지된다.
이는 산질화층(400)의 구성요소 중 하나인 기공층(420)이 브레이크 디스크(100)의 표면에 1~5μm로 적층되어 있어 이로 인해, 제동성능이 우수하여 차량의 감속 또는 정지 성능 또한 우수하다.
다시 운행할 경우에는 제동패드(300)에 공급되는 유압을 해제시키면 브레이크 디스크(100)의 표면으로부터 제동패드(300)가 이탈되는 원래의 위치로 되돌아간다.
이에, 본 발명에 따르면, 산질화층 및 코팅층으로 처리된 브레이크 디스크의 표면을 연마공정하지 않음으로써 내구성 및 내식성이 형성되어 운행 중인 차량의 신속한 제동으로 교통사고를 사전에 예방시킬 수 있다.
100 : 브레이크 디스크 200 : 캘리퍼
300 : 제동패드 400 : 산질화층
410 : 산화층 420 : 기공층
430 : 화합물층 440 : 확산층
500 : 코팅층

Claims (4)

  1. 브레이크 디스크의 제조방법에 있어서,
    주강 또는 주철을 이용하여 브레이크 디스크를 주조하는 주조단계;
    상기 주조단계에서 주조된 브레이크 디스크의 잔류응력을 제거하는 응력제거단계;
    상기 응력제거단계를 거친 브레이크 디스크의 표면을 다듬는 가공성형단계;
    상기 가공성형단계를 거친 브레이크 디스크의 표면에 산화층, 기공층, 화합물층 및 확산층을 순차적으로 적층시키는 산질화단계; 및
    상기 산질화단계에 의해 적층된 브레이크 디스크의 표면에 코팅층을 도포시키는 코팅단계; 를 포함하는 것을 특징으로 하는 브레이크 디스크의 제조방법.
  2. 제 1 항에 있어서,
    상기 응력제거단계는 산질화 처리 온도인 580~600℃ 이상에서 3시간 이상 동안 잔류응력을 제거하는 단계인 것을 특징으로 하는 브레이크 디스크의 제조방법.
  3. 제 1 항에 있어서,
    상기 산질화단계는:
    질화로 내부에 브레이크 디스크를 장입하고, 질화로 내부에 암모니아(NH3)를 주입하면서 내부온도가 550~600℃될 때까지 90~150분 승온시키는 승온단계;
    상기 승온단계의 최종온도를 유지하면서 암모니아(NH3) 65~75부피%, 질소(N₂) 15~25부피%, 아산화질소(N2O) 4~10부피% 및 탄산가스(C02) 1~5부피%인 혼합가스를 질화로 내부에 투입시켜 120~210분 가열하는 산화층, 기공층, 화합물층 및 확산층이 동시에 적층되는 질화단계;
    상기 질화단계 이후에 상기 질소(N2)를 질화로 내부에 투입시켜 혼합가스를 외부로 배출시키는 퍼징단계; 및
    상기 퍼징단계 이후에 550~570℃의 외부온도에서 상기 브레이크 디스크를 수증기 처리하여 산화막의 접착력을 강화시는 접착강화단계; 를 포함하는 것을 특징으로 하는 브레이크 디스크의 제조방법.
  4. 제 1 항에 있어서,
    상기 코팅단계는 브레이크 디스크의 표면에 코팅층을 도포하여 50~200℃의 온도로 5~40분 동안 가열하는 단계를 포함하는 것을 특징으로 하는 브레이크 디스크의 제조방법.
KR1020110059507A 2011-06-20 2011-06-20 브레이크 디스크의 제조방법 Expired - Fee Related KR101288830B1 (ko)

Priority Applications (1)

Application Number Priority Date Filing Date Title
KR1020110059507A KR101288830B1 (ko) 2011-06-20 2011-06-20 브레이크 디스크의 제조방법

Applications Claiming Priority (1)

Application Number Priority Date Filing Date Title
KR1020110059507A KR101288830B1 (ko) 2011-06-20 2011-06-20 브레이크 디스크의 제조방법

Publications (2)

Publication Number Publication Date
KR20120139949A true KR20120139949A (ko) 2012-12-28
KR101288830B1 KR101288830B1 (ko) 2013-07-23

Family

ID=47906127

Family Applications (1)

Application Number Title Priority Date Filing Date
KR1020110059507A Expired - Fee Related KR101288830B1 (ko) 2011-06-20 2011-06-20 브레이크 디스크의 제조방법

Country Status (1)

Country Link
KR (1) KR101288830B1 (ko)

Cited By (4)

* Cited by examiner, † Cited by third party
Publication number Priority date Publication date Assignee Title
KR20180128535A (ko) * 2017-05-23 2018-12-04 현대자동차주식회사 이종재질 브레이크 디스크 제조방법 및 이를 이용하여 제조된 이종재질 브레이크 디스크
KR20190070741A (ko) * 2017-12-13 2019-06-21 현대자동차주식회사 브레이크 디스크 및 그 제조방법
KR20220135862A (ko) * 2021-03-31 2022-10-07 주식회사 세명테크 브레이크 디스크의 산질화 처리 방법
KR20240086467A (ko) * 2022-12-09 2024-06-18 (주)카템 철도 차량용 브레이크 디스크 제조 방법

Families Citing this family (1)

* Cited by examiner, † Cited by third party
Publication number Priority date Publication date Assignee Title
KR102657327B1 (ko) 2018-12-11 2024-04-12 현대자동차주식회사 탈탄층 및 질화층을 포함하는 브레이크 디스크 및 이의 제조방법

Family Cites Families (4)

* Cited by examiner, † Cited by third party
Publication number Priority date Publication date Assignee Title
JP2000337410A (ja) * 1998-06-30 2000-12-05 Tokico Ltd ディスクブレーキ用ロータ
JP2007162779A (ja) 2005-12-12 2007-06-28 Akebono Brake Ind Co Ltd ブレーキ用ディスクロータ
KR20090038952A (ko) * 2007-10-17 2009-04-22 정익수 스테인리스 대체용 강부품의 제조방법
KR100924275B1 (ko) * 2008-10-21 2009-10-30 고건우 브레이크 디스크의 제조방법

Cited By (5)

* Cited by examiner, † Cited by third party
Publication number Priority date Publication date Assignee Title
KR20180128535A (ko) * 2017-05-23 2018-12-04 현대자동차주식회사 이종재질 브레이크 디스크 제조방법 및 이를 이용하여 제조된 이종재질 브레이크 디스크
KR20190070741A (ko) * 2017-12-13 2019-06-21 현대자동차주식회사 브레이크 디스크 및 그 제조방법
KR20220135862A (ko) * 2021-03-31 2022-10-07 주식회사 세명테크 브레이크 디스크의 산질화 처리 방법
KR20230066302A (ko) * 2021-03-31 2023-05-15 주식회사 세명테크 산질화 처리된 브레이크 디스크
KR20240086467A (ko) * 2022-12-09 2024-06-18 (주)카템 철도 차량용 브레이크 디스크 제조 방법

Also Published As

Publication number Publication date
KR101288830B1 (ko) 2013-07-23

Similar Documents

Publication Publication Date Title
KR101288830B1 (ko) 브레이크 디스크의 제조방법
CN103573874B (zh) 一种制动鼓的制造方法以及一种制动鼓
US11338360B2 (en) Device and method for forming a metal matrix composite vehicle component
JP6204447B2 (ja) 自動車ブレーキディスクの製造方法
EP2716789A1 (en) Backing plate for disk brake pad, and disk brake pad utilizing backing plate
KR101814586B1 (ko) 모노블럭 브레이크 캘리퍼 및 이의 제조방법
KR20110043849A (ko) 차량용 디스크 브레이크
KR100924275B1 (ko) 브레이크 디스크의 제조방법
CN103963758A (zh) 具有优化的再拉紧方法的自动的驻车制动器
KR101927856B1 (ko) 알루미늄 재질로 이루어지는 일체형 구조의 캘리퍼 하우징 제조 방법
CN107989934A (zh) 加强散热型刹车片
JP2000337410A (ja) ディスクブレーキ用ロータ
KR102324761B1 (ko) 이종재질 브레이크 디스크 제조방법 및 이를 이용하여 제조된 이종재질 브레이크 디스크
CN102744689A (zh) 高强度铸铁基cbn砂轮及其制备方法
JP4595229B2 (ja) ディスクブレーキパッド及びその製造方法
KR101358443B1 (ko) 자동차의 브레이크 디스크 열처리 장치와 열처리 방법 및 이에 의해 제작된 자동차의 브레이크 디스크
KR20180129135A (ko) 가스연질화 열처리 방법 및 이를 이용한 브레이크 디스크 제조방법
AU2020100057A4 (en) Cast iron and ceramic composite disc brake
CN105705274B (zh) 将由轻金属熔液铸造的铸件从铸模中脱模的方法
CN202484149U (zh) 防脱落高耐磨刹车片
KR20100008408A (ko) 브레이크의 캐리어 주조용 중자 및 이 중자를 이용한캐리어의 주조방법
KR20100120568A (ko) 철도차량용 제동 마찰재의 냉각 장치
KR102610975B1 (ko) Abs 솔레노이드 밸브시트의 제조방법
KR101900367B1 (ko) 모노블럭 브레이크 캘리퍼 및 이의 제조방법
JP2013063451A (ja) 冷却を制御する鋳造方法

Legal Events

Date Code Title Description
A201 Request for examination
PA0109 Patent application

St.27 status event code: A-0-1-A10-A12-nap-PA0109

PA0201 Request for examination

St.27 status event code: A-1-2-D10-D11-exm-PA0201

D13-X000 Search requested

St.27 status event code: A-1-2-D10-D13-srh-X000

D14-X000 Search report completed

St.27 status event code: A-1-2-D10-D14-srh-X000

E902 Notification of reason for refusal
PE0902 Notice of grounds for rejection

St.27 status event code: A-1-2-D10-D21-exm-PE0902

PG1501 Laying open of application

St.27 status event code: A-1-1-Q10-Q12-nap-PG1501

T11-X000 Administrative time limit extension requested

St.27 status event code: U-3-3-T10-T11-oth-X000

E13-X000 Pre-grant limitation requested

St.27 status event code: A-2-3-E10-E13-lim-X000

P11-X000 Amendment of application requested

St.27 status event code: A-2-2-P10-P11-nap-X000

P13-X000 Application amended

St.27 status event code: A-2-2-P10-P13-nap-X000

E701 Decision to grant or registration of patent right
PE0701 Decision of registration

St.27 status event code: A-1-2-D10-D22-exm-PE0701

GRNT Written decision to grant
PR0701 Registration of establishment

St.27 status event code: A-2-4-F10-F11-exm-PR0701

PR1002 Payment of registration fee

St.27 status event code: A-2-2-U10-U11-oth-PR1002

Fee payment year number: 1

PG1601 Publication of registration

St.27 status event code: A-4-4-Q10-Q13-nap-PG1601

PN2301 Change of applicant

St.27 status event code: A-5-5-R10-R11-asn-PN2301

PN2301 Change of applicant

St.27 status event code: A-5-5-R10-R14-asn-PN2301

P14-X000 Amendment of ip right document requested

St.27 status event code: A-5-5-P10-P14-nap-X000

P16-X000 Ip right document amended

St.27 status event code: A-5-5-P10-P16-nap-X000

Q16-X000 A copy of ip right certificate issued

St.27 status event code: A-4-4-Q10-Q16-nap-X000

FPAY Annual fee payment

Payment date: 20160718

Year of fee payment: 4

PR1001 Payment of annual fee

St.27 status event code: A-4-4-U10-U11-oth-PR1001

Fee payment year number: 4

P22-X000 Classification modified

St.27 status event code: A-4-4-P10-P22-nap-X000

FPAY Annual fee payment

Payment date: 20170612

Year of fee payment: 5

PR1001 Payment of annual fee

St.27 status event code: A-4-4-U10-U11-oth-PR1001

Fee payment year number: 5

LAPS Lapse due to unpaid annual fee
PC1903 Unpaid annual fee

St.27 status event code: A-4-4-U10-U13-oth-PC1903

Not in force date: 20180718

Payment event data comment text: Termination Category : DEFAULT_OF_REGISTRATION_FEE

P22-X000 Classification modified

St.27 status event code: A-4-4-P10-P22-nap-X000

PC1903 Unpaid annual fee

St.27 status event code: N-4-6-H10-H13-oth-PC1903

Ip right cessation event data comment text: Termination Category : DEFAULT_OF_REGISTRATION_FEE

Not in force date: 20180718