KR20120126573A - Soil cement wall structure and method for constructing thereof - Google Patents

Soil cement wall structure and method for constructing thereof Download PDF

Info

Publication number
KR20120126573A
KR20120126573A KR1020110044464A KR20110044464A KR20120126573A KR 20120126573 A KR20120126573 A KR 20120126573A KR 1020110044464 A KR1020110044464 A KR 1020110044464A KR 20110044464 A KR20110044464 A KR 20110044464A KR 20120126573 A KR20120126573 A KR 20120126573A
Authority
KR
South Korea
Prior art keywords
wall
pile
soil
cement
layer
Prior art date
Legal status (The legal status is an assumption and is not a legal conclusion. Google has not performed a legal analysis and makes no representation as to the accuracy of the status listed.)
Granted
Application number
KR1020110044464A
Other languages
Korean (ko)
Other versions
KR101324231B1 (en
Inventor
이덕만
Original Assignee
이덕만
Priority date (The priority date is an assumption and is not a legal conclusion. Google has not performed a legal analysis and makes no representation as to the accuracy of the date listed.)
Filing date
Publication date
Application filed by 이덕만 filed Critical 이덕만
Priority to KR1020110044464A priority Critical patent/KR101324231B1/en
Publication of KR20120126573A publication Critical patent/KR20120126573A/en
Application granted granted Critical
Publication of KR101324231B1 publication Critical patent/KR101324231B1/en
Expired - Fee Related legal-status Critical Current
Anticipated expiration legal-status Critical

Links

Images

Classifications

    • EFIXED CONSTRUCTIONS
    • E02HYDRAULIC ENGINEERING; FOUNDATIONS; SOIL SHIFTING
    • E02DFOUNDATIONS; EXCAVATIONS; EMBANKMENTS; UNDERGROUND OR UNDERWATER STRUCTURES
    • E02D17/00Excavations; Bordering of excavations; Making embankments
    • E02D17/02Foundation pits
    • E02D17/04Bordering surfacing or stiffening the sides of foundation pits
    • EFIXED CONSTRUCTIONS
    • E02HYDRAULIC ENGINEERING; FOUNDATIONS; SOIL SHIFTING
    • E02DFOUNDATIONS; EXCAVATIONS; EMBANKMENTS; UNDERGROUND OR UNDERWATER STRUCTURES
    • E02D17/00Excavations; Bordering of excavations; Making embankments
    • E02D17/06Foundation trenches ditches or narrow shafts
    • E02D17/08Bordering or stiffening the sides of ditches trenches or narrow shafts for foundations
    • EFIXED CONSTRUCTIONS
    • E02HYDRAULIC ENGINEERING; FOUNDATIONS; SOIL SHIFTING
    • E02DFOUNDATIONS; EXCAVATIONS; EMBANKMENTS; UNDERGROUND OR UNDERWATER STRUCTURES
    • E02D29/00Independent underground or underwater structures; Retaining walls
    • E02D29/045Underground structures, e.g. tunnels or galleries, built in the open air or by methods involving disturbance of the ground surface all along the location line; Methods of making them
    • EFIXED CONSTRUCTIONS
    • E02HYDRAULIC ENGINEERING; FOUNDATIONS; SOIL SHIFTING
    • E02DFOUNDATIONS; EXCAVATIONS; EMBANKMENTS; UNDERGROUND OR UNDERWATER STRUCTURES
    • E02D3/00Improving or preserving soil or rock, e.g. preserving permafrost soil
    • E02D3/12Consolidating by placing solidifying or pore-filling substances in the soil
    • EFIXED CONSTRUCTIONS
    • E02HYDRAULIC ENGINEERING; FOUNDATIONS; SOIL SHIFTING
    • E02DFOUNDATIONS; EXCAVATIONS; EMBANKMENTS; UNDERGROUND OR UNDERWATER STRUCTURES
    • E02D5/00Bulkheads, piles, or other structural elements specially adapted to foundation engineering
    • E02D5/22Piles
    • E02D5/34Concrete or concrete-like piles cast in position ; Apparatus for making same
    • EFIXED CONSTRUCTIONS
    • E02HYDRAULIC ENGINEERING; FOUNDATIONS; SOIL SHIFTING
    • E02DFOUNDATIONS; EXCAVATIONS; EMBANKMENTS; UNDERGROUND OR UNDERWATER STRUCTURES
    • E02D2220/00Temporary installations or constructions
    • EFIXED CONSTRUCTIONS
    • E02HYDRAULIC ENGINEERING; FOUNDATIONS; SOIL SHIFTING
    • E02DFOUNDATIONS; EXCAVATIONS; EMBANKMENTS; UNDERGROUND OR UNDERWATER STRUCTURES
    • E02D2250/00Production methods
    • E02D2250/0023Cast, i.e. in situ or in a mold or other formwork
    • EFIXED CONSTRUCTIONS
    • E02HYDRAULIC ENGINEERING; FOUNDATIONS; SOIL SHIFTING
    • E02DFOUNDATIONS; EXCAVATIONS; EMBANKMENTS; UNDERGROUND OR UNDERWATER STRUCTURES
    • E02D2250/00Production methods
    • E02D2250/0038Production methods using an auger, i.e. continuous flight type

Landscapes

  • Engineering & Computer Science (AREA)
  • Structural Engineering (AREA)
  • Mining & Mineral Resources (AREA)
  • Life Sciences & Earth Sciences (AREA)
  • General Life Sciences & Earth Sciences (AREA)
  • Paleontology (AREA)
  • Civil Engineering (AREA)
  • General Engineering & Computer Science (AREA)
  • Environmental & Geological Engineering (AREA)
  • Agronomy & Crop Science (AREA)
  • Soil Sciences (AREA)
  • Bulkheads Adapted To Foundation Construction (AREA)

Abstract

본 발명은, 복수의 층으로 이루어지는 지반에 토사층을 교란시킨 후 시멘트 모르타르를 주입해서 형성된 소일 시멘트벽인 연속벽체와; 상기 연속벽체의 일측에서 지반에 근입되는 H파일과; 굴착에 의해 노출되는 상기 H파일의 일측에 마련되는 토류판으로 이루어지는 벽을 포함하여 구성되는 소일 시멘트벽 가시설 구조를 제공한다.
또한, 본 발명은, 토사층과, 풍화암층, 및 암반층을 포함하여 구성되는 지반에 시멘트 모르타르를 주입해서 형성되는 소일 시멘트벽인 연속벽체와; 상기 연속벽체의 일측에서 지반에 근입되는 복수의 H파일과; 굴착에 의해 노출되는 상기 H파일의 일측에 마련되는 토류판으로 이루어지는 벽과; 상기 H파일의 일측에 마련되는 숏크리트 차수 및 보강벽을 포함하여 구성되는 것을 특징으로 하는 소일 시멘트벽 가시설 구조를 제공한다.
The present invention provides a continuous wall which is a small cement wall formed by disturbing the soil layer on a ground composed of a plurality of layers and then injecting cement mortar; H-filed on the ground from one side of the continuous wall; It provides a soil cement wall temporary structure comprising a wall made of a earth plate provided on one side of the H-pile exposed by excavation.
In addition, the present invention is a continuous wall which is a small cement wall formed by injecting cement mortar into a ground composed of a soil layer, a weathered rock layer, and a rock layer; A plurality of H piles which are embedded in the ground from one side of the continuous wall; A wall made of an earth plate provided on one side of the H pile exposed by the excavation; Soil cement wall provisional structure is characterized in that it comprises a shotcrete order and a reinforcement wall provided on one side of the H pile.

Description

소일 시멘트벽 가시설 구조 및 이의 시공 방법{SOIL CEMENT WALL STRUCTURE AND METHOD FOR CONSTRUCTING THEREOF}SOIL CEMENT WALL STRUCTURE AND METHOD FOR CONSTRUCTING THEREOF}

본 발명은 소일 시멘트벽 가시설 구조 및 시공 방법에 관한 것으로, 특히 연속벽체와, 이 연속벽체의 전방면에 설치되는 H파일, 토류판으로 이루어지는 벽과, 숏크리트 차수 및 보강벽의 조합으로 구성될 수 있는 소일 시멘트벽 가시설 구조에 있어서, 각 층의 경계에서 발생될 수 있는 (예를 들어, 토사층과 풍화암층 간의 경계에서 발생될 수 있는) 붕괴 및 누수를 방지할 수 있도록 된 소일 시멘트벽 가시설 구조 및 이의 시공 방법에 관한 것이다. The present invention relates to a structure and a construction method of a small cement wall, and in particular, a continuous wall, an H-pile, a earth plate, and a shotcrete, and a reinforcement wall, which are installed on the front surface of the continuous wall. Soil Cement Wall Temporary Structures Soil Cement Wall Temporary Structures and constructions that are capable of preventing collapse and leakage that may occur at the boundary of each layer (eg, at the boundary between soil layer and weathered rock) It is about a method.

구체적으로는, 토사층에서의 누수현상에 따른 토사층과 풍화암층 간의 경계에서의 누수 및 이에 따른 붕괴를 방지하도록 된 소일 시멘트벽 가시설 구조 및 이의 시공 방법에 관한 것이다. Specifically, the present invention relates to a soil cement wall temporary structure and a construction method thereof to prevent leakage at the boundary between the soil layer and the weathered rock layer due to the water leakage phenomenon and the collapse thereof.

또한, 종래의 가시설 구조 시공시 발생되었던 소음을 감소시키도록 된 소일 시멘트벽 구조 및 이의 시공 방법에 관한 것이다.
In addition, the present invention relates to a soil cement wall structure and a construction method thereof to reduce noise generated during construction of a conventional temporary structure.

일반적으로, 건설현장에서 건물의 기초, 교량의 기초, 지하철, 지하차도, 지하실 또는 콘크리트 벽체를 축조하기 위하여, 해당 지반을 굴토 후 토압에 의한 굴토면의 붕괴 및 물의 침투 방지를 위한 흙막이벽 공사를 시행하고 있다. In general, in order to construct a foundation of a building, a bridge, a subway, an underground roadway, a basement or a concrete wall at a construction site, after the ground is excavated, the earthquake wall construction is performed to prevent the collapse of the excavated surface by the earth pressure and the penetration of water. It is implemented.

이러한 흙막이 시공 방법 중에서 시트파일과 함께 H파일 및 벽체의 조합으로 구성된 공법으로 직접 항타 시공이 불가능한 암반층에서도 계획된 공사기간 내에 시공을 수행할 수 있도록 개발된 복합형 강가시설(composite type steel temporary construction) 및 그 시공 방법이 개발되고 있다.Among these construction methods, composite type steel temporary construction was developed to perform construction within the planned construction period even in rock layers where direct pile construction is impossible. The construction method is developed.

도 1a 내지 도 1d는 종래의 기술에 따른 복합형 강가시설을 이용한 흙막이벽의 시공 방법을 순차적으로 도시한 사시도이다. 여기서, 상기 흙막이벽 시공이 이루어지는 도 1에 도시된 지반(1)은, 지중의 연암 및 경암으로 이루어지는 암반층(1a)과, 이 암반층(1a) 위의 풍화암층(1b), 이 풍화암층(1b) 위의 자갈 또는 토사층(1c)으로 구성되는 일반적인 지반이다.
1A to 1D are perspective views sequentially illustrating a construction method of a retaining wall using a composite river structure according to the related art. Here, the ground 1 shown in FIG. 1 in which the construction of the retaining wall is constructed includes a rock layer 1a made of soft rock and hard rock in the ground, a weathered rock layer 1b on the rock layer 1a, and a layer of the weathered rock layer 1b. It is a general ground composed of a gravel or soil layer (1c).

먼저, 도 1a에 도시된 바와 같이 지반(1) 내의 암반층(1a)의 경암층까지 천공을 실시한 후, 천공된 홀에 H파일(11)을 근입시킨다. First, as shown in FIG. 1A, a perforation is performed to the hard rock layer of the rock layer 1a in the ground 1, and then the H pile 11 is inserted into the perforated hole.

그 다음, 도 1b에 도시된 바와 같이, 지반(1) 내의 풍화암층(1b)까지 H파일(11)의 타측(후방측)에서 복수의 시트파일(12:연속벽체를 구성하는 부재)을 항타하여 근입시킨다. Then, as shown in FIG. 1B, a plurality of sheet piles 12 (members constituting the continuous wall) are driven from the other side (rear side) of the H pile 11 to the weathered rock layer 1b in the ground 1. Initiate.

그 다음, 도 1c에 도시된 바와 같이 H파일(11)의 일측(전방)을 굴토하여 H파일(11)을 노출시키고, 노출된 H파일(11) 및 시트파일(12)에 대해서 띠장(13) 및 보강재(16)를 용접에 의해 설치한다(strut 설치). Then, as shown in FIG. 1C, one side (front) of the H pile 11 is excavated to expose the H pile 11, and the band 13 is exposed to the exposed H pile 11 and the sheet pile 12. ) And the reinforcement 16 are installed by welding (strut installation).

그 다음, 도 1d에 도시된 바와 같이, 지반(1)의 터파기에 의해 H파일(11)의 전방부를 노출시키는 동시에, H파일(11) 사이의 지반(1)을 터파기하고 나서, 가로방향을 따라 인접한 H파일(11) 사이에 걸쳐서 복수의 토류판(14a)를 끼워 적층시킴으로써 토류판으로 이루어지는 벽(14)을 설치한다. 이때, 상기 토류판(14a)은 양쪽 H파일(11)의 플랜지 사이에 형성되는 내부공간에 가로방향으로 삽입시킴으로써 설치된다. 토류판(14a)의 설치를 마치면, H파일(11)과 토류판으로 이루어지는 벽(14)의 후방측에 형성된 공간에 시멘트 모르타르를 주입하여 양생시킨다.Then, as shown in Fig. 1D, the front of the H pile 11 is exposed by the break of the ground 1, and the ground 1 between the H piles 11 is broken, and then the horizontal direction is removed. A plurality of earth plate 14a is sandwiched and stacked between adjacent H piles 11 so as to provide a wall 14 made of earth plate. At this time, the earth plate (14a) is installed by inserting in the transverse direction in the inner space formed between the flanges of both the H pile (11). After the installation of the earth plate 14a, cement mortar is injected into the space formed on the rear side of the wall 14 formed of the H pile 11 and the earth plate to cure.

그 다음, 상기 풍화암층(1b)을 완전히 굴삭하여 암반층(1a)을 노출시킴으로써, 지반(1)에 대한 터파기를 마친다.Then, the weathered rock layer 1b is completely excavated to expose the rock layer 1a, thereby completing the trench for the ground 1.

그런데, 종래의 복합형 강가시설을 이용한 흙막이벽 설치 및 터파기 시공에 있어서는, 수위에 의해 시트파일 후방부에 접하는 토사층의 지형 변화 또는 유실이 발생하게 되면(지반 약화가 발생 되면), 토사층에서 발생하는 압력 변화에 의해 상호 분리된 부재인 시트파일(12) 간에 어긋남이 발생하여 토사층(1c)에 대해서 누수현상이 생기는데, 이러한 누수현상은, 특히 토사층(1c)과 풍화암(1b) 간의 경계의 토류판에도 영향을 미쳐서 누수 및 이로 인한 토사 유출을 발생시키게 된다. 이에 따라, 흙막이벽 붕괴 우려가 있었다.By the way, in the installation and excavation of the retaining wall using the conventional complex riverbed facility, when the topography change or loss of the soil layer in contact with the rear of the sheet pile occurs due to the water level (when ground weakening occurs), it occurs in the soil layer. Due to the change in pressure, a deviation occurs between the sheet piles 12, which are separated from each other, and water leakage occurs on the soil layer 1c. In particular, the leakage phenomenon is a soil plate at the boundary between the soil layer 1c and the weathered rock 1b. This also affects water leakage and the resulting soil leakage. As a result, there was a fear of collapse of the retaining wall.

또한, 시내 공사에 있어서는, 시트파일(12)의 항타 시 발생되는 소음 및 진동에 의해, 빈번히 민원이 발생되고 있는 실정이다.
In the city construction, complaints are frequently generated due to noise and vibration generated when the seat pile 12 is driven.

한편, 지반 보강 및 차수를 완벽하게 실시하기 위해서, 현재 TCM(Trench cutting Continuously Mixing method), SCW(Soil Cement Mixing wall method) 등의 공법을 이용한 다양한 차수벽 시공법에 대한 연구가 진행되고 있다.
On the other hand, in order to completely perform the ground reinforcement and order, studies on various order wall construction methods using a method such as TCM (Trench cutting Continuously Mixing method), SCW (Soil Cement Mixing wall method).

이에 본 발명은 상기와 같은 사정을 감안하여 이루어진 것으로, 트렌치 커팅(Trench cutting)에 의한 소일 시멘트 공법 또는 오거(Auger)에 의한 소일 시멘트 공법에 의해 형성된 소일 시멘트벽인 연속벽체와, 이 연속벽체의 전방면에 설치되는 H파일과, 토류판으로 이루어지는 벽과, 숏크리트 차수 및 보강벽의 조합으로 구성될 수 있는 소일 시멘트벽 가시설 구조에 있어서, 토사층과 풍화암층 간의 경계에서 발생될 수 있는 붕괴 및 누수를 방지할 수 있도록 된 소일 시멘트벽 가시설 구조 및 이의 시공 방법을 제공하는 것을 목적으로 한다. Accordingly, the present invention has been made in view of the above circumstances, and the continuous wall which is a soil cement wall formed by the soil cement process by trench cutting or the soil cement process by Auger, and the continuous wall of In the small cement wall temporary structure, which can be composed of a combination of H pile installed on the front surface, a wall made of earth plate, and shotcrete order and reinforcement wall, it prevents the collapse and leakage that may occur at the boundary between the soil layer and the weathered rock layer. It is an object of the present invention to provide a small cement wall temporary structure and a construction method thereof.

또한, 시트파일의 항타 작업이 생략됨에 따라 소음 및 진동이 최대한 감소되는 소일 시멘트벽 가시설 구조의 시공 방법을 제공하는 것을 목적으로 한다.
In addition, an object of the present invention is to provide a construction method of a small cement wall temporary structure in which noise and vibration are reduced as much as the driving operation of the sheet pile is omitted.

본 발명이 이루고자 하는 기술적 과제는 이상에서 언급한 기술적 과제로 제한되지 않으며, 언급되지 않은 또 다른 기술적 과제들은 아래의 기재로부터 본 발명이 속하는 기술분야에서 통상의 지식을 가진 자에게 명확하게 이해될 수 있을 것이다.
It is to be understood that both the foregoing general description and the following detailed description are exemplary and explanatory and are not intended to limit the invention to the precise form disclosed. There will be.

상기 목적을 달성하기 위해서, 제1측면에 따른 본 발명은, 복수의 층으로 이루어지는 지반에 토사층을 교란시킨 후 시멘트 모르타르를 주입해서 형성된 소일 시멘트벽인 연속벽체와; 상기 연속벽체의 일측에서 지반에 근입되는 H파일과; 굴착에 의해 노출되는 상기 H파일의 일측에 마련되는 토류판으로 이루어지는 벽을 포함하여 구성되는 소일 시멘트벽 가시설 구조를 제공한다.In order to achieve the above object, the present invention according to the first aspect, the continuous wall is a small cement wall formed by injecting cement mortar after disturbing the soil layer in the ground consisting of a plurality of layers; H-filed on the ground from one side of the continuous wall; It provides a soil cement wall temporary structure comprising a wall made of a earth plate provided on one side of the H-pile exposed by excavation.

또한, 상기 H파일의 일측에 마련되는 숏크리트 차수 및 보강벽을 더 포함하여 구성되는 것을 특징으로 하는 소일 시멘트벽 가시설 구조를 제공한다.In addition, it provides a small cement wall temporary structure characterized in that it further comprises a shotcrete order and reinforcement wall provided on one side of the H pile.

또한, 상기 연속벽체는, 트렌치 커팅(Trench cutting)에 의한 소일 시멘트 공법 또는 오거(Auger)에 의한 소일 시멘트 공법에 의해 형성된 소일 시멘트벽인 것을 특징으로 하는 소일 시멘트벽 가시설 구조를 제공한다.In addition, the continuous wall is a soil cement wall provision structure, characterized in that the soil cement wall formed by the soil cement method by trench cutting or the soil cement method by Auger (Auger).

또한, 본 발명은, 토사층과, 풍화암층, 및 암반층을 포함하여 구성되는 지반에 시멘트 모르타르를 주입해서 형성되는 소일 시멘트벽인 연속벽체와; 상기 연속벽체의 일측에서 지반에 근입되는 복수의 H파일과; 굴착에 의해 노출되는 상기 H파일의 일측에 마련되는 토류판으로 이루어지는 벽과; 상기 H파일의 일측에 마련되는 숏크리트 차수 및 보강벽을 포함하여 구성되는 것을 특징으로 하는 소일 시멘트벽 가시설 구조를 제공한다. In addition, the present invention is a continuous wall which is a small cement wall formed by injecting cement mortar into a ground composed of a soil layer, a weathered rock layer, and a rock layer; A plurality of H piles which are embedded in the ground from one side of the continuous wall; A wall made of an earth plate provided on one side of the H pile exposed by the excavation; Soil cement wall provisional structure is characterized in that it comprises a shotcrete order and a reinforcement wall provided on one side of the H pile.

또한, 상기 연속벽체는 토사층으로부터 상기 풍화암층까지 근입되고, 상기 H파일은 상기 토사층으로부터 상기 암반층까지 근입되며, 상기 토류판으로 이루어지는 벽은 토사층에서 H파일의 일측에 형성되고, 상기 숏크리트 차수 및 보강벽은 토사층으로부터 풍화암층에 걸쳐서 H파일의 일측에 형성되는 것을 특징으로 하는 소일 시멘트벽 가시설 구조를 제공한다. In addition, the continuous wall is entered from the soil layer to the weathered rock layer, the H pile is entered from the soil layer to the rock layer, the wall of the earth plate is formed on one side of the H pile in the soil layer, the shotcrete order and reinforcement wall is Soil cement wall provisional structure, characterized in that formed on one side of the H pile from the soil layer to the weathered rock layer.

또한, 본 발명은, 복수 층으로 이루어지는 지반에 시멘트 모르타르를 주입해서 소일 시멘트벽인 연속벽체를 형성하는 단계와; 상기 연속벽체의 일측에서 복수의 H파일을 근입하는 단계와; 상기 복수의 H파일의 일측에서 토류판으로 이루어지는 벽을 형성하는 단계와; 상기 H파일의 일측에서 숏크리트 차수 및 보강벽은 형성하는 단계를 포함하여 이루어진 것을 특징으로 하는 소일 시멘트벽 가시설 시공 방법을 제공한다. In addition, the present invention comprises the steps of injecting cement mortar into the ground consisting of a plurality of layers to form a continuous wall which is a small cement wall; Accessing a plurality of H piles from one side of the continuous wall; Forming a wall made of an earth plate on one side of the plurality of H piles; At one side of the H pile, the shotcrete order and reinforcement wall provides a method for constructing a cement cement wall, characterized in that comprising the step of forming.

또한, 상기 소일 시멘트벽인 연속벽체를 형성하는 단계는, 오거를 이용해서 지반을 천공하는 동시에 시멘트 모르타르를 주입하면서 주변 토사와 교반하는 단계와; 오거를 인발하면서 시멘트 모르타르와 주변 토사를 교반하는 단계 및; 양생 단계를 포함하여 구성되는 것을 특징으로 하는 소일 시멘트벽 가시설 시공 방법을 제공한다.In addition, the step of forming the continuous wall which is the small cement wall, the step of drilling the ground using an auger and injecting cement mortar while stirring the surrounding soil; Stirring the cement mortar and the surrounding soil while drawing the auger; Provides a method for constructing a soil cement wall, characterized in that comprising a curing step.

또한, 상기 소일 시멘트벽인 연속벽체를 형성하는 단계는, 커터기를 이용하여 지반에 트렌치를 형성하는 동시에 시멘트 모르타르를 주입하면서 주변 토사와 교반하는 단계 및; 양생 단계를 포함하여 구성되는 것을 특징으로 하는 소일 시멘트벽 가시설 시공 방법을 제공한다.
In addition, the step of forming the continuous wall is a small cement wall, the step of forming a trench in the ground using a cutter and at the same time injecting cement mortar while stirring with the surrounding soil; Provides a method for constructing a soil cement wall, characterized in that comprising a curing step.

본 발명에 의한 소일 시멘트벽 가시설 구조에 의하면, 트렌치 커팅(Trench cutting)에 의한 소일 시멘트 공법 또는 오거(Auger)에 의한 소일 시멘트 공법에 의해 형성된 소일 시멘트벽인 연속벽체에 의해 누수가 방지되고, 목제인 토류판으로 이루어진 벽으로 보강하며, 숏크리트 차수 및 보강벽에 의해 지반의 층간 경계에서 발생될 수 있는 누수를 방지할 수 있는 효과를 나타낸다. According to the soil cement wall temporary structure according to the present invention, water leakage is prevented by a continuous wall which is a soil cement wall formed by the soil cement process by trench cutting or the soil cement process by Auger. It is reinforced with walls made of earthen boards, and it has an effect of preventing leaks that may occur at the interlayer boundary of the ground by shotcrete orders and reinforcement walls.

또한, 시트파일의 항타 작업이 생략됨에 따라 시공 중 발생되는 소음 및 진동이 감소되는 효과를 나타낸다.
In addition, since the driving of the seat pile is omitted, noise and vibration generated during construction are reduced.

도 1a 내지 도 1d는 일반적인 기술에 따른 흙막이벽의 시공 순서를 나타낸 개략적인 사시도,
도 2a 내지 도 2e는 본 발명의 실시예1에 따른 소일 시멘트벽 가시설 구조의 시공 순서를 나타낸 개략적인 사시도,
도 3a 내지 도 3c는 본 발명의 실시예1에 따른 소일 시멘트벽 가시설 구조에 있어서, 숏크리트 차수 및 보강벽 및 토류판으로 이루어진 벽의 시공 상태를 나타낸 단면도,
도 4a 내지 도 4e는 본 발명의 실시예2에 따른 소일 시멘트벽 가시설 구조의 시공 순서를 나타낸 개략적인 사시도,
도 5a 내지 도 5c는 본 발명의 실시예2에 따른 소일 시멘트벽 가시설 구조에 있어서, 숏크리트 차수 및 보강벽 및 토류판으로 이루어진 벽의 시공 상태를 나타낸 단면도이다.
1a to 1d is a schematic perspective view showing the construction sequence of the retaining wall according to the general technique,
2a to 2e is a schematic perspective view showing the construction sequence of the soil cement wall temporary structure according to the first embodiment of the present invention,
3a to 3c is a cross-sectional view showing the construction state of the wall made of shotcrete order and reinforcement wall and earth plate in the small cement wall temporary structure according to the first embodiment of the present invention,
4a to 4e is a schematic perspective view showing the construction sequence of the soil cement wall temporary structure according to the second embodiment of the present invention,
5A to 5C are cross-sectional views illustrating construction states of shotcrete and wall made of reinforcement walls and earth plate in the soil cement wall temporary structure according to the second embodiment of the present invention.

이하, 첨부한 도면을 참고로 하여 본 발명의 실시예에 대하여 본 발명이 속하는 기술 분야에서 통상의 지식을 가진 자가 용이하게 실시할 수 있도록 상세히 설명한다. 그러나 본 발명은 다양한 형태로 구현될 수 있으며 여기에서 설명하는 실시예에 한정되지 않는다. Hereinafter, exemplary embodiments of the present invention will be described in detail with reference to the accompanying drawings so that those skilled in the art may easily implement the present invention. As those skilled in the art would realize, the described embodiments may be modified in various ways, all without departing from the spirit or scope of the present invention.

또한, 이하의 실시예에 있어서는 지반(1)은 토사층(1c)과 풍화암층(1b) 및 암반층(1a:연암 및 경암층)이 순차 적층된 것으로 기재되어 있지만, 상기 H파일이 삽입되는 최하층인 암반층(1a) 상에 상기 토사층 또는 풍화암층과 함께 그 밖의 복수의 층이 구비되는 지반에 대해서도 본 발명을 적용할 수 있는 것은 자명하게 이해될 수 있는 사항이다.
In addition, in the following example, although the ground 1 is described as the soil layer 1c, the weathered rock layer 1b, and the rock layer (1a: soft rock and hard rock layer) sequentially laminated, the rock layer which is the lowest layer in which the said H pile is inserted It can be clearly understood that the present invention can also be applied to a ground having a plurality of other layers provided together with the soil layer or weathered rock layer on (1a).

[실시예1][Example 1]

도 2는 본 발명의 실시예1에 따른 소일 시멘트벽 가시설 구조의 시공 순서를 나타낸 사시도이다. 한편, 도 2에 있어서, 도 1과 동일 부분에 있어서는 동일 참조부호를 붙여서 설명한다. Figure 2 is a perspective view showing the construction procedure of the soil cement wall temporary structure according to the first embodiment of the present invention. In FIG. 2, the same parts as in FIG. 1 will be described with the same reference numerals.

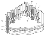
본 발명의 실시예1에 따른 소일 시멘트벽 가시설 구조는, 도 2e에 도시된 바와 같이, 오거(Auger)에 의한 소일 시멘트 공법에 의해 형성된 소일 시멘트벽인 제1연속벽체(10)와; 이 연속벽체(10)의 일측(전방측)에서 복수의 층으로 이루어지는 지반에 근입되는 H파일(11)과; 굴착에 의해 노출되는 상기 H파일의 일측(전방측)에 마련되는 토류판으로 이루어지는 벽(14)을 포함하여 구성된다.Soil cement wall provisional structure according to the first embodiment of the present invention, as shown in Figure 2e, the first continuous wall (10) which is a soil cement wall formed by the soil cement method using an auger (Auger); An H-pile 11 entering the ground composed of a plurality of layers on one side (front side) of the continuous wall 10; It comprises a wall 14 made of an earth plate provided on one side (front side) of the H pile exposed by excavation.

또한, 상기 H파일의 일측에 마련되는 숏크리트 차수 및 보강벽(30)을 더 포함하여 구성된다. 이러한 숏크리트 차수 및 보강벽(30)은, 토사층(1c)으로부터 풍화암층(1b)에 걸쳐서 H파일(11)의 일측에 마련된다. 구체적으로는, 토류판으로 이루어지는 벽(14)의 하부에서 토사층(1c)으로부터 풍화암층(1b)에 걸쳐서 H파일(11)의 일측에 마련된다. 일례로서, 숏크리트 차수 및 보강벽(30)은, 층간 경계, 예를 들어 토사층(1c)과 풍화암층(1b) 간의 경계에서 상부로 70cm, 하부로 80cm의 전체 높이 150cm로 형성된다. In addition, it further comprises a shotcrete order and the reinforcing wall 30 provided on one side of the H pile. The shotcrete order and reinforcement wall 30 are provided on one side of the H pile 11 from the soil layer 1c to the weathered rock layer 1b. Specifically, it is provided on one side of the H pile 11 from the earth and sand layer 1c to the weathered rock layer 1b in the lower part of the wall 14 which consists of an earth plate. As an example, the shotcrete order and reinforcement wall 30 are formed at an overall height of 150 cm, 70 cm above and 80 cm below at the boundary between the interlayer boundaries, for example, between the soil layer 1c and the weathered rock layer 1b.

여기서, 상기 제1연속벽체(10)는 복수 개의 원통형 벽체를 연속적으로 형성함으로써 이루어지는데, 오거(Auger)에 의한 소일 시멘트 공법에 의해 사전에 천공된 홀에 시멘트 모르타르를 주입해서, 소일 시멘트벽을 형성하여 토사층(1c)으로부터 풍화암층(1b)까지 근입되는 연속벽체로서 형성될 수 있다. 도면에 있어서는, H파일(11)의 타측면(후방면)에서 H파일의 연장방향인 세로방향으로 연장되어 형성된 단품의 원통기둥이 가로방향을 따라 연속해서 연장되는 소일 시멘트벽인 제1연속벽체(10)가 도시되고 있다. Here, the first continuous wall (10) is formed by continuously forming a plurality of cylindrical walls, by injecting a cement mortar in a hole previously drilled by a small cement method by an auger (Auger), the small cement wall It can be formed as a continuous wall which is formed to be indented from the soil layer 1c to the weathered rock layer 1b. In the drawing, the first continuous wall is a single cement wall in which a cylindrical column of a single piece formed extending in the longitudinal direction in the extending direction of the H pile from the other side (rear side) of the H pile 11 is continuously extended in the horizontal direction. 10 is shown.

또한, 상기 H파일(11)은 복수 개가 소정 간격을 두고서 지반에 근입되어 암반층(1a)까지 박히도록 설치되는데, 사전에 상기 암반층(1a)까지 천공된 홀에 삽입됨으로써 암반층(1a)에 근입장이 확보될 수 있다. In addition, a plurality of the H pile 11 is installed so as to enter the ground at a predetermined interval to be embedded into the rock layer 1a, and is inserted into the rock layer 1a by being inserted into a hole drilled up to the rock layer 1a in advance. This can be secured.

한편, 상기 제1연속벽체(10)에 대해서 H파일(11)이 직접 지지되거나, 또는 별도의 지지부재를 사용하여 이격된 상태에서 H파일(11)이 지지되도록 구성할 수 있다. Meanwhile, the H pile 11 may be directly supported to the first continuous wall body 10, or the H pile 11 may be supported in a spaced apart state using a separate support member.

여기서, 숏크리트 차수 및 보강벽(30)은, H파일(11)의 전방부가 노출되는 굴착면에 마련될 수 있다. 이때, 숏크리트 차수 및 보강벽(30)의 형성 전에 굴착면에 대한 면고르기를 할 수 있다. Here, the shotcrete order and the reinforcement wall 30 may be provided on an excavation surface to which the front portion of the H pile 11 is exposed. At this time, before the shotcrete order and the formation of the reinforcing wall 30, the surface of the excavation surface may be selected.

또한, 상기 숏크리트 차수 및 보강벽(30)은, 토사층(1c)과 풍화암층(1b) 간의 경계에서 H파일(11)의 플랜지에 격자(32)를 이용하여 가로 철근, 와이어 매쉬 등의 보강재(31)를 설치한 후, 보강재(31)에 대해서 숏크리트를 타설함으로써 형성될 수 있다. In addition, the shotcrete order and reinforcement wall 30 is a reinforcement material such as horizontal reinforcing bars, wire mesh, etc. using a grid 32 on the flange of the H pile 11 at the boundary between the soil layer 1c and the weathered rock layer 1b. ), And then shotcreting the reinforcing material 31 can be formed.

또한, 숏크리트 차수 및 보강벽(30)은, H파일(11)의 전방부가 노출되는 굴착면에 상기 토류판(14a)을 이용해서 형성될 수도 있다. 즉, 상기된 바와 같이, 토류판(14a)를 인접한 양쪽 H파일(11)의 플랜지 사이에 끼워 설치하고, 그 전면에 숏크리트 차수 및 보강벽(30)을 설치할 수도 있다.
In addition, the shotcrete order and the reinforcement wall 30 may be formed using the said earth plate 14a in the excavation surface which the front part of the H pile 11 exposes. That is, as described above, the earth plate 14a may be sandwiched between the flanges of both adjacent H piles 11, and the shotcrete order and the reinforcement wall 30 may be provided on the front surface thereof.

상기와 같은 구성을 가지는 본 발명에 따른 소일 시멘트벽 가시설 구조의 시공 방법을, 이하 상세히 설명한다. The construction method of the soil cement wall temporary structure which concerns on this invention which has the above structure is demonstrated in detail below.

본 발명의 실시예1에 따른 소일 시멘트벽 가시설 구조는, 오거(Auger)에 의한 소일 시멘트 공법에 의해 제1연속벽체(10)을 형성하는 단계11와, 이 제1연속벽체의 일측인 전방부에서 H파일(11)을 지반에 근입하는 단계12와, 상기 H파일(11)의 전방부를 노출시킨 후 토류판으로 이루어지는 벽(14)을 형성하는 단계13와, 토류판으로 이루어지는 벽(14)의 하부에서 H파일(11)의 일측에 숏크리트 차수 및 보강벽(30)을 형성하는 단계14를 통해 형성된다. Soil cement wall temporary structure according to the first embodiment of the present invention, the step 11 of forming a first continuous wall (10) by a small cement method using an auger (Auger), and the front portion which is one side of the first continuous wall In step 12 of entering the H pile 11 into the ground, and forming a wall 14 of the earth plate after exposing the front portion of the H pile 11, and of the wall 14 of the earth plate. It is formed through the step 14 of forming the shotcrete order and the reinforcement wall 30 on one side of the H pile 11 at the bottom.

한편, 상기 제1연속벽체 형성 단계11 및 H파일 근입 단계12의 순서는, 필요에 따라 변경될 수 있다. Meanwhile, the order of the first continuous wall forming step 11 and the H-file entering step 12 may be changed as necessary.

또한, 상기 숏크리트 차수 및 보강벽 형성 단계14는, 토류판으로 이루어지는 벽(14)의 전방부에 숏크리트 차수 및 보강벽(30)을 형성하는 단계14'로 대체될 수도 있다. In addition, the shotcrete order and reinforcement wall forming step 14 may be replaced by the step 14 'of forming the shotcrete order and reinforcement wall 30 in front of the wall 14 made of the earth plate.

먼저, 제1연속벽체 형성 단계11에 있어서는, 도 2a에 도시된 바와 같이, 일례로서 지반에 굴착 장비(오거:auger)를 이용하여 천공 홀을 형성하는 동시에 콘크리트 모르타르 또는 이 콘크리트 모르타르를 포함하여 구성될 수 있는 굴진안정제를 주입하면서 주변 토사와 1차교반하고, 오거를 인발하면서 콘크리트 모르타르 또는 이 콘크리트 모르타르를 포함하여 구성될 수 있는 일반안정제를 주입하면서 2차교반한 후, 양생함으로써, 원통형상의 기둥(10a)을 형성할 수 있다. 일례로서, 550cm 직경의 기둥(10a)을 형성할 수 있다. First, in the step of forming the first continuous wall 11, as shown in FIG. 2A, as an example, a drilling hole is formed in the ground using an excavation equipment (auger), and the concrete mortar or the concrete mortar is included. A cylindrical column by primary stirring with surrounding soil while injecting possible stabilizer, secondary agitation while injecting augers with a concrete mortar or general stabilizer which may be composed of this concrete mortar, and curing. 10a can be formed. As an example, the pillar 10a having a diameter of 550 cm can be formed.

이러한 기둥(10a)은 가로방향을 따라 복수 개가 연속적으로 형성됨에 따라, 본 발명에 다른 제1연속벽체(10)를 형성하게 된다. Since the plurality of pillars 10a are continuously formed along the horizontal direction, the first continuous wall body 10 according to the present invention is formed.

더욱이, 상기 2차교반 후 오거를 이용해서 지반을 재천공하면서 지반을 3차 교반시키고, 다시 오거를 인발하면서 4차교반한 다음, 양생함으로써, 원통형상의 기둥(10a)을 형성할 수도 있다. 한편, 이러한 방법 이외에 다양한 방법으로 제1연속벽체(10)를 형성할 수 있다. 또한, 상기 기둥(10a)은 토사층(1c)으로부터 풍화암층(1b)에 걸쳐서 형성된다. Further, the cylindrical pillar 10a may be formed by subjecting the ground to tertiary stirring while re-punching the ground using the auger after the second stirring, carrying out the fourth stirring while drawing the auger again, and curing. Meanwhile, the first continuous wall body 10 may be formed in various ways in addition to the above method. In addition, the pillar 10a is formed from the earth and sand layer 1c over the weathered rock layer 1b.

그 다음, H파일 근입 단계12에 있어서는, 도 2b에 도시된 바와 같이, 상기 제1연속벽체(10)의 일측에서 지반에 복수의 H파일(11)을 간격을 두고서 복수 근입시킨다. 이때, 필요에 따라서는, 제1연속벽체(10)에 대해서 H파일(11)을 소정 거리 이격시킨 상태에서 근입시킬 수 있다. Next, in the H-file indentation step 12, as shown in FIG. 2B, a plurality of H-files 11 are inserted in the ground at one side of the first continuous wall body 10 at intervals. At this time, if necessary, the H pile 11 can be moved in the state of being spaced apart from the first continuous wall 10 by a predetermined distance.

또한, H파일(11)의 근입 작업은, 예를 들어, 오거를 이용해서, 지반에 다수의 홀을 암반층(1a)까지 천공한 후, 천공된 홀에 H파일(11)을 삽입시켜서 지중의 암반에 근입되도록 할 수 있다. 이에 따라, 상기 H파일(11)은 상기 암반층(1a)에 의해 견고하게 지지된다(근입장 확보). In addition, the H pile 11 may be inserted into the H pile 11 by drilling a plurality of holes in the ground to the rock layer 1a using, for example, an auger and inserting the H pile 11 into the perforated holes. To get into the rock. Accordingly, the H pile 11 is firmly supported by the rock layer 1a (secure entry).

그 다음, 토류판 형성 단계13에 있어서는, 도 2c에 도시된 바와 같이, 먼저 상기 제1연속벽체(10)의 전방면이 H파일(11)과 함께 노출되도록 상기 토사층(1c)을 굴토함으로써 제1연속벽체(10)의 일측에 위치하는 토사 등을 제거한다. 이어서, 노출된 H파일(11) 및 제1연속벽체(10)의 일측면에 대해서, H파일(11)의 전방부에서 토류판(14a)를 이용해서 벽(14)을 설치한다. 이러한 토류판으로 이루어지는 벽(14)은 인접한 H파일(11) 사이에 걸쳐서 복수의 토류판(14a)를 세로방향으로 적층함으로써 형성된다. Next, in the earth plate forming step 13, as shown in FIG. 2C, first, the first soil layer 1c is excavated such that the front surface of the first continuous wall 10 is exposed together with the H pile 11. Soil and the like located on one side of the continuous wall (10) is removed. Subsequently, the wall 14 is provided on the exposed side of the H pile 11 and the first continuous wall body 10 by using the earth plate 14a at the front of the H pile 11. The wall 14 made of such a earth plate is formed by laminating a plurality of earth plates 14a in the longitudinal direction across the adjacent H piles 11.

이때, 상기 토류판(14a)은 양쪽 H파일(11)의 플랜지 사이에 그 양쪽 단부를 끼워 가로방향으로 삽입시킴으로써 설치된다. 이러한 토류판의 설치에 따라 토사층(1c)에 걸쳐서 토사층과 풍화함층(1b) 근방까지 토류판으로 이루어지는 벽이 설치된다. At this time, the earth plate 14a is provided by inserting both ends between the flanges of both H piles 11 and inserting them in the transverse direction. According to the installation of the earth plate, a wall of the earth plate is provided over the earth and sand layer 1c to the vicinity of the earth and sand layer 1b.

토류판(14a)의 설치를 마치면, 제1연속벽체(10)와 H파일(11) 및 토류판으로 이루어지는 벽(14)의 후방측으로 둘러싸인 공간에 토사를 투입해서 충전시킨다. 한편, 상기 공간에 시멘트 모르타르를 주입하여 양생시킬 수도 있다. After installation of the earth plate 14a, earth and sand are charged and filled into the space surrounded by the rear side of the first continuous wall 10, the H pile 11, and the wall 14 made of the earth plate. On the other hand, it can be cured by injecting a cement mortar in the space.

이어서, 상기 숏크리트 차수 및 보강벽(30) 형성 단계14에 있어서는, 도 2d에 도시된 바와 같이, 먼저 상기 노출된 H파일(11)에 대해서 띠장(13)을 용접 등에 의해 설치한다. 그 다음, 토류판으로 이루어지는 벽(14)의 하부에서 토사층(1c)으로부터 풍화암층(1b)에 걸쳐서 더 굴토해서, H파일(11)의 전방부가 노출되는 굴착면을 마련한다. 그 다음, 굴착면에 대한 면고르기를 할 수 있다. Subsequently, in the shotcrete order and reinforcing wall 30 forming step 14, as shown in FIG. 2D, the band 13 is first provided to the exposed H pile 11 by welding or the like. Then, at the lower portion of the wall 14 made of the earth plate, the earth is further excavated from the earth and sand layer 1c to the weathered rock layer 1b, thereby providing an excavation surface in which the front portion of the H pile 11 is exposed. Next, a face can be selected for the excavation surface.

이어서, 노출된 H파일(11)의 플랜지에 격자(32)를 이용하여 와이어 매쉬 보강재(31)를 설치한 후, 보강재(31)에 대해서 숏크리트를 타설함으로써 숏크리트 차수 및 보강벽(30)을 형성한다(도 2e 참조).Subsequently, after installing the wire mesh reinforcement 31 using the grating 32 on the exposed flange of the H pile 11, the shotcrete order and the reinforcement wall 30 are formed by pouring shotcrete to the reinforcement 31. (See FIG. 2E).

그 다음, 토류판으로 이루어지는 벽(14) 및 숏크리트 차수 및 보강벽(30)의 형성을 마치면, 상기 풍화암층(1b)을 완전히 굴삭하여 지반(1)에 대한 터파기를 마친다.
Then, when the formation of the wall 14, the shotcrete order and the reinforcement wall 30 made of the earth plate is completed, the weathered rock layer 1b is completely excavated to finish the trench on the ground 1.

한편, 다른 예의 숏크리트 차수 및 보강벽 형성 단계14'는, 토류판 형성 단계13와 병행하여 수행될 수 있다. 일례로서, 상기 단계 13에서 토사층(1c)과 풍화암층(1b)에 걸쳐서 굴토한 후, H파일(11)의 플랜지에 토류판으로 이루어지는 벽(14)을 설치하는 한편, 토사층(1c)과 풍화암층(1b) 간의 경계에서 H파일(11)의 플랜지에 격자(32)를 이용하여 와이어 매쉬 보강재(31)를 설치한 후, 토류판(14a)을 설치하고, 보강재(31)에 대해서 숏크리트를 타설함으로써 숏크리트 차수 및 보강벽(30)을 형성할 수도 있다. 즉, 토류판으로 이루어지는 벽(14)과 숏크리트 차수 및 보강벽(30)이 2중으로 형성된다.
Meanwhile, another example shotcrete order and reinforcement wall forming step 14 ′ may be performed in parallel with the earth plate forming step 13. As an example, after stepping through the earth and sand layer 1c and the weathered rock layer 1b in step 13, the wall 14 made of the earth plate is provided on the flange of the H pile 11, while the earth and sand layer 1c and the weathered rock layer 1b are provided. After installing the wire mesh reinforcement material 31 using the grid 32 on the flange of the H pile 11 at the boundary between the two ends, the earth plate 14a is installed, and shotcrete is poured on the reinforcement material 31. And the reinforcing wall 30 may be formed. That is, the wall 14 which consists of an earth plate, the shotcrete order, and the reinforcement wall 30 is formed in double.

한편, 숏크리트 차수 및 보강벽(30)의 설치 구조를 나타낸 도 2e의 I-I선 단면도인 도 3a을 참조하면, 상기 숏크리트 차수 및 보강벽(30)은, 상호 소정 간격으로 평행하게 이격되어 위치되는 2개의 H파일(11)의 전방 플랜지(11b)에 상호 대칭 형상의 기역자형 격자(32: 와이어 매쉬 설치 부재)를 용접 등으로 접합해서 설치하고, 이 격자(32) 간에 걸쳐서, 예를 들어 와이어 매쉬 보강재(31)를 가설하여 설치한 후, 전방부로 노출된 상기 와이어 매쉬 보강재(31)에 대해서 숏크리트 S를 타설 및 양생함으로써, 형성된다. Meanwhile, referring to FIG. 3A, which is a sectional view taken along line II of FIG. 2E, illustrating the installation structure of the shotcrete order and the reinforcement wall 30, the shotcrete order and the reinforcement wall 30 are spaced apart from each other in parallel at predetermined intervals. A mutually symmetrical cross-lattice grating 32 (wire mesh mounting member) is attached to the front flange 11b of the two H piles 11 by welding or the like, and the wire mesh is interposed between the gratings 32, for example. After installing and installing the reinforcement 31, shotcrete S is cast and cured with respect to the said wire mesh reinforcement 31 exposed to the front part.

또한, 토류판(14a)의 설치 구조를 나타낸 도 2e의 II-II선 단면도인 도 3b를 참조하면, 상기 토류판으로 이루어지는 벽(14)은, 상호 소정 간격으로 평행하게 이격되어 위치되는 2개의 H파일(11)의 전방 플랜지(11b)의 후방면에 토류판(14a)의 양쪽 단부를 접합해서 토류판(14a)을 가설해서 설치한 후, 제1연속벽체(10)와, H파일(11) 및 토류판(14a)의 후방부로 둘러싸인 공간에 토사를 주입하거나 또는 콘크리트 모르타르 C을 주입하여 양생시킴으로써, 형성된다.
3B, which is a cross-sectional view taken along the line II-II of FIG. 2E showing the installation structure of the earth plate 14a, the walls 14 made of the earth plate are two H piles spaced apart in parallel at predetermined intervals from each other. After joining both ends of the earth plate 14a to the rear surface of the front flange 11b of 11, and installing and installing the earth plate 14a, the 1st continuous wall body 10, the H pile 11, and the earth plate It is formed by injecting earth and sand into the space enclosed by the rear part of 14a, or curing by injecting concrete mortar C.

한편, 다른 예의 숏크리트 차수 및 보강벽(30)의 설치 구조를 나타낸 도 2e의 I-I선 단면도인 도 3c을 참조하면, 상기 숏크리트 차수 및 보강벽(30)은, 상호 소정 간격으로 평행하게 이격되어 위치되는 2개의 H파일(11)의 전방 플랜지(11b)에 상호 대칭 형상의 기역자형 격자(32: 와이어 매쉬 설치 부재)를 용접 등으로 접합해서 설치하고, 이 격자(32) 간에 걸쳐서, 예를 들어 와이어 매쉬 보강재(31)를 설치하며, 상기 격자(32)가 설치된 H파일(11)에 대해서 후방부로부터 토류판(14a)을 가설한 후, 제1연속벽체(10)와, H파일(11) 및 토류판(14a)의 후방부로 둘러싸인 공간에 토사 또는 콘크리트 모르타르 C을 주입하여 양생시키고, 전방부로 노출된 상기 와이어 매쉬 보강재(31)에 대해서 숏크리트 S를 타설 및 양생함으로써, 형성된다.
Meanwhile, referring to FIG. 3C, which is a sectional view taken along line II of FIG. 2E, showing the installation structure of the shotcrete order and the reinforcement wall 30 of another example, the shotcrete order and the reinforcement wall 30 are spaced apart from each other in parallel at predetermined intervals. A mutually symmetrical cross-lattice grating 32 (wire mesh mounting member) is attached to the front flange 11b of two H piles 11 to be joined by welding, or the like, for example, between the gratings 32, for example. After installing the wire mesh reinforcing material 31 and installing the earth plate 14a from the rear part with respect to the H pile 11 in which the said grid | lattice 32 was installed, the 1st continuous wall body 10 and the H pile 11 are provided. And by injecting and curing soil or concrete mortar C into the space surrounded by the rear portion of the earth plate 14a, and casting and curing shotcrete S with respect to the wire mesh stiffener 31 exposed to the front portion.

[실시예2][Example 2]

도 4e는 본 발명의 실시예2에 따른 소일 시멘트벽 가시설 구조의 시공 순서를 나타낸 사시도로, 본 발명의 실시예2에 소일 시멘트벽 가시설 구조는, 트렌치 커팅(Trench cutting)에 의한 소일 시멘트 공법에 의해 형성된 제2연속벽체(20)와; 이 연속벽체(20)의 일측(전방측)에서 복수의 층으로 이루어지는 지반에 근입되는 H파일(11)과; 굴착에 의해 노출되는 상기 H파일의 일측(전방측)에 마련되는 토류판으로 이루어지는 벽(14)을 포함하여 구성된다.Figure 4e is a perspective view showing the construction sequence of the soil cement wall temporary structure according to the second embodiment of the present invention, the soil cement wall temporary structure in the second embodiment of the present invention, the soil cement method by trench cutting (Trench cutting) A second continuous wall body 20 formed by; An H-pile 11 entering the ground composed of a plurality of layers on one side (front side) of the continuous wall 20; It comprises a wall 14 made of an earth plate provided on one side (front side) of the H pile exposed by excavation.

또한, 상기 H파일의 일측에 마련되는 숏크리트 차수 및 보강벽(30)을 더 포함하여 구성된다. 이러한 숏크리트 차수 및 보강벽(30)은, 토사층(1c)으로부터 풍화암층(1b)에 걸쳐서 H파일(11)이 일측에 마련된다. 구체적으로는, 토류판으로 이루어지는 벽(14)의 하부에서 토사층(1c)으로부터 풍화암층(1b)에 걸쳐서 H파일(11)의 일측에 마련된다. In addition, it further comprises a shotcrete order and the reinforcing wall 30 provided on one side of the H pile. In the shotcrete order and reinforcement wall 30, the H pile 11 is provided on one side from the soil layer 1c to the weathered rock layer 1b. Specifically, it is provided on one side of the H pile 11 from the earth and sand layer 1c to the weathered rock layer 1b in the lower part of the wall 14 which consists of an earth plate.

여기서, 상기 제2연속벽체(20)는 대략 직육면체의 벽체를 연속적으로 지반에 형성함으로써 이루어지는데, 트렌치 커팅(Trench cutting)에 의한 소일 시멘트 공법에 의해 사전에 가로방향으로 연장되며 천공 및 절삭되어 형성된 트렌치에 시멘트 모르타르를 주입함으로써, 토사층(1c)으로부터 풍화암층(1b)까지 근입되는 연속벽체로서 형성될 수 있다. Here, the second continuous wall 20 is formed by continuously forming a wall of a substantially rectangular parallelepiped on the ground, which is previously extended in a transverse direction by a small cement method by trench cutting, and is formed by drilling and cutting. By injecting the cement mortar into the trench, the trench can be formed as a continuous wall that is infiltrated from the soil layer 1c to the weathered rock layer 1b.

또한, 상기 H파일(11)은 복수 개가 소정 간격을 두고서 지반에 근입되어 암반층(1a)까지 박히도록 설치되며, 사전에 상기 암반층(1a)까지 천공된 홀에 삽입됨으로써 암반층(1a)에 근입장이 확보될 수 있다. In addition, a plurality of the H piles 11 are installed in the ground at a predetermined interval so as to be embedded in the rock layer 1a, and are inserted into the rock layer 1a by being inserted into a hole drilled up to the rock layer 1a in advance. This can be secured.

한편, 상기 제2연속벽체(20)에 대해서 H파일(11)이 직접 지지되거나, 또는 별도의 지지부재를 사용하여 이격된 상태에서 H파일(11)이 지지되도록 구성할 수 있다. 도면에 있어서는, 제2연속벽체(20)에 대해서 H파일(11)이 직접 지지된 상태가 도시되고 있다. Meanwhile, the H pile 11 may be directly supported to the second continuous wall body 20, or the H pile 11 may be supported in a spaced apart state using a separate support member. In the figure, a state in which the H pile 11 is directly supported with respect to the second continuous wall body 20 is shown.

또한, 상기 숏크리트 차수 및 보강벽(30:보강벽)은, 토사층(1c)과 풍화암층(1b) 간의 경계에서 H파일(11)의 플랜지에 격자(32)를 이용하여 가로 철근, 와이어 매쉬 등의 보강재(31)를 설치한 후, 보강재(31)에 대해서 숏크리트를 타설함으로써 형성될 수 있다.
In addition, the shotcrete order and reinforcement wall 30 (reinforcement wall), such as horizontal reinforcement, wire mesh, etc. using the grid 32 on the flange of the H pile 11 at the boundary between the soil layer 1c and the weathered rock layer 1b. After installing the reinforcing material 31, it can be formed by pouring shotcrete with respect to the reinforcing material 31.

상기와 같은 구성을 가지는 본 발명에 따른 소일 시멘트벽 가시설 구조의 시공 방법을, 이하 상세히 설명한다. The construction method of the soil cement wall temporary structure which concerns on this invention which has the above structure is demonstrated in detail below.

본 발명의 실시예2에 따른 소일 시멘트벽 가시설 구조는, 트렌치 커팅(Trench cutting)에 의한 소일 시멘트 공법에 의해 제2연속벽체(20)를 형성하는 단계21와, 이 제2연속벽체의 전방부에서 H파일(11)을 지반에 근입하는 단계22와, 상기 H파일(11)의 전방부를 노출시킨 후 토류판으로 이루어지는 벽(14)을 형성하는 단계23와, 토류판으로 이루어지는 벽(14)의 하부에서 H파일(11)의 일측에 숏크리트 차수 및 보강벽(30)을 형성하는 단계24를 통해 형성된다. Soil cement wall temporary structure according to a second embodiment of the present invention, the step 21 of forming a second continuous wall 20 by the small cement method by trench cutting (Trench cutting), and the front portion of the second continuous wall In step 22 of entering the H pile 11 into the ground, the step 23 of forming a wall 14 of the earth plate after exposing the front portion of the H pile 11, and the wall of the earth plate 14 It is formed through the step 24 of forming the shotcrete order and the reinforcement wall 30 on one side of the H pile 11 in the lower portion.

한편, 상기 제2연속벽체 형성 단계21 및 H파일 근입 단계22의 순서는, 필요에 따라 변경될 수 있다. 또한, 상기 단계24는, 토류판으로 이루어지는 벽(14)의 전방부에 숏크리트 차수 및 보강벽(30)을 형성하는 단계24'로 대체될 수 있다.
Meanwhile, the order of the second continuous wall forming step 21 and the H pile indenting step 22 may be changed as necessary. In addition, the step 24 may be replaced by the step 24 'of forming the shotcrete order and the reinforcing wall 30 in the front of the wall 14 made of the earth plate.

먼저, 제2연속벽체 형성 단계21에 있어서는, 도 4a에 도시된 바와 같이, 일례로서 지반에 굴착장비(커터기)를 이용하여 가로방향을 따라 트렌치를 형성하는 동시에 시멘트 모르타르를 주입하면서 주변 토사와 교반한 후, 양생함으로써, 상기 트렌치 형상에 따라 대략 직육면체 형상의 제2연속벽체(20)를 형성할 수 있다. 일례로서, 550 내지 100cm의 두께로 구성되는 제2연속벽체(20)를 형성할 수 있다. First, in the second continuous wall forming step 21, as shown in FIG. 4A, as an example, a trench is formed along the transverse direction by using an excavation equipment (cutter) in the ground, while stirring cement and mortar while injecting cement mortar. After curing, the second continuous wall body 20 having a substantially rectangular parallelepiped shape can be formed in accordance with the trench shape. As an example, the second continuous wall body 20 having a thickness of 550 to 100 cm may be formed.

그 다음, H파일 근입 단계22에 있어서는, 도 4b에 도시된 바와 같이, 상기 제2연속벽체(20)의 일측에서 지반에 복수의 H파일(11)을 간격을 두고서 복수 근입시킨다. 이때, 제2연속벽체(20)에 대해서 H파일(11)을 접하면서 근입시키거나, 또는 소정 거리 이격시킨 상태에서 근입시킬 수 있다. Next, in the H-file indentation step 22, as shown in FIG. 4B, a plurality of H-files 11 are inserted in the ground at one side of the second continuous wall 20 at intervals. In this case, the second continuous wall 20 may be moved while being in contact with the H pile 11 or may be moved in a state of being spaced a predetermined distance apart.

또한, H파일(11)의 근입 작업은, 예를 들어, 오거를 이용해서, 지반에 다수의 홀을 암반층(1a)까지 천공한 후, 천공된 홀에 H파일(11)을 삽입시켜서 지중의 암반에 근입되도록 할 수 있다. 이에 따라, 상기 H파일(11)은 상기 암반층(1a)에 의해 견고하게 지지된다. In addition, the H pile 11 may be inserted into the H pile 11 by drilling a plurality of holes in the ground to the rock layer 1a using, for example, an auger and inserting the H pile 11 into the perforated holes. To get into the rock. Accordingly, the H pile 11 is firmly supported by the rock layer 1a.

그 다음, 토류판 형성 단계23에 있어서는, 도 4c에 도시된 바와 같이, 먼저 상기 제2연속벽체(20)의 전방면이 H파일(11)과 함께 노출되도록 토사층(1c)을 굴토함으로써 제2연속벽체(20)의 일측에 위치하는 토사 등을 제거한다. 이어서, 노출된 H파일(11) 및 제2연속벽체(20)에 대해서, H파일(11)의 전방부에서 토류판(14a)을 이용해서 벽(14)을 설치한다. 이러한 토류판으로 이루어지는 벽(14)은 인접한 H파일(11) 사이에 걸쳐서 복수의 토류판(14a)를 적층함으로써 형성된다. Next, in the earth plate forming step 23, as shown in FIG. 4C, the second continuous wall is first excavated by excavating the soil layer 1c such that the front surface of the second continuous wall 20 is exposed together with the H pile 11. Soil and the like located on one side of the wall 20 is removed. Subsequently, the wall 14 is provided to the exposed H pile 11 and the second continuous wall body 20 using the earth plate 14a at the front of the H pile 11. A wall 14 made of such a earth plate is formed by stacking a plurality of earth plates 14a over adjacent H piles 11.

이때, 상기 토류판(14a)은 양쪽 H파일(11)의 플랜지 사이에 그 양쪽 단부를 끼워 가로방향으로 삽입시킴으로써 설치된다. 이러한 토류판의 설치에 따라 토사층(1c)에 걸쳐서 토사층과 풍화함층(1b) 근방까지 토류판으로 이루어지는 벽이 설치된다. At this time, the earth plate 14a is provided by inserting both ends between the flanges of both H piles 11 and inserting them in the transverse direction. According to the installation of the earth plate, a wall of the earth plate is provided over the earth and sand layer 1c to the vicinity of the earth and sand layer 1b.

토류판(14a)의 설치를 마치면, 제1연속벽체(10)와 H파일(11) 및 토류판으로 이루어지는 벽(14)의 후방측으로 둘러싸인 공간에 토사를 투입해서 충전시킨다. 한편, 상기 공간에 시멘트 모르타르를 주입하여 양생시킬 수도 있다. After installation of the earth plate 14a, earth and sand are charged and filled into the space surrounded by the rear side of the first continuous wall 10, the H pile 11, and the wall 14 made of the earth plate. On the other hand, it can be cured by injecting a cement mortar in the space.

이어서, 상기 숏크리트 차수 및 보강벽(30) 형성 단계14에 있어서는, 도 4d에 도시된 바와 같이, 먼저 상기 노출된 H파일(11)에 대해서 띠장(13)을 용접 등에 의해 설치한다. 그 다음, 토류판으로 이루어지는 벽(14)의 하부에서 토사층(1c)으로부터 풍화암층(1b)에 걸쳐서 더 굴토해서, H파일(11)의 전방부가 노출되는 굴착면을 마련한다. 그 다음, 굴착면에 대한 면고르기를 할 수 있다. Subsequently, in the shotcrete order and reinforcing wall 30 forming step 14, as shown in FIG. 4D, the band 13 is first provided to the exposed H pile 11 by welding or the like. Then, at the lower portion of the wall 14 made of the earth plate, the earth is further excavated from the earth and sand layer 1c to the weathered rock layer 1b, thereby providing an excavation surface in which the front portion of the H pile 11 is exposed. Next, a face can be selected for the excavation surface.

이어서, 노출된 H파일(11)의 플랜지에 격자(32)를 이용하여 와이어 매쉬 보강재(31)를 설치한 후, 보강재(31)에 대해서 숏크리트를 타설함으로써 숏크리트 차수 및 보강벽(30)을 형성한다(도 4e 참조).Subsequently, after installing the wire mesh reinforcement 31 using the grating 32 on the exposed flange of the H pile 11, the shotcrete order and the reinforcement wall 30 are formed by pouring shotcrete to the reinforcement 31. (See FIG. 4E).

그 다음, 토류판으로 이루어지는 벽(14) 및 숏크리트 차수 및 보강벽(30)의 형성을 마치면, 상기 풍화암층(1b)을 완전히 굴삭하여 지반(1)에 대한 터파기를 마친다.
Then, when the formation of the wall 14, the shotcrete order and the reinforcement wall 30 made of the earth plate is completed, the weathered rock layer 1b is completely excavated to finish the trench on the ground 1.

한편, 다른 예의 숏크리트 차수 및 보강벽 형성 단계24"는, 토류판 형성 단계23와 병행하여 수행될 수 있다. 일례로서, 상기 단계 23에서 토사층(1c)과 풍화암층(1b)에 걸쳐서 굴토한 후, H파일(11)의 플랜지에 토류판으로 이루어지는 벽(14)을 설치하는 한편, 토사층(1c)과 풍화암층(1b) 간의 경계에서 H파일(11)의 플랜지에 격자(32)를 이용하여 와이어 매쉬 보강재(31)를 함께 설치한 후, 토류판(14a)을 설치하고, 보강재(31)에 대해서 숏크리트를 타설함으로써 숏크리트 차수 및 보강벽(30)을 형성할 수도 있다.
Meanwhile, another example shotcrete order and reinforcement wall forming step 24 " may be performed in parallel with the earth plate forming step 23. As an example, in step 23, after excavating over the soil layer 1c and the weathered rock layer 1b, H While the wall 14 made of the earth plate is provided on the flange of the pile 11, the wire mesh reinforcement material is formed by using the grid 32 on the flange of the H pile 11 at the boundary between the soil layer 1c and the weathered rock layer 1b. After the 31 is provided together, the earth plate 14a may be provided and shotcrete may be cast on the reinforcing material 31 to form the shotcrete order and the reinforcement wall 30.

한편, 숏크리트 차수 및 보강벽(30)의 설치 구조를 나타낸 도 4e의 I-I선 단면도인 도 5a을 참조하면, 상기 숏크리트 차수 및 보강벽(30)은, 상호 소정 간격으로 평행하게 이격되어 위치되는 2개의 H파일(11)의 전방 플랜지(11b)에 상호 대칭 형상의 기역자형 격자(32)를 용접 등으로 접합해서 설치하고, 이 격자(32) 간에 걸쳐서, 예를 들어 와이어 매쉬 보강재(31)를 설치한 후, 전방부로 노출된 와이어 매쉬 보강재(31)에 대해서 숏크리트 S를 타설 및 양생함으로써, 형성된다. Meanwhile, referring to FIG. 5A, which is a sectional view taken along line II of FIG. 4E, illustrating the installation structure of the shotcrete order and the reinforcement wall 30, the shotcrete order and the reinforcement wall 30 are spaced apart from each other in parallel at predetermined intervals. The symmetrical cross-lattice gratings 32 of mutually symmetrical shapes are attached to the front flanges 11b of the two H piles 11 by welding or the like, and the wire mesh reinforcing material 31 is provided between the gratings 32, for example. After installation, it forms by pouring and curing shotcrete S with respect to the wire mesh reinforcement 31 exposed to the front part.

또한, 토류판(14a)의 설치 구조를 나타낸 도 4e의 II-II선 단면도인 도 5b를 참조하면, 상기 토류판으로 이루어지는 벽(14)은, 상호 소정 간격으로 평행하게 이격되어 위치되는 2개의 H파일(11)의 전방 플랜지(11b)의 후방면에 토류판(14a)의 단부를 접합해서 토류판(14a)을 가설해서 설치한 후, 제2연속벽체(20)와, H파일(11) 및 토류판(14a)의 후방부로 둘러싸인 공간에 토사를 주입하거나 또는 콘크리트 모르타르 C을 주입하여 양생시킴으로써, 형성된다.
Further, referring to Fig. 5B, which is a cross-sectional view taken along the line II-II of Fig. 4E showing the installation structure of the earth plate 14a, the walls 14 made of the earth plate are two H piles spaced apart in parallel with each other at predetermined intervals. After joining the end portion of the earth plate 14a to the rear face of the front flange 11b of 11, and installing the earth plate 14a by installing the second continuous wall 20, the H pile 11 and the earth plate ( It is formed by injecting earth or sand into the space surrounded by the rear part of 14a) or curing by injecting concrete mortar C.

한편, 다른 예의 숏크리트 차수 및 보강벽(30)의 설치 구조를 나타낸 도 2e의 I-I선 단면도인 도 3c을 참조하면, 상기 숏크리트 차수 및 보강벽(30)은, 상호 소정 간격으로 평행하게 이격되어 위치되는 2개의 H파일(11)의 전방 플랜지(11b)에 상호 대칭 형상의 기역자형 격자(32: 와이어 매쉬 설치 부재)를 용접 등으로 접합해서 설치하고, 이 격자(32) 간에 걸쳐서, 예를 들어 와이어 매쉬 보강재(31)를 설치하며, 상기 격자(32)가 설치된 H파일(11)에 대해서 후방부로부터 토류판(14a)을 가설한 후, 제1연속벽체(10)와, H파일(11) 및 토류판(14a)의 후방부로 둘러싸인 공간에 토사 또는 콘크리트 모르타르 C을 주입하여 양생시키고, 전방부로 노출된 상기 와이어 매쉬 보강재(31)에 대해서 숏크리트 S를 타설 및 양생함으로써, 형성된다.
Meanwhile, referring to FIG. 3C, which is a sectional view taken along line II of FIG. 2E, showing the installation structure of the shotcrete order and the reinforcement wall 30 of another example, the shotcrete order and the reinforcement wall 30 are spaced apart from each other in parallel at predetermined intervals. A mutually symmetrical cross-lattice grating 32 (wire mesh mounting member) is attached to the front flange 11b of two H piles 11 to be joined by welding, or the like, for example, between the gratings 32, for example. After installing the wire mesh reinforcing material 31 and installing the earth plate 14a from the rear part with respect to the H pile 11 in which the said grid | lattice 32 was installed, the 1st continuous wall body 10 and the H pile 11 are provided. And by injecting and curing soil or concrete mortar C into the space surrounded by the rear portion of the earth plate 14a, and casting and curing shotcrete S with respect to the wire mesh stiffener 31 exposed to the front portion.

10 - 제1연속벽체, 14 - 토류판,
20 - 제2연속벽체, 30 - 숏크리트 차수 및 보강벽,
31 - 와이어 매쉬 보강재, 32 - 격자.
10-first continuous wall, 14-earth plate,
20-second continuous wall, 30-shotcrete order and reinforcement wall,
31-wire mesh reinforcement, 32-grid.

Claims (8)

복수의 층으로 이루어지는 지반에 토사층을 교란시킨 후 시멘트 모르타르를 주입해서 형성된 소일 시멘트벽인 연속벽체와;
상기 연속벽체의 일측에서 지반에 근입되는 H파일과;
굴착에 의해 노출되는 상기 H파일의 일측에 마련되는 토류판으로 이루어지는 벽을 포함하여 구성되는 소일 시멘트벽 가시설 구조.
A continuous wall which is a small cement wall formed by disturbing the soil layer on a ground composed of a plurality of layers and then injecting cement mortar;
H-filed on the ground from one side of the continuous wall;
Soil cement wall provisional structure comprising a wall made of earth plate provided on one side of the H pile exposed by excavation.
제1항에 있어서,
상기 H파일의 일측에 마련되는 숏크리트 차수 및 보강벽을 더 포함하여 구성되는 것을 특징으로 하는 소일 시멘트벽 가시설 구조.
The method of claim 1,
Soil cement wall provisional structure, characterized in that it further comprises a shotcrete order and reinforcement wall provided on one side of the H pile.
제1항에 있어서,
상기 연속벽체는, 트렌치 커팅(Trench cutting)에 의한 소일 시멘트 공법 또는 오거(Auger)에 의한 소일 시멘트 공법에 의해 형성된 소일 시멘트벽인 것을 특징으로 하는 소일 시멘트벽 가시설 구조.
The method of claim 1,
Said continuous wall is a soil cement wall temporary structure formed by the soil cement method by trench cutting or the soil cement method by Auger.
토사층과, 풍화암층, 및 암반층을 포함하여 구성되는 지반에 시멘트 모르타르를 주입해서 형성되는 소일 시멘트벽인 연속벽체와;
상기 연속벽체의 일측에서 지반에 근입되는 복수의 H파일과;
굴착에 의해 노출되는 상기 H파일의 일측에 마련되는 토류판으로 이루어지는 벽과;
상기 H파일의 일측에 마련되는 숏크리트 차수 및 보강벽을 포함하여 구성되는 것을 특징으로 하는 소일 시멘트벽 가시설 구조.
A continuous wall which is a soil cement wall formed by injecting cement mortar into a ground including a soil layer, a weathered rock layer, and a rock layer;
A plurality of H piles which are embedded in the ground from one side of the continuous wall;
A wall made of an earth plate provided on one side of the H pile exposed by the excavation;
Soil cement wall provisional structure, characterized in that it comprises a shotcrete order and a reinforcement wall provided on one side of the H pile.
제4항에 있어서,
상기 연속벽체는 토사층으로부터 상기 풍화암층까지 근입되고,
상기 H파일은 상기 토사층으로부터 상기 암반층까지 근입되며,
상기 토류판으로 이루어지는 벽은 토사층에서 H파일의 일측에 형성되고,
상기 숏크리트 차수 및 보강벽은 토사층으로부터 풍화암층에 걸쳐서 H파일의 일측에 형성되는 것을 특징으로 하는 소일 시멘트벽 가시설 구조.
5. The method of claim 4,
The continuous wall is incorporated from the soil layer to the weathered rock layer,
The H pile is entered from the soil layer to the rock layer,
The wall of the earth plate is formed on one side of the H pile in the soil layer,
Said shotcrete order and reinforcement wall are formed on one side of the H pile from the soil layer to the weathered rock layer.
복수 층으로 이루어지는 지반에 시멘트 모르타르를 주입해서 소일 시멘트벽인 연속벽체를 형성하는 단계와;
상기 연속벽체의 일측에서 복수의 H파일을 근입하는 단계와;
상기 복수의 H파일의 일측에서 토류판으로 이루어지는 벽을 형성하는 단계와;
상기 H파일의 일측에서 숏크리트 차수 및 보강벽은 형성하는 단계를 포함하여 이루어진 것을 특징으로 하는 소일 시멘트벽 가시설 시공 방법.
Injecting cement mortar into a ground composed of a plurality of layers to form a continuous wall which is a small cement wall;
Accessing a plurality of H piles from one side of the continuous wall;
Forming a wall made of an earth plate on one side of the plurality of H piles;
At one side of the H pile shotcrete order and reinforcement wall is a soil cement wall construction method characterized in that it comprises a step comprising forming.
제6항에 있어서,
상기 소일 시멘트벽인 연속벽체를 형성하는 단계는,
오거를 이용해서 지반을 천공하는 동시에 시멘트 모르타르를 주입하면서 주변 토사와 교반하는 단계와;
오거를 인발하면서 시멘트 모르타르와 주변 토사를 교반하는 단계 및;
양생 단계를 포함하여 구성되는 것을 특징으로 하는 소일 시멘트벽 가시설 시공 방법.
The method according to claim 6,
Forming the continuous wall which is the small cement wall,
Augmenting the ground using an auger and stirring cement with the surrounding soil while injecting cement mortar;
Stirring the cement mortar and the surrounding soil while drawing the auger;
Soil cement wall temporary construction method comprising a curing step.
제6항에 있어서,
상기 소일 시멘트벽인 연속벽체를 형성하는 단계는,
커터기를 이용하여 지반에 트렌치를 형성하는 동시에 시멘트 모르타르를 주입하면서 주변 토사와 교반하는 단계 및;
양생 단계를 포함하여 구성되는 것을 특징으로 하는 소일 시멘트벽 가시설 시공 방법.
The method according to claim 6,
Forming the continuous wall which is the small cement wall,
Forming trenches in the ground by using a cutter and simultaneously stirring with surrounding soil while injecting cement mortar;
Soil cement wall temporary construction method comprising a curing step.
KR1020110044464A 2011-05-12 2011-05-12 Soil cement wall structure and method for constructing thereof Expired - Fee Related KR101324231B1 (en)

Priority Applications (1)

Application Number Priority Date Filing Date Title
KR1020110044464A KR101324231B1 (en) 2011-05-12 2011-05-12 Soil cement wall structure and method for constructing thereof

Applications Claiming Priority (1)

Application Number Priority Date Filing Date Title
KR1020110044464A KR101324231B1 (en) 2011-05-12 2011-05-12 Soil cement wall structure and method for constructing thereof

Publications (2)

Publication Number Publication Date
KR20120126573A true KR20120126573A (en) 2012-11-21
KR101324231B1 KR101324231B1 (en) 2013-11-01

Family

ID=47511879

Family Applications (1)

Application Number Title Priority Date Filing Date
KR1020110044464A Expired - Fee Related KR101324231B1 (en) 2011-05-12 2011-05-12 Soil cement wall structure and method for constructing thereof

Country Status (1)

Country Link
KR (1) KR101324231B1 (en)

Cited By (4)

* Cited by examiner, † Cited by third party
Publication number Priority date Publication date Assignee Title
CN103669367A (en) * 2013-11-26 2014-03-26 上海城建市政工程(集团)有限公司 Method for forecast evaluation of peripheral disturbance influence of foundation pit excavation
CN105274999A (en) * 2015-09-01 2016-01-27 东通岩土科技(杭州)有限公司 Construction method of trench type cutting cement soil continuous wall
KR102652376B1 (en) * 2023-02-27 2024-03-29 와이아이건설(주) Method for forming retaining wall using impermeable wall and earth anchor with improved support strength
EP4477804A1 (en) * 2023-06-15 2024-12-18 BAUER Spezialtiefbau GmbH Method for forming a retaining wall in the floor and retaining wall

Families Citing this family (2)

* Cited by examiner, † Cited by third party
Publication number Priority date Publication date Assignee Title
KR101474515B1 (en) * 2014-05-30 2014-12-22 (주)한국에어로테크 Earth retaining wall using support and panel, method for constructing the same
KR101542078B1 (en) * 2014-09-03 2015-08-06 유구이앤씨(주) Soil retaining wall structure and Method for constructinging the same

Family Cites Families (2)

* Cited by examiner, † Cited by third party
Publication number Priority date Publication date Assignee Title
KR970002571B1 (en) * 1994-02-15 1997-03-06 이창남 Process for defensing earth with the arch shape blocking pile in basement construction
KR100415809B1 (en) * 2001-09-17 2004-01-24 이순호 precast pile for braced wall and the method using the same

Cited By (5)

* Cited by examiner, † Cited by third party
Publication number Priority date Publication date Assignee Title
CN103669367A (en) * 2013-11-26 2014-03-26 上海城建市政工程(集团)有限公司 Method for forecast evaluation of peripheral disturbance influence of foundation pit excavation
CN103669367B (en) * 2013-11-26 2016-04-06 上海城建市政工程(集团)有限公司 A kind of method for forecast evaluation of peripheral disturbance influence of foundation pit excavation
CN105274999A (en) * 2015-09-01 2016-01-27 东通岩土科技(杭州)有限公司 Construction method of trench type cutting cement soil continuous wall
KR102652376B1 (en) * 2023-02-27 2024-03-29 와이아이건설(주) Method for forming retaining wall using impermeable wall and earth anchor with improved support strength
EP4477804A1 (en) * 2023-06-15 2024-12-18 BAUER Spezialtiefbau GmbH Method for forming a retaining wall in the floor and retaining wall

Also Published As

Publication number Publication date
KR101324231B1 (en) 2013-11-01

Similar Documents

Publication Publication Date Title
KR101331261B1 (en) Underground prefabricated precast concrete rainwater recycling facility using precast concrete continuous wall in strut structure or earth anchor and construction method of the same
KR101173045B1 (en) Earth retaining-cum-retaining wall, and construction method thereof
KR102159832B1 (en) Construction method of basic construction of buildings
KR102009077B1 (en) Earth retaining wall construction method using castinplace concrete pile of impermeable peristyle type
KR101324231B1 (en) Soil cement wall structure and method for constructing thereof
KR20140055639A (en) A execution method of architecture beam
KR101041274B1 (en) Synthetic Grouting Fixture Structure and Construction Method
KR100965795B1 (en) Structure of composite type steel temporary construction and method for constructing thereof
JP6186267B2 (en) How to build an underground tunnel
JP2017210787A (en) Seismic structure of open-cut tunnel
KR20110096339A (en) Construction method of basement structure of building using soil wall composed of PH pile
KR101296857B1 (en) Underground structure having slab beam with enhanced bearing power against earth pressure and construction methods of the same
JP2008231816A (en) Pile foundation structure construction method
JP7232714B2 (en) how to build a foundation
JP2000352296A (en) Method o constructing passage just under underground structure
JP7115923B2 (en) Foundation structure reinforcement method and foundation structure reinforcement structure
KR102021496B1 (en) Retaining wall construction method and retaining wall structure by the method
JP5480744B2 (en) Foundation for structure and its construction method
KR102699128B1 (en) Construction method for permanent underground wall used as earth retaining wall having interlocking structure and permanent underground wall used as earth retaining wall constructed thereby
KR102426192B1 (en) File fof retaining wall and construction method using file
KR20190012368A (en) Smallcaliber composite pile wall using small drilling rig at adjacent building proximity section and construction method of the same
KR101021913B1 (en) Order temporary construction method for earthquake construction
JP2021134522A (en) Underground structure construction method
KR101219451B1 (en) Concrete structure and construction method for the same, constructing method of underground wall as a retaining structural wall used in the same
JP5480745B2 (en) Reinforcement method for existing foundations for structures

Legal Events

Date Code Title Description
A201 Request for examination
PA0109 Patent application

St.27 status event code: A-0-1-A10-A12-nap-PA0109

PA0201 Request for examination

St.27 status event code: A-1-2-D10-D11-exm-PA0201

A302 Request for accelerated examination
PA0302 Request for accelerated examination

St.27 status event code: A-1-2-D10-D17-exm-PA0302

St.27 status event code: A-1-2-D10-D16-exm-PA0302

D13-X000 Search requested

St.27 status event code: A-1-2-D10-D13-srh-X000

D14-X000 Search report completed

St.27 status event code: A-1-2-D10-D14-srh-X000

E902 Notification of reason for refusal
PE0902 Notice of grounds for rejection

St.27 status event code: A-1-2-D10-D21-exm-PE0902

AMND Amendment
E13-X000 Pre-grant limitation requested

St.27 status event code: A-2-3-E10-E13-lim-X000

P11-X000 Amendment of application requested

St.27 status event code: A-2-2-P10-P11-nap-X000

P13-X000 Application amended

St.27 status event code: A-2-2-P10-P13-nap-X000

E90F Notification of reason for final refusal
PE0902 Notice of grounds for rejection

St.27 status event code: A-1-2-D10-D21-exm-PE0902

AMND Amendment
P11-X000 Amendment of application requested

St.27 status event code: A-2-2-P10-P11-nap-X000

PG1501 Laying open of application

St.27 status event code: A-1-1-Q10-Q12-nap-PG1501

E601 Decision to refuse application
E801 Decision on dismissal of amendment
PE0601 Decision on rejection of patent

St.27 status event code: N-2-6-B10-B15-exm-PE0601

PE0801 Dismissal of amendment

St.27 status event code: A-2-2-P10-P12-nap-PE0801

AMND Amendment
P11-X000 Amendment of application requested

St.27 status event code: A-2-2-P10-P11-nap-X000

P13-X000 Application amended

St.27 status event code: A-2-2-P10-P13-nap-X000

PX0901 Re-examination

St.27 status event code: A-2-3-E10-E12-rex-PX0901

PX0701 Decision of registration after re-examination

St.27 status event code: A-3-4-F10-F13-rex-PX0701

X701 Decision to grant (after re-examination)
GRNT Written decision to grant
PR0701 Registration of establishment

St.27 status event code: A-2-4-F10-F11-exm-PR0701

PR1002 Payment of registration fee

St.27 status event code: A-2-2-U10-U11-oth-PR1002

Fee payment year number: 1

PG1601 Publication of registration

St.27 status event code: A-4-4-Q10-Q13-nap-PG1601

P22-X000 Classification modified

St.27 status event code: A-4-4-P10-P22-nap-X000

FPAY Annual fee payment

Payment date: 20161024

Year of fee payment: 4

PR1001 Payment of annual fee

St.27 status event code: A-4-4-U10-U11-oth-PR1001

Fee payment year number: 4

FPAY Annual fee payment

Payment date: 20171025

Year of fee payment: 5

PR1001 Payment of annual fee

St.27 status event code: A-4-4-U10-U11-oth-PR1001

Fee payment year number: 5

FPAY Annual fee payment

Payment date: 20181023

Year of fee payment: 6

PR1001 Payment of annual fee

St.27 status event code: A-4-4-U10-U11-oth-PR1001

Fee payment year number: 6

P22-X000 Classification modified

St.27 status event code: A-4-4-P10-P22-nap-X000

FPAY Annual fee payment

Payment date: 20191017

Year of fee payment: 7

PR1001 Payment of annual fee

St.27 status event code: A-4-4-U10-U11-oth-PR1001

Fee payment year number: 7

PR1001 Payment of annual fee

St.27 status event code: A-4-4-U10-U11-oth-PR1001

Fee payment year number: 8

PR1001 Payment of annual fee

St.27 status event code: A-4-4-U10-U11-oth-PR1001

Fee payment year number: 9

PC1903 Unpaid annual fee

St.27 status event code: A-4-4-U10-U13-oth-PC1903

Not in force date: 20221026

Payment event data comment text: Termination Category : DEFAULT_OF_REGISTRATION_FEE

PC1903 Unpaid annual fee

St.27 status event code: N-4-6-H10-H13-oth-PC1903

Ip right cessation event data comment text: Termination Category : DEFAULT_OF_REGISTRATION_FEE

Not in force date: 20221026