KR20120126326A - 무릎 관절의 내?외반 교정을 위한 무릎 보조기 - Google Patents

무릎 관절의 내?외반 교정을 위한 무릎 보조기 Download PDF

Info

Publication number
KR20120126326A
KR20120126326A KR1020110044029A KR20110044029A KR20120126326A KR 20120126326 A KR20120126326 A KR 20120126326A KR 1020110044029 A KR1020110044029 A KR 1020110044029A KR 20110044029 A KR20110044029 A KR 20110044029A KR 20120126326 A KR20120126326 A KR 20120126326A
Authority
KR
South Korea
Prior art keywords
knee
valgus
femoral
key
cuff
Prior art date
Legal status (The legal status is an assumption and is not a legal conclusion. Google has not performed a legal analysis and makes no representation as to the accuracy of the status listed.)
Ceased
Application number
KR1020110044029A
Other languages
English (en)
Inventor
강길윤
허훈구
오민우
노성환
하병욱
Original Assignee
하병욱
Priority date (The priority date is an assumption and is not a legal conclusion. Google has not performed a legal analysis and makes no representation as to the accuracy of the date listed.)
Filing date
Publication date
Application filed by 하병욱 filed Critical 하병욱
Priority to KR1020110044029A priority Critical patent/KR20120126326A/ko
Publication of KR20120126326A publication Critical patent/KR20120126326A/ko
Ceased legal-status Critical Current

Links

Images

Classifications

    • AHUMAN NECESSITIES
    • A61MEDICAL OR VETERINARY SCIENCE; HYGIENE
    • A61FFILTERS IMPLANTABLE INTO BLOOD VESSELS; PROSTHESES; DEVICES PROVIDING PATENCY TO, OR PREVENTING COLLAPSING OF, TUBULAR STRUCTURES OF THE BODY, e.g. STENTS; ORTHOPAEDIC, NURSING OR CONTRACEPTIVE DEVICES; FOMENTATION; TREATMENT OR PROTECTION OF EYES OR EARS; BANDAGES, DRESSINGS OR ABSORBENT PADS; FIRST-AID KITS
    • A61F5/00Orthopaedic methods or devices for non-surgical treatment of bones or joints; Nursing devices ; Anti-rape devices
    • A61F5/01Orthopaedic devices, e.g. long-term immobilising or pressure directing devices for treating broken or deformed bones such as splints, casts or braces
    • A61F5/0102Orthopaedic devices, e.g. long-term immobilising or pressure directing devices for treating broken or deformed bones such as splints, casts or braces specially adapted for correcting deformities of the limbs or for supporting them; Ortheses, e.g. with articulations
    • A61F5/0123Orthopaedic devices, e.g. long-term immobilising or pressure directing devices for treating broken or deformed bones such as splints, casts or braces specially adapted for correcting deformities of the limbs or for supporting them; Ortheses, e.g. with articulations for the knees
    • AHUMAN NECESSITIES
    • A61MEDICAL OR VETERINARY SCIENCE; HYGIENE
    • A61FFILTERS IMPLANTABLE INTO BLOOD VESSELS; PROSTHESES; DEVICES PROVIDING PATENCY TO, OR PREVENTING COLLAPSING OF, TUBULAR STRUCTURES OF THE BODY, e.g. STENTS; ORTHOPAEDIC, NURSING OR CONTRACEPTIVE DEVICES; FOMENTATION; TREATMENT OR PROTECTION OF EYES OR EARS; BANDAGES, DRESSINGS OR ABSORBENT PADS; FIRST-AID KITS
    • A61F5/00Orthopaedic methods or devices for non-surgical treatment of bones or joints; Nursing devices ; Anti-rape devices
    • A61F5/01Orthopaedic devices, e.g. long-term immobilising or pressure directing devices for treating broken or deformed bones such as splints, casts or braces
    • A61F5/0102Orthopaedic devices, e.g. long-term immobilising or pressure directing devices for treating broken or deformed bones such as splints, casts or braces specially adapted for correcting deformities of the limbs or for supporting them; Ortheses, e.g. with articulations
    • A61F2005/0132Additional features of the articulation
    • A61F2005/0134Additional features of the articulation with two orthogonal pivots
    • AHUMAN NECESSITIES
    • A61MEDICAL OR VETERINARY SCIENCE; HYGIENE
    • A61FFILTERS IMPLANTABLE INTO BLOOD VESSELS; PROSTHESES; DEVICES PROVIDING PATENCY TO, OR PREVENTING COLLAPSING OF, TUBULAR STRUCTURES OF THE BODY, e.g. STENTS; ORTHOPAEDIC, NURSING OR CONTRACEPTIVE DEVICES; FOMENTATION; TREATMENT OR PROTECTION OF EYES OR EARS; BANDAGES, DRESSINGS OR ABSORBENT PADS; FIRST-AID KITS
    • A61F5/00Orthopaedic methods or devices for non-surgical treatment of bones or joints; Nursing devices ; Anti-rape devices
    • A61F5/01Orthopaedic devices, e.g. long-term immobilising or pressure directing devices for treating broken or deformed bones such as splints, casts or braces
    • A61F5/0102Orthopaedic devices, e.g. long-term immobilising or pressure directing devices for treating broken or deformed bones such as splints, casts or braces specially adapted for correcting deformities of the limbs or for supporting them; Ortheses, e.g. with articulations
    • A61F2005/0132Additional features of the articulation
    • A61F2005/0155Additional features of the articulation with actuating means

Landscapes

  • Health & Medical Sciences (AREA)
  • Nursing (AREA)
  • Orthopedic Medicine & Surgery (AREA)
  • Engineering & Computer Science (AREA)
  • Biomedical Technology (AREA)
  • Heart & Thoracic Surgery (AREA)
  • Vascular Medicine (AREA)
  • Life Sciences & Earth Sciences (AREA)
  • Animal Behavior & Ethology (AREA)
  • General Health & Medical Sciences (AREA)
  • Public Health (AREA)
  • Veterinary Medicine (AREA)
  • Orthopedics, Nursing, And Contraception (AREA)

Abstract

본 발명은 노인성 질환의 하나인 퇴행성 관절염 등으로 인하여 무릎 부위가 내측 또는 외측으로 변형하여 휘게 되는 내반 또는 외반을 외과적 수술 없이 편리하게 교정 및 치료하기 위한 것이다.
이를 위하여 본 발명에서는, 무릎의 내반 또는 외반을 교정 및 치료하기 위한 것으로서, 판면의 상?하에 한 쌍으로 힌지축(111a,111b)이 마련되는 힌지 플레이트(110); 일 단이 상기 힌지축(111a,111b)에 각각 연결되어 무릎 관절의 운동 방향으로 회동하는 상?하부 연결바(112,113); 일단이 상기 상?하부 연결바(112,113)의 타 단에 각도 조절부(130)에 의하여 연결되어 상기 상?하부 연결바(112,113)의 회동 방향과 교차하는 방향으로 회동하는 대퇴커프 지지대(121) 및 경골커프 지지대(122); 및 상기 대퇴커프 지지대(121)의 타 단이 고정되는 것으로서 대퇴부에 장착되는 대퇴커프(101)와 상기 경골커프 지지대(122)의 타 단이 고정되는 것으로서 경골부에 장착되는 경골커프(102); 를 포함하여 이루어지는 것을 특징으로 하는 무릎 관절의 내?외반 교정을 위한 무릎 보조기를 제안한다.

Description

무릎 관절의 내?외반 교정을 위한 무릎 보조기{A Knee brace assembly for correcting varus and valgus of knee}
본 발명은 무릎의 내반 또는 외반을 교정하여 치료하기 위한 무릎 보조기에 관한 것으로서, 종래의 무릎 보조기가 무릎 관절의 꺾이는 방향으로의 굴적각을 조절함으로써 무릎 부상 환자나 관절염을 앓고 있는 사용자의 무릎에 미치는 통증을 완화하고 보행을 보조하는 것에서 더 나아가 다리의 양측 슬관절이 내측 또는 외측으로 휜 내반슬 또는 외반슬을 교정할 수 있도록 하며, 환자의 교정 상태에 따라 교정 각도를 수시로 편리하게 조절할 수 있도록 된 무릎 보조기에 관한 것이다.
현대 사회는 만성병 환자의 증가 및 고령자 수의 증가로 인한 활동 장애인의 급증, 산업재해 및 교통사고 등으로 인한 장애인 증가로 재활(rehabilation) 및보조기구(orthosis)의 중요성이 대두되고 있다.
일반적으로 퇴행성 관절염은 관절을 보호하고 있는 연골의 점진적인 손상이나 퇴행성 변화로 인하여 관절을 이루는 뼈와 인대 등에 손상이 일어나서 염증과 통증이 생기는 질환으로, 특히 상체를 지탱하는 무릎의 경우 그 정도가 심하고, 무릎에 관절염이 발생하여 심해지는 경우 무릎이 내측 또는 외측으로 휘어지는 내반또는 외반을 초래하게 된다.
도1은 본 발명이 적용되는 무릎 내반의 일 예를 보여주는 도면이다. 이러한 내반(O자형 다리) 또는 외반(X자형 다리)의 경우 보행이 어렵게 되고, 무릎의 운동이 제한되는 고통을 수반하게 되며, 현재에는 주로 외과적 수술을 통하여 치료 및 교정을 하고 있다.
종래의 무릎 보조기의 경우 대퇴부에 착용하는 상부 지지대와 정강이에 착용하는 하부 지지대를 각도 조절 부재로 연결한 후 이를 연골이 마모되거나 손상된 다리에 착용하게 되면 무릎의 관절 운동 각도가 제한되어 통증을 완화시켜 줄 뿐 아니라 상체의 하중이 상기 상부 지지대와 각조 조절 부재를 통하여 지지대와 정강이로 분산되어 무릎을 자극하지 않게 되는 역할을 한다.
도7 및 도8은 종래의 무릎 보조기들의 예를 나타낸 도면인데, 도7은 공개특허공보 제10-2007-0059539호 "무릎 관절염 질환 치료보조와 통증완화를 위한 보조기구"에 개시된 것이고, 도8은 공개특허공보 특2001-0082211호 "시상 조절되는 무릎 보조기"에 개시된 것이다.
이러한 종래의 무릎 보조기들은 단순히 보행 중에 무릎에 가해지는 통증을 완화시킬 수 있도록 무릎의 운동각도를 제한하고 하중을 지지하는 역할을 함에 그치고 퇴행성 관절염이 진행하여 무릎 부위가 휘는 환자의 다리에는 적용할 수 없다는 문제가 있다.
따라서, 선천적, 후천적 또는 노인성 질환의 일종으로 무릎이 내측 또는 외측으로 휘는 내반 또는 외반을 외과적 수술 이외의 방법으로 교정 및 치료할 수 있는 무릎 보조기의 개발이 요청되었다.
공개특허공보 특2001-0082211호 "시상 조절되는 무릎 보조기" 공개특허공보 제10-2007-0059539호 "무릎 관절염 질환 치료보조와 통증완화를 위한 보조기구" 공개특허공보 제10-2010-0005505호 "복합재료 무릎 보조기" 공개특허공보 제10-2010-0097890호 "냉온 가압치료 무릎 보조기"
본 발명은 무릎의 내반 또는 외반을 외과적 수술 없이 교정 또는 치료할 수 있으며, 무릎의 내반 또는 외반의 정도나 교정 상태에 따라 수시로 내반 또는 외반의 교정각도를 편리하게 조절할 수 있도록 하여 치료효과를 극대화하는 것을 주요한 목적으로 한다.
전술한 목적의 달성을 위하여 본 발명에서는, 무릎의 내반 또는 외반을 교정 및 치료하기 위한 것으로서, 판면의 상?하에 한 쌍으로 힌지축(111a,111b)이 마련되는 힌지 플레이트(110); 일 단이 상기 힌지축(111a,111b)에 각각 연결되어 무릎 관절의 운동 방향으로 회동하는 상?하부 연결바(112,113); 일 단이 상기 상?하부 연결바(112,113)의 타 단에 각도 조절부(130)에 의하여 연결되어 상기 상?하부 연결바(112,113)의 회동 방향과 교차하는 방향으로 회동하는 대퇴커프 지지대(121) 및 경골커프 지지대(122); 및 상기 대퇴커프 지지대(121)의 타 단이 고정되는 것으로서 대퇴부에 장착되는 대퇴커프(101)와 상기 경골커프 지지대(122)의 타 단이 고정되는 것으로서 경골부에 장착되는 경골커프(102); 를 포함하여 이루어지는 것을 특징으로 하는 무릎 관절의 내?외반 교정을 위한 무릎 보조기를 제시한다.
여기서, 상기 대퇴커프 지지대(131)의 일 단에는 다수의 기어이(131a)를 가지는 원형의 기어부(131)가 형성되고, 상기 기어부의 기어이에는 상하로 승강하는 기어키(132)가 결합함으로써 내?외반의 각도가 조절 및 고정되도록 하는 것이 바람직하다.
이때, 상기 기어키(132)는 키하우징(135) 내에서 승강하는 키몸체(132b)와 상기 키몸체의 상단에 마련되어 상기 기어이에 치합하는 키포크(132a)로 이루어지고, 각도조절버튼(133)의 누름에 의하여 키몸체가 키 하우징(135)의 내부에서 상하로 승강하도록 구성할 수 있다.
본 발명에 의하면 선천적 또는 퇴행성 무릎 관절염의 생체 기능 이상인 내반 또는 외반의 무릎 변형을 방지하고 외과적 수술 없이 교정 또는 치료할 수 있게 된다. 특히 본 발명의 무릎 보조기는 과도한 내반력과 내반변형, 외반력과 외반변형을 3점압의 원리에 의한 인체 역학적 설계를 통하여 교정을 극대화할 수 있을 뿐만 아니라 관절의 내측에 편중되는 체중의 부하를 지지하고 관절의 외측으로 걸리는 하중을 분산시켜 병변의 진행과 통증을 완화하는 기능도 아울러 수행할 수 있게 된다.
또한 본 발명의 무릎 보조기는 무릎 관절이 꺾이는 운동방향과 직각 방향으로 대퇴부와 경골부를 압박하는 각도를 환자의 교정 상태에 따라 수시로 적절하게 조절할 수 있으므로 환자의 상태에 맞는 최적의 치료효과를 거둘 수 있게 된다.
도1은 본 발명이 적용되는 무릎 내반의 일 예를 보여주는 도면.
도2는 본 발명의 무릎 보조기의 개략적인 정면도.
도3은 본 발명의 무릎 보조기의 개략적인 측면도.
도4는 본 발명의 각도 조절부의 상부 구성을 나타낸 개략도.
도5는 본 발명의 각도 조절부의 하부 구성을 나타낸 개략도.
도6은 본 발명의 착용 상태를 나타낸 사용 상태도.
도7 및 도8은 종래의 무릎 보조기들의 예를 나타낸 도면.
이하에서는 첨부한 도면을 참조하여 본 발명의 구성과 작동원리에 관하여 상술한다.
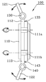
도2는 본 발명의 무릎 보조기의 개략적인 정면도이고, 도3은 본 발명의 무릎 보조기의 개략적인 측면도이다. 도2는 무릎 보조기를 착용한 환자의 정면에서 바라본 모습을 나타낸 것이고, 도3은 환자의 측방에서 바라본 모습을 나타낸 것이다.
본 발명의 무릎 보조기(100)는 크게 3점 가압 포인트의 중심인 힌지 플레이트(110), 상?하부 힌지축(111a,111b), 상?하부 연결바(112,113), 대퇴커프 지지대(121), 경골커프 지지대(122), 대퇴커프(101) 및 경골커프(102)로 이루어진다.
상기 힌지 플레이트(110)는 환자의 무릎 슬개골 부위에 장착되는 것으로서 한 쌍의 판상체의 상하에 상?하부 힌지축(111a,111b)이 회동 가능하게 형성되는 것이다.
상기 상부 힌지축(111a)에는 상부 연결바(112)의 하단이 연결되며, 상기 하부 힌지축(111b)에는 하부 연결바(113)의 상단이 연결된다. 따라서 상기 상부 연결바(112)와 하부 연결바(113)는 각각 상부 힌지축(111a)과 하부 힌지축(111b)에 의하여 회동할 수 있게 된다. 이때, 상기 상?하부 연결바(112,113)의 회동 방향은 무릎이 통상적으로 구부려지거나 펴지는 방향과 일치한다. 즉, 무릎 관절이 운동하는 방향과 동일한 방향으로 회동하게 되는 것이다.
상기 상부 연결바(112)의 상단에는 대퇴커프 지지대(121)가 중간의 대퇴부 각도조절부(130)에 의하여 회동 가능하게 연결된다. 상기 대퇴커프 지지대(121)는 상기 대퇴부 각도조절부(130)에 의하여 상부 연결바(112)의 회동 방향과 교차하는 방향으로 회동한다. 즉, 대퇴커프 지지대(121)의 회동 방향은 내반 또는 외반을 교정하기 위하여 무릎의 측방 내측 또는 외측에서 가압력을 가할 수 있도록 회동하는데, 무릎 관절이 통상적으로 관절 운동하는 방향과 직교하는 방향으로 회동한다.
상기 경골커프 지지대(122)는 상기 태퇴커프 지지대(121)와 유사한 구조를 가지는데, 하부 연결바(113)의 하단에 경골부 각도조절부(140)에 의하여 회동 가능하게 연결된다. 상기 경골커프 지지대(122)의 회동 방향은 상기 대퇴커프 지지대(121)의 회동 방향과 동일하다.
상기 대퇴커프 지지대(121)의 상단은 대퇴부를 감싸 지지하기 위한 대퇴커프(101)에 볼트나 나사와 같은 고정수단(101a)에 의하여 결합하며, 상기 경골커프 지지대(122)의 하단은 상기 경골부를 감싸 지지하기 위한 경골커프(102)에 고정수단(102a)에 의하여 결합한다.
상기 대퇴커프(101)와 경골커프(102)의 내측에는 도시한 바와 같이 대퇴부나 경골부가 딱딱한 부위에 직접 닿는 것을 피하고 착용감이나 착용 안정성을 배가하기 위하여 연질 수지 재질의 보호패드(151,152)를 장착한다.
도4는 본 발명의 각도 조절부의 상부 구성을 나타낸 개략도이고, 도5는 본 발명의 각도 조절부의 하부 구성을 나타낸 개략도이다.
본 발명의 각도 조절부는 대퇴부 각도조절부(130)와 경골부 각도조절부(140)로 구분되는데, 양자는 그 구조가 같으므로 여기서는 대퇴부 각도조절부(130)의 구성에 관하여 기술하고 이를 경골부 각도조절부(140)에 그대로 적용하는 것으로 한다.
대퇴부 각도조절부(130)는 상기 대퇴커프 지지대(121)의 하단에 형성되는 기어부(131)와 상기 기어부(131)에 치합하는 기어키(132)로 이루어진다.
상기 기어부(131)는 원주단에 다수의 기어이(131a)가 원주방향을 따라 연속하여 형성되는 것으로서 상부 연결바(112)에 회동축(131b)에 의하여 회동 가능하게 결합한다.
상기 기어부(131)의 기어이(131a)에는 상기 기어이(131a)에 치합하는 형상의 키포크(132a)를 가지는 기어키(132)가 치합한다.
상기 기어키(132)는 도5에 도시한 바와 같이 각도조절버튼(133)의 누름에 의하여 상단에 키포크(132a)가 형성되는 키몸체(132b)가 키 하우징(135) 내에서 상하로 승강하도록 구성할 수 있다. 즉, 사용자가 각도조절버튼(133)을 누르면 키몸체(132b)의 슬라이드 돌기(132c)가 각도조절버튼(133)의 측면에 경사지게 형성되는 슬라이드공(133a)에 의하여 안내되어 운동함으로써 키몸체(132b)가 상하로 운동하도록 구성할 수 있다. 여기서 미설명부호 134는 스프링을 나타낸다.
상기 키하우징(135)은 상부 연결바(112)의 내부에 매설되거나 고정 부착하여 설치될 수 있으며, 이러한 원리는 경골부 각도절부(140)의 키하우징의 경우에도 마찬가지이다.
도6은 본 발명의 착용 상태를 나타낸 사용 상태도인데, 착용자의 무릎 상태가 내반 또는 외반인 경우 본 발명의 무릎 보조기(100)를 도시한 바와 같이 양 무릎 사이의 내측 또는 양 무릎의 바깥쪽인 외측에 장착한다.
일 예로 환자의 무릎 상태가 O자형 다리인 내반인 경우 본 발명의 무릎 보조기(100)를 도시한 바와 같이 다리의 내측(오른쪽 다리를 기준으로)에 착용한 후 대퇴커브(101)와 경골커프(102)의 스트랩이나 밴드(미도시)를 조여 대퇴부와 경골부에 밀착하도록 장착한다.
이후 대퇴커프 지지대(121)와 경골커프 지지대(122)의 각도를 조절하여 휜 상태의 다리보다 작은 각도로 하여 고정한다. 이때 각도조절버튼(133,143)을 눌러 환자가 고통을 느끼지 않는 범위의 각도를 탐색한 후 적절한 위치에서 각도조절버튼(133,143)을 놓으면 기어키(132)에 의하여 각도가 고정된다.
이후 환자의 휜 다리 상태가 어느 정도 교정이 되면 대퇴커프 지지대(121)와 경골커프 지지대(122)의 각도를 조금씩 조절하는 동작을 반복한다.
이러한 과정을 반복하여 실시한 후 이상적으로는 도6에 도시한 바와 같이 대퇴커프 지지대(121)와 경골커프 지지대(122)가 상하로 직립하는 단계가 되면 교정이 완벽하게 수행되는 것이다.
이상으로 본 발명의 기술적 사상에 관하여 바람직한 실시예를 기준으로 설명하였으며, 본 발명의 기술적 범위 내지는 보호범위가 이에 한정되는 것으로 해석되어서는 아니될 것이며, 본 발명의 요지를 그대로 채용하는 한 본 발명의 다양한 변형예들은 모두 본 발명의 기술적 범위에 속한다고 할 것이다.
본 발명은 종래 퇴행성 관절염으로 인하여 보행시에 무릎 관절에 가해지는 통증을 완화하고자 사용자의 하중을 지지하는 역할 외에 선천적 또는 후천적 원인에 의하여 발생하는 무릎의 내반 또는 외반을 외과적 수술 없이 교정할 수 있고 그 교정 상태에 따라 수시로 교정 각도를 조절할 수 있도록 된 점에 특색이 있다. 따라서, 사고 장애나 퇴행성 관절염에 의한 무릎 변형 등에 따른 외반이나 내반을 치료하는 의료 보조기로 활용할 필요가 있다고 본다.
100: 무릎 보조기 101: 대퇴커프
102: 경골커프 110: 힌지 플레이트
111a,111b: 힌지축 112: 상부 연결바
113: 하부 연결바 121: 대퇴커프 지지대
122: 경골커프 지지대 130: 대퇴부 각도조절부
131: 기어부 131a: 기어이
131b: 회동축 132: 기어키
132a: 키포크 132b: 키몸체
132c: 슬라이드 돌기 133: 각도조절버튼
133a: 슬라이드공 134: 스프링
135: 키하우징 140: 경골부 각도조절부

Claims (3)

  1. 무릎의 내반 또는 외반을 교정 및 치료하기 위한 것으로서,
    판면의 상?하에 한 쌍으로 힌지축(111a,111b)이 마련되는 힌지 플레이트(110);
    일 단이 상기 힌지축(111a,111b)에 각각 연결되어 무릎 관절의 운동 방향으로 회동하는 상?하부 연결바(112,113);
    일 단이 상기 상?하부 연결바(112,113)의 타 단에 각도 조절부(130)에 의하여 연결되어 상기 상?하부 연결바(112,113)의 회동 방향과 교차하는 방향으로 회동하는 대퇴커프 지지대(121) 및 경골커프 지지대(122); 및
    상기 대퇴커프 지지대(121)의 타 단이 고정되는 것으로서 대퇴부에 장착되는 대퇴커프(101)와 상기 경골커프 지지대(122)의 타 단이 고정되는 것으로서 경골부에 장착되는 경골커프(102);
    를 포함하여 이루어지는 것을 특징으로 하는 무릎 관절의 내?외반 교정을 위한 무릎 보조기.
  2. 제1항에 있어서,
    상기 대퇴커프 지지대(121)의 일 단에는 다수의 기어이(131a)를 가지는 원형의 기어부(131)가 형성되고, 상기 기어부의 기어이에는 상하로 승강하는 기어키(132)가 결합함으로써 내?외반의 각도가 조절 및 고정되는 것을 특징으로 하는 무릎 관절의 내?외반 교정을 위한 무릎 보조기.
  3. 제1항 또는 제2항에 있어서,
    상기 기어키(132)는 키하우징(135) 내에서 승강하는 키몸체(132b)와 상기 키몸체의 상단에 마련되어 상기 기어이(131a)에 치합하는 키포크(132a)로 이루어지고, 각도조절버튼(133)의 누름에 의하여 키몸체가 키 하우징(135)의 내부에서 상하로 승강하도록 구성되는 것을 특징으로 하는 무릎 관절의 내?외반 교정을 위한 무릎 보조기.
KR1020110044029A 2011-05-11 2011-05-11 무릎 관절의 내?외반 교정을 위한 무릎 보조기 Ceased KR20120126326A (ko)

Priority Applications (1)

Application Number Priority Date Filing Date Title
KR1020110044029A KR20120126326A (ko) 2011-05-11 2011-05-11 무릎 관절의 내?외반 교정을 위한 무릎 보조기

Applications Claiming Priority (1)

Application Number Priority Date Filing Date Title
KR1020110044029A KR20120126326A (ko) 2011-05-11 2011-05-11 무릎 관절의 내?외반 교정을 위한 무릎 보조기

Publications (1)

Publication Number Publication Date
KR20120126326A true KR20120126326A (ko) 2012-11-21

Family

ID=47511679

Family Applications (1)

Application Number Title Priority Date Filing Date
KR1020110044029A Ceased KR20120126326A (ko) 2011-05-11 2011-05-11 무릎 관절의 내?외반 교정을 위한 무릎 보조기

Country Status (1)

Country Link
KR (1) KR20120126326A (ko)

Cited By (7)

* Cited by examiner, † Cited by third party
Publication number Priority date Publication date Assignee Title
KR101495565B1 (ko) * 2014-03-17 2015-02-25 신종호 무릎질환용 통증완화 보조기구
KR101651509B1 (ko) * 2015-03-04 2016-08-26 (주)티에이치케이컴퍼니 무릎 통증 완화 장치
KR101660038B1 (ko) * 2015-04-02 2016-09-26 (주)티에이치케이컴퍼니 무릎 통증 완화 장치
CN110420083A (zh) * 2019-07-23 2019-11-08 徐州医科大学 尸体解剖实验中肢体关节屈曲挛缩畸形的矫正器
CN111281753A (zh) * 2018-12-10 2020-06-16 三星电子株式会社 运动辅助设备
CN114305823A (zh) * 2021-12-21 2022-04-12 董继忠 一种骨科用腿部矫形器
CN114869557A (zh) * 2022-05-19 2022-08-09 刘德志 一种腿部矫正装置

Cited By (9)

* Cited by examiner, † Cited by third party
Publication number Priority date Publication date Assignee Title
KR101495565B1 (ko) * 2014-03-17 2015-02-25 신종호 무릎질환용 통증완화 보조기구
KR101651509B1 (ko) * 2015-03-04 2016-08-26 (주)티에이치케이컴퍼니 무릎 통증 완화 장치
KR101660038B1 (ko) * 2015-04-02 2016-09-26 (주)티에이치케이컴퍼니 무릎 통증 완화 장치
CN111281753A (zh) * 2018-12-10 2020-06-16 三星电子株式会社 运动辅助设备
CN110420083A (zh) * 2019-07-23 2019-11-08 徐州医科大学 尸体解剖实验中肢体关节屈曲挛缩畸形的矫正器
CN110420083B (zh) * 2019-07-23 2023-08-11 徐州医科大学 尸体解剖实验中肢体关节屈曲挛缩畸形的矫正器
CN114305823A (zh) * 2021-12-21 2022-04-12 董继忠 一种骨科用腿部矫形器
CN114305823B (zh) * 2021-12-21 2023-12-12 江苏独角兽电子科技有限公司 一种骨科用腿部矫形器
CN114869557A (zh) * 2022-05-19 2022-08-09 刘德志 一种腿部矫正装置

Similar Documents

Publication Publication Date Title
US9345608B2 (en) Ankle foot orthosis
KR101112119B1 (ko) 무릎보조기
US20100056970A1 (en) Knee orthosis
KR101626907B1 (ko) 무릎관절 보조기구
US20240325186A1 (en) Customizable knee brace intended for patients with osteoarthritis
US20130144197A1 (en) Orthopedic device for dynamically treating osteoarthritis
KR20120126326A (ko) 무릎 관절의 내?외반 교정을 위한 무릎 보조기
KR101521270B1 (ko) 무릎변형 방지기구
US8388564B2 (en) Hyperextension knee brace
JP6792087B2 (ja) 脚矯正装置
KR20230049300A (ko) 다리교정 무릎보조기
KR101848639B1 (ko) 퇴행성 무릎 관절염 치료를 위한 무릎 교정 장치
WO2014006917A1 (ja) 膝関節用装具
JP6595965B2 (ja) 歩行支援装具
KR101815274B1 (ko) 무릎보조기
WO2025223328A1 (zh) 轴向位移矫形器
KR102255057B1 (ko) 전방십자인대 보조기
JP2023548643A (ja) 除荷関節装具装置
KR20210032134A (ko) 관절 교정장치
JP7397013B2 (ja) 整形外科用ブレースの偏心および多中心連結張力ジョイント
US20230042585A1 (en) Multi axis corrective knee brace
KR200382803Y1 (ko) 슬관절 퇴행성 관절염으로 인한 통증 완화 및 오형으로 변형된 다리 교정과 관절염 예방을 위한 보조장치
KR102912635B1 (ko) 하중 경감식 관절 보조 기구
CN221512344U (zh) 一种足部外骨骼
KR101495565B1 (ko) 무릎질환용 통증완화 보조기구

Legal Events

Date Code Title Description
A201 Request for examination
PA0109 Patent application

St.27 status event code: A-0-1-A10-A12-nap-PA0109

PA0201 Request for examination

St.27 status event code: A-1-2-D10-D11-exm-PA0201

D13-X000 Search requested

St.27 status event code: A-1-2-D10-D13-srh-X000

D14-X000 Search report completed

St.27 status event code: A-1-2-D10-D14-srh-X000

PE0902 Notice of grounds for rejection

St.27 status event code: A-1-2-D10-D21-exm-PE0902

PG1501 Laying open of application

St.27 status event code: A-1-1-Q10-Q12-nap-PG1501

E601 Decision to refuse application
PE0601 Decision on rejection of patent

St.27 status event code: N-2-6-B10-B15-exm-PE0601

P22-X000 Classification modified

St.27 status event code: A-2-2-P10-P22-nap-X000

P22-X000 Classification modified

St.27 status event code: A-2-2-P10-P22-nap-X000

R18 Changes to party contact information recorded

Free format text: ST27 STATUS EVENT CODE: A-3-3-R10-R18-OTH-X000 (AS PROVIDED BY THE NATIONAL OFFICE)

R18-X000 Changes to party contact information recorded

St.27 status event code: A-3-3-R10-R18-oth-X000