KR20120113890A - Precast concrete panel module connecting structure - Google Patents

Precast concrete panel module connecting structure Download PDF

Info

Publication number
KR20120113890A
KR20120113890A KR1020110031565A KR20110031565A KR20120113890A KR 20120113890 A KR20120113890 A KR 20120113890A KR 1020110031565 A KR1020110031565 A KR 1020110031565A KR 20110031565 A KR20110031565 A KR 20110031565A KR 20120113890 A KR20120113890 A KR 20120113890A
Authority
KR
South Korea
Prior art keywords
concrete unit
unit panel
connection structure
precast concrete
panel connection
Prior art date
Legal status (The legal status is an assumption and is not a legal conclusion. Google has not performed a legal analysis and makes no representation as to the accuracy of the status listed.)
Ceased
Application number
KR1020110031565A
Other languages
Korean (ko)
Inventor
최선영
안지희
Original Assignee
주식회사 한빛구조엔지니어링
Priority date (The priority date is an assumption and is not a legal conclusion. Google has not performed a legal analysis and makes no representation as to the accuracy of the date listed.)
Filing date
Publication date
Application filed by 주식회사 한빛구조엔지니어링 filed Critical 주식회사 한빛구조엔지니어링
Priority to KR1020110031565A priority Critical patent/KR20120113890A/en
Publication of KR20120113890A publication Critical patent/KR20120113890A/en
Ceased legal-status Critical Current

Links

Images

Classifications

    • EFIXED CONSTRUCTIONS
    • E04BUILDING
    • E04BGENERAL BUILDING CONSTRUCTIONS; WALLS, e.g. PARTITIONS; ROOFS; FLOORS; CEILINGS; INSULATION OR OTHER PROTECTION OF BUILDINGS
    • E04B1/00Constructions in general; Structures which are not restricted either to walls, e.g. partitions, or floors or ceilings or roofs
    • E04B1/38Connections for building structures in general
    • E04B1/61Connections for building structures in general of slab-shaped building elements with each other
    • E04B1/6108Connections for building structures in general of slab-shaped building elements with each other the frontal surfaces of the slabs connected together
    • E04B1/612Connections for building structures in general of slab-shaped building elements with each other the frontal surfaces of the slabs connected together by means between frontal surfaces
    • EFIXED CONSTRUCTIONS
    • E04BUILDING
    • E04BGENERAL BUILDING CONSTRUCTIONS; WALLS, e.g. PARTITIONS; ROOFS; FLOORS; CEILINGS; INSULATION OR OTHER PROTECTION OF BUILDINGS
    • E04B1/00Constructions in general; Structures which are not restricted either to walls, e.g. partitions, or floors or ceilings or roofs
    • E04B1/02Structures consisting primarily of load-supporting, block-shaped, or slab-shaped elements
    • E04B1/04Structures consisting primarily of load-supporting, block-shaped, or slab-shaped elements the elements consisting of concrete, e.g. reinforced concrete, or other stone-like material
    • E04B1/043Connections specially adapted therefor
    • EFIXED CONSTRUCTIONS
    • E04BUILDING
    • E04BGENERAL BUILDING CONSTRUCTIONS; WALLS, e.g. PARTITIONS; ROOFS; FLOORS; CEILINGS; INSULATION OR OTHER PROTECTION OF BUILDINGS
    • E04B1/00Constructions in general; Structures which are not restricted either to walls, e.g. partitions, or floors or ceilings or roofs
    • E04B1/38Connections for building structures in general
    • E04B1/383Connection of concrete parts using adhesive materials, e.g. mortar or glue
    • FMECHANICAL ENGINEERING; LIGHTING; HEATING; WEAPONS; BLASTING
    • F16ENGINEERING ELEMENTS AND UNITS; GENERAL MEASURES FOR PRODUCING AND MAINTAINING EFFECTIVE FUNCTIONING OF MACHINES OR INSTALLATIONS; THERMAL INSULATION IN GENERAL
    • F16BDEVICES FOR FASTENING OR SECURING CONSTRUCTIONAL ELEMENTS OR MACHINE PARTS TOGETHER, e.g. NAILS, BOLTS, CIRCLIPS, CLAMPS, CLIPS OR WEDGES; JOINTS OR JOINTING
    • F16B5/00Joining sheets or plates, e.g. panels, to one another or to strips or bars parallel to them
    • F16B5/0004Joining sheets, plates or panels in abutting relationship
    • F16B5/0032Joining sheets, plates or panels in abutting relationship by moving the sheets, plates, or panels or the interlocking key parallel to the abutting edge
    • F16B5/0036Joining sheets, plates or panels in abutting relationship by moving the sheets, plates, or panels or the interlocking key parallel to the abutting edge and using hook and slot or keyhole-type connections

Landscapes

  • Engineering & Computer Science (AREA)
  • Architecture (AREA)
  • Physics & Mathematics (AREA)
  • Electromagnetism (AREA)
  • Civil Engineering (AREA)
  • Structural Engineering (AREA)
  • General Engineering & Computer Science (AREA)
  • Mechanical Engineering (AREA)
  • Joining Of Building Structures In Genera (AREA)

Abstract

본 발명은 프리캐스트 공법의 시공시 콘크리트 단위패널을 상호 견고하게 연결할 수 있도록 된 콘크리트 단위패널 연결구조에 관한 것이다. 본 발명에 따른 콘크리트 단위패널 연결구조에 따르면, 상호 연결되는 콘크리트 단위패널(1)의 인접 둘레면에는 오목홈(2)이 각각 형성되고, 상기 오목홈(2)의 내부에는 상호 결합되어 콘크리트 단위패널(1)을 고정하는 제1 및 제2 고정부재(10,20)가 각각 구비되어, 상기 제1 및 제2 고정부재(10,20)를 상호 결합하여 콘크리트 단위패널(1)의 둘레면이 밀착되도록 가고정한 후, 상기 오목홈(2)이 합쳐져 이루어진 공간부(3)에 모르타르(30)를 주입, 경화시켜 콘크리트 단위패널(1)을 상호 견고하게 연결할 수 있는 장점이 있다.The present invention relates to a concrete unit panel connection structure that can be connected to the concrete unit panels when the construction of the precast method. According to the concrete unit panel connection structure according to the present invention, concave grooves 2 are formed in the adjacent circumferential surface of the concrete unit panel 1 to be interconnected, respectively, the concrete unit is coupled to each other inside the concave groove 2 First and second fixing members 10 and 20 are provided to fix the panel 1, respectively, and the first and second fixing members 10 and 20 are coupled to each other to form a circumferential surface of the concrete unit panel 1. After the temporary fixing to be in close contact with each other, the mortar 30 is injected and cured into the space 3 formed by the concave groove 2 being combined, thereby providing an advantage that the concrete unit panels 1 can be firmly connected to each other.

Description

프리캐스트 콘크리트 단위패널 연결구조{PRECAST CONCRETE PANEL MODULE CONNECTING STRUCTURE}Precast Concrete Unit Panel Connection Structure {PRECAST CONCRETE PANEL MODULE CONNECTING STRUCTURE}

본 발명은 프리캐스트 콘크리트 단위패널 연결구조에 관한 것으로서, 더욱 상세하게는 더욱 간단하고 용이한 방식으로 건설현장에 적용할 수 있어서 시공효율성이 개선될 뿐만 아니라, 공정생략 및 공기단축에 따른 비용절감이 가능하며, 다양한 용도로 적용할 수 있어서 시장확대가 가능하고, 단위패널들을 상호 견고하게 연결하여 구조적으로 안전한 프리캐스트 콘크리트 단위패널 연결구조에 관한 것이다.
The present invention relates to a precast concrete unit panel connection structure, and more particularly, it can be applied to the construction site in a simpler and easier way, not only to improve construction efficiency, but also to reduce costs due to process omission and air shortening. The present invention relates to a precast concrete unit panel connection structure that is structurally safe by connecting unit panels to each other and to be able to be applied to various applications.

일반적으로, 프리캐스트 콘크리트를 단위패널로 구성하여 이를 서로 연결함으로써 구조체를 형성하는 구조는 콘크리트 단위패널의 품질이 균일하게 유지될 뿐만 아니라, 콘크리트가 굳을 때까지 기다릴 필요가 없어서 공사기간을 단축할 수 있는 장점이 있다. 그러나, 이러한 종래의 구조는 각 콘크리트 단위패널이 상호 견고하게 고정되지 못하므로, 콘크리트 단위패널의 연결부분의 강도가 저하되는 문제점이 있으며, 시공성이 좋지않고 공사비용이 상당히 증가된다는 문제점이 있었다.
In general, the structure that forms the structure by forming precast concrete into unit panels and connecting them together not only maintains the quality of the concrete unit panels uniformly, but also shortens the construction period by not having to wait for concrete to harden. There is an advantage. However, this conventional structure has a problem that each concrete unit panel is not firmly fixed to each other, the strength of the connection portion of the concrete unit panel is lowered, there is a problem that the construction cost is not good and the construction cost is significantly increased.

따라서, 콘크리트 단위패널을 상호 연결함에 있어서 건설현장의 시공효율성을 개선하고 공사비용을 줄일 수 있으며, 나아가 다양한 용도로 적용할 수 있어 시장을 확대시킬 수 있는 새로운 구조의 프리캐스트 콘크리트 단위패널 연결구조에 필요성이 여전히 존재하고 있다.
Therefore, in interconnecting the concrete unit panels, it is possible to improve the construction efficiency of the construction site, reduce the construction cost, and furthermore, to the precast concrete unit panel connection structure of the new structure that can be applied to various purposes and expand the market. The need still exists.

본 발명은 상기와 같은 종래의 프리캐스트 콘크리트 단위패널 연결구조가 가지고 있는 문제점을 해결하기 위하여 창안된 것으로서, 더욱 상세하게는 더욱 간단하고 용이한 방식으로 건설현장에 적용할 수 있어서 시공효율성이 더욱 개선되고, 공정생략 및 공기단축에 따른 비용절감이 가능하며, 다양한 용도로 적용할 수 있어서 시장확대가 가능하면서도 구조적으로 안전한 프리캐스트 콘크리트 단위패널 연결구조를 제공하는 것을 그 목적으로 한다.
The present invention was devised to solve the problems of the conventional precast concrete unit panel connection structure as described above, and more particularly, it can be applied to the construction site in a simpler and easier way to further improve the construction efficiency The purpose of this invention is to provide a precast concrete unit panel connection structure that is structurally safe while expanding the market as it can be applied for various purposes.

상기한 목적을 달성하고 상술한 종래의 문제점을 해결하기 위하여, 본 발명의 선호적인 실시예에 따른 미리 제작 상태에서 현장으로 이송되어 측면이 상호 밀착되도록 고정되는 프리캐스트 콘크리트 단위패널 연결구조는, 상호 밀착되는 콘크리트 단위패널의 둘레면에는 오목홈이 상호 대응되도록 각각 형성되고, 상기 오목홈의 내부에는 상호 결합되어 콘크리트 단위패널을 상호 고정하는 제 1, 2 고정부재가 각각 구비되어지고, 상기 제 1, 2 고정부재를 상호 결합하여 2개의 콘크리트 단위패널의 측면이 상호 밀착되도록 한 후, 상기 오목홈이 합쳐져 이루어진 공간부의 내부에는 모르타르를 주입, 경화시켜 콘크리트 단위패널을 상호 고정하는 것을 특징으로 한다.
In order to achieve the above object and to solve the above-mentioned conventional problems, the precast concrete unit panel connection structure is transported to the site in the pre-fabricated state according to a preferred embodiment of the present invention fixed to the sides close to each other, mutual Concave grooves are respectively formed on the circumferential surface of the concrete unit panel to be in close contact with each other, and the first and second fixing members are coupled to the inside of the concave groove to mutually fix the concrete unit panels, respectively. After the two fixing members are coupled to each other so that side surfaces of the two concrete unit panels are in close contact with each other, the concave grooves are joined to each other to inject and cure mortar to fix the concrete unit panels to each other.

본 발명의 다른 실시예에 따르면, 상기 공간부에 주입되는 모르타르는 무수축 모르타르인 것을 특징으로 하며, 제 1 고정부재에는 양면을 관통하는 결합공이 형성되고, 상기 제 2 고정부재에는 상기 결합공에 결합되는 돌출부가 형성되어지는 것을 특징으로 한다.
According to another embodiment of the present invention, the mortar injected into the space portion is characterized in that the non-shrink mortar, the first fixing member is formed with a coupling hole penetrating both sides, the second fixing member in the coupling hole It is characterized in that the protrusion to be coupled is formed.

본 발명의 또 다른 실시예에 따르면, 상기 제 1, 2 고정부재에는 상호 겹쳐지는 관통공이 각각 형성되며, 상기 관통공에 끼워지는 키부재에 의해 상호 고정되는 것을 특징으로 하며, 상기 제 1, 2 고정부재는 중간부가 반원형을 이루도록 U자형으로 밴딩되어 양단이 상기 콘크리트 단위패널의 둘레면에 고정되는 금속와이어로 구성되며, 상기 키부재는 원봉형태로 구성된 것을 특징으로 한다.
According to another embodiment of the present invention, the first and second fixing members are formed with through holes overlapping each other, and are fixed to each other by a key member fitted to the through holes. The fixing member is formed of a metal wire, which is bent in a U-shape so that the intermediate portion forms a semicircular shape, and both ends thereof are fixed to the circumferential surface of the concrete unit panel, and the key member is configured in a circular rod shape.

본 발명의 다른 실시예에 따르면, 상기 제 1, 2 고정부재는 중간부가 ㄷ자를 이루도록 절곡되며, 상기 키부재는 원봉형태 또는 측방향으로 긴 단면을 가지는 스트립형태로 구성된 것을 특징으로 한다.
According to another embodiment of the present invention, the first and second fixing members are bent to form a U-shape, the key member is characterized in that it is configured in the form of a strip having a circular rod shape or a long cross section in the lateral direction.

본 발명의 다른 실시예에 따르면, 상기 제 1, 2 고정부재는 기단부가 상기 콘크리트 단위패널의 둘레면에 매입고정되는 금속재의 와이어로 구성되며, 상기 돌출부는 상기 제 2 고정부재의 선단부를 일측으로 절곡하여 구성되고, 상기 결합공은 상기 제1 고정부재의 선단부를 원형으로 밴딩하여 구성된 것을 특징으로 한다.
According to another embodiment of the present invention, the first and second fixing members are composed of a metal wire having a proximal end embedded in a circumferential surface of the concrete unit panel, and the protruding portion has one end of the second fixing member toward one side. It is configured to be bent, the coupling hole is characterized in that configured by bending the front end of the first fixing member in a circular shape.

본 발명의 또 다른 실시예에 따르면, 상기 제 1, 2 고정부재는 기단부가 상기 콘크리트 단위패널의 둘레면에 매입고정되는 금속판재로 이루어지며, 상기 돌출부는 제 2 고정부재의 선단부를 절곡하여 구성되고, 상기 결합공은 상기 돌출부에 대응되도록 일측으로 긴 장공형태로 구성된 것을 특징으로 한다.
According to another embodiment of the present invention, the first and second fixing members are made of a metal plate whose proximal end is fixed to the circumferential surface of the concrete unit panel, and the protrusion is formed by bending the leading end of the second fixing member. And, the coupling hole is characterized in that it is configured in the form of a long long hole to correspond to the protrusion.

한편 본 발명은 다양한 변경을 가할 수 있고 여러 가지 실시예를 가질 수 있으며, 특정 실시예들은 도면에 예시하고 상세한 설명에서 구체적으로 설명한다. 그러나 이는 본 발명을 특정한 실시 형태에 대해서 한정하려는 것이 아니며, 본 발명의 사상 및 기술 범위에 포함되는 모든 변경, 균등물 내지 대체물을 포함하는 것으로 이해되어야 한다. 각 도면을 설명하면서 유사한 구성요소에 대해서는 유사한 도면부호를 사용하였다.
Meanwhile, the present invention may be variously modified and may have various embodiments, and specific embodiments are illustrated in the drawings and described in detail in the detailed description. However, this is not intended to limit the present invention to the specific embodiments, it should be understood to include all modifications, equivalents, and substitutes included in the spirit and scope of the present invention. In describing the drawings, similar reference numerals are used for similar elements.

한편 본 출원에서 사용하는 용어는 단지 특정한 실시예를 설명하기 위해 사용된 것으로, 본 발명을 한정하려는 의도가 아니다. 단수의 표현은 문맥상 명백하게 다르게 뜻하지 않는 한, 복수의 표현을 포함한다. 본 출원에서, “포함하다” 또는 “가지다” 등의 용어는 명세서상에 기재된 특징, 숫자, 단계, 동작, 구성요소, 부품 또는 이들을 조합한 것이 존재함을 지정하려는 것이며, 하나 또는 그 이상의 다른 특징들이나 숫자, 단계, 동작, 구성요소, 부품 또는 이들을 조합한 것들의 존재 또는 부가 가능성을 미리 배제하지 않는 것으로 이해되어야 한다.
Meanwhile, the terminology used herein is for the purpose of describing particular example embodiments only and is not intended to be limiting of the present invention. Singular expressions include plural expressions unless the context clearly indicates otherwise. In this application, the terms “comprise” or “have” are intended to indicate that there is a feature, number, step, action, component, part, or combination thereof described in the specification, and one or more other features. It is to be understood that the present invention does not exclude the possibility of the presence or the addition of numbers, steps, operations, components, components, or a combination thereof.

본 발명에 따른 프리캐스트 콘크리트 단위패널 연결구조는, 상호 연결되는 콘크리트 단위패널의 인접 둘레면에는 오목홈이 각각 형성되고, 상기 오목홈의 내부에는 상호 결합되어 콘크리트 단위패널을 고정하는 제 1, 2 고정부재가 각각 구비되어, 상기 제 1, 2 고정부재를 상호 결합하여 콘크리트 단위패널의 둘레면이 밀착되도록 가고정한 후, 상기 오목홈이 합쳐져 이루어진 공간부에 모르타르를 주입, 경화시켜 콘크리트 단위패널을 상호 견고하게 연결함으로써, 시공효율성이 크게 개선된다는 효과가 있을 뿐만 아니라, 공정생략 및 공기단축에 따른 비용절감이 가능하다는 장점이 있다. 나아가 더욱 간단하고 용이한 방식으로 건설현장에 적용할 수 있고 다양한 용도로 적용할 수 있어서 시장확대가 가능하면서도, 구조적으로 안전하다는 장점이 있다.
In the precast concrete unit panel connection structure according to the present invention, concave grooves are formed in the adjacent circumferential surfaces of the concrete unit panels to be interconnected, respectively, and the first and second fixing the concrete unit panels are coupled to each other inside the concave grooves. Fixing members are provided, respectively, the first and second fixing members are coupled to each other to temporarily fix the circumferential surface of the concrete unit panel to be in close contact with each other, and then the mortar is injected and hardened into the space formed by the concave grooves to be joined to the concrete unit panel. By solidly connecting to each other, not only the construction efficiency is greatly improved, but also the cost reduction due to process omission and air shortening. Furthermore, it can be applied to the construction site in a simpler and easier way and can be applied to various uses, thereby expanding the market and having structural advantages.

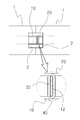
도 1은 본 발명에 따른 콘크리트 단위패널 연결구조를 도시한 사시도
도 2는 본 발명에 따른 콘크리트 단위패널 연결구조를 이용한 연결방법을 도시한 평면도
도 3은 본 발명에 따른 콘크리트 단위패널 연결구조를 이용한 연결방법을 도시한 측단면도
도 4는 본 발명에 따른 콘크리트 단위패널 연결구조의 변형예를 도시한 사시도
도 5는 도 4에 도시한 연결구조에 따른 연결방법을 도시한 평면도
도 6은 본 발명에 따른 콘크리트 단위패널 연결구조의 또 다른 변형예를 도시한 사시도
도 7은 본 발명에 따른 콘크리트 단위패널 연결구조의 제 2 실시예를 이용한 연결방법을 도시한 평면도
도 8은 본 발명에 따른 콘크리트 단위패널 연결구조의 제 2 실시예를 이용한 연결방법을 도시한 측단면도
도 9 내지 도 11은 본 발명에 따른 콘크리트 단위패널 연결구조의 제 2 실시예의 변형예를 도시한 참고도
1 is a perspective view showing a concrete unit panel connection structure according to the present invention
Figure 2 is a plan view showing a connection method using a concrete unit panel connection structure according to the present invention
Figure 3 is a side cross-sectional view showing a connection method using a concrete unit panel connection structure according to the present invention.
4 is a perspective view showing a modification of the concrete unit panel connection structure according to the present invention
5 is a plan view showing a connection method according to the connection structure shown in FIG.
6 is a perspective view showing another modified example of the concrete unit panel connection structure according to the present invention
7 is a plan view showing a connection method using a second embodiment of the concrete unit panel connection structure according to the present invention
Figure 8 is a side cross-sectional view showing a connection method using a second embodiment of the concrete unit panel connection structure according to the present invention
9 to 11 is a reference diagram showing a modification of the second embodiment of the concrete unit panel connection structure according to the present invention

이하에서는 본 발명의 선호적인 실시예와 첨부된 도면을 참고로 하여 더욱 상세하게 설명한다.
Hereinafter, with reference to the preferred embodiment of the present invention and the accompanying drawings will be described in more detail.

도 1 내지 도 3은 본 발명의 선호적인 실시예에 따른 프리캐스트 콘크리트 단위패널 연결구조를 도시한 것으로, 미리 제작 상태에서 현장으로 이송되어 측면이 상호 연결도록 고정되는 프리캐스트 공법의 콘크리트 단위패널(1)을 연결하는 구조를 도시하고 있다.
1 to 3 illustrate a precast concrete unit panel connection structure according to a preferred embodiment of the present invention. The structure connecting 1) is shown.

상기 도면에 도시된 바와 같이, 본 발명에 따른 프리캐스트 콘크리트 단위패널(1)은 사각형의 패널(1)형태로 구성되며, 상호 연결되는 콘크리트 단위패널(1)의 측면에는 상호 대응되도록 상하방향으로 길게 연장된 오목홈(2)이 각각 형성되어, 2개의 콘크리트 단위패널(1)의 측면을 상호 밀착시키면 상기 오목홈(2)이 합쳐져 내부에 모르타르(30)를 주입시킬 수 있는 공간부(3)가 형성되도록 한다.
As shown in the drawings, the precast concrete unit panel 1 according to the present invention is configured in the form of a rectangular panel (1), in the vertical direction to correspond to each other on the side of the concrete unit panel (1) to be interconnected Each of the concave grooves 2 is formed to be elongated, and when the side surfaces of the two concrete unit panels 1 are in close contact with each other, the concave grooves 2 are combined to allow the mortar 30 to be injected therein. ) Is formed.

그리고 상기 오목홈(2)의 내부에는 상호 결합되어 콘크리트 단위패널(1)을 상호 고정하는 제 1, 2 고정부재(10,20)가 각각 구비된다. 상기 제 1, 2 고정부재(10,20)는 좌우방향으로 넓은 스트립형상의 금속판재로 구성되어, 상기 오목홈(2)의 내부에 위치되도록 기단부가 상기 콘크리트 단위패널(1)의 측면에 매입고정되어진다. 또한, 상기 제 1 고정부재(10)의 선단부에는 상하면을 관통하는 결합공(11)이 형성되고, 상기 제 2 고정부재(20)의 선단부에는 상기 결합공(11)에 결합되는 돌출부(21)가 형성된다. 상기 돌출부(21)는 상기 제 2 고정부재의 선단부를 하측으로 절곡하여 구성되며, 상기 결합공(11)은 상기 돌출부(21)에 대응되도록 측방향으로 긴 장공형태로 구성된다.
The first and second fixing members 10 and 20 are coupled to the inside of the concave groove 2 to fix the concrete unit panel 1 to each other. The first and second fixing members 10 and 20 are formed of a metal plate having a wide strip shape in a left and right direction, and a proximal end is embedded in a side surface of the concrete unit panel 1 so as to be positioned inside the concave groove 2. It is fixed. In addition, a coupling hole 11 penetrating the upper and lower surfaces is formed at the front end of the first fixing member 10, and a protrusion 21 coupled to the coupling hole 11 at the front end of the second fixing member 20. Is formed. The protrusion 21 is formed by bending the front end of the second fixing member downward, the coupling hole 11 is configured in the form of a long elongated side to correspond to the protrusion 21.

한편 상기 제 1, 2 고정부재(10,20)는 상기 오목홈(2)을 따라 상호 상하방향으로 일정간격 이격되도록 다수개 설치된다. 따라서 도 2 및 도 3a, 3b에 도시한 바와 같이, 상기 제 2 고정부재(20)의 돌출부(21)를 제 1 고정부재(10)의 결합공(11)에 끼워 콘크리트 단위패널(1)의 측면이 상호 밀착되도록 가고정한 후, 도 2 및 도 3c에 도시한 바와 같이, 상기 오목홈(2)이 합쳐져 형성된 공간부(3)에 모르타르(30)를 주입, 경화시켜 2개의 콘크리트 단위패널(1)이 상호 견고하게 연결되도록 할 수 있다. 이때, 상기 돌출부(21)는 하측으로 돌출되어 있으므로, 제 2 고정부가 구비된 콘크리트 단위패널(1)을 상측으로 들어올린 상태에서 2개의 콘크리트 단위패널(1)의 측면이 밀착되도록 한 후, 들어올려진 콘크리트 단위패널(1)을 하강시켜 돌출부(21)가 결합공(11)에 끼워지도록 할 수 있다.
Meanwhile, a plurality of the first and second fixing members 10 and 20 are installed along the concave groove 2 so as to be spaced apart at regular intervals in the vertical direction. Accordingly, as shown in FIGS. 2 and 3A and 3B, the protrusion unit 21 of the second fixing member 20 is inserted into the coupling hole 11 of the first fixing member 10 of the concrete unit panel 1. After temporarily fixing the sides to be in close contact with each other, as shown in FIGS. 2 and 3C, the mortar 30 is injected and cured into the space 3 formed by combining the concave grooves 2 to form two concrete unit panels ( 1) can be firmly connected to each other. At this time, since the protrusions 21 protrude downward, the side surfaces of the two concrete unit panels 1 are brought into close contact with each other while the concrete unit panel 1 having the second fixing part is lifted upward. Lowered concrete unit panel 1 can be lowered so that the protrusion 21 is fitted into the coupling hole (11).

그리고 이와 같은 방법을 이용하여 여러개의 콘크리트 단위패널(1)을 측방향으로 길게 연결할 수 있다. 이때, 상기 공간부(3)에 주입되는 모르타르(30)는 경화되면서 체적이 줄어들지 않는 무수축 모르타르(30)를 이용하는 것이 선호되지만, 동일한 목적과 기능을 달성할 수 있는 범위 내에서 다른 재료의 사용을 배제하는 것은 아니다.
And using this method it is possible to connect a plurality of concrete unit panels 1 in the lateral direction. At this time, the mortar (30) injected into the space (3) is preferred to use a non-shrink mortar (30) that does not decrease the volume while curing, use of other materials within the range that can achieve the same purpose and function It is not excluded.

상기와 같은 구성으로 이루어진 본 발명에 따른 콘크리트 단위패널 연결구조에 따르면, 콘크리트 블록이 측면에 구비된 제 1, 2 고정부재(10,20)에 의해 가고정된 상태에서, 공간부(3)의 내부에 주입된 모르타르(30)에 의해 상호 연결된다.
According to the concrete unit panel connection structure according to the present invention having the configuration as described above, in the state where the concrete block is temporarily fixed by the first and second fixing members 10 and 20 provided on the side, It is interconnected by mortar 30 injected therein.

따라서 모르타르(30)에 의해 콘크리트 패널들이 하나의 콘크리트 단위패널(1)처럼 상호 연결될 뿐 아니라, 상기 제 1, 2 고정부재(10,20)에 의해 모르타르(30)가 소요강도를 확보하게 되므로, 콘크리트 단위패널(1)을 더욱 견고하게 연결할 수 있다.
Therefore, not only the concrete panels are interconnected by the mortar 30 as one concrete unit panel 1, but also the mortar 30 secures the required strength by the first and second fixing members 10 and 20. The concrete unit panel 1 can be connected more firmly.

본 실시예의 경우, 상기 제 1, 2 고정부재(10,20)는 측방향으로 넓은 스트립형태로 구성된 것을 예시하였으나, 도 4에 도시한 바와 같이, 상하방향으로 넓은 스트립형태로 구성하여, 상기 결합공(11)과 돌출부(21)가 측방향을 향하도록 하는 것도 가능하다.
In the present exemplary embodiment, the first and second fixing members 10 and 20 are illustrated in a wide strip shape in the lateral direction, but as shown in FIG. 4, the first and second fixing members 10 and 20 are configured in a wide strip shape in the vertical direction. It is also possible for the ball 11 and the projection 21 to face laterally.

이러한 경우, 도 5에 도시한 바와 같이, 콘크리트 단위패널(1)의 측면이 측방향으로 조금 어긋나도록 콘크리트 단위패널(1)의 측면을 밀착시킨 상태에서, 콘크리트 단위패널(1)의 측면을 밀어 상기 돌출부(21)가 결합공(11)에 끼워지도록 할 수 있다.
In this case, as shown in FIG. 5, the side of the concrete unit panel 1 is pushed in a state in which the side of the concrete unit panel 1 is in close contact with the side of the concrete unit panel 1 slightly shifted laterally. The protrusion 21 may be fitted into the coupling hole (11).

또한, 상기 제 1, 2 고정부재(10,20)는 도 6에 도시한 바와 같이, 기단부가 상기 콘크리트 단위패널(1)의 둘레면에 매입고정되는 금속재의 와이어를 이용하여 제 1, 2 고정부재(10,20)를 구성하고, 상기 제 1 고정부재(10)의 선단부를 원형으로 밴딩하여 상기 결합공(11)을 구성하고, 상기 제 2 고정부재(20)의 선단부를 일측으로 절곡하여 상기 돌출부(21)를 구성한다. 따라서 상기 돌출부(21)를 결합공(11)에 끼워 콘크리트 단위패널(1)을 상호 가고정할 수 있다. 이때, 상기 돌출부(21)의 방향연장과 결합공(11)의 관통방향은 필요에 따라 적절히 조절될 수 있다.
In addition, as shown in FIG. 6, the first and second fixing members 10 and 20 are fixed to the first and second using a metal wire having a proximal end embedded in a circumferential surface of the concrete unit panel 1. The members 10 and 20 are formed, the end portion of the first fixing member 10 is bent in a circle to form the coupling hole 11, and the end portion of the second fixing member 20 is bent to one side. The protrusion 21 is constituted. Accordingly, the protrusion unit 21 may be inserted into the coupling hole 11 to temporarily fix the concrete unit panel 1 to each other. At this time, the direction extension of the protrusion 21 and the penetrating direction of the coupling hole 11 can be appropriately adjusted as necessary.

도 7 및 도 8은 본 발명에 따른 다른 실시예를 도시한 것으로, 상기 제 1, 2 고정부재(10,20)에는 상호 겹쳐지는 상하방향의 관통공(12,22)이 각각 형성되며, 상기 관통공(12,22)에 끼워지는 키부재(40)에 의해 상호 고정된다.
7 and 8 illustrate another embodiment according to the present invention, wherein the first and second fixing members 10 and 20 have upper and lower through holes 12 and 22 overlapping each other, respectively. It is fixed to each other by the key member 40 fitted in the through holes 12 and 22.

이를 위해, 상기 제 1, 2 고정부재(10,20)는 중간부가 반원형을 이루도록 U자 형으로 밴딩되어 상기 오목홈(2)이 내부에 위치되도록 양단이 상기 콘크리트 단위패널(1)의 측면에 고정되는 금속와이어로 구성되며, 상기 키부재(40)는 원봉형태로 구성된다.
To this end, the first and second fixing members 10 and 20 are bent in a U-shape so that the intermediate portion forms a semi-circular shape so that both ends of the first and second fixing members 10 and 20 are positioned on the side surfaces of the concrete unit panel 1 so that the concave grooves 2 are located therein. It is composed of a metal wire to be fixed, the key member 40 is configured in the shape of a rod.

따라서 도 7 및 도 8a에 도시한 바와 같이, 2개의 콘크리트 단위패널(1)의 측면을 상호 밀착시켜, 상기 제 1, 2 고정부재(10,20)의 관통공(12,22)이 상호 겹쳐지도록 한 상태에서, 도 7 과 도 8b에 도시한 바와 같이, 상기 키부재(40)를 상기 관통공(12,22)에 끼워 2개의 콘크리트 패널(1)이 상호 가고정되도록 하고, 도 7과 도 8c에 도시한 바와 같이, 상기 오목홈(2)이 합쳐져 이루어진 공간부(3)에 모르타르(30)를 주입 및 경화시켜 2개의 콘크리트 단위패널(1)이 견고하고 고정되도록 할 수 있다.
Therefore, as shown in FIG. 7 and FIG. 8A, the side surfaces of the two concrete unit panels 1 are brought into close contact with each other so that the through holes 12 and 22 of the first and second fixing members 10 and 20 overlap each other. 7 and 8b, two concrete panels 1 are temporarily fixed to each other by inserting the key member 40 into the through holes 12 and 22. As shown in FIG. 8C, the mortar 30 may be injected and hardened into the space 3 formed by combining the concave grooves 2 so that the two concrete unit panels 1 may be firmly fixed.

이와같은 콘크리트 단위패널 연결구조에 따르면 2개의 콘크리트 단위패널(1)의 측면을 밀착시켜 제 1, 2 고정부재(10,20)가 겹쳐지도록 한 상태에서 상기 관통공(12,22)에 키부재(40)를 끼워 2개의 콘크리트 단위패널(1)이 상호 가고정될 수 있도록 할 수 있다. 따라서 제 1, 2 고정부재(10,20)에 형성된 결합공(11) 및 돌출부(21)를 이용하여 콘크리트 단위패널(1)을 상호 가고정하는 제1 실시예에 비해 콘크리트 패널(1)을 가고정하는 과정이 더욱 용이해진다.
According to such a concrete unit panel connection structure, the key members in the through holes 12 and 22 in a state in which the first and second fixing members 10 and 20 overlap with each other by closely contacting the side surfaces of the two concrete unit panels 1. 40 may be fitted to allow the two concrete unit panels 1 to be temporarily fixed to each other. Therefore, compared to the first embodiment in which the concrete unit panel 1 is temporarily fixed to each other using the coupling holes 11 and the protrusions 21 formed in the first and second fixing members 10 and 20, The decision process becomes easier.

즉, 전술한 제 1 실시예의 경우, 제 2 고정부재(20)에 돌출부(21)가 형성되어, 단순히 콘크리트 패널(1)의 측면이 밀착되도록 할 경우, 상기 돌출부(21)가 제 1 고정부재(10)의 둘레면에 걸리게 된다. 따라서 콘크리트 단위패널(1)을 가고정하기 위해서는 제 2 고정부개가 구비된 콘크리트 블록을 상측으로 들어올리거나 측방향으로 밀어 돌출부(21)가 결합공(11)에 끼워지도록 하여야 하므로, 콘크리트 단위패널(1)의 측면이 서로 밀착되도록 하는 것이 번거롭게 된다. 이에 반해, 본 실시예는 제 1, 2 고정부재(10,20)에 돌출된 부위가 없어서, 콘크리트 단위패널(1)이 측면이 밀착되도록 하는 것이 매우 간단해지므로, 콘크리트 단위패널(1)을 상호 가고정하는 과정이 매우 용이해진다.
That is, in the case of the first embodiment described above, when the protrusion 21 is formed on the second fixing member 20 so that the side surface of the concrete panel 1 is simply in close contact, the protrusion 21 is the first fixing member. It is caught by the peripheral surface of (10). Therefore, in order to temporarily fix the concrete unit panel 1, the concrete block with the second fixing unit should be lifted upward or pushed laterally so that the protrusion 21 is fitted into the coupling hole 11, so that the concrete unit panel 1 It is cumbersome to make the sides of the) close to each other. On the contrary, in this embodiment, since there is no protruding portion of the first and second fixing members 10 and 20, the concrete unit panel 1 becomes very simple so that the side surfaces are in close contact with each other. The process of temporarily fixing each other becomes very easy.

본 실시예의 경우, 상기 제 1, 2 고정부재(10,20)는 금속의 와이어를 U자형태로 벤딩하여 구성된 것을 예시하였으나, 필요에 따라, 도 9에 도시한 바와 같이, 금속와이어를 디귿자 형으로 구성하여, 복수개의 키부재(40)를 이용하여 콘크리트블록을 상호 고정하도록 하는 것도 가능한 것은 당업자에게 자명하다. 또한, 상기 키부재(40)는 도 10에 도시한 바와 같이, 원형의 봉형태가 아닌 측방향으로 긴 단면을 갖는 스트립형태로 구성하는 것도 가능하다.
In the present exemplary embodiment, the first and second fixing members 10 and 20 are configured by bending metal wires in a U-shape. However, as illustrated in FIG. 9, the metal wires may be recessed as needed. It is apparent to those skilled in the art that it is possible to configure the concrete block by using a plurality of key members 40 to be fixed to each other. In addition, as shown in FIG. 10, the key member 40 may be configured in a strip shape having a long cross section in the lateral direction instead of a circular rod shape.

그리고 도 11에 도시한 바와 같이, 상기 제 1, 2 고정부재(10,20)는 수평방향으로 넓은 금속판 형태로 구성하고, 제 1, 2 고정부재(10,20)에 상호 대응되는 형태의 관통공(12,22)을 형성하는 것도 가능하다.
As shown in FIG. 11, the first and second fixing members 10 and 20 are configured in the form of a wide metal plate in a horizontal direction, and penetrate through the forms corresponding to the first and second fixing members 10 and 20. It is also possible to form the balls 12 and 22.

상기에서 기술된 구성과 효과를 가진 본 발명은 다양한 방법으로 변형이 가능하며, 상기에서 기술된 내용은 본 발명의 범위를 한정하고자 하는 것은 아니다. 또한 본 발명의 사상과 범위에서 벗어나지 않는 한도 내에서 다양한 변형과 수정이 가능하며, 본 발명이 속한 분야의 당업자에게 자명한 변형은 다음의 특허청구범위 내에 포함되어진다.
The present invention having the configurations and effects described above can be modified in various ways, and the above description is not intended to limit the scope of the present invention. In addition, various modifications and variations are possible without departing from the spirit and scope of the invention, and modifications apparent to those skilled in the art to which the invention pertains are included in the following claims.

1 : 단위패널 2 : 오목홈
3 : 공간부 10 : 제1 고정부재
20 : 제2 고정부재 30 : 모르타르
40 : 키부재
1: unit panel 2: recessed groove
3: space portion 10: first fixing member
20: second fixing member 30: mortar
40: key member

Claims (8)

미리 제작 상태에서 현장으로 이송되어 측면이 상호 밀착되도록 고정되는 프리캐스트 콘크리트 단위패널 연결구조에 있어서,
상기 단위패널 연결구조는 상호 밀착되는 콘크리트 단위패널(1)의 둘레면에는 오목홈(2)이 상호 대응되도록 각각 형성되고, 상기 오목홈(2)의 내부에는 상호 결합되어 콘크리트 단위패널(1)을 상호 고정하는 제 1, 2 고정부재(10,20)가 각각 구비되어지고,
상기 제 1, 2 고정부재(10,20)를 상호 결합하여 2개의 콘크리트 단위패널(1)의 측면이 상호 밀착되도록 한 후, 상기 오목홈(2)이 합쳐져 이루어진 공간부(3)의 내부에는 모르타르(30)를 주입, 경화시켜 콘크리트 단위패널(1)을 상호 고정하는 것을 특징으로 하는 프리캐스트 콘크리트 단위패널 연결구조
In the precast concrete unit panel connection structure that is transported to the site in the pre-fabricated state to be fixed to the side close contact with each other,
The unit panel connection structure is formed in the circumferential surface of the concrete unit panel (1) to be in close contact with each other so as to correspond to each other, the interior of the concave groove (2) are mutually coupled to the concrete unit panel (1) First and second fixing members 10 and 20 for fixing the mutually provided are respectively provided,
The first and second fixing members 10 and 20 are coupled to each other so that the side surfaces of the two concrete unit panels 1 are in close contact with each other, and then the concave grooves 2 are combined to form the space 3. Precast concrete unit panel connection structure characterized in that the mortar (30) is injected and cured to fix the concrete unit panel (1) to each other
제 1 항에 있어서, 상기 공간부(3)에 주입되는 모르타르(30)는 무수축 모르타르인 것을 특징으로 하는 프리캐스트 콘크리트 단위패널 연결구조The precast concrete unit panel connection structure according to claim 1, wherein the mortar (30) injected into the space (3) is a non-shrink mortar. 제 1 항에 있어서, 상기 제 1 고정부재(10)에는 양면을 관통하는 결합공(11)이 형성되고, 상기 제 2 고정부재(20)에는 상기 결합공(11)에 결합되는 돌출부(21)가 형성된 것을 특징으로 하는 프리캐스트 콘크리트 단위패널 연결구조The method of claim 1, wherein the first fixing member 10 is formed with a coupling hole 11 penetrating both sides, the second fixing member 20, the protrusion 21 is coupled to the coupling hole (11). Precast concrete unit panel connection structure characterized in that formed 제 1 항 내지 제 3 항 중 어느 하나의 항에 있어서, 상기 제 1, 2 고정부재(10,20)에는 상호 겹쳐지는 관통공(12,22)이 각각 형성되며, 상기 관통공(12,22)에 끼워지는 키부재(40)에 의해 상호 고정되는 것을 특징으로 하는 프리캐스트 콘크리트 단위패널 연결구조According to any one of claims 1 to 3, The first and second fixing members (10, 20) are formed with through holes 12, 22 overlapping with each other, the through holes (12, 22) Precast concrete unit panel connection structure, characterized in that the mutual fixed by the key member 40 is inserted into 제 1 항 내지 제 3 항 중 어느 하나의 항에 있어서, 상기 제 1, 2 고정부재(10,20)는 중간부가 반원형을 이루도록 U자형으로 밴딩되어 양단이 상기 콘크리트 단위패널(1)의 둘레면에 고정되는 금속와이어로 구성되며, 상기 키부재(40)는 원봉형태로 구성된 것을 특징으로 하는 프리캐스트 콘크리트 단위패널 연결구조According to any one of claims 1 to 3, wherein the first and the second fixing member (10, 20) is bent in a U-shape so that the intermediate portion forms a semi-circular shape so that both ends are the circumferential surface of the concrete unit panel (1) Consists of a metal wire fixed to the, the key member 40 is a precast concrete unit panel connection structure, characterized in that formed in a rod shape 제 1 항 내지 제 3 항 중 어느 하나의 항에 있어서, 상기 제 1, 2 고정부재(10,20)는 중간부가 ㄷ자를 이루도록 절곡되며, 상기 키부재(40)는 원봉형태 또는 측방향으로 긴 단면을 가지는 스트립형태로 구성된 것을 특징으로 하는 프리캐스트 콘크리트 단위패널 연결구조According to any one of claims 1 to 3, wherein the first and the second fixing member (10, 20) is bent so that the middle portion of the c-shape, the key member 40 is a rod-shaped or laterally long Precast concrete unit panel connection structure, characterized in that consisting of a strip having a cross section 제 1 항 내지 제 3 항 중 어느 하나의 항에 있어서, 상기 제 1, 2 고정부재(10,20)는 기단부가 상기 콘크리트 단위패널(1)의 둘레면에 매입고정되는 금속재의 와이어로 구성되며, 상기 돌출부(21)는 상기 제 2 고정부재(20)의 선단부를 일측으로 절곡하여 구성되고, 상기 결합공(11)은 상기 제1 고정부재(10)의 선단부를 원형으로 밴딩하여 구성된 것을 특징으로 하는 프리캐스트 콘크리트 단위패널 연결구조According to any one of claims 1 to 3, wherein the first and second fixing members (10, 20) is composed of a wire of metal material whose proximal end is embedded in the circumferential surface of the concrete unit panel (1) The protruding portion 21 is formed by bending the tip portion of the second fixing member 20 to one side, and the coupling hole 11 is formed by bending the tip portion of the first fixing member 10 in a circular shape. Precast concrete unit panel connection structure 제 1 항 내지 제 3 항 중 어느 하나의 항에 있어서, 상기 제 1, 2 고정부재(10,20)는 기단부가 상기 콘크리트 단위패널(1)의 둘레면에 매입고정되는 금속판재로 이루어지며, 상기 돌출부(21)는 제 2 고정부재(20)의 선단부를 절곡하여 구성되고, 상기 결합공(11)은 상기 돌출부(21)에 대응되도록 일측으로 긴 장공형태로 구성된 것을 특징으로 하는 프리캐스트 콘크리트 단위패널 연결구조According to any one of claims 1 to 3, wherein the first, the second fixing member (10, 20) is made of a metal plate material proximal end is embedded in the circumferential surface of the concrete unit panel (1), The protruding portion 21 is formed by bending the front end of the second fixing member 20, the coupling hole 11 is precast concrete, characterized in that formed in a long hole shape to one side to correspond to the protruding portion 21 Unit panel connection structure
KR1020110031565A 2011-04-06 2011-04-06 Precast concrete panel module connecting structure Ceased KR20120113890A (en)

Priority Applications (1)

Application Number Priority Date Filing Date Title
KR1020110031565A KR20120113890A (en) 2011-04-06 2011-04-06 Precast concrete panel module connecting structure

Applications Claiming Priority (1)

Application Number Priority Date Filing Date Title
KR1020110031565A KR20120113890A (en) 2011-04-06 2011-04-06 Precast concrete panel module connecting structure

Publications (1)

Publication Number Publication Date
KR20120113890A true KR20120113890A (en) 2012-10-16

Family

ID=47283274

Family Applications (1)

Application Number Title Priority Date Filing Date
KR1020110031565A Ceased KR20120113890A (en) 2011-04-06 2011-04-06 Precast concrete panel module connecting structure

Country Status (1)

Country Link
KR (1) KR20120113890A (en)

Cited By (6)

* Cited by examiner, † Cited by third party
Publication number Priority date Publication date Assignee Title
CN110016981A (en) * 2019-04-03 2019-07-16 舒浪平 Crack resistence Prefabricated L-shaped corner-pillar
CN110016980A (en) * 2019-04-03 2019-07-16 舒浪平 Crack resistence prefabricated T-shaped corner-pillar
CN110029753A (en) * 2019-04-03 2019-07-19 舒浪平 A kind of crack resistence exempts from float strips board wall body and construction method
KR102296060B1 (en) * 2021-01-25 2021-09-01 공학봉 Reinforced concrete panel wall having corner concrete panel and its construction method
CN117052013A (en) * 2023-08-14 2023-11-14 中国十七冶集团有限公司 Use method of mortise and tenon type autoclaved aerated concrete plate
KR20250041483A (en) * 2023-09-18 2025-03-25 송성민 Tube typed side connecting apparetus and precast building using the same

Cited By (6)

* Cited by examiner, † Cited by third party
Publication number Priority date Publication date Assignee Title
CN110016981A (en) * 2019-04-03 2019-07-16 舒浪平 Crack resistence Prefabricated L-shaped corner-pillar
CN110016980A (en) * 2019-04-03 2019-07-16 舒浪平 Crack resistence prefabricated T-shaped corner-pillar
CN110029753A (en) * 2019-04-03 2019-07-19 舒浪平 A kind of crack resistence exempts from float strips board wall body and construction method
KR102296060B1 (en) * 2021-01-25 2021-09-01 공학봉 Reinforced concrete panel wall having corner concrete panel and its construction method
CN117052013A (en) * 2023-08-14 2023-11-14 中国十七冶集团有限公司 Use method of mortise and tenon type autoclaved aerated concrete plate
KR20250041483A (en) * 2023-09-18 2025-03-25 송성민 Tube typed side connecting apparetus and precast building using the same

Similar Documents

Publication Publication Date Title
KR20120113890A (en) Precast concrete panel module connecting structure
KR101289934B1 (en) Connection of compressed joint using post-tension between pc-column and pc beam and it's construction method
KR101371098B1 (en) Reinforcement structure of masonry wall
KR102004419B1 (en) Structure for reinforcing column using V-shaped ties
JP7285202B2 (en) Frame structures and buildings equipped with them
KR101531626B1 (en) Shear reinforcement member for precast concrete composite slab
JP2012057315A (en) Connection method and connection structure for pc members
RU2363821C1 (en) Multi-cellular reinforced concrete board intended for operation under conditions of high seismic activity
JP2012057314A (en) Connection method and connection structure for pc members and pc members
KR20170006848A (en) Panel fixture for building and construction method for panel assembly for building using that
KR101458409B1 (en) The precast concrete girder structure for a building
JP2013209829A (en) Construction method of wall
KR101722084B1 (en) Process of Bar Assembly
KR101492066B1 (en) Construction method for foundation structure of column
JP2005330758A (en) Additional reinforced wall method and additional reinforced wall structure of existing concrete wall
KR101720114B1 (en) Connecting method of curved panel and curved panel structure therwith
KR101231785B1 (en) Assembly block
KR100950258B1 (en) A mold for construction
JP6159155B2 (en) Precast member set, precast member crimping method, structure
KR101839681B1 (en) Block set for revetment construction
RU126024U1 (en) LOCK FOR CONNECTING CONCRETE BUILDING STRUCTURES
CN205369663U (en) Tee bend module about wall body for building
KR101540344B1 (en) Deformed Bar for Enhancing Bond Strength
RU2593611C1 (en) Device for bearing structures reinforcement
CN205369598U (en) Corner post module is striden to three off -plates of wall body for building

Legal Events

Date Code Title Description
A201 Request for examination
PA0109 Patent application

Patent event code: PA01091R01D

Comment text: Patent Application

Patent event date: 20110406

PA0201 Request for examination
PG1501 Laying open of application
E902 Notification of reason for refusal
PE0902 Notice of grounds for rejection

Comment text: Notification of reason for refusal

Patent event date: 20121026

Patent event code: PE09021S01D

E601 Decision to refuse application
PE0601 Decision on rejection of patent

Patent event date: 20130130

Comment text: Decision to Refuse Application

Patent event code: PE06012S01D

Patent event date: 20121026

Comment text: Notification of reason for refusal

Patent event code: PE06011S01I