KR20120095557A - 차량의 트레일링암 부시 - Google Patents

차량의 트레일링암 부시 Download PDF

Info

Publication number
KR20120095557A
KR20120095557A KR1020110014945A KR20110014945A KR20120095557A KR 20120095557 A KR20120095557 A KR 20120095557A KR 1020110014945 A KR1020110014945 A KR 1020110014945A KR 20110014945 A KR20110014945 A KR 20110014945A KR 20120095557 A KR20120095557 A KR 20120095557A
Authority
KR
South Korea
Prior art keywords
inner pipe
diameter portion
vehicle
pipe
trailing arm
Prior art date
Legal status (The legal status is an assumption and is not a legal conclusion. Google has not performed a legal analysis and makes no representation as to the accuracy of the status listed.)
Ceased
Application number
KR1020110014945A
Other languages
English (en)
Inventor
배경일
이기연
김봉수
Original Assignee
현대자동차주식회사
Priority date (The priority date is an assumption and is not a legal conclusion. Google has not performed a legal analysis and makes no representation as to the accuracy of the date listed.)
Filing date
Publication date
Application filed by 현대자동차주식회사 filed Critical 현대자동차주식회사
Priority to KR1020110014945A priority Critical patent/KR20120095557A/ko
Publication of KR20120095557A publication Critical patent/KR20120095557A/ko
Ceased legal-status Critical Current

Links

Images

Classifications

    • BPERFORMING OPERATIONS; TRANSPORTING
    • B60VEHICLES IN GENERAL
    • B60GVEHICLE SUSPENSION ARRANGEMENTS
    • B60G7/00Pivoted suspension arms; Accessories thereof
    • B60G7/04Buffer means for limiting movement of arms
    • BPERFORMING OPERATIONS; TRANSPORTING
    • B60VEHICLES IN GENERAL
    • B60GVEHICLE SUSPENSION ARRANGEMENTS
    • B60G11/00Resilient suspensions characterised by arrangement, location or kind of springs
    • B60G11/18Resilient suspensions characterised by arrangement, location or kind of springs having torsion-bar springs only
    • BPERFORMING OPERATIONS; TRANSPORTING
    • B60VEHICLES IN GENERAL
    • B60GVEHICLE SUSPENSION ARRANGEMENTS
    • B60G15/00Resilient suspensions characterised by arrangement, location or type of combined spring and vibration damper, e.g. telescopic type
    • BPERFORMING OPERATIONS; TRANSPORTING
    • B60VEHICLES IN GENERAL
    • B60GVEHICLE SUSPENSION ARRANGEMENTS
    • B60G15/00Resilient suspensions characterised by arrangement, location or type of combined spring and vibration damper, e.g. telescopic type
    • B60G15/02Resilient suspensions characterised by arrangement, location or type of combined spring and vibration damper, e.g. telescopic type having mechanical spring
    • B60G15/06Resilient suspensions characterised by arrangement, location or type of combined spring and vibration damper, e.g. telescopic type having mechanical spring and fluid damper
    • BPERFORMING OPERATIONS; TRANSPORTING
    • B60VEHICLES IN GENERAL
    • B60GVEHICLE SUSPENSION ARRANGEMENTS
    • B60G7/00Pivoted suspension arms; Accessories thereof
    • BPERFORMING OPERATIONS; TRANSPORTING
    • B60VEHICLES IN GENERAL
    • B60GVEHICLE SUSPENSION ARRANGEMENTS
    • B60G7/00Pivoted suspension arms; Accessories thereof
    • B60G7/02Attaching arms to sprung part of vehicle

Landscapes

  • Engineering & Computer Science (AREA)
  • Mechanical Engineering (AREA)
  • Vehicle Body Suspensions (AREA)

Abstract

본 발명은 차량 전후방향 및 상하방향의 강성을 적절한 수준으로 형성하여 차량의 승차감과 로드노이즈 성능을 향상시킬 수 있도록 함은 물론, 이와는 독립적으로 차량 횡방향의 강성을 충분히 확보할 수 있도록 함으로써, 차량의 핸들링 성능도 크게 향상시킬 수 있도록 한 차량의 트레일링암 부시를 제공한다.

Description

차량의 트레일링암 부시{Trailing Arm Bush for Vehicle}
본 발명은 차량의 후륜 현가장치를 구성하는 트레일링암을 차체에 연결하는 매개체로 사용되는 부시에 관한 것으로서, 보다 상세하게는 부시의 구조에 관한 기술이다.
도 1 내지 도 3은 종래 차량의 트레일링암 부시의 구조를 도시한 것으로서, 내측파이프(500)와 외측파이프(502) 사이에 고무재질의 완충부재(504)가 구비된 구조를 가지고 있으며, 상기 완충부재(504)는 내측파이프(500)와 외측파이프(502) 사이를 연결하는 부위로 이루어진 레그(506)와, 상기 내측파이프(500)와 외측파이프(502) 사이에 형성된 갭(508) 등이 일체로 구비된 구조이다.
상기한 바와 같은 트레일링암 부시는 차량의 핸들링, 승차감, 로드노이즈에 영향을 주는 바, 트레일링암 부시의 차량 좌우방향을 따른 강성이 높은 것이 차량 핸들링에 유리하며, 차량 전후 방향 강성이 작고 변형량이 큰 것이 승차감에 유리하며, 차량 상하방향 강성이 작은 것이 로드노이드 저감에 유리한 특성이 있다.
상기한 바와 같은 특성들을 감안하여 트레일링암 부시의 형상을 결정하여 차량에 적용하게 되는데, 트레일링암 부시의 전후방향 또는 상하방향 강성 및 변형량은 부시의 크기로 튜닝이 가능하지만, 차량의 좌우방향 즉, 횡방향의 강성값은 기본적으로 트레일링암 부시가 전단형으로 변형이 이루어지기 때문에 강성의 증대에 한계가 있어서, 차량의 핸들링 성능 최적화가 미흡한 경향이 있다.
본 발명은 상기한 바와 같은 문제점을 해결하기 위하여 안출된 것으로서, 차량 전후방향 및 상하방향의 강성을 적절한 수준으로 형성하여 차량의 승차감과 로드노이즈 성능을 향상시킬 수 있도록 함은 물론, 차량 횡방향의 강성을 충분히 확보할 수 있도록 함으로써, 차량의 핸들링 성능도 크게 향상시킬 수 있도록 한 차량의 트레일링암 부시를 제공함에 그 목적이 있다.
상기한 바와 같은 목적을 달성하기 위한 본 발명 차량의 트레일링암 부시는
중앙에 직선적으로 관통된 중공부를 구비하고, 상기 중공부의 축방향을 따라 단면의 외곽형상이 변화하도록 형성된 인너파이프와;
상기 인너파이프의 외측에 위치하며, 상기 인너파이프의 변화하는 외곽형상에 상응하도록 단면형상이 변화하도록 형성되어, 상기 중공부의 축방향을 따른 투영면의 일부가 상기 인너파이프의 투영면 일부와 중첩되도록 형성된 아웃터파이프와;
상기 중첩되는 투영면들을 형성하게 되는 상기 인너파이프와 아웃터파이프의 부분들 사이를 포함하여 상기 인너파이프와 아웃터파이프 사이에 개재된 완충부재;
를 포함하여 구성된 것을 특징으로 한다.
본 발명은 차량 전후방향 및 상하방향의 강성을 적절한 수준으로 형성하여 차량의 승차감과 로드노이즈 성능을 향상시킬 수 있도록 함은 물론, 차량 횡방향의 강성을 충분히 확보할 수 있도록 함으로써, 차량의 핸들링 성능도 크게 향상시킬 수 있도록 한다.
도 1 내지 도 3은 종래 기술에 따른 트레일링암 부시의 구조를 설명한 도면,
도 4는 본 발명에 따른 트레일링암 부시의 구조를 도시한 도면,
도 5와 도 6은 각각 도 4의 아웃터파이프와 인너파이프를 도시한 도면,
도 7은 도 4의 후방에서 관측한 도면,
도 8은 도 7의 Ⅷ-Ⅷ선 단면도,
도 9는 도 7의 Ⅸ-Ⅸ선 단면도이다.
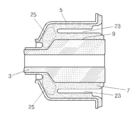
도 4 내지 도 9를 참조하면, 본 발명 실시예는 중앙에 직선적으로 관통된 중공부(1)를 구비하고, 상기 중공부(1)의 축방향을 따라 단면의 외곽형상이 변화하도록 형성된 인너파이프(3)와; 상기 인너파이프(3)의 외측에 위치하며, 상기 인너파이프(3)의 변화하는 외곽형상에 상응하도록 단면형상이 변화하도록 형성되어, 상기 중공부(1)의 축방향을 따른 투영면의 일부가 상기 인너파이프(3)의 투영면 일부와 중첩되도록 형성된 아웃터파이프(5)와; 상기 중첩되는 투영면들을 형성하게 되는 상기 인너파이프(3)와 아웃터파이프(5)의 부분들 사이를 포함하여 상기 인너파이프(3)와 아웃터파이프(5) 사이에 개재된 완충부재(7)를 포함하여 구성된다.
즉, 상기 인너파이프(3)와 아웃터파이프(5)의 적어도 일부가 상기 중공부(1)의 축방향으로 서로 겹쳐질 수 있는 상태에서, 그 사이에 상기 완충부재(7)가 개재된 구성을 취함으로써, 상기 중공부(1)의 축방향을 따른 강성의 확보 및 향상이 가능하도록 한 것이며, 여기서 상기 중공부(1)의 축방향은 실제 차량에 장착된 상태에서 차량의 횡방향을 따르는 방향이므로, 결과적으로 트레일링암 부시의 차량 횡방향 강성을 확보 및 향상시킬 수 있어서 차량의 핸들링 성능을 원하는 수준으로 향상시킬 수 있도록 하는 것이다.
본 실시예에서는 후술하는 상기 인너파이프(3)의 돌출부(9)의 외측 일부와 후술하는 상기 아웃터파이프(5)의 소내경부(11)의 일부가 상기 중공부(1)의 축방향을 따라 투영시키면 서로 중첩되게 되는 구조를 가지고 있다.
상기 인너파이프(3)는 길이방향을 따라 일측에 소외경부(13)가 구비되고, 타측에 상기 소외경부(13)보다 외곽 직경이 큰 대외경부(15)가 구비되며, 상기 소외경부(13)와 대외경부(15) 사이는 부드러운 경사면으로 연결된다.
본 실시예에서, 상기 소외경부(13)는 상기 중공부(1)와 동심축을 이루는 원주형으로 형성되고, 상기 대외경부(15)는 상기 중공부(1)의 원주방향을 따라 다수의 돌출부(9)가 배치되어 굴곡을 이루는 형상으로 형성되며, 상기 다수의 돌출부(9)가 상기 중공부(1)로부터 돌출된 반경방향 길이는 원주방향을 따라 차례로 교번하여 변화하도록 형성된다.
본 실시예에서는 상기 돌출부(9)는 4개가 구비되어 도 7에서 확인할 수 있듯이 수직방향의 두 개는 수평방향의 두 개에 비하여 상대적으로 반경방향으로 돌출된 길이가 길게 형성되어 있다.
상기 아웃터파이프(5)는 일측에 상기 인너파이프(3)의 소외경부(13)가 관통되도록 소내경부(11)가 형성되고, 타측에 상기 인너파이프(3)의 대외경부(15)를 감싸도록 대내경부(17)가 형성되며, 상기 소내경부(11)와 대내경부(17) 사이는 상기 인너파이프(3)의 경사면에 상응하는 형상의 경사면으로 연결된다.
상기 아웃터파이프(5)의 대내경부(17)의 단부에는 반경방향 외측으로 벌어지는 형상의 플랜지(19)가 구비되고, 상기 완충부재(7)는 상기 플랜지(19)의 일측면까지 연장되어 형성되는 바, 도 7에는 상기 연장되어 형성된 완충부재(7)가 원형으로 표현되어 있다.
상기 완충부재(7)에는 상기 인너파이프(3)의 돌출부(9)들 사이의 공간에 상기 인너파이프(3)와 아웃터파이프(5)를 연결하는 브릿지(21)가 형성되고, 상기 인너파이프(3)의 돌출부(9)가 돌출된 부위에서 상기 플랜지(19)쪽으로부터 함몰된 공간으로 갭(23)이 형성되며, 상기 인너파이프(3)와 아웃터파이프(5)의 경사면들 사이에는 공간 없이 채워진 스토퍼부(25)가 형성된다.
즉, 상기 스토퍼부(25)는 상기 인너파이프(3)와 아웃터파이프(5)가 상기 중공부(1)의 축방향으로 상대적으로 이동하려고 할 때, 상기 완충부재(7)의 스토퍼부(25)가 압축되면서 견실한 강성을 제공할 수 있도록 한 것이다.
물론, 상기 완충부재(7)에 형성되는 상기 갭(23)은 상기 트레일링암 부시의 반경방향 강성 및 변형량, 즉, 차량의 전후방향 및 상하방향의 강성 및 변형량을 적절히 확보할 수 있도록 형성됨으로써, 상기한 바와 같은 구성의 트레일링암 부시는 차량의 전후방향, 상하방향은 물론, 차량의 횡방향을 따른 강성값을 서로 독립적으로 튜닝할 수 있어서, 차량에서 원하는 핸들링 성능과 승차감 및 로드노이즈 특성을 고루 충족시킬 수 있도록 한다.
1; 중공부
3; 인너파이프
5; 아웃터파이프
7; 완충부재
9; 돌출부
11; 소내경부
13; 소외경부
15; 대외경부
17; 대내경부
19; 플랜지
21; 브릿지
23; 갭
25; 스토퍼부

Claims (6)

  1. 중앙에 직선적으로 관통된 중공부를 구비하고, 상기 중공부의 축방향을 따라 단면의 외곽형상이 변화하도록 형성된 인너파이프와;
    상기 인너파이프의 외측에 위치하며, 상기 인너파이프의 변화하는 외곽형상에 상응하도록 단면형상이 변화하도록 형성되어, 상기 중공부의 축방향을 따른 투영면의 일부가 상기 인너파이프의 투영면 일부와 중첩되도록 형성된 아웃터파이프와;
    상기 중첩되는 투영면들을 형성하게 되는 상기 인너파이프와 아웃터파이프의 부분들 사이를 포함하여 상기 인너파이프와 아웃터파이프 사이에 개재된 완충부재;
    를 포함하여 구성된 차량의 트레일링암 부시.
  2. 청구항 1에 있어서,
    상기 인너파이프는 길이방향을 따라 일측에 소외경부가 구비되고, 타측에 상기 소외경부보다 외곽 직경이 큰 대외경부가 구비되며, 상기 소외경부와 대외경부 사이는 부드러운 경사면으로 연결된 것
    을 특징으로 하는 차량의 트레일링암 부시.
  3. 청구항 2에 있어서,
    상기 소외경부는 상기 중공부와 동심축을 이루는 원주형으로 형성되고;
    상기 대외경부는 상기 중공부의 원주방향을 따라 다수의 돌출부가 배치되어 굴곡을 이루는 형상으로 형성되며, 상기 다수의 돌출부가 상기 중공부로부터 돌출된 반경방향 길이는 원주방향을 따라 차례로 교번하여 변화하도록 형성된 것
    을 특징으로 하는 차량의 트레일링암 부시.
  4. 청구항 3에 있어서,
    상기 아웃터파이프는
    일측에 상기 인너파이프의 소외경부가 관통되도록 소내경부가 형성되고;
    타측에 상기 인너파이프의 대외경부를 감싸도록 대내경부가 형성되며;
    상기 소내경부와 대내경부 사이는 상기 인너파이프의 경사면에 상응하는 형상의 경사면으로 연결된 것
    을 특징으로 하는 차량의 트레일링암 부시.
  5. 청구항 4에 있어서,
    상기 아웃터파이프의 대내경부의 단부에는 반경방향 외측으로 벌어지는 형상의 플랜지가 구비되고;
    상기 완충부재는 상기 플랜지의 일측면까지 연장되어 형성된 것
    을 특징으로 하는 차량의 트레일링암 부시.
  6. 청구항 5에 있어서,
    상기 완충부재에는
    상기 인너파이프의 돌출부들 사이의 공간에 상기 인너파이프와 아웃터파이프를 연결하는 브릿지가 형성되고;
    상기 인너파이프의 돌출부가 돌출된 부위에서 상기 플랜지쪽으로부터 함몰된 공간으로 갭이 형성되며;
    상기 인너파이프와 아웃터파이프의 경사면들 사이에는 공간 없이 채워진 스토퍼부가 형성된 것
    을 특징으로 하는 차량의 트레일링암 부시.
KR1020110014945A 2011-02-21 2011-02-21 차량의 트레일링암 부시 Ceased KR20120095557A (ko)

Priority Applications (1)

Application Number Priority Date Filing Date Title
KR1020110014945A KR20120095557A (ko) 2011-02-21 2011-02-21 차량의 트레일링암 부시

Applications Claiming Priority (1)

Application Number Priority Date Filing Date Title
KR1020110014945A KR20120095557A (ko) 2011-02-21 2011-02-21 차량의 트레일링암 부시

Publications (1)

Publication Number Publication Date
KR20120095557A true KR20120095557A (ko) 2012-08-29

Family

ID=46885970

Family Applications (1)

Application Number Title Priority Date Filing Date
KR1020110014945A Ceased KR20120095557A (ko) 2011-02-21 2011-02-21 차량의 트레일링암 부시

Country Status (1)

Country Link
KR (1) KR20120095557A (ko)

Cited By (3)

* Cited by examiner, † Cited by third party
Publication number Priority date Publication date Assignee Title
CN104527354A (zh) * 2015-01-26 2015-04-22 安徽江淮汽车股份有限公司 一种摆臂衬套结构和一种汽车
KR102033154B1 (ko) * 2018-04-30 2019-11-29 평화산업주식회사 전기자동차의 서스펜션 부쉬구조
CN115217875A (zh) * 2022-07-29 2022-10-21 重庆长安汽车股份有限公司 一种前摆臂后衬套和前摆臂

Cited By (3)

* Cited by examiner, † Cited by third party
Publication number Priority date Publication date Assignee Title
CN104527354A (zh) * 2015-01-26 2015-04-22 安徽江淮汽车股份有限公司 一种摆臂衬套结构和一种汽车
KR102033154B1 (ko) * 2018-04-30 2019-11-29 평화산업주식회사 전기자동차의 서스펜션 부쉬구조
CN115217875A (zh) * 2022-07-29 2022-10-21 重庆长安汽车股份有限公司 一种前摆臂后衬套和前摆臂

Similar Documents

Publication Publication Date Title
KR101427079B1 (ko) 자동차 현가장치용 로어아암
JP2015020670A (ja) トレーリングアーム
KR20120095557A (ko) 차량의 트레일링암 부시
KR20150118668A (ko) 트레일링암 부시
CN206984002U (zh) 弹性件、转向架及轨道车辆
CN205022321U (zh) 减振器的缓冲装置
CN206106852U (zh) 一种摆臂衬套和摆臂衬套组件
KR20120045273A (ko) 차량의 트레일링암부시
JP5568522B2 (ja) ダンパーマウント
CN105074261B (zh) 防振装置
CN102829113A (zh) 滚筒式减震悬置装置
JP2014190509A (ja) 防振装置
CN204200937U (zh) 一种涨型汽车减震内套
CN203391609U (zh) 二级隔振下系杆结构
CN203739567U (zh) 一种汽车多连杆悬架纵托臂衬套
CN104132088A (zh) 一种车用减震垫
CN202646495U (zh) 一种副车架衬套
KR20130052959A (ko) 서스펜션 암의 부시 구조
KR101321033B1 (ko) 스테빌라이저바가 장착되는 리어 서브프레임의 구조
CN203202112U (zh) 减震器连接支撑装置
CN202753755U (zh) 一种汽车动力总成橡胶悬置软垫
CN209026101U (zh) 一种缓冲块
CN105172508A (zh) 一种减振器的缓冲装置
JP6497343B2 (ja) 車両のサスペンション構造
CN207809048U (zh) 一种汽车排气管吊耳

Legal Events

Date Code Title Description
PA0109 Patent application

Patent event code: PA01091R01D

Comment text: Patent Application

Patent event date: 20110221

PG1501 Laying open of application
A201 Request for examination
PA0201 Request for examination

Patent event code: PA02012R01D

Patent event date: 20151023

Comment text: Request for Examination of Application

Patent event code: PA02011R01I

Patent event date: 20110221

Comment text: Patent Application

E902 Notification of reason for refusal
PE0902 Notice of grounds for rejection

Comment text: Notification of reason for refusal

Patent event date: 20161228

Patent event code: PE09021S01D

E601 Decision to refuse application
PE0601 Decision on rejection of patent

Patent event date: 20170418

Comment text: Decision to Refuse Application

Patent event code: PE06012S01D

Patent event date: 20161228

Comment text: Notification of reason for refusal

Patent event code: PE06011S01I