KR20120081970A - 2축 갱 타입 cnc 선반 - Google Patents
2축 갱 타입 cnc 선반 Download PDFInfo
- Publication number
- KR20120081970A KR20120081970A KR1020120074775A KR20120074775A KR20120081970A KR 20120081970 A KR20120081970 A KR 20120081970A KR 1020120074775 A KR1020120074775 A KR 1020120074775A KR 20120074775 A KR20120074775 A KR 20120074775A KR 20120081970 A KR20120081970 A KR 20120081970A
- Authority
- KR
- South Korea
- Prior art keywords
- axis
- unit
- gang
- workpiece
- axis direction
- Prior art date
- Legal status (The legal status is an assumption and is not a legal conclusion. Google has not performed a legal analysis and makes no representation as to the accuracy of the status listed.)
- Withdrawn
Links
- 238000003754 machining Methods 0.000 claims description 14
- 238000000034 method Methods 0.000 claims description 10
- 230000000295 complement effect Effects 0.000 claims description 4
- 230000008878 coupling Effects 0.000 description 4
- 238000010168 coupling process Methods 0.000 description 4
- 238000005859 coupling reaction Methods 0.000 description 4
- 238000003801 milling Methods 0.000 description 4
- 230000008569 process Effects 0.000 description 4
- 238000010079 rubber tapping Methods 0.000 description 3
- 230000008901 benefit Effects 0.000 description 2
- 238000010924 continuous production Methods 0.000 description 1
- 238000010586 diagram Methods 0.000 description 1
- 238000010030 laminating Methods 0.000 description 1
- 238000012986 modification Methods 0.000 description 1
- 230000004048 modification Effects 0.000 description 1
Images
Classifications
-
- B—PERFORMING OPERATIONS; TRANSPORTING
- B23—MACHINE TOOLS; METAL-WORKING NOT OTHERWISE PROVIDED FOR
- B23B—TURNING; BORING
- B23B9/00—Automatic or semi-automatic turning-machines with a plurality of working-spindles, e.g. automatic multiple-spindle machines with spindles arranged in a drum carrier able to be moved into predetermined positions; Equipment therefor
- B23B9/02—Automatic or semi-automatic machines for turning of stock
-
- B—PERFORMING OPERATIONS; TRANSPORTING
- B23—MACHINE TOOLS; METAL-WORKING NOT OTHERWISE PROVIDED FOR
- B23B—TURNING; BORING
- B23B3/00—General-purpose turning-machines or devices, e.g. centre lathes with feed rod and lead screw; Sets of turning-machines
- B23B3/30—Turning-machines with two or more working-spindles, e.g. in fixed arrangement
- B23B3/32—Turning-machines with two or more working-spindles, e.g. in fixed arrangement for performing identical operations simultaneously on two or more workpieces
-
- B—PERFORMING OPERATIONS; TRANSPORTING
- B23—MACHINE TOOLS; METAL-WORKING NOT OTHERWISE PROVIDED FOR
- B23B—TURNING; BORING
- B23B31/00—Chucks; Expansion mandrels; Adaptations thereof for remote control
- B23B31/02—Chucks
- B23B31/026—Chucks the radial or angular position of the tool being adjustable
- B23B31/0261—Chucks the radial or angular position of the tool being adjustable for centering the tool
-
- B—PERFORMING OPERATIONS; TRANSPORTING
- B23—MACHINE TOOLS; METAL-WORKING NOT OTHERWISE PROVIDED FOR
- B23B—TURNING; BORING
- B23B2260/00—Details of constructional elements
- B23B2260/062—Electric motors
Landscapes
- Engineering & Computer Science (AREA)
- Mechanical Engineering (AREA)
- Machine Tool Units (AREA)
Abstract
본 발명은 Z축 방향으로 이동 가능한 메인 스핀들과 보조 스핀들을 갖춘 2축 선반에 X 및 Y축 방향으로 이동 가능한 2개의 갱 타입 공구대를 적용시킨 2축 갱 타입 CNC 선반을 개시한다. 본 발명은, 베드유닛; 베드유닛에 설치되며, 가공물을 파지하여 회전시키는 동시에 가공물의 회전축에 평행한 Z축 방향으로 왕복 이동 가능한 메인 스핀들유닛; 메인 스핀들유닛과 대향하도록 베드유닛에 설치되며, 가공물을 파지하여 회전시키는 동시에 상기 Z축 방향으로 이동 가능한 서브 스핀들유닛; 가공물을 가공하기 위한 다수의 공구가 장착되며, 메인 스핀들유닛과 서브 스핀들유닛 사이에서 Y축 방향으로 이동 가능한 공구홀딩유닛; 및 공구홀딩유닛을 지지함과 아울러 공구홀딩유닛을 X축 방향으로 왕복 이동시키는 이동유닛;을 포함한다. 본 발명은 공구홀딩유닛을 X축 방향으로 이동시킴으로써 메인 스핀들유닛과 서브 스핀들유닛을 이용한 가공물의 셀프 로딩이 가능하고, 공구홀딩유닛을 Y축 방향으로 이동 가능하게 구성함으로써 공구홀딩유닛의 Y축 스트로크에 따라 많은 수의 공구를 장착할 수 있다. 즉, 본 발명은 갱 타입 공구대의 장점을 그대로 유지하면서 터렛 타입 공구대에 버금하는 많은 수의 공구를 장착하여 사용할 수 있으며, 갠트리 로더와 같은 로딩장치를 사용하지 않고 가공물의 셀프 로딩이 가능하므로, 다양한 가공물을 가공할 수 있을 뿐만 아니라 가공 사이클 타임을 단축시킬 수 있다.
Description
본 발명은 CNC 선반에 관한 것이며, 보다 구체적으로는 Z축 방향으로 이동 가능한 메인 스핀들과 보조 스핀들을 갖춘 2축 선반에 X 및 Y축 방향으로 이동 가능한 2개의 갱 타입 공구대를 적용시킨 2축 갱 타입 CNC 선반에 관한 것이다.
잘 알려진 바와 같이, CNC 선반은 가공물이 척킹되는 주축(스핀들)의 수에 따라 단축 선반(single spindle lathe)과 대향형 2축 선반(double spindle lathe)으로 분류된다.
상기 대향형 2축 선반은 베드유닛의 양측에 메인 스핀들과 서브 스핀들이 서로 마주보도록 설치된 것으로서, 하나의 베드를 이용함으로써 설비비를 절감하고, 작업공간을 줄이는 동시에 양쪽 스핀들에서 연속되는 공정의 작업이 가능하여 생산성 향상을 도모할 수 있다.
상기 메인 스핀들과 서브 스핀들 사이에는 가공물을 가공하는 공구가 장착되는 공구대가 배치된다. 이 공구대는 터렛 타입과 갱 타입이 알려져 있으며, 이러한 공구대의 적용에 따라 선반은 터렛 타입 선반(turret type lathe)과 갱 타입 선반(gang type lathe)으로 분류되기도 한다.
상기 터렛 타입 공구대는 회전드럼에 각종 공구를 장착하여 프로그램에 의해 선택 사용한다. 비교적 많은 공구를 장착할 수 있다는 장점은 있으나, 공구 선택 회전시간이 증가함으로써 가공 사이클 타임이 길어지는 단점이 있다.
상기 갱 타입 공구대는 테이블 위에 나열식으로 공구를 설치하여 고정시킨 방식으로 공구 선택 회전시간을 줄일 수 있어 작업이 빠르고 고강성이나, 공구수의 제한적인 이용 등으로 인하여 단순한 가공에 제한적으로 사용되고 있는 실정이다.
또한, 상기한 바와 같은 대향형 2축 CNC 선반은 예를 들어, 메인 스핀들에 가공물을 척킹한 상태로 1차 가공을 한 후, 그 가공물의 배면을 가공하기 위하여 가공물을 서브 스핀들로 이동시켜 척킹하는 경우, 갠트리 로더라는 별도의 장치를 이용하므로 작업이 번거롭고 가공 사이클 타임이 길어지는 단점이 있다.
본 발명은 상기와 같은 점을 감안하여 안출한 것으로, Z축 방향으로 이동 가능한 메인 스핀들 및 서브 스핀들에 대하여 X축 및 Y축 방향으로 이동 가능한 갱 타입 공구대를 구성함으로써, 상기 메인 스핀들과 서브 스핀들을 이용한 가공물의 셀프 로딩이 가능한 2축 갱 타입 CNC 선반을 제공하는데 그 목적이 있다.
본 발명의 다른 목적은, 상기 갱 타입 공구대가 Y축 방향으로 이동 가능함으로써 Y축 방향 이동 스트로크에 따라 보다 많은 수의 공구를 장착하여 사용할 수 있는 2축 갱 타입 CNC 선반을 제공하는데 있다.
본 발명의 또 다른 목적은, 상기 갱 타입 공구대에 드릴이나 밀링커터와 같은 회전공구를 부착함으로써, 기존의 갱 타입 선반에서는 불가능하였던 가공물의 측면 드릴이나 밀링, 정면 편심 및 탭핑 가공이 가능한 2축 갱 타입 CNC 선반을 제공하는데 있다.
상기 목적을 달성하기 위한 본 발명의 일 실시예에 의한 2축 갱 타입 CNC 선반은, 베드유닛; 상기 베드유닛에 설치되며, 가공물을 파지하는 척을 구비하여 가공물을 회전시키며, 상기 가공물의 회전축에 평행한 Z축 방향으로 왕복 이동 가능한 메인 스핀들유닛; 상기 메인 스핀들유닛과 대향하도록 상기 베드유닛에 설치되며, 상기 메인 스핀들유닛과 동일한 구조의 가공물을 파지하는 척을 구비하여 가공물을 회전시키며, 상기 Z축 방향으로 왕복 이동 가능한 서브 스핀들유닛; 상기 가공물을 가공하기 위한 다수의 선삭공구가 장착되며, 상기 메인 스핀들유닛과 상기 서브 스핀들유닛 사이에서 Y축 방향으로 독립적으로 이동 가능한 한 쌍의 제1 및 제2갱 슬라이더, 상기 제1 및 제2갱 슬라이더를 이동 가능하게 지지하는 제1 및 제2지지부재 및 상기 제1 및 제2지지부재에 구비되어 상기 제1 및 제2갱 슬라이더를 Y축 방향으로 이동시키는 제1 및 제2 Y축 이송부재를 구비하는 공구홀딩유닛; 상기 공구홀딩유닛을 X축 방향으로 왕복 이동 가능하게 지지함으로써 상기 메인 스핀들유닛과 서브 스핀들유닛의 척이 접하는 위치까지 이동할 수 있게 하여 가공물의 셀프 로딩을 가능케 하기 위한 것으로서, 상기 베드유닛에 고정된 하나의 고정블록, 상기 고정블록의 양측에 마련되고 상기 제1 및 제2지지부재에 X축 방향으로 길게 형성된 가이드와 상보적으로 결합되어 상기 제1 및 제2지지부재의 측면이 상기 고정블록의 양측면에 접한 상태에서 X축 방향으로 이동하도록 지지하는 X축 가이드레일 및 상기 고정블록에 설치되어 상기 제1 및 제2지지부재를 X축 방향으로 이동시키는 제1 및 제2 X축 이송부재를 구비하는 이동유닛; 및 상기 제1 및 제2갱 슬라이더에 각각 소정각도 회전 가능하게 설치되며, 다수의 회전공구가 장착되는 제1 및 제2회전공구블록 및 상기 제1 및 제2회전공구블록에 각각 설치되어 상기 회전공구를 회전시키는 제1 및 제2구동원을 구비하는 제1 및 제2회전공구대;를 포함하여, 상기 메인 스핀들유닛의 회전 및 Z축 방향 왕복 이동에 의한 2축, 상기 서브 스핀들유닛의 회전 및 Z축 방향 왕복 이동에 의한 2축, 상기 제1 및 제2갱 슬라이더의 Y축 방향 왕복 이동에 의한 2축, 상기 제1 및 제2갱 슬라이더의 X축 방향 왕복 이동에 의한 2축 및 상기 제1 및 제2회전공구대의 회전에 의한 2축을 포함하는 총 10축 가공 시스템을 구현하며, 상기 공구홀딩유닛의 제1 및 제2지지부재의 X축 방향 슬라이드 지지점이 공작물 가공 중심축과 일치하도록 위치한 것을 특징으로 한다.
본 발명의 바람직한 실시예에 의하면, 상기 다수의 선삭공구는 상기 가공물의 회전축에 대하여 수직 방향 또는 수평 방향으로 장착될 수 있다.
또한, 상기 제1 및 제2 Y축 이송부재는 각각, 상기 제1 및 제2지지부재에 Y축 방향으로 설치된 제1 및 제2리드스크류; 상기 제1 및 제2갱 슬라이더의 배면에 마련되며, 상기 제1 및 제2리드스크류가 관통 결합되는 제1 및 제2리드스크류 수용부재; 및 상기 제1 및 제2리드스크류에 연결되어 상기 제1 및 제2리드스크류를 정,역 회전시키는 제1 및 제2구동원;을 포함하여 구성될 수 있다.
또한, 상기 제1 및 제2지지부재에는 한 쌍의 Y축 가이드레일이 각각 형성되고, 상기 제1 및 제2갱 슬라이더에는 상기 한 쌍의 Y축 가이드레일과 각각 상보적으로 결합되는 한 쌍의 가이드가 각각 형성되어 구성될 수 있다.
또한, 상기 회전공구는 상기 제1 및 제2회전공구블록의 하면 또는 일측면에 고정될 수 있다.
또한, 상기 제1 및 제2 X축 이송부재는 각각, 상기 고정블록의 양측에 X축 방향으로 각각 배치된 제1 및 제2리드스크류; 상기 제1 및 제2지지부재에 각각 형성되며, 상기 제1 및 제2리드스크류가 관통 결합되는 제1 및 제2리드스크류 수용부재; 및 상기 제1 및 제2리드스크류에 결합되어 제1 및 제2리드스크류를 정,역 회전시키는 제1 및 제2구동원;을 포함하여 구성될 수 있다.
본 발명에 의하면, 절삭공구가 장착되는 2개의 갱 슬라이더가 Y축 방향으로 배치되어 상하 이동하기 때문에, 보다 많은 수, 즉 기존의 터렛형 선반에 버금가는 수의 공구를 장착할 수 있어, 갱 타입 선반의 장점인 가공 사이클 타임이 빠르다는 장점을 유지하면서도 복잡한 형상의 가공물도 용이하게 가공할 수 있다.
또한, 본 발명에 의한 2축 갱 타입 CNC 선반은, 2개의 갱 슬라이더에 회전공구를 장착할 수 있는 회전공구대를 마련함으로써, 기존의 갱 타입 선반에서는 가공할 수 없었던 가공물의 측면 드릴, 밀링, 정면 편심 및 탭핑 가공은 물론 기어가공과 경사공의 가공까지도 할 수 있는 등 보다 다양하고 복잡한 형상의 가공물을 가공할 수 있다.
또한, 본 발명에 의한 2축 갱 타입 CNC 선반은, 공구홀딩유닛이 X축 방향으로 이동 가능하기 때문에, 메인 스핀들유닛과 서브 스핀들유닛을 이용한 가공물의 셀프 로딩이 가능하다. 예컨대, 기존의 갱 타입 선반에서는 가공물의 로딩을 위하여 겐트리로더를 사용하였으나, 본 발명은 겐트리로더를 사용하지 않고 가공물을, 예컨대 메인 스핀들유닛에서 서브 스핀들유닛으로 옮겨 척킹하는 셀프 로딩이 가능하다. 따라서, 가공시스템의 구조적인 간소화 및 가공 사이클 타임의 단축을 도모할 수 있다.
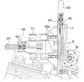
도 1은 본 발명의 일 실시예에 의한 2축 갱 타입 CNC 선반의 외관도,
도 2는 도 1의 분해 사시도,
도 3은 도 1의 Ⅲ-Ⅲ선을 따라 취한 단면도,
도 4는 도 1의 Ⅳ-Ⅳ선을 따라 취한 단면도,
도 5는 본 발명의 다른 실시예에 의한 2축 갱 타입 CNC 선반의 개략도,
도 6a 및 6b는 본 발명의 일 실시예에 의한 2축 갱 타입 CNC 선반에서 메인 스핀들유닛과 서브 스핀들유닛을 이용한 가공물의 셀프 로딩 동작을 나타낸 도면, 그리고,
도 7a 내지 7c는 본 발명의 일 실시예에 의한 2축 갱 타입 CNC 선반에서 공구홀딩유닛의 다양한 동작 예를 보인 도면들이다.
도 2는 도 1의 분해 사시도,
도 3은 도 1의 Ⅲ-Ⅲ선을 따라 취한 단면도,
도 4는 도 1의 Ⅳ-Ⅳ선을 따라 취한 단면도,
도 5는 본 발명의 다른 실시예에 의한 2축 갱 타입 CNC 선반의 개략도,
도 6a 및 6b는 본 발명의 일 실시예에 의한 2축 갱 타입 CNC 선반에서 메인 스핀들유닛과 서브 스핀들유닛을 이용한 가공물의 셀프 로딩 동작을 나타낸 도면, 그리고,
도 7a 내지 7c는 본 발명의 일 실시예에 의한 2축 갱 타입 CNC 선반에서 공구홀딩유닛의 다양한 동작 예를 보인 도면들이다.
이하, 본 발명의 바람직한 실시예를 첨부도면에 의거하여 상세히 설명한다. 참고로, 본 발명의 실시예를 설명함에 있어서 관련된 공지 기능 및 구성에 대한 구체적인 설명이 본 발명의 요지를 불필요하게 흐릴 수 있다고 판단되는 경우 그에 대한 상세한 설명은 생략한다.
도 1 및 도 2에 도시된 바와 같이, 본 발명의 일 실시예에 의한 2축 갱 타입 CNC 선반은, 베드유닛(10), 메인 스핀들유닛(20), 서브 스핀들유닛(30), 공구홀딩유닛(40) 및 이동유닛(50) 등을 구비한다.
상기 베드유닛(10)은 본체 프레임(11), 상기 본체 프레임(11)에 마련된 한 쌍의 제1베드부재(12) 및 제2베드부재(13), 상기 메인스핀들유닛(20)과 상기 서브 스핀들유닛(30)을 Z축 방향으로 이송시키기 위한 제1 및 제2 Z축 이송부재(14,15) 및 상기 이동유닛(50)을 지지하는 이동유닛 지지부(16)를 구비한다.
상기 제1 및 제2 Z축 이송부재(14,15)는 각각 상기 제1베드부재(12) 및 제2베드부재(13)의 중앙부에 각각 Z축 방향으로 설치된 제1 및 제2리드스크류(141,151)와, 상기 제1 및 제2리드스크류(141,151)에 각각 결합되어 상기 리드스크류(141,151)를 정,역방향으로 회전시키는 제1 및 제2구동원(142,152)을 구비한다. 여기서, 상기 제1 및 제2구동원(142,152)은 유압 엑추에이터나 전기모터로 구성될 수 있다. 그리고, 상기 제1 및 제2리드스크류는 볼스크류로 구성될 수도 있다.
상기 메인 스핀들유닛(20)은 가공물을 파지하여 회전시키는 동시에 상기 가공물의 회전축에 평행한 Z축 방향으로 왕복 이동하도록 상기 제1베드부재(12)에 설치된다. 이와 같은 메인 스핀들유닛(20)은 회전구동원이 내장된 본체(21), 상기 본체(21)에 설치되며 가공물을 척킹하는 척(22) 및 상기 본체(21)를 지지하는 베이스(23)를 구비한다. 상기 베이스(23)는 상기 제1베드부재(12)에 상보적으로 결합되는 가이드(23a)가 양측에 구비되고, 중앙에는 상기 제1리드스크류(141)가 관통 결합되는 스크류 수용부재(23b)가 형성된다.
상기 서브 스핀들유닛(30)은 상기 메인 스핀들유닛(20)과 대향하도록 상기 상기 제2베드부재(13)에 설치되며, 가공물을 파지하여 회전시키는 동시에 상기 Z축 방향으로 이동 가능하게 마련된다. 이와 같은 서브 스핀들유닛(30)의 구성은 상기한 메인 스핀들유닛(20)의 구성과 동일하다. 즉, 서브 스핀들유닛(30)은 회전구동원이 내장된 본체(31), 상기 본체(31)에 설치되며 가공물을 척킹하는 척(32) 및 상기 본체(31)를 지지하는 베이스(33)를 구비한다. 상기 베이스(33)는 상기 제2베드부재(13)에 상보적으로 결합되는 가이드(33a)가 양측에 구비되고, 중앙에는 상기 제2리드스크류(151)가 관통 결합되는 스크류 수용부재(33b)가 형성된다.
상기와 같이 구성된 메인 스핀들유닛(20) 및 서브 스핀들유닛(30)은 도 6a 및 6b에 나타낸 바와 같이, 양측 스핀들유닛(20,30)의 척(22,23)이 거의 맞닿는 위치까지 접근하도록 Z축 방향으로 이동할 수 있다.
상기 공구홀딩유닛(40)은 상기 가공물을 가공하기 위한 다수의 공구가 장착되는 것으로서, 상기 메인 스핀들유닛(20)과 상기 서브 스핀들유닛(30) 사이에서 Y축 방향(수직방향을 말함)으로 이동 가능하게 설치된다. 즉, 기존에 알려진 2축 갱 타입 선반에서는 공구홀딩유닛이 X축 방향으로 이동 가능하게 설치됨으로써 갱 슬라이더의 길이를 크게 하는데 제한이 있었으나, 본 발명에서는 공구홀딩유닛을 Y축 방향으로 이동 가능하게 구성함으로써 갱 슬라이더의 길이를 보다 길게 할 수 있어 보다 많은 수의 공구를 장착할 수 있다.
상기와 같은 공구홀딩유닛(40)은 도 1 내지 도 4에 나타낸 바와 같이, 제1 및 제2갱 슬라이더(41,42), 제1 및 제2지지부재(43,44), 제1 및 제2 Y축 이송부재(45,46)를 구비한다.
상기 제1 및 제2갱 슬라이더(41,42)에는 다수의 공구(B:예컨대 선삭공구)가 장착된다. 상기 제1갱 슬라이더(41)는 메인 스핀들유닛(20)에 척킹된 가공물을 가공하기 위한 것이며, 상기 제2갱 슬라이더(42)는 서브 스핀들유닛(30)에 척킹된 가공물을 가공하기 위한 것이다. 상기 공구(B)들은 각각의 갱 슬라이더(41,42)에서 가공물의 회전축에 대하여 수직한 방향으로 고정된다. 그러나, 상기 공구들은 도시하지 않았으나, 각각의 갱 슬라이더에서 가공물의 회전축에 대하여 수평한 방향으로 고정될 수도 있다. 상기 수직한 방향으로 고정되는 공구들은 가공물의 외경 선삭에, 상기 수평한 방향으로 고정된 공구들은 가공물의 내경 선삭에 주로 사용된다.
또한, 상기 제1 및 제2갱 슬라이더(41,42)에는 상기 제1 및 제2지지부재(43,44)와의 슬라이드 결합을 위한 구조로서, 한 쌍의 가이드(411, 421)가 마련되며, 또한, 상기 제1 및 제2 Y축 이송부재(45,46)와의 결합을 위한 제1 및 제2스크류 수용부재(412,422)가 형성된다.
상기 제1 및 제2지지부재(43,44)는 상기 제1 및 제2갱 슬라이더(41,42)를 Y축 방향으로 이동 가능하게 지지한다. 상기 제1 및 제2지지부재(43,44)는 수직블럭(431,441)과 이 수직블럭의 배면으로 연장된 수평블럭(432,442)을 구비한다. 상기 수직블럭(431,441)에는 상기 제1 및 제2갱 슬라이더(41,42)의 가이드(411,421)와 상보적으로 결합되는 한 쌍의 Y축 가이드레일(431a,441a)이 각각 형성되며, 상기 수평블럭(432,442)에는 후술될 이동유닛(50)과의 슬라이드 결합을 위한 한 쌍의 가이드(432a,442a)가 형성된다. 또한, 상기 수평블럭(432,442)에는 후술될 이동유닛(50)과의 결합을 위한 제1 및 제2스크류 수용부재(433,443)가 형성된다. 여기서, 상기 가이드(411,421) 및 가이드레일(431a,441a)은 도브테일 가이드나 박스 가이드로 구성될 수 있다.
상기 제1 및 제2 Y축 이송부재(45,46)는 상기 수직블럭(431,442)의 중앙부에 Y축 방향으로 설치된 제1 및 제2리드스크류(451,461)와, 상기 제1 및 제2갱 슬라이더(41,42)의 배면에 마련되며 상기 제1 및 제2리드스크류(451,461)가 관통 결합되는 상기에서 언급한 제1 및 제2스크류 수용부재(412,422)와, 상기 제1 및 제2리드스크류(451,461)에 연결되어 상기 제1 및 제2리드스크류(451,461)를 정,역 회전시키는 제1 및 제2구동원(452,462)을 구비한다. 상기 제1 및 제2구동원(452,462)은 유압엑추에이터 또는 전기모터 등으로 구성될 수 있다. 상기 제1 및 제2리드스크류는 볼스크류로 구성될 수도 있다.
한편, 본 발명의 다른 실시예에 의하면, 상기 공구홀딩유닛(40)은 도 5에 나타낸 바와 같이, 다수의 회전공구를 장착하기 위한 제1 및 제2회전공구대(47,48)를 더 구비한다.
상기 제1 및 제2회전공구대(47,48)는 상기 제1 및 제2갱 슬라이더(41,42)에 각각 설치되며, 다수의 회전공구(RB)가 장착되는 제1 및 제2회전공구블럭(471,481)과, 상기 제1 및 제2회전공구블럭(471,481)에 설치되어 상기 회전공구(RB)를 회전시키는 제1 및 제2구동원(472,482)을 구비한다. 상기 제1 및 제2구동원(472,482)은 유압엑추에이터나 전기모터로 구성될 수 있다.
도시예에서는 상기 다수의 회전공구(RB)가 회전공구블럭(471,481)의 하면에 설치된 예를 도시하고 있으나, 상기 회전공구(RB)는 회전공구블럭(471,481)의 일측면에 설치될 수도 있고, 하면 및 측면 모두에 설치될 수도 있다. 상기와 같은 회전공구를 사용하여 기존의 갱 타입 선반에서는 가공할 수 없었던 가공물의 정면 편심, 측면 드릴, 밀링 및 탭핑 가공이 가능하게 된다.
또한, 구체적으로 도시하지 않았으나, 상기 제1 및 제2회전공구블럭(471,481)은 상기 제1 및 제2갱 슬라이더(41,42)에 대하여 소정각도로 회전하도록 구성될 수 있다. 이러한 구성에 의하면, 가공물의 경사공 가공도 가능하게 된다.
상기 이동유닛(50)은 상기 공구홀딩유닛(40)을 지지함과 아울러 상기 공구홀딩유닛(40)을 X축 방향으로 왕복 이동시킨다. 이러한 이동유닛(50)은 도 1 내지 도 4에 나타낸 바와 같이, 고정블록(51)과 제1 및 제2 X축 이송부재(52,53)를 구비한다.
상기 고정블록(51)은 상기 제1 및 제2지지부재(43,44)를 X축 방향으로 이동 가능하게 지지하며, 상기 베드유닛(10)의 이동유닛 지지부(16)에 고정된다. 상기 고정블록(51)에는 그 양측에 상기 제1 및 제2지지부재(43,44)에 형성된 가이드(432a,442a)와 상보적으로 결합되는 X축 가이드레일(511,512)이 형성된다. 여기서, 상기 가이드(432a,442a) 및 가이드레일(511,512)은 도브테일 가이드나 박스 가이드로 구성될 수 있다.
상기 제1 및 제2 X축 이송부재(52,53)는 도 4에 나타낸 바와 같이, 상기 고정블록(51)의 양측에 X축 방향으로 각각 배치된 제1 및 제2리드스크류(521,531)와, 상기 제1 및 제2지지부재(43,44)에 형성되며 상기 제1 및 제2리드스크류(521,531)가 관통 결합하는 앞서 설명한 제1 및 제2스크류 수용부재(433,443)와, 상기 제1 및 제2리드스크류(521,531)에 각각 결합되어 제1 및 제2리드스크류(521,531)를 정,역 회전시키는 제1 및 제2구동원(522,532)을 구비한다. 상기 제1 및 제2구동원(522,532)은 유압엑추에이터나 전기모터 등으로 구성될 수 있다. 여기서, 상기 제1 및 제2리드스크류는 볼스크류로 대체될 수 있다.
상기와 같은 이동유닛(50)에 따라 본 발명에 의한 2축 갱 타입 CNC 선반은, 별도의 겐트리 로더와 같은 장치를 이용하지 않고 메인 스핀들유닛(20)과 서브 스핀들유닛(30)을 이용하여 가공물의 셀프 로딩이 가능하게 된다.
즉, 상기 메인 스핀들유닛(20)과 서브 스핀들유닛(30)은 앞서 설명한 바와 같이, Z축 방향으로 왕복 이동 가능하고, 더욱이 상기 메인 스핀들유닛(20) 및 서브 스핀들유닛(30)은 도 6a 및 6b에 도시된 바와 같이, 그의 척(22,32)이 근접하는 위치까지 이동 가능하다. 또한, 공구홀딩유닛(40)은 Y축 방향으로 왕복 이동 가능함과 동시에 상기한 이동유닛(50)에 의해 X축 방향으로도 왕복 이동 가능하다.
따라서, 상기 공구홀딩유닛(40)은 메인 스핀들유닛(20) 및 서브 스핀들유닛(30)의 Z축 방향 이동을 간섭하지 않는 위치까지 후퇴할 수 있으며, 이와 같이 공구홀딩유닛(40)을 X축 방향으로 후퇴시킨 후 상기 메인 스핀들유닛(20)과 서브 스핀들유닛(30)을 Z축 방향으로 이송시켜, 가공물을 메인 스핀들유닛(20)에서 서브 스핀들유닛(30)으로, 또는 그 반대로 이동 척킹할 수 있는 셀프 로딩이 가능하게 된다.
한편, 상기에서 설명한 바와 같은 본 발명의 일 실시예에 의한 2축 갱 타입 CNC 선반은, 상기 메인 스핀들유닛(20) 및 서브 스핀들유닛(30)의 Z축 방향 이송의 단독 제어, 제1 및 제2갱 슬라이더(41,42)의 Y축 방향 이송의 단독 제어 및 제1 및 제2갱 슬라이더(41,42)의 X축 방향 이송의 단독 제어가 가능함은 물론 도 5에 나타낸 본 발명의 다른 실시예에서 제1 및 제2회전공구대(47,48) 동작의 단독 제어 등이 가능하다.
도 7a는 이동유닛(50)의 제1 및 제2구동원(522,532)이 동시에 예를 들어, 정방향으로 회전 구동하여 제1 및 제2갱 슬라이더(41,42)를 함께 X축 방향으로 전진시킨 상태를 나타낸 것이다. 여기서, 제1 및 제2 Y축 이송부재(45,46)의 제1 및 제2구동원(452,462)은 모두, 예를 들어 정방향으로 회전 구동함으로써 제1 및 제2갱 슬라이더(41,42)는 모두 Y축 방향으로 하강한 상태이다.
그리고, 도 7b는 도 7a의 상태에서 이동유닛(50)의 제1구동원(522)이 예를 들어, 역방향으로 회전 구동하여 제1갱 슬라이더(41)만 X축 방향으로 후퇴한 상태를 나타낸 것이다. 한편, 도 7b에서 제2구동원(532)이 역방향으로 회전 구동하면 제2갱 슬라이더(42)가 X축 방향으로 후퇴하며, 제1 및 제2구동원(522,532) 모두가 역방향으로 회전 구동하면 제1 및 제2갱 슬라이더(41,42)는 모두 X축 방향으로 후퇴한다.
도 7c는 도 7b와 같은 상태에서 제2 Y축 이송부재(46)의 제2구동원(462)이, 예를 들어 역방향으로 회전 구동하여 제2갱 슬라이더(42)가 Y축 방향으로 상승한 상태를 나타낸 것이다. 이 도 7c에서 만일 제1 Y축 이송부재(45)의 제1구동원(452)이 역방향으로 회전 구동하면 제1갱 슬라이더(410)가 Y축 방향으로 상승하며, 제1 및 제2구동원(452,462) 모두가 역방향으로 회전 구동하면 제1 및 제2갱 슬라이더(41,42) 모두가 Y축 방향으로 상승한다.
이와 같이, 본 발명에 의한 2축 갱 타입 CNC 선반은, 메인 스핀들유닛(20) 및 서브 스핀들유닛(30)의 회전 및 X축 방향 이송 제어를 단독으로 할 수 있으며, 제1 및 제2갱 슬라이더(41,42)의 Y축 및 X축 방향 이송 제어를 단독으로 할 수 있으므로, 메인 스핀들유닛(20)과 서브 스핀들유닛(30)에서 동시에 별도의 가공물에 대한 가공이 가능하다.
또한, 본 발명에 의한 2축 갱 타입 CNC 선반은, 도시하지 않았으나, 제1 및 제2갱 슬라이더(41,42)를 2층, 3층으로 적층하여 구성할 수도 있으며, 이 경우, 장착 공구수가 2배, 3배로 증가됨으로써 가공물에 대한 보다 다양한 형상의 가공이 가능할 것이다.
특히, 본 발명에 의한 2축 갱 타입 CNC 선반은, 최대 10축 가공 시스템을 제공한다. 즉, 본 발명의 CNC 선반은 메인 스핀들유닛(20) 및 서브 스핀들유닛(30)의 Z축 방향 이송에 의한 2개축, 공구홀딩유닛(40)의 Y축 방향 이송에 의한 2개축, 그리고, 공구홀딩유닛(40)의 X축 방향 이송에 의한 2개축, 6축 가공 시스템을 기본으로 제공하며, 여기에 더해서 상기 메인 스핀들유닛(20) 및 서브 스핀들유닛(30)의 회전에 의한 2개축을 포함하는 8축 가공도 제공하며, 특히 본 발명의 다른 실시예에 의하면, 여기서 더해서 제1 및 제2회전공구대(47,48)의 회전에 의한 2개축을 더 포함하는 최대 10축 가공 시스템을 제공한다. 따라서, 보다 다양하고 복잡한 형상의 가공물을 가공할 수 있다.
이상에서, 본 발명은 예시적인 방법으로 설명되었다. 여기서 사용된 용어들은 설명을 위할 것일 뿐 한정의 의미로 이해되어서는 안될 것이다. 상기 내용에 따라 본 발명의 다양한 수정 및 변형이 가능하다. 따라서, 따로 부가 언급하지 않는 한 본 발명은 특허청구범위 내에서 자유로이 실행될 수 있을 것이다.
10;베드유닛 11;본체프레임
12,13;베드부재 14,15;Z축 이송부재
20;메인스핀들유닛 30;서브스핀들유닛
22,32;척 23,33;스핀들유닛의 베이스
40;공구홀딩유닛 41,42,갱 슬라이더
43,44;지지부재 45,46;Y축 이송부재
47,48;회전공구대 50;이동유닛
51;고정블록 52,53;X축 이송부재
141,151,451,461,521,531;리드스크류
23b,33b,412,422,433,443;스크류 수용부재
142,152,452,462,522,532,472,482;구동원
23a,33a,411,421,432a,442a;가이드
431a,441a,511,512;가이드레일
431,441;지지부재의 수직블럭
432,442;지지부재의 수평블럭
471,481;회전공구블럭
12,13;베드부재 14,15;Z축 이송부재
20;메인스핀들유닛 30;서브스핀들유닛
22,32;척 23,33;스핀들유닛의 베이스
40;공구홀딩유닛 41,42,갱 슬라이더
43,44;지지부재 45,46;Y축 이송부재
47,48;회전공구대 50;이동유닛
51;고정블록 52,53;X축 이송부재
141,151,451,461,521,531;리드스크류
23b,33b,412,422,433,443;스크류 수용부재
142,152,452,462,522,532,472,482;구동원
23a,33a,411,421,432a,442a;가이드
431a,441a,511,512;가이드레일
431,441;지지부재의 수직블럭
432,442;지지부재의 수평블럭
471,481;회전공구블럭
Claims (6)
- 베드유닛;
상기 베드유닛에 설치되며, 가공물을 파지하는 척을 구비하여 가공물을 회전시키며, 상기 가공물의 회전축에 평행한 Z축 방향으로 왕복 이동 가능한 메인 스핀들유닛;
상기 메인 스핀들유닛과 대향하도록 상기 베드유닛에 설치되며, 상기 메인 스핀들유닛과 동일한 구조의 가공물을 파지하는 척을 구비하여 가공물을 회전시키며, 상기 Z축 방향으로 왕복 이동 가능한 서브 스핀들유닛;
상기 가공물을 가공하기 위한 다수의 선삭공구가 장착되며, 상기 메인 스핀들유닛과 상기 서브 스핀들유닛 사이에서 Y축 방향으로 독립적으로 이동 가능한 한 쌍의 제1 및 제2갱 슬라이더, 상기 제1 및 제2갱 슬라이더를 이동 가능하게 지지하는 제1 및 제2지지부재 및 상기 제1 및 제2지지부재에 구비되어 상기 제1 및 제2갱 슬라이더를 Y축 방향으로 이동시키는 제1 및 제2 Y축 이송부재를 구비하는 공구홀딩유닛;
상기 공구홀딩유닛을 X축 방향으로 왕복 이동 가능하게 지지함으로써 상기 메인 스핀들유닛과 서브 스핀들유닛의 척이 접하는 위치까지 이동할 수 있게 하여 가공물의 셀프 로딩을 가능케 하기 위한 것으로서, 상기 베드유닛에 고정된 하나의 고정블록, 상기 고정블록의 양측에 마련되고 상기 제1 및 제2지지부재에 X축 방향으로 길게 형성된 가이드와 상보적으로 결합되어 상기 제1 및 제2지지부재의 측면이 상기 고정블록의 양측면에 접한 상태에서 X축 방향으로 이동하도록 지지하는 X축 가이드레일 및 상기 고정블록에 설치되어 상기 제1 및 제2지지부재를 X축 방향으로 이동시키는 제1 및 제2 X축 이송부재를 구비하는 이동유닛; 및
상기 제1 및 제2갱 슬라이더에 각각 소정각도 회전 가능하게 설치되며, 다수의 회전공구가 장착되는 제1 및 제2회전공구블록 및 상기 제1 및 제2회전공구블록에 각각 설치되어 상기 회전공구를 회전시키는 제1 및 제2구동원을 구비하는 제1 및 제2회전공구대;를 포함하여,
상기 메인 스핀들유닛의 회전 및 Z축 방향 왕복 이동에 의한 2축, 상기 서브 스핀들유닛의 회전 및 Z축 방향 왕복 이동에 의한 2축, 상기 제1 및 제2갱 슬라이더의 Y축 방향 왕복 이동에 의한 2축, 상기 제1 및 제2갱 슬라이더의 X축 방향 왕복 이동에 의한 2축 및 상기 제1 및 제2회전공구대의 회전에 의한 2축을 포함하는 총 10축 가공 시스템을 구현하며,
상기 공구홀딩유닛의 제1 및 제2지지부재의 X축 방향 슬라이드 지지점이 공작물 가공 중심축과 일치하도록 위치된 것을 특징으로 하는 2축 갱 타입 CNC 선반. - 제1항에 있어서,
상기 다수의 선삭공구는 상기 가공물의 회전축에 대하여 수직 방향 또는 수평 방향으로 장착되는 것을 특징으로 하는 2축 갱 타입 CNC 선반. - 제1항에 있어서, 상기 제1 및 제2 Y축 이송부재는 각각,
상기 제1 및 제2지지부재에 Y축 방향으로 설치된 제1 및 제2리드스크류;
상기 제1 및 제2갱 슬라이더의 배면에 마련되며, 상기 제1 및 제2리드스크류가 관통 결합되는 제1 및 제2리드스크류 수용부재; 및
상기 제1 및 제2리드스크류에 연결되어 상기 제1 및 제2리드스크류를 정,역 회전시키는 제1 및 제2구동원;을 포함하는 것을 특징으로 하는 2축 갱 타입 CNC 선반. - 제3항에 있어서,
상기 제1 및 제2지지부재에는 한 쌍의 Y축 가이드레일이 각각 형성되고,
상기 제1 및 제2갱 슬라이더에는 상기 한 쌍의 Y축 가이드레일과 각각 상보적으로 결합되는 한 쌍의 가이드가 각각 형성된 것을 특징으로 하는 2축 갱 타입 CNC 선반. - 제1항에 있어서,
상기 회전공구는 상기 제1 및 제2회전공구블록의 하면 또는 일측면에 고정되는 것을 특징으로 하는 2축 갱 타입 CNC 선반. - 제1항에 있어서, 상기 제1 및 제2 X축 이송부재는 각각,
상기 고정블록의 양측에 X축 방향으로 각각 배치된 제1 및 제2리드스크류;
상기 제1 및 제2지지부재에 각각 형성되며, 상기 제1 및 제2리드스크류가 관통 결합되는 제1 및 제2리드스크류 수용부재; 및
상기 제1 및 제2리드스크류에 결합되어 제1 및 제2리드스크류를 정,역 회전시키는 제1 및 제2구동원;을 포함하는 것을 특징으로 하는 2축 갱 타입 CNC 선반.
Priority Applications (1)
| Application Number | Priority Date | Filing Date | Title |
|---|---|---|---|
| KR1020120074775A KR20120081970A (ko) | 2012-07-09 | 2012-07-09 | 2축 갱 타입 cnc 선반 |
Applications Claiming Priority (1)
| Application Number | Priority Date | Filing Date | Title |
|---|---|---|---|
| KR1020120074775A KR20120081970A (ko) | 2012-07-09 | 2012-07-09 | 2축 갱 타입 cnc 선반 |
Related Parent Applications (1)
| Application Number | Title | Priority Date | Filing Date |
|---|---|---|---|
| KR1020100040369A Division KR101236557B1 (ko) | 2010-04-29 | 2010-04-29 | 2축 갱 타입 cnc 선반 |
Publications (1)
| Publication Number | Publication Date |
|---|---|
| KR20120081970A true KR20120081970A (ko) | 2012-07-20 |
Family
ID=46713933
Family Applications (1)
| Application Number | Title | Priority Date | Filing Date |
|---|---|---|---|
| KR1020120074775A Withdrawn KR20120081970A (ko) | 2012-07-09 | 2012-07-09 | 2축 갱 타입 cnc 선반 |
Country Status (1)
| Country | Link |
|---|---|
| KR (1) | KR20120081970A (ko) |
Cited By (23)
| Publication number | Priority date | Publication date | Assignee | Title |
|---|---|---|---|---|
| CN103143730A (zh) * | 2013-03-11 | 2013-06-12 | 吴锡全 | 一种双主轴自动数控车床 |
| CN103170653A (zh) * | 2013-03-12 | 2013-06-26 | 盛焕君 | 双机头全自动数控车床 |
| CN104128847A (zh) * | 2013-05-03 | 2014-11-05 | 山东华安液压技术有限公司 | 双向加工数控卧式车床 |
| CN104708025A (zh) * | 2015-03-20 | 2015-06-17 | 四川精通机械科技有限公司 | 数控车床双座组合刀台 |
| CN105108179A (zh) * | 2015-08-09 | 2015-12-02 | 林宇 | 一种车床 |
| CN106584116A (zh) * | 2016-12-31 | 2017-04-26 | 安徽力成机械装备有限公司 | 双刀数控加工设备 |
| CN106583761A (zh) * | 2016-12-31 | 2017-04-26 | 安徽力成机械装备有限公司 | 双刀数控车床 |
| CN106584117A (zh) * | 2016-12-31 | 2017-04-26 | 安徽力成机械装备有限公司 | 高效率数控机床 |
| CN106735327A (zh) * | 2016-12-31 | 2017-05-31 | 安徽力成机械装备有限公司 | 高效率数控加工装置 |
| CN106735313A (zh) * | 2016-12-31 | 2017-05-31 | 安徽力成机械装备有限公司 | 双头数控车床 |
| CN106735315A (zh) * | 2016-12-31 | 2017-05-31 | 安徽力成机械装备有限公司 | 双头数控机床 |
| CN106736558A (zh) * | 2016-12-31 | 2017-05-31 | 安徽力成机械装备有限公司 | 高效率数控车床 |
| CN106735325A (zh) * | 2016-12-31 | 2017-05-31 | 安徽力成机械装备有限公司 | 多功能数控机床 |
| CN106735314A (zh) * | 2016-12-31 | 2017-05-31 | 安徽力成机械装备有限公司 | 高效率数控加工设备 |
| CN106735326A (zh) * | 2016-12-31 | 2017-05-31 | 安徽力成机械装备有限公司 | 多功能数控车床 |
| CN106825623A (zh) * | 2016-12-31 | 2017-06-13 | 安徽力成机械装备有限公司 | 多功能数控加工装置 |
| CN106826235A (zh) * | 2016-12-31 | 2017-06-13 | 安徽力成机械装备有限公司 | 双头数控加工设备 |
| CN106825622A (zh) * | 2016-12-31 | 2017-06-13 | 安徽力成机械装备有限公司 | 双刀数控机床 |
| CN106825621A (zh) * | 2016-12-31 | 2017-06-13 | 安徽力成机械装备有限公司 | 双刀数控加工装置 |
| KR102155088B1 (ko) * | 2019-08-07 | 2020-09-11 | (주)티오피에스 | 인덱스 지그 |
| KR20200141872A (ko) * | 2019-06-11 | 2020-12-21 | 에스엠에스비 주식회사 | 인너레이스 볼트랙 연삭장치 |
| KR20230064805A (ko) | 2021-11-04 | 2023-05-11 | 현대위아 주식회사 | 갱타입 선반용 공구홀더 |
| CN117260305A (zh) * | 2023-11-21 | 2023-12-22 | 佛山市顺德区国强道生实业有限公司 | 一种长孔径工件内牙加工设备和加工方法 |
-
2012
- 2012-07-09 KR KR1020120074775A patent/KR20120081970A/ko not_active Withdrawn
Cited By (25)
| Publication number | Priority date | Publication date | Assignee | Title |
|---|---|---|---|---|
| CN103143730A (zh) * | 2013-03-11 | 2013-06-12 | 吴锡全 | 一种双主轴自动数控车床 |
| CN103170653A (zh) * | 2013-03-12 | 2013-06-26 | 盛焕君 | 双机头全自动数控车床 |
| CN104128847A (zh) * | 2013-05-03 | 2014-11-05 | 山东华安液压技术有限公司 | 双向加工数控卧式车床 |
| CN104708025A (zh) * | 2015-03-20 | 2015-06-17 | 四川精通机械科技有限公司 | 数控车床双座组合刀台 |
| CN105108179A (zh) * | 2015-08-09 | 2015-12-02 | 林宇 | 一种车床 |
| CN105108179B (zh) * | 2015-08-09 | 2017-07-07 | 林宇 | 一种车床 |
| CN106735325A (zh) * | 2016-12-31 | 2017-05-31 | 安徽力成机械装备有限公司 | 多功能数控机床 |
| CN106825623A (zh) * | 2016-12-31 | 2017-06-13 | 安徽力成机械装备有限公司 | 多功能数控加工装置 |
| CN106735327A (zh) * | 2016-12-31 | 2017-05-31 | 安徽力成机械装备有限公司 | 高效率数控加工装置 |
| CN106735313A (zh) * | 2016-12-31 | 2017-05-31 | 安徽力成机械装备有限公司 | 双头数控车床 |
| CN106735315A (zh) * | 2016-12-31 | 2017-05-31 | 安徽力成机械装备有限公司 | 双头数控机床 |
| CN106736558A (zh) * | 2016-12-31 | 2017-05-31 | 安徽力成机械装备有限公司 | 高效率数控车床 |
| CN106583761A (zh) * | 2016-12-31 | 2017-04-26 | 安徽力成机械装备有限公司 | 双刀数控车床 |
| CN106735314A (zh) * | 2016-12-31 | 2017-05-31 | 安徽力成机械装备有限公司 | 高效率数控加工设备 |
| CN106735326A (zh) * | 2016-12-31 | 2017-05-31 | 安徽力成机械装备有限公司 | 多功能数控车床 |
| CN106584117A (zh) * | 2016-12-31 | 2017-04-26 | 安徽力成机械装备有限公司 | 高效率数控机床 |
| CN106826235A (zh) * | 2016-12-31 | 2017-06-13 | 安徽力成机械装备有限公司 | 双头数控加工设备 |
| CN106825622A (zh) * | 2016-12-31 | 2017-06-13 | 安徽力成机械装备有限公司 | 双刀数控机床 |
| CN106825621A (zh) * | 2016-12-31 | 2017-06-13 | 安徽力成机械装备有限公司 | 双刀数控加工装置 |
| CN106584116A (zh) * | 2016-12-31 | 2017-04-26 | 安徽力成机械装备有限公司 | 双刀数控加工设备 |
| KR20200141872A (ko) * | 2019-06-11 | 2020-12-21 | 에스엠에스비 주식회사 | 인너레이스 볼트랙 연삭장치 |
| KR102155088B1 (ko) * | 2019-08-07 | 2020-09-11 | (주)티오피에스 | 인덱스 지그 |
| KR20230064805A (ko) | 2021-11-04 | 2023-05-11 | 현대위아 주식회사 | 갱타입 선반용 공구홀더 |
| CN117260305A (zh) * | 2023-11-21 | 2023-12-22 | 佛山市顺德区国强道生实业有限公司 | 一种长孔径工件内牙加工设备和加工方法 |
| CN117260305B (zh) * | 2023-11-21 | 2024-04-16 | 佛山市顺德区国强道生实业有限公司 | 一种长孔径工件内牙加工设备和加工方法 |
Similar Documents
| Publication | Publication Date | Title |
|---|---|---|
| KR101236557B1 (ko) | 2축 갱 타입 cnc 선반 | |
| KR20120081970A (ko) | 2축 갱 타입 cnc 선반 | |
| JP7204312B2 (ja) | Cnc旋盤のバイトの同時多重操作機構 | |
| JP4997240B2 (ja) | 複数の刃物台を備える自動旋盤 | |
| US9381607B2 (en) | Feeding device and machine tool using the same | |
| CN106583810B (zh) | 一种改进型龙门式铣削设备 | |
| CN111002047A (zh) | 一种数控动梁式五轴龙门加工中心机床 | |
| JP5782373B2 (ja) | 加工装置 | |
| US8881626B2 (en) | Lathe for machining curved surfaces | |
| CN204818876U (zh) | 多主轴同步换刀机构及配置该换刀机构的加工中心 | |
| CN206519607U (zh) | 一种改进型龙门式铣削设备 | |
| EP2687307B1 (en) | Method for machining curved surface using lathe | |
| CN112318145A (zh) | 一种数控龙门复合机 | |
| CN209793118U (zh) | 一种高刚性走心式数控车床 | |
| JP2014018949A (ja) | 旋盤 | |
| CN211840941U (zh) | 一种走心式双主轴车铣复合机床 | |
| JP6144071B2 (ja) | 縦型旋盤 | |
| CN202540053U (zh) | 一种数控设备 | |
| CN112589539A (zh) | 一种数控立卧复合机 | |
| CN216066670U (zh) | 车铣复合加工设备 | |
| CN102658374B (zh) | 一种两箱四轴多功能数控机床 | |
| CN210651124U (zh) | 一种木工车铣复合机床 | |
| CN221791142U (zh) | 一种镗孔机床 | |
| KR101553693B1 (ko) | 주축 이동형 고기능 자동선반 | |
| CN220515649U (zh) | 数控加工用外螺纹磨床 |
Legal Events
| Date | Code | Title | Description |
|---|---|---|---|
| A107 | Divisional application of patent | ||
| PA0107 | Divisional application |
Comment text: Divisional Application of Patent Patent event date: 20120709 Patent event code: PA01071R01D |
|
| PG1501 | Laying open of application | ||
| PC1203 | Withdrawal of no request for examination | ||
| WITN | Application deemed withdrawn, e.g. because no request for examination was filed or no examination fee was paid |