KR20120051962A - 캡플라이 렛오프 속도 제어 장치 - Google Patents

캡플라이 렛오프 속도 제어 장치 Download PDF

Info

Publication number
KR20120051962A
KR20120051962A KR1020100113354A KR20100113354A KR20120051962A KR 20120051962 A KR20120051962 A KR 20120051962A KR 1020100113354 A KR1020100113354 A KR 1020100113354A KR 20100113354 A KR20100113354 A KR 20100113354A KR 20120051962 A KR20120051962 A KR 20120051962A
Authority
KR
South Korea
Prior art keywords
reel
take
cap
semi
outer diameter
Prior art date
Legal status (The legal status is an assumption and is not a legal conclusion. Google has not performed a legal analysis and makes no representation as to the accuracy of the status listed.)
Ceased
Application number
KR1020100113354A
Other languages
English (en)
Inventor
박무연
Original Assignee
금호타이어 주식회사
Priority date (The priority date is an assumption and is not a legal conclusion. Google has not performed a legal analysis and makes no representation as to the accuracy of the date listed.)
Filing date
Publication date
Application filed by 금호타이어 주식회사 filed Critical 금호타이어 주식회사
Priority to KR1020100113354A priority Critical patent/KR20120051962A/ko
Publication of KR20120051962A publication Critical patent/KR20120051962A/ko
Ceased legal-status Critical Current

Links

Images

Classifications

    • BPERFORMING OPERATIONS; TRANSPORTING
    • B29WORKING OF PLASTICS; WORKING OF SUBSTANCES IN A PLASTIC STATE IN GENERAL
    • B29DPRODUCING PARTICULAR ARTICLES FROM PLASTICS OR FROM SUBSTANCES IN A PLASTIC STATE
    • B29D30/00Producing pneumatic or solid tyres or parts thereof
    • B29D30/06Pneumatic tyres or parts thereof (e.g. produced by casting, moulding, compression moulding, injection moulding, centrifugal casting)
    • B29D30/08Building tyres
    • B29D30/20Building tyres by the flat-tyre method, i.e. building on cylindrical drums
    • B29D30/24Drums
    • B29D30/242Drums for manufacturing substantially cylindrical tyre components without cores or beads, e.g. treads or belts
    • BPERFORMING OPERATIONS; TRANSPORTING
    • B29WORKING OF PLASTICS; WORKING OF SUBSTANCES IN A PLASTIC STATE IN GENERAL
    • B29DPRODUCING PARTICULAR ARTICLES FROM PLASTICS OR FROM SUBSTANCES IN A PLASTIC STATE
    • B29D30/00Producing pneumatic or solid tyres or parts thereof
    • B29D30/0061Accessories, details or auxiliary operations not otherwise provided for
    • BPERFORMING OPERATIONS; TRANSPORTING
    • B29WORKING OF PLASTICS; WORKING OF SUBSTANCES IN A PLASTIC STATE IN GENERAL
    • B29DPRODUCING PARTICULAR ARTICLES FROM PLASTICS OR FROM SUBSTANCES IN A PLASTIC STATE
    • B29D30/00Producing pneumatic or solid tyres or parts thereof
    • B29D30/06Pneumatic tyres or parts thereof (e.g. produced by casting, moulding, compression moulding, injection moulding, centrifugal casting)
    • B29D30/08Building tyres
    • B29D30/20Building tyres by the flat-tyre method, i.e. building on cylindrical drums
    • B29D30/24Drums
    • B29D30/26Accessories or details, e.g. membranes, transfer rings
    • BPERFORMING OPERATIONS; TRANSPORTING
    • B29WORKING OF PLASTICS; WORKING OF SUBSTANCES IN A PLASTIC STATE IN GENERAL
    • B29DPRODUCING PARTICULAR ARTICLES FROM PLASTICS OR FROM SUBSTANCES IN A PLASTIC STATE
    • B29D30/00Producing pneumatic or solid tyres or parts thereof
    • B29D30/0061Accessories, details or auxiliary operations not otherwise provided for
    • B29D2030/0066Tyre quality control during manufacturing

Landscapes

  • Engineering & Computer Science (AREA)
  • Mechanical Engineering (AREA)
  • Manufacturing & Machinery (AREA)
  • Tyre Moulding (AREA)

Abstract

상기한 본 발명의 캡플라이 렛오프 속도 제어 장치에 관한 것으로서, 권취릴에 권취된 캡플라이 반제품의 외경을 측정하여, 측정된 캡플라이 반제품의 권취량에 따라 인버터 모터를 가동 제어하여 권취릴로부터 성형 드럼으로 공급되는 캡플라이 반제품의 공급 속도를 일정하게 유지할 수 있도록 함으로써, 성형 공정에서 그린 케이스의 성형 속도를 일정하게 유지하여 생산성을 향상시킬 수 있도록 하는 효과를 갖는다.

Description

캡플라이 렛오프 속도 제어 장치{DEVICE FOR COTROLING LET-OFF SPEED OF CAPPLY}
본 발명은 캡플라이 렛오프 속도 제어 장치에 관한 것으로서, 좀더 상세하게는 권취릴에 감겨진 캡플라이 반제품이 렛오프되며 성형기로 공급시 권취된 캡플라이의 권취 외경 변화에 따른 공급 속도의 저하를 방지할 수 있도록 하는 캡플라이 렛오프 속도 제어 장치에 관한 것이다.
일반적으로, 타이어는 원료를 혼합하여 컴파운드를 만드는 정련공정, 컴파운드를 시트 형태로 압출/압연/절단하여 반제품으로 성형하고, 이 반제품을 그린 타이어로 성형하는 성형 공정, 및 그린 타이어를 가류시키는 가류 공정들을 거쳐 완성된다.
상기한 타이어는, 도 1에 도시한 바와 같이, 내주면을 이루는 인너라이너(1), 인너라이너(1)의 외주에 적층되는 카카스(2), 카카스(2)의 외주에 적어도 1층 이상 적층되는 벨트(3), 벨트(3)의 외주에 적층되어 실질적으로 지면에 접촉하는 트레드(5), 벨트(3)와 트레드(5) 사이에 적층되어 벨트(3)를 보강하는 캡플라이(4), 타이어의 양쪽 측면을 구성하는 양쪽 사이드월(6) 및 휠에 결합되어 타이어 내부의 공기압을 유지하는 양쪽 비드(7)을 포함하여 구성되며, 상기한 구성을 포함하는 타이어는 한국공개특허 제2005-51103호, 한국공개특허 제2005-35438호 등에 개시되어 있다.
전술한 캡플라이(4)는 상기 벨트(3)를 완전히 덮도록 적층되거나, 도 1에 도시된 바와 같이, 상기 벨트(3)의 양쪽 가장자리부가 분리되지 않도록 상기 벨트(3)의 양쪽 가장자리부를 덮도록 각각 적층되어 벨트(3)를 보강하는 보강재로서의 역할을 한다.
상기한 캡플라이(4)는 압연기에서 압연된 반제품을 일정한 폭을 가지도록 길이 방향으로 절단하면서 나선형으로 권취릴(15)에 연속적으로 감아 놓았다가, 가류 전의 그린케이스 성형공정에서 상기 권취릴(15)로부터 상기 반제품을 다시 풀어 성형 드럼에 권취된 벨트 위로 일정 간격으로 조금씩 이동하면서 감아 붙여 성형하도록 한다.
따라서, 캡플라이(4)를 벨트 위에 부착시킬 때, 캡플라이(4)를 공급하는 공급기의 권취릴부터 풀려나오는 캡플라이(4)가 여러 개의 가이드 롤러를 거치면서 그 공급을 완충시키는 완충기를 통과한 다음, 구동 모터에 의해 회전되는 성형 드럼의 벨트 위에 부착되도록 하는 작업을 수행하였다.
그러나, 종래에는 상기 성형 드럼에 감겨진 벨트 위에 캡플라이(4)를 부착하여 성형할 때, 캡플라이(4)가 권취릴(15)로부터 풀려 권취릴(15)의 외경이 지속적으로 줄어들게 되는데, 종래에는 권취릴(15)의 풀림 속도는 권취릴(15)의 외경에 따라 고속, 저속 두 가지로 제어하였다.
따라서, 권취된 캡플라이(4)의 지름이 점차 감소하여 저속으로 권취릴(15)로부터 풀리게 되면 성형 드럼에 캡플라이(4)가 성형되는 속도 또한 저속으로 변하게 됨으로써 결과적으로 생산량이 줄어드는 문제점이 발생하였다.
상기한 문제점을 해결하기 위한 본 발명의 목적은, 권취릴에 감겨진 캡플라이 반제품이 렛오프되며 성형기로 공급시 권취된 캡플라이의 직경 변화에 따른 공급 속도의 저하를 방지할 수 있도록 하는 캡플라이 렛오프 속도 제어 장치를 제공하는 것이다.
상기의 목적을 달성하기 위한 본 발명의 캡플라이 렛오프 속도 제어 장치는, 캡플라이 반제품을 감아 공급하는 공급부; 상기 공급부로부터 공급되는 상기 캡플라이 반제품을 성형 드럼 쪽으로 이송 가이드 함과 아울러 이송된 상기 캡플라이 반제품을 기설정된 길이로 절단하여 상기 성형 드럼 상에 부착할 수 있도록 하는 헤더부;를 포함하고, 상기 공급부는 상기 캡플라이 반제품이 감겨진 권취릴; 상기 권취릴 감긴 상기 캡플라이 반제품의 외경을 측정하는 외경 측정 센서; 상기 권취릴에 감긴 상기 캡플라이 반제품의 풀림 속도 조절 가능하게 상기 권취릴을 구동시키는 인버터 모터; 및 상기 외경 측정 센서에 의해 상기 권취릴에 감긴 상기 캡플라이 반제품의 외경에 따라 상기 인버터 모터에 의한 상기 권취릴의 풀림 속도를 가변시키는 제어기;를 포함하여 구성된다.
여기서, 상기 공급부는 상기 권취릴로부터 풀려나온 상기 캡플라이를 기설정된 간격을 두고 설치된 가이드 롤러들 사이를 통과시켜 상기 성형 드럼으로 공급되는 공급 속도를 일정하게 하는 완충기를 더 포함할 수 있다.
또한, 상기 헤더부는 상기 완충기를 통해 상기 성형기로 공급되는 상기 캡플라이 반제품을 기설정된 길이로 절단하는 절단기; 및 상기 완충기로부터 상기 절단기로 공급되는 상기 캡플라이 반제품의 이송을 가이드하는 가이드 롤;을 포함할 수 있다.
또한, 상기 제어기는 피엘시(PLC: Programable Logic Controller)인 것을 포함할 수 있다.
상기한 본 발명의 캡플라이 렛오프 속도 제어 장치에 따르면, 권취릴에 권취된 캡플라이 반제품의 외경을 측정하여, 측정된 캡플라이 반제품의 권취량에 따라 인버터 모터를 가동 제어하여 권취릴로부터 성형 드럼으로 공급되는 캡플라이 반제품의 공급 속도를 일정하게 유지할 수 있도록 함으로써, 성형 공정에서 그린 케이스의 성형 속도를 일정하게 유지하여 생산성을 향상시킬 수 있도록 하는 효과를 갖는다.
도 1은 일반적인 타이어의 일부 종단면도이다.
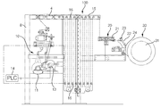
도 2는 본 발명의 일실시예에 따른 캡플라이 렛오프 속도 제어 장치를 도시한 측면도이다.
도 3은 도 2의 Ⅲ부분을 확대하여 도시한 측면도이다.
이하, 첨부한 도면을 참조하여 본 발명의 실시예에 대하여 본 발명이 속하는 기술 분야에서 통상의 지식을 가진 자가 용이하게 실시할 수 있도록 상세히 설명한다. 그러나 본 발명은 여러 가지 상이한 형태로 구현될 수 있으며 여기에서 설명하는 실시예에 한정되지 않는다. 도면에서 본 발명을 명확하게 설명하기 위해서 설명과 관계없는 부분은 생략하였으며, 명세서 전체를 통하여 동일 또는 유사한 구성요소에 대해서는 동일한 참조부호를 붙였다.
도 2는 본 발명의 일실시예에 따른 캡플라이 렛오프 속도 제어 장치를 도시한 측면도이고, 도 3은 도 2의 Ⅲ부분을 확대하여 도시한 측면도이다.
도 2 및 도 3을 참조하여 설명하면, 캡플라이 렛오프 속도 제어 장치(100)는 크게 바디 프레임(8), 공급부(10), 헤더부(20) 및 성형부(30)를 포함하여 구성된다.
먼저, 공급부(10)는 권취릴(11), 외경 측정 센서(12), 인버터 모터(13), 제어기(14) 및 완충기(15)를 포함하여 구성된다.
권취릴(11)은 선공정인 압출 또는 압연 과정 이후 제단 공정을 거쳐 완성된 캡플라이 반제품(4; 도 1의 캡플라이를 이루는 반제품을 의미함) 스트립을 성형 공정에서 성형부(30)의 성형 드럼(31) 상에 부착된 벨트(3; 도 1 참조) 상측에 부착될 수 있게 감아 저장, 이송 및 공급할 수 있도록 한다.
한편, 상기한 권취릴(11)은 캡플라이 반제품(4)의 이송 공급을 위해 바디 프레임(8) 일측 구동부에 걸려, 상기한 인버터 모터(13)에 의해 권취된 캡플라이 반제품(4)이 풀리도록 회전 가능하게 축 고정된다.
인버터 모터(13)는 바디 프레임(8)의 권취릴(11)에 인접하는 일측에 고정 설치되어, 상기한 권취릴(11)에 감긴 캡플라이 반제품(4)이 풀어 성형부(30)의 성형 드럼(31)쪽으로 공급될 수 있도록 구동력을 제공한다.
여기서, 인버터 모터(13)는 인가되는 전류량에 따라 후술하는 캡플라이 반제품(4)의 풀림 속도를 제어할 수 있게 권취릴(11)에 전달되는 구동력을 가변 제어할 수 있도록 구성된다.
외경 측정 센서(12)는 바디 프레임(8)의 상기 권취릴(11) 일측(상측)에 고정 설치되어, 권취릴(11)에 감긴 캡플라이 반제품(4)의 권취량 즉, 권취 외경을 측정하도록 한다.
그리고, 제어기(14)는 상기 외경 측정 센서(12)에 의해 상기 권취릴(11)에 감긴 상기 캡플라이 반제품(4)의 권취 외경에 따라 상기 인버터 모터(13)에 의한 상기 권취릴(11)의 회전 속도 즉, 캡플라이 반제품(4)의 풀림 속도를 가변시키도록 구성된다. 본 실시에서 제어기(14)는 추가적인 장비의 구성을 피할 수 있도록 피엘시(PLC: Programable Logic Controller)로 구성되는 것을 예시한다.
따라서, 제어기(14)는 권취릴(11)에 감김 캡플라이 반제품(4)을 풀어 성형 드럼(31)의 벨트(3) 위에 부착되도록 공급하는 과정에서, 캡플라이 반제품(4)이 권취릴(11)로부터 풀려 점차 권취 외경이 점차 줄어들게 되면 권취릴(11)의 풀림 속도를 점차 증가시키도록 인버터 모터(13)의 구동 속도를 가변 제어한다.
이처럼, 본 실시예의 캡플라이 렛오프 속도 제어 장치(100)는 전술한 바와 같이 캡플라이 반제품(4)의 권취 외경에 따라 권취릴(11)의 풀림 속도를 가변 제어함으로써, 권취릴(11) 감김 캡플라이 반제품(4)의 권취 외경에 상관없이 동일한 풀림 속도를 가지고 연속적으로 성형 드럼(31)쪽으로 공급될 수 있도록 한다.
한편, 완충기(15)는 상기 권취릴(11)로부터 풀려나온 상기 캡플라이 반제품(4)을 기설정된 간격을 두고 설치된 제1 가이드 롤러(16)들 사이를 통과시켜 인버터 모터(13)를 통한 풀림 속도 가변시 상기 성형 드럼(31)으로 공급되는 공급 속도를 좀더 일정하게 유지시킬 수 있도록 한다.
한편, 헤더부(20)는 상기한 완충기(15)를 통해 일정하게 속도가 유지되며 공급되는 캡플라이 반제품(4)을 기설정된 길이로 절단하여 성형부(30)의 성형 드럼 (31)상에 부착할 수 있도록 한다.
본 실시예에서 헤더부(20)는 가이드 바(21) 및 절단기(23)를 포함하여 구성된다.
여기서, 가이드 바(21)는 상기한 완충기(15)를 통해 공급된 캡플라이 반제품(4)이 상기 절단기(23)를 통해 원활하게 절단 작업이 이루어진 후, 성형 드럼(31)으로 공급될 수 있게 절단기(23)로 공급되는 공급 방향을 길이 방향을 따라 설치되는 제2 가이드 롤(22)을 이용해 가이드 할 수 있게 구성된다.
그리고, 절단기(23)는 가동 실린더(25)에 의해 가동되는 커터(24)에 의해 가이드 바(21)를 통해 가이드되며 이송된 캡플라이 반제품(4)을 절단하여 성형 드럼상에 부착되도록 한다.
전술한 바와 같이, 본 실시예의 캡플라이 렛오프 속도 제어 장치(100)는 그린 케이스 성형을 위해 권취릴(11)에 감긴 캡플라이 반제품(4)을 풀어 공급하는 과정에서 외경 측정 센서(12)를 통해 지속적으로 권취릴(11)에 감김 캡플라이 반제품(4)의 권취 외경을 측정하여, 측정된 캡플라이 반제품(4)의 권취량 즉, 권취 외경이 감소할수록 권취릴(11)의 풀림 속도가 증가하도록 인버터 모터(13)를 가동 제어하여, 권취릴(11)로부터 성형 드럼(31)으로 공급되는 캡플라이 반제품(4)의 공급 속도를 일정하게 유지할 수 있도록 함으로써, 그린 케이스의 성형 속도를 일정하게 유지하여 생산성을 향상시킬 수 있도록 한다.
이상을 통해 본 발명의 바람직한 실시예에 대하여 설명하였지만, 본 발명은 이에 한정되는 것이 아니고 특허청구범위와 발명의 상세한 설명 및 첨부한 도면의 범위 안에서 여러 가지로 변형 또는 변경하여 실시하는 것이 가능하고 이 또한 본 발명의 범위에 속하는 것은 당연하다.
1: 인너라이너 2: 카카스
3: 벨트 4: 캡플라이
5: 트레드 6: 사이드월
7: 비드 8: 바디 프레임
10: 공급부 11: 권취릴
12: 외경 측정 센서 13: 인버터 모터
14: 제어기 15: 완충기
16: 제1 가이드 롤 20: 헤드부
21: 가이드 바 22: 제2 가이드 롤
23: 절단기 24: 커터
25: 가동 실린더 30: 성형부
31: 성형 드럼

Claims (4)

  1. 캡플라이 반제품을 공급하는 공급부;
    상기 공급부로부터 공급되는 상기 캡플라이 반제품을 성형부의 성형 드럼 쪽으로 이송 가이드 함과 아울러 이송된 상기 캡플라이 반제품을 기설정된 길이로 절단하여 상기 성형 드럼 상에 부착할 수 있도록 하는 헤더부;를 포함하고,

    상기 공급부는,
    상기 캡플라이 반제품이 감겨진 권취릴;
    상기 권취릴 감긴 상기 캡플라이 반제품의 권취 외경을 측정하는 외경 측정 센서;
    상기 권취릴에 감긴 상기 캡플라이 반제품의 풀림 속도 조절 가능하게 상기 권취릴을 구동시키는 인버터 모터; 및
    상기 외경 측정 센서에 의해 상기 권취릴에 감긴 상기 캡플라이 반제품의 권취 외경에 따라 상기 인버터 모터에 의한 상기 권취릴의 풀림 속도를 가변시키는 제어기;를 포함하는 캡플라이 렛오프 속도 제어 장치.
  2. 제1항에서,
    상기 공급부는,
    상기 권취릴로부터 풀려나온 상기 캡플라이를 기설정된 간격을 두고 설치된 가이드 롤러들 사이를 통과시켜 상기 성형 드럼으로 공급되는 공급 속도를 일정하게 하는 완충기를 더 포함하는 캡플라이 렛오프 속도 제어 장치.
  3. 제2항에서,
    상기 헤더부는,
    상기 완충기를 통해 상기 성형기로 공급되는 상기 캡플라이 반제품을 기설정된 길이로 절단하는 절단기; 및
    상기 완충기로부터 상기 절단이기로 공급되는 상기 캡플라이 반제품의 이송을 가이드하는 가이드 바;를 포함하는 캡플라이 렛오프 속도 제어 장치.
  4. 제1항에서,
    상기 제어기는,
    피엘시(PLC: Programable Logic Controller)인 것을 포함하는 캡플라이 렛오프 속도 제어 장치.
KR1020100113354A 2010-11-15 2010-11-15 캡플라이 렛오프 속도 제어 장치 Ceased KR20120051962A (ko)

Priority Applications (1)

Application Number Priority Date Filing Date Title
KR1020100113354A KR20120051962A (ko) 2010-11-15 2010-11-15 캡플라이 렛오프 속도 제어 장치

Applications Claiming Priority (1)

Application Number Priority Date Filing Date Title
KR1020100113354A KR20120051962A (ko) 2010-11-15 2010-11-15 캡플라이 렛오프 속도 제어 장치

Publications (1)

Publication Number Publication Date
KR20120051962A true KR20120051962A (ko) 2012-05-23

Family

ID=46268823

Family Applications (1)

Application Number Title Priority Date Filing Date
KR1020100113354A Ceased KR20120051962A (ko) 2010-11-15 2010-11-15 캡플라이 렛오프 속도 제어 장치

Country Status (1)

Country Link
KR (1) KR20120051962A (ko)

Similar Documents

Publication Publication Date Title
CN102814991B (zh) 橡胶带的制造装置和使用该橡胶带的制造装置的制造方法
CN105189099B (zh) 用于制造用于车辆车轮的轮胎的工艺和设备
WO2016049973A1 (zh) 多功能胶片、帘布分切机
JPH06315964A (ja) ゴム引したワイヤシートの製造方法および装置
EP2978595B1 (en) Process and apparatus for obtaining tyres for vehicle wheels
CN102218842B (zh) 全钢丝载重子午胎缠绕贴合钢丝冠带条的生产方法
JP6663784B2 (ja) トッピングシートの形成方法及び装置
JP6663786B2 (ja) トッピングシートの形成方法及び装置
JP6082220B2 (ja) ゴムストリップの貼付装置
KR101329207B1 (ko) 공기 타이어 제조방법 및 장치
KR100893663B1 (ko) 타이어용 캡플라이 부착장치
CN105235247B (zh) 帘布卷双工位导开装置
KR101425034B1 (ko) 타이어용 스틸 벨트 반제품 이송 권취 장치
KR20120051962A (ko) 캡플라이 렛오프 속도 제어 장치
CN205044199U (zh) 帘布卷双工位导开装置
CN100548651C (zh) 生胎带束层加强用带料的供给装置
KR101425035B1 (ko) 바디 플라이 코드 텐션 조절 장치
CN102196899B (zh) 用于构建轮胎的方法
CN118744548A (zh) 轮胎一次法成型机组
JP2017206366A (ja) ゴムテープの巻取装置、巻取方法及びゴムテープ複合体の製造装置
CN201647717U (zh) 物料导开卷取装置
JP2004520193A (ja) 空気タイヤを製造するための方法および装置
KR101332448B1 (ko) 타이어의 카카스 코드 텐션조절장치
JP6981246B2 (ja) タイヤの帯状部材の巻き取り装置
CN107379593B (zh) 贴胶片材的形成方法以及装置

Legal Events

Date Code Title Description
A201 Request for examination
PA0109 Patent application

Patent event code: PA01091R01D

Comment text: Patent Application

Patent event date: 20101115

PA0201 Request for examination
PG1501 Laying open of application
PE0902 Notice of grounds for rejection

Comment text: Notification of reason for refusal

Patent event date: 20120713

Patent event code: PE09021S01D

E601 Decision to refuse application
PE0601 Decision on rejection of patent

Patent event date: 20130125

Comment text: Decision to Refuse Application

Patent event code: PE06012S01D

Patent event date: 20120713

Comment text: Notification of reason for refusal

Patent event code: PE06011S01I